MIELE APCL 003 - Waschmaschine

APCL 003 - Waschmaschine MIELE - Kostenlose Bedienungsanleitung

Finden Sie kostenlos die Bedienungsanleitung des Geräts APCL 003 MIELE als PDF.

📄 50 Seiten Deutsch DE 💬 KI-Frage
Notice MIELE APCL 003 - page 2
Handbuch anzeigen : Français FR Deutsch DE

Laden Sie die Anleitung für Ihr Waschmaschine kostenlos im PDF-Format! Finden Sie Ihr Handbuch APCL 003 - MIELE und nehmen Sie Ihr elektronisches Gerät wieder in die Hand. Auf dieser Seite sind alle Dokumente veröffentlicht, die für die Verwendung Ihres Geräts notwendig sind. APCL 003 von der Marke MIELE.

BEDIENUNGSANLEITUNG APCL 003 MIELE

Umbau- und Montageanweisung M.-Nr. 11313351 1 von 50 18.03.2021 Diese Unterlagen dürfen ohne unsere Genehmigung weder vervielfältigt noch Dritten zugänglich gemacht werden. Eigentumsrechte vorbehalten. de Montageanweisung APCL Sockel 15/30 en Installation instructions for APCLplinth 15/30 bg Инструкция за монтаж на цокъла APCL15/30 cs Montážní návod APCL soklu 15/30 da Monteringsanvisning APCL sokkel 15/30 el Οδηγίες τοποθέτησης APCL σε βάση 15/30 en-

3Umbau- und Montageanweisung M.-Nr. 11313351 3 von 50 Diese Unterlagen dürfen ohne unsere Genehmigung weder vervielfältigt noch Dritten zugänglich gemacht werden. Eigentumsrechte vorbehalten. 18.03.2021

5Umbau- und Montageanweisung M.-Nr. 11313351 4 von 50 Diese Unterlagen dürfen ohne unsere Genehmigung weder vervielfältigt noch Dritten zugänglich gemacht werden. Eigentumsrechte vorbehalten. 18.03.2021

7Umbau- und Montageanweisung M.-Nr. 11313351 5 von 50 Diese Unterlagen dürfen ohne unsere Genehmigung weder vervielfältigt noch Dritten zugänglich gemacht werden. Eigentumsrechte vorbehalten. 18.03.2021

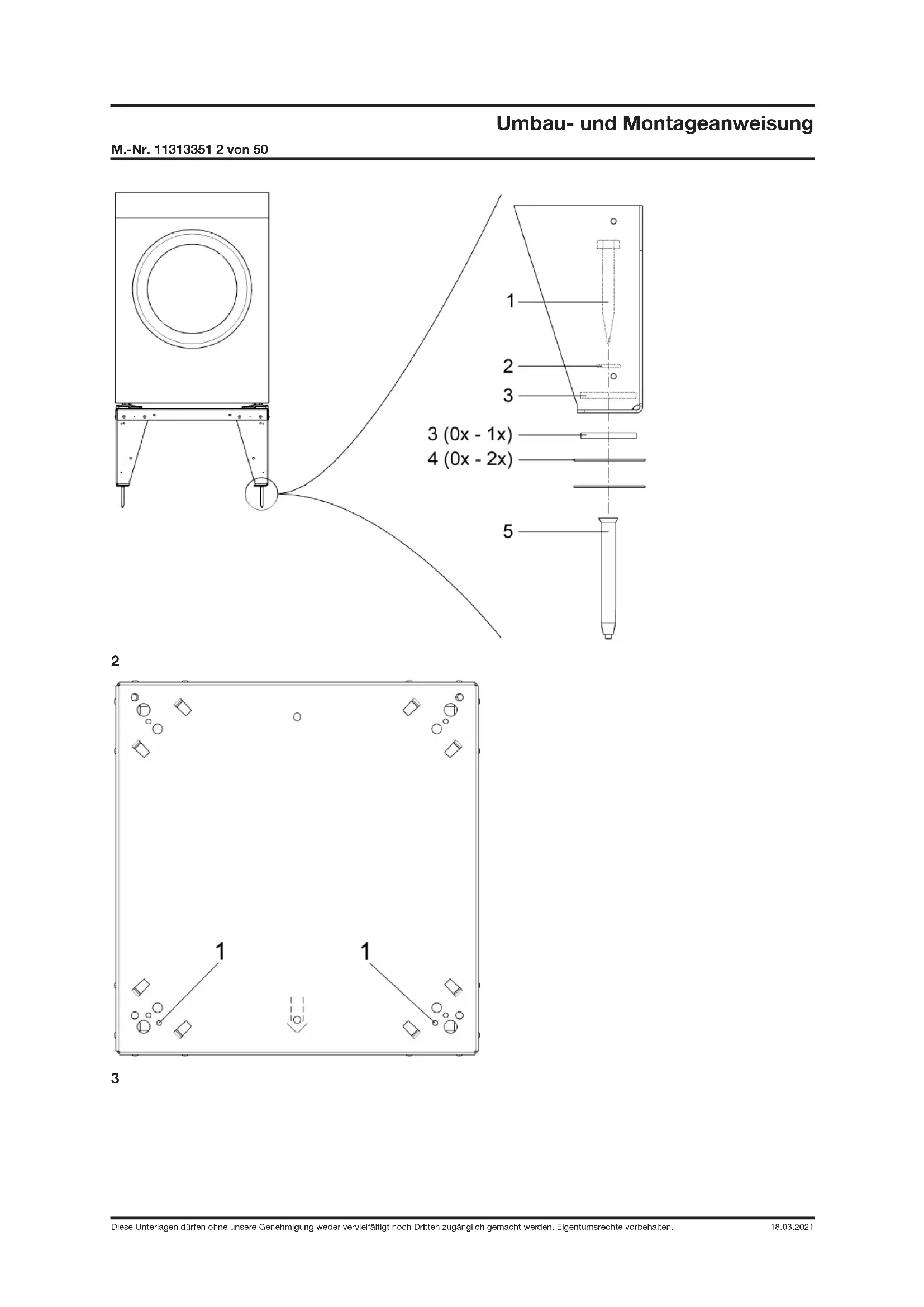
Montageanweisung APCL Sockel 15/30 Grund: Mit dem Sockel kann eine ergonomischere Arbeitshöhe für eine Waschmaschine oder einen Trockner erreicht werden. Enthaltene Teile Anzahl M.-Nr. Benennung 1 Sockel 2 Spannlasche 4 Scheibe B6,4 2 Sechskantschraube M6x30 4 Sechskantmutter M6 4 Dübel S12 4 Scheibe 8,4 4 Sechskantholzschraube 8x65 8 Scheibe 15x44x3 8 Unterlage 2 Spannplatte 4 Linsenschraube CEM6x12 2 Sechskantschraube M6x20 1 Vorderwand (nur Sockel geschlossen) 2 Seitenwand (nur Sockel geschlossen) 12 Linsenschraube M4x25 (nur Sockel geschlossen) Gefahr durch unsachgemäße Instandhaltungsarbeiten WARNUNG Gefahr durch unsachgemäße Instandhaltungsarbeiten. Unsachgemäße Instandhaltungsarbeiten können hohen Sachschaden und schwere Verletzungen mit Todesfolge verursachen. A Instandhaltungsarbeiten dürfen nur von einer Elektrofachkraft mit fachlicher Ausbildung, Fachkenntnissen und Facherfahrungen durchgeführt werden. A Gültige Sicherheitsbestimmungen müssen berücksichtigt werden. A Erst die Technische Service Dokumentation (TSD) lesen, dann handeln. Maßnahmen, bevor Instandhaltungsarbeiten am Gerät durchgeführt werden - Elektrische Sicherheitsprüfung durchführen. - Sämtliche Geräteanschlüsse entsprechend der Gebrauchsanweisung von der Installation trennen. Maßnahmen, nachdem Instandhaltungsarbeiten am Gerät durchgeführt wurden - Elektrische Sicherheitsprüfung durchführen. - Gerät auf Funktion prüfen.Umbau- und Montageanweisung M.-Nr. 11313351 6 von 50 Diese Unterlagen dürfen ohne unsere Genehmigung weder vervielfältigt noch Dritten zugänglich gemacht werden. Eigentumsrechte vorbehalten. 18.03.2021 Schnittverletzungsgefahr bei Instandhaltungsarbeiten WARNUNG Bauteile können fertigungsbedingt scharfkantig sein. Schnittverletzungsgefahr bei Instandhaltungsarbeiten. A Zum Schutz vor Schnittverletzungen Schutzhandschuhe tragen. Verletzungsgefahr durch übermäßige körperliche Beanspruchung WARNUNG Verletzungsgefahr durch übermäßige körperliche Beanspruchung. Verletzung der Wirbelsäule. A Das Gewicht der Geräte im Verhältnis zur eigenen körperlichen Kraft beachten. Gewichtsangabe des Gerätes, siehe Geräte-Gebrauchsanweisung. Sockel vorbereiten A Spannplatten auf der Rückseite des Sockels mit je 2 Schrauben 6x12 anschrauben, siehe Abb. 1. Der eingestanzte Pfeil auf der Oberseite des Sockels weist zur Front, siehe Abb. 1. A Sockel auf dem Boden ausrichten. A Bohrlöcher anzeichnen. A An den Markierungen Löcher mit Durchmesser 12mm etwa 65mm tief bohren. A Dübel (5) in die Bohrlöcher stecken, siehe Abb. 2. A Sockel mit den beiliegenden Unterlagen (4) gerade ausrichten, siehe Abb. 2. A Sockel mit den Sechskantholzschrauben (1), den Scheiben 8,4 (2) und den Scheiben 15x44x3 (3) auf dem Boden befestigen, siehe Abb. 2. Waschmaschine auf Sockel montieren A Spannlaschen auf dem Sockel in den entsprechenden Löchern (1) befestigen, siehe Abb. 3. A Dazu die Spannlaschen mit je einer Sechskantschraube M6x30 (1), 2 Scheiben verzinkt B6,4 (2) und einer Sechskantmutter M6 (3) am Sockel befestigen. Die Muttern aber noch nicht festziehen, siehe Abb. 4. A Füße der Waschmaschine mindestens 5mm herausdrehen. A Waschmaschine auf den Sockel stellen und mit den hinteren Füßen in die Spannplatten schieben. A Waschmaschine auf dem Sockel endgültig ausrichten. A Waschmaschine mit den Spannlaschen an den vorderen Füßen fixieren, siehe Abb. 4. A Mit je einer weiteren Mutter M6 (4) die 1. Mutter kontern, siehe Abb. 4. A Je 1 Schraube (1) M6x20 in die Spannplatten einschrauben und festziehen, siehe Abb. 5. Trockner auf Sockel montieren A Füße des Trockners mindestens 5mm herausdrehen. A Trockner auf den Sockel stellen und mit den hinteren Füßen in die Spannplatten schieben. A Trockner auf dem Sockel endgültig ausrichten. A Je 1 Schraube (1) M6x20 in die Spannplatten einschrauben und festziehen, siehe Abb. 6. Sockelwände montieren A Beide Seitenwände mit jeweils 4 Schrauben M4x25 anschrauben, siehe Abb. 7.Umbau- und Montageanweisung M.-Nr. 11313351 7 von 50 Diese Unterlagen dürfen ohne unsere Genehmigung weder vervielfältigt noch Dritten zugänglich gemacht werden. Eigentumsrechte vorbehalten. 18.03.2021 A Vorderwand mit 4 Schrauben M4x25 anschrauben, siehe Abb. 7.

Handbuch-Assistent
Unterstützt von ChatGPT
Warten auf Ihre Nachricht
Produktinformationen

Marke : MIELE

Modell : APCL 003

Kategorie : Waschmaschine