Bravia KDL55W955B - Fernseher SONY - Kostenlose Bedienungsanleitung
Finden Sie kostenlos die Bedienungsanleitung des Geräts Bravia KDL55W955B SONY als PDF.
Benutzerfragen zu Bravia KDL55W955B SONY
0 Frage zu diesem Gerät. Beantworten Sie die, die Sie kennen, oder stellen Sie Ihre eigene.
Eine neue Frage zu diesem Gerät stellen
Laden Sie die Anleitung für Ihr Fernseher kostenlos im PDF-Format! Finden Sie Ihr Handbuch Bravia KDL55W955B - SONY und nehmen Sie Ihr elektronisches Gerät wieder in die Hand. Auf dieser Seite sind alle Dokumente veröffentlicht, die für die Verwendung Ihres Geräts notwendig sind. Bravia KDL55W955B von der Marke SONY.
BEDIENUNGSANLEITUNG Bravia KDL55W955B SONY
Audio output (stereo mini jack)
Headphone jack
BELANGRIJK BERICHT 2
Netspanningsvereisten
Vermogen: input 220 V - 240 V AC, 50 Hz
WICHTIGER HINWEIS....2
Sicherheitsinformationen .... 3
Sicherheitsmassnahmen 5
Anbringen des Tischständers
(Alternative)....7
Kamera verbergen 7
Verwenden der Fernbedienung ..... 8
Anzeigen der Touchpad-Bedienführung . . .8
Starten des Touchpad-Tutorials.....8
Montieren des Fernsehgeräts an der
Wand....9
Störungsbehebung .....11
Probleme und Lösungen 11
Technische Daten.... 12
Einleitung
Vielen Dank, dass Sie sich für ein Produkt von Sony entschieden haben.
Bitte lesen Sie dieses Handbuch aufmerksam durch, bevor Sie das Fernsehgerät verwenden, und bewahren Sie es auf, um später bei Bedarf darin nachschlagen zu können.
Anmerkung
- Lesen Sie sich vor der Bedienung des Fernsehgeräts die „Sicherheitsinformationen“ durch (Seite 3).
- Darstellungen und Abbildungen, die im Schnellstartleitfaden und in dieser Anleitung verwendet werden, dienen nur der Referenz und können vom tatsächlichen Produkt abweichen.
Position des Bezeichnungsschildes
Aufkleber mit Modellnummer, Herstellungsdatum (Monat/Jahr) und Betriebsspannung befinden sich auf der Rückseite des Fernsehgeräts oder auf der Verpackung.
WARNUNG
UM FEUERGEFAHR ZU VERMEIDEN, HALTEN
SIE KERZEN UND JEGLICHE OFFENEN FLAMMEN
JEDERZEIT VON DIESEM GERÄT FERN.

WICHTIGER HINWEIS
Dieses Produkt wurde von oder für Sony Corporation, 1-7-1 Konan Minato-ku Tokio, 108-0075 Japan hergestellt. Bei Fragen zur Produktkonformität auf Grundlage der Gesetzgebung der Europäischen Union kontaktieren Sie bitte den Bevollmächtigten Sony Deutschland GmbH, Hedelfinger Strasse 61, 70327 Stuttgart, Deutschland. Für Kundendienst oder Garantieangelegenheiten wenden Sie sich bitte an die in den Kundendienst- oder Garantiedokumenten genannten Adressen.
Hinweis zum Drahtlos-Signal
Hiermit erklärt die Sony Corporation, dass sich dieses Gerät in Übereinstimmung mit den grundlegenden Anforderungen und
den übrigen einschlägigen Bestimmungen der Richtlinie 1999/5/EG befindet.
Weitere Informationen erhältlich unter: http://www.compliance.sony.de/
Hinweis für Kunden: Die folgenden Informationen gelten nur für Geräte, die in Ländern verkauft werden, in denen EU-Richtlinien gelten.
Das drahtlose Fernsehsystem darf in folgenden Ländern verwendet werden:
AT, BE, HR, CY, CZ, DK, EE, FI, FR, DE, GR, HU, IE, IT, LV, LT, LU, MT, NL, PL, PT, SK, SI, ES, SE, GB, IS, LI, NO, CH, BG, RO, TR, AL, BA, MK, MD, RS, ME
Dieses Gerät kann auch in Ländern außerhalb Europas eingesetzt werden.

Sicherheitsinformationen
WARNUNG
Batterien dürfen nicht übermäßiger Hitze, wie Sonnenlicht, einem Feuer oder Ähnlichem, ausgesetzt werden.
Installation/Einstellung
Installieren und benutzen Sie das Fernsehgerät unter Berücksichtigung der im Folgenden angegebenen Anweisungen, um alle Risiken wie Feuer, Stromschlag oder Beschädigungen und/oder Verletzungen zu vermeiden.
Installation
- Das Fernsehgerät sollte neben einer frei zugänglichen Netzsteckdose installiert werden.
- Stellen Sie das Fernsehgerät auf eine stabile, ebene Oberfläche, um zu verhindern, dass es herunterfällt und Personenschäden oder Schäden am Fernsehgerät verursacht.
- Stellen Sie das Fernsehgerät an einem Ort auf, an dem es nicht gezogen, verschoben oder umgestoßen werden kann.
- Stellen Sie das Fernsehgerät so auf, dass der Tischständer des Fernsehgeräts nicht über den Fernsehständer (nicht mitgeliefert) hinausragt.
Wenn der Tischständer über den Fernsehständer hinausragt, kann das Fernsehgerät umkippen und herunterfallen, was zu Verletzungen bzw. Schäden am Fernsehgerät führen kann.

flowchart
graph TD
A["Monitor Setup"] --> B["Switch"]
B --> C["No Sign"]
C --> D["Switch"]
D --> E["No Sign"]
style A fill:#f9f,stroke:#333
style B fill:#ccf,stroke:#333
style C fill:#cfc,stroke:#333
style D fill:#fcc,stroke:#333
style E fill:#cff,stroke:#333
- Wandeinbauten sollten nur von qualifiziertem Fachpersonal ausgeführt werden.
- Aus Sicherheitsgründen wird dringend empfohlen, ausschließlich Sony Zubehörteile zu verwenden, inklusive: Wandhalterung
- SU-WL450
- Verwenden Sie unbedingt die Schrauben im Lieferumfang der Wandhalterung, wenn Sie die Wandhalterung am Fernsehgerät befestigen. Die mitgelieferten Schrauben sind, gemessen von der Befestigungsfläche der Wandhalterung, wie in der Abbildung dargestellt konzipiert.
Durchmesser und Länge der Schrauben variieren je nach Modell der Wandmontagehalterung.
Durch die Verwendung anderer als der mitgelieferten Schrauben kann das Fernsehgerät beschädigt werden oder herunterfallen.

text_image
8 mm - 12 mm Schraube (gemeinsam mit der Wandmontagehalterung geliefert) Wandhalterung WandmontagehalterungTransport
- Vor dem Transport des Fernsehgeräts ziehen Sie bitte alle Kabel aus dem Gerät.
- Zum Transport eines großen Fernsehgeräts sind zwei oder drei Personen nötig.
- Wenn Sie das Fernsehgerät ohne Hilfsmittel transportieren, halten Sie es wie unten dargestellt. Üben Sie weder auf den LCD-Bildschirm noch auf den Bildschirmrahmen Druck aus.

- Setzen Sie das Fernsehgerät beim Transport weder Stössen noch starken Erschütterungen aus.
- Wenn Sie das Fernsehgerät für Reparaturen oder bei einem Umzug transportieren müssen, verpacken Sie es mithilfe der Originalverpackungsmaterialien im Originalkarton.
Kippschutz
- Legen Sie das Gerät, bevor Sie die Maschinenschraube einsetzen, mit der Bildschirmseite nach unten auf eine stabile Arbeitsoberfläche, die größer ist als das Fernsehgerät.
- Um Beschädigungen am LCD-Bildschirm zu vermeiden, legen Sie ein weiches Tuch auf die Arbeitsfläche.
Luftzirkulation
- Decken Sie nie die Lüftungsöffnungen ab und stecken Sie nichts in das Gehäuse.
- Lassen Sie ausreichend Platz um das Fernsehgerät (siehe Abbildung).
- Es wird dringend empfohlen, die offizielle Sony Wandmontagehalterung zu verwenden, um eine ausreichende Luftzirkulation zu gewährleisten.
Installation an der Wand

text_image
10 cm 30 cm 10 cm 10 cmLassen Sie mindestens so viel Platz um das Gerät.
Aufstellung auf dem Standfuß

text_image
10 cm 30 cm 10 cm 6 cmLassen Sie mindestens so viel Platz um das Gerät.
- Um eine ausreichende Belüftung zu gewährleisten und Staub- oder Schmutzablagerungen zu vermeiden:
— Stellen Sie das Fernsehgerät weder flach noch auf dem Kopf stehend, falsch herum oder seitwärts geneigt auf.
— Stellen Sie das Fernsehgerät weder auf einem Regal, einem Teppich, einem Bett oder in einem Schrank auf. - Decken Sie das Fernsehgerät nicht mit Decken oder Vorhängen ab und legen Sie keine Gegenstände wie Zeitungen usw. darauf.
— Installieren Sie das Fernsehgerät nicht wie auf der Abbildung gezeigt.
Die Luftzirkulation wird unterbunden.

text_image
Wand WandNetzkabel
Um alle Risiken wie Feuer, Elektroschock oder Beschädigungen und/oder Verletzungen auszuschließen, sollten Sie das Netzkabel und den Stecker wie hier angegeben handhaben:
- Verwenden Sie ausschließlich die von Sony und keinen anderen Anbietern gelieferte Netzkabel.
— Stecken Sie den Stecker ganz in die Netzsteckdose.
— Dieses Fernsehgerät ist ausschließlich für den Betrieb an 220-240 V Wechselstrom ausgelegt. - Trennen Sie das Gerät zu Ihrer eigenen Sicherheit unbedingt vom Netzstrom, wenn Sie Kabel an dem Gerät anschließen, und stolpern Sie nicht über die Kabel.
- Trennen Sie das Netzkabel von der Netzsteckdose, bevor Sie das Fernsehgerät reparieren oder transportieren.
— Halten Sie das Netzkabel von Wärmequellen fern. - Ziehen Sie den Netzstecker aus der Steckdose und reinigen Sie ihn regelmäßig. Wenn der Stecker verstaubt ist und sich Feuchtigkeit ablagert, kann die Isolierung leiden und es besteht Feuergefahr.
Anmerkung
- Verwenden Sie das mitgelieferte Netzkabel nicht mit anderen Geräten.
- Klemmen, biegen oder verdrehen Sie das Netzkabel nicht übermäßig. Die blanken Adern im Inneren des Kabels könnten freiliegen oder brechen.
- Nehmen Sie am Netzkabel keine Veränderungen vor.
- Stellen Sie keine schweren Gegenstände auf das Netzkabel.
- Ziehen Sie nicht am Kabel, selbst wenn Sie das Netzkabel aus der Steckdose herausziehen.
- Achten Sie darauf, nicht zu viele andere Geräte an dieselbe Netzsteckdose anzuschließen.
- Verwenden Sie eine Netzsteckdose, in der der Stecker fest sitzt.
Verbotene Nutzung
Installieren Sie das Fernsehgerät weder an Standorten, in Umgebungen noch in Situationen wie den hier aufgeführten, da dies zu Fehlfunktionen des Fernsehgeräts und Feuer, Elektroschock, Beschädigungen und/oder Verletzungen führen kann.
Standort:
- Im Freien (in direktem Sonnenlicht), am Meer, auf einem Schiff oder Boot, im Innern eines Fahrzeugs, in medizinischen Einrichtungen, an instabilen Standorten, in der Nähe von Wasser, Regen, Feuchtigkeit oder Rauch.
- Wenn das Fernsehgerät in der Umkleidekabine eines Schwimmbads oder Thermalbads aufgestellt wird, kann das Fernsehgerät durch Schwefeldämpfe usw. beschädigt werden.
- Für eine optimale Bildqualität schützen Sie den Bildschirm vor direkter Beleuchtung oder direktem Sonnenlicht.
- Bringen Sie das Fernsehgerät möglichst nicht von einem kalten in einen warmen Raum. Bei plötzlichen Temperaturschwankungen kann sich Feuchtigkeit niederschlagen. Dies kann die Bild- und/oder Farbqualität am Fernsehgerät beeinträchtigen. Lassen Sie die Feuchtigkeit in einem solchen Fall vor dem Einschalten des Fernsehgeräts vollständig verdunsten.

Umgebung:
- An heissen, feuchten oder übermäßig staubigen Orten, an denen Insekten in das Gerät eindringen können; an denen es mechanischen Erschütterungen ausgesetzt ist, neben brennbaren Objekten (Kerzen usw.). Das Fernsehgerät darf weder Tropfen oder Spritzern ausgesetzt werden. Es dürfen keine mit Flüssigkeit gefüllten Gegenstände, zum Beispiel Vasen, auf dem Fernsehgerät abgestellt werden.
- Stellen Sie das Fernsehgerät nicht an einen feuchten oder staubigen Ort oder in einen Raum mit fettigem Rauch oder Dampf (in der Nähe von Kochstellen oder Luftbefeuchtern). Andernfalls besteht Feuergefahr, die Gefahr eines elektrischen Schlags oder das Gerät kar

- Stellen Sie das Fernsehgerät nicht an Orten auf, an denen es extremen Temperaturen ausgesetzt ist, z. B. in direktem Sonnenlicht oder in der Nähe einer Heizung oder eines Warmluftauslasses. Andernfalls kann sich das Fernsehgerät überhitzen und das Gehäuse kann sich verformen und/oder es kommt zu Fehlfunktionen am Fernsehgerät.


Situation:
- Nicht mit nassen Händen, ohne Gehäuse oder mit anderem als vom Hersteller empfohlenen Zubehör benutzen. Trennen Sie das Fernsehgerät bei Gewitter von der Netzsteckdose und der Antenne.
- Stellen Sie das Fernsehgerät nicht so auf, dass es frei in den Raum hineinragt. Andernfalls besteht die Gefahr, dass eine Person oder ein Gegenstand dagegenstößt und es kann zu Verletzungen oder Sachschäden kommen.

Bruchstücke:
- Werfen Sie nichts gegen das Fernsehgerät. Das Glas des Bildschirms könnte durch den Aufprall zerbrechen und schwere Verletzungen verursachen.
- Falls die Oberfläche des Fernsehgeräts zerspringt, ziehen Sie zuerst das Netzkabel aus der Steckdose, bevor Sie das Gerät berühren. Andernfalls besteht die Gefahr eines elektrischen Schlages.
Wenn das Gerät nicht benutzt wird
- Zum Schutz der Umwelt und aus Sicherheitsgründen empfiehlt es sich, das Fernsehgerät vom Stromnetz zu trennen, wenn es mehrere Tage nicht benutzt wird.
- Da das Fernsehgerät auch in ausgeschaltetem Zustand mit dem Stromnetz verbunden ist, wenn es nur ausgeschaltet wurde, muss der Stecker aus der Netzsteckdose gezogen werden, um das Fernsehgerät vollkommen auszuschalten.
- Bei einigen Fernsehgeräten gibt es jedoch möglicherweise Funktionen, für die das Fernsehgerät in den Bereitschaftsmodus geschaltet sein muss.
Kinder
- Sorgen Sie dafür, dass Kinder nicht auf das Fernsehgerät klettern.
- Bewahren Sie kleine Zubehörteile außerhalb der Reichweite von Kindern auf, damit diese nicht irrtümlicherweise verschluckt werden.
Falls folgende Probleme auftreten...
Schalten Sie das Fernsehgerät sofort aus und ziehen Sie den Netzstecker aus der Steckdose, sobald eines der folgenden Probleme auftritt.
Wenden Sie sich an Ihren Händler oder das Sony Kundendienstzentrum, um es von qualifiziertem Fachpersonal überprüfen zu lassen.
Wenn:
— Das Netzkabel beschädigt ist.
— Der Stecker nicht fest in der Netzsteckdose sitzt.
— Das Fernsehgerät durch Fallen, Stoßen oder einen geworfenen Gegenstand beschädigt ist.
- Flüssigkeit oder Fremdkörper durch die Öffnungen in das Fernsehgerät gelangen.
Hinweis zur Temperatur des LCD-Bildschirms
Wenn der LCD-Bildschirm längere Zeit genutzt wird, erwärmt sich der Bereich um den Bildschirm herum. Dieser Bereich kann sich heiß anfühlen, wenn Sie ihn mit der Hand berühren.
Sicherheitsmassnahmen
Fernsehen
- Beim Anschauen von 3D-Videobildern oder beim Spielen von räumlichen 3D-Spielen verspüren manche Menschen Unwohlsein (Überlastung der Augen, Müdigkeit oder Übelkeit). Sony empfiehlt, dass alle Zuschauer beim Betrachten von 3D-Videobildern bzw. beim Spielen von räumlichen 3D-Spielen regelmäßig Pausen einlegen. Die Länge und Häufigkeit der notwendigen Pausen variiert von Person zu Person. Sie müssen für sich entscheiden, was am besten ist. Sollten irgendwelche Beschwerden auftreten, dürfen Sie nicht weiter 3D-Videobilder anschauen oder räumliche 3D-Spiele spielen, bis das Unwohlsein vorüber ist. Konsultieren Sie gegebenenfalls einen Arzt. Schlagen Sie auch (i) in der Bedienungsanleitung von einem anderen Gerät oder Medium nach, das Sie zusammen mit dem Fernsehgerät verwenden, sowie (ii) auf unserer Website (http://support.sony-europe.com/), wo Sie aktuelle Informationen finden. Bei kleinen Kindern (besonders bei Kindern unter sechs Jahren) entwickelt sich das Sehvermögen noch. Wenden Sie sich an einen Arzt (wie z. B. einen Kinder- oder Augenarzt), bevor Sie kleinen Kindern erlauben, 3D-Videobilder anzusehen oder räumliche 3D-Spiele zu spielen. Erwachsene sollten Kinder beaufsichtigen, um sicherzustellen, dass diese die oben aufgeführten Empfehlungen befolgen.
- Verwenden, lagern und belassen Sie die 3D-Brille nicht an Orten mit hohen Temperaturen, z. B. in direktem Sonnenlicht oder in durch die Sonne aufgewärmten Autos.
- Wenn Sie die simulierte 3D-Funktion verwenden, beachten Sie bitte, dass das angezeigte Bild aufgrund der von diesem Fernsehgerät vorgenommenen Konvertierung vom Original abweicht.
- Schauen Sie bei gemäßigter Beleuchtung fern. Durch falsche Beleuchtung oder langes Fernsehen werden die Augen belastet.
- Stellen Sie beim Verwenden von Kopfhörern die Lautstärke moderat ein. Andernfalls kann es zu Gehörschäden kommen.
LCD-Bildschirm
- Obwohl bei der Herstellung des LCD-Bildschirms mit hochpräziser Technologie gearbeitet wird und der Bildschirm 99,99% und mehr effektive Pixel besitzt, ist es möglich, dass dauerhaft einige schwarze oder leuchtende Punkte (rot, grün oder blau) sichtbar sind. Es handelt sich dabei um eine strukturelle Eigenschaft von LCD-Bildschirmen und nicht um eine Fehlfunktion.
- Stoßen Sie nicht gegen den Filter an der Vorderseite, zerkratzen Sie ihn nicht und stellen Sie nichts auf dieses Fernsehgerät. Das Bild kann ungleichmäßig werden und der LCD-Bildschirm kann beschädigt werden.
- Wenn dieses Fernsehgerät an einem kalten Ort verwendet wird, kommt es möglicherweise zu Schmierstreifen im Bild oder das Bild wird dunkel. Dabei handelt es sich nicht um ein Versagen. Diese Effekte verschwinden, wenn die Temperatur steigt.
- Wenn Standbilder längere Zeit angezeigt werden, kann es zu Doppelbildern kommen. Dieser Effekt verschwindet in der Regel nach einigen Augenblicken.
- Bildschirm und Gehäuse erwärmen sich, wenn das Fernsehgerät in Betrieb ist. Dies ist keine Fehlfunktion.
- Der LCD-Bildschirm enthält eine kleine Menge Flüssigkristalle. Befolgen Sie bei der Entsorgung die bei Ihnen geltenden Entsorgungsrichtlinien.
Pflegen und Reinigen der Bildschirmoberfläche bzw. des Gehäuses des Fernsehgeräts
Trennen Sie das Netzkabel unbedingt von der Netzsteckdose, bevor Sie das Gerät reinigen.
Um Materialschäden oder Schäden an der Bildschirmbeschichtung zu vermeiden, beachten Sie bitte folgende Vorsichtsmaßnahmen.
- Entfernen Sie Staub vorsichtig mit einem weichen Tuch von der Bildschirmoberfläche bzw. dem Gehäuse. Bei stärkerer Verschmutzung feuchten Sie ein weiches Tuch leicht mit einer milden Reinigungslösung an und wischen dann über den Bildschirm.
- Sprühen Sie niemals Wasser oder Reinigungsmittel direkt auf das Fernsehgerät. Es kann bis zur Unterseite des Bildschirms oder der Außenteile laufen und in das Fernsehgerät gelangen und so Schäden am Fernsehgerät verursachen.
- Verwenden Sie keine Scheuerschwämme, keine alkalischen/säurehaltigen Reinigungsmittel, kein Scheuerpulver oder flüchtigen Lösungsmittel wie Alkohol, Benzin, Verdünnung oder Insektizide. Wenn Sie solche Mittel verwenden oder das Gerät längere Zeit mit Gummi- oder Vinylmaterialien in Berührung kommt, kann es zu Schäden an der Bildschirm- oder der Gehäuseoberfläche kommen.
- Um eine ausreichende Belüftung zu gewährleisten, wird regelmässiges Staubsaugen der Lüftungsöffnungen empfohlen.
- Wenn Sie den Winkel des Fernsehgeräts einstellen, bewegen Sie das Fernsehgerät mit Vorsicht, damit es nicht verrutscht oder vom Ständer fällt.
Sonderzubehör
- Halten Sie Zusatzteile oder Geräte mit elektromagnetischer Strahlung von dem Fernsehgerät fern. Andernfalls können Bild- und/oder Tonstörungen auftreten.
- Dieses Gerät wurde geprüft und erfüllt die EMV-Richtlinie, sofern ein Signalverbindungskabel von unter 3 m Länge verwendet wird.
Empfehlung für Stecker des F-Typs
Der Vorsprung der inneren Leitung ab dem Verbindungsteil darf höchstens 1,5 mm betragen.

(Referenzabbildung für Stecker des F-Typs)
Vorsichtshinweis zum Umgang mit der Fernbedienung
- Achten sie beim Einsetzen von Batterien auf die richtige Polung.
- Verwenden Sie Batterien unterschiedlicher Typen nicht gemeinsam und auch nicht alte und neue Batterien zusammen.
- Entsorgen Sie verbrauchte Batterien umweltschonend. Beachten Sie bitte geltende Entsorgungsrichtlinien für Batterien. Wenden Sie sich ggf. an die zuständige Behörde.
- Behandeln Sie die Fernbedienung sorgfältig. Lassen Sie sie nicht fallen, treten Sie nicht darauf und schütten Sie keine Flüssigkeiten darauf.
- Bewahren Sie die Fernbedienung nicht neben einer Wärmequelle, unter direkter Sonneneinstrahlung oder an einem feuchten Ort auf.
Drahtlosfunktion des Geräts
- Das Gerät darf nicht in der Nähe medizinischer Geräte (Schrittmacher usw.) betrieben werden, da deren Funktionsweise dadurch beeinträchtigt werden kann
- Obwohl dieses Gerät verschlüsselte Signale sendet/empfängt, müssen Sie sich vor nicht autorisiertem Empfang von Signalen schützen. Für etwaige Probleme diesbezüglich kann keine Haftung übernommen werden.
Entsorgen des Fernsehgeräts

Entsorgung von gebrauchten elektrischen und elektronischen Geräten (anzuwenden in den Ländern der Europäischen Union und anderen europäischen Ländern mit einem separaten Sammelsystem für diese Geräte)
Das Symbol auf dem Produkt oder seiner Verpackung weist darauf hin, dass dieses Produkt nicht als normaler Haushaltsabfall zu behandeln ist, sondern an einer Annahmestelle für das Recycling von elektrischen und elektronischen Geräten abgegeben werden muss. Durch Ihren Beitrag zum korrekten Entsorgen dieses Produkts schützen Sie die Umwelt und die Gesundheit Ihrer Mitmenschen. Umwelt und Gesundheit werden durch falsches Entsorgen gefährdet. Materialrecycling hilft, den Verbrauch von Rohstoffen zu verringern. Weitere Informationen zum Recycling dieses Produkts erhalten Sie bei Ihrer Gemeindeverwaltung, den kommunalen Entsorgungsbetrieben oder dem Geschäft, in dem Sie das Produkt gekauft haben.

Entsorgung von gebrauchten Batterien und Akkus (anzuwenden in den Ländern der Europäischen Union und anderen europäischen Ländern mit einem separaten Sammelsystem für diese Produkte)
Das Symbol auf der Batterie/dem Akku oder der Verpackung weist darauf hin, dass diese nicht als normaler Haushaltsabfall zu behandeln sind. Ein zusätzliches chemisches Symbol Pb (Blei) oder Hg (Quecksilber) unter der durchgestrichenen Mülltonne bedeutet, dass die Batterie/der Akku einen Anteil von mehr als 0,0005% Quecksilber oder 0,004% Blei enthält. Durch Ihren Beitrag zum korrekten Entsorgen dieser Batterien/Akkus schützen Sie die Umwelt und die Gesundheit Ihrer Mitmenschen. Umwelt und Gesundheit werden durch falsches Entsorgen gefährdet. Materialrecycling hilft, den Verbrauch von Rohstoffen zu verringern. Bei Produkten, die auf Grund ihrer Sicherheit, der Funktionalität oder als Sicherung vor Datenverlust eine ständige Verbindung zur eingebauten Batterie benötigen, sollte die Batterie nur durch qualifiziertes Servicepersonal ausgetauscht werden. Um sicherzustellen, dass die Batterie korrekt entsorgt wird, geben Sie das Produkt zwecks Entsorgung an einer Annahmestelle für das Recycling von elektrischen und elektronischen Geräten ab. Für alle anderen Batterien entnehmen Sie die Batterie bitte entsprechend dem Kapitel über die sichere Entfernung der Batterie. Geben Sie die Batterie an einer Annahmestelle für das Recycling von Batterien/Akkus ab. Weitere Informationen über das Recycling dieses Produkts oder der Batterie erhalten Sie von Ihrer Gemeinde, den kommunalen Entsorgungsbetrieben oder dem Geschäft, in dem Sie das Produkt gekauft haben. Hinweis für Lithiumbatterien: Bitte geben Sie nur entladene Batterien an den Sammelstellen ab. Wegen Kurzschlussgefahr überkleben Sie bitte die Pole der Batterie mit Klebestreifen. Sie erkennen Lithiumbatterien an den Abkürzungen Li oder CR.
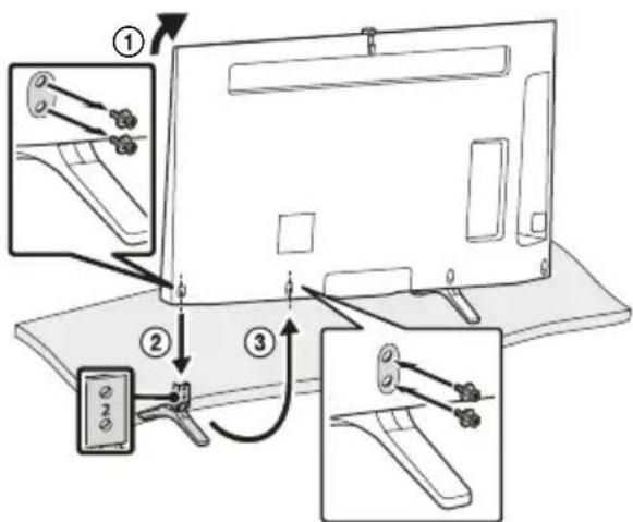
Anbringen des Tischständers (Alternative)
Sie können den Tischständer von der Kante zur Mittelposition umsetzen, indem Sie die Anweisungen unten befolgen.

text_image
Mittlere Position1

text_image
Dickes Polster 1,5 N·m {15 kgf·cm}2

Anmerkung
Zur Durchführung der Montage sind mindestens zwei Personen erforderlich.
So bündeln Sie die Kabel

*1 Position der Kabelklemme, wenn der Tischständer in der mittleren Position angebracht ist.
*2 Position der Kabelklemme, wenn der Tischständer an der Kante oder in der mittleren Position angebracht ist.
Anmerkung
- Um die Kabelklemme vom Fernsehgerät zu lösen, drücken Sie auf die Oberseite der Klemme ① und drücken sie dann wie dargestellt zusammen ②.

flowchart
graph TD
A["①"] --> B["②"]
B --> C["②"]
Kamera verbergen
Wenn Sie die Kamera nicht verwenden möchten, verbergen Sie sie wie dargestellt.

Verwenden der Fernbedienung
Sie können das Fernsehgerät über die mitgelieferte Touchpad-Fernbedienung oder die IR-Fernbedienung (Infrarot) bedienen.
Touchpad-
Fernbedienung

IR-
Fernbedienung

Anmerkung
• Die Touchpad-Fernbedienung kann erst nach der Registrierung beim Fernsehgerät verwendet werden. Sie können die Touchpad-Fernbedienung registrieren, indem Sie HOME drücken und dann [Einstellungen] → Systemeinstellungen] → [Einrichtung d. Touchpad-Fernbedienung].
Anzeigen der Touchpad-Bedienführung
Durch die Touchpad-Bedienführung können Sie die Hauptgestenbefehle sehen, die für die aktuelle Fernsehbildschirmanzeige verfügbar sind.
1 Legen Sie den Finger auf die Mitte der Touchpadanzeige und belassen Sie ihn dort, um die Touchpad-Bedienführung anzuzeigen.

2 Streichen Sie, um ? [Hilfe] auszuwählen, und drücken Sie dann auf das Touchpad.

3 Streichen Sie nach oben/unten, um [Touchpad-Lernprogramm] auszuwählen, und drücken Sie dann auf das Touchpad.

Befolgen Sie die Anweisungen auf dem Bildschirm.
Anmerkung
- Sie können das Touchpad-Lernprogramm auch starten, indem Sie HOME drücken und dann [Einstellungen] → Systemeinstellungen] → [Touchpad-Konfigurationen] → [Lernprogramm starten].
Montieren des Fernsehgeräts an der Wand
Die Bedienungsanleitung des Fernsehgeräts zeigt nur die Schritte zur Vorbereitung der Montage des Fernsehgeräts vor der Montage an der Wand.
An die Kunden:
Aus Gründen des Produktschutzes und aus Sicherheitsgründen empfiehlt Sony dringend, die Montage des Fernsehgeräts von Sony-Händlern oder lizenzierten Fachleuten durchführen zu lassen. Versuchen Sie nicht, es selbst zu montieren.
An Sony-Händler und -Fachleute:
Widmen Sie während der Montage, der regelmäßigen Wartung und der Überprüfung dieses Produkts Ihre volle Aufmerksamkeit der Sicherheit.
Für die Montage dieses Produkts ist ausreichendes Fachwissen erforderlich, insbesondere um die Stärke der Wand zu bestimmen, die dem Gewicht des Fernsehgeräts standhalten kann. Achten Sie darauf, dass Sie die Befestigung des Produkts an der Wand Sony-Händlern oder lizenzierten Fachleuten überlassen, und achten Sie während der Montage ausreichend auf die Sicherheit. Sony haftet nicht für Schäden oder Verletzungen durch eine fehlerhafte Handhabung oder unsachgemäße Montage.
Verwenden Sie die Wandhalterung SU-WL450 (nicht mitgeliefert), um das Fernsehgerät an der Wand zu montieren.
Wenn Sie die Wandhalterung montieren, beachten Sie auch die Bedienungsanleitung und die Installationsanleitung im Lieferumfang der Wandhalterung.
Anmerkung
- Achten Sie darauf, die entfernten Schrauben an einem sicheren Ort aufzubewahren und sie von Kindern fernzuhalten.
1 Entfernen Sie die Schrauben von der Rückseite des Fernsehgeräts.

* Bei einer extrem schmalen Anbringung nicht entfernen.
2 Bevor Sie die Wandhalterung montieren, bringen Sie die Wandmontagehalterung Ⓞ (im Lieferumfang des Fernsehgeräts) an der Rückseite des Fernsehgeräts an (um es parallel zur Wand auszurichten). Bei einer extrem schmalen Anbringung (Super Slim) müssen Sie diesen Schritt nicht durchführen.

text_image
Standardhalterung Extrem schmale Anbringung* 1 × 2 2 × 2 Wandmontagehalterung (I2) (im Lieferumfang des Fernsehgeräts) 1,5 N·m {15 kgf·cm} Wandmontagehalterung (I1) (im Lieferumfang des Fernsehgeräts)* Wenn Sie eine extrem schmale Anbringung (Super Slim) nutzen, können Sie einige Anschlüsse an der Rückseite des Fernsehgeräts nicht verwenden.

- Ziehen Sie unbedingt die Wandmontagehalterung an, wenn Sie sie am Fernsehgerät anbringen.
- Wenn Sie einen elektrischen Schraubendreher verwenden, stellen Sie das Drehmoment auf ungefähr 1,5 N·m {15 kgf·cm} ein.
- Verwenden Sie für die Montage der Wandmontagehalterung ausschließlich einen Schlitzschraubendreher. Wenn Sie ein anderes Werkzeug verwenden, kann die Wandmontagehalterung zu stark angezogen werden, wobei das Fernsehgerät beschädigt werden kann.

Anleitungen zur Montage der Wandhalterung für Ihr TV-Modell finden Sie auf der folgenden Website: www.sony.eu/tv/wall-mount-bracket-manual
Störungsbehebung
Wenn die Beleuchtungs-LED rot blinkt, zählen Sie die Anzahl der Blinkvorgänge (die Intervallzeit beträgt drei Sekunden).
Wenn die Beleuchtungs-LED rot blinkt, setzen Sie das Fernsehgerät zurück, indem Sie das Netzkabel zwei Minuten lang vom Fernsehgerät trennen und dann das Fernsehgerät einschalten.
Wenn das Problem weiterhin besteht, wenden Sie sich an Ihren Händler oder den Sony-Kundendienst und geben Sie an, wie häufig die Beleuchtungs-LED rot blinkt (die Intervallzeit liegt bei drei Sekunden). Drücken Sie I/ ^① am Fernsehgerät, um es auszuschalten, trennen Sie das Netzkabel und informieren Sie Ihren Händler oder den Sony-Kundendienst.
Wenn die Beleuchtungs-LED nicht blinkt, überprüfen Sie die Punkte der folgenden Tabellen.
Sie können unter [Störungsbehebung] im i-Manual nachschlagen oder eine Selbstdiagnose durchführen, indem Sie? [Hilfe] → [Kundenservice & Hilfe] → [Selbstdiagnose] auswählen. Wenn das Problem weiterhin besteht, lassen Sie das Fernsehgerät von einem qualifizierten Kundendiensttechniker warten.
Probleme und Lösungen
Es wird kein Bild angezeigt (Bildschirm ist dunkel) und es ist kein Ton zu hören.
- Prüfen Sie die Antennen- oder Kabelverbindung.
- Schließen Sie das Fernsehgerät an die Netzsteckdose an und drücken Sie am Fernsehgerät oder auf der Fernbedienung auf 1/2.
Einige Programme können nicht eingestellt werden.
- Prüfen Sie die Antenne.
- Das Satellitenkabel kann kurzgeschlossen sein oder es kann sich um Anschlussprobleme des Kabels handeln. Bitte überprüfen Sie das Kabel und den Anschluss und schalten Sie das Fernsehgerät mit dem Ein/Aus Schalter Aus und schalten es dann wieder Ein.
- Die von Ihnen eingegebene Frequenz ist außer Reichweite. Bitte wenden Sie sich an die zuempfangene Satellitensendeanstalt.
Es werden keine Kabelfernsehdienste (Sender) gefunden.
- Überprüfen Sie die Kabelverbindung bzw. die Tunerkonfiguration.
- Versuchen Sie [Auto. Digital-Suchlauf] durchzuführen, indem Sie [Antenne] statt [Kabel] auswählen.
Die Fernbedienung funktioniert nicht.
• Tauschen Sie die Batterien aus.
- Das Fernsehgerät befindet sich möglicherweise im SYNC-Modus.
Drücken Sie SYNC MENU, wählen Sie [TV-Steuerung] und dann [Home (Menü)] oder [Optionen], um das Fernsehgerät zu bedienen.
Sie haben das Passwort für [Kindersicherung] vergessen.
- Geben Sie 9999 als PIN-Code ein. (Der PIN-Code 9999 wird immer akzeptiert.)
Das Gehäuse des Fernsehgeräts erwärmt sich.
- Wenn das Fernsehgerät lange Zeit verwendet wird, erwärmt sich das Gehäuse des Fernsehgeräts.
Es fühlt sich möglicherweise heiß an, wenn Sie es mit der Hand berühren.
Eingefrorenes Audio oder Video, ein leerer Bildschirm, oder das Fernsehgerät spricht nicht auf die Tasten an Fernseher oder Fernbedienung an.
- Führen Sie einen einfachen Rücksetzvorgang des Fernsehgeräts aus, indem Sie das Netzkabel zwei Minuten lang abziehen und dann erneut einstecken.
Die Tasten I/∅, CH+/-, ∠+/-, ↑/↓/←/→, →, und HOME sind auf dem Fernsehgerät nicht zu sehen.
- Beachten Sie die Abbildung unten, um die Position der Tasten auf dem Fernsehgerät zu lokalisieren.
Rückseite des Fernsehgeräts

text_image
CH+ I/O + - CH- HOMEDie Beleuchtungs-LED ist aktiviert.
- Wenn Sie nicht möchten, dass die BeleuchtungsLED leuchtet, können Sie sie deaktivieren.
Drücken Sie HOME und wählen Sie dann [Einstellungen] → [Systemeinstellungen] → [Allgemeine Einrichtung] → [Beleuchtungs-LED] → [Aus]. Sie können auch OPTIONS drücken und dann [Beleuchtungs-LED] → [Aus] wählen.

Es kann über WPS keine Verbindung mit einem Wireless-Router hergestellt werden.
- Wenn Sie WEP-Sicherheit verwenden, wählen Sie [Einfach] → [Wi-Fi] → [Über Suchlaufliste verbinden]. Wählen Sie dann den Netzwerknamen (SSID), mit dem Sie eine Verbindung herstellen möchten.
Der erforderliche Netzwerkname kann in der Netzwerkkonfiguration nicht gefunden werden.
- Wählen Sie [[Manueller Eintrag]] und drücken Sie , um den Netzwerknamen einzugeben.
Technische Daten
TV-System
Bildschirmsystem
LCD-Bildschirm (Flüssigkristallbildschirm), LED-Hintergrundbeleuchtung
Fernsehnorm
Analog: Abhängig von der Landes-/ Bereichsauswahl: B/G, D/K, L, I, M
Digital: DVB-T/DVB-C DVB-T2
Satellit: DVB-S/DVB-S2
Farb-/Videosystem
Analog: PAL, SECAM, NTSC3.58, NTSC4.43 Digital: Schlagen Sie im i-Manual nach.
Kanalbereich
Analog: UHF/VHF/Kabel, Abhängig von der Landes-/Bereichsauswahl. Digital: UHF/VHF/Kabel, Abhängig von der Landes-/Bereichsauswahl. Satellit: IF Frequenz 950-2150 MHz
Tonausgänge
10 W + 10 W + 10 W (KDL-65W955B) 10 W + 10 W (KDL-55W955B)
Wireless-Technologie
Protokoll IEEE802.11a/b/g/n
Eingangs-/Ausgangsbuchsen
Antennenkabel
75 Ohm, externer Anschluss für VHF/UHF
Satellitenantenn
Buchsenverbindung vom Typ F IEC169-24, 75 Ohm. DiSEqC 1.0, LNB 13 V/18 V & 22 kHz Ton, Unicable EN50494.
↔ /→...AV1
21-poliger Scart-Anschluss (CENELEC-Standard) mit Audio-/Videoeingang, RGB-Eingang und Audio-/Videoausgang für Fernsehsignale.













YP _B PR (Komponenten-Video): 1080p (50, 60 Hz), 1080i (50, 60 Hz), 720p (50, 60 Hz), 576p, 576i, 480p, 480i Audioeingang (Cinchstecker)
AV2
Videoeingang (gängiger Cinchstecker mit Y-Eing ang)
HDMI IN 1, 2, 3, 4
Video (2D): 1080p (30, 50, 60 Hz), 1080/24p, 1080i (50, 60 Hz), 720p (30, 50, 60 Hz), 720/24p, 576p, 576i, 480p, 480i, Computerformate Video (3D):
Frame Packing: 1080p (30 Hz), 1080/24p, 1080i (50, 60 Hz), 720p (30, 50, 60 Hz), 720/24p
Nebeneinander: 1080p (50, 60 Hz), 1080/24p, 1080i (50, 60 Hz), 720p (50, 60 Hz)
Untereinander: 1080p (30, 50, 60 Hz), 1080/24p, 1080i (50, 60 Hz), 720p (50, 60 Hz)
Audio: 5.1-Kanal, lineares PCM: 32, 44,1 und
48 kHz, 16, 20 und 24 Bit, Dolby Digital
ARC (Audio Return Channel: Audiorückkanal) (nur HDMI IN 2)
MHL (gängig bei HDMI IN 1)
Audio: 5.1-Kanal, lineares PCM: 32, 44,1 und
48 kHz, 16, 20 und 24 Bit, Dolby Digital
Optische Digitalbuchse (zwei Kanäle, lineares PCM, Dolby Digital)
→ AUDIO OUT/Ω
Audioausgang (Stereo-Miniklinke)
Kopfhörerbuchse
(unterstützt Subwooferausgang)
ψ1 (HDD REC), 2, 3ψ
USB-Festplatten-Geräteanschluss (nur 1), USB-Anschluss
↑
Einschub CAM (Zugangskontrollmodul)
LAN
10BASE-T/100BASE-TX-Anschluss (Je nach Betriebsumgebung des Netzwerks kann die Verbindungsgeschwindigkeit variieren. 10BASE-T/100BASE-TX-Kommunikationsrate und Kommunikationsqualität können für dieses Fernsehgerät nicht garantiert werden.)
Sonstiges
Sonderzubehör
Wandhalterung: SU-WL450
Drahtloser Subwoofer: SWF-BR100
MHL-Kabel: DLC-MB10/DLC-MB20/DLC-MC10/
DLC-MC20
3D-Passivbrille: TDG-500P

SimulView™-Passivbrille: TDG-SV5P

Betriebstemperatur
0^ - 40^
Luftfeuchtigkeit beim Betrieb
10 % – 80 % relative Luftfeuchtigkeit (nicht kondensierend)
Stromversorgung und Sonstiges
Betriebsspannung
Belastbarkeit: Eingang 220 V - 240 V
Wechselstrom, 50 Hz
Energieeffizienzklasse
KDL-65W955B: A++
KDL-55W955B: A+
Bildschirmgröße (Diagonale) (Ca.)
KDL-65W955B: 65 Zoll / 163,9 cm
KDL-55W955B: 55 Zoll / 138,8 cm
Stromverbrauch
im Modus [Standard]
KDL-65W955B: 86 W
KDL-55W955B: 83 W
im Modus [Brillant]
KDL-65W955B: 175 W
KDL-55W955B: 145 W
Durchschnittlicher Energieverbrauch im Jahr ^*1
KDL-65W955B: 119 kWh
KDL-55W955B: 115 kWh
Stromverbrauch im Standby-Betrieb ^2
0,25 W (19 W im Software-/EPG-Aktualisierungsmodus)
Anzeigeauflösung
1.920 Punkte (horizontal) × 1.080 Zeilen (vertikal)
Abmessungen (Ca.) (B × H × T)
mit Tischständer
KDL-65W955B: 146,1 × 91,5 × 32,3 cm
KDL-55W955B: 123,9 × 79,1 × 25,1 cm
ohne Tischständer
KDL-65W955B: 146,1 × 87,7 × 10,1 cm
KDL-55W955B: 123,9 × 75,3 × 9,2 cm
Ständerbreite (Ca.)
Position an der Kante
KDL-65W955B: 149,1 cm
KDL-55W955B: 123,9 cm
Mittlere Position
KDL-65W955B: 44,6 cm
KDL-55W955B: 44,6 cm
Gewicht (Ca.)
mit Tischständer
KDL-65W955B: 30,0 kg
KDL-55W955B: 20,2 kg
ohne Tischständer
KDL-65W955B: 29,2 kg
KDL-55W955B: 19,5 kg
^*1 Der Energieverbrauch pro Jahr wurde basierend auf der Leistungsaufnahme des Fernsehgeräts bei einer Betriebsdauer von 4 Stunden täglich an 365 Tagen berechnet. Der tatsächliche Energieverbrauch hängt von der Verwendung des Fernsehgeräts ab.
*2 Die angegebene Leistungsaufnahme im Standby-Betrieb wird erreicht, nachdem das Fernsehgerät die notwendigen internen Prozesse abgeschlossen hat.
Anmerkung
- Entfernen Sie nicht die Kartenattrappe aus dem Einschub TV CAM (Zugangskontrollmodul), außer wenn Sie eine passende Smartcard in einem CAM einsetzen möchten.
- Die Verfügbarkeit des optionalen Zubehörs hängt vom Land/der Region/dem Fernsehmodell/der Lagerhaltung ab.
- Änderungen, die dem technischen Fortschritt dienen, bleiben vorbehalten.
• Dieses Fernsehgerät umfasst MHL 2.
Anmerkungen zu Funktionen für digitale Sender
- Alle Funktionen, die sich auf digitales Fernsehen (D)beziehen, funktionieren nur in Ländern und Gebieten, in denen digitale terrestrische Fernsehsignale im Standard DVB-T/DVB-T2 (MPEG-2 und H.264/MPEG-4 AVC) ausgestrahlt werden oder in denen ein Zugang zu DVB-C-kompatiblen Kabeldiensten (MPEG-2 und H.264/MPEG-4 AVC) existiert. Bitte erkundigen Sie sich bei Ihrem Fachhändler vor Ort, ob an Ihrem Wohnort DVB-T/DVB-T2-Signale empfangen werden können oder fragen Sie Ihren Kabelanbieter, ob dessen DVB-C-Kabeldienst mit dem Betrieb dieses Fernsehers kompatibel ist.
- Ihr Kabelanbieter kann für seine Dienste eine Gebühr oder die Anerkennung seiner Geschäftsbedingungen verlangen.
- Dieses Fernsehgerät erfüllt die DVB-T/DVB-T2-und DVB-C-Spezifikationen. Die Kompatibilität mit zukünftigen digitalen terrestrischen DVB-T/DVB-T2- und DVB-C-Signalen ist jedoch nicht garantiert.
- In manchen Ländern/Gebieten sind u. U. einige Funktionen für digitales Fernsehen nicht verfügbar, sodass die Möglichkeit besteht, dass das DVB-C-Kabelsignal bei einigen Anbietern nicht einwandfrei funktioniert.
Information zu Warenzeichen
- Die Begriffe HDMI und HDMI High-Definition Multimedia Interface und das HDMI-Logo sind Markenzeichen oder eingetragene Markenzeichen von HDMI Licensing LLC in den Vereinigten Staaten und anderen Ländern.
- DLNA ^ , das DLNA-Logo und DLNA CERTIFIED ^ sind Markenzeichen, Dienstleistungsmarken oder Zertifizierungsmarken von Digital Living Network Alliance.
- In Lizenz von Dolby Laboratories gefertigt. Dolby und das Doppel-D-Symbol sind Warenzeichen von Dolby Laboratories.
- „BRAVIA“ und BSNAVIA Warenzeichen der Sony Corporation.
- TrackID ist ein Markenzeichen bzw. eingetragenes Warenzeichen der Sony Mobile Communications AB.
- Gracenote, Gracenote eyeQ, Gracenote VideolD, Gracenote Video Explore, Gracenote MusicID, das Gracenote-Logo und das Gracenote-Firmenlogo sowie das „Powered by Gracenote“-Logo sind entweder eingetragen Marken oder Marken von Gracenote in den Vereinigten Staaten und/oder anderen Ländern.
- Opera® Devices SDK from Opera Software ASA. Copyright 1995-2014 Opera Software ASA. All rights reserved.
- Wi-Fi, Wi-Fi Direct und Miracast sind Marken oder eingetragene Marken der Wi-Fi Alliance.
- Das „Sony Entertainment Network“-Logo und „Sony Entertainment Network“ sind Markenzeichen der Sony Corporation.
- MHL, Mobile High-Definition Link und das MHL-Logo sind Marken oder eingetragene Marken von MHL Licensing, LLC.
• Die DTS-Patente finden Sie unter http://patents.dts.com. Hergestellt unter Lizenz von DTS Licensing Limited. DTS, das Symbol, & DTS und das Symbol zusammen sind eingetragene Markenzeichen und DTS Digital Surround ist ein Markenzeichen von DTS, Inc. © DTS, Inc. Alle Rechte vorbehalten. -
Designed with UEI Technology™ Under License from Universal Electronics Inc. Portions © UEI 2000 – 2013
-
Die Bluetooth®-Wortmarke und -Logos sind Eigentum der Bluetooth SIG, Inc. und werden von Sony Corporation unter Lizenz verwendet. Andere Markenzeichen und Markennamen sind Eigentum der jeweiligen Rechteinhaber.
- DiSEqC™ ist ein Warenzeichen der EUTELSAT.
Dieses Fernsehgerät unterstützt DiSEqC1.0. Dieses Fernsehgerät eignet sich nicht zum Steuern von Motorantennen.
• Die N-Marke ist eine Marke oder eingetragene Marke von NFC Forum, Inc. in den Vereinigten Staaten und in anderen Ländern. - Die Bluetooth®-Wortmarke und -Logos sind Eigentum der Bluetooth SIG, Inc. und werden von Sony Corporation unter Lizenz verwendet. Andere Markenzeichen und Markennamen sind Eigentum der jeweiligen Rechteinhaber.
- DiSEqC™ ist ein Warenzeichen der EUTELSAT.
Dieses Fernsehgerät unterstützt DiSEqC1.0. Dieses Fernsehgerät eignet sich nicht zum Steuern von Motorantennen.
• Die N-Marke ist eine Marke oder eingetragene Marke von NFC Forum, Inc. in den Vereinigten Staaten und in anderen Ländern.
Índice
AVISO IMPORTANTE....2
TÄNDTE LYS ELLER ANDEN FORM FOR ÅBEN ILD FOR AT UNDGÅ BRAND.
VIGTIG BESKED
10 B + 10 B + 10 B (KDL-65W955B)
10 B + 10 B (KDL-55W955B)
Für hilfreiche Informationen zu Sony Produkten
EinfachAnleitung