Hang Up - Massagegerät Sissel - Kostenlose Bedienungsanleitung
Finden Sie kostenlos die Bedienungsanleitung des Geräts Hang Up Sissel als PDF.
| Technische Merkmale | Ergonomisches Massagegerät, entwickelt zur Linderung von Muskelverspannungen. |
|---|---|
| Massage-Modi | Verschiedene Massage-Modi, um sich an die Bedürfnisse des Benutzers anzupassen. |
| Anwendung | Einfach zu bedienen, kann zu Hause oder im Büro verwendet werden. |
| Stromversorgung | Funktioniert mit Netzstrom, mit einem mitgelieferten Netzkabel. |
| Wartung | Mit einem feuchten Tuch reinigen, nicht in Wasser eintauchen. |
| Sicherheit | Nicht bei offenen Wunden oder Hautkrankheiten verwenden. |
| Gewicht | Leichtes Gewicht für einfache Handhabung. |
| Abmessungen | Kompakt, leicht nach der Benutzung zu verstauen. |
| Garantie | Herstellergarantie für sorgenfreie Nutzung. |
Häufig gestellte Fragen - Hang Up Sissel
Benutzerfragen zu Hang Up Sissel
0 Frage zu diesem Gerät. Beantworten Sie die, die Sie kennen, oder stellen Sie Ihre eigene.
Eine neue Frage zu diesem Gerät stellen
Laden Sie die Anleitung für Ihr Massagegerät kostenlos im PDF-Format! Finden Sie Ihr Handbuch Hang Up - Sissel und nehmen Sie Ihr elektronisches Gerät wieder in die Hand. Auf dieser Seite sind alle Dokumente veröffentlicht, die für die Verwendung Ihres Geräts notwendig sind. Hang Up von der Marke Sissel.
BEDIENUNGSANLEITUNG Hang Up Sissel
Sehr geehrter Kunde,
wir danken Ihnen für die Entscheidung zum Kauf der SISSEL - Inversionsbank. Sie tun sich, Ihrer Gesundheit, Ihrer Fitness und Ihrem Wohlbefinden etwas Gutes. Und Sie beugen Beschwerden vor. Mit diesem Gerät sind Sie in der Lage, gesunde Übungen für Herz- und Kreislauf und zur Förderung der Muskulatur, ganz bequem zu Hause durchzuführen.
Der Hersteller garantiert eine ordnungsgemässe Fertigung und Prüfung der Inversionsbank, sowie eine einwandfreie Funktion. Bitte beachten Sie unbedingt die Gebrauchsanweisung und gehen Sie beim Aufbau nach den beschriebenen Schritten vor. Setzen Sie sich mit uns in Verbindung, sollte es dennoch berechtigten Grund zu Beanstandungen geben.
Wir wünschen Ihnen viel Freude mit dem Produkt und viel Erfolg bei Ihren Übungen.
Ihre SISSEL GmbH
Wichtiges vorab:
Das Gerät ist für den Einsatz im privaten bzw. häuslichen Bereich und nicht für einen professionellen Einsatz vorgesehen.
Das Gerät entspricht den Anforderungen der DIN 957-2 Klasse H. Der Einsatzbereich der Klasse H steht für die Benutzung im Heimbereich. Trainingsgeräte der Klasse H sind nicht für die Aufstellung in Bereichen vorgesehen, die Jedermann unkontrolliert zugänglich sind.
Die Produktprüfung erfolgte nach DIN EN 957 für ein max. Benutzergewicht von 110 kg.
Der Hersteller garantiert, dass dieses Produkt, bei Einsatz innerhalb dieses vorgesehenen Zweckes und unter der Bedingung, dass es in Übereinstimmung mit der Gebrauchsanweisung aufgebaut und betrieben wird, frei von Material- und Funktionsmängeln ist. Die sich aus der Gewährleistung ergebende Verpflichtung des Herstellers beschränkt sich auf den kostenlosen Ersatz oder Reparatur der Teile, die innerhalb des vorgesehenen Anwendungszweckes Mängel aufweisen.
Die Gewährleistung erstreckt sich nicht auf Schäden die durch unsachgemässen Betrieb, Zweckentfremdung, unautorisierte Reparaturen oder kommerziellen Einsatz hervorgerufen wurden.
Sicherheitshinweise
- Vor dem Aufbau bitte die Anleitung sorgfältig durchlesen.
- Das Gerät ausschliesslich auf einer freien, ebenen Fläche benutzen
- Achten Sie darauf, dass beim Aufstellen des Gerätes genügend Freiraum um das Gerät vorhanden ist.
- Während des Betriebes Hände und Füsse von beweglichen Teilen fernhalten.
- Keine Gegenstände in Öffnungen stecken.
- Kinder sollten nicht unbeaufsichtigt in die Nähe des Gerätes kommen, da sie auf Grund ihres natürlichen Spieltriebes das Gerät in einer Art und Weise gebrauchen könnten, wofür es nicht vorgesehen ist und dadurch Unfälle verursacht werden könnten.
- Eltern und andere Aufsichtspersonen sollten sich ihrer Verantwortung bewusst sein, da auf Grund des natürlichen Spieltriebes und der Experimentierfreudigkeit der Kinder mit Situationen und Verhaltensweisen zu rechnen ist, für die die Trainingsgeräte nicht gebaut sind.
- Wenn Sie Kinder an dem Gerät trainieren lassen, sollten Sie deren geistige und körperliche Entwicklung und vor allem deren Temperament berücksichtigen. Sie sollten die Kinder gegebenenfalls beaufsichtigen und vor allem auf die richtige Benutzung des Gerätes hinweisen. Als Spielzeug sind die Geräte auf keinen Fall geeignet. Bitte beachten Sie, dass die Mindestg rösse des Nutzers 140 c m und die maximale Grösse 198 cm betragen muss.
- Das Gerät regelmässig auf Schäden und Verschleiss prüfen. Defekte Teile sind unverzüglich auszutauschen. Setzen Sie das Gerät erst wieder ein, wenn die Sicherheit wieder gewährleistet ist.
Achten Sie bei der Prüfung besonders auf folgende Teile:
Aufhängung der Liegefläche am Rahmen (z. B. Bolzen, Zapfen, Führung) Fussbefestigung (z. B. fester Sitz der Schrauben und Muttern, Federknöpfe)
Liegefläche (z. B. Risse)

Befragen Sie Ihren Arzt, vor Beginn eines Übungsprogrammes, besonders bei bereits vorhandenen Gesundheitsproblemen.
Bitte beachten Sie, dass inkorrektes, exzessives Training Ihre Gesundheit gefährden kann.
Wie bei allen sportlichen und gymnastischen Aktivitäten sollten Sie, sobald körperliche Beschwerden, Erkrankungen oder sonstige Probleme vorliegen, sich rückversichern, ob und wie Sie die Übungen durchführen können. Wenden Sie sich ggfs. an Ihren Arzt oder Therapeuten.
Bei folgenden Beschwerden, Erkrankungen oder Zuständen sollten Sie die SISSELInversionsbank jedoch nicht oder nur nach Rücksprache mit Ihrem behandelnden Arzt anwenden:
Leistenbruch
Glaukom, Netzhautablösungen, Augenerkrankungen
Osteoporose, Knochenbrüche, die erst vor Kurzem verheilt sind oder bei Knochen die Implantate enthalten
Innenohrerkrankungen, Neigung zu Blutungen im Kopf
Verletzungen der Wirbelsäule
Schlaganfall, Herz- und Kreislaufstörungen, Bluthochdruck
Bei Gebrauch von Blutverdünnungsmitteln (Heparin)
Schwellungen der Gelenke
Schwangerschaften

Grundsätzlich sollten Sie sich bei Verletzungszuständen nach Operationen, bei organischen Erkrankungen, Herz- und Kreislaufbeschwerden oder anderen vorhandenen und Gesundheitsproblemen an Ihren Arzt wenden.
„Mit Vernunft gebrauc ht, ist Inversion von grossem Vorteil und nicht riskanter als viele andere beliebte und verbreitete Bewegungs-, Trainings und Fitness – Aktivitäten“
Explosionszeichnung Teileübersicht

| Code | Beschreibung | Anzahl |
| 1 | Vorderer U-Rahmen | 1 | |
| 2 | Hinterer U-Rahmen | 1 | |
| 3 | Einstellbarer Ausleger | 1 | |
| 4 | Liegeflächenrahmen | 1 | |
| 5 | Schwenkarm mit Positionsöffnungen | 2 | |
| 6 | Einstellbare Fuss-Halterung | 1 | |
| 7 | Metall-Fersenhalterung | 4 | |
| 8R | Rechter Klapparm | 1 | |
| 8L | Linker Klapparm | 1 | |
| 9 | Stange | 1 | |
| 10 | Sechskantkopfschraube | M8 x 23mm | 2 |
| 11 | Sechskantkopfschraube | M6 x 47mm | 2 |
| 12 | Kreuzschlitzschraube | M6 x 30mm | 4 |
| 13 | Unterlegscheiben | 20^* 8.5^* 1.5 | 16 |
| 14 | Querstrebe | 1 | |
| 15 | Konter-Mutter M8 | 8 | |
| 16 | Konter-Mutter M6 | 6 | |
| 17 | Kleiner Federknopf | 1 | |
| 18 | Grosser Federknopf | 1 | |
| 19 | Sicherheitshaken | (Karabiner-) | 2 |
| 20 | Gummiunterlage | 1 | |
| 21 | Runde Abschlusskappe | 2 | |
| 22 | Fussstangen-Abschlusskappe | 2 | |
| 23 | Feder | 1 | |
| 24 | Quadratische Abschlusskappe | 1 | |
| 25 | Runde Abschlusskappe | 4 | |
| 26 | Führungs-Buchse für Liegeflächenrahmen | 2 | |
| 27 | Unterlegscheibe | 16^* 6.5^* 1.0 | 8 |
| 28 | Abschlusskappe | 1 | |
| 29 | Bügel – Handgriffe | 2 | |
| 30 | Knopf | 1 | |
| 31 | gummierte Fersenhalterung | 4 | |
| 32 | Nylonriemen | 1 | |
| 33 | Nylonriemen | 1 | |
| 34 | Riemenbefestigung | 1 | |
| 35 | Nylonbespannung / Liegefläche | 1 | |
| 36 | Schaumgriffe | 2 | |
| 37 | Schutzhüllen | 2 | |
| 38 | Sechskantkopfschraube | M8 x 23mm | 2 |
| 39 | Fussablage | 1 | |
| 40 | Sechskantkopfschraube | M8 x 50mm | 2 |
| 41 | Quadratische Abschlusskappe | 2 | |
| 42 | Federscheibe | 1 | |
| 43 | Sechskantkopfschraube | M8 x 38 mm | 2 |
| 44 | Skala zur Längeneinstellung | 1 | |
| 45 | Plastikbuchse | 1 | |
| 46 | Schaumstoff – Polster | 1 | |
| 47 | Doppelseitiges Klebeband | 1 | |
| 48 | Abschlusskappe | 27^* 13.5 | 2 |
| 49 | Schwenkarmring | 2 |
Teilepackliste
Code Beschreibung Anzahl
11 Sechskantkopfschraube M6 x 47mm 2
13 Unterlegscheiben ∅20*∅8.5*1.5 12
15 Mutter M8 6
16 Mutter M6 2
27 Unterlegscheibe ∅16*∅6.5*1.0 4
38 Sechskantkopfschraube M8 x 25mm 2
40 Sechskantkopfschraube M8 x 50mm 2
41 Quadratische Abschlussabdeckung 1
43 Sechskantkopfschraube M8 x 38mm 2
48 Abschlusskappe ∅27*∅13.5 2
49 Schwenkarmring 2
Doppelschraubenschlüssel 2
M 12 / M 14
Kreuzschlitzschraubenschlüssel 1

text_image
48 49Anmerkung:
Diese Teile sind separat verpackt und werden für den Aufbau benötigt. Bitte überprüfen Sie ob alle Teile vollständig vorhanden sind, bevor Sie mit dem Aufbau beginnen.
Alle weiteren Teile sind bereits vormontiert.
Entfernen Sie das Verpackungsmaterial und legen Sie sich alle Teile griffbereit zurecht. Nehmen Sie zur Identifizierung der einzelnen Teile die Teileliste zu Hilfe.
Folgen Sie nun beim Aufbau den nachfolgenden Schritten.
Aufbauanleitung

text_image
2 8R 1 8LVorderseite Rückseite
1. Schritt
Stellen Sie das Basisgestell auf indem Sie die U-Rahmen auseinanderklappen. Ziehen Sie die den vorderen und hinteren Rahmen (1, 2) so weit auseinander wie möglich. Drücken Sie dann auf den rechten und linken Klapparm, bis diese komplett eingerastet sind.

text_image
37 INVERSION TABLE 48 15 2 12. Schritt
Drücken Sie die zwei Abdeckkappen (48) auf die Muttern (15). Schieben Sie die Schutzabdeckungen (37) wie abgebildet auf jede Seite des Sockels und ziehen Sie sie nach unten, bis die Unterkanten der Abdeckungen sich genau unterhalb der linken und rechten Schwenkarme (8L, 8R) befinden. Schliessen Sie die Klettbänder an der Unterseite der Schutzabdeckungen (37), um die Abdeckungen an den linken und rechten Schwenkarmen (8L, 8R) zu befestigen. Die Abdeckungen sind korrekt befestigt, wenn der linke und der rechte Schwenkarm vollständig von den Schutzabdeckungen (37) bedeckt sind. Das Logo zeigt dabei nach aussen.

text_image
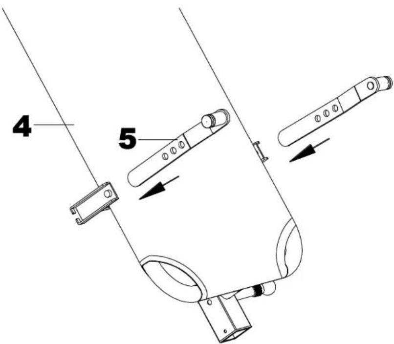
4 53. Schritt
Schieben Sie das untere Ende des Schwenkarms (5) von oben in die an jeder Seite der Liegefläche angebrachten Halterungen. Die Achse muss dabei nach aussen und die Liegefläche nach oben (Schriftzug befindet sich oben) zeigen.
Schieben Sie den jeweiligen Zapfen in eine der drei Positionsöffnungen des Schwenkarms. Diese muss auf beiden Seiten gleich sein.
TIPP: Beginnen Sie am Anfang mit der unteren Positions-Öffnung bis Sie sich mit dem Gerät vertraut gemacht haben.

text_image
A 49 5 B 5 49 2 49 54. Schritt
Bringen Sie die Schwenkarm - Ringe (49) an den Schwenkarmen (5), siehe Abb. A + B an. Montieren Sie den Liege-Rahmen (4) an dem hinteren U-Rahmen (2), indem Sie die Enden der Schwenkarme (5) in die Auskerbung der Platten einsetzen. Der genutete Teil des Bolzens, am Ende der Schwenkarme (5), muss in der Auskerbung liegen.

text_image
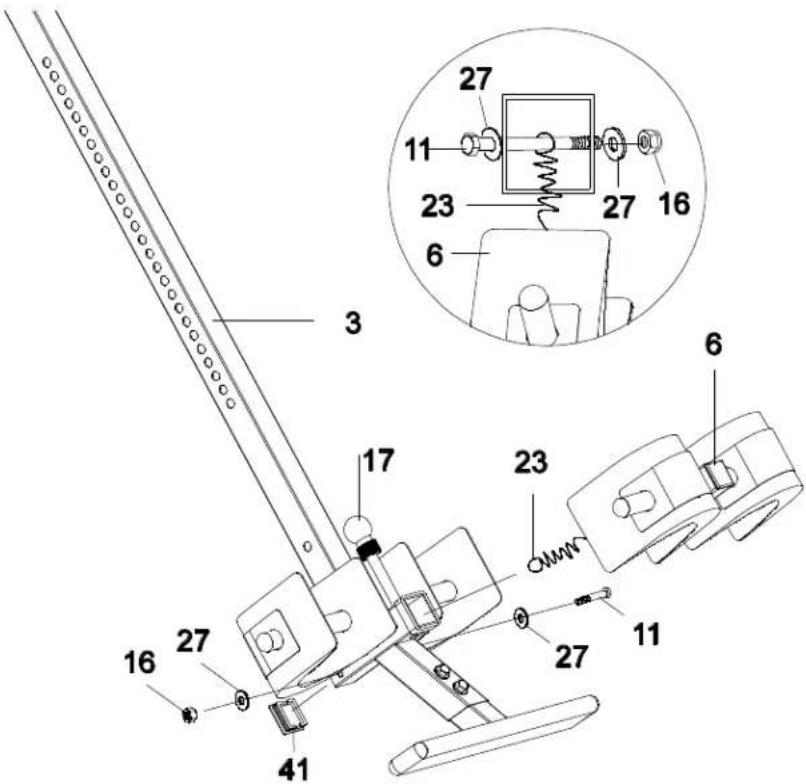
3 27 16 31 9 27 7 31 7 11 40 13 15 13 39 5. Schritt5. Schritt
Schieben Sie den Rundstab (9) durch die seitliche Öffnung des verstellbaren Auslegers (3) und sichern Sie den Rundstab mit einem M6x47 Sechskant Bolzen, einer M6 Mutter, und 2 ∅ 16 x ∅ 6,5x1 Unterlegscheiben (27) am Ausleger. Schieben Sie eine Metall-Fersenhalterung (7) und eine gummierte Fersenhalterung auf das eine Ende des Rundstabes bis die Zahnhalterung in die Kerbe des Rundstabes (9) einrastet, siehe kleine Abbildung. Analog dieser Vorgehensweise nun auch die andere Metall-Fersenhalterung sowie die gummierte Fersenhalterung auf das andere Ende des Rundstabes befestigen.
Hinweis: Stellen Sie sicher, dass die Zahnhalterungen in die Kerben des Rundstabes einrasten um die Metall-Fersenhalterung sowie die gummierte Fersenhalterung vor der Nutzung zu arretieren.
Schieben Sie die Profilstange des Fusses (39) in das untere Ende des verstellbaren Auslegers (3) und richten Sie zwei der Löcher in der Profilstange des Fusses (39) mit zwei Löchern des Auslegers aus. Sichern Sie die Profilstange des Fusses (39) in dieser Position mit Hilfe von zwei Sechskantschrauben (40), Muttern (15) und vier Unterlegscheiben (13).
Der Winkel des Querrohres der Fussstange muss im gleichen Winkel zum abgeschrägten Ende des Auslegers stehen.

Verbinden Sie die Fusshalterung (6) mit dem Ausleger (3) durch Einführen in die dafür vorgesehene viereckige Vorrichtung am Ausleger. Schieben Sie die Fusshalterung komplett in die Vorrichtung, führen Sie die M6 x 47mm Sechskantschraube (11) zusammen mit einem a ∅16x∅6,5x1,0 Unterlegscheibe (27) zur Hälfte in die viereckige Vorrichtung ein, schieben Sie die M6x47 Sechskantschraube (11) durch den Ring am unteren Ende der Feder (23), schieben Sie die M6x47 Seckskantschraube (11) komplett durch die viereckige Vorrichtung und sichern Sie sie am anderen Ende mit einer ∅16x∅6,5x1,0 Unterlegscheibe und einer M6 Kontermutter (16). Setzen Sie die quadratische Abschlusskappe auf die Vorrichtung am Ausleger.
Hinweis: Um die Fusshalterung in die viereckige Vorrichtung einzuschieben, muss zuvor der kleine Federknopf herausgezogen werden.

text_image
18 4 30 3 447. Schritt
Schieben Sie den Ausleger (3) mit der Skala nach oben, in das Vierkantrohr am unteren Ende der Liegefläche (4). Ziehen Sie dabei den grossen Federknopf (18) heraus. Schieben Sie den Ausleger, bis zur gewünschten Grössenangabe nach oben. Dazu dient Ihnen die auf dem Ausleger angebrachte Skala. Die richtige Einstellung ist erreicht, wenn sich das gewünschte Mass der Skala an der Kante des Vierkantrohres der Liegefläche befindet.
Lassen Sie den Federgriff los, sobald das gewünschte Mass eingestellt ist und lassen Sie ihn spürbar einrasten. Achten Sie darauf, dass der Federknopf in die entsprechende Position „springt“. Schrauben Sie als zusätzliche Sicherheit, den Sterngriff (30) in die, auf der Rückseite des Vierkantrohres der Liegenfläche befindlichen Gewindeöffnung und ziehen Sie diesen kräftig an.

Befestigen Sie das obere Ende der Griffstange (29) am rückwärtigen U-Rahmen (2) und die Dreharmverstärkungsplatten (49) mit Hilfe einer Sechskantschraube (38), einer Kontermutter (15) und zweier Unterlegscheiben (13).
Befestigen Sie das untere Ende der Griffstangen (29) am rückwärtigen U-Rahmen (2) mit Hilfe der Sechskantschraube (43), einer Kontermutter (15) und zweier Unterlegscheiben (13).
Wiederholen Sie den obigen Ablauf mit der anderen Griffstange.
8. Schritt
Befestigen Sie den Nylonriemen an der Riemenschnalle (34) indem Sie das Ende des Riemens durch die Unterseite der Riemenbefestigung ziehen, den Riemen als Schleife über den vormontierten Riemen (33) und dann nach unten durch die Riemenbefestigung ziehen. Jetzt den Riemen als Schleife zurück über sich selbst und dann durch die Riemenbefestigung schieben und festziehen.

text_image
19 33 34 32 19 19 33 34 32 19
text_image
1 4 19 34 32 199. Schritt
Befestigen Sie die so vormontierten Nylonriemen (32 + 33) an der Inversionliege. Haken Sie dazu die an den Nylonriemen befindlichen Sicherheits-Karabinerhaken (19) in die Oesen des Liegeflächenrahmens und an der Querverstrebung des vorderen U-Rahmens (1) ein.
Betrieb und Einstellungen

text_image
32- Kürzen

text_image
32- Verlängern
Der Riemen
Im Sicherheitsinteresse wurde ein Nylonriemen beigefügt um den Inversionsgrad zu regeln und zu begrenzen. Dieser Riemen kann auf unterschiedliche Längen eingestellt werden, was die Einstellung eines höheren oder geringeren Inversionsgrades ermöglicht.
- Zur Verkürzung des Riemens wird das untere Ende in die Riemenbefestigung eingefädelt und am oberen Ende gezogen
- Zur Verlängerung des Riemens (32) wird dessen oberes Ende in die Riemenbefestigung eingefädelt und am unteren Ende gezogen.

text_image
18 4 30 3 44Einstellung des Auslegers
Der einstellbare Ausleger (3) kann in mehrere Positionen individuell auf die Körperlänge des Benutzers eingestellt werden. Lockern Sie dazu die Verschraubung (30) und ziehen Sie den Federknopf (18) soweit heraus, bis Sie den Ausleger nach oben oder nach unten verschieben können. Stellen Sie das gewünschte Mass ein und lassen Sie den Federknopf los und schieben den Ausleger leicht nach oben oder nach unten, bis er in die eingestellte Position „einspringt“ und drehen Sie dann die Verschraubung (30) wieder fest.
TIPP: Da jeder Mensch einen unterschiedlichen Schwerpunkt hat, dient die Skala zunächst als Einstellungsempfehlung. Stellen Sie vor dem ersten Training die Skala mindestens 5 cm unter der Ihnen bekannten Körpergrösse ein und tasten Sie sich durch schrittweises Annähern an die für Sie ideale Position.

text_image
4 5 4Schwenkarm mit Befestigungsoffnungen
Die Schwenkarme sind mit mehreren Befestigungsöffnungen ausgestattet. Diese dienen zur Einstellung des Inversionsgrades. Zur Veränderung der Einstellung kippen Sie den Schwenkarm einfach so weit nach vorne, bis sich der Zapfen ausserhalb der jeweiligen Öffnung befindet. Schieben Sie nun den Schwenkarm in die nächste, von Ihnen gewünschte Richtung und drücken Sie die Öffnung wieder über den Zapfen zurück.
Die unterste Öffnung bietet den geringsten Inversionsgrad.
Die oberste Öffnung bietet den höchsten Inversionsgrad.
Für Anfänger empfehlen wir mit der untersten (das ist die letzte bzw. 3. Öffnung, die nach dem Querzapfen kommt) Öffnung zu beginnen, damit man sich mit dem Gerät ausreichend vertraut machen kann.
Die Öffnungen beider Schwenkarme müssen unbedingt in gleicher Höhe eingerastet sein. Unterschiedliches Anbringen kann das Gerät beschädigen und zu Verletzungen führen.
Die Griffe
Zur Erhöhung von Komfort und Sicherheit wurde die Inversionsliege mit Handgriffen ausgestattet. Diese Griffe befinden sich am oberen Ende des hinteren U-Rahmens (2). Mit Ihrer Hilfe wird die Rückkehr in die aufrechte Ausgangsstellung und zwar von jedem Inversionsgrad aus erleichtert. Wenn Sie in die aufrechte Stellung zurückkehren möchten und die Liegefläche zu langsam ist oder sich überhaupt nicht bewegt, greifen Sie einfach nach den Griffen und ziehen Sie daran bis Sie sich wieder in der Ausgangsposition befinden.

Der neutrale Schwerpunkt ist beim Menschen unterschiedlich. Deshalb kann es vorkommen, dass die auf der Skala angegebene Körpergrösse von der für Sie idealen Einstellung abweicht. Stellen Sie vor dem ersten Training die Skala mindestens 5 cm unter der ihnen bekannten Körpergrösse ein und tasten Sie sich durch schrittweises Annähern an die für Sie ideale Position. Die richtige Längeneinstellung ist dann erreicht, wenn sich die Liege in die Ausgangsstellung zurück bewegt, sobald Sie ihre Arme nach unten, unterhalb der Taille bewegen.
- Vergewissern Sie sich, dass der Bolzen des Schwenkarmes exakt in der Kerbe des Basisrahmens liegt. Er muss in der Kerbe ganz unten aufsitzen.
- Die Anwesenheit einer weiteren Person ist bei den ersten Anwendungen empfehlenswert.
- Der einstellbare Ausleger sollte richtig auf Ihre Grösse eingestellt sein.
- Vergewissern Sie sich, dass der einstellbare Ausleger sowohl von den grossen Federknöpfen wie auch vom Knopf (30) sicher gehalten wird.
- Stellen Sie sicher, dass die Liegefläche genug Platz hat um sich komplett drehen zu können.
- Stellen Sie sicher, daß das Gerät auf einem ebenen, rutschfreien Untergrund steht.
- Vergewissern Sie sich, dass die Fersenhalterungen Ihre Füsse sicher und fest halten und der Federbolzen korrekt eingerastet ist. Schieben Sie ggfs. die Halterung mit leichtem Druck in die nächste Öffnung. Vermeiden Sie einen zu hohen Druck auf die Füsse.

Benutzung der Inversionsliege
- Ziehen Sie den kleinen Federknopf (17) nach oben, schieben Sie die Fussrückenhalterung (6) soweit zurück, bis der Federknopf in der letzten Position (Öffnung) einrastet.
- Schieben Sie ihre Knöchel seitlich zwischen die Fersenhalterungen (31) und stellen Sie sich auf die am Ende des einstellbaren Auslegers angebrachten Fussstange.
- Ziehen Sie den kleinen Federknopf so weit nach oben, bis sich die Arretierung löst und schieben die Fersenrückenhalterung so weit nach unten, bis diese eng an den Füssen (Knöchel) anliegen und der Federknopf spürbar einrastet (springt).
-
Richten Sie sich vollständig auf, legen Sie Ihren Rücken gegen die Liegefläche und halten Sie Ihre Hände seitlich angelegt oder legen Sie diese in den Schoss.
-
Beginnen Sie langsam: Am Anfang lediglich mit einer Inversion von 15° bis 20°. Bleiben Sie in dieser Stellung nur so lange Sie sich wohl fühlen. Kehren Sie langsam wieder in die Ausgangsstellung zurück.
- Gehen Sie Änderungen langsam an: Steigern Sie den Winkel nur, wenn Sie dies als angenehm empfinden. Steigern Sie den Winkel jedes Mal nur um einige Grad. Steigern Sie die Anwendungsdauer über einen Zeitraum von mehreren Wochen um 1–2 Minuten bis auf 10 Minuten. Zusätzliches Stretching und einfache Gymnastik sollten erst dann hinzukommen, wenn Sie die Inversion als angenehm empfinden.
- Beobachten Sie Ihren Körper: Kehren Sie langsam in die Ausgangsstellung zurück. Schwindel bedeutet, dass Sie zu schnell waren. Benutzen Sie das Gerät nicht direkt nach dem Essen. Wenn Ihnen schlecht werden sollte, gehen Sie nicht dagegen an, sondern kehren Sie in die Ausgangsposition zurück so bald Sie sich unwohl fühlen.
- Bleiben Sie in Bewegung: Bewegung während der Inversion regt Blut-, Lymph- und Liquorkreislauf an und unterstützt die Ausrichtung von Knochen und Organen. Bewegen Sie sich in der Traktion oder machen Sie leichte Gymnastik. Probieren Sie dazu leichte Seitneigungen und Rotationsbewegungen nach links und rechts. Lassen Sie dabei die Arme entspannt aushängen. Von anstrengenden Übungen während der Inversion wird abgeraten. Reduzieren Sie partielle Inversion ohne Bewegung auf Sitzungen von ein bis zwei Minuten.
- Wenden Sie die Inversion regelmässig an: Wir empfehlen, je nach Ihrer Verfassung, zwei bis drei Sitzungen täglich. Versuchen Sie die Sitzungen jeweils zum gleichen Zeitpunkt durchzuführen.


Abbau der Inversionsliege
Schieben Sie zunächst den Ausleger (3) ganz nach hinten in den Rahmen. Lösen Sie dazu mit dem Knopf (30) die Verriegelung. Wenn die hinterste Einstellung erreicht ist, lassen Sie den Federknopf, durch leichtes hin und her schieben, in die nächste Position einrasten.
Entfernen Sie die Nylongurte, falls diese befestigt sind. Klinken Sie dazu die Sicherheitshaken (Karabiner-) aus den Oesen.
Heben Sie nun die Liegefläche einschliesslich der Schwenkarme aus der Einkerbung des Basisrahmens heraus und stellen ihn beiseite. Entfernen Sie die Schwenkarme.
Klappen Sie den Rahmen zusammen, indem Sie die Querstreben nach oben drücken und dadurch die Verriegelung lösen.
Jetzt kann das Gerät gelagert und bei Bedarf schnell und einfach wieder auseinander geklappt und zusammen gebaut werden.

EinfachAnleitung