AWG 912 SPRO - Waschmaschine WHIRLPOOL - Kostenlose Bedienungsanleitung
Finden Sie kostenlos die Bedienungsanleitung des Geräts AWG 912 SPRO WHIRLPOOL als PDF.
Häufig gestellte Fragen - AWG 912 SPRO WHIRLPOOL
Questions des utilisateurs sur AWG 912 SPRO WHIRLPOOL
0 question sur cet appareil. Repondez a celles que vous connaissez ou posez la votre.
Poser une nouvelle question sur cet appareil
Laden Sie die Anleitung für Ihr Waschmaschine kostenlos im PDF-Format! Finden Sie Ihr Handbuch AWG 912 SPRO - WHIRLPOOL und nehmen Sie Ihr elektronisches Gerät wieder in die Hand. Auf dieser Seite sind alle Dokumente veröffentlicht, die für die Verwendung Ihres Geräts notwendig sind. AWG 912 SPRO von der Marke WHIRLPOOL.
BEDIENUNGSANLEITUNG AWG 912 SPRO WHIRLPOOL
Sicherheitshinweise, Gebrauchs- und Installationsanleitung
DEUTsCH (Original-Bedienungsanleitung) .46
Nous, BAUKNECHT HAUSGERATE GmbH, D-73614 Schorndorf
Schorndorf, 11.11.2015 Stephen M. Groppel
LA PORTE PEUT ETRE OUVERTE
SICHERHEITSHINWEISE, GEBRAUCHS- und INSTALLATIONSANLEITUNG

DANKE, DASSIE SICH FÜR EIN WHIRLPOOL PRODUKT ENTSCHIEDEN HABEN.
Für eine umfassendere Unterstützung
melden Sie Ihr Gerätitte unter www.whirlpool.eu/register an
Index
Sicherheitshinweise
SICHERHEITS-HINWEISE 48
HINWEISE ZUM UMWELTSCHUTZ 51
KONFORMITÄTS-ERKLÄRUNG 52
Nutzungs- und Pflegehandbuch
PRODUKTBESCHREIBUNG 53
GERAT 53
WASCHMITTELFACH 53
BEDIENTAFEL 54
TECHNISCHE DATEN ZUM ANSCHLUSS AN DIE WASSERLEITUNG 55
TUR. 56
TROMMELBELEUCHTUNG (falls vorhanden) 56
ZUBEHOR. 56
BEDIENUNG DES GERÄTES 57
ERSTINBETRIEBNAHME 57
TÄGLICHER GEBRAUCH 58
PROGRAMME
UND OPTIONEN 62
FUNKTIONEN 68
ANZEIGEN 70
DOSIERANZEIGE / ERSTMALIGER GEBRAUCH 71
DOSIERANZEIGE / TÄGLICHER GEBRAUCH 73
SPARTIPPS 74
WARTUNG & PFLEGGE 75
REINIGUNG DER AUßenSEITE DER WASCHMASCHINE. 75
ÜBERPRÜFUNG DES WASSERZULAUFSCHLAUCHS 76
REINIGUNG DER FILTERSIEBE IM WASSERZULAUFSCHLAUCH. 77
REINIGUNG DES WASCHMITTELFACHS 78
REINIGUNG DES WASSERFilters / RESTWASSERENTLEERUNG 79
TRANSPORT UND UMZUG 81
LOSEN VON PROBLEMEN 82
TÜR - WIE SIE BEI EINER STÖRUNG ZU ÖFFNEN IST, UM IHRE WÄSCHE ZU ENTNEHMIEN 87
KUNDENDIENST. 88
Installationsanleitung 218
SICHERHEITS-HINWEISE
DIESE MÜSSEN DURCHGELESEN UND BEAuchtET WERDEN
Lesen Sie vor Inbetriebnahme der Waschmaschine sorgfältig die Sicherheitshinweise und Gebrauchsanleitung.
Bewahren Sie diese Anweisungen griffbereit zum Nachschlagen auf.
IHRE SICHERHEIT UND DIE SICHERHEIT ANDERER PERSONEN SIND SEHR WICHTIG.
In diesen Anweisungen sowie auf der Waschmaschine selbst werden wichtige Sicherheitseinweise angegeben, die Sie durchlesen und stets beachten sollenn.

Dies ist das
Sicherheitsswarnsymbol.
Dieses Symbol warnt vor potentieller Verletzungs- oder Lebensgefahr.
Alle Sicherheitsmeldungen folgen dem
Sicherheitsswarnsymbol und dem Wort GEFAHR oder WARNING. Dies bedeutet:
GEFAHR
Weist auf eine Gefahrensituation hin, die zu schweren Verletzungen führt, wenn sie nicht vermieden wird.
WARNUNG
Weist auf eine GefahrensITUation hin, die bei mangelnder Vorsicht zu schweren Verletzungen führt.
Alle Gefahrenhinweise bezeichnet das potenzielle Risiko, auf das sie sich beziehen und geben an, wie Verletzungsgefahren, Schaden und Stromschlagen durch unsachgemäßen Gebrauch der Waschmaschine vermieden werden können. Halten Sie sich genau an folgende Anweisungen. Die Nichtbeachtung dieser Anweisungen kann Risiken verursachen. Der Hersteller leht jegliche Haftung für Personen oder Tiere oder Sachschemen ab, wenn die diese Hinweise und Warnung nicht beachtet worden sind.
Babys und Kleinkinder (0-3 Jahre) sowie jüngere Kinder (3-8 Jahre) müssen vom Gerät fern gehalten werden, es sei dann, sie werden ständig beaufsichtigt.
These Waschmaschine darf von Kindern ab 8 Jahren sowie Personen mit herabgesetzten physischen, sensorischen oder geistigen Fähigkeiten und Mangel an Erfahrung und Kenntnissen nur unter Aufsicht oder nach ausreichender Einweisung der sicheren Nutzung der Waschmaschine und wenn sie die damit verbundenen Gefahren verstehen, verwendet werden. Kinder dürfen nicht mit der Waschmaschine speien. Kinder dürfen das Gerät nicht ohne Beaufsichtigung reinigen oder warten.
Entfernen Sie die Transportsicherungsschrauben.
Die Waschmaschine ist mit
Transportsicherungsschrauben
ausgerüstet, die mögliche
Schäden im Innerer der
Waschmaschine während des
Transportsverhindern. Vor
Inbetriebnahme der
Waschmaschine mussen die
Transportsicherungsschrauben
unbedingt entfernt werden.
Verschreiben Sie nach dem
Entfern den Schrauben die
Öffnungen mit den 4
mitgelieferten Kunststoffkappen.
Öffnen Sie die Tur niemals mit Gewalt öffnen und verwenden Sie diese nicht als Trittbrett.
VERWENDUNGSZWECK DES GERÄTES
Der Hersteller übernimmt keine Verantwortung für Schäden aufgrund von unsachgemäß oder falscher Verwendung.
VORSICHT:Die Waschmaschine ist nicht fur den Betrieb mittels externer Zeitschaltuhr oder getrenntem Fernbedienungssystem vorgesehen.
Verwenden Sie die Waschmaschine nicht im Freien.
Lagern Sie keine explosiven oder brennbaren Stoffe wie Spraydosen und stellen oder benutzen Sie kein Benzin oder andere brennbare Materialien in die Waschmaschine oder in ihre Nähe: Es besteht Brandgefahr,
falls die Waschmaschine versehentlich eingeschaltet wird.
Die Waschmaschine kann auf öffentlichen Plätzen verwendet werden.
These Waschmaschine ist ausschließlich für die Behandlung von maschinenwaschbarer Wäsche bestimmt.
INSTALLATION
Einbau und Reparaturen müssen von einer Fachkraft gemäß den Herstellerangaben und gültigen örtlichen Sicherheitsbestimmungen durchgeführt werden. Reparieren Sie die Waschmaschine nicht selbst und tauschen Sie keine Teile aus, wenn dies im Bedienungshandbuch nicht ausdrücklich angegeben ist. Kinder sollenne keine Installationsarbeitenden durchführren. Halten Sie Kinder während der Installation der Waschmaschine fern. Bewahren Sie das Verpackungsmaterial (Kunststoffbeutel, Styropor usw.) während und nach der Installation der Waschmaschine nicht in der Reichweite von Kindern auf.
Verwenden Sie zum Entpacken und Aufstellen
Schutzhandschuhe.
Überprüfen Sie nach dem Auspacken der Waschmaschine, dass sie während des Transports nicht beschadigt wurde. Bei auftretenden Problemen wenden Sie sichitte an ihren Handler oder den Kundendienst. Die Waschmaschine muss von zwei oder mehr Personen gehandhabt und aufgestellt werden. Halten Sie Kinder während der
Installation der Waschmaschine fern.
Der Aufstellungsord der Waschmaschine muss permanente Sichtbarkeit und Zugänglichkeit des Netzanschlusses gewährleisten.
Trennen Sie die Waschmaschine vor den Einbauarbeiten von der Stromversorgung.
Achten Sie beim Aufstellen darauf, das Netzkabel nicht mit der Waschmaschine selbst zu beschädigen.
Starten Sie die Waschmaschine erst, wenn die Installationsarbeiten abgeschlossen sind.
Warten Sie nach der Installation des Gerätes einige Stunden, bevor Sie diesen in Betrieb fühmen, um es an die Umgebungsbedingungen des Raums zu gewöhnen. Stellen Sie die Waschmaschine nicht an Orten auf, wo sie extremen Bedingungen ausgesetzt sein konnte, wie: schlechte Belüftung, hohe Temperaten oder unter 5^ oder über 35^ .
Vergewissem Sie sich bei der Installation der Waschmaschine, dass alle vier Fuß fest auf dem Boden aufliegen, passen Sie diese bei Bedarf an und überprüfen Sie durch die Verwendung einer Wasserwaage, dass die Waschmaschine vollkommen eigenen und standsicher ist.
Falls die Waschmaschine auf so genannten, schwimmenden Böden" (zum Beispiel bestimmte Parkett- oder Laminatböden) aufgestellt werden soll, stellen Sie die Waschmaschine auf eine 60 x 60 cm große, mindestens 3 cm dicke Sperrholzplatte, die am
Boden befestigt werden muss.
Schlieben Sie die Waschmaschine nur mit neuen Schlauchen an die Wasserversorgung an. Gebrauchte Schläuche dürfen nicht wieder verwendet, sondern müssen aussortiert werden.
Verschieben Sie die Waschmaschine, ohne sie an der Arbeitsplatte anzuheiten.
Schlieben Sie den Wasserzulaufschlauch/die Wasserzulaufschlauche unter Beachtung der Vorschriften des örtlichen Wasserwerks an die Wasserversorgung an.
Nur für Modelle für Kaltwasser entworfen: Nicht an die Warmwasserversorgung anschließen.
Für Modelle mit Warmwasserzulauf: die Temperatur des Warmwasserzulaufs darf 60^ nicht übersteigen.
Stellen Sie sicher, dass die Entlüfungsschlitze unter an der Waschmaschine (falls an Ihrem Modell vorhanden) nicht durch einen Teppich oder andere Material verstopt sind.
DerVersorgungswasserdruck muss im MPa-Bereich von 0,1-1 liegen.
Wenn Sie einen Trockner oben auf die Waschmaschine installieren möchten, Fragen Sie unseren Kundendienst oder ihren Handler, ob dies möglich ist. Das Aufsetzen eines Trockners auf die Waschmaschinearf nur unter Verwendung des speziellen, beim Kundenservice oder Handler erhaltenen Auftisch-Bausatzes erfolgen.
HINWEISE ZUR ELEKTRIK
Stellen Sie sicher, dass die Betriebsspannung auf dem Typenschild der am Aufstellort entspricht.
Um die einschlagigen Sicherheitsvorschriften zu erfüllen, muss installationsseitig ein allpoliger Trennschalter mit einer Kontaktöffnung von mindestens 3 mm vorgesehen werden.
Die Erdung der Waschmaschine ist gesetzlich vorgeschrieben.
Für Waschmaschinen mit einem mitgelieferten Netzstecker, sollte der Stecker nicht zu ihrer Steckdose passen,kontaktieren Sie einen Techniker.
Verwenden Sie keine Veränderungskabel, Mehrfachstecker oder Adapter. Schlieben Sie die Waschmaschine nicht an Steckdosen an, die durch eine Fernbedienung betrieben werden können.
Ziehen Sie nicht am Netzkabel. Beschädigte Netzkabel müssen durch identische Kabel ersetzt werden. Das Netzkabelarf nur gemäß der Installationsanleitung des Herstellers und gemäß den Sicherheitsvorschriften von Fachpersonal ersetzt werden. Wenden Sie sich an eine autorisierte Kundendienstelle.
Verwenden Sie die Waschmaschine nicht, wenn das Netzkabel oder der Stecker beschädigt sind, wenn sie nicht einwandfrei Funktioniert, beschädigt oder herunter gefallen ist. Tauchen Sie das Netzkabel oder den Stecker nicht ins Wasser. Halten Sie das Netzkabel fern von bereits Oberflächen.
Nach der Installation dürfen
Strom fuhrende Teile für den Benutzer nicht mehr zugänglich sein.
Berühren Sie die Waschmaschine nicht mit feuchten Handen und benutzen Sie diese nicht, wenn Sie barfuß sind.
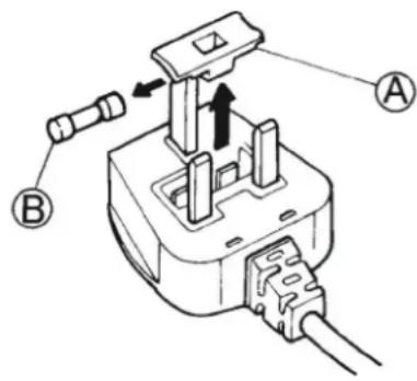
NETZANSCHLUSS, NUR FÜR GROSSBRITANNIEN UND IRLAND
Auswechseln der Sicherung
Wenn sich am Netzkabel der Waschmaschine ein Stecker befindet, der nach BS 1363A mit 13 A abgesichert ist, damit die Sicherung nur durch eine von A.S.T.A. geprüfte Sicherung vom Typ BS 1362 ersetzt werden. Wie folgt vorgehen:

- Sicherungsdeckel (A) entfern und Sicherung (B) Herausnahmen.
2.Die Ersatzsicherung 13 A in den Sicherungsdeckel einlagen. - Beides in den Netzstecker einsetzen.
Wichtig:
Der Sicherungsdeckel muss wieder aufgesetzt werden. Bei Verlust des Deckels darf der Stecker nicht benutzt werden, bis ein passender Ersatzdeckel montiert ist. Passender Ersatz ist am farbigen Einsatz oder der farbigen Bezeichnung am Steckerboden erkennbar. Ersatzsicherungsdeckel sind beim Elektrohandler vor Ort erhältlich.
Nur für die Republik Irland
Meist treffen die für Großbritannien geltenden Informationen auch hier zu; es gibt jedoch in Irland eine dritte Stecker-/Steckdosenart, 2-polig mit seitlicher Erdung.
Steckdose/Stecker (in beiden Ländern)
Pass der mitgelieferte Stecker nicht zur Steckdose, verständigen Sie den Kundendienst. Versuchen Sie nicht den Stecker selbst zu wechseln. Diese Vorgang darf nur von einem erfahrenen Techniker in Anleitung an die Herstelleranweisungen und an die einschlädigten Sicherheitsbestimmungen durchgeführt werden.
RICHTIGER GEBRAUCH
Nach der Installation der Waschmaschine, die Transportsicherungsschrauben entfernen, bevor das Gerät verwendet wird.
Überschreiben Sie nicht die zulässige maximale Beladung. Überprüfen Sie die zulässige maximale Beladung in der Programmtabelle.
Schlieben Sie bei Nichtgebrauch der Maschine den Wasserhahn. Scheint die Waschmaschine beschadigt zu sein, den Besitzer des Gerätes oder, bei Bedarf, den Kundendienst kontaktieren.
REINIGUNG UND WARTUNG
Trennen Sie die Waschmaschine vor der Reinigung oder Wartungsarbeiten von der Stromversorgung.
Die Trennung vom Stromnetz muss permanent von allen Seiten
der Waschmaschine kontrolliert werden können. Sicherstellen, dass das Gerät während der Wartungsarbeiten nicht versehentlich an das Stromnetz angeschlossen ist.
Für die Reinigung oder Wartung muss die Trennung vom Stromnetz permanent von allen Seiten der Waschmaschine kontrolliert werden können.
Verwenden Sie keine Wasserdampfreinigungsgerate.
Niemals brennbare Substanzen zur Reinigung der Waschmaschine verwenden.
Keine Allzweckreiniger, Glasreiniger, Scheuerpulver oder ähnliche Mittel für die Reinigung der Waschmaschine verwenden, insbesondere für die Bedientafel des Gerätes.
Für Reparaturen dürfen nur Original-Ersatzteile verwendet werden.
Reparaturen müssen von unserem autorisierten
Kundendienst durchgeführt werden. Die Reinigungsinstrumente beachten, wie im Abschnitt REINIGUNG UND WARTUNG im Nutzungs- und Pflegehandbuch angegeben.
HINWEISE ZUM UMWELTSCHUTZ
ENTSORGUNG VON VERPACKUNGSMATERIALIEN
Das Verpackungsmaterial ist zu 100% wiederverwertbar und tragt das Recycling-Symbol:

Werfen Sie das Verpackungsmaterial deshalb nicht einfach fort, sondern entsorgen Sie es gemäß den geltenden ortlichen Vorschriften.
ENTSORGUNG VON ALTGERÄTEN
Machen Sie vor der Entsorgung die Waschmaschine durch Trennen des Netzkabels unbrauchbar und entfern Sie Turen und Ablageflächen (falls vorhanden), so dass Kinder nicht einfach in das
Gerät klettern konnen und darin eingeschlossen bleiben.
These Waschmaschine wurde aus recyclabaren

oder wiederverwendbaren Werkstoffen hergestellt. Entsorgen Sie das Gerät im Einklang mit den lokalen Vorschriften zur Abfallbeseitigung. Genauere Informationen zu Behandlung, Entsorgung und Recycling von elektrischen Haushaltsgeräten erhalten Sie bei ihrer zuständigen örtlichen Behörde, der Müllabfuhr oder dem Handler, bei dem Sie die Waschmaschine gekauft haben.
These Waschmaschine ist gemäß der Europäischen
Richtlinie 2012/19/EC für Elektro- und Elektronik-Altgeräte (WEEE) gekennzeichnet.
Durch ihren Beitrag zum korrekten Entsorgen theses Produktionschutzten Sie die Umwelt und die Gesundheit Ihrer Mitmenschen. Umwelt und Gesundheit werden durch falsches Entsorgen gefährdet. Das Symbol

auf dem Gerät bzw. auf dem beiliegenden Informationsmaterial weist daraufhin, dass diesen Gerät kein normaler Haushaltsabfall ist, sondern in einer Sammelstelle für Elektro- und Elektronik-Altgeräte entsorgt werden muss.
KONFORMITÄTS-ERKLÄRUNG
Die Waschmaschine wurde Übereinstimmung mit den folgenden Europäischen Richtlinien entworfen, hergestellt und verkauft:
2006/95/EG Niederspannungsrichtlinie
2004/108/EG Richtlinie zur elektromagnetischen Verträglichkeit.
- Der Gerauschpegel der Waschmaschine liegt unter 70 dB(A).
Wir BAUKNECHT HAUSGERÄTE GmbH, D-73614 Schorndorf, die WHIRLPOOL EUROPE S.r.l. I-21025 COMERIO vertreten,
erklärern in alleiniger Verantwortung, dass das Produkt,
Waschmaschine WHIRLPOOL AWG812/PRO AWG912/PRO 12NC Code:8592 122010108592 12301010 Zulassung:D430PD430P
auf das sich diese Erklärung bezieht, in Übereinstimmung mit der/den folgenden Norm(en) oder anderen Dokumenten steht
EN 60335-1:2012+A11:2014+AC:2014
EN 50571:2013
EN 61770:2009
EN 62233:2002+Ber.1:2008
EN ISO 10472-1:2008
EN ISO 10472-2:2008
EN ISO 12100:2010
EN 55014-1:2006+A1:2009+A2:2011 (Testverfahren >30MHz Störleistung)
EN 55014-2: 1997+A1:2001+A2:2008
EN 61000-3-2: 2006 + A1:2009 + A2:2009
EN 61000-3-3:2008
gemäß den Bestimmungen der Richtlinie(n):
2006/42/EG Maschinenrichtlinie
2006/95/EG Niederspannungsrichtlinie - gultig bis zum 19. April 2016
2014/35/EG Niederspannungsrichtlinie - gultig ab dem 20. April 2016
2004/108/EG Richtlinie über die elektromagnetische Verträgelichkeit – gültig bis zum 19. April 2016
2014/30/EG Richtlinie über die elektromagnetische Verträgelichkeit - gültig ab dem 20. April 2016
2011/65/EU RoHS-Richtlinie

Schorndorf, 11.11.2015 Stephen M. Groppel
Name und Unterschrift der autorisierten Person
Jahr der CE-Kennzeichnung: 2015
PRODUKTBESCHREIBUNG
GERÄT

- Arbeitsplatte
- Waschmittelfach
- Bedientafel
- Tügriff
- Tur
- Wasserfilter / Ablaufschlauch für den Notfall (falls verfügbar) - hinter dem Sockel -
- Sockel (abnehmbar)
- Stellfübe (4)
WASCHMITTELFACH

- Hauptwaschkammer
1
- Waschmittel für die Hauptwäsche
Fleckenentferner -
Wasserenthärter
-
Vorwaschkammer
-
Waschmittel für die Vorwäische
-
Weichspulerkammer
-
Weichspuler
Flüssige Stärke
Weichspüler oder Stärkelösung nur bis zur "MAX" Markierung einnullen.
- Entriegelungstaste
(Durch Drücken dieser Taste lässt sich das
Waschmittelfach für Reinigungszwecke entfernen)

WASCHMITTELEMPFEHLUNGEN FÜR VERSCHIEDENE WASCHEARTEN
| Robuste Weißwäsche (Kalt-95°C) Vollwaschmittel | ||
| Weiß Feinwäsche (Kalt-40°C) | Feinwaschmittel mit Bleichmittel und/oder optischen Aufhellern | |
| Helle Farben/Pastelltöne (Kalt-60°C) | Waschmittel mit Bleichmittel und/oder optischen Aufhellern | |
| Kräftige Farben (Kalt-60°C) Buntwaschmittel ohne Bleichmittel / optische Aufheller | ||
| Schwarze/dunkle Farben (Kalt-60°C) Spezialwaschmittel für schwarze/dunkle Wäsche | ||
BEDIENTAFEL

9.
- Ein-/Aus-Taste (bei langem Tastendruck Rücksetzung/Abpumpen)
- Programmtaste
- 15^ Green&Clean -Taste
- FreshFinish-Taste
- Taste für Dosieranzeige (Einstellungen der Dosieranzeige bei langem Tastendruck)
- Knopf (Zum Auswahlen drehen / Zum Bestätigen drucken)
- Startvorwahl-Taste
- Temperaturtaste
- Taste „Schleudern“
- Optionstaste (bei langem Tastendruck erfolgt die Tastensperre)
11.Start/Pause-Taste - Anzeige
- Programmbereich
TECHNISCHE DATEN ZUM ANSCHLUSS AN DIE WASSERLEITUNG
ANSCHLUSS AN DIE WASSERLEITUNG
WASSERVERSORGUNG Kalt
WASSERHAHN 3/4" Schlauchverschraubung
MINIMALER WASSEREINCLASSDRUCK 100 kPa (bar)
MAXIMALER WASSEREINLASSDRUCK 1000 kPa (10 bar)
TÜR
Zum Öffnen der Tur am Griffziehen

Zum Schlieben der Turi, halten Sie den Griff und drucken Sie so, dass Sie die Verriegelung einrasten horen.

TROMMELBELEUCHTUNG (falls vorhanden)
- Wahlend der Programmwahl: Beim Beladen der Wäsche schaltet sich das Licht ein
-
Nach dem Programmstart dimmt das Licht auf und ab während die Waschladung ermittelt wird.
-
Nach dem Programmende, wenn Sie die Tur öffnen, schaltet sich das Licht für das Entladen der Wäsche ein. Dann schaltet es sich aus, um Energie zu sparen; berühren Sie eine beliebige Taste, um es wieder einzuschalten.
ZUBEHÖR
Kontaktieren Sie unseren Kundendienst, um zu überprüfen, ob das folgende Zubehör für Ihr Waschmaschinen- (und Trockner-)Modell vorhanden ist
AUFTISCH-BAUSATZ
mit dem sich der Trockner Platz sparend und zum leichteren Be- und Entladen auf der Waschmaschine installieren lasst.
BEDIENUNG DES GERÄTES
ERSTINBETRIEBNAHME
Sobald die Waschmaschine mit dem Stromnetz verbunden ist, schaltet sie sich automatisch ein. Um Produktionsrückstände zu entfern,
-
Wahlen Sie das „Baumwolle"-Programm mit 95^ . Berücksichtigten Sie die Anweisungen im Abschnitt "TÄGLICHER GEBRAUCH".
-
Geben Sie eine geringe Menge Vollwaschmittel (maximal 1/3 der vom Waschmittelhersteller für leicht verschmutzte Wäsche empfohlenen Menge) in die Hauptwaschkammer des Waschmittelfachs.
-
Starten Sie das Programm ohne Wäsche einzufullen. Informationen zur Auswahr und zum Starten eines Programms finden Sie im Abschnitt "TÄGLICHER GEBRAUCH".
TÄGLICHER GEBRAUCH
SORTIEREN IHRER WÄSCHE
1. ENTFERNEN SIE ALLE GEGENSTÄNDE AUS DEN TASCHEN
- Münzen, Nadeln usw. können ihre Wäsche, aber auch Teile der Waschmaschine beschädigen.
- Gegenstände wie Papiertaschentücher zerreißen in keine Teile, die nach der Wäsche manuell entfernt werden müssen.

2. SCHLIESSEN SIE REISSVERSCHLUSSE, KNÖPFE ODER HAKEN. BINDEN SIE LOSE GÜRTEL ODER BÄNDER ZUSAMM
- Kleine Textilien (z. B. Feinstrumpfhosen, Gurtel) und andere kleine oder mit Häkchen versehene Stücke (z. B. BHs) in einem Wäschesack oder in einem Kissenbezug mit Reißverschluss waschen. Entfernen Sie immer die Gardinenrollichen oder waschen Sie Gardinen mit Ringen, sicher zusammengebunden, in einem Baumwollbeutel.
3. GEWEBEART / PFLEGEKENNZEICHEN
Baumwolle, Mischfasern, easy care/Pflegeleicht, Wolle, Handwäsche.
Farbe
Farbige und weiß Wäsche trennen. Neue farbige Textilieneparatwaschen.
Grosse
Verschieden große Wäschestücks in einer Waschladung verbessern die Waschwirkung und die Verteilung der Textilien in der Trommel.
Feinwäsche
Feinwäsche separat waschen; sie erfordert eine sanfte Behandlung.
1. WÄSCHE EINFÜLLEN
- Offnen Sie die Tur und fullen Sie die Wäsche ein. Halten Sie sich an die in der Programmabelle angegebenen maximalen Füllmengen.

Die Anzeige neben dem gewählten Programm leuchtet auf.

Durch Drücken des Knopfs bestätigten Sie das ausgewählte Programm.

2.TUR SCHLIESSEN
- Stellen Sie sichere, dass keine Wäsche zwischen Türglas und Gummidichtung eingeklemmt ist.

- Schlieben Sie die Tür so, dass Sie die Verriegelung einrasten horen.
3. WASSERHAHN ÖFFNEN
- Stellen Sie sicher, dass die Waschmaschine mit der Hauptleitung verbunden ist.
- Drehen Sie den Wasserhahn auf.

4. WASCHMASCHINE EINSCHALTEN
- Drücken Sie die Ein-/Austaste, bis die Programmtaste aufleuchtet. Eine Animation wird eingeblendet und es ertont ein Ton. Anschließlich ist die Waschmaschine betriebsbereit.
Die zuletzt gewährte Programmeinstellung erscheint auf der Bedientafel.
5. WAHLEN SIE DAS GEWUNSCHE PROGRAMM AUS
GEFUHRTER MODUS
die Lichttaste führt Sie durch die Einstellung eines Programms in der folgenden Reihenfolge: Auswahr von Programm / Temperatur / Schleuderdrehzahl / Optionen. Sobald Sie eine Auswahr durch Drucken des Knopfs bestätigten, springt die Lichttaste zum nachsten Schritt.
Programmauswahl
Stellen Sie sicher, dass die Programmtaste aufleucht. Drehen Sie den Knopf, um das gewünschte Programm auszuwahlen.
Weitere Informationen bezüglich der Programme finden Sie in der Programmtabelle.
Temperaturändern, falls erforderlich

Wenn Sie die an der Anzeige angeführte Temperaturändern wollen, stellen Sie sicher, dass die Temperaturtaste « aufleuchtet. Drehen Sie den Knopf, um die gewünschte Temperatur auszuwahlen, anschließend den drücken, um die Auswahl zu bestätigen.

Schleuderzahländern, falls erforderlich

Wenn Sie die an der Anzeige angefuhre Schleuderdrehzahl andern wollen, stellen Sie sicher, dass die Schleudertaste aufleucht. Drehen Sie den Knopf, um die gewünschte Schleuderdrehzahl oder Spulstopp auszuwahlen, anschließend den Knopf drucken, um die Auswahl zu bestätigen.

Wenn Sie Schleuderdrehzahl,0" wahlen, endet das Programm mit dem Abpumpen des Spulwassers. Es erfolgt kein abschreiben Schleudergang. Wenn Sie "Spulstopp" wahren, stoppt das Programm nach dem Spulgang. Die Wäsche bleibt im letzten Spulwasser eingetaucht. Weitere Informationen finden Sie im Abschnitt PROGRAMME, OPTIONEN UND FunktionEN / Spulstopp.
Optionen wahlen, falls erforderlich

Für die Auswahl von Zusatzfunktionen muss die Optionstaste aufleuchten. Die

Auswahlmöglichkeiten für Ihr Programm werden durch leuchtende Pfeile angezeigt.

Für die Auswahr der gewünschten Optionen den Knopf drehen.
Das Symbol der gewählten Option blinkt. Zum Bestätigen den Knopf drücken.

Einige Optionen / Funktionen können durch direkten Tastendruck gewählt werden:

Weitere Informationen finden Sie im Abschnitt PROGRAMME, OPTIONEN UND FUNKTIONEN.
INDIVIDUELLER MODUS
Nach dem Einschalten der Waschmaschine müssen Sie nicht unbedingt dem GEFUHRTEN MODUS folgen.
Sie konnen selbst entscheiden, welche Reihenfolge Sie für die Einstellung Ihres Programms wahlen. Zum Einstellen drücken Sie zuerst die entsprechende Taste, drehen Sie dann den Knopf zum Auswahlen und drucken Sie anschließend den Knopf zum Bestätigen.
Der Temperaturbereich, die Schleuderdrehzahl und die Optionen hangen vom gewählten Programm ab.
Daher sollen den Sie ihre Einstellung mit der Programmauswahl beginnen.
6. WASCHMITTEL FÜLLEN
- Wenn Sie die Dosieranzeigefunktion nicht verwenden, ziehen Sie das Waschmittelfa Heraus und fullen Sie jetzt Waschmittel (u Zusätze/Weichspüler) wie im Abschnitt WASCHMITTELFACH angegeben ein.

Beachten Sie die Dosierempfehlungen auf der Waschmittelpackung. Wenn Sie VORWASCHE oder STARTVORWAHL gewählt haben, beachten Sie die Anweisungen im Abschnitt PROGRAMME, OPTIONEN UND FUNKTIONEN. Schreiben Sie dann wieder sorgfältig das Waschmittelfach.
- Wenn Sie die Dosieranzeigefunktion verwenden, fullen Sie das Waschmittel später ein, nachdem Sie das Programm gestartet haben. Siehe Abschnitt DOSIERANZEIGE / TÄGLICHER GEBRAUCH.
Eine korrekte Dosierung des Waschmittels / der Zusätze ist wichtig für
- die Optimierung des Reinigungsergebnisses
- die Verhinderung von latentigen Rückständen von überschüssigem Waschmittel in Ihrer Wäsche
- für die Einsparung von Geld durch die Vermeidung von Abfallen von überschüssigem Waschmittel
- für den Schutz der Waschmaschine durch die Vermeidung von Verkalkung der Bauteile
- für den Umweltschutz durch die Vermeidung von unnottiger Umweltbelastung
7.PROGRAMM STARTEN

Halten Sie die Start/Pause -Taste gedrückt, bis die Taste ständig leuchtet; das Programm startet nun.
- Wenn Sie die „Dosieranzeige" gewählt haben, zeigt Ihr den die Waschmaschine die empfohlene Waschmittelmenge für ihre Waschladung nach dem Programmstart an. - Geben Sie Waschmittel in die Hauptwaschkammer des Waschmittelfachs, schreiben Sie das Fach und drücken Sie „Start/Pause", um das Programm fortzusetzen



- Wenn Sie „Dosieranzeige" sowie „Vorwäsche" gewählt haben, geben Sie die angegebene Waschmittelmenge in die Hauptwaschkammer sowie die Häfte der angegebenen Waschmittelmenge in die Vorwaschkammer.
- Schlieben Sie die das Waschmittelfach und drücken Sie die „Start/Pause“-Taste, um das Programm fortzusetzen. Öffnen Sie das Waschmittelfach nicht mehr, um ein Überlaufen zu vermeiden.
Die verbleibende Programmdauer, welche auf der Anzeige angegeben wird, kann variieren. Faktoren wie Unwucht in der Waschladung oder Schaumbildung können die Programmdauer beeinflussen. Bei jeder erneuten Berechnung der verbleibenden Programmdauer, erscheint auf der Anzeige eine Animation.
8. EINSTELLUNGEN EINES LAUFENDEN PROGRAMMS ÄNDERN, FALLS ERFORDERLICH
Die Einstellungen konnen während einem laufenden Programm geändert werden. Die Änderungen werden durchgeführt, vorausgesetzt die entsprechende Programmphase ist noch nicht beendet.
- Drücken Sie die entsprechende Taste (zum Beispiel die „Schleuderdrehzahl“)-Taste zum Ändern der Schleuderdrehzahl). Der gewählte Wert blinking ein paar Sekunden lang auf.
- Wahrend die Taste blinkt, können Sie die Einstellung durch Drehen des Kopfs ändern. Drücken Sie die Taste erneut, wenn der Wert nicht mehr blinkt und Sie die gewünschte Änderung noch nicht durchgeführt haben.

Zum Bestätigen der Änderung den Knopf drücken. Wenn Sie die Änderung nicht bestätigen, wird sie automatisch bestätigt - die geänderte Einstellung stoppt zu blinken.

Das Programm setzen automatisch fort, nachdem Sie die Einstellung geändert haben. Mit der "Tastensperre"lässt sich verhindern, dass ein laufendes Programm unabsichtlich geändert wird (z.B. durch Kinder), (siehe Abschnitt PROGRAMME, OPTIONEN UND FUNKTIONEN).
Einstellungen eines laufenden Programms können auch wie folgt geändert werden
- Drucken Sie die „Start/Pause“-Taste, um das laufende Programm zu unterbrechen
- Änderung Ihrer Einstellungen
- Drucken Sie die „Start/Pause“-Taste, um das Programm fortzusetzen.
Wenn Sie das Programm geändert haben, geben Sie kein Waschmittel für das neue Programm ein.
9. LAUFENDES PROGRAMM UNTERBRECHEN UND TÜR ÖFFNEN, FALLS ERFORDERLICH

Drücken Sie die „Start/Pause"-Taste, um ein laufendes Programm zu unterbrechen
Vorausgesetzt der Wasserstand oder die Temperatur ist nicht zu hoch, leuchtet die Anzeige „Tür frei"
auf. Sie können die Türöffnen, um z.B. mehr Wäsche dazu zu geben oder um fällschlicherweise geladene Wäsche zu entfernen.
- Drucken Sie die „Start/Pause“-Taste, um das Programm fortzusetzen
10. LAUFENDES PROGRAMM ZURÜCKSETZEN, FALLS ERFORDERLICH
- Drücken Sie die Ein-/Aus-Taste bis „rES" an der Anzeige erscheint. Das Wasser lauft ab und das Programm ist beendet. Die Tur wird entriegelt.

11. NACH PROGRAMMENDE DIE WASCHMASCHINE AUSSCHALTEN
- An der Anzeige erscheint „Ende" und die Anzeige Tur frei leuchtet auf - nun konnen Sie ihre Wäsche herausnahmen

Zum Ausschalten der Waschmaschine die "Ein-/Aus"-Taste drucken. Wenn Sie die Waschmaschine nicht ausschalten, schaltet sie sich eine Viertelstunde nach Programmende automatisch ab, um Energie zu sparen.
- Lassen Sie die Tur halb offen, damit das Innere der Waschmaschine trocknen kann.

PROGRAMME UND OPTIONEN
Beachten Sie stets, für die Auswahl des richtigen Programms für ihre Wäscheart, die Anweisungen auf den Pflegeetikettes der Wäsche.
| PROGRAMM Art der Wäsche | und Empfehlungen | Pflege-etiketten | Einstellungen | |
| ARBEITSKLEIDUNG | Schmutzige Arbeitskleidung aus robustem Baumwollstoff oder Baumwoll-Synthetik-Mischgewebe.Die Optionen „Vorwäsch" und „Intensivspänen" sind in dieserProgramm voreingestellt - dadurch wird es optimiert, umbeste Reinigungsergebnisse zu erzielen. Bei sehr schmutzigene Kleidungsstücken wirdempfohlen, diese gründlichauszuschütteln, bevor sie indie Waschmaschine gegebenwerden.- Bei Bedarf kann einFleckententferner aufSauerstoffbasis verwendertwerden | MAX BELADUNG max.TEMPERATURBEREICHKalt bis 95°C MAX SCHLEUDERDREHAHL max.WÄHLBARE OPTIONENVorwäsch, Warmspälen, Flecken 15°,Starke Verschmutzung,Intensivspälen, Kurz,15° Green&Clean,FreshFinish,Dosieranzeige,Startvorwahr | ||
| MOPS UNDHANDTÜCHER | Normal bis stark verschutzte Reinigungstücher, Mops,Handtücher und ähnlicheWäsche aus robusten Baumwollgewebearten.Intensives Waschprogramm einschließlich Vorwäsch;bei starker Verschmutzung auch Waschmittel in dieVorwaschkammer desWaschmittelfachs fällen.Die Funktion Vorwäschnicht abwahlen, um optimale Reinigungsergebnissesicherzustellen. | MAX BELADUNG 5,0 kgTEMPERATURBEREICHKalt bis 60°C MAX SCHLEUDERDREHAHL max.WÄHLBARE OPTIONENVorwäsch, Warmspälen, Flecken 15°,Intensivspälen, Kurz,15° Green&Clean,FreshFinish,Dosieranzeige,Startvorwahr | ||
| BAUMWOLLE | Normal bis stark verschutzterobuste Wäsche aus Baumwolleund Leinen, wie Handtücher,Unterwäsch, Tisch- undBettdecken usw. | MAX BELADUNG max.TEMPERATURBEREICHKalt bis 95°C MAX SCHLEUDERDREHAHLmax WÄHLBARE OPTIONENVorwäsch, HeiβEndspälen, Flecken 15°,Intensivspälen, Kurz,15° Green&Clean | ||
| MIX | Leicht bis normal verschmutzte robuste Wäsche aus Baumwolle, Leinen, synthetischen Fasern und deren Mischungen. Effizientes, einstündiges Programm. Waschen Sie nur ähnliche Farben zusammen in einer Waschladung. | MAX BELADUNG 6,0kg TEMPERATUREBEREICH Kalt bis 60°C MAX.SCHLEUDERDREHAHL max. WAHLBARE OPTIONEN Warm spälen, Flecken 15°, Intensivspälen, Kurz, 15° Green&Clean, FreshFinish | ||
| SYNTHETIK | Normal verschutzte Wäsche aus synthetischen Fasern (wie Polyester, Polyacryl, Viskose usw.) oder Mischgewebe mit Baumwollanteil. | MAX. BELADUNG 3,5 kg TEMPERATUREBEREICH Kalt bis 60°C MAX.SCHLEUDERDREHAHL max WAHLBARE OPTIONEN Vorwässche, Flecken 15°, Starke Verschmutzung, Intensivspälen, Kurz, 15° Green&Clean | ||
| FEINWÄSCHES | Feinwässche aus heikden Fasern, die eine sanfte Behandlung benötigt. | MAX. BELADUNG 2,5 kg TEMPERATUREBEREICH Kalt bis 40°C MAX.SCHLEUDERDREHAHL 1000 WAHLBARE OPTIONEN Vorwässche, Kurz, 15° Green&Clean | ||
| WOLLE | Wollartikel, die mit dem Wollsiegel gekennzeichnet und als maschinenwaschbar deklariert sind, sowie als handwaschbar gekennzeichnete Gewebe aus Seide, Leinen, Wolle und Viskose. Die Herstellererempfehlungen auf dem Pflege-Etikett beachten. | MAX. BELADUNG 2,0 kg TEMPERATUREBEREICH Kalt bis 40°C MAX.SCHLEUDERDREHAHL 1000 WAHLBARE OPTIONEN Kurz, 15° Green&Clean | ||
| KURZ 30' | Leicht verschutzte Wäsche ohne Flecken, aus Baumwolle und/oder Pflegeleicht. Auffrischprogramm. | MAX. BELADUNG 3,0 kg TEMPERATUREBEREICH Kalt bis 30°C MAX.SCHLEUDERDREHAHL max. WAHLBARE OPTIONEN 15° Green&Clean, FreshFinish | ||
| SCHLEUDERN | Separates Intensivschleuderprogramm. Geeignet für robuste Wäsche. | MAX. BELADUNG max. TEMPERATUREBEREICH Kalt MAX.SCHLEUDERDREHAHL max. WAHLBARE OPTIONEN FreshFinish | ||
| SPÜLEN&SCHLEUDERN | Separates Spül- und Intensivschleuderprogramm. Geeignet für robuste Wäsche. | MAX. BELADUNG max. TEMPERATUREBEREICH Kalt MAX.SCHLEUDERDREHAHL max. WAHLBARE OPTIONEN Intensivspälen, FreshFinish | ||
| max = für Waschmaschinen Model AWG812/PRO 8 kg (Waschladung) 1200 U/min (Schleuderzahl) für Waschmaschinen Model AWG912/PRO 9 kg (Waschladung) 1200 U/min (Schleuderzahl) | ||||
ÜBER DIE OPTIONSTASTE WÄHLBARE OPTIONEN

Die Programmübersicht gibt eine Übersicht über mögliche Kombinationen von Programmtabelle und Optionen.
Es sind nicht alle Kombinationen von Programmen und Optionen wahlbar. Bestimmte Optionen sind nicht kombinierbar. In
diesem Fall blinkt die Anzeige der nicht-kombinierbaren Option, sie schaltet sich wieder aus und es eront ein Signal.
VORWASCHE U
Hilft stark verschutzte Wäsche, durch einen Vorwaschgang zusammen zu dem gewählten Waschprogramm, zu reinigen. Für stark verschutzte Wäsche, z. B. sandig oder verkrustet. Schütteln Sie die Wäsche sorgfältig aus, bevor Sie sie in die Waschmaschine geben. Verlangert das Programm um etwa 20 Minuten.
Füllen Sie auch Waschmittel in die Vorwaschkammer des Waschmittelfachs oder direkt in die Trommel. -Wenn Sie, "Vorwässe" wahlen, verwenden Sie Waschpulver für die Hauptwässe, um sicherzustellen, dass das Waschmittel bis zum Start des Hauptwaschgangs im Waschmittelfach bleibt. Beachten Sie die Dosierempfehlungen des Waschmittelherstellers oder verwenden Sie die "Dosieranzeige"- Funktion.
WARM SPULEN

Das Programm endet mit einem warmen Spülgang. Entspannt die Fasern ihrer Wäsche.
Die Wäsche führt sich angenehm warm an, wenn sie kurz nach Programmende entnommen wird.
FLECKEN 15°
Hilft alle Arten von Flecken, außer Fett / Öl, zu entfernen.
Das Programm beginnt mit einem Kaltwaschgang. Die Waschdauer verlangert sich um
ca. 10 Minuten.
Empfohlene Vorbehandlung für hartnäckige Flecken.
Kann nicht für Baumwolle 95^ gewählt werden.
STARKE VERSCHMUTZUNG
Hilft stark verschmutzte, befleckte Wäsche, durch die Optimierung der Effizienz von Zusätzen für die Fleckenentfernung, zu reinigen.
Kann das Programm um bis zu 15 Minuten verlangern.
Geben Sie eine entsprechende Menge eines Fleckenentferners (in Pulverform) zusammen mit ihrem Waschmittel in die Hauptwaschkammer. Verwenden Sie bei dieser Option nur Waschpulver. Beachten Sie die Dosierhinweise des Herstellers.
Wichtig: Angemessen für den Einsatz von Fleckenentfernern und Bleichen auf Sauerstoffbasis. Keine Chlor- oder Perboratbleichen verwenden!
INTENSIVSPULEN
Hilft Waschmittelrückstände in der Wäsche durch Veränderung des Spülgangs zu vermeiden.
Besonderss gut geeignet zum Reinigen von Babywäsche, für Allergiker und in Regionen mit weichem Wasser.
KURZPROGRAMM
Ermöglicht Schnellwäsche. Verkürzt die Programmdauer und ergibt ein gutes Waschergebnis.
Geeignet fur nur leicht verschutzte Wäsche.
Kann nicht fur Baumwolle oder Arbeitskleidung bei 95^ gewählt werden.
OPTIONEN, DIE DIREKT DURCH DRÜCKEN DER ENTSPRECHENDEN TASTE WÄHLBAR SIND
15° GREEN&CLEAN Hilft die Farben ihrer Wäsche zu
erhalten, indem sie mit kaltem Wasser (15°C) gewaschen werden.
Erzielt ein gutes Waschergebnis
und spare Energie durch geringe Wassererwärzung.
Geeignet fur leicht verschutzte Farbwäsche ohne Flecken.
Stellen Sie sicher, dass Ihr Waschmittel bei kalten Waschtemperaturen (15 oder 20^ ) verwendet werden kann.
Kann nicht für Baumwolle oder Arbeitskleidung bei 95^ gewählt werden.
FRESHFINISH

Hält ihre Wäsche frisch, wenn Sie nicht kurz nach dem Ende des Programms Herausnahmen können.
Die Waschmaschine beginnt eine Minute nach Programmende damit, die Wäsche regelmäßig in der Trommel zu bewegen. Diese
Trommeldrehung tauert bis zu 6
Stunden nach Beendigung Ihres
Waschprogramms. Sie konnen diesen
Vorgang jederzeit durch Drucken
einer beliebigen Taste beenden; die
Tür wird entriegelt und Sie konnen
Ohre Wäsche Herausnahmen.
TEMPERATUR Wenn Sie die Waschmaschine

einschalten, erscheidt auf der Bedientafel das zuletzt benutzte Programm und die Temperatureinstellung. Wenn Sie das Programmändern, erscheidt die voreingestellte Temperatur des gewählten Programms auf der Anzeige.
Wenn Sie die Temperaturändern möchten, drucken Sie die Temperaturtaste, drehen Sie den Knopf, um die gewünschte Temperatur zu wahlen und bestätigen Sie diese indem Sie den Knopf drucken.

Wenn Sie die Waschmaschine einschalten, erscheint auf der Bedientafel das zuletzt benutzte Programm und die Schleuderdrehzahlinstellung.
Wenn Sie das Programmändern,
erscheint die voreingestellte
Schleuderdrehzahl des gewährten
Programms an der Anzeige.
Wenn Sie die Schleuderdrehzahl
ändern möchten, drücken Sie die Schleudertaste, drehen Sie den Knopf, um die gewünschte Schleuderdrehzahl zu wahren und drücken Sie den Knopf zum Bestätigen. Wenn Sie Schleuderdrehzahl „0“ wahren, wird das Spülwasser am Ende des Programms abgepumpt und es gibt keinen abschieden Schleudergang.
SPULSTOPP Um ein automatisches Schleudern

der Wäsche am Ende des Programms zu vermeiden. Die Wäsche verbleibt im letzten Spülwasser, das Programm wird nicht fortgesetzt.
Geeignet für Feinwäsche, die nicht zum Schleudern geeignet ist oder die bei einer geringeren Schleuderdrehzahl geschleudert werden sollen.
Nicht geeignet für Seide.
Zum Beenden der Funktion "Spulstopp" wahren Sie zwischen:
- Wasser abpumpen, kein Schleudern: drehen Sie den Knopf, um Schleuderdrehzahl "0" auszuwahlen, und drücken Sie dann die "Start/ Pause"-Taste: das Wasser wird abgepumpt und das Programm beendet
Wäsche schleudern: die standardmäßige Schleuderdrehzahl blinkt - drücken Sie die "Start/Pause"-Taste, um den Schleudergang zu starten. Oder wahren Sie durch Drehen des Knopfs eine andere Schleuderdrehzahl, drücken Sieihn, um die gewählte Schleuderdrehzahl zu bestätigen und drücken Sie dann die „Start/Pause"-Taste, um den Schleudergang zu starten
FUNKTIONEN
AN/AUS Um die Waschmaschine
einzuschalten: Drücken Sie die Taste bis die Start/Pause-Taste leuchtet.
Um ein laufendes Programm abzubrechen: Drücken und halten Sie die Taste bis „rES" an der Anzeige erscheint die Waschmaschine führt einen Abpumpzyklus durch, um das Programm zu beenden.
Um die Waschmaschine nach Programmende auszuschalten: drücken Sie die Taste, bis sich die Lichter ausschalten.
DREHSCHALTER
Um sowohl Programme als auch Optionen auszuwahlen und zu bestätigen
Zum Auswahlen drehen

- Zur Bestätigung die Tastes drucken

START/PAUSE

Um das Programm zu starten, nachdem Sie ihre Einstellungen beendet haben
Um ein laufendes Programm zu stoppen:
Um ein gestopptes Programm fortzusetzen
TASTENSPERRE
=03sec
These Funktion erlaubt Ihnen, die Tasten und den Knopf der Bedientafel gegen unerwünschte Bedienung, zum Beispiel durch keine Kinder, zu sperren.
Muss die Waschmaschine eingeschaltet sein.
Halten Sie die Optionstaste wieder gedrückt;
bis das Schlüsselsymbol auf der Bedientafel leuchtet.



Knopf und Tasten sind nun gespert. Die einzige Funktion zum Ausschalten der Waschmaschine, ist die „Ein-/ Aus"-Taste. Die Tastensperre bleibt aktiv auch wenn Sie die Maschine ausschalten und wieder einschalten.
Um die Tasten/den Knopf zu entsperren, halten Sie die = 0.3sec Optionstaste wieder gedrückt, bis das Schlusselsymbol erlischt.
DOSIERANZEIGE Hilft die richtige Waschmittelmenge

für ihre Waschladung zu dosieren.
Vor der Verwendung dieser Option:
Die Konzentration der handelsüblichen Waschmittel unterscheidet sich früig betrachtlich. Aus thisem Grund, passen Sie die Waschmaschine an die Dosiermengen Ihres verwendeten Waschmittels an.
Überprüfen Sie auch, ob der voreingestellte Wasserhärtegrad der Waschmaschine (weich) ihrer örtlichen Wasserhärte entspricht – wenn nicht, passen Sie sie an (siehe „DOSIERANZEIGE / ERSTMALIGER GEBRAUCH").
Siehe gesonderten Abschnitt
Dosieranzeige - Erstmaliger Gebrauch / Täglicher Gebrauch
STARTVORWAHL

Verschiebt den Start Ihres Programms auf einen späteren Zeitpunkt. Hilft von günstigeren Energiepreisen zu profitieren (z.B. in der Nacht) oder die Wäsche zu einer bestimmten Zeit fertig zu haben.
Der Programmstart kann bis zu 23 Stunden verzögert werden. Verwenden Sie bei dieser Funktion kein flüssiges Waschmittel, um sicherzustellen, dass das Waschmittel bis zum Programmstart im Waschmittelfach bleibt.
- Das Programm, die Temperatur und die Zusatzfunktionen wahren.
- Drucken Sie die "Startvorwahl"-Taste - das Startvorwahlsymbol blinkt an der Anzeige.
- Drehen Sie den Knopf für die Auswahl einer Verzögerung bis zu 23 Stunden, die an der Anzeige erscheint. Bestätigen Sie die gewünschte Startvorwahl durch Drücken des Knopfs. Das Startvorwahlsymbol an der Anzeige leuchtet starr.

Drucken Sie die Start / Pause-Taste die Anzeige zeigt den Countdown der Verzögerung bis zum
Programmstart. Die Start/
Pause-Taste leuchtet auf. Der
Doppelpunkt zwischen den Stunden und Minuten auf der Anzeige blinkt.
Die Tur schließt.
-
Wenn Sie Dosieranzeige gewählt haben, berechnet die Maschine die empfohlene Waschmittelmenge nachdem Sie die Start/Pause-Taste gedrückt haben. Füllen Sie die auf der Anzeige angegebene Waschmittelmenge in das Waschmittelfach; verwenden Sie Waschpulver, um sicherzustellen, dass das Waschmittel bis zum Programmstart im Waschmittelfach bleibt. Schließen Sie das Waschmittelfach und drücken Sie die „Start/Pause"-Taste - um das Rückwärtszahlen der gewährten Verzögerungszeit zu wahren.
-
Nach Ablauf der Verzögerungszeit setzt sich die Waschmaschine automatisch in Gang. An der Anzeige erscheint dann die verbleibende Programmdauer. Zum Löschen der Startvorwahr:
- Drücken Sie die „Start/Pause“-Taste, um die Startvorwahl zu loschen (und drücken Sie die „Start/Pause“-Taste nochmals, um das gewählte Programm所提供 zu starten, falls erwünscht)
oder halten Sie die Ein/Aus-Taste gedrückt, um die komplette Programmeinstellung zu loschen.
ANZEIGEN
| TÜR LÄSST SICH ÖFFNEN | These Anzeige leuchtet ·bevor Sie das Programm gestartet haben ·wenn Sie ein Programm gestoppt haben und der Wasserstand nicht zu hoch oder die Wäsche in dieser Programmphase nicht zu weiß ist ·wenn ein Programm beendet ist und die Wäsche entladen werden kann |
| STÖRUNG: KUNDENDIENST | |
| STÖRUNG: WASSERFILTER VERSTOPFT | Für weitere Informationen siehe Abschnitt LöSEN VON PROBLEMEN |
| STÖRUNG: WASSERHAHN ZU |
DOSIERANZEIGE / ERSTMALIGER GEBRAUCH
Um die Funktion zu aktivieren, welche die Waschmittelmenge so bereits wie möglich berechnet, passen Sie die Waschmaschine den Dosierwerten Ihres verwendeten Waschmittels sowie der örtlichen Wasserhärte an.
SPEICHERN SIE DIE DOSIERWERTE IHRES VERWENDETEN WASCHMITTELS
Waschmitteltypen: Farbe der Textilien Sanft Allgemein

Programme: Buntes Wolle, Feinwäsche Alle anderen


Programme
Überprüfen Sie die Dosiermenge für einen mittleren Verschmutzungsgrad und mittlere Wasserhärte auf den Packungen ihrer Waschmittel

Um diese Werte in der Waschmaschine zu
speichern:
- Wahlen Sie das Programm, für welches Sie den Waschmittelwert speichern möchten.
- Halten Sie die Taste für die Dosieranzeige gedrückt, bis das Flaschensymbol auf der Anzeige leuchtet. Die Anzeigen aller Programme für die Waschmittelgruppe leuchten auf.


- Drehen Sie den Knopf, um den Dosierwert dem Wert anzupassen, den Sie zuvor auf der Waschmittelpackung ermittelt haben. Anschließlich bestätigten Sie durch Drucken des Knopfes.


- Führren Sie diesen Vorgang für alle drei Programmgruppen durch. Es reicht, wenn Sie die Einstellungen in einem Programm pro Programmgruppe durchführren - der Wert wird automatisch auf alle anderen Programme innerhalb dieser Programmgruppe übertragen.
Um zu den Werkseinstellungen zurückzukehren: wahlen und bestätigten Sie „rES" wie in Schritt 3 beschrieben.
PASSEN SIE DIE WASCHMASCHINE DER ÖRTLICHEN WASSERHÄRTE AN
Die Waschmaschine wird mit voreingestelltem weichem Wasserhartegrad geliefert.
- Halten Sie die Programmtaste und die Taste für die Dosieranzeige gleichzeitig gedrückt.

"1" entscheidt auf der Anzeige, was Wasserstand "weich" bedeutet.
2. Drehen Sie den Knopf, um den Wasserstand anzupassen.
2 = Mittel
3 = Hart
und zum Bestätigen den Knopf drücken. Sobald Sie die Einstellung der Wasserhärte bestätigen, verlassen Sie automatisch die Einstellung der Wasserhärte.
Überprüfen Sie ihren örtlichen Wasserhärtegrad, zum Beispiel durch Rücksprache mit ihren örtlichen Behörden oder über das Internet. - Sollte ihre örtliche Wasserhärte nicht „weich" sein, passen Sie ihre Waschmaschine wie folgt an: Um die Wasserhärte anzupassen:
DOSIERANZEIGE / TÄGLICHER GEBRAUCH
- Wahlen Sie das gewünschte Programm und die Optionen und drücken Sie dann die "Dosieranzeige"-Taste; das Dosieranzeigesymbol leuchtet an der Anzeige auf.

- Starten Sie dann das Programm durch Drucken der "Start/Pause"-Taste. - Die Trommel dreht sich, um die Waschladung zu ermitteln während die Anzeige eine Animation zeigt. Danach zeigt die Anzeige die empfohlene Waschmittelmenge in ml an.



- Ziehen Sie das Waschmittelfach hers aus fullen Sie die an der Anzeige angegebene Waschmittelmenge in die
Hauptwaschkammer des Waschmittelfaches ein.

Falls Sie die Option „Vorwäsche" ausgewählt haben und Sie auch Waschmittel für die Vorwäsche eingefallen möchten, füssen Sie die Häfte der angegebenen Waschmittelmenge in die Vorwaschkammer ein zusätzlich zu der gesamten Menge, die Sie bereits in die Hauptwaschkammer
eingefüllt haben.
Anstatt das Waschmittel in das Waschmittelfach einzufullen, kann es auch direkt in einer Waschmittelkugel in die Trommel gegeben werden.
Bei Programmen mit Vorwäsche: Waschmittel für die Vorwäsche kann in die Trommel gegeben werden, Waschmittel für die Hauptwäsche muss in die Hauptwaschkommer des Waschmittelfachs eingefüllt werden. Verwenden Sie in thisem Fall Waschpulver für den Hauptwaschgang, um sicherzustellen, dass es bis zum Start des Hauptwaschgangs im Waschmittelfach bleibt. Nachdem Sie das Waschmittel eingefüllt haben, schließen Sie das Waschmittelfach (oder die Tur).
- Zum Fortsetzen des Programms schreiben Sie das Waschmittelfach (oder die Tur) und drucken Sie die "Start/Pause"-Taste.
SPARTIPPS
Der Verbrauch von Energie, Wasser, Waschmittel und Zeit ist optimal, wenn Sie die empfohlenen maximalen
Füllmengen für die Programme, wie in der Programmtabelle angegeben, einhalten.
Überschreiben Sie nicht die; Dosierempfehlungen auf den Verpackungen des Waschmittelherstellers.
Verwenden Sie die Funktion der Dosieranzeige; bereiten Sie diese Funktion, wie in „DOSIERANZEIGE / ERSTMALIGER GEBRAUCH" angegeben, vor.
Setzen Sie die Vorwäsche nur bei stark verschmutzter Wäsche ein.
Behandeln Sie Flecken mit einem Fleckenentferner vor oder weichen Sie die Wäsche vor dem Waschen ein, um den Warmwasserverbrauch zu reduzieren.
Sie spare Energie, wenn Sie bei 60^ anstatt bei 95^ oder bei 40^ anstatt bei 60^ waschen. Verwenden Sie bei Baumwollwäsche das Eco Baumwolle-Programm mit 40^ oder 60^ .
Soll die Wäsche anschließend im Wäschetrockner getrocknet werden, wahren Sie eine hohe Schleuderzahl. Der Trockner braucht dann weniger Zeit und Energie.
Benutzen Sie die Option 15^ Green&Clean" für leicht verschmutzte Wäsche, um durch geringe Wassererwärung Energie einzusparen.
WARTUNG & PFLEGE
WARNUNG
Schalten Sie die Waschmaschine für alle Wartungs- und Pflegearbeiten aus undziehen
Sie den Stecker. Benutzen Sie keine brennbaren Flüssigkeiten, um die Waschmaschine zu reinigen.
REINIGUNG DER AUßENSEITE DER WASCHMASCHINE
Verwenden Sie einen weichen, feuchten Lappen, um die Waschmaschine zu reinigen.

Verwenden Sie keine Glas- oder Allzweckreiniger, Scheuerpulver oder ähnliches, um die Bedientafel zu reinigen - diese Stoffe konnten die Bedruckung beschädigten.
ÜBERPRÜFUNG DES WASSERZULAUFSCHLAUCHS
Den Zulaufschlauch regelmäß auf Sprödigkeit und Risse prufen. Sollte er beschädigt sein, ersetzen Sieihn durch einen neuen Schlauch, der bei unserem Kundendienst oder Ihr hem Handler erhältlich ist.
Abhängig von der Schlauchart:


Besitz der Schlauch eine transparente Beschichtung, überprüfen Sie regelmäßig, ob sich die Farbe lokal verstärkt. Falls ja, konnte der Schlauch undicht sein und sollte ersetzt werden.

Für Wasserstoppschläuche: Überprüfen Sie das keine Kontrollfenster des Sicherheitsventils (siehe Pfeil). Wenn es rot ist, wurde die Funktion zum Wasserstopp ausgelöst und der Schlauch muss durch einen neuen ersetzt werden.
Drücken Sie während dem Entfernen des Schlauches die Entriegelungstaste (falls vorhanden), um den Schlauch abzuschrauben.
REINIGUNG DER FILTERSIEBE IM WASSERZULAUFSCHLAUCH
- Schlieben Sie den Wasserhahn und schrauben Sie den Zulaufschlauch ab.

- Reinigen Sie den Feinfilter am Ende des Schlauchs vorsichtig mit einer feinen Bürste.

- Schrauben Sie nun den Zulaufschlauch von der Rückseite der Waschmaschine mit der Hand ab. Ziehen Sie das Filtersieb mit einer Zange aus dem Ventil auf der Rückseite der Waschmaschine Heraus und reinigen Sie es vorsichtig.


- Filtersieb wieder einsetzen. SchlieBen Sie den Zulaufschlauch wieder an den Wasserhahn und die Waschmaschine an. Verwenden Sie kein Werkzeug, um den Zulaufschlauch anzuschreiben. Offnen Sie den Wasserhahn und überprüfen Sie, dass alle Anschlusses dicht sind.


REINIGUNG DES WASCHMITTELFACHS
- Entfernen Sie das Waschmittelfach indem Sie die Entriegelungstaste drücken und gleichzeitig das Waschmittelfach Herausziehen.

- Reinigen Sie die Teile trocken mit einem weichen Tuch.

-
Entfernen Sie sowohl den Einsatz des Waschmittelfachs als auch der Weichspulerkammer.
-
Installieren Sie erneut das Waschmittelfach und schiben Sie es erneut in die Waschmittelkammer.


- Reinigen Sie alle Teile unter fliebendem Wasser und entfernen Sie alle Waschmittel- und Weichspulerrückstände.

REINIGUNG DES WASSERFILTERS / RESTWASSERENTLERUNG
WARNUNG
Schalten Sie die Waschmaschine aus undziehen Sie den Stecker bevor Sie den Wasserfilter reinigen oder das Restwasser entleeren. Wenn Sie ein Kochwäscheprogramm verwendet haben, warten Sie bis das Wasser abgekühlt ist bevor sie es
entleeren.
Wenn das Wasser nicht ablaufen kann, leuchtet die Fehleranzeige „Wasserfilter zu" auf.
Reinigen Sie den Wasserfilter mindestens einmal monatlich, um zu vermeiden, dass das Wasser, aufgrund von Verstopfung des Wasserfilters, nach der Wäsche nicht ablaufen kann.

- Entfernen Sie den Sockel: Drucken Sie die Tasten links und rechts, um den Sockel zu entriegeln und hij zu entfernen.

- Behälter für Abwasser:
Falls Ihr Waschmaschinenmodell einen Not-Ablaufschlauch hat:
Stellen Sie einen ebenen Behälter für das Abwasser bereit. Nun den Not-Ablaufschlauch von der Basis der Waschmaschine entfernen

Falls Ihr Waschmaschinenmodell keinen Not-Ablaufschlauch hat:
Stellen Sie einen breiten ebenen Behälter unter den Wasserfilter, um das Abwasser aufzufangen.

- Entleeren Sie das Wasser:
Falls Ihr Waschmaschinenmodell einen Not-Ablaufschlauch hat:
Entfernen Sie den Stopfen am Ende des Schlauchs und lassen Sie das Wasser in den Behälter fließen. Wenn der Behälter mit Wasser gefüllt ist, stecken Sie den Stopfen am Ende des Schlauchs ein und entleeren Sie den Behälter. Wiederholen Sie den Vorgang bis kein Wasser mehr ausfließt. Anschließend verschreiben Sie den Not-Ablaufschauch fest mit dem Stopfen und setzen Sie den Schlauch wieder in die Basis der Waschmaschine ein.

Falls Ihr Waschmaschinenmodell keinen Not-Ablaufschlauch hat:
Drehen Sie den Filter langsam entgegen dem Uhrzeitigersinn bis das Wasser ausflieBt. Lassen Sie das Wasser ausflieBden ohne den Filter zu entferne. Wenn der Behälter voll ist, schlieBen Sie den Wasserfilter indem Sieihn im Uhrzeitigersinn drehen. Entleeren Sie den Behälter. Wiederholen Sie den Vorgang bis das gesamte Wasser abgelaufen ist.

- Entfernen Sie den Filter: Legen Sie ein Baumwolltuch unter den Wasserfilter, der eine geringe Menge an Restwasser aufnehmen kann. Entfernen Sie dann den Wasserfilter indem Sie ihn gegen den Uhrzeigersinn herausdrehen.


- Reinigen Sie den Wasserfilter: entfernen Sie die Rückstände im Filter und reinigen Sieihn unter flieBendem Wasser.

- Setzen Sie den Wasserfilter ein und installieren Sie erneut den Sockel: Setzen Sie den Wasserfilter wieder ein, indem Sieihn im Uhrzeigersinn drehen. Stellen Sie sicher ihn soweit wie möglich hineinzudrehen; der Filtergriff muss in vertikaler Position sein. Um die Wasserdichtigkeit des Wasserfilters zu testen, konnen Sie ungefahr 1 Liter Wasser in das Waschmittelfach fullen. Dann den Sockel erneut installieren.


TRANSPORT UND UMZUG
Steen Sie die Waschmaschine aus und schreiben Sie den Wasserhahn.
- Stellen Sie sicher, dass die Tur und das Waschmittelfach korrekt geschlossen sind.
-
Trennen Sie den Zulaufschlauch vom Wasserhahn und entfernen Sie den Ablaufschlauch von der Ablassstelle. Entfernen Sie das gesamte Restwasser aus den Schläuchen und befestigen Sie diese so, dass sie während des Transports nicht beschadigt werden können.
-
Setzen Sie die Transportsicherungsschrauben ein. Befolgen Sie die Anweisungen zur Entfernung der Transportsicherungsschrauben in der Installationsanleitung in umgekehrter Reihenfolge.
Wichtig: Transportieren Sie die Waschmaschine nicht ohne die Transportsicherungsschrauben befestigt zu haben.
LOSEN VON PROBLEMEN
| Die Waschmaschine ist mit verschiedenenautomatischen Sicherheitsfunktionen ausgestattet.Somit werden Störungen früherzeitig erkannt und das | Sicherheitssystem kann angemessen reagieren.Häufig sind diese Störungen so gingefüg, dass sie sich innerhalb von wichtigen Minuten beheben setzen. | |
| PROBLEM MÖGLICHE ursACHE ABHILFE | ||
| Die Waschmaschine lässt sich nichtstarten; keine Anzeige leuchtet | Nicht mit der Hauptleitungverbunden | Stecken Sie den Stecker in die Steckdose |
| Stecker oder Sicherung fungkationiertnicht | Testen Sie Funktion mit einer Lampe,lassen Sie den defekten Teil reparieren | |
| Stromausfall Die Waschmaschine setztautomatisch fortwenn der Strom wieder verfügbar ist | ||
| Die Waschmaschine startet nicht,obwohl die Taste „Start/Pause" gedrücktwurde | Tür nicht richtig geschlossen Drücken Sie die Tür, um sie zu schreiben, bis sie sich mit einem Klicken verriegelt | |
| Die Tastensperre ist aktiviert Drücken Sie die Taste mit demSchlüsselsymbol mindestens 3 Sekunden,um die Tastensperre zu deaktivieren | ||
| Die Waschmaschine bleibt mitten imProgramm stehen und die Lampe „Start(Pause)" blinkt | Spülstopp (= Position derSchleudertaste) ist aktiviert | Beenden Sie den Spülstopp mit demAblassen des Wassers oder demSchleudern der Wäsche (siehe „Spülstopp“- FUNKTIENEN UND OPTIONEN). |
| Das Programm wurde unterbrochen,möglicherweise wurde die Turunterbrochen | Stellen Sie safer, dass die Tür geschlossenistDrücken Sie die „Start/Pause“-Taste, um dasProgramm fortzusetzen | |
| Das Sicherheitssystem wurde aktiviert;bieder die Anzeige zeigt die Störung(F...); Der Wasserhahn könnengeschlossen sein | Im Abschnitt „Fehleranzeigen" nachlesen.Stellen Sie safer, dass der Wasserhahnoffen und der Zulaufschlauch nichtgeknet ist. | |
| Das Waschmittelfach enthalt nachProgrammende Waschmittelrückstände | Zu niedriger Wasserzulaufdruck; derFeinfilter des Wasserzulaufschlauchsköne blockiert sein | Stellen Sie safer, dass der Wasserhahnrichtig geöffnet ist. Überprüfen Sie dieFeinfilter des Zulaufschlauchs, sieheREINIGUNG UND WARTUNG / Reinigungder Feinfilter des Zulaufschlauchs |
| Waschmaschine vibriert während demSchleudem | Die Transportsicherungsschrauben sind nicht entfern't worden (!) | Entfemen Sie dieTransportsicherungsschraubenentsprechend den Anweisungen in derINSTALLATIONSANLEITUNG |
| Waschmaschine steht nicht eben aufallen vier Fußen | Passen Sie die Fuß an(INSTALLATIONSANLEITUNG). Stellen Siesicher, dass die Waschmaschine bestehtund auf festem Untergrund stehen. | |
| Schleuderrehzahl „0“ blinking auf derBedientafel und/oder die Wäsche istnoch sehr nass | Die Unwucht der Waschladung hatden Schleudergang verhindert, umdie Waschmaschine zu schützen | Wenn Sie nasse Wäsche schleudermöhlen,geben Sie weitere Wäscheteileverschiedener Höhe dazu und startenSie anschließend das Programm „Spülen&Schleudem“.Vermieten Sie keine Waschladungenaus wegen großen, saugfähigenWäschestücken / waschen Sie verschiedengroße Textilien in einer Ladung |
| PROBLEM MÖGLICHE ursACHE ABHILFE | ||
| Schlechetes Schleudergebnis Die Taste „Schleudem“ ist auf eine niedrige Drehzahl eingestellt. | Wahlen und starten Sie das „Schleuder“-Programm mit einer higheren Schleuderdrehzahl (falls währbar). | |
| Die Unwucht beim Schleudem hat den letzten Schleudergang verhindert. | ||
| Extreme Schaumbildung hat das Schleudem verhindert. | Das Programm „Spülen&Schleudem“ wahren. Vermeiden Sie übermäßig Waschmitteldosierung. Die Funktion der Dosieranzeige anpassen und verwenden. | |
| Waschmittelrückstände auf der Wäsche nach dem Waschgang | Zu viel Waschmittelpulver verwendet /Waschmittelqualität. | Waschmittelüberdosierung vermeiden Antikel abbürsten. Verwenden Sie die Option „Intensivspülen“ (falls währbar). Verwenden Sie flüssiges Waschmittel / verwenden Sie ein spezielles Waschmittel für schwarze oder dunkle Wäsche. |
| Waschmaschine besteht während dem Programm still / das Programm scheint nicht fortzufahren / während dem Stillstand kann eine Animation auf der Anzeige erschieren | Programmphasen ohne Trommelbewegung. | Stillstandphasen, die bis zu 2 Minuten dauem, sind bei einigen Waschprogrammen normal. |
| Extreme Schaumbildung (möglichere durch Überdosierung des Waschmittels) hat das Programm unterbrochen. Kann mehrmals wiederholt werden bis der Schaum ausreichend reduziert wurde. | Das Programm fahrth automatisch fort, sobald der Schaum ausreichend reduziert wurde. Wenn die Anzeige den Fehler Fod (=Überdosierungsfehler) anziegt, lesen Sie die Tabelle FEHLERANZEIGEN UND MELDUNGEN. | |
| Es könnte eine Unter- und Überspannung festgestellt werden. | Das Programm wird automatisch fortgesetzt sobald die Spannung der Hauptleitung im angemessenen Bereich ist. | |
| Die Programmdauer ist länger oder kürzer als die auf der Anzeige / in der Programmtabelle zu Beginn angegebene Zeit. | Die Waschmaschine passst sich Faktoren an, die sich auf die Programmdauer auswirken, wie Waschladung, extreme Schaumbildung, Unwucht, verlangerte Erwärmungsdauer durch niedrige Wasserzulauftematur etc. Die Anzeige zeigt während der Neuberechnung der Programmdauer eine Animation. | Vermeiden Sie keine Waschladungen mit saugfähigen großen Wäschestücken / fügen Sie Textilien unterscheidlicher Höhehinzu. Waschmittelüberdosierung vermeiden - beachten Sie die Dosierempfehlungen des Waschmittelherstellers. Die Funktion der Dosieranzeige anpassen und verwenden. |
| Die Tür ist verriegelt, mit oder ohne Fehleranzeige, und das Programm lauft nicht. | Bei Stromausfall ist die Tür verriegelt. | Das Programm setzt automatisch fort, sobald wieder Strom besteht. |
| Die Waschmaschine steht still (wie im vorherigen Abschnitt, „Waschmaschine steht still..., beschreiben). | Das Programm setzt automatisch fort nachdem die Ursache des Stillstands nicht mehr besteht. | |
| Wasserstand oder Temperatur zu hoch, oder Störung eines elektrischen Bauteils. | Siehe Anweisungen für die Störung „Service“: Fehlfunktion TÜverregelung" / FdL / F29 in Abschnitt Fehleranzeigen. | |
| Trommelbeleuchting (falls vorhanden) funktioniert nicht mehr. | Die Glühbirne muss ersetzt werden. | Rufen Sie zum Austausch der Glühbirne unserer Kundendienst. |
FEHLERANZEIGEN UND MELDUNGEN
Nachstehend folgt eine Zusammenfassung der möglichen Störungsursachen und Abhilfen.
Besteht das Problem nachdem die Ursache der Störung beseitigt wurde, halten Sie die Ein/Aus-Taste mindestens für drei Sekunden gedrückt. Besteht die Fehleranzeige danach immer noch, schreiben Sie den Wasserhahn, schalten Sie die Waschmaschine aus, ziehen Sie den Stecker und Kontaktieren Sie unseren Kundendienst.
| Fehleranzeige Mögliche Ursache Abhilfe | ||
| WASSERHAHN ZU | Kein oder unzureichender WasserzulaufWasserhahn zuKnicke im ZulaufschauchDruck des Wasserhahns zu niedrigFeinfilter im ZulaufschauchverstopfWasserzulaufschauchzugefroren | Wasserhahn öffnenStellen Sie sicher, dass derZulaufschauch nicht geknicht ist.Stellen Sie sicher, dass ausreichend Wasserdruck besteht.Reinigen Sie die Feinfilter imZulaufschauch (REINIGUNG UND WARTUNG)Stellen Sie die Waschmaschine bei einer Umgebungstemperatur von mindestens 5°C auf.Nachdem das Problem beseitigt ist, drücken Sie die Start/Pause-Taste.Bleibt das Problem bestehen, halten Sie die Ein/Aus-Taste für mindestens 3 Sekunden gedrückt. |
| FILTER REINIGEN | Das Wasser wird nicht aus der Waschmaschine gespumptKnicke im AblaufschauchAblaufschauch blockiert oder gefrorenFilter blockiertPumpe blockiert | Überprüfen Sie denAblaufschauch auf KnickeStellen Sie die Waschmaschine bei einer Umgebungstemperatur von mindestens 5°C auf.Reinigen Sie den Wasserfilter wie im Abschnitt REINIGUNG DES FILTERS beschreiben.Nachdem das Problem beseitigt ist, drücken Sie die Start/Pause-Taste. Bleibt das Problem bestehen, drücken Sie die Ein/Aus-Taste für mindestens 3 Sekunden. |
| Anzeige Mögliche Ursache Mögliche Abhilfe | ||
| ANZEIGE „TÜR OFFEN“ | Die Tür schließt nicht Drücken Sie | im Bereich des Turschlosses fest auf die Tür, um sie richtig zu schreiben. Drücken Sie dann „Start (Pause)". Bleibt das Problem bestehen, drücken Sie die Ein/Aus-Taste für mindestens 3 Sekunden. |
| BLINKT | ||
| Meldung der Anzeige Mögliche Ursache Mögliche Abhilfe | ||
| FdL(oder F29) | Die Tür entriegelt nicht. Drücken Sie im Bereich desTurschlosses fest auf die Tür,drücken Sie dann für mindestens 3Sekunden die Ein/Aus-Taste.Wenn der Warmzyklus gewählt wird, warten Sie bis er abkühltist und drücken Sie erneut fürmindestens 3 Sekunden die Ein/Aus-Taste.Die Waschmaschine einschalten.Wenn die Störung immer nocherscheint, überprüfen undbeseitigen Sie die möglicheUrsache wie für die Störung „Filterreinigen“ angegeben. Schalten S深加工 die Waschmaschine wiederein. Wenn die Tür nicht entriegelt,drücken Sie die Ein/Aus-Taste fürmindestens 3 Sekunden.Wenn die Tür immer noch nicht entriegelt, lesen Sie imAbschnitt „TÜR – WIE SIE BEI EINER STÖRUNG ZU ÖFFNEN IST".Bevor Sie das Wasser ablassen/ die Tür öffnen, warten Sie basidas Wasser abgekühlt ist (fürHeißwaschprogramme). | |
| Fod Extreme Schaumbildung | (möglicherweise durchÜberdosierung desWaschmittels) hat dasProgramm unterbrochen.Die Unterbrechung kann mehrmals wiederholt werdenbis die Schaumreduzierungausreichend ist. | Starten Sie das Programm „Spülen&Schleudern" mit derOption Intensivspülen.Beachten Sie dieDosierempfelungen desWaschmittelherstellers.Die Funktion der Dosieranzeigeanpassen und verwenden.Sicherstellen, dass der Wasserfiltersauber ist. |
| Fehleranzeige Meldung der Anzeige | Mögliche Ursache Mögliche Abhilfe | ||
| F20 oder F60 | Störung eines elektronischen Bauteils | Schalten Sie die Waschmaschine aus undziehen Sie den Stecker; den Wasserhahn schreiben. Kontaktieren Sie den Kundendienst | |
| F24 Zu viel Wäsche | für ein Pro-gramm mit kleiner maximaler Beladung | Wahlen und starten Sie das Programm „Spulen und Schleudern", um das unterbrochene Waschprogramm zu beenden. Überladen Sie die Waschmaschine nicht. Beachten Sie die maximalen Fällmengen der Programme, wie in der Programmtabelle angegeben. Wasserzulauf zuviel Wasserhahn | |
| KUNDENDIENST | F02 Störung von Wasserstopp | – Wasserleck in der Bodenwanne festgestellt. | Die Ein/Aus-Taste für mindestens 3 Sekunden lang gedrückt, um das Wasser abzulassen; warten Sie, bis die Abflussphase beendet ist („Ende“ erscheidt auf der Anzeige). Wasserhahn wieder aufdrehen. – Sollte das Wasser unmittelbar in die Waschmaschine fließen (ohne das Programm gestartet zu haben), liegt eine Störung eines elektrischen Bauteils vor. Schreiben Sie den Wasserhahn, schalten Sie die Waschmaschine aus undziehen Sie den Stecker. Kontaktieren Sie unseren Kundendienst. |
| Alle anderen S.. Störungen | Störung eines elektrischen Bauteils | Die Ein/Aus-Taste für mindestens 3 Sekunden lang drücken. Sollte die Störung bestehen bleiben, kontaktieren Sie den Kundendienst. | |
Wenneine Storung nicht durch die vorgeschlagene Lösung behoben werden kann, die Waschmaschine ausstecken, den Wasserhahn schlieben und den Kundendienst informieren (siehe Abschnitt KUNDENDIENST).
TÜR – WIE SIE BEI EINER STÖRUNG ZU ÖFFNEN IST, UM IHRE WÄSCHE ZU ENTNEHMIEN
Schalten Sie die Waschmaschine aus undziehen Sie den Stecker. Den Wasserhahn schreiben.
Warten Sie bis die Trommel aufgehört hat zu drehen. Öffnen Sie nie die Tur während die Trommel in Bewegung ist.
Beim Waschen mit hohen Temperaturen, warten bis das Wasser und die Wäsche
abgekuhl t sind.
Lassen Sie das Wasser stets ab, bevor Sie die Tur offnen, entweder durch gedrückt halten der Ein/Aus-Taste bis „rES" auf der Anzeige erscheint, oder durch manuelles Vorgehen, wie in Abschnitt RESTWASSERENTLEERUNG beschrieben.
Bevor Sie die Tur, wie im nachstehenden Abschnitt beschreiben, öffnen,lesen Sie die Störung „Tur ist verriegelt mit oder ohne Fehleranzeige und das Programm lauft nicht". Die Tur kann nach Vorlällen, wie z.B. einem Stromausfall, der nicht weiter besteht, sich selbst entriegeln.
Wenn Sie Ihrwäsche unmittelbar entnehmen möchten, versuchen Sie zuerst die Tur zu entriegeln, wie in FEHLERANZEIGEN UNDMELDUNGEN (FdL oder F29) beschreiben. Nur
wenn die Tur nicht, wie im zuvor erwähnten Abschnitt beschreiben, geöffnet werden kann, fahren Sie, wie nachstehend beschreiben, fort. Im Fall eines Stromausfalls setzt die Waschmaschine Dort fort, wo sie unterbrochen wurde, sobald der Strom wieder verfügbar ist.
Wenn eine Störung an der Waschmaschine auftritt und die Tur verriegelt ist, sie aber ihre Wäsche entnehmen müssen:
-
Entleeren Sie zuerst das Restwasser, wie im Abschnitt „Restwasserentleerung" beschrieben
-
Entfernen Sie die Schraube mit einem Schraubenzieher.

- Anschließlich befestigen Sie den Riegel wieder, indem Sie die Schraube mit einem Schraubenzieher fest einschrauben.

-
Den Sockel erneut installmenten
-
Ziehen Sie dann den Riegel nach unten, der mit „Tur offen" gekennzeichnet ist.Jetzt konnen Sie die Tur offen und ihre Wasche herausnahmen.


KUNDENDIENST
BEVOR SIE DEN KUNDENDIENST RUFEN
- Prufen Sie erst, ob Sie die Störung durch Hinzuziehen des Abschnitts selbst beheben konnen
ANLEITUNG ZUR PROBLEMLösUNG.
- Schalten Sie das Gerät aus und wieder ein, um festzustellen, ob die Störung erneut auftritt.
SOLLTE DER FEHLER ANSCHLIESSEND IMMER NOCH AUFTRETEN, KONTAKTIEREN SIE DEN KUNDENDIENST
Rufen Sie die Nummer in dem Garantieheft an oder folgen Sie den Anweisungen auf der Website www.whirlpool.eu
Immer angeben
- Eine kurze Beschreibung der Störung
- Das Waschmaschinenmodell (siehe Typenschild in der Tur)
- Servicenummer (auf dem Serviceaufkleber in der Tür; Nummer nach „Service")
- Ihr vollständige Anschrift und Telefonnummer.

Wenden Sie sich für alle Reparaturen an unseren autorisierten Kundendienst, um eine ordnungsgemäße Reparatur und die Verwendung von Original-Ersatzteilen sicherzustellen.
Hersteller: Whirlpool Europe s.r.l. Socio Unico Viale Guido Borghi 27 21025 Comerio (VA)
Italien
ITALIANO
ISTRUZIONI PER L'USO

GRAZIE PER AVERE ACQUISTATO UN PRODOTTO WHIRLPOOL.
BAUKNECHT HAUSGERATE GmbH, D-73614 Schorndorf
Schorndorf, 11.11.2015 Stephen M. Groppel
Schorndorf, 11.11.2015 Stephen M. Groppel
Schorndorf, 11.11.2015 Stephen M. Groppel
EinfachAnleitung