GW20985 - RF-Signalverstärker Gewiss - Kostenlose Bedienungsanleitung
Finden Sie kostenlos die Bedienungsanleitung des Geräts GW20985 Gewiss als PDF.
Benutzerfragen zu GW20985 Gewiss
0 Frage zu diesem Gerät. Beantworten Sie die, die Sie kennen, oder stellen Sie Ihre eigene.
Eine neue Frage zu diesem Gerät stellen
Laden Sie die Anleitung für Ihr RF-Signalverstärker kostenlos im PDF-Format! Finden Sie Ihr Handbuch GW20985 - Gewiss und nehmen Sie Ihr elektronisches Gerät wieder in die Hand. Auf dieser Seite sind alle Dokumente veröffentlicht, die für die Verwendung Ihres Geräts notwendig sind. GW20985 von der Marke Gewiss.
BEDIENUNGSANLEITUNG GW20985 Gewiss
Achtung! Die Sicherheit des Geräts ist nur durch Einhalten der hier aufgeführten Anleitungen gewährleistet.
These müssen darauf aufmerksam durchgeleen und sorgfällig aufbewahrt werden.
Die Produkte der Reihe Chorus sind für die Installation gemäß den Bestimmungen der Normen HD 384 / IEC364 bezüglich Haushaltsgerä.
ndä. in staubfrei Räumen und in Räumen, in denen keine spezielle Absicherung gegen das Eindringen von Wasser erforderlich ist, bestimmt.
GewISS-Verkaufsorganisation steht Ihnen fur weitere technische Informationen offen zur Verfugung.
ITALIANO
DESCRIZIONE
Der Signalverträger erhögt, bei baulichen Hindernissen die einen Funkschatten verursachen, eine Verbesserung der Funkverbindung zwischen einem Steuergerat und einem Antriebsgerat der Reihe Chorus RF. Der Signalverträger besitzt durch das integrierte Relais 16 A mit NO-Kontakt auch eine Antriebsfunktion mit 1 Kanal. Jeder Signalverträger kann bis zu maximal 16 verschiedene eingehende Funkkanäste steuern, die frei für die Verstärkungsfungtion oder zur Steuerung des internen Relais (z.B. 12 Kanäle für die Verstärkungsfungtion, 4 Kanäle für die Relaissteuerung) verwendet werden können.

Der Signalmelderstab ist mit einer dreifarbigen Multifunktions-Led (B) (gelb/rot/grün) zur Angabe der Betriebsmodalitäten und mit einer vorderen Taste zur Übertragung Assoziation ausgestattet. Das Modul muss an eine Leitung 230 angeschlossen werden. Durch den Kabeingang ist es möglich Kontakte ohne Potential von Steuergeräten zu verbinden. Ein Drehschalter ermöglicht die Wahl Konfigurations-, Betriebs-, Inhibitions- und Löschemodität.
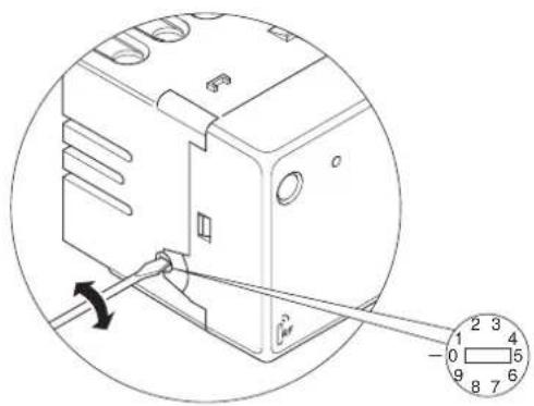
0-Erlernen Verstärkerfungtion
1-Betriebsart Verstärkerfunktion (Antrieb ausgeschaltet)
2-Betriebsart Stand-By (Verstärker und Antrieb ausgeschaltet)
3 - Erlernen Antriebsfunktion
4 - Betriebsart Antrieb schaltend und Veränderung aktiviert
5 - Betriebsart Antrieb zeitgesteuer (500ms) und Verstärkerfunktion aktiviert
6 - Betriebsart Antrieb zeitgesteuer (1 min.) und Verstärkerfunktion aktiviert
7 - Betriebsart Antrieb zeitgesteuert (5 min.) und Verstärkerfunktion aktiviert
8-Betriebsart Antrieb zeitgesteuert (4 Stunden) und Verstärkerfunktion aktiviert
9 - Löschen der Konfigurationen

Es ist möglich Verbindungen mit mehreren Signalmelderständen herzustellen, so dass hohe Entfernungen überwunden werden können.
KONFIGURATION
Erlernen Konfiguration Verständerkfunktion
Zum Erlernen eines Befehls muss lediglich der Wahlschalter in die Position 0 gedreht werden: Die Multifunktions-LED leuchtet rot. Nun muss das zu koppelnde Gerat gemäß des entsprechenden Anleitungsblatts bedient werden, so dass die gewünschte Befehsmeldung generiert wird: Die Multifunktions-LED blinkt langsam grün um anzuzeigen, dass eine Verbindung zwischen Steuergerät und Signalversteller hergestellt wurde. Um eine Verbindung zwischen Signalversteller und gewünschtem Ausgangsmodul herzustellen muss wie folgt vorgegangen werden: Stellen Sie wahlschalter des Ausgangsmoduls (Antrieb) in die Position 0 (rote LED schaltet sich ein) und drücken Sie die Übertragungstaste (A) des Signalversteller.
Die LED des Verständerkers blinkt schnell grün, um die erfolgte Übermittlung anzuzeigen. Um Verbindungen mit mehreren aufeinander folgenden Signalverständern zu erstellen, muss die oben aufgeführte Prozedur ausgeführrt werden, wobei immer nur ein Verständerk in den Lernmodus geschättet werden darf
Erlernen Konfiguration Antriebsfunktion
Zum Erlernen eines Befehls, der mit dem internen Relais des Verständers verknüpfert werden soll, muss lediglich der Wahlschalter in die Position 3 gestreht werden: Die Multifunktions-LED leuchtet durchgehend rot. Nun muss die zu verknüpfende Einrichtung gemäß des entsprechenden Anleitungsblatts bedient werden, so dass die gewünschte Befehlsmeldung generiert wird: Die rote Multifunktions-LED schaltet sich für ca. 5 Sekunden aus, um anzuzeigen, dass der Befehl empfangen und gespeichert wurde.
Max. Anzahl von Verbindungen
Beim Erreichen der maximalen Anzahl von Eingangsverbindungen (16 Stück), die frei zwischen der Veränder- und Antriebsfunktion verteil sein konnen, blinking die LED rot; diese Anzeige ist sightbar, wenn der Drehschalter in die Lern position „0" und „3" gestellt wird.
Löschen der Konfiguration
Zum Löschen aller ausgeführten Verknüpfungen, den Drehschalter in die Position 9 drehen: Die Multifunktions-LED der blinkt gelb und weist so auf die Ausführung des Vorgangs hin. Die gelb leuchte LED zeigt an, dass das Löschen abgeschlossen wurde. Ein selektives einzelnes Löschen ist nicht möglich.
FUNKTIONSWEISE
Betrieb
Um den Betrieb des Gerats zu aktivieren, muss der Wahlschalter in die folgenden Positionen gestellt werden:
Position 1 „Betriebsart Veränder" - in dieser Betriebsart empfängt der Signalveränderter Befehle (von Eingangsgeräten wie Tastaturen, Fernbedienungen, usw.) und sendet sie an die verknüpften Ausgangsmoduwe.
Position 4-8 Betriebsart Verstarker + Betatigung - in dieser Betriebsart empfängt der Signalverstarker Befehle (von Funksendern wie Tastaturen, Fernbedienungen, usw.) und sendet sie an die verknüpften Ausgangsmodule weiter, zusätzlich schlieb sich das interne Relais entsprechend der gewährten Funktion - bistabil oder zeitgesteuert.
Sperre
Falls die Gerätefunktion gespeit (Unterbrechung der eingestellen Verbindungen) werden soll, muss der Wahlschalter in Position 2 gedreht werden, die LED beginnt schnell grün zu blinken.
These Funktion wird verwendet, wenn z.B. eine Verbindung mit Steuergeräten hergestellt werden soll, die bereits einen Veränderk verwenden, um zu verhindern, dass die erneute Übertragung these uses unewünschte Lernvorgänge verursachen.
Bei der Rückkehr zum normalen Betrieb werden die voreingestalten Verbindungen wieder hergestellt.
MELDUNGEN
Funktion der Front-LED
Gerat in Betriebsart Verstärkerfunktion" (Drehschalter Position 1):
- GRUNE LED blinkt einzel AN: Erneute Übermittlung wird ausgeführrt
- GRÜNE LED aus: Keine erneute Übermittlung wird ausgeführrt
Gerat in, Betriebsart Antriebs- + Verstärkerfungtion (Drehschalter Position 4 bis 8):
- GRÜNE LED ein: Ausgangsrelais AN und keine erneute Übermittlung wird ausgeführrt
- GRUNE LED aus: Ausgangsrelais AUS und keine erneute Übermittlung wird ausgeführrt
- In dieser erneuten Übertragungsart wird mit einem einzeln Blinken AN gemeldet, wenn das Ausgangsrelais AUS ist oder mit einem einzeln Blinken OFF, wenn das Ausgangsrelais AN ist.
Gerat in „Lernen Veränderungkunft" (Drehschalter Position 0):
- ROTE LED ein: Warten Verbindung Abschnitt 1 (vom Sender zum Veränder)
- GRUNE LED blinkt (langsam): Warten Verbindung Abschnitt 2 (vom Veränder zum Antrieb)
- GRÜNE LED blinkt Schnell: Verbindung abgeschlossen und Veränder ausgeschaltet
- ROTE LED blinkt: Neuer Lernvorgang kann nicht ausgeführrt werden (Speicher w
Gerat in Lernen Antriebsfunktion" (Drehschalter Position 3):
- ROTE LED ein: Gerat wartet auf Erlernen eines Befehls
- ROTE LED vorübergehend aus (5 s): Der Befehl wurde empfangen und gespeichert
- ROTE LED blinkt: Es können keine weiteren Befehle erlernt werden (Speicher voll),
Gerat auf Funktion „Loschen der Konfigurationen" (Wahlschalter in Position 9):
GELBE LED blinkt: Warten Beginn Löschvorgang (fur 10 s)
GELBE LED leuchtet: Löschvorgang ausgeführrt
Gerat in „Betriebsart Stand-By" (Drehschalter Position 2):
- GRUNE LED blinkt schnell:
Funktion der vorderen Übertragungstaste:
Gerat in Betriebsart Erlernen Verstärkerfungtion" (Drehschalter Position 1):
- Beim Drücken der Fronttaste wird eine Nachricht zur Verbindung des 2. Abschnitts verschickt (vom Veränder zum Antriebsmodul)
Gerat in „Betriebsart Stand-By" (Drehschalter Position 2) und „Erlernen Antriebsfunktion" (Drehschalter Position 3):
- die Fronttaste ist ausgeschaltet
Gerat in „Betriebsart Antriebs- + Verständerkunft" (Drehschalter Position 4 bis 8):
- Steuerung des Ausgangsrelais im Modus bistabil/monostabil/zeitgesteuert, je nach gewährter Funktion
INSTALLATION
ACHTUNG: Vor der Installation versichere man sich, dass der Signalmelderstab, die Befehle korrekt erhält und mit den assoziierten AusgangsmodulenCOMMUNIZIER.
Die Signalmelderstbe werden im Unterpzt installiert, indem man dazu vorgesehene Halterungen der Reihe Chorus anwendet. Wenn man die Klemmenabdeckung verwendet ist es möglich den Schutzgrad auch fur Installationen beizubehalten, die sich vom Unterpzt unterscheiden (zum Beispiel in Abzweigschaltkästen).

TECHNISCHE DATEN
-Betriebstempoatur: -5^ + 40^
-Funkfrequenz868MHz
- Funkfestigkeit 100 M zur Empfang + 30 M zur Übertragung im freiem Feld
- Stromversorgung 230V - 50Hz
- Abmessungen 2 System-Modul
- Anz. Empfangs-/ Sendekanäle 16
Ausgangsmodul 16A
-Ohmsche Lasten 16A
- Gluhlampe 10A
-kompensierte Leuchtstofflampen nicht geeignet
- unkompensierte Leuchtstofflampen 4A
-Motoren und Motoretriebbe 10A
EinfachAnleitung