LED40D1100ISX - Fernseher CHANGHONG - Kostenlose Bedienungsanleitung
Finden Sie kostenlos die Bedienungsanleitung des Geräts LED40D1100ISX CHANGHONG als PDF.
Häufig gestellte Fragen - LED40D1100ISX CHANGHONG
Benutzerfragen zu LED40D1100ISX CHANGHONG
0 Frage zu diesem Gerät. Beantworten Sie die, die Sie kennen, oder stellen Sie Ihre eigene.
Eine neue Frage zu diesem Gerät stellen
Laden Sie die Anleitung für Ihr Fernseher kostenlos im PDF-Format! Finden Sie Ihr Handbuch LED40D1100ISX - CHANGHONG und nehmen Sie Ihr elektronisches Gerät wieder in die Hand. Auf dieser Seite sind alle Dokumente veröffentlicht, die für die Verwendung Ihres Geräts notwendig sind. LED40D1100ISX von der Marke CHANGHONG.
BEDIENUNGSANLEITUNG LED40D1100ISX CHANGHONG
Warning. 1
Sicherheit Anweisungen 4
Hauptseinheit 6
Einleitung 8
Anschluss und Einrichtung. 9
Fernbedienung 10
Basisemberkmale 12
Bedienung der Menu 15
Teletext. 49
Fehlerbehebungsanleitung 50

VORSICHT!
RISIKO EINES UNFALLES DURCH ELEKTRISCHEN STROM NICT OFFNEN

WARNING:
STROMSCHLAGGEFAHR! GEHÄUSE NICT ÖFFNEN.
REPARATUREN NUR VON FACHLEUTEN DURING LASSEN.

Ein Dreieck mit Blitz dient als Warning vor nicht isolierter gefährlicher Spannung im Gehäuse des Geräts, die eine Stromschlaggefahr für Menschen darstellen kann

Ein Dreieck mit Ausrufezeichen weist auf wichtige Anweisungen für Betrieb und Wartung in der dem Gerät beigelegten Bedienungsanleitung hin.
EMPFANGSSTÖRUNGEN
Dieses Gerät erzeugt und verwendet Funkwellen und kann diese emittieren. Wenn das Gerät nicht gemäß der Gebrauchsanweisung installiert wird, kann es zu Störungen der Funkkommunikationkommen. Es besteht jedoch keine Garantie, dass bei einer bestimmten Installation keine Störungen auftreten konnen. Sollte这点es Gerät Störungen beim Radio- oder Fernsehempfang verursachen (dies konnen Sie durch Ein- und Ausschalten des Geräts feststellen), so konnen Sie eine der folgenden Maßnahmen ergreifen:
-Versetzen Sie die Empfangsantenne.
-Erhöhen Sie den Abstand zwischen dem Gerät und dem Empfänger.
-Schließen Sie das Gerät und den Empfänger an einen jeweils unterschiedlichen Stromkreises an.
-Wenden Sie sich an ihren Handler oder einen erfahrenen
Radio-/Fernsehtechniker.
Durch nicht ausdrücklich genehmigte Veränderungen kann die Erlaubnis zum Betrieb des Geräts erlischen.
VORSICHT
Nehmen Sie ohne die schriftliche Genehmigung des Lieferanten keine Veränderungen an thisem Produkt vor. Durch nicht genehmigte Veränderungen kann die Erlaubnis zum Betrieb theses Produkts erlischen. Den Bildschirm nicht über einen längeren Zeitraum auf einem Standbild eingeschaltet halten.itte vermeiden Sie die dauerhafte Darstellung extrem heller Bilder auf dem Bildschirm.
Figuren und Illustrationen in thisem Benutzerhandbuch sind nur für Referenz zur Verfügung gestellt und dürfen sich von Aktualprodukterscheinung unterscheiden. Produktentwurf und Spezifikationen dürfen ohne Kündigung geändert werden.
WARNING
Brand- und Stromschlaggefahr! Setzen Sie these Gerät nicht Regen oder Feuchtigkeit aus.
Decken Sie die Lüftungsöffnungen nicht mit Gegenständen wie Zeitungen, Tischdecken, Vorhängen etc. ab.
Setzen Sie das Gerät nicht Tropf- oder Spritzwasser aus. Stellen Sie keine mit Flüssigkeiten gefüllte Behälter, z. B. Vasen, auf das Gerät.
Achten Sie auf eine umweltgerechte Entsorgung der Batterien. Batterienitte nicht in den Hausmull werfen. Wenden Sie sich bei der Entsorgung von Batterienitte an ihren Handler.
Achten Sie beim Installieren des Fernsehgeräts darauf, dass Sie einen Abstand von mindestens zehn Zentimetern zu anderen Objekten (Wand, Schrankseiten usw.) einhalten, damit das Gerät ausreichend geluftet wird. Bei nicht ausreichender Belüftung kann es zu Feuer oder einem anderen Problem aufgrund von Hitzebildung im Gerät kommt.
Stellen Sie keine offenen Flammen, z. B. angezündete Kerzen, auf das Gerät. Zur Verhinderung der Verbreitung eines Brandes sollenn Kerzen oder andere offenen Flamen von dem Produkt stets fern gehalten werden.
Das Gerät kann nicht die volle Leistung erbringen, falls es unter elektrostatischer Aufladung stehen. Es kann manuell durch Ausschalten und Einschalten wieder behoben werden.
Um jegliche durch das Kippen des Produkts verursachtete Verletzungen zu vermeiden, werden immer darauf auf zu achten, dass das ganze Produkt innerhalb der Tischoberfläche in horizontal angelgt werden sollt.
VORSICHT Stromkabel anschließen
Bei den meisten Geräten ist es empfehlenswert, sie an einen eigenen Stromkreis anzuschreiben, das heißt, an einen Stromkreis mit nur einer Steckdose, über die nur diesen Gerät versorgt wird. Der Stromkreis sollte keine weiteren Ausgänge oder Nebenkreise haben.
Steckdosen nicht überlasten. Überlastete, lose oder beschädigte Steckdosen, Verlängerungs- oder Stromkabel, sowie Beschädigungen und Risse der Kabelisolierung stellen eine Gefahr dar. Sie konnen einen Stromschlag oder einen Brand verursachen. Untersuchen Sie deshalb in regelmäßigen Abständen das Kabel Ihres Geräts. Sollten Sie damit Beschädigungen oder Abnutzungen feststellen, so trennen Sie das Kabel vom Stromkreis, verwenden Sie das Gerät nicht weiter und halten Sie das Kabel durch ein geeignetes Ersatzteil von einer autorisierten Servicestelle austauschen. Schützen Sie das Stromkabel vor physischen und mechanischen Einwirkungen. Das Kabel sollt nicht verdrecht, geknicht oder in einer Tur fingeklemmt werden. Vermeiden Sie es auch, auf das Kabel zu trenen. Achten Sie besonders auf Stecker, Steckdosen und den Kabelbefestigung am Gerät.
Das Gerät muss jederzeit vom Stromnetz getrennt werden konnen, und der Netzstecker muss sofort gezogen werden konnen.
Betriebstemperatur: 5^ bis 35^ Betriebsluftfeuchtigkeit: ≤ 80%
Lagertemperatur -15°C bis 45°C Lagerluftfeuchtigkeit: ≤90%
Warning


TruSurround HD ist eine Marke der SRS Labs, Inc. TruSurround HD Technologie ist unter Lizenz von SRS Labs, Inc eingebunden.

Dieses DivX Certified -Gerät wurde intensiv getestet, um sicherzustellen, dass es DivX -Video wiedergeben kann.
Wenn Sie käufiglich erworbene DivX-Spielfilmie wiedergeben möchten, registrierten Sieitte das Gerät erst bei vod.divx.com. Den Registrierungscode finden Sie im DivX VOD-Abschnitt des Support-Menus.
Für HD Test Kit 1080p v1.1 und neuere Versionen:
DivX Certified® für die Wiedergabe von DivX®-Video bis zu HD 1080p, einschließlich Premium-Inhalten.
DivX®, DivX Certified® und entsprechende Logos sind Handelsmarken von DivX, LLC und werden mit Lizenz verwendet.
Geschützt durch eines oder mehrere der folgenden US-Patente: 7,295,673; 7,460,668; 7,515,710; 7,519,274.

DOLBY. DIGITAL PLUS
Hergestellt mit Lizenz von Dolby Laboratories.
Dolby und das Doppelt-D-Symbol sind Handelsmarken von Dolby Laboratories.
Sicherheit Anweisungen
WICHTIGESICHERHEITSHINWEISE
- Lesen Sie diese Sicherheitshinweise.
- Bewahren Sie diese Sicherheitshinweise gut auf.
- Beachten Sie alle Warnungen.
- Beachten Sie alle Anweisungen.

- Halten Sie die Luftungsöffnungen frei. Installieren Sie das Gerät gemäß den Anleitungen des Herstellers.

- Verwenden Sie das Gerät nicht in der Nähe von Wasser.

- Stellen Sie das Gerät nicht in der Nähve von Wärmequellen wie Heizkörpern, Öfen oder anderen Wärme erzeugenden Geräten (z. B. Verständern) auf.

- Nur mit einem trockenen Tuch reinigen.

- Manipulieren Sie nicht den gapolten Stecker oder den Schutzkontaktstecker. Ein gapolter Stecker hat zwei Kontaktstiffe, wovon einer breiter ist. Ein Schutzkontaktstecker hat zwei Kontaktstiffe und eine dritten Pol zum Ableiten gefährlicher Spannungen. Der breite Kontaktstift bzw. der dritte Pol dieren ihrer Sicherheit. Sollte der Stecker nicht in ihre Steckdose passen, so wenden Sie sich an einen Elektriker, um die Steckdose austauschen zu halten.
Sicherheit Anweisungen
- Verlegen Sie das Stromkabel so, dass niemand darüber stolperm oder daraufuf treten kann. Schützen Sie das Kabel gegen Beschädigung, besonders an den Steckern, Steckdosen und am Kabelaustritt am Gerät.

- Verwenden Sie nur vom Hersteller zugelassenes Zubehör.
- Verwenden Sie nur vom Hersteller zugelassene oder zusammen mit dem Gerät verkaufte TV-Wagen, Ständer, Stative oder Tische. Der Transport des Gerätes durch einen TV-Wagen oder Ahnlichem sollte mit Vorsicht geschehen, um ein Umfallen des Gerätes zu vermeiden.

- Bei Gewitter oder längerem Nichtgebrauch des Gerätes, sollenn Sie das Netzkabel des Gerätes von der Steckdose trennen.

- Lassen Sie alle Reparaturarbeiten von Fachleuten durchführren. Reparaturen sind erforderlich, wenn das Gerät beschädigt wurde, z. B. Beschädigungen des Stromkabels oder des Steckers, wenn Wasser oder Gegenstände in das Gerät eingedrungen sind, das Gerät Regen oder Feuchtigkeit ausgesetzt war, das Gerät nicht normal Funktioniert oder heruntergefallen ist.

Entsorgung
- Die in thisem Produkt verwendete Leuchtröhre enthalt eine geringe Menge Quecksilber.
- Entsorgen Sie theses Produkt nicht im normalen Hausmull.
- Halten Sie sich bei der Entsorgung an die geltenden gesetzlichen Bestimmungen.
Hinweis
- Wenn sich der Fernsehapparat kalt anfuhlt, kann es beim Einschalten zu einem leichten Flimmern kommt. Dies ist ein normaler Vorgang. Ihr Fernsehapparat ist nicht beschädigt.
- Auf dem Bildschirm konnen keine rote, grüne oder blaue Punkte erschinen.
These beeinträchtigen jedoch nicht die Bildschirmfungtion. - Vermeiden Sie es, den Bildschirm zu berühren. Bei Berührung entstehen vorübergehende Verzerrungen auf dem Bildschirm.
Haupteinheit
Vorderes Bedienfeld

| Nr. | Name Beschreibung | |
| 1 | CH+/CH- | Hiermit wechseln Sie die Kanäle. |
| 2 | VOL+/VOL- | Hiermit regeln Sie die Lautstärke. |
| 3 | MENU | Hiermit öffnen Sie das Menu. |
| 4 | → | Hiermit konnen Sie die Signalquelle wechseln. |
| 5 | ◎ | Hiermit schalten Sie das Gerät ein und aus. |
| 6 | Power & Sensor | Stromanzeige und Infrarotsensor. |
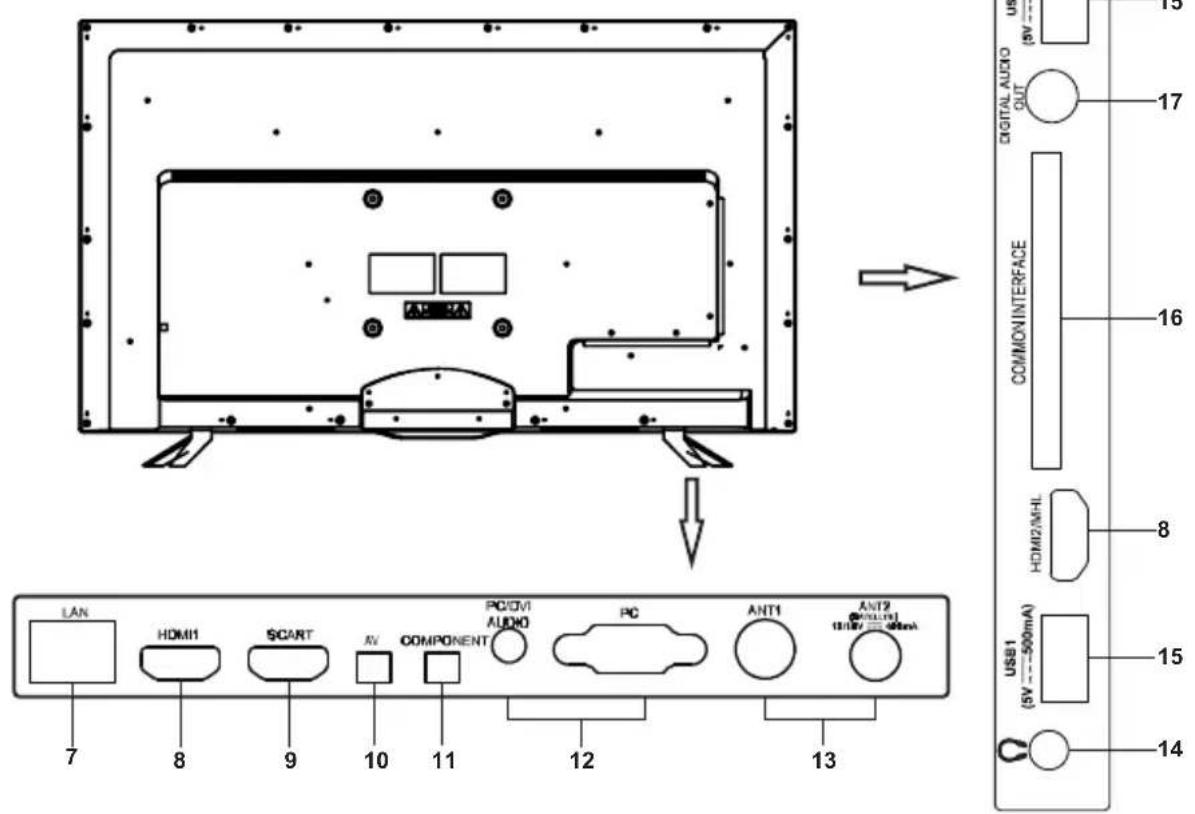
Hauptseinheit
Rückseite und Seitenflächen

| Nr. | Name | Beschreibung |
| 7 | LAN | LAN (Local Area Network)-Anschluss. Schlieben Sie hier ein LAN-Kabel an, um eine Verbindung mit dem Netzwerk herzustellen. |
| 8 | HDMI1/2 | HDMI-Eingang.(HDMI2 und MHL nutzen denselben Anschluss) |
| 9 | SCART | SCART-Eingang/Ausgang. |
| 10 | AV | Ausgang für Audio/Video-Signal. |
| 11 | COMPONENT | Component-Eingang. |
| 12 | PC/DVI AUDIO-PC | PC-Eingang. |
| 13 | ANT1/2 | Antennenausgang. |
| 14 | Ω | Kopfhörerausgang. |
| 15 | USB1/2 | Anschluss für USB Play. |
| 16 | COMMON INTERFACE | Setzen Sie hier eine CI-Karte ein. |
| 17 | DIGITAL AUDIO OUT | Digitaler Audioausgang. |
Einleitung
Fernbedienung
Wenn Sie die Fernbedienung benutzen, richten Sie die Fernbedienung auf den Infrarotsensor des Fernsehers. Wenn ein Gegenstand zwischen der Fernbedienung und dem Infrarotsensor liegt, Funktioniert die Fernbedienung eventuell nicht.
Richten Sie die Fernbedienung auf den Infrarotsensor des Fernsehers.
Wenn Sie den Fernseher in hellen Räumen nutzen, Funktioniert der Infrarotsensor eventuell nicht richtig.
Die empfohlene Reichweite zur Benutzung der Fernbedienung beträgt ca. 7 Meter.
Einsetzen der Batterien in die Fernbedienung
- Offnen Sie das Batteriefach auf der Rückseite der Fernbedienung.
-
Legen Sie zwei Batterien, AAA, ein. Stellen Sie damit sichereassdiePole ^ 一 + und"-am Anfang und Ende der Batterien den Abbildungen im Batteriefach entsprechen.
-
Schließen Sie das Batteriefach.
Austauschen der Batterien



Die Batterien müssen nach den folgenden Anweisungen in die Fernbedienung eingesetzt werden, damit diese richtig Funktioniert.
Wenn die Batterien schwach sind, verringert sich die Reichweite der Fernbedienung und Sie sollen den Batterien austauschen.
Anmerkung über die Anwendung der Batterien:
Die falsche Verwendung von Batterien kann zu einem chemischem Leck und / oder zur Explosion führren. Achten Sie auf folgenden:
Gehen Sie sicher, dass die Batterien richtig eingesetzt wurden und die Pole + und - an den richtigen Stellen sind, orientieren Sie sich an den Abbildungen im Batteriefach.
Verschiedene Batterie-Type haben verschiedene Merkmale. Vermeiden Sie die verschiedenen Typen zu mischen.
Verwenden Sie alte und neue Batterien nicht zusammen. Dieses kann die Lebensdauer der Batterien verringern und / oder ein chemisches Leck verursachen.
Tauschen Sie die Batterien aus, sobald diese nicht mehr Funktionieren.
Chemische Substanzen in der Batterie konnen Hautreizungen verursachen. Entfernen Sie eventuell austretende Batteriesäure sofort mit einem trockenen Tuch.
Die Batterien haben unter bestimmen Bedingungen eine verkürzte Lebensdauer. Wenn Sie die Fernbedienung eine längerere Zeit nicht verwenden, enthalten Sie die Batterien vorher.
Die Batterien (das Batteriepaket oder die eingesetzten Batterien) sollenn nicht übermäßiger Hitze ausgesetzt werden, wie erhöhter Sonnenstrahlung, Feuer etc.
Vorsicht:
Wenn die Batterien nicht richtig ausgetauscht werden, können sie zur Explosion führen.
Tauschen Sie nur gleiche oder gleichwertige Batterie Typen aus.
Anschluss und Einrichtung
Anschlieben von Kabeln
Lesen Sie vor der Installation und Verwendungitte die entsprchenden Hinweise in den „Sicherheitswannungen und -anleitungen" sorgfaltig durch.
- Nehmen Sie das TV-Gerät aus der Verpackung hereaus und stellen Sie es an einem gut belufteten Ort auf einer flachen Oberfläche auf.
HINWEIS:
- Wenn Sie das Netzkabel an das TV-Gerät, einen Computer oder ein anderes Gerät anschließen oder es abziehen, stellen Sieitte erst sicher, dass es keinen Strom führt;
-
Wenn Sie das Netz- oder Signalkabel abziehen, fassen Sieitte den isolierten Teil des Steckers an;ziehen Sie nicht am Kabel selbst.
-
Der RF-Ausgang kann mit dem RF-Eingang des TV-Geräts verbunden werden.
- Der AV-Ausgang eines DVD-Geräts kann mit dem AV-Eingang des TV-Geräts über ein AV-Kabel verbunden werden.
HINWEIS:
-
AV- und Component-Kabel können nicht gleichzeitig für einen Audiokanal verwendet werden.
-
Der COMPONENT (YPbPr)-Ausgang eines DVD-Geräts kann mit dem COMPONENT (YPbPr)-Eingang des TV-Geräts über ein AV-Kabel verbunden werden.
- Schließen Sie ein Ende des VGA-Kabels an den VGA-Anschluss des Computers und das andere Ende an den VGA-Anschluss des TV-Geräts an; ziehen Sie die Schrauben an beiden Enden des VGA-Kabels im Uhrzeigersinn fest.
HINWEIS:
-
Achten Sie beim Anschluss des 15-poligen VGA-Kabels darauf, dass kein übermäßiger Druck ausgeübt wird, da die Kontakte beschädigt werden konnten.
-
Schließen Sie ein Ende des HDMI-Kabels an den HDMI-Ausgang und das andere Ende an den HDMI-Anschluss des TV-Geräts an.
HINWEIS:
-
Achten Sie beim Anschluss des HDMI-Kabels daraufuf, dass kein übermäßiger Druck ausgeübt wird, da die Kontakte beschädigt werden konnten.
-
Schließen Sie den SCART-Eingang oder Ausgang von einem externen Gerät an diese Buchsen an.
- Das TV-Audiosignal wird über den digitalen Audioausgang an externe Audiogeräte gesendet.
- Stellen Sie sicher, dass alle AV-Kabel ordnungsgemäß mit den entsprechenden Anschlüssen verbunden werden.
- Schlieben Sie das Netzkabel an das 100-240V~ Netzteil an.
HINWEIS:
Die Eingangsleistung für these TV-Gerät ist 100-240V~ 50/60Hz; schreiben Sieitte kein Netzkabel mit einer hohenen Leistung an das TV-Gerät an.
- Fassen Sieitte den isolierten Teil des Steckers an, wenn Sie das Netzkabel abziehen; berühren Sie nicht die Metallteile des Kabels.
Fernbedienung
Übersicht über die Tasten ihrer Fernbedienung:

- Ein/Aus, zum Ein- und Ausschalten des Fernsehgerats.
- Aktivieren oder deaktivieren Sie hiermit den Ton.
- II: Pause (im USB/PVR-Modus).
: Drucken Sie diese Taste, um zum MIX-Modus im Teletext zu wechseln. - : topp (im USB/PVR-Modus).
Halten Sie hiermit die Teletextseite auf dem Bildschirm; drücken Sie erneut zum Loslassen. - Wiedergabe (im USB/PVR-Modus).
Geben Sie den Teletext ein und drücken Sie diese Taste erneut, um den Vorgang zu beenden. - Drucken Sie um mit der Aufnahme zu beginnen.
Hiermitändern Sie die Gröbe des Teletextbildschirms im Anzeigemodus. - : Rück (im USB-Modus).
:Hiermit gelangen Sie zur Indexseite. - :Weiter (im USB-Modus).
Zeigt die verborgenen Informationen bestimmter Teletextseiten an. - : Schnell zurücksplen (im USB-Modus).
:Hiermit gelangen Sie zum Untertitelmodus oder zu einer untergeordneten Seite. - Schnell vorspulen (im USB-Modus).
Ex: Hiermit brechen Sie den Teletext ab; drucken Sie erneut, um den Teletext ganz zu beenden. - EPG: Elektronischer Programmführer, zur Verwendung im DTV-Modus.
- ANT: Hiermit wahlen Sie eine Antennenquelle aus.
- INFO: Hiermit zeigen Sie aktuelle Programminformationen auf dem Bildschirm an.
- TOOLS: Drücken Sie diese Taste, um das Tools-MENU anzuzeigen.
Fernbedienung

- NUMBER BUTTONS: Hiermit wahlen Sie Kanäle aus oder geben das Kennwort ein.
- MENU: Hiermit gelangen Sie zum Menübildschirm mit verschiedenen Einstellungsmöglichkeiten.
- EXIT: Hiermit gelangen Sie zur letzten Ebene des OSD-Menus oder Sie verlassen das Menu.
- / / / : Hiermit navigieren Sie in entsprechiche Richtungen.
- OK: Drücken Sie diese Taste, um den ausgewählten Befehl im Menübildschirm aussufahren.
- ZURÜCK: Wechseln Sie hiermit zum zuletzt angesehenen Programm zurück.
- HOME/SOURCE: Wahlen Sie hiermit die Signalquelle und stellen Sie eine Verbindung zu entsprechenden Internetdiensten her.
- +Hiermit erhöhen oder verringn Sie die Lautstärke.
- APPS: Drücken Sie diese Taste, zum zur APP Store-Funktion zu gelangen.
- P : Hiermit wahlen Sie Kanäle in ansteigender oder absteigender Reihenfolge aus.
- FARBTASTEN: Rote/Grüne/Gelbe/Blaue Taste zur Navigation.
- LIST: Mit dieser Taste öffnen Sie die Kanalliste. Drücken Sie erneut zum Ausblenden der List.
- 3D: No-Funktion.
- FAV: Hiermit schalten Sie die Listebeverzugter Programme ein/aus.
HINWEIS:
- Alle Abbildungen in dieser Anleitung sind lediglich Beisielbilder, die der Veranschaulichung dienen; das tatsächliche Produkt kann sich von den Bildern unterschieden.
Die hier nicht erwähnten Tasten werden nicht verwendet.
Basismerkmale
KURZANLEITUNG
Erstmaliges Setup
- Wenn Sie das TV-Gerät das erste Mal einschalten, wird die Installationsanleitung auf dem Bildschirm angezeigt Gehen Sie folgendermaßen vor, um die Installation, einschließlich der Kanalsuche, durchzuführen.

2. Auswahl einer Sprache
- Drücken Sie die Tasten / / / , um eine Sprache auszuwahlen; drücken Sie anschließend auf OK.

3. Auswahl einer Umgebung
Drucken Sie die Tasten / / / , um eine Umgebung auszuwahlen; drucken Sie anschließend auf OK. Wenn Sie „Store" auswahlen, erscheint das „Yes/No"-Fenster.

4. Auswahl einer Antenne
- Drücken Sie die Tasten / / / , um eine Antenne auszuwahlen; drücken Sie anschließend auf OK.

Basismerkmale
- Auswahl eines Landes Drücken Sie die Tasten / / / , um ein Land auszuwahlen; drücken Sie anschließend auf OK.


- Das TV-Gerät beginnt mit der automatischen Einstellung.

HINWEIS:
- Sollte das TV-Gerät keinen Kanal empfangen, prufen Sieitte die Antenne oder das ausgewählte Land. Versuchen Sie anschließend die automatische Suche erneut.
- Sollte das TV-Gerät nur bestimmte Kanäle empfangen, bedeutet dies, dass der Antennenempfang nicht gut genug ist und der Antennendienst nicht empfehlenswert ist.
- Da diesen TV-Gerät mit dem Linux-Betriebssystem Funktioniert, kann es vorkommen, dass es bei der Bedienung automatisch neu gestartet wird oder dass die Fernbedienung nicht Funktioniert. Soltte die Fernbedienung nicht reagieren, schalten Sie das TV-Gerätitte aus und anschließend wieder ein.
Basismerkmale
Ein- und Ausschalten des TV-Geräts
TV-Gerä einschalten
Schlieben Sie das Netzkabel an; sollte das TV-Gerät einen Hauptschalter besitzen, stellen Sie diesen erst auf Ein. Drücken Sie die Taste auf der Fernbedienung, um das TV-Gerät aus dem Standby-Modus Heraus einszuschalten.
TV-Gerät ausschalten
Drücken Sie die Taste auf der Fernbedienung, um den Standby-Modus zu aktivieren.
Das TV-Gerät sollte nicht über einen langen Zeitraum im Standby-Modus belassen werden. Am besten sollen den Netz- und Antennenverbindungen getrennt werden. Sollte es zu einem Stromausfall kommt, ist es empfehlenswert, den Netzstecker aus der Steckdose zuziehen.
Kein Signal
Wenn es kein Eingangssignal gibt, erscheint auf dem Bildschirm ein Kein Signal-Fenster. Wenn im DTV/ATV-Modus für fünf Minuten kein Signal empfangen wird, wird das TV-Gerät automatisch ausgeschelt. Im PC-RGB-Modus wird das TV-Gerät automatisch nach einer Minute ohne Eingangssignale ausgeschelt. Bei Anschluss eines VGA-Kabels wird das TV-Gerät automatisch eingeschelt.
Programmausbahl
■ Verwendung von CH + / CH - am TV-Gerät oder P auf der Fernbedienung.
Drücken Sie auf CH + / für eine höhere Kanalnummer.
Drucken Sie auf CH + / V für eine niedrigere Kanalnummer.
■ Verwendung der digitalen Tasten 0 - 9.
Wahlen Sie einen Kanal durch Drucken von 0 bis 9. (im DTV-, ATV-Modus)
■ Beispiel
Auswahl eines Kanals mit einer Ziffer (z. B Kanal 5): Drucken Sie 5.
Auswahl eines Kanals mit zwei Ziffern (z. B Kanal 20): Drücken kurz hintereinander 2 und 0.
Lautstärkenregelung
- Drücken Sie VOL+/VOL- am TV-Gerät oder + - auf der Fernbedienung, um die Lautstärke zu regeln.
■ Wenn Sie den Ton deaktivieren möchten, drücken Sie. - Wenn Sie den Ton wieder aktivieren möchten, drücken Sie erneut oder erhöhen Sie die Lautstärke.
Wechseln der Eingangssquelle
- Wahlen Sie die Eingangsquelle durch Drücken von HOME/SOURCE; das Smart Home-Fenster wird geöffnet.
- Drücken Sie die Tasten / , um der Reihe nach durch die Eingangsquellen zu gehen; drücken Sie OK, um die Auswahl zu bestätigten.
Bedienung der Menu
Menünavigation
Führer Sie vor der Verwendung des TV-Geräts die folgenden Schritte aus, um die Navigation des Menü zu verstehen und entsprechiche Funktionen auswahlen und einstellen zu konnen. Der Schritt zum Zugriff auf das Menu kann sich vom jeweils ausgewählten Menu unterscheiden.
- Drücken Sie auf MENU, um das Hauptmenu anzuzeigen.

- Drücken Sie auf / / / , um der Reihe nach durch das Hauptmenü zu gehen. Drücken Sie OK, um zum Untermenü zu wechseln.
- Drücken Sie die Tasten / , um ein untergeordnetes Element auszuwahlen; drücken Sie anschließend auf OK.
- Drücken Sie die Tasten / / / , um einen gewünschten Wert auszuwahlen. Die Einstellung im OSD-MENU kann sich vom jeweils ausgewählten Menu unterscheiden.
- Drücken Sie auf MENU, um zum vorherigen Menu zusückzuwechseln.
- Drücken Sie auf EXIT, um das Menu zu schreiben.
HINWEIS:
- Wenn ein Element im MENU grau angezeigt wird, bedeutet dies, dass es nicht verfügbar ist und nicht eingestellt werden kann.
- Tasten am TV-Gerät haben die gleiche Funktion wie die entsprechenden Tasten auf der Fernbedienung. Sollte die Fernbedienung nicht verfügbar sein oder nicht funktionieren, können Sie die Tasten am TV-Gerät verwenden, um Menü auszuwahlen. In dieser Anleitung wird in erster Linie die Bedienung der Fernbedienung beschrieben.
- Abhängig von den verwendeten Modi oder Signalquellen konnen bestimmte Elemente in den Menü ausgebrendet sein.
Bedienung der Menu
Konfiguration des Bild-Menus
■ Bildeinstellung: Sie können die Art des Bildes auswahlen, das ihre Anforderungen am besten erfüllt. Der Hersteller empfeht die Einstellung Home.
■ Benutzerdefiniert: Sie können hiermit Kontrast, Helligkeit, Sattigung, Scharfe und Beleuchtung einstellen.
- Farbtemperatur: Hiermit konnen Sie die Farbtemperatur des Bildes einstellen.
■ Bildformat: Sie können die Höhe des Bildes auswahlen, die ihre Anforderungen am besten erfüllt.
■ Bildschirm (im PC-Modus):
Automatische Abstimmung: Passen Sie das Bild automatisch an. Horizontal Pos.: Zentrieren Sie das Bild, indem Sie es nach links oder rechts verschieben.
Vertikale Pos.: Zentrieren Sie das Bild, indem Sie es nach oben oder unter verschieben.
Phase: Stellen Sie dies ein, wenn der Kontrast für Schrift gering ist oder wenn das Bild flimmert.
Grosse: Passen Sie die Bildschirmgroße an.

PC -Modus (im PC-Modus): Schalten Sie die PC-Modus-Funktion Ein oder Aus.
- NR: Hiermit konnen Sie Störpixel auf dem Bildschirm reduzieren, ohne die Videoqualität zu vermindern.
- Dynamischer Kontrast: Stellen Sie hiermit den Kontrast optimal entsprechend der Helligkeit des Bildes ein.
- OverScan (im DTV-Modus): Hiermit konnen Sie die Reproduktionsrate des Bildes anpassen.
■ Bewegungsausgleich: Stellen Sie die Bewegungskompensation auf Off, Low, Middle, oder High. Hiermit wird Verschwinnen und Flattern in Szenen mit schneller Bewegung verringgert.
■ Bildeinstellung: Setzen Sie hiermit alle Bildeinstellungen auf die Standardwerte zurück.
Konfiguration des Ton-Menüs
■ Audiotyp: Sie können hiermit einen Audiotyp auswahlen, der ihren Anforderungen entspricht. Höhen und Tiefen konnen angepasst werden, wenn der Audiotyp User ausgewähl ist.
Balance: Stellen Sie hiermit die Klangbalance der Laufsprecher auf die bevorzugten Werte ein.
autom. Lautstärkenlimiter (Auto Volume Level): AVL bleibt automatisch auf derselben Lautstärke, wenn Sie Programme wechseln.
Da jeder Sendestation eigene Signalvoraussetzungen besitzt, muss die Lautstärke je des Mal angepasst werden, wenn der Kanal gewechselt wird. Diese Funktion bietet dem Anwender gleichmäßige Lautstärken durch automatische Anpassung fur≦edes Programm.

Bedienung der Menu
SRS: Wechseln Sie hiermit die SRS-Funktion.
SRS TruSurround HD^TM erzeugt einen realitätsnahlen, reichhaltigen Raumklang aus zwei Lautsprechern, komplett mit Tiefen, Details im hohen Frequenzbereich und klarem Dialog.
SPDIF-Modus: Hiermit konnen Sie den SPDIF-Modus auswahlen. SPDIF (Sony Philips Digital Interface) bietet eine digitale Audioausgabe an Lautsprecher und entsprechiedliche digitale Geräte, z. B. A/V-Empfänger und Heimtheater mit reduzierter Störung und Verzerrung.
■ AD-Schalter (im DTV-Modus) *nur in bestimmten Ländern verfügbar, hauptsächlich in Nordamerika und Europa. Dies ist eine Unterstützungende Audiofunktion, die eine zusätzliche Audiospur für Sehbehinderte bietet. Diese Funktion sorgt für den Audiostrom für AD (Audiobeschreibung), wenn dieser zusammen mit dem Hauptaudio vom Sender gesendet wird. Sie können die Audiobeschreibung auf Ein und Aus stellen und die Lautstärke regeln.
AD-Lautstärke:
Wenn der AD Switch auf Ein gestellt ist, kann die AD-Lautstärke angepasst werden.
■ Audio-Verzögerung: Korrigieren Sie hiermit Probleme mit der
Audio-Video-Synchronisierung beim Anschauen von DTV und beim Horen von digitalem Audio mit einem externen Gerät, z. B. einem Audioempfänger (0 ms ~ 250 ms).
- Ton zusücksetzen: Setzen Sie hiermit alle Klangeinstellungen auf die Standardwerte zurück.
Konfiguration des Sender-Menüs
Antennentyp: Wahlen Sie hiermit eine Antennenquelle aus.
Wenn TV-Signale über Antenne empfangen werden.
Automatischer Sendersuchlauf
Drücken Sie OK, um zum Auto Tuning-Menu zu wechseln.
-Klangtyp: Drücken Sie / , um den Tuning-Typ auszuwahlen.
- Land: Drücken Sie / , um das Land auszuwahlen.
- Suchmodus: Wahlen Sie kostenlose, alle oder verschlüsselte Kanäle zum Speichern aus.
-Servicotyp: Wahlen Sie den Kanaltyp zum Speichern aus.
-Suche: Drücken Sie OK/▶, um mit der automatischen Suehe zu beginnen.
DTV manueller Sendersuchlauf
Manuelles Speichern digitaler Kanäle.
- Drucken Sie / , um Kanal auszuwahlen.
- Drücken Sie / , um Search auszuwahlen, und drücken Sie OK, um mit dem Kanaltuning zu beginnen. Werde ein Kanal gefunden, endet die Suche und der Kanal wird mit der aktuellen Kanalnummer gespeichert. Drücken Sie auf EXIT, um den Vorgang zu beenden.
| Sender | |
| Antennentyp | Antenne << |
| Satelleneinstellungen | |
| Automatischer Sendersuchlauf | > |
| DTV manueller Sendersuchlauf | > |
| ATV manueller Sendersuchlauf | > |
| Programme bearbeiten | > |
| CI Information | > |
| Einstellen OK Ok | BACK Zurück |
Bedienung der Menu
Wenn TV-Signale über Kabel empfangen werden.
Automatischer Sendersuchlauf
Drucken Sie OK, um das Auto Tuning zu starten.
-Klangtyp: Drücken Sie / , um den Tuning-Typ auszuwahlen.
- Land: Drücken Sie / , um das Land auszuwahlen.
-Suchmodus: Wahlen Sie kostenlose, alle oder verschlüsselte Kanäle zum Speichern aus.
-Servicotyp: Wahlen Sie den Kanaltyp zum Speichern aus.
-Sucheigenschaft: Sucht nach allen aktiven gesendeten Kanälen und speichert sie im TV-Gerät.
Wenn Sie Full auswahlen,ucht das Auto Tuning in allen Frenzen, um alle verfügbaren Kanäle zu finden. Wenn Sie Network auswahlen,ucht das Auto Tuning in allen angegebenen Frenzen, um alle verfügbaren Kanäle zu finden.
- Symbol: Zeigt verfügbare Symbolraten an.
(Symbol: Geschwindigkeit, mit der ein Gerät, z. B. ein Modem, Symbole zu einem Kanal sendet).
- Modulation: Zeigt unterscheidliche Modulationwerte an.(Modulation: (Laden von Audio- oder Videosignalen auf auf Träger.)
-Suche: Wenn Sie mit der Einstellung zufrieden sind, drücken Sie OK/▶. Das TV-Gerät speichert dann alle verfügbaren Kanäle.
DTV manueller Sendersuchlauf
Frequency, Symbol, Modulation, Scan Mode und Service Type werden benötigt, um ein Programm richtig im DVB-Kabelmodus hinzuzufügen. Erkundigen Sie sichitte beim Kabeldienstanbieter über die richtigen WerteNachdem die Einstellung vorgenommen wurde, wahrenSie Search und drücken Sie OK, um mit dem Kanaltuning zu beginnen.
| Sender | ||
| Antennentyp | Kabel | ×× |
| Satelliteneinstellungen | ||
| Automatischer Sendersuchlauf | > | |
| DTV manueller Sendersuchlauf | > | |
| ATV manueller Sendersuchlauf | > | |
| Programme bearbeiten | > | |
| CI Information | > | |
| Einstellen | OK Ok | BACK Zurück |
| Automatischer Sendersuchlauf | ||
| Klangtyp | DTV+ATV | > |
| Land | Deutschland | > |
| Suchmodus | Alle | > |
| Servicotyp | DTV+Radio | > |
| Sucheigenschaft | < Netzwerk | > |
| Symbol | Automatisch | > |
| Modulation | <Automatisch | > |
| Einstellen | OK Ok | BACK Zürück |
Bedienung der Menu
Wenn TV-Signale über Satellit empfangen werden.
Satelliteneinstellungen
-Satellite/Transponder: Drucken Sie / , um den Satelliten/Transponder auszuwahlen; drucken Sie anschließlich OK. Drucken Sie / , um den Satelliten/Transponder in der Liste auszuwahlen. Löschen: Drucken Sie die rote Taste, um den aktuellen Satelliten/Transponder zulöschen.
Bearbeiten: Drücken Sie die grüneTaste, um den aktuellen Satellten/Transponder zubearbeiten.
Hinzufügen: Drücken Sie die gelbe Taste, um einen neuen Satelliten/Transponder hinzuzufügen.
-LNB Stromversorgung: Wahlen Sie die Art des Netzeils für LBN aus.
-LNB Typ: Wahlen Sie den LBN-Typ.
Drücken Sie OK, um zum Untermenü zu wechseln. Elemente können angepasst werden, wenn der LNB-Typ auf User Mode gestellt ist.
- 22kHz Tone: 22KHz SWITCH. Wahlen Sie, abhängig vom LNB-Typ, 22KHz.
-Ton-Burst: Sie können einen von zwei Satelliten auswahlen. Dies wird verwendet, um das geeignete Gerät auszuwahlen. - DiSEqC1.0: Sie können einen von vier Satelliten auswahlen.Dies wird verwendet, um das geeignete Gerät auszuwahlen.
- DiSEqC1.1: Sie können einen von 16 Satelliten auswahlen.Dies wird verwendet, um das geeignete Gerät auszuwahlen.
- Motor: Stellt den positionierten Typ zwischen DiSEqC1.2 und USALS ein.
Wenn Motor auf DiSEqC1.2 oder USALS eingestellt ist:
Set Limit: Drucken Sie die grüne Taste, um die Limits auf die Reichweite der Satellitantennenrotation einzustellen.
Move Continue: Rotiert die Antenne, bis die Rotation vollendet oder manuell gestopt wurde.


Move Step: Rotiert die Antenne entsprechend dem Schrittewert. Ermöglicht der Antenne, feine Anpassungen vorzunehmen.
Set West Limit: Stellt den Wert für das westliche Limit ein.
Set East Limit: Stellt den Wert für das östliche Limit ein.
Goto Reference: Steuert die Antenne zur Null-Position.
Disable Limit: Löscht die Limit-Einstellungen. Ermöglicht der Antenne, den vollen Kreis zu beschreiben.
Östliche und westliche Limits werden verworfen.
Set position: Drücken Sie die rote Taste, um die Position festzulegen.
Move Auto: Rotiert die Antenne automatisch.
Bedienung der Menu
Move Continue: Rotiert die Antenne, bis die Rotation vollendet oder manuell gestoppt wurde.
Move Step: Rotiert die Antenne entsprechend dem Schrittewert. Ermöglicht der Antenne, feinere Anpassungen vorzunehmen.
Store Position: Speichert die aktuelle Position als ausgewähltes Positionslimt.
Goto Position: Rotiert die Antenne bis zur gespeicherten Satellitenposition.
Goto Reference: Steuert die Antenne zur Null-Position.
GotoX: Bewegt die Antenne zum durch Set Location festgelegten Ort.
Wenn Motor auf USALS eingestellt ist:
Set Location: Drucken Sie die gelbe Taste, um den Ort festzulegen.
Location: Longitude Direction, Longitude Angle, Latitude Direction und Latitude Angle können eingestellt werden, wenn Location auf Manual eingestellt ist.
Longitude Direction: Stellt die Längengradrichtung fur den Standort ein.
Longitude Angle: Stellt den Längengradwinkel für den Standort ein.
Latitude Direction: Stellt die Breitengradrichtung fur den Standort ein.
Latitude Angle: Stellt den Breitengradwinkel für den Standort ein.
-Suchen: Nachdem die Einstellung vorgenommen wurde, wahlen Sie Go Search und drücken Sie OK, um mit dem Auto-Tuning zu beginnen.
-Zurücksetzen: Die Einstellung des Satelliten-Setup's wird auf die Standardwerte zurückgesetzt. Nach dem Zurücksetzen aller Einstellungen konnen Sie das Land während des Auto-Tunings zurücksetzen.
- Der Satelliten-TV-Anbieter kann während des Betriebs den Transponder anpassen; darauf konnen sich die Programmparameter u. U. etwa ändern. Anwender, die diesen Gerät zum Empfang von Satellitenprogrammen verwenden, sollen bezüglich Informationen regelmäßig auf folgender Website einsehen: http://www.lyngsat.com/. Fügen Sie neue Transponderparameteritte rechtzeitig im Gerät hinzu, damit der Empfang von Programmen nicht beeinträchtigt wird.
Automatischer Sendersuchlauf: Drücken Sie OK, um das Auto-Tuning zu starten.
- Wahlen Sie das Land für Kanäle.
- Drücken Sie / , um Search auszuwahlen, drücken Sie / , um Quick Scan oder Blind Scan auszuwahlen, und drücken Sie anschließend OK, um mit dem Kanal-Tuning zu beginnen.
- Das TV-Gerät speichert dann alle verfügbaren Kanäle.
DTV manueller Sendersuchlauf
Manuelles Speichern von DVBS2-Kanalen.
Drücken Sie / , um ein untergeordnetes Element auszuwahlen.
Drücken Sie / , um den gewünschten Wert auszuwahlen.
Drücken Sie / , um Search auszuwahlen, und drücken Sie OK, um mit dem Kanal-Tuning zu beginnen.
Drücken Sie EXIT, um den Vorgang zu beenden.

Bedienung der Menu
ATV manueller Sendersuchlauf
Manuelles Speichern von ATV-Kanälen.
Drucken Sie / , um ein untergeordnetes Element auszuwahlen.
Drucken Sie / , um den gewünschten Wert auszuwahlen.
Drücken Sie / , um Search auszuwahlen, und drücken Sie / , um oben oder unter nach dem Signal zuuchen. Das System stoppt, nachdem ein Kanal gefunden wurde.
Drucken Sie EXIT, um den Vorgang zu beenden.
Drucken Sie / , um Save auszuwahlen; drucken Sie OK zum Speichern.
Programme bearbeiten
- Drücken Sie / , um Elemente auszuwahlen.
- Löschen: Drücken Sie die rote Taste, um den Kanal zulöschen.
Sortieren: Drucken Sie die grüne Taste, um den Kanal zu sortieren.
Verschieben: Drucken Sie die gelbe Taste, um den Kanal zu verschieben.
Uberspringen: Drucken Sie die blaue Taste, um den Kanal zu uberspringen.
Favorit: Drucken Sie die FAV-Taste, um den Kanal als Favoriten einzustellen.
■ CI Information (im DTV-Modus): Diese Funktion ermittelicht Ihnen, bestimmte verschlüsselte (kostenpflichtige) Programme anzuschauen. Setzen Sie die CI-Karte in den CI-Einschub ein (achten Sie darauf auf den Pfeil auf der CI-Karte).
HINWEIS:
- Die Funktion kann nur genutzt werden, wenn der Cl-Einschub zur Verfügung stehen.
- Dieses OSD-Menü dient nur zur Veranschaulichung; die Menüoptionen und das Bildschirmformat hangen vom Anbieter der kostenpflichtigen Dienste ab.
- Wenn Sie den CI (Common Interface)-Menübildschirm ändern möchten, wenden Sie sichitte an ihren Handler.
- Setzen Sieitte die Cl-Karte nicht ein undziehen Sie sie nicht hereaus, wenn das Gerat eingeschaltet ist.
- Setzen Sie die Cl-Karteitte nicht ständig ein bzw. behmen sie ständig hereaus, um das TV-Gerät und die Cl-Karte nicht zu beschädigen.
Bedienen Sie das TV-Gerätitte nicht während der Initialisierung der CI-Karte.
■ Signalinformation
Zeigt Signalinformationen an.
Bedienung der Menu
Konfiguration des Setting-Menüs
■ Sprache: Wahlen Sie die bevorzugte Sprache für das Bildschirmenu aus.
■ Audiosprachen: Wahlen Sie eine bevorzugte Audiosprache aus. (Verfügbar für digitale Kanäle, wenn mehrere Audiosprachen gesendet werden.)
Untertitelsprachen: Wahlen Sie eine bevorzugte Untertitelsprache aus. (Verfügbar für digitale Kanäle, wenn mehrere Untertitelsprachen gesendet werden.)
- Untertitel: Schalten Sie die Untertitelfunktion auf Ein oder Aus.
■ Vermindertes Hörvermögen: Wenn Subtitle auf Ein gestellt ist, kann die Funktion Hearing Impaired angepasst werden. Wenn Hearing Impaired auf Ein gestellt ist, werden auf dem TV-Bildschirm Informationen für Hörgeschädigte angezeigt. Wenn Hearing Impaired auf Aus gestellt ist, werden die Informationen ausgeblendet.
Land: Zeigt das aktuelle Land an.
HBBTV bereit: Schalten Sie die HBBTV Enable-Funktion auf Ein oder Aus. (Beim ersten Mal stehen diese Funktion u. U. nicht zur Verfügung; beim zweiten Mal kann sie aber Funktionieren.)
- Umgebung auswahlen: Wahlen Sie als Umgebung Home oder Store aus. Store-Modus ist die optimale Einstellung für eine Geschäftsumgebung.
- Energiesparmodus: Wenn Environment Select auf Home gestellt ist, kann Energy Saving angepasst werden. Schalten Sie die Energy Saving-Funktion auf Ein oder Aus.
■ Gesundheitshinweis: Schalten Sie die Health Remind-Funktion auf Ein oder Aus. Wenn Health Remind auf Ein gestellt ist, erinnert Sie ein Bild daran, dass Sie nach zwei Stunden eine Pause einlagen sollenn.
HDMI_CEC: Drücken Sie OK/▶, um zum Untermenü zu wechseln. Das HDMI_CEC-System kann nur mit Geräten genutzt werden, die über das HDMI_CEC-Feature


verfügen. Sie müssen ein HDMI_CEC-Gerät mit einem HDMI-Kabel anschließen.
Bestimmte HDMI-Kabel Unterstützung HDMI_CEC-Funktionen u. U. nicht.
-Geräteliste: Zeigt Geräte an, die mit dem TV-Gerät verbunden sind.
-HDMI_CEC: Schalten Sie die HDMI_CEC-Funktion auf Ein oder Aus.
- Autom. Standby: Schalten Sie die Auto Standby-Funktion auf Ein oder Aus.
-ARC: Schalten Sie die ARC-Funktion auf Ein oder Aus.
Poweranzeige: Schalten Sie die Power Indicator-Funktion auf Ein oder Aus.
■ Power an Anzeige: Schalten Sie die Power On Logo-Funktion auf Ein oder Aus.
■ Werkseinstellung: Setzen Sie die Systemeinstellungen auf die Standardwerte zurück. Nach der Zurücksetzung wird der Standby-Modus des TV-Geräts aktiviert.
Bedienung der Menu
Verwendung der PVR-Funktion
Wie verwendet man die PVR-Funktion?
Vorbereitung
- Setzen Sie einen USB-Stick oder oder eine USB-Festplatte in den USB-Einschub auf der linken Seite des TV-Geräts.
HINWEIS:
- Der USB-Datenträger muss über eine Speicherkapazität von mindestens 512MB verfügen.
- Der USB-Datentrager muss die Hochgeschwindigkeitsspezifikation USB 2.0 unterstützen.
- Drücken Sie HOME/SOURCE, um das Smart Home-MENU anzuzeigen. Drücken Sie / , um die DTV-Quelle auszuwahlen; die PVR-Funktion kann nur im DTV-Modus verwendet werden.
- Drücken Sie anschließend MENU auf der Fernbedienung, um das Hauptmenu aufzurufen. Drücken Sie / / / , um das Setting-MENU zu markieren und drücken Sie OK.
- Drücken Sie / , um PVR File System (im DTV-Modus) zu markieren, und drücken Sie OK, um zum Untermenü zu gelangen.
Einstellung
- Speichermedium wahlen: Wahlen Sie einen
Datenträger zur Verwendung von PVR.
HINWEIS:
- Bestimmte Modelle besitzen zwei USB-Eingänge, so dass zwei USB-Geräte angeschlossen und genutzt werden können.
-Zeitverschreibung Gröbe: Sie können die
Speichergroße für die Time Shift-Funktion auswahlen.
-Format Start: Formatieren Sie den USB-Datenträger. HINWEIS:
- Sichern Sieitte vor der Formatierung alle wichtigen Dateien. - Trennen Sie das Gerät während der Formatierung nicht ab und schalten Sie es nicht ab. Sollte sich das USB-Gerät nicht formatieren lessen ode nicht vom System geprüft werden konnen, bedeutet dies, dass das Gerät mit dem TV-Gerät nicht kompatibe oder es beschädigt ist. Je größer das USB-Gerät ist,esto länger dauert die Formatierung; warten Sieitte, bis die Formatierung abgeschlossen ist.
-Geschwindigkeitstest: Drücken Sie OK/▶, um die Geschwindigkeit des Speichergeräts zu testen.
PVR-Dateisystem
Speichermedium wahlen
Zeitverschreibung 512M X
Format Start
Geschwindigkeitstest

Einstellen

BACK Zurück
Bedienung der Menu
Aufnahme
Es gibt zwei Arten von Aufnahmen: Instant Recording und Schedule Recording. Mit Instant Recording können Sie aktuelle TV-Programme aufnehmen, während Schedule Recording zu einer festgelegten Zeit beginnen und TV-Programme am Tag, zur Uhrzeit und in der Länge ihrer Wahl aufnehmen kann.
- Instant Recording
- Wahlen Sie den gewünschten Kanal und drücken Sie anschließend um mit der Aufnahme zu beginnen. Wenn das TV-Gerät mit der Aufnahme beginnt, wird ein Menu angezeigt.
- Drücken Sie , um das Aufnahmemonü anzuzeigen/auszublenden. Drücken Sie / , um Wiedergabe, Stopp, Pause, Schnell darüber, Schnell vor und Startzeit einstellen auszuwahlen.
- Die Aufnahme nauert solange, bis Sie (Stopp) drücken oder der verfügbare Speicher aufgebraucht ist.

Schedule Recording
Das Gerät kann eine programmierte Aufnahme durchführren, wenn es eingeschaltet ist oder sich im Standby-Modus befindet.
- Drücken Sie EPG, um das EPG-Menu aufzurufen.
- Drücken Sie anschließend die rote Taste, um das Untermenü Timer Recording aufzurufen In diesen Menu können Sie die Zeit und den Canal einstellen.
- Drücken Sie / , um entsprechiche Einstellungen zu markieren, und anschließend / , um die jeweilige Einstellung zu ändern. Nachdem Sie die Einstellungen angepasst haben, drücken Sie OK, um die programmierte Aufnahme zu speichern.
HINWEIS:
- Sie können mehrere programmierte Aufnahmen einstellen. Drücken Sie dazu die gelbe Taste im EPG-Modus, um die gesamte Beste anzuzeigen. Verschiedene Programmierungen dürfen nicht überlappen und es muss einen Zeitabstand von mindestens einer Minute zwischen zwei programmierten Aufnahmen liegen.
- Wenn die Aufnahme im Standby-Modus beginnt, ändert sich die Farbe der Anzeigen auf der Vorderseite des TV-Geräts und es wird kein Bild angezeigt und kein Ton ausgegeben. Sie können drucken, um den Bildschirm zu aktivieren.
Bedienung der Menu
- Abspielen aufgenommener Programme Option1:
Nach Beendigung einer Aufnahme, drücken Sie TOOLS auf der Fernbedienung und anschließend / , um die Aufnahmeliste auszuwahlen.
- Drücken Sie die / , um die aufgenommene Daten auszuwahlen; drücken Sie anschließend auf OK, um die Daten wiederzugegeben.
- Drücken Sie die rote Taste, um Dateien zu Löschen, die Sie nicht länger benöttigen.
- Drücken Sie die gelbe Taste, um die nachste Seite oben oder unten auszuwahlen.
- Drücken Sie die blaue Taste, um die Beste nach entsprechenden Typen zu wechseln.
- Drücken Sie EXIT, um das Menu zu schreiben.
Option 2:
Sie können aufgenommene Programme auch im USB-Modus wiedergeben.
- Drücken Sie HOME/SOURCE, um das Smart Home-MENU anzuzeigen.
- Drucken Sie / , um Movie auszuwahlen; drucken Sie anschließend OK.
- Verwenden Sie die Pfeiltasten und OK, um zum gewünschten Dateiträger zu gelangen.
- Verwenden Sie die Pfeiltasten und OK, um den Ordner zu öffnen.
- Drücken Sie auf MENU, um das Einstellungen-MENU anzuzeigen.
- Drücken Sie, um die Wiedergabe der Datei zu beenden.
- Drücken Sie EXIT, um zum USB-Hauptmenu zurückzuwechseln.
Zeitversetzungsfunktion
Mit dieser Funktion konnen Sie mit dem TV-Gerät automatisch Live-TV aufnehmen und die Aufnahme zu einem späteren Zeitpunkt wiedergeben. Wenn die Zeitversetzungsfunktion aktiviert ist, konnen Sie das angesehene Programm zurückspulen, ohne etwas von der Live-Sendung zu verpassen.
Drücken Sie TOOLS auf der Fernbedienung und anschließend / , um Time Shift auszuwahlen und die Funktion zu aktivieren. Das TV-Gerät speichert den Canal von dem Zeitpunkt an, an dem Sie mit der Aufnahme beginnen möchten.

Wenn ein für die Aufnahme verwendetes USB-Gerät abgetrennt wird, werden die gespeicherten Zeitversetzungsdateien automatisch gelöscht.
Bedienung der Menu
HbbTV für Deutschland
Mit HbbTV haben Sie Zugang zu den Diensten von Unterhaltung Anbietern, Online Lieferanten und Konsumenten Elektronik Herstellern.
- Wenn der Bildschirm (mit dem roten Knopf, usw.) anziegt, dass das HbbTV zur Vergebung stehen, drücken Sie auf den roten Knopf, um in das HbbTV Menu einzusteigen.
- Benutzen Sie das TV den Hinweisen entsprechend.
ANMERKUNG:
- Dieser Dienst kann auch in anderen Ländernzugänglich sein.
- Einige Sender liefern kein HbbTV.
- Eine HbbTV Anwendung kann für kurze Zeit auch nicht Funktionieren, dies hangt von den Umständen des Senders oder des Dienstleisters ab.
- Anwendungen stehen auf HbbTV nur zur Verfügung, wenn das TV Netzwerk an ein externes Netz angeschlossen ist. Die Anwendung kann durch die Netzwerk Bedingungen gestört werden.
Bedienung der Menu
Verwendung der Netzwerkfungtion
Sie können das TV-Gerät so einrichten, dass es über LAN mit einer verdrahteten oder drahtlosen Verbindung auf das Internet zugreifen kann.
Verbindung mit einem verdrahteten Netzwerk
Verbinden Sie das TV-Gerät mit Ihrlem LAN, indem Sie den LAN-Anschluss am TV-Gerät über ein LAN-Kabel mit einem externen Modem verbinden.

Sie können das TV-Gerät auch an das LAN anschlieben, indem Sie den LAN-Anschluss auf der Rückseite des Geräts mit einem IP-Teiler verbinden, der mit einem externen Modem verbunden ist.

Sie können möglicherweise das TV-Gerät auch mit dem LAN verbinden, indem Sie den LAN-Anschluss am TV-Gerät direkt mit einem LAN-Kabel an den Wandanschluss anschließen. Der Wandanschluss ist in thism Fall mit einem Modem oder Router an einem anderen Ort im Haus verbunden.

LAN-Kabel
LAN-Anschluss an WandLAN-Anschlus


Bedienung der Menu
Konfiguration von verdrahteten Netzwerk
- Verbinden Sie das TV-Gerät wie im vorherigen Abschnitt beschrieben mit dem LAN.
- Schalten Sie das TV-Gerät ein, drücken Sie die MENU-Taste auf der Fernbedienung, verwenden Sie die / / / -Tasten zur Auswahl von Network und drücken Sie die OK-Taste.
- Drücken Sie / , um Network auszuwahlen, und drücken Sie / , um Wired auszuwahlen.
- Drücken Sie / , um IP Config auszuwahlen; drücken Sie anschließend OK.
-Modus: Wahlen Sie Mode, um Werte für IP, Netmask, Gateway und DNS automatisch festzulegen, oder stellen Sie die Werte manuell ein.
-IP: Die IP-Adresse des TV-Geräts.
-Netzwerkmaske: Wert der Netzmaske.
-Gateway: Adresse der Gateway.
-DNS: Adresse der DNS.
-MAC Adresse: Zeigt die Mac-Adresse an.
Setup eines verdrahteten Netzwerks
- Automatische Einrichtung (Verdrahtet)
Verwenden Sie Automatic Network Setup, wenn Sie das TV-Gerät mit einem Netzwerk verbinden, das DHCP unterstützt.
- Verbinden Sie das TV-Gerät wie im vorherigen Abschnitt beschreiben mit dem LAN.
- Schalten Sie das TV-Gerät ein, drücken Sie die MENU-Taste auf der Fernbedienung, verwenden Sie die / / / -Tasten zur Auswahl von Network und drücken Sie die OK-Taste.
- Drücken Sie / , um IP Config auszuwahlen; drücken Sie anschließend OK.
- Stellen Sie Mode auf Auto.
- Die Internetwerte werden automatisch abgerufen und eingebehen.
- Wahlen Sie Confirm und drücken Sie OK, um die Internetverbindung herzustellen.
- Sollte die Netzwerkfungtion die Netzwerkverbindungswerte nicht automatisch abrufen können, sehen Sieitte die Vorgehensweise unter Manuell.


Bedienung der Menu
- Manuelle Einrichtung (Verdrahtet)
Verwenden Sie das manuelle Netzwerk-Setup, wenn Sie das TV-Gerät mit einem Netzwerk verbinden, für das eine staticiche IP-Adresse bestehtigt wird.
- Folgen Sie den Schritten 1 bis 3 unter „Automatische Einrichtung".
- Stellen Sie Mode auf Manual.
- Drücken Sie / , um IP zu markieren; drücken Sie anschließend OK.
- Drücken Sie / , um das Feld zu markieren, das Sie ändern möchten; geben Sie anschließend die IP-Adresse mit den Zifferntasten ein. Drücken Sie MENU/▲/▼, um zurückzuwechseln.
- Drücken Sie / , um Netmask, Gateway und DNS zu markieren, und bearbeiten Sie die Werte wie die IP-Adresse.
- Wenn Sie damit fertig sind, wahren Sie Confirm und drücken Sie OK, um die Internetverbindung herzustellen.
HINWEIS:
Die Werte für die Adressenfelder IP, Netmask, Gateway und DNS müssen zwischen 0 und 255 liegen.
- Wenn Sie die IP-Adresse manuell einstehen, * dürfen Sie die gleiche Adresse nicht für ein anderes Gerät verwenden. Die IP-Adresse sollte eine private Adresse sein.
Tipps fur die Netzwerkverbindung:
- Verwenden Sie für these TV-Gerät ein standardmäßiges LAN-Kabel. Cat5 oder better, mit einem RJ45-Stecker.
- Wenn Sie ein dynamisches Netzwerk besitzen, sollen Sie ein ADSL-Modem oder einen Router verwenden das/der das DHCP (Dynamic Host Configuration Protocol) unterstützen. Modems und Router, die DHCP unterstützt, stellen automatisch Werte für IP-Adresse, Netzmaske, Gateway und DNS bereit, die das TV-Gerät für den Zugriff auf das Internet besteht.
- Für bestimmte Netzwerke wird eine staticische IP-Adresse besteht. Soltte Ihr Netzwerk eine staticische IP-Adresse benötigten, müssen Sie die Werte für IP-Adresse, Netzmaske, Gateway und DNS manuell eingeben, wenn Sie die Netzwerkverbindung einrichten. Wenn Sie die richtigen Werte nicht setzen, wenden Sie sichitte an ihren Netzwerkverwalter oder den Internetdienstanbieter.
- Viele Probleme mit der Netzwerkverbindung während des Setups setzen sich beheben, indem Sie den Router oder das Modem zusückensetzen. Nachdem Sie den Player mit dem Heimnetzwerk verbunden haben, schalten Sie den Router oder das Kabelmodem Schnell aus und/oderziehen Sie das Netzkabel ab. Schalten Sie das Gerät dann wieder ein und/oder schreiben Sie das Netzkabel wieder an.
Bedienung der Menu
Verbindung mit einem Drahtlos-Netzwerk

- Wenn Sie ein Drahtlos-Netzwerk verwenden möchten, muss das TV-Gerät mit einem Drahtlos-IP-Verteiler (Splitter) verbunden sein. Unterstützung der Drahtlos-IP-Verteiler DHCP, kann das TV-Gerät eine DHCP- oder statiche IP-Adresse verwenden, um die Verbindung zum Drahtlos-Netzwerk herzustellen.
Einrichtung des drahtlosen Netzwerks
Gehen Sie folgendermaßen vor, um die Netzwerkeinstellungen in das TV-Gerät einzugeben.
- Schalten Sie das TV-Gerät ein, drücken Sie die MENU-Taste auf der Fernbedienung, verwenden Si die / / / -Tasten zur Auswahl von Network und drücken Sie die OK-Taste.
- Drücken Sie / , um Network auszuwahlen, und drücken Sie / , um Wifi auszuwahlen.
- Drücken Sie / , um Wifi Config auszuwahlen; drücken Sie anschließend OK.
-Base Station: Wahlen Sie Base Station und drücken Sie anschließend OK. Die
Netzwerkfunktion sicht dann nach verfügbaren drahtlosen Netzwerken. Anschließend wird eine Listemit verfügbaren Netzwerken angezeigt.
Drucken Sie in der Listemit Netzwerken /
um ein Netzwerk auszuwahlen; drücken Sie anschließend OK.

Bedienung der Menu
- Manuelle Wifi-Suche: Wahlen Sie Wifi Manual Search und drucken Sie OK.


SSID: Geben Sie die richtige SSID (Netzwerkname) ein.
Kennwort: Geben Sie im Kennwortfenster Ihr Kennwort ein.
Gehen Sie folgendermaßen vor, um die SSID oder das Kennwort einzugeben:
Drücken Sie OK, um die Bildschirmtastatur aufzurufen. Drücken Sie / / / , um Ziffern auszuwahlen und sich durch das Ziffernfeld zu bewegen.
Geben Sie Buchstaben und Ziffern ein und drücken Sie, um durch die Ziffern und Groß- und Kleinschrift zu wechseln.

Wenn Sie einen eingegeben Buchstaben oder eine
Ziffer löschen möchten, wahlen Sie mit / / / die Taste Del. aus. Wahlen Sie mit / / / die Taste Esc, um das Ziffernfeld zu schreiben. HINWEIS:
- In das Kennwortfeld konnen bis zu 8 Zeichen eingegeben werden.
Safe Mode: Wahlen Sie mit / die Optionen None, WEP, WPA und WPA2.
Sollte das TV-Gerät keine Verbindung zum Internet herstellen konnen:
- Das TV-Gerät ist möglicherweise nicht in der Lage, eine Internetverbindung herzustellen, da der ISP die MAC-Adresse (eine einmalige Identifizierungsummer) des PCs oder Modems registriert hat. Diese Adresse wird dann jeder Mal, wenn Sie eine Internetverbindung herstellen, authentifiziert, um unbefugten Zugriff zu verhindern. Da das TV-Gerät eine andere MAC-Adresse besitzt, kann der ISP die MAC-Adresse nicht authentifizieren und das TV-Gerät kann die Verbindung nicht herstellen.
- Um diesen Problem zu beheben, wenden Sie sichitte an den ISP (Internetdienstanbieter) und erkundigen Sie sich über die Vorgehensweise zur Verbindung anderer Geräte als einem PC (zum Beispiel einem TV-Gerät) mit dem Internet.
- Sollte der Internetdienstanbieter eine ID oder ein Kennwort für die Internetverbindung verlangen, kann das TV-Gerät möglicherweise keine Verbindung mit dem Internet herstellen.
- Die Internetverbindung kann auch aufgrund eines Firewall-Problems fehlschlagen. Solle this der Fall sein, wenden Sie sichitte an den Internetdienstanbieter.
Bedienung der Menu
Smart Home
Smart Home bietet Ihnen nutzliche und unterhaltsame Inhalte und Dienste direkt vom Internet zum TV-Gerät.
Drücken Sie HOME/SOURCE auf der Fernbedienung. Das Smart Home-Fenster wird angezeigt.
Drücken Sie die Pfeiltasten, um zu den Inhalten zu gelangen, die Sie interessieren, und drücken Sie anschließend OK.
Drücken Sie EXIT, um das Smart Home-Fenster zu schreiben.

Layout-Modus für die Home-Benutzzeroberfläche:
Auf der linken Seite des Fensters sehen Sie die Eingangsgquelle.
Auf der rechten Seite findsie App Store, Browser, Multiscreen, Movie, Music, Photo und Free Share.
Drucken Sie die Pfeiltasten, um der Reihe nach durch alle Optionen zu laufen.
- App Store
Wahlen Sie mit den Pfeiltasten App Store und drücken Sie OK. Drücken Sie APPS, um zur Hauptseite von App Store zurückzugelangen. Drücken Sie EXIT, um den Vorgang zu beenden.
App Store: Wahlen Sie auf der Hauptseite von App Store mit den Pfeiltasten APP STORE und drücken Sie OK.
Select Country: Wenn Sie das Land auswahlen, werden verfügbare Apps angezeigt.
APP STORE: APPs sind in sieben Kategorien unterteilt: Service, Games,
Entertainment, News, Sport, Music und VOD. Wahlen Sie mit den Pfeiltasten unterschiedliche Arten von Applikationen aus und drücken Sie OK, um zu anderen Applikationslisten zu gelangen. Wahlen Sie mit den Pfeiltasten das
Applikationsymbol und drucken Sie OK, um die Auswahl zu bestätigten.
Add to favourites:
- Wahlen Sie mit den Pfeiltasten den APPs-Typ aus.
- Fügen Sie mit der grünen Taste die ausgewählte Applikation den FAVOURITES hinzu.
FAVOURITES:
Zeigt ihre persönlichen Applikationen an.
Wahlen Sie in der Liste FAVOURITES mit den Pfeiltasten eine Applikation aus und drücken Sie anschließend OK. Die Applikation wird dann ausgeführrt.
Drücken Sie die rote Taste, um die ausgewählte Applikation zu Löschen.
Bedienung der Menu
SEARCH:
Wahlen Sie mit den Pfeiltasten SEARCH und drücken Sie anschließend OK. Geben Sie den Suchbegriff direkt über die Fernbedienung ein. Suchen Sie Inhalte in der Applikation oder durchschemen Sie Websites.
- Markieren Sie den gewünschten Buchstaben auf der Bildschirmtastatur.
- Wahlen Sie mit den Pfeiltasten START SEARCH und drücken Sie anschließend OK.
HOME:
Wahlen Sie mit den Pfeiltasten HOME, um zur Hauptseite von App Store zurückzugelangen.

- Browser
- Wahlen Sie mit den Pfeiltasten Browser und drücken Sie anschließend OK.
- Geben Sie die Adresse über die Tastatur ein. Wahlen Sie das Browser-Eingabefenster und drücken Sie OK, um die Tastatur auf dem Bildschirm anzuzeigen. Wahlen Sie die Buchstaben, die Sie eingeben möchten.
- Nachdem Sie sich angemeldet haben, wahlen Sie mit den Pfeiltasten die Datei aus, die Sie ansehen möchten, und drücken Sie OK.
- Drücken Sie EXIT, um den Webbrowser zu schreiben.
Verwendung des Steuerfeldes mit dem Webbrowser
Oben im Fenster des Webbrowsers sehen Sie eine Reihe von Symbolen. Mit diesen Symbolenlässt sich der Webbrowser einfach verwenden.

A. Öffnen Sie das Browser-Eingabefenster.
B. Öffnen Sie den Verlauf.
C. Öffnen Sie den Lesezeichenmanager.
D. Offnen Sie die Systemeinstellungen.
Zeigen Sie unter die vier farbigen Tasten an:
Rot: Website vergroßern.
Grün: Websites verkleinern.
Gelb: Websitesaktualisieren.
Blau: Zur Startseite zurückwechseln.
Bedienung der Menu
HINWEIS:
Die Tasten am TV-Gerät stehen nicht zur Verfügung, wenn die Netzwerkfung genutzt wird.
- Das Video wird möglicherweise nicht glatt wiedergegeben, wenn die Internetgeschwindigkeit nicht ausreicht.
- Der Webbrowser auf diesen Gerät ist ein TV-Browser. Er hat u. U. Andere Funktionen als ein PC-Browser.
- Nicht alle Webinhalte, die sich auf einem Computer anzeigen setzen, können auf dem TV-Gerät angesehen werden.
- Dieses TV-Gerät ist möglicherweise nicht in der Lage, alle Funktionen eines Computers auszuführen.
- Die angesehenen Inhalte können sich je nach Netzwerkumgebung und Verwendungsweise unterschieden.
- Dieses TV-Gerät benötigt möglicherweise etwas Zeit, bevor es gestartet ist und Inhalte wiedergeben kann.
- Wir übernehmen keine Haftung für die Inhalte von Websites.
- Nicht unterstützen Schriftarten der Inhalte von Anbietern werden nicht normal angezeigt.
- Abhängig von den Netzwerkbedingungen kann es zu langsamer Reaktionszeit und/oder zu Unterbrechungen kommt.
- Der Webbrowser unterstützen die Wiedergabe von HTML5-Video.
- Multiscreen
Multiscreen erhöglich Ihnen, die Bildschirmanzeige und das Audio eines Telefons oder Tablet in Echtzeit auf dem TV-Gerät wiederzugegeben.
- Aktivieren Sie Multiscreen auf dem TV-Gerät: Drücken Sie HOME/SOURCE auf der Fernbedienung, um zum Smart Home-Fenster zu gelangen, und wahren Sie mit den Pfeiltasten Multiscreen aus und drucken Sie OK.

HINWEIS: Das TV-Gerät benötigt ein besonderes WiFi-Dongle, um diese Funktion zu unterstützen.
- Aktivieren Sie die Screen Mirroring-Einstellungen auf dem Gerät, zu dem Sie eine Verbindung herstellen möchten, unduchen Sie nach Geräten.
HINWEIS: Einige Hersteller bezeichneten die Funktion als Wireless Display.
- Auf dem TV-Gerät werden Geräte angezeigt, mit denen Sie eine Verbindung herstellen können.
- Wahlen Sie das Gerät ChangHong-ChangHong für die Verbindung.
- In wichtigen Sekunden ist die Multiscreen-Verbindung hergestellt.
Bedienung der Menu
- Musik/ Foto/Film/Drama
So aktivieren/beenden Sie den USB-Modus
- Stellen Sie die Verbindung zu einem USB-Gerät her.
- Drücken Sie HOME/SOURCE, um das Smart Home-MENU anzuzeigen. Drücken Sie / / / , um Musik/ Foto/Film/Drama auszuwahlen; drücken Sie anschließend auf OK.
-
Drücken Sie EXIT, um zum Smart Home-Hauptmenü darüberzuwechseln. HINWEIS:
-
Besondere USB-Geräte werden möglicherweise nicht Unterstützung.
- Maximale Ladung für USB: DC5V 500mA.
- Was die Ladekapazität anbelangt, werden alle Arten von mobilen Festplatten unterszt. Mobile Festplatten mit geringer Leistung von weniger als 500mA Stromaufnahme werden empfohlen.
Unterstützte Formate
Die USB-Funktion untersutzt USB-Geräte mit USB-Speicher.
Es konnen Music-, Film- und Fotodateien wiedergegeben werden.
Unterstützte Musikformate: MP3, AAC.
Unterstützte Filmformate: AVI, VOB, DAT, MPEG-1 / MPEG-2 / MPEG-4, TS/TP.
Unterstützte Fotoformate: JPEG, BMP, PNG.
HINWEIS:
- Dokument mit besonderen Algorithmmen werden möglicherweise nicht oder nicht gut von der USB-Funktion unterszt.
- Die USB-Funktion unterstützt die oben angegebenen Formate. Sollte Ihr Format nicht unterstützt werden,ändern Sie esitte in eines der unterstützen Formate.
Bildschirmanzeige

- Wahlen Sie mit / Music, Photo oder Video aus; drücken Sie anschließend auf OK.
- Markieren Sie mit den Pfeiltasten den Ordner und drücken Sie anschließend OK.
- Markieren Sie mit den Pfeiltasten die Musik-/Foto-/Videodatei. Drücken Sie OK, um die Musik-/Foto-/Videodatei wiederzugeben.
- Drücken Sie BACK, um zum vorherigen Menu zurückzuwechseln.
- Drücken Sie EXIT, um zum USB-Hauptmenü zurückzuwechseln.
Bedienung der Menu
Musikwiedergabekonsole
- Wiedergabe/Pause: Drücken Sie OK, um zwischen Wiedergabe und Pause zu wechseln.
- FR: Drücken Sie , um Schnell zurück auszuwahlen.
- FF: Drucken Sie , um Schnell vor auszuwahlen.
- Zurück: Drücken Sie , um die vorherige Datei im selbst Verzeichnis auszuwahlen.
- Next: Drucken Sie , um die{nachste Dateim Selben Verzeichnis auszuwahlen.
- BACK: Drücken Sie BACK, um zum vorherigen Menu zurückzuwechseln.
- Settings: Um zum Einstellungenmenü für die Musikwiedergabe zu gelangen, drücken Sie MENU.
1). Wiederholungsmodus: Sie konnen „One, None oder All" auswahlen.
2).Sound: Drucken Sie OK, um zum Untermen zu wechseln.
a. Sound mode: Sie können einen Klangmodus auswahlen, der ihren Anforderungen entspricht.
b. Treble/Bass: Elemente können angepasst werden, wenn der Klangmodus auf User gestellt ist.
c. Balance: Stellen Sie hiermit die Klangbalance der Lautsprecher auf die bevorzugten Werte ein.
d. SRS: Wechseln Sie hiermit die SRS-Funktion.
Fotowiedergabekonsole
- Abspielen/Pause: Wechseln Sie zwischen Wiedergabe und Pause.
- Stopp: Beenden Sie die Wiedergabe.
- Zoom in: Vergroßern Sie das Bild.
- Zoom out: Verkleinern Sie das Bild.
- Zurück: Geben Sie die vorherige Datei im selbst Verzeichnis wieder.
- Weiter: Geben Sie die{nachste Dateim selbst Verzeichnis wieder.
- Rotate Left: Drehen Sie das Bild um 90 Grad nach links.
- Rotate Right: Drehen Sie das Bild um 90 Grad nach rechts.
- Info: Zeigt Bildinformationen an.
- Einstellungen: Um zum Einstellungenmenü für die Fotowiedergabe zu gelangen, drücken Sie MENU.
1). Wiederholungsmodus: Sie konnen „One, None oder All" auswahlen.
2). Energiesparmodus: Wechseln Sie die Energy Saving-Funktion. Dies kann angepasst werden, wenn der Bildmodus auf Home gestellt ist.
3). Geschwindigkeit: Sie können „Slow, Normal oder Fast" auswahlen.
4). Effekt: Sie können "Random oder Off" auswahlen.
5). Bildeinstellung: Sie können die Art des Bildes auswahlen, das ihre Anforderungen am besten erfüllt.
6). Skaliert: Sie können "Fit oder Full Screen" auswahlen.
7). BGM: Wechseln Sie die Background music-Funktion.
Bedienung der Menu
Videowiedergabekonsole
- Abspielen/Pause: Wechseln Sie zwischen Wiedergabe und Pause.
- Stopp: Beenden Sie die Wiedergabe.
- FB: Schnell zürück.
- FF: Schnell vor.
- Goto: Wahlen Sie die Zeiteinstellung für die Videowiedergabe aus.
- Zurück: Geben Sie die vorherige Datei im selbst Verzeichnis wieder.
- Weiter: Geben Sie die{nachste Datei im selbst Verzeichnis wieder.
-
Info: Zeigt Bildinformationen an.
-
Einstellungen: Um zum Einstellungenmenü für die Videowiedergabe zu gelangen, drücken Sie MENU.
1). Wiederholungsmodus: Sie konnen „One, None oder All" auswahlen.
2). Untertitel: Wenn Videodateien einen oder mehrere Untertitel besitzen, können Sie dies auswahlen.
3). Tonspur: Wenn Videodateien mehrere Audiospuren besitzen, können Sie diese Spuren wechseln.
4). Bild: Drücken Sie OK, um zum Untermenü zu wechseln.
a. Bildeinstellung: Sie können die Art des Bildes auswahlen, das ihre Anforderungen am besten erfüllt.
b. Benutzerdefiniert: Sie können hiermit Kontrast, Helligkeit, Sattigung, Schärfe und Beleuchtung einstellen.
c. Farbtemperatur: Hiermit konnen Sie die Farbtemperatur des Bildes einstellen.
d. Bewegungsausgleich: Stellen Sie die Bewegungskompensation auf Off, Low, Middle, oder High. Hiermit wird Verschwimmen und Flattern in Szenen mit schneller Bewegung verringert.
e. Energiesparmodus: Wechseln Sie die Energy Saving-Funktion. Dies kann angepasst werden, wenn der Bildmodus auf Home gestellt ist.
f. Skaliert: Sie können „Full Screen, Movie, Origin oder Fit" auswahlen.
g. NR: Hiermit konnen Sie Störpixel auf dem Bildschirm reduzieren, ohne die Videoqualität zu vermindern.
h. Dynamischer Kontrast: Stellen Sie hiermit den Kontrast optimal entsprechend der Helligkeit des Bildes ein.
i. OverScan: Hiermit konnen Sie die die Reproduktionsrate des Bildes anpassen.
5). Ton: Drücken Sie OK, um zum Untermenü zu wechseln.
a. Toneinstellung: Sie können einen Klangmodus auswahlen, der ihren Anforderungen entspricht.
b. Treble/Bass: Elemente können angepasst werden, wenn der Klangmodus auf User gestellt ist.
c. Balance: Stellen Sie hiermit die Klangbalance der Lautsprecher auf die bevorzugten Werte ein.
d. SRSWechseln Sie hiermit die SRS-Funktion.
Bedienung der Menu
- Kostenlos verfügbar
Dieses TV-Gerät kann eine Vielzahl unterschiedlicher Film-, Foto- und Musikdateien von unseren Free Share Server anzeigen und ist von Free Share für Beste, Fotos und Musik zugelassen. Free Share ist eine Industrie übergreifende Organisation von Firmen, die Verbraucherelektronik, Computer und Mobilgeräte herstellen. Digital Living möglich Verbrauchern einfaches Teilen digitaler Medien über verdrahtete oder drahtlose Netzwerke zuhause.
Mit dem Free Share-Zertifikatslogo ist es einfach, Produkte zu finden, mit den Interoperabilitätsrichtlinien von Free Share im Einklang stehen. Dieses Gerät erfüllt die Interoperabilitätsrichtlinien von Free Share v1.5. Wenn ein PC Free Share Server Software ausfuhr oder ein anderes mit Free Share kompatibles Gerät mit thisem TV-Gerät verbunden ist, müssen u. U. eine Einstellungen der Software oder anderer Geräte geändert werden. Weitere Informationen finden Sie in der Bedienungsanleitung für die Software oder das Gerät.

Je nach Version von Windows können sich die tatsächlichen Bildschirme auf Ihr PC unterschieden, aber die gleichen grundlegenden Setupinformationen treffen nahezu immer zu.
Benutzen der Windows Media Player 11 für Windows XP
- Wie benutzen Sie den Sammelstecker und das Abspiel den (UPnP)
1.KickenSie Start, klick Run, schreiben Sieappwiz.cpl, und dannklick OK.
2.Klick Zufugen/Entfernen WindowsComponenten.
3.ImKoponentenFenster, klichenNetzwerkDienste, und dannklick auf Details.

- Klick zur Wahl vonUPnP Benutzer Interface, haken Sie die Kästchen in den SubkomponentendesNetzwerking Services Fenster, und dannblick OK.
Bedienung der Menu

Wie füge ichPunktezur Windows Media Player Bibliothek
- Klichen Sie auf diePfeileunter derBibliothekTab, und dannklichen SieAdd zurBibliothek, wie es auf folgendem BildschirmFoto erscheint.

- In demAdd zurBibliothekDialog Kasten, klichen Sie eine der folgenden Optionen, wie es im folgendenBildschirmFoto erscheint.

Meine persönlichenOrdner. BenutzenSie dieseOptionzur Sueche nachden digitalenMedia Dateien,die in ihren persönlichen Musik, Bilderund Videos Ordnern archiviert sind, sowohl als auch{jedwedeDatei,die in den öffentliche Musik,Bilder,and Videos Ordnern gespeichert sind,zu denen jeder Benutz Ihres PC Zugang hat.
Persönliche Ordnersind normalerweise zu finden unter C:\Documents and Settings\username\My Documents; wohingegen öffentliche Ordner normalerweise in C:\Documents and Settings\All users\Documents zu finden sind. Wenn eineDateizu einem Ordner hinzugeführ wird, oder gelöscht wird, dann wird ihre Bibliothek automatischactualisiert, durch einen Prozess, der sich Ordner Monitor)nennt.
MeineOrdnerund die Anderer, zu denen ich Zugang habe.
Benutzen Sie diese Optionzum Überwachen der digitalen Medien Dateien, die in ihren persönlichen Musik, Bilder, und Video Ordnern gespeichert sind, dieDateiendie in den öffentlichen Musik, Bilderund Video Ordnern gespeichert sind, sowohl die Dateien, die in persönlichen Dateien gespeichert sind, die zu anderen Personen auf Ihrm PC gehoren. Sie konnen die Dateien, die in einem anderen persönlichen Ordner gespeichert sind, nur überwachen falls die Person diese Dateien mit Ihnen teilt. Für weiterel Information zum Teilen eines Ordners mit einer anderen Person,lesen Sie Windows Help und Support.
Bedienung der Menu
- (Optional) Klichen SieErweiterte Optionen, und dannmachen Sie eins der Folgenden, wie es im Bildschirm erscheint.

Zum Überwachen zusätzlicher Ordner, klichen Sie Hinzufügen, und dannbenennen Sie den Ort des Ordners.
Zum Beenden der Überwachung eines Ordners, der vorher hinzugeführst wurde, klichen Sie auf denOrdner, den Sie von der Liste entfernen wollen, und klichen Sie dann Entfernen. Um die Überwachung eines automatisch hinzugefügten Ordners zu beenden, klichen Sie auf denOrdner, und dannklichenSie Ignorieren.
Um festzulegen, ob Dateien hinzugefügt werden sollen, aus einer vorher gelöschten Bibliothek, wahren Sie oderlöschen Sie dieVorher gelöscheDateien check Kästchen.
Damit Dateien, die weniger als eine gewisse große haben, nicht in die Bibliothek aufgenommen werden, geben Sie die Grenzwerte in die Audio Datei und Video Datei Kästchen ein.
Einschalten der Medienfreigabe
Falls die Medien Freigabe noch nicht aktiviert ist, dann müssen Sie sie nun einstellen.
- Klichen Sie auf die Bibliothek Tabs, und klichen Sie dann auf Medien
Freigabe.

- In der Medien Freigabe Dialog Box, wahlen Siedie Meine Medien freigegeben Box.

Bedienung der Menu
-
Wahlen Sie die Geräte aus, zu denen Sie ihre Medien freigeben Nachdem Einschalten der Medien Freigabe. müssen Sie die Geräte freigeben, die zu ihrer Bibliothek Zugang haben.
-
In derListeder Geräte unterhalb der Medien Freigabe check Box, wahlen Sieei Gerät. Media Sharing


2.Tun Sie eins der folgenden: Falls Sie Ihr Medium mit dem ausgewählten Computer oder Gerät teilen,.!.klichen Sie auf Erlauben. Falls Sie Ihr Medium nicht mit dem ausgewählten Computer oderGeräteilen,.!.klichen Sie auf Verweigern. Fur weitere Information zu der Frage, wie stelle ich die Freistellung ein, gehen Sie zu "Change Settings for sharing media" in Windows Media Player Help. Sie konnen den Zugang erlauben oder verweigern, wenn Ihr Gerät ein neues Gerät in Ihrem Netzwerk merkt.
Benutzung von Windows Media Player 12 für Windows 7 – Wie lege ich denNetzwerkOrt fest
- Klichen SieStart, klichen Sie den Control Panel.
- Klichen Sie das Heimnetzwerk. In dem Fenster Festlegen des Netzwerk Ort, klichen Sie auf Heimnetzwerk.

- Klichen Sie Sehen oder Ändern der HeimnetzgruppeEinstellung.
- Klichen Sie aufStream meine Bilder, Music, und Videos an alleGeräte aufmeinem Heimnetzwerk, und dannklichen Sie Änderungen speichern.
Bedienung der Menu

5. Klichen Sie Andern der erweiterten Freigabeinstellungen.

6. KlickenSie Öffentlich.

7.Klichen Sie aufEinschalten derNetzwerkDiscovery, Schalten Sie einDateiund Drucker FreigabundSchalten Sie einFreigabe damit Jeder mit Netzwerk Zugang die Dateien in den öffentlichen Ordnern lesen und beschreiben kann.

8. Klicken Sie auf Wahl der Optionen zum Streaming...
Bedienung der Menu
- Klichen Sie auf Alle Erlauben.

-
Wie Addiere ich Punktein die Windows Media Player Bibliothek
-
Klichen Sie dieStartTaste, klichen SieAlle Programme, und dannklichen Sie WindowsMedia Player. Falls das Gerät eingeschaltet ist, und Sie jetzt im Spielen Modus sind, dann klichenSie dieSchaltenzur BibliothekTaste in der rechtsoben Ecke des Geräts.
-
In der Geräte Bibliothek, klichenSie Organisieren.

- Klichen Sie auf VerwaltenBibliotheken, und dannklickeneinerder folgendenOptionen:
Musik.KlickenSieTheseOptionzurÖffnungderMusikBibliothekOrteDialogBox. Videos.KlickenSietheseOptionzurÖffnungderVideoBibliothekOrteDialogBox. Bilder.KlickenSietheseOptionzurÖffnungderBilderBibliothekOrteDialogBox. AufgenommenesTV.KlickenSietheseOptionzurÖffnung derTV AufnahmenBibliothekOrteDialogBox.
4.KlickenSie Hinzufugen
-
Finden Sie denOrdner in derliste, klichenSie auf Aufnahme im Ordner, unddannklichen SieOK.
-
Windows Media Player Einstellungen ErforderlichesWindows Media Player: Windows Media Player V11 or höher Windows Media Player benutzt folgende:
-
Filme Format: MPEG-1 / MPEG-2 / MPEG-4, TS.
-
Fotos Format: JPEG, PNG.
-
MusikFormat: MP3, AAC.
Netzwerkund Firewall Anforderungen
Falls Sie ihren Computer mit anderen Media Geräten teilen wollen, dann müssen Sie einen Vielfach Firewall Anschluss wahren. Falls Sie Windows Firewall benutzen, wird sich das notwendige Transmission Control Protocol (TCP) und das Benutzer Datagram Protocol (UDP) automatisch offen, wenn die Medienfreigabe arbeitet. Falls Sie andere Software oder Hardware Firewall benutzen, ist es möglich, dass Sie die Anschlüsse manuell offen:müssen.
Bedienung der Menu
Computer oderandere Free Share Medien Server,müssen, die Firewall Anschlusswe folgt,offnen:
| Anschluss | Protokoll | Umfang |
| 1900 UDP | begrenzt | auf lokales Subnetz |
| 2869 TCP | begrenzt | auf lokales Subnetz |
| 10243 TCP | begrenzt | auf lokales Subnetz |
| 10280-10284 | UDP begrenzt | renzt auf lokales Subnetz |
ANMERKUNG:
- Falls Sie das freigegebene Hardware nichtuchen konnen, prufen Sie ob die UPnP von der Firewall blockiert ist.
Abspielen freigegebenen Inhalts
- StartenSie den Server auf IhrComputer oderanderem Gerät, dass mit Ihr Heimnetzwerk verbunden ist.
- Drücken Sie die HOME/SOURCE Tasteauf der Fernbedienung.
- Drücken Sie die / / / Tastezur Wahl vonFree Share, und drucken Sie die OK Taste.
- Drücken Sie die Navigation Tastenzur Wahl IhresComputersoderanderenGeräts, und drücken Sie die OK Taste.
- Drücken Sie die Navigation Tastenzur Wahl einesOrdners,danndrücken Sie die OK Taste.
- Drücken Sie die Navigation Tastenzur Wahl einer gewünschten Datei, dan drücken Sie die OK Tastezum Markieren. Drücken Sie die Tastezum Spieler.
ANMERKUNG:
- Das TV spiel möglicherweise nicht alle Dateien von gewissen Kodierern.
- Das TV spiel möglicherweise eine Video Dateien mit higherer Auflösung nicht gleichmäßig.
- Das TV verwendet H.264/AVC codec bis zum Niveau 4.1.
- Falls Sie eine Video Datei mit einem verbundenen USB spielen, der nicht die hohe Geschwindigkeit nutzen kann, dann mag der Video Spieler nicht korrekt Funktionieren.
- Video Dateien mit Namen, die spezielle Charaktere benutzen, sind möglicherweise nicht abspielbar.
- Das Abspielen von Videos kann früig pausiert, gestoppt, zwischengespeichert werden, abhängig von der Breitbandgeschwindigkeit.
- Um eineDateiauf dem Medien Server zu speilen, müssen das TV und der Medien Server zum selbst Eingangs Punkt verbunden sein. Wir empfehlen beiden, TV und PC, im selbst Subnetz zu registrieren. Die ersten drei Teile des Subnetzes des TV und der PC IP Adressen sollenen gleich sein und nur der letzte Teil (die Host Adresse) sollte anders sein.(z.B. IP Adresse: 123.456.789.**)
- Prüfen Sie Ihr NetzwerkEinstellungen, wenndie Free Share Optionnicht korrekt arbeitet.
- Wenn dasNetzwerkunstabil ist, kann dasGerätlangsamer sein oder während des Abspielens nachlagen.
Bedienung der Menu
- Es gibt möglicherweise eine Beschchränkungen derDateiEigenschaften und des Medien Servers, die das Abspielern beschränken können
- Wenn Sie Vollbildmodus wahren im Free Share Modus, kann das Bildverhältnis anders sein als im Original.
- Falls es zuviele Ordner, und zu weitereDateien in einemOrdner gibt, kann es möglicherweise nicht abgespielt werden.
- Film Miniatur wird nur Unterstützung, wenn der Free Share Server die Film Miniatur verwendet.
- Dateien in einemOrdnerkonnen nur gespielt werden, wenn sie vom selbst Typ sind.
- DerDateiName der Untertitel und der FilmDateiName müssen gleich sein, und im Selben Ordner sitzen.
- Falls die Untertitel Datei nach der Indexierung des Directory addiert wird, dann muss sie gelöscht werden und in den Ordner der freiigegebenen Datien eingefegt werden.
Die Qualität des Abspielens hängt von ihrer Heimnetzwerk ab.
DieDateien von ausziehbaren Medien wie USB,DVD, usw. können möglicherweise auf dem Medien Server nicht richtig Funktionieren.
Konfiguration des Zeit-Menüss
Automatischer Sync.: Schalten Sie die Auto Sync-Funktion auf Ein oder Aus.
Uhrzeit: Sie können entweder die DTV-Signalstromzeit anzeigen oder die Systemzeit einstellen (wenn Auto Sync auf Aus gestellt ist, kann die Uhr angepasst werden).
- Sleep Timer: Wahlen Sie die Zeit aus, zu der das TV-Gerät automatisch in den Standbymodus geschaltet werden soll.
- Sleep Timer: Wahlen Sie die Zeit für den automatischen Ruhemodus ein. Das TV-Gerät aktiviert den Standbymodus automatisch, wenn es innerhalb der eingestillten Zeit nicht bedient wird.
■ Kein Signal "Strom abschalten": Schalten Sie die No Signal Power Off-Funktion auf Ein oder Aus.
- Zeitzone: Wahlen Sie ihre Zeitzone aus (wenn Auto Sync auf Ein geschaltet ist, kann die Zeitzone angepasst werden).
| Zeit | ||
| Automatischer Sync. | An | × |
| Uhrzeit | 01:01 | |
| Sleep Timer | Aus | × |
| Sleep Timer | 4H | × |
| Kein Signal "Strom abschalten" | < An | > |
| Zeitzone | GMT+1 | > |
| Einstehen | OK Ok | BACK Zurück |
Bedienung der Menu
Konfiguration des Sperren-Menus
Systemsperre: Mit dieser Funktion konnen Sie die unbefugte Bedienung des TV-Geräts unterbinden, indem Sie die Eingabe eines 4-stelligen Kennworts erforderlich machen. Wenn Lock System aktiviert und das System gespeppt ist, muss für Auto Tuning, DTV Manual Tuning, ATV Manual Tuning, Programme Edit oder Default ein Kennwort eingegeben werden. Drücken Sie die rechten Zifferntasten, um das Kennwort einzugeben. Das Standardkennwort ist 0000.
HINWEIS: · Nachdem Sie die Änderung des Kennworts vorgenommen haben, merken Sie sich das Kennwort für den Fall dass Sie zum Parent Lock-MENU wechseln möchten. Alle Funktionen setzen sich nur ändern, wenn das richtige Kennwort eingebehen wird. Sollten Sie das Kennwort vergessen, können Sie weiterhin das Superkennwort 1225 verwenden.
Passworteinstellung: Sie können ein eigenes Kennwort festlegen. Drücken Sie die Zifferntasten auf der

Fernbedienung, um das neue Kennwort festzulegen. Nachdem Sie das neue Kennwort zweimal eingebehen haben, ist die Einstellung abgeschlossen. Sie gelangen zum vorherigen Menu zurück.
■ Sendersperre (im ATV/DTV-Modus): Drücken Sie mit der grünen Taste für LOCK, um die gewündchten verfügbaren Programme zu sperren. Drücken Sie erneut mit der grünen Taste, um die Sperre aufzuheiten. Wenn Sie ein gesperrtes Programm anschauen möchten, drücken Sie OK, um zum Fenster für die Kennworteingabe zu gelangen. Geben Sie das 4-stellige Kennwort ein.
■ Kindersicherung (im DTV-Modus): Mit dieser Funktion konnen Sie verhindern, dass Kinder Programme für Erwachsene anschauen. Diese Funktion erscheint abhängig von den Informationen, die von Sendeanstalten gesendet werden. Sollte ein Signal falsche Informationen übermitteln, lässt sich diese Funktion nicht nutzen.
Konfiguration des Support-Menüs
DivX(R) VOD: Zeigen Sie die Registrierungsinformationen für DivX(R) VOD an.
Installationsanleitung: Dies ist eine Installationsanleitung für die Einrichtung des TV-Geräts.
- Softwareversion: Zeigen Sie Informationen über die aktuelle Softwareversion an.
■ Aktualisierung: Wahlen Sie das gewünschten Upgrade aus. USB Upgrade, Network Upgrade oder URSA Upgrade.
- Changhong kontaktieren: Besuchen Sie unsere Website unter www.changhongeurope.de.
Service: Hier finden Sie Dienstleistungsinformationen.

Bedienung der Menu
Tools-MENU(im DTV-Modus)
Drücken Sie TOOLS, um das Tools-MENU anzuzeigen.
■ Bildeinstellung: Wahlen Sie die Art von Bild aus, die ihre Anforderungen am besten erfüllt.
■ Toneinstellung: Sie können einen Audiotyp auswahlen, der ihren Anforderungen entspricht.
- Sleep Timer: Wahlen Sie die Zeit aus, zu der das TV-Gerät automatisch in den Standbymodus geschalte werden soll.
■ Bildformat: Sie kinnen die Bildgr e Ihrwunsch entsprechend einstellen.
■ Einfrieren: Schalten Sie die Freeze-Funktion auf Ein oder Aus.
■ Audiosprachen: Wahlen Sie eine bevorzugte Audiosprache aus. (Verfügbar für digitale Kanäle, wenn mehrere Audiosprachen gesendet werden.) MTS (im ATV-Modus): Wahlen Sie NICAM DUAL I/NICAM DUAL II/ NICAM DUAL I+II/MONO.
Untertitelsprachen: Wahlen Sie eine bevorzugte Untertitelsprache aus. (Verfügbar für digitale Kanäle, wenn mehrere Untertitelsprachen gesendet werden.)
- DTV<---->Radio: Hiermit wechseln Sie zwischen Radio- und DTV-Programmen, sofern Radioprogramme vorhanden sind (im DTV-Modus).
■ Aufnahmeliste: Hiermit gelangen Sie zur Aufnahme-Liste. (im PVR-Modus).
- Zeitverschreibung: Wenn das TV-Gerät Programme wiedergebnit, drücken Sie auf die Time Shift-Taste, um mit der Zeitversetzungsfunktion zu beginnen.
| Werkzeuge | ||
| Bildeinstellung | Start | > |
| Toneinstellung | Standard | > |
| Sleep Timer | Aus | > |
| Bildformat | 16:9 | > |
| Einfrieren | < Aus | > |
| Audiosprachen | > | |
| Untertitelsprachen | > | |
| Einstellen | OK Ok | BACK Zurück |
| Werkzeuge | ||
| DTV < --> Radio | > | |
| Aufnahmeliste | > | |
| Zeitverschreibung | > | |
| Einstellen | OK Dk | BACK Zurück |
Bedienung der Menu
Programme Guide (im DTV-Modus)
Drücken Sie EPG, um das Programme Guide-MENU anzuzeigen. Diese Funktion zeigt detailierte Informationen über einen Canal und die Zeit, zu der Programme gesendet werden, an. Im Programmfuhrer können Sie Programminformationen für die{nachsten acht Tage finding (sofern die Informationen von den Sendeanstalten bereitgestellt
werden). Drücken Sie EXIT, um den Vorgang zu beenden.
Liste: Drücken Sie die gelbe Taste, um die Zeitplanliste anzuzeigen.
Info: Drücken Sie die grüne Taste, um detaillierte Informationen über den aktuellen Kanal anzuzeigen.
Aufnahme: Drücken Sie die rote Taste, um die Parameter für die Aufnahme festzulegen. Das Gerät kann eine programmierte Aufnahme durchführren, wenn es eingeschaltet ist oder sich im Standbymodus befindet. Sie können mehrere Aufnahmen programmieren. Unterschiedliche Programmierungen sollen aber nicht überlappen. Wenn die Aufnahme im Standbymodus beginnnt,ändert sich die Farbe der Anzeigen auf der Vorderseite des TV-Geräts und es wird kein Bild angezeigt und kein Ton ausgegeben.

Erinnern: Wenn Sie das gewünschte Programm sehen, das später gezeigt wird, drücken Sie die blaue Taste, um die Aufnahme zu programmieren.
Zeit/Sender: Drücken Sie TOOLS, um die Kopfzeile von
Elemente auszuwahlen; drucken Sie / , um die List nach
Zeit oder Kanal anzuordnen.
Senderliste
Drucken Sie LIST, um die Kanalliste anzuzeigen.
Drücken Sie / , um Elemente auszuwahlen. Drücken Sie OK, um zum Kanal zu wechseln.
Drücken Sie / , um jeweils ein Seite nach oben oder unter durch die Kanalliste zu laufen.
Drücken Sie die grüne Taste, um nach Programme Edit zu wechseln.
Drucken Sie TOOLS, um nach Programmen zuuchen.
Drücken Sie LIST/EXIT, um den Vorgang zu beenden.
Senderliste
1 RED+MARKER DTV
2C/B DTV
3 CROSS HATCH DTV
44v3 MONOSCOPE DTV

programme bearbeitern
wshien
TOO.S Buche
seite
Favoriteliste
Drücken Sie FAV, um die Favoritenliste anzuzeigen.
Drücken Sie / , um Elemente auszuwahlen. Drücken Sie OK um zum Kanal zu wechseln.
Drücken Sie / , um jeweils ein Seite nach oben oder unter durch die Kanalliste zu laufen.
Drücken Sie FAV/EXIT, um den Vorgang zu beenden.
Favoriteiste
1RED+MARKER
2 C/B
3 CROSS HATCH
4 4v3 MONOSCOPE
111
DTV
DTV
DTV
DTV
Teletext
Verwendung der Teletextfunktion
Anzeige von Teletext
- Wahlen Sie einen TV-Sender mit einem Teletextsignal.
- Drucken Sie zum Teletextmodus zu wechseln.
- Drücken Sie, um zum Mix-Modus zu wechseln. Diese Funktion ermitteligt Ihnen, die Teletextseite über das TV-Programm zu legen.
- Drücken Sie, um zurückzuwechseln oder zum normalen ATV/DTV-Modus zu gelangen.
■ Seitenauswahl
- Geben Sie die Seitennummer (drei Stellen) mit den Zifferntasten ein. Sollten Sie eine falsche Ziffer eingeben, müssen Sie erst alle drei Stellen eingeben, bevor Sie die richtige Seitennummer eingeben können.
- Wahlen Sie mit / die vorherige oder{nachste Seite aus.
Hold
Sie können drucken, um eine Seite anzuhalten; drucken Sie erneut, um sie loszulassen.
Index
Drucken Sie, um direkt zur Hauptindexseite zu wechseln.
■ Vergroßern von Text
Wenn eine Seite angezeigt wird, konnen Sie die große des Texts verdoppeln, umihn leichterlesen zu konnen.
- Drücken Sie, um die obere Häfte der Seite zu vermögen.
- Drucken Sie erneut 三 um die untere Halfte der Seite zu vergroßern.
- Drücken Sie noch einmal, um zur normalen Anzeige zurückzuwechseln.
Aufdeckungsmodus
Sie können verborgene Teletextinformation (z. B. Antwerten zug einem Ratsel) aufdecken, indem Sie drücken. Drücken Sie erneut, um die Informationen wieder auszublenden.
Untergeordnete Seite
Bestimmte Teletextseiten können mehrere untergeordnete Seiten besitzen, die automatisch in einer bestimmten Reihenfolge von der Sendeanstalt angeordnet sind.
- Sie gelangen zu einer bestimmten untergeordneten Seite, indem Sie direkt drücken und eine Seitennummer mit den Zifferntasten eingeben. Geben Sie die Nummer (z. B. 0003) für die dritte untergeordnete Seite ein.
- Drücken Sie die Taste erneut, um den Modus für untergeordnete Seiten zu beenden.
- Drücken Sie, um zum normalen TV-Modus zurückzuwechseln.
Farbige Tasten (Rot, Grün, Gelb und Blau)
Drücken Sie diese Tasten, um direkt auf die entsprechenden farbigen Seiten, die unter auf dem Teletextbildschirm angezeigt sind, zuzugreifen.
Fehlerbehebungsanleitung
Fehlerbehebung
Bevor Sie sich an den Kundendienst oder an Fachleute wenden, überprüfen Sie folgende Checkliste. Kann der Fehler nicht behoben werden sollen, so trennen Sie den Fernseher vom Stromkreis und suchen Sie professionelle Hilfe auf.
| PROBLEM MÖGliche Lösung | |
| Kein Ton und Bild | - Überprüfen, ob der Hauptstecker an eine Steckdose angeschlossen ist. - Überprüfen, ob Sie den EIN/AUS-Knopf vorne an Ihrrem Fernsehapparat gedrückt haben. - Einstellungen für Kontrast und Helligkeit überprüfen. |
| Normale d, aber kein Ton | - Lautstärkeeinstellung überprüfen. - Ton stummgeschaltet? Taste MUTE drücken. - Auf ein anderes Programm umschalten, das Problem konne beim Sender liegen. - Sind die Audiokabel ordnungsgemäß angeschlossen? |
| Fernbedienung Funktioniert nicht | - Überprüfen Sie, ob sich zwischen Fernseher und Fernbedienung Gegenstände befinden. - Sind die Batterien korrekt eingesetzt (Pole: + an + und - an -)? - Ist der richtige Fernbedienungsmodus eingestellt: TV, VCR etc.?? - Neue Batterien einsetzen |
| Gerät schaltet plötzlich ab | - Sleep-Timer eingestellt? - Stromzufuhr überprüfen. Stromzufuhr unterbrochen? - Keine Übertragung vom eingestellen Sonder. Der Fernseher schaltet nach einer bestimmen Zeit automatisch in den Standby-Modus. |
| Bild erscheint nach dem Einsatzalten langsam | - Dies ist ein normaler Vorgang. Das Bild ist während des Einsatzvorgangs unterrückt.itte wenden Sie sich an den Kundendienst, wenn das Bild nach fünf Minuten nicht erscheint. |
| Keine Farbe oder schlechte Farb- oder Bildqualität | - Farbe im Bildmenü einstellen. - Ausreichenden Abstand zwischen Fernseher und Videorekorder einhalten. - Schalten Sie auf ein anderes Programm. Das Problem konne beim Sonder liegen. - Sind die Videokabel richtig angeschlossen? - Helligkeitseinstellung zurücksetzen. |
| Horizontale/vertikale Streifen oder wackelndes Bild | - Störquellen in der Höhe des Fernsehersuchen. z. B. Elektrogeräte oder Elektrowerkzeuge |
| Schlechter Empfang bei einigen Programmen | - Probleme beim Sonder oder Kabelanbieter. Anderen Sonder einstellen. - Sendersignal ist schwach: Antenne neu ausrichten, bis der schwächere Sonder empfangen werden kann. - Mögliche Störquellen suchen. |
| Streifen im Bild - Anteine | - Überprüfen (Ausrichtung ändern). |
| Einer der Laatsprecher ist lautlos | - Balance im Tonmenü ändern. |
Fehlerbehebungsanleitung
Hinweis: Problem im VGA-Modus (nur VGA-Modus verwendet).
| PROBLEM MÖGlüCHE LösUNG | |
| Signal ist außerhalb des Frequenzbereichs. | - Auflösung, horizontale Freqenz oder vertikale Freqenz anpassen. - Überprüfen, ob das Signalkabel angeschlossen oder lose ist. - Signalquelle überprüfen. |
| Vertikale Streifen im Hintergrund und horizontales Bildauschen und inkorekte Position | - Auf Werkseinstellungen zurücksetzen oder Uhr, Phase oder H/V-Positionändern. |
| Bildschirmfarbe ist instabil oder nur einfarbig | - Signalkabel überprüfen. - Videokarte des Computers neu installieren. |
Wartung
Fehlfunktionen können vermieden werden. Durch sorgsames und regelmäßiges Reinigen können Sie die Haltbarkeit Ihr des neuen Fernsehgerats verlangern. Schalten Sie das Gerät aus undziehen Sie das Stromkabel,bevor Sie mit der Reinigung beginnen.
Bildschirm reinigen
- So halten Sie ihren Bildschirm staubfrei: Feuchten Sie ein weiches Tuch in einer Mischung aus lauwarmem Wasser und Weichspüler oder Geschirrspülmittel an. Wringen Sie das Tuch gut aus bis es fast trocken ist. Wischen Sie dann damit den Bildschirm.
- Es dürfen keine Wasserrechte auf dem Bildschirm darüber bleiben. Lassen Sie den Bildschirm dann an der Luft komplett abtrocknen, bevor Sie ihren Fernseher einschalten.
Gehäuse reinigen
Reinigen Sie das Gehäuse mit einem weichen, trockenen, faserfreien Tuch.itte auf keinen Fall ein feuchtes Tuch verwenden.
Längere Abwesenheit

Wenn Sie ihren Fernseher über längerere Zeit nicht verwenden (z. B. wenn Sie in Urlaub fahren), empfeht es sich, das Stromkabel zuziehen, um Schaden durch Blitzschlag oder Überspannung zu vermeiden.
Entsorgung von Elektrogeräten

Gemäß der EG-Richtlinie 2012/19/EU über die Entsorgung von Elektro- und Elektronik-Altgeräten (WEEE) dürfen elektronische Haushaltsgeräte nicht im normalen Hausmull entsorgt werden. Altgeräte sind separate zu}sammeln, damit die darin enthaltenen Rohstoffe recycliert werden konnen und Gesundheits- und Umweltschäden vermieden werden.
Das Symbol der durchgestrichenen Mülltonne dient zur Erinnerung daran, dass es ihre Pflicht ist, das Altgerät bei einer speziellen Sammelstelle zu entsorgen.
Wenden Sie sich an ihre Kommunalbehörde oder ihren Handler, um Informationen zur ordnungsgemänen Entsorgung von Altgeräten zu erhalten.
Dieses Gerät ist ein Gerät der Schutzklasse II, d.h. es besitzt eine doppelte Isolierung. Für das Gerät wirdDMAHeder kein Schutzkontaktstecker benotigt.
EinfachAnleitung