IDK694 - Pfanne Pelgrim - Kostenlose Bedienungsanleitung
Finden Sie kostenlos die Bedienungsanleitung des Geräts IDK694 Pelgrim als PDF.
Benutzerfragen zu IDK694 Pelgrim
0 Frage zu diesem Gerät. Beantworten Sie die, die Sie kennen, oder stellen Sie Ihre eigene.
Eine neue Frage zu diesem Gerät stellen
Laden Sie die Anleitung für Ihr Pfanne kostenlos im PDF-Format! Finden Sie Ihr Handbuch IDK694 - Pelgrim und nehmen Sie Ihr elektronisches Gerät wieder in die Hand. Auf dieser Seite sind alle Dokumente veröffentlicht, die für die Verwendung Ihres Geräts notwendig sind. IDK694 von der Marke Pelgrim.
BEDIENUNGSANLEITUNG IDK694 Pelgrim
Placei o i plaque d identificati on de l'appareil. Kleben Sie hier das Geratetypenschilden e.
En cas de contact avec le service après-vente, ayez autres de vous le numero de type complet. Helter Sie die vollständige Typennummer bereit, wenn Sie mit der Kundendienstabteilung Kontakt aufnahmen.
Anleitung Induktionskochfeld
700004133601
Pelgrim
FR
Anleitung DE 3-DE 36

Ihr Induktionskochfeld
| Vorwort | 4 | |
| Bedienfeld | 5 | |
| Beschreibung | 6 | |
| Sicherheitshinweise | ||
| Worauf Sie achtenden müssen 6 | ||
| Anschluss und Reparaturen 7 | ||
| Während des Gebrauchs 7 | ||
| Übertemperaturschutz | 9 | |
| Kochzeitbegrenzung | 9 | |
| Gebrauch | ||
| Gebrauch der Sensorasten 10 | ||
| Kochen mit dem Induktionsherd 10 | ||
| Wie Funktioniert die Induktion 11 | ||
| Induktionsgeräusache | 11 | |
| Kochtopfe | 12 | |
| Betrieb | ||
| Einschalten des Kochfeldes und Einstellung der Leistungsstufe 14 | ||
| Ausschalten des Kochfeldes 14 | ||
| Kochtopferkennung | 15 | |
| Restwärmeanzeige | 15 | |
| Ankochstufe | 15 | |
| Automatisches Aufwärmen 16 | ||
| Hintereinanderliegende Kochzonen 16 | ||
| Startzeitverzögerung | 17 | |
| Warmhaltefunktion | 18 | |
| Kindersperre | 18 | |
| Zeitschaltuhr | 19 | |
| Garen | ||
| Gesundes Kochen 22 | ||
| Gareinstellungen | 22 | |
| Pflege | ||
| Reinigung | 24 | |
| Störungen | ||
| Allgemeines | 25 | |
| Tabelle: Störungen und Abhilfe 25 | ||
| Installation | ||
| Was müssen Sie beachteten 27 | ||
| Lüften | 30 | |
| Anschluss an das elektrische Versorgungsnetz 31 | ||
| Building in | 33 | |
| Technische Daten | 34 | |
| Umweltspekte | ||
| Entsorgung von Gerät und Verpackung | 35 | |
Vorwort
Dieses Kochfeld wurde für wahre Liebhaber der Kochkunst hergestellt. Das Kochen mit dem Induktionskochfeld bringt zahlreiche Vorteile. Es ist einfach, da das Kochfeld schnell reagiert und es kann eine sehr niedrige Leistungsstufe eingestellt werden. Ebenso konnen sehr hohe Leistungsstufen eingestellt werden, was das Ankochen von Flüssigkeiten wesentlich beschleunigt. Wegen des reichlichen Zwischenraumes zwischen den Kochzonen ist das Kochen noch bequemer.
Das Kochen mit dem Induktionskochfeld ist anders als das Kochen auf üblichen Kochmulden. Das Induktionskochfeld verwendet zur Erzeugung von Wärme ein Magnetfeld. Das bedeutet, dass nicht jeder Kochtopf zum Kochen auf dem Induktionskochfeld verwendet werden kann. Detaillierte Informationen darüber finden Sie im Kapitel über induktionstaugliche Kochtopfe. Für optimale Sicherheit ist das Induktionskochfeld mit mehreren Temperatursicherungen und Restwärmeindikatoren ausgerüstet, die darauf hinweisen, welche Kochzonen heiß sind.
Das Kochfeld verfügt über 4 Gleitsensoren, welche die Einstellung der Leistungsstufe der einzelnen KochzonenEROlympischen. Mit einer speziellen Überbrückungstaste konnen Sie zwei hinterinanderliegende Kochzonen koppeln. Wenn die Überbrückungsfunktion aktiviert ist, arbeiten beiden Kochzonen mit denselben Einstellungen.
Dieses Handbuch beschreiben, wie Sie mit Ihr Induktionskochfeld optimal kochen konnen. Außen dem enthalt es auch Angaben über die Funktion und andere zusätzliche Informationen, die Ihnen den Gebrauch des Induktionskochfeldes erreichtern. Im Handbuch finden Sie auch Gartabellen sowie Tipps zur Reinigung und Pflege des Geräts.
Lesen Sie das Handbuch vor dem ersten Gebrauch Ihres Induktionskochfeldes gründlich durch und bewahren Sie es an einem sicheren Ort auf, wenn Sie es in Zukunft nachlesen möchten.
Das Handbuch enthalt auch wichtige Angaben für Kundendienstfachleute. Deswegen bitten wir Sie, dass Sie am Ende des Handbuchs auf die davon vorgesehene Stelle das Identifikationsschild des Geräts aufkleben. Das Identifikationsschild enthalt alle Angaben, die der Kundendienst besteht, um ihre Fragen entsprechend zu beantwerten und ihre Probleme zu losen.
Wir wünschen Ihnen viel Freude beim Kochen!

Bedienfeld
- Überbrückungstaste*
- Gleitsensor Kochzone
- Ein-/Aus-Taste mit Indikator der Kindersperre
- Taste der Zeitschaltuhr
- Indikatorlampchen der Überbrückungsfunktion
- Kochstufenanzeige
- Überbrückungssymbol
- Indikator der Zeitschaltuhr
- Taste “-” für die Zeitschaltuhr
- Anzeige der Zeitschaltuhr mit 4 Indikatoren
-
Taste “+” für die Zeitschaltuhr
-
Bridge mode (Verbindungsfunktion): zwei Zonen werden zu einer groBen Zone verbunden, beiden Zonen werden mit einem Schieberegler gesteuert.
Beschreibung

- Kochzone octa 180 mm x 220 mm 3,7 kW
- Bedienfeld
Worauf Sie achten müssen

- Das Kochen mit dem Induktionskochfeld ist sehr sicher. Das Kochfeld ist mit zahlreichen Sicherheitsvormichtungen ausgestattet wie z.B. Restwärmeanzeige und Kochzeitbegrenzung. Trotzdem möchten wir Ohnen eine Sicherheitshinweise ans Herz legen.
Anschluss und Reparaturen

- Das Gerätarf nur von einem entsprechend geschulten Elektrofachmann durchgeführt werden.
- Niemals das Gehäuse öffnen. Das Gehäusearf nur von einem entsprechend geschulten Servicetechniker geöffnet werden.
- Trennen Sie vor Beginn der Reparatur das Kochfeld vom elektrischen Versorgungsnetz. Ziehen Sie ggf. den Stecker aus der Steckdose, schalten Sie die (automatischen) Sicherungen aus oder stellen Sie bei Festinstallation den Schalter des Anschlusskabels auf die Position "0".
Während des Gebrauchs

- Verwenden Sie das Gerät nicht, wenn die Umgebungstemperatur niedriger ist als 5^ C.
- Das Induktionskochfeld ist zur Verwendung im Haushalt bestimmt. Es ist ausschließlich zur Zubereitung von Speisen bestimmt.
- Beim ersten Gebrauch des Geräts werden Sie bemerken, dass das Gerät "nach neu" riecht: Das ist vollig normal. Lüften Sie die Küche gründlich, damit der Geruch verschwindet.
- Vergessen Sie nicht, dass die Ankochzeit bei hoher Leistungsstufe sehr kurz ist. Wenn Sie eine hohe Leistungsstufe auswahlen, darüber den Sie das Induktionskochfeld nicht ohne Aufsicht halten.
- Sorgen Sie damit, dass die Küche während des Gebrauchs des Kochfeldes ausreichend beluftet wird. Alle natürlichen Luftungsöffnungen sollen geöffnet sein.
- Lassen Sie es nicht zu, dass alle Flüssigkeit aus dem Kochtopf verdampft. Die Kochzonen sind vor dem Überhitzen geschützt, jedoch können Kochtopfe sehr stark erhützt und beschädigt werden. Die Garantiedeckt keinerlei Schäden, die entstehen, weil die gesamte Flüssigkeit aus dem Kochtopf verdampft ist.
- Benutzen Sie das Kochfeld nicht als Ablagefläche für Gegenstände.
- Sorgen Sie damit, dass zwischen dem Kochfeld und dem Inhalt der Schublade mindestens einige cm Abstand bestehen.
- Bewahren Sie in der Schublade unter dem Kochfeld keine entzündlichen Stoffe oder Gegenstände auf.
- Sorgen Sie damit, dass Anschlusskabel von Haushaltsgeräten wie z.B. Handmixer nicht die weiße Kochzone berühren.
Die Kochzonen erwärmen sich während des Betriebs und bleiben noch eine Zeit nach Beendigung des Garvorgangs besteht. Erlauben Sie Kleinkindern nicht, sich während des Garvorgangs oder unmittelbar nach dem Garvorgang dem Kochfeld zu erharn. - Erlauben Sie Kindem nicht, mit dem Gerät zu playen. Erlauben Sie Kindern nicht, sich ohne Aufsicht dem Kochfeld zuannah.

- Fett oder Öl kann sich im Fall von Überhitzung selbst entzünden. Stehen Sie nicht zu nahe am Kochtopf. Falls sich Fett oder Öl entzünden sollen, versuchen Sie niemals, es mit Wasser zu Löschen. Decken Sie den Kochtopf sofort mit einem Deckel zu und schalten Sie die Kochzone aus.
- Flambieren Sie niemals Speisen unter der Dunstabzugshaube. Hohe Flammen konnten einen Brand verursachen, auch wenn die Dunstabzugshaube ausgeschaltet ist.
- Die Glaskeramikoberfläche ist sehr hart, jedoch nicht unzerbrechlich. Ein Gewürzbehälter aus Glas oder ein spitzes Zubehör, das auf die Glaskeramikplatte fällt, kann einen Riss in der Platte erzeugen.
- Wenn Sie einen Riss bzw. einen Sprung auf der Glaskeramikplatte bemerken, * dürfen Sie das Kochfeld nicht mehr benutzen. Schalten Sie das Kochfeld(sofort aus.Trennen Sie es vom elektrischen Versorgungsnetz, um einen Stromschlag zu verhindem und rufen Sie den Kundendienst an.
- Achtung! Legen Sie auf die Kochplatte niemals Metallgegenstände z.B. Backbleche, Metallschachteln für Kleingebäck, Kochtopfdeckel aus Metall oder Essbesteck. Diese Gegenstände können sich sehr schnell erhitzen und Verbrennungen der Haut verursichen.
- Vermeiden Sie die Annaherung von Gegenständen (Kreditkarten u.A.), die entmagnetisiert werden können, an das Kochfeld. Personen mit Herzschrittmacher empfehlen wir, sich vor dem Gebrauch des Induktionskochfeldes mit ihrem Kardiologen zu beraten.
- Reinigen Sie das Induktionskochfeld niemals mit Druck- oder Dampfreinigern.
- Personen (einschließlich Kindern), die aufgrund ihrer physischen, sensorischen, geistigen Fähigkeiten oder ihrer Unerfahrenheit oder Unkenntnis nicht in der Lage sind, das Gerät sicher zu benutzen, dürfen das Gerät nicht ohne Aufsicht oder Anweisung durch eine für ihre Sicherheit verantwortliche Person benutzen.
- Sobald Sie den Kochtopf von der Kochzone genommen haben, schaltet sich die Kochzone automatisch aus. Um ein unbeabsichtigtes erneutes Einsatzen des Kochfeldes zu verhindern, empfehlen wir Ihnen, dass Sie nach Beendigung des Garvorgans die Kochzone und das Kochfeld manuell ausschalten.
- Lassen Sie niemals leere Kochtopfe oder Pfaffen auf der freieneingeschalteten Kochzone stehen. Die Kochzone hat bereits eine Schutzvorrichtung und schaltet sich automatisch aus, jedoch kann der Kochtopf bzw. die Pfanne sehr heißt werden. Der Kochtopf kann dadurch beschädigt werden.

- Das Kochfeld kann keine sehr kleinen Gegenstände erkennen wie z.B. zu keine Kochtopfe (mit einem Durchmesser < 12 cm), Gabeln oder Messer. Das Display wird auch weiterhin blinken und die Kochzone schaltet sich nicht ein.
- Das Gerät ist nicht zur Steuerung durch eine externe Zeitschaltuhr oder ein Fernbedienungssystem geeignet.
- Ein beschädigtes Anschlusskabelarf nur vom Hersteller, von einem vom Hersteller autorisierten Kundendienst oder von einer anderen fachlich befähigten Person ausgetauscht werden, da ein solcher Eingriff fur Laien sehr gefährlich sein kann.
Übertemperaturschutz
- Ein spezieller Sensor misst ständig die Temperatur an bestimmten Stellen des Kochfeldes. Jede Kochzone ist mit einem Sensor ausgestattet, der die Temperatur des Kochtopfbodens misst und eine Überhitzung des Kochtopfes verhindert, falls die gesamte Flüssigkeit aus dem Kochtopf verdampfen sollte. Falls die Temperatur einen zu hohen Wert erreichen sollte, wird die Leistungsstufe automatisch gesenkt.
Kochzeitbegrenzung

- Eine weitere Schutzvorrichtung des Induktionskochfeldes ist die Garzeitbegrenzung. Sie schaltet sich ein, falls Sie vergessen, die Kochzone auszuschalten.
- In Abhängigkeit von den ausgewählten Einstellungen kann die Garzeit folgendermaßen begrenzt werden:
| Einstellung Auto | natisches Ausschalten der Kochzone nach: |
| 1 8 1/2 Stunden | |
| 2 6 1/2 Stunden | |
| 3 5 Std. | |
| 4 4 Stunden | |
| 5 3 1/2 Stunden | |
| 6 3 Stunden | |
| 7 2 1/2 Stunden | |
| 8 2 Stunden | |
| 9 1 1/2 Stunden | |
| u 2 Stunden |
Die Garzeitbegrenzung schaltet die Kochzonen aus, wenn die in der Tabelle angeführten Zeiten abgelaufen sind.
| Einstellung Die Koch zone schaltet automatisch auf die Kochstufe 9 um: | |
| Ankochstufe (P) nach | 10 Minuten |
Gebrauch der Sensorlasten
Wenn Sie bisher an übliche Bedienungselemente gewöhnt waren (Drehknebel), werden Sie weiterecht etwas Zeit brauchen, sich an die Bedienung mit Sensortasten zu gewöhnen. Um die besten Ergebnisse zu erhalten, legen Sie ihre Fingerspitze auf den Gleitsensor oder die Sensortaste. Sie brauchen die Sensortaste nicht zu drucken.
Berührungssensoren reagieren auf leichte Berührungen mit der Fingerspitze. Berühren Sie die Sensor-Bedienungselemente nicht mit Gegenständen. Das Kochfeld wird sich nicht einschalten, wenn Ihr Hausliebling darüber spaziert.
Kochen mit dem Induktionsherd
Das Kochen mit dem Induktionsherd ist Schnell
- Am Anfang werden Sie wahrscheinlich über die Schnelligkeit der Induktionskochzonen überrascht sein. Insbesondere bei higheren Leistungsstufen werden Speisen und Flüssigkeiten sehr schnell ankochen. Wir empfehlen Ohnen, das Kochfeld nicht unbeaufsichtigt zu halten, um zu verhindern, dass die Inhalte der Kochtopfe überkochen oder verdampfen.

Beim Induktionskochen
gibt es auch keine
Wärmeverluste oder—heiße
Kochtopfgriffe.
Einstellung der Leistungsstufe
- Beim Kochen mit der Induktionskochzone ist nur der Teil der Kochzone aktiv, der vom Kochtopf bedeckt ist. Wenn Sie einen kleinen Kochtopf auf eine große Kochzone stellen, wird die Leistungsstufe automatisch an den kleinen Kochtopf angepasst. So wird die Kochzone mit einer niedrigeren Leistung betrieben und der Inhalt des Kochtopfes besteht eine langere Zeit zum Aufkochen.


Achtung!
-
Sandkorner können Kratzer auf der Glaskeramikoberfläche hervorrufen, die nicht mehr beseitigt werden können. Stellen Sie deshalb auf die Kochzone immer nur Kochtopfe mit sauberen Böden. Wenn Sie den Kochtopf auf eine andere Kochzone stellen möchten, haben Sieihn immer an.
-
Verwenden Sie das Kochfeld niemals als Arbeitsfläche. Decken Sie Kochtopfe während des Garvorgangs immer zu, damit es zu keinen Energieverlusten kommt.
Wie Funktioniert die Induktion

Die Spule (1) in der
Kochzone (2) erzeugt ein
Magnetfeld (3).Wenn
Sie einen Kochtop mit
Metallboden (4) auf die
Kochzone stellen, wird
im Metallboden des
Kochtopes elektrischer
Strom induziert.
Die Induktionskochzone erzeugt ein Magnetfeld. Wenn Sie einen Kochtopf mit Metallboden auf die Kochzone stellen, wird im Metallboden des Kochtopfes elektrischer Strom induziert. Dieser induzierte Strom bewirkt, dass der Kochtopfboden warm wird.
Einfach
Die elektronische Bedienung ist tatsäch und einfach. Bei niedrigster Leistungsstufe können Sie z.B. Schokolade direkt im Kochtopf schmelzen oder Zutaten kochen, die Sie ansonsten im Wasserbad kochen müssen.
Schnell
Dank der sehr große Leistung der Induktionskochzone kocht die Speise sehr schnell an. Um die Speise gründlich zu kochen benötigen Sie jedoch dieselbe Zeit wie bei den üblichen Kochherden.
Sauber
Die Reinigung des Kochfeldes ist sehr einfach. Da die Kochzonen nicht so stark erhützt werden wie die Kochtopfe, konnen übergelaufen Speisen nicht auf der Kochzone festbrennen.
Sicher
Die Hitze entsteht im Kochtopf selbst. Die Glaskeramik-Kochzone wird nicht freiBer als der Kochtopf selbst. Das bedeutet, dass die Kochzone wesentlich kuhler ist als die Kochzonen von klassischen GlaskeramikKochfeldern oder Gaskochmulden. Nachdem Sie den Kochtopf von der Kochzone genommen haben, kuhl't die Kochzone rasch ab.
Induktionsgeräusche
Ticken
Dies liegt am Kochzeitbegrenzer an den vorderen und hinteren Zonen.
Auch bei niedrigen Kochstufen kann ein leises Ticken auftreten.
Die Töpfe machen Gerausche
Die Töpfe können beim Kochen hin und wieder Gerausche machen. Dies wird durch den Durchfluss der Energie von der Kochzone zum Kochtopf verursacht. Bei einer hohen Kochstufe ist dies bei einigen Töpfen normal. Für die Töpfe bzw. das Kochfeld ist dies unschädlich.
Die Lüftung macht Geräusche
Das Gerät ist mit einer Luftung ausgestattet, um die Lebensdauer der Elektronik zu verlangern. Bei intensiver Nutzung des Gerätes wird die Luftung eingeschaltet, um das Gerät zu kühlen. Sie hören ein brummendes Gerausch. Die Luftung arbeitet noch eine Minute weiter, nach dem das Kochfeld ausgeschaltet wurde.
Kochtöpfe

Induktionstaugliches Kochgeschirr
Für das Kochen auf Induktionskochfeldern ist eine besondere Qualität der Kochtopfe erforderlich.
Achtung!
-
Das Kochgeschirr, das Sie zum Kochen auf dem Gasherd verwendet haben, ist zum Kochen auf dem Induktionsherd nicht geeignet.
-
Verwenden Sie nur Kochtopfe die zum Kochen auf Induktionskochfeldern und elektrischen Kochfeldern geeignet sind und:
einen dicken Boden (mindestens 2,25~mm ) und abenen Boden besitzen.
- Verwenden Sie am besten Kochtopfe mit der Aufschrift "Class Induction" ("Induktionsklasse").

Tipp
Ob ein Kochtopf induktionstauglich ist, können Sie auch selbst überprüfen und davon mit einem Magneten. Der Kochtopf ist induktionstauglich, wenn der Magnet vom Kochtopfboden angezogen wird.
| Induktionstauglich Nicht induktionsstauglich | |
| Spezialkochtopfe aus rosfreiem Stahl | Tongeschirr |
| Kochgeschirr für Induktionsherde Rostfreiern Stahl | |
| Beständige Emailkochtopfe Porzellan | |
| Emaillierte Kochtopfe aus Gusseisen | Kupfer |
| Kunststoff | |
| Aluminium | |

Achtung!
Seien Sie mit Emailkochtopfen vorsichtig:
- wenn Sie die Kochzone auf eine sehr hohe Leistungsstufe einstellen und der Kochtopf zu trocken ist, kann das Email vom Kochtopf absplattern;
- der Kochtopboden kann sich wölben und bzw. wegen Überhitzung oder bei zu hoher Leistungsstufe.

Achtung!
Verwenden Sie niemals Kochtopfe mit gewölbtem oder unebenem Boden. Die Wölbung des Kochtopbodens kann eine unerwänschte Wirkung auf den Überhitzungsschutz ausüben, da sich die Kochzone zu stark erwämen kann. Folglich kann die Glaskeramikfläche der Kochzone einen Sprung erleiden bzw. kann der Kochtopboden schmelzen. Die Garantiedeckt keine Schäden, die als Folge des Gebrauchs von ungeeigneten Kochtopfen entstehen oder wenn die gesamte Flüssigkeit aus dem Kochtopf verdampft.
Minimaler Kochtopdurchmesser
Der Durchmesser des Kochtopfes muss mindestens 12 cm große sein. Sie erhalten die besten Ergebnisse, wenn Sie in einem Kochtopf kochen, dessen Durchmesser dem Durchmesser der Kochzone entspricht. Wenn der Durchmesser des Kochtopfes zu Klein ist, wird sich die Kochzone nicht einschalten.
Schnellkochtopfe
Das Induktionskochfeld ist sehr gut zum Kochen mit Schnellkochtopfen geeignet. Die Kochzone reagiert sehr schnell, deswegen erreicht der Schnellkochtopf sehr schnell seinen Betriebsdruck. Nachdem Sie die Kochzone ausgeschaltet haben, wird der Garvorgang sofort unterbrochen.
Einschalten des Kochfeldes und Einstellung der Leistungsstufe


Es konnen 9 verschiedene Leistungsstufen eingestellt werden. Das Gerät verfügt auch über eine Ankochstufe, die durch den Buchstaben "P" auf dem Display angezeigt wird (siehe Seite 14 "Ankochstufe").
- Stellen Sie den Kochtopf auf die Kochzone.
- Berühren Sie die Ein-/Aus-Taste.
- Es ertont ein kurzer Pfeifton, auf der Anzeige jeder Kochzone wird das Symbol "0" angezeigt. Wenn sie innerhalb der nächsten 10 Sekunden keine einzige Taste berühren, schaltet sich das Kochfeld automatisch aus.
- Berühren Sie mit dem Finger den Gleitsensor "MultiSlider" der gewünschten Kochzone und wahren Sie durch Gleiten des Fingers auf dem Gleitsensor die gewünschte Leistungsstufe aus. Die Kochzone schaltet sich�始 mit der eingestillten Leistungsstufe ein (wenn es einen aufgestelltten Kochtopf erkennt).
Durch Gleiten des Fingers nach rechts wird die Leistungsstufe erhöht, durch Gleiten nach links wird sie verringgert.
Es ist auch eine direkte Einstellung möglich. Berühren Sieden Gleitsensor "MultiSlider" ungebär in der Mitte und der entsprechende Wert wird eingestellt.
Ausschalten des Kochfeldes
Ausschalten einer Kochzone
Die Kochzone ist eingescheltet. Auf der Anzeige wird die Leistungsstufe (Einstellung) zwischen 1 und 9 oder "P" angezeigt.
- Berühren Sie mit dem Finger den Gleitsensor "MultiSlider" der gewünschten Kochzone und wahren Sie durch Gleiten des Fingers (nach links) auf dem Gleitsensor die Einstellung "0" aus. oder:
- wahlen Sie direkt die Einstellung "0" aus, indem Sie die linke Seite des Gleitsensors der gewünschten Kochzone berühren. Es ertont ein kurzer Pfeifton, auf der Anzeige wird das Symbol "0" angezeigt. Wenn auf allen Kochzonen die Leistungsstufe "0" eingestellt ist und Sie keine einzige Taste berühren, schaltet sich nach 10 Sekunden das Kochfeld automatisch aus.
Gleichzeitiges Ausschalten aller Kochzonen
Mehrere Kochzonen sind aktiv.
- Berühren Sie kurz die Ein-/Aus-Taste, damit alle Kochzonen gleichzeitig ausgeschaltet werden. Es ertont ein Pfeifton. Hein einziges Indikatorlampchen leuchtet. Das Kochfeld ist jetzt ausgeschaltet.
Kochtopferkennung
Wenn die Kochzone, nachdem Sie die Leistungsstufe eingestellt haben, keinen (induktionstauglichen) Kochtopf erkennt, blinken abwechselnd das Symbol der Topferkennung und die gewährte Leistungsstufe, die Kochzone bleibt kalt. Wenn Sie 1 Minute nach dem Einsatzlen der Kochzone keinen (induktionstauglichen) Kochtopf auf die Kochzone stellen, schaltet sich die Kochzone automatisch aus (mehr auf Seite 11 und 12 "Kochtopfe").
Restwärmeanzeige
Die Kochzone, die längerere Zeit in Betrieb oder mit einer hohen Leistungsstufe in Betrieb war, ist noch eine Minute nach dem Ausschalten warm. Auf dem dazugehörigen Display erscheint das Symbol "H", das so lange angezeigt wird, bis die Kochzone abgekühlt ist.
Ankochstufe

Die Funktion Ankochstufe ermitteligt das kurzzeitige Ankochen der Speise bei maximaler Leistungsstufe (max. 10 Minuten). Nach Beendigung der Ankochfunktion wird die Leistungsstufe automatisch auf die Stufe 9 umgeschaltet.

Die Ankochstufe steht nicht zur Verfügung, wenn die Überbrückungsfunktion aktiviert wurde.
Einschalten der Ankochstufe
Das Kochfeld ist eingeschaltet und auf der Kochzone ist ein entsprechender Kochtopf aufgestellt.
- Berühren Sie mit dem Finger den Gleitsensor "MultiSlider" der gewünschten Kochzone und wahren Sie durch Gleiten des Fingers auf dem Gleitsensor (nach rechts) die Ankochstufe aus. (Sie konnen den Multislider auch verwenden, wenn die Leistungsstufe schon eingestellt ist).
Auf der Anzeige wird das Symbol "P" angezeigt. Die Ankochfunktion wird sofort aktiviert.
Ausschalten der Ankochfunktion
Die Ankochfunktion ist aktiviert, auf der Anzeige wird das Symbol "P" angezeigt.
- Berühren Sie mit dem Finger den Gleitsensor "MultiSlider" der gewünschten Kochzone und wahren Sie durch Gleiten des Fingers auf dem Gleitsensor (nach links) die gewünschte Leistungsstufe aus.
Automatisches Aufwärmen
Die Aufwärmfunktion erhöht vorübergehend die Kochstufe auf die Stufe '9', damit der Inhalt des Kochtopfes schneller aufgewärmt wird. Diese Funktion steht für die Leistungsstufen 1-8 zur Verfügung.

Einschalten der automatischen Aufwärmfunktion
Das Kochfeld ist eingeschaltet und auf der Kochzone steht ein entsprechender Kochtopf.
- Berühren Sie den Gleitsensor der gewünschten Kochzone und wahlen Sie durch Gleiten des Fingers auf dem Gleitsensor die gewünschte Einstellung aus, halten Sie darauf auf den Finger 3 Sekunden lang auf dem Gleitsensor.
Auf dem Display blinken abwechselnd das Symbol "A" und die gewählte Einstellung; die automatische Aufwärmfunktion ist jetzt aktiv.
Wenn Sie eine niedrigere Leistungsstufe auswahlen, wird die automatische Aufwärmfunktion ausgeschaltet.
-
Wenn Sie eine höhere Leistungsstufe auswahlen, passt das Gerät die Dauer der automatischen Aufwärmfunktion der neuen Einstellung an.
-
Gleich nach dem die automatische Aufwärmfunktion abgelaufen ist, schaltet sich die Funktion aus und die Kochzone kocht mit der eingestillten Leistungsstufe weiter.
Dieunte Tabellezeigt die Dauer der automatischen Aufwarmfunktion fur jeder Leistungsstufe an.
| Einstellung | 1 2345678 | ||||||
| Sekunden | 40 72 120 176 256 432 |
Ausschalten der automatischen Aufwärmfunktion
Das Kochfeld ist eingeschaltet. Auf der Anzeige blinken abwechselnd das Symbol "A" und die ausgewählte Leistungsstufe.
- Berühren Sie mit dem Finger den Gleitsensor "MultiSlider" der gewünschten Kochzone und wahren Sie durch Gleiten des Fingers auf dem Gleitsensor (nach links) die gewünschte Leistungsstufe aus. oder:
- Wahlen Sie direkt eine niedrigere Leistungsstufe aus, indem Sie die linke Seite des Gleitsensors der gewündsten Kochzone berühren. Auf dem Display wird die neue Einstellung angezeigt, das Symbol "A" blinkt nicht mehr.
Hinterinanderliegende Kochzonen
- Hintereinanderliegende Kochzonen über aufeinander Einfluss aus.
Wenn Sie gleichzeitig zwei hintereinanderliegenden Kochzonen benutzen, wird die Leistung automatisch auf beiden Kochzonen aufgegetelt. Diese Einfluss tritt nur bei der Einstellung der hochsten Leistungsstufen (9 oder mehr) auf. Wenn Sie bei einer Kochzone die Ankochstufe einstellen, schaltet sich die Leistungsstufe der anderen Kochzone automatisch auf eine niedrigere Leistungsstufe um.
- Wenn Sie bei einer Kochzone die Ankochstufe einstellen und die andere Kochzone auf die Leistungsstufe 9 oder Ankochstufe einstellen möchten, wird die Kochzone, bei welcher die Ankochstufe eingestellt war, automatisch auf eine niedrigere Leistungsstufe eingestellt.
- Nebeneinanderliegende Kochzonen üben aufeinander keinen Einfluss aus. In thisem Fall können Sie bei beiden Kochzonen die Ankochstufe einstehen.
Betrieb mit Überbrückung
Der Betrieb mit Überbrückung wird durch Drücken der Überbrückungstaste eingeschaltet. Beide Kochzonen (vorne und hinter) werden nach dem Aktivieren dieser Funktion mit denselben Einstellungen betreiben. Die Anzeige und die Tasten für die hinteren Kochzonen sind in thisem Fall nicht in Betrieb. Die Änderung der Einstellungen ist in thisem Fall nur mit dem Gleitsensor für die beiden vorderen Kochzonen möglich. Wenn die Zeitschaltuhr aktiviert ist, leuchtet gleichzeitig das zugehörige Indikatorlampchen für beide überbrachte Kochzonen.



Überbrückung aktivieren
- Stellen Sie den Kochtopf (oder 2 bzw. 3 Kochtopfe) auf die Kochzonen, bei welchen Sie die Überbrückung einstellen möchten.
- Berühren Sie die Ein-/Aus-Taste. Es ertont ein kurzer Pfeifton, auf der Anzeige jeder Kochzone wird das Symbol "0" angezeigt. Wenn sie innerhalb der nachsten 10 Sekunden keine einzige Taste berühren, schaltet sich das Kochfeld automatisch aus.
- Drücken Sie die Überbrückungstaste auf der linken oder auf der rechten Seite. Das Indikatorlampchen der Überbrückungsfunktion leuchtet auf und auf der Anzeige erscheint das Brückensymbol.
-
Berühren Sie mit dem Finger den Gleitsensor "MultiSlider" der Kochzonen, die überbrück werden sollen, und wahren Sie durch Gleiten des Fingers auf dem Gleitsensor die gewünschte Einstellung aus. Die Kochzone schaltet sich sofort mit der eingestillten Leistungsstufe ein (wenn sie einen aufgestillten Kochtopf erKENnt).
-
Sie können die überbrachte Kochzone mit der Zeitschaltuhr verbinden; in thisem Fall wird auf dem Display auch das Symbol der Zeitschaltuhr angezeigt.
Ausschalten der Überbrückungsfunktion
- Drücken Sie erneut die Überbrückungstaste auf der linken Seite oder auf der rechten Seite. Das Indikatorlampchen der Überbrückungsfunktion und das Brückensymbol verschwinden von der Anzeige. Die Leistungsstufe der Kochzonen ist auf "0" eingestellt.
Warmhaltefungtion
Die Warmhaltefunktion hält die Temperatur der fertigen Speise bei 42^ C aufrecht. Die ausgewählte Kochzone ist mit einer niedrigen Leistungsstufe in Betrieb. Wenn diese Funktion aktiviert ist, wird auf der Anzeige das Symbol der Warmhaltefunktion angezeigt.
Aktivieren der Warmhaltefunktion
These Einstellung liegt zwischen "0" und "1", berühren Sie deshalb die linke Seite des Gleitsensors MultiSlider. Das Kochfeld ist eingeschaltet und auf der Kochzone ist ein entsprechender Kochtopf aufgestellt.
- Berühren Sie mit dem Finger den Gleitsensor "MultiSlider" der gewünschten Kochzone und wahren Sie durch Gleiten des Fingers auf dem Gleitsensor (nach rechts) die entsprechende Einstellung (zwischen "0" und "1") aus. Auf dem Display erscheint das Symbol "u", die Warmhaltefungtion ist nun aktiviert.
Ausschalten der Warmhaltefunktion
Die Warmhaltefunktion ist aktiviert. Auf der Anzeige wird das Symbol "u" angezeigt.
- Berühren Sie mit dem Finger den Gleitsensor "MultiSlider" der gewünschten Kochzone und wahren Sie durch Gleiten des Fingers auf dem Gleitsensor (nach links) die Einstellung "0" aus. Auf dem Display wird das Symbol "0" angezeigt. Die Kochzone ist nun ausgeschaltet.
Kindersperre
Ihr Induktionskochfeld ist mit einer Kindersperre ausgestattet, welche das Sperren der Bedienungselemente des Geräts vor dem Reinigen oder wenn Sie verhindern möchten, dass Kinder unbeabsichtigt eine Kochzone einschalten, möglich.


Zeitschaltuhr
Aktivieren der Kindersperre
Sie konnen die Kindersperre in jeder Betriebsart aktivieren.
- Um die Kindersperre zu aktivieren, berühren Sie die Ein-/Aus-Taste und halten Sie sie 3 Sekunden lang gedrückt.
Das rote Indikatorlampchen oberhalb der Ein-/Aus-Taste leuchtet und es ertont ein langer Pfeifton. Alle aktiven Kochzonen werden ausgeschaltet. - Um die Kindersperre auszuschalten, berühren Sie erneut die Ein-/Aus-Taste und halten Sie sie 3 Sekunden lang gedrückt.
Das rote Indikatorlampchen oberhalb der Ein-/Aus-Taste gehen aus und es ertont ein langer Pfeifton.
Tipp
Aktivieren Sie die Kindersperre immer vor dem Reinigen des Kochfeldes, um ein unbeabsichtigtes Einsatz der Kochzonen zu verhindern.
Sie konnen für jeder Kochzone auch die Zeitschaltuhr einstellen. Sie konnen die Zeitschaltuhr für alle Kochzonen gleichzeitig einstellen. Das Kochfeld verfügt auch über einem Kurzzeitwecker zum Kochen von Eiern. Sie konnen sowohl die Zeitschaltuhr als auch den Kurzzeitwecker auf max. 99 Minuten einstellen.
Der Kurzzeitwecker arbeitet genauso wie die Zeitschaltuhr, mit dem Unterschied, dass der Kurzzeitwecker nicht mit der Kochzone verbunden ist. Der eingestellte Kurzzeitwecker zählt die Zeit auch dann ab, wenn die Kochzone ausgeschaltet ist. Sie können den Kurzzeitwecker nur dann aushalten, wenn die entsprechende Kochzone eingeschaltet ist.
| Zeitschaltuhr Kurzzeitwecker | |
| Die Zeitschaltuhr muss mit der Kochzone verbunden sein. Das bedeutet, dass sich die Kochzone ausschaltet, wenn die eingestellte Garzeit abgelaufen ist. | Der Kurzzeitwecker ist nicht mit der Kochzone verbunden. Der Kurzzeitwecker zählt die Zeit auch dann ab, wenn die Kochzone ausgeschaltet ist. |


Einschalten des Kurzzeitweckers
Das Kochfeld ist eingescheltet, auf allen Display wird das Symbol "0" angezeigt. (Keine einzige Kochzone ist in Betrieb).
- Drücken Sie einmal die Taste der Zeitschaltuhr. Auf der Anzeige erscheint das Symbol "00" und das Indikatorlampchen blinkt. Auf der Anzeige der Zeitschaltuhr wird das Symbol der Zeitschaltuhr nicht angezeigt.
-
Verwenden Sie die Tasten “-” und “+”, um die gewünschte Zeit einzustellen.
-
Drücken Sie erneut die Taste der Zeitschaltuhr, um die Einstellungen zu bestätigten.
Der Kurzzeitwecker beginnt die Zeit abzuzahlen.
Nach 10 Sekunden schaltet sich die Kochzone automatisch aus, der Kurzzeitwecker ist noch immer in Betrieb.
Wenn Sie innerhalb von 10 Sekunden mit den Tasten “-” und “+” die gewünschte Zeit nicht einstellen, schaltet sich der Kurzzeitwecker automatisch aus.
Ausschalten des Kurzzeitweckers
Das Kochfeld ist eingeschaltet, auf allen Anzeigen wird das Symbol "0" angezeigt. (Keine einzige Kochzone ist in Betrieb).
- Drucken Sie einmal die Taste der Zeitschaltuhr.
Auf der Anzeige erscheint die Restzeit und das Indikatorlampchen blinkt. Auf der Anzeige der Zeitschaltuhr wird das Symbol der Zeitschaltuhr nicht angezeigt.
- Berühren Sie die Taste “-” und halten Sie sie gedrückt, bis auf der Anzeige das Symbol “01” erscheint.
Drücken Sie erneut die Taste “-”; auf dem Display erscheidt das Symbol “00”.
Der Kurzzeitwecker ist nun ausgeschelt.
Sie können den Kurzzeitwecker auch ausschalten, indem Sie gleichzeitig die Tasten - und + + berühren.



Einstellung und Einschalten der Zeitschaltuhr
Das Kochfeld ist eingeschaltet, mindestens eine Kochzone ist aktiv (Sie können die Zeitschaltuhr nur mit aktiven Kochzonen verbinden).
- Drücken Sie mehrmals die Taste der Zeitschaltuhr, damit das Indikatorlampchen der Zeitschaltuhr (neben der entsprechenden Kochzone) auf der Anzeige zu blinken beginnt.
Auf der Anzeige wird das Symbol "00" angezeigt. Auf der Anzeige der Zeitschaltuhr erscheint der Indikator der Zeitschaltuhr, auf der Anzeige der entsprechenden Kochzone erscheint das Symbol der Zeitschaltuhr; beidenblinken.
- Verwenden Sie die Tasten “-” und “+”, um die gewünschte Zeit einzustellen.
- Drücken Sie erneut die Taste der Zeitschaltuhr, um die Einstellungen zu bestätigten.
Die Zeitschaltuhr beginnnt die Zeit abzuzahlen.
Wenn Sie innerhalb von 10 Sekunden mit den Tasten “-” und “+” die gewünschte Zeit nicht einstehen, schaltet sich die Zeitschaltuhr automatisch aus.
- Wiederholen Sie dieselben Schritte, wenn Sie die Zeitschaltuhr für eine weitere aktivierte Kochzone einstehen möchten.

Achtung!
Wenn zwei oder mehrere Zeitschaltuhren aktiv sind, wird auf der Anzeige nur die kürzeste Restzeit und die Zeitschaltuhr angezeigt, auf welcher diese Zeit eingestellt ist.
Ausschalten der Zeitschaltuhr
- Drücken Sie mehrmals die Taste der Zeitschaltuhr, damit das Indikatorlampchen der Zeitschaltuhr (neben der entsprechenden Kochzone) auf der Anzeige zu blinken beginnt. Auf der Anzeige erscheint die Restzeit und das Indikatorlampchen blinkt.
- Berühren Sie die Taste “-” und halten Sie sie gedrückt, bis auf der Anzeige das Symbol “01” erscheint. Drücken Sie erneut die Taste “-”; auf der Anzeige erscheint das Symbol “00”.
Die Zeitschaltuhr ist nun ausgeschelt.
Sie können die Zeitschaltuhr auch ausschalten, indem Sie gleichzeitig die Tasten - und ^+ berühren.
Ausschalten des Alarms der Zeitschaltuhr/des Kurzzeitweckers
Wenn die auf der Zeitschaltuhr/dem Kurzzeitwecker eingestellte Zeit abgelaufen ist, ertont ein akustischer Alarm.
- Sie können den akustischen Alarm durch Berühren einer beliebigen Taste ausschalten.

Tipp
- Wenn Sie die Garzeit Schneller einstellen möchten, berühren Sie die Taste “-” oder “+” und halten Sie sie gedrückt.
GesundesKochen
Rauchpunkte für verschiedene Öle
Damit ihre Gerichte so gesund wie möglich zubereitet werden, empfeihlt Gorenje+, das geeignete Öl im Hinblick auf die Temperatur des Frittier- oder Röstvorgangs zu wahren. Jede Ölsorte hat einen anderen Rauchpunkt, bei welchem toxische Gase freigesetzt werden. Dieunte Tabelle stellt die Rauchpunkte fur die einzeln Olsorten dar.
| Ölsorte Rauchpunkt °C | |
| Extra Virgin Olivenöl 160 °C | |
| Butter 177 °C | |
| Kokosmilch 177 °C | |
| Rapsöl 204 °C | |
| Virgin Olivenöl 216 °C | |
| Sonnenblumenkernöl 227 °C | |
| Maisöl 232 °C | |
| Erdnussöl 232 °C | |
| Reisöl 255 °C | |
| Olivenöl 242 °C |
Gareinstellungen
Da die Einstellungen von der Menge und vom Inhalt des Kochtopfas abhängig sind, sind die Angaben in der Tabelle als allgemein gültige Werte bzw. Richtwerte zu interpretieren.
Verwenden Sie die Ankochkochstufe und die Leistungsstufe 9:
- zum Schnellen Erwärmen von Speisen und Flüssigkeiten bis zum Siedepunkt;
- zum raschen Rösten von Gemüse;
zum Erhitzen von OI oder Fett; - zum Erreichen des Betriebsdruckes im Schnellkochtopf.
Verwenden Sie die Leistungsstufe 8:
zum Schmoren von Fleisch;
- zum Schmoren von Fischfilets oder flacher Fische;
- zum Zubereiten von Omeletten;
- zum Rösten von gegarten Kartoffeln;
zum Frittieren.
Verwenden Sie die Leistungsstufe 7:
- zum Zubereiten von Pfannkuchen;
- zum Panieren von dicken Fleischstücken;
zum Rosten von Speck (Fett); - zum Rösten von rohen Kartoffeln;
- zur Zubereitung von French Toasts;
- zum Backen von panierten Fischen;
Verwenden Sie die Leistungsstufen 6 und 5:
- zum Garen von größeren Mengen von Speisen, nach dem Erreichen des Siedepunktes;
zum Auftauen von festem Gemüse; - zum Panieren von dünnen Fleischstücken;
Verwenden Sie die Leistungsstufen 1-4:
zum Garen von klarer Suppe;
zum Dünsten von Fleisch;
zum Dünsten von Gemüse;
- zum Schmelzen von Schokolade;
zum Schmelzen von Kase.
Reinigung
Tipp
Aktivieren Sie vor dem Reinigen des Geräts immer die Kindersicherung.
Tägliches Reinigen des Kochfeldes
- Obwohl übergelaufene Speisen auf der Kochzone nicht festbrennen können, ist es empfehlenswert, das Kochfeld nach jedem Gebrauch zu reinigen.
- Benutzen Sie zum täglichen Reinigen des Kochfeldes einen feuchten Lappen mit etwas mildem Flüssigreiniger.
- Trocknen Sie das Kochfeld mit einem Kuchenpapiertuch oder einem weichen Kuchentuch.
Hartnackige Flecken
- Hartnäckige Flecken können Sie mit einem milden Flüssigreiniger (z.B. Geschirrspulmittel) entfern.
- Wasserflecken oder Kalksteinrechte können Sie mit einem weichen Tuch und etwas Weinessig entfern.
- Metallflecken, die beim Bewegen von Kochtopfen auf der Glaskeramikoberfläche entstehen, sind schwierig zu entfernen. Hierfür stehen verschiedene spezielle Reinigungsmittel zur Verfügung.
- Entfernen Sie übergelaufene Speisen mit einem Metallschaber. Geschmolzenen Kunststoff und Zucker können Sie am besten mit einem Glasschaber entfern.
Verwenden Sie niemals
- Verwenden Sie niemals grobe bzw. scheuernde Reinigungsmittel oder Hilfsmittel, da diese Kratzer verursachen, in welchen sich Schmutz und Kalkstein anssammeln können.
- Verwenden Sie niemals scharfe Gegenstände z.B. Drahtwolle oder Drahtbürsten.
Allgemeines

Wenn Sie auf der Glaskeramikoberfläche einen Sprung (auch einen ganz kleinen) entdecken, schalten Sie das Kochfeld sofort aus, trennen Sie es vom elektrischen Versorgungsnetz oder schalten Sie die automatische Sicherung aus bzw. schrauben Sie die Sicherung im Sicherungskosten hereaus; falls das Kochfeld fest an das elektrische Versorgungsnetz angeschlossen ist, schalten Sie den Hauptschalter am elektrischen Kabel aus. Rufen Sie den Kundendienst an.
Tabelle: Störungen und Abhilfe
Wenn das Kochfeld nicht so Funktioniert, wie es sollte, so bedeutet das nicht, dass es zu einer Störung gekommen ist. Versuchen Sie die Störung anhand der unteren Tabelle zuerst selbst zu beheben.
| Symbol Mögliche Ursache Abhilfe | ||
| Beim ersten Einschalten des Kochfeldes erscheinen auf den Anzeigen Symbole. | Das ist eine übliche Erscheinung beim Einschalten bzw. ersten Gebrauch. | Normale Funktion. |
| Der Ventilator ist noch eine Minute in Betrieb, obwohl das Kochfeld ausgeschalt ist. | Das Kochfeld kühlt ab. Normale | Funktion. |
| Beim ersten Gebrauch entweicht aus dem Gerät ein etwas unangenehmern Geruch. | Die neuen Heizelemente werden erhinitzt. | Das ist vollig normal; nach einigen Garvorgängen verschwindet der Geruch von selbst. Wir empfehlen Ohnen, die Küche zu lüften. |
| Aus dem Kochfeld ertönt ein leises kratzendes Geräusch. | Dieses Geräusch wird durch den Leistungsbegrenzer an den vorderen und hinteren Kochzonen hervorgerufen. Ein ähnliches Geräusch kann auch bei niedrigen Leistungsstufen entstehen. | Normale Funktion. |
| Während des Garvorgangs ist ein Geräusch vom Kochtopf hörbar. | Die Geräische sind Folge des Energieflusses zwischen der Kochzone und dem Kochtopf. | Bei hohen Listungsstufen ist das bei einigen Kochtopfen eine normale Erscheinung. Diese Erscheinung kann weder den Kochtopf noch die Kochzone beschädigen. |
| Sie haben eine Kochzone eingeschaltet, die Anzeige blinking jedoch weiter. | Der Kochtopf ist nicht induktionstauglich oder sein Durchmesser ist kleiner als 12 cm. | Verwenden Sie induktionstaugliche Kochtopfe – mehr darüber auf den Seiten 11 und 12. |
| Die Kochzone schaltet sich plötzlich aus und es ertont ein akustisches Signal. | Die auf der Zeitschaltuhr eingestellte Zeit ist abgelaufen. | Schalten Sie das akustische Signal durch Berühren einer beliebigen Taste aus. |
| Die Kochzone funktioniert nicht, auf der Anzeige ist kein Symbol sightbar. | Es ist keine Stromversorgung vorhanden - eventuell beschädigtes Stromkabel oder unsachgemäß Verbindung mit dem elektrischen Versorgungsnetz bzw. Stromausfall. | Überprüfen Sie die Sicherungen oder den Schalter (wenn kein Steckervorhanden ist). |
| Die Sicherung brennt sofort nach dem Einsatzten des Kochfeldes durch. | Das Kochfeld ist nicht fachgerecht angeschlossen. | Überprüfen Sie den Anschluss des Geräts an das elektrische Versorgungsnetz. |
| Das Kochfeld schaltet sich einfach aus. | Sie haben unabsichtlich die Ein-/Aus-Taste betätig. | Schalten Sie das Kochfeld wieder ein. |
| Fehlercode ER22. Das Bedienfeld ist verschmutzt oder es ist mit Flüssigkeit bedeckt. | Reinigen Sie das Bedienfeld. | |
| Fehlercode E3. Sie verwenden | Kochtopfe, die nicht induktionstauglich sind. | Verwenden Sie inductionstaugliche Kochtopfe - mehr darüber auf den Seiten 11 und 12. |
| Fehlercode'. | Die Gleitsensor ist zu lange betätig. | Die Gleitsensor nicht zu lange betätigten. |
| Fehlercode E2. Die Kochzone hat sich überhitzt. | Warten Sie, bis die Kochzone abkühlt und garen Sie mit einer niedrigeren Leistungsstufe weiter. | |
| Fehlercode U400. Das kochfeld ist falsch angeschlossen oder die Netzspannung ist zu hoch. | Lassen Sie ihren Anschluss ändern. | |
| Weitere Fehlercodes. Generator | defekt. Mit der Serviceabteilung | Kontakt aufnehmen. |
Was müssen Sie beachten
Sicherheitshinweise zur Installation
- Der Anschluss muss in Einklang mit den nationalen und lokalen Vorschriften durchgeführt werden.
Das Gerat muss immer geerdet sein. - Das Gerätarf nur von einem entsprechend geschulten Elektrofachmann durchgeführt werden.
- Verwenden Sie zum Anschluss ein entsprechend attestierten Stromkabel (z.B. Kabel vom Typ HO7RR) in Einklang mit den gultigen Installationsvorschriften. Die Kabelummantelung soll aus Gummi sein.
- Das Anschlusskabel soll frei hangen und darf nicht durch die Schublade verlegt werden.
- Bei Festanschluss des Geräts an das elektrische Versorgungsznetz ist installationsseitig am Stromversorgungskabel eine allpolige Trennvorrichtung mit mindestens 3 mm Kontaktabstand anzubRINGen, die alle Polleiter unterbricht.
- Ein beschädigtes Anschlusskabelarf nur vom Hersteller, von einem vom Hersteller autorisierten Kundendienst oder von einer anderen fachlich befähigten Person ausgetauscht werden, da ein solcher Eingriff fur Laien sehr gefährlich sein kann.
Die Arbeitsplatte, in welche das Kochfeld eingebaut werden soll, muss eben sein. - Die Wände und die Arbeitsflächen um das Gerät müssen hitzebeständig sein und bereits mindestens 85^ C. Obwohl sich das Gerät selbst nicht erhitzt, kann die von den Kochtopfen abgegebene Hitze die Wand verfüllen oder deformieren.
Die Garantie deckt keine Schäden, die als Folge eines unsachgemäßen Einbau, Gebrauchs oder Installation entstehen. - Der Anschlusspunkt, die Wandsteckdose und/oder der Stecker,müssen immer zuganglich sein.

Abstände
Zum sicheren Gebrauch des Kochfeldes ist es sehr wichtig, dass um das Kochfeld genug freier Raum gelassen wird. Überprüfen Sie, ob die Sicherheitsabstände ausrechend groß sind.
- 600 mm

EinbaumaBe
Die Einbaumaße und -ausschnittte sind auf der unteren Zeichnung dargestellt.

Wenn das Kochfeld breiter ist als das Kuchenelement und die Arbeitsplatte)dinner ist als 48~mm ,sagen Sie eine Öffnung in beiden Seitenwände des Kuchenelements, das Gerät darf das Element nicht berühren.
Maße für den Einbau in das Kuchenelement
x < 48mm:y = 48mm - x x > = 48mm:y = 0mm



Beluftung
Die Elektronik im Gerät braucht Kühlung. An der Unterseite des Gerätes befinden sich die Luftungsöffnungen. An der Unterseite des Geräts befinden sich Luftungsöffnungen. Die Möglichkeit muss gegeben sein, dass durch diese Öffnungen kühle Luft ausgeblasen werden kann. Bei einer unzureichenden Luftumwälzung schaltet sich das Gerät nach kurzer Zeit aus. Vorne an dem Gerät befinden sich Luftungsschlitze.
Einbau oberhalb eines Ofens, einer Schublade oder einer festen Blende Die Beluftung geschieht uber die Leiste (A) und die Rückseite des Schranks (B). Sagen Sie die Beluftungsöffnungen (mind. 100cm^2 ) aus. Die Luftzufuhr A ist nicht erforderlich, wenn, zusammen mit Öffnung B, eine andere Öffnung vorhanden ist, durch die Luft angezogen werden kann.
Sorgen Sie damit, dass die Queratte die Luftdurchfuhr nicht behind. Hobeln oder sagen Sie die Queratte C wenn notig sauber ab.
Eine ausreichende Belüftung (Ein- und Auslass) ist äußertst wichtig.
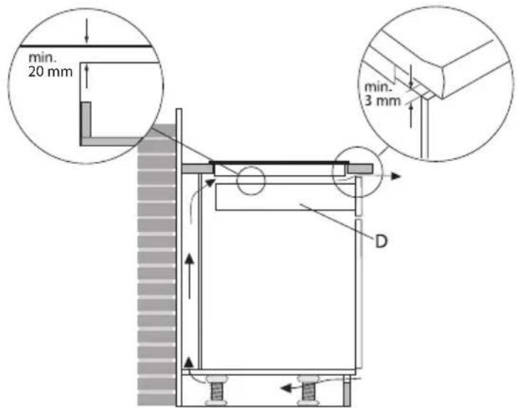
- Bringen Sie an der Vorderseite des Kuchenschranks eine Luftungsöffnung an. Diese Öffnung muss mindestens so breit sein, wie das Gerät selbst. Sie muss mindestens 3 mm hoch sein, wenn das Gerät über einer Schublade oder einem Regal installiert wird. Achten Sie darauf, dass zwischen der Kochplatte oder dem Regal „D" ein Abstand von mindestens 20 mm besteht.
- Wenn es nicht möglich ist, eine Lüftungsöffnung herzustellen, stellen Sie sicher, dass zwischen der Kochplatte und der Schublade/dem Regal ein Abstand von mindestens 60~mm besteht.

Anschluss an das elektrische Versorgungsnetz
Üblicher Anschluss:
3 Phasen, 1 Neutralleiter (3 1N, 400V / 50Hz
Die Spannung zwischen den Phasenleitern und dem Neutraleiter beträgt 230V . Die Spannung zwischen zwei Phasenleitern beträgt 400V . Installieren Sie zwischen den Anschlusspunkten 4-5 eine Verbindungsbrücke. Die 3. Phase überträgt kein Last. Die Gruppen müssen über Sicherungen mind. 16 A (3 x) verfügen.
Der Leitungsquerschnitt des Anschlusskabels muss mindestens 2,5mm^2 betragen.

2 Phasen, 2 Neutraleiter (2 2N, 230V / 50Hz
Die Spannung zwischen den Phasenleitern und dem Neutraleiter beträgt 230V
Die Gruppen müssen über Sicherungen mind. 16 A (2 x) verfügbar. Der Leitungsquerschnitt des Anschlusskabels muss mindestens 2,5mm^2 betragen.

Spezieller Anschluss:
- Einphasiger Anschluss (1 1N, 230 V~/ 50Hz):
Die Spannung zwischen dem Phasenleiter und dem Neutraleiter beträgt 230V . Installieren Sie zwischen den Anschlusspunkten 1-2 und 4-5 Verbindungsbrücken. Die Gruppe muss über eine 32 A Sicherung verfügen. Der Durchmesser des Anschlusskabels muss mindestens 6mm^2 detragen.


Gewährleisten Sie den entsprechenden Anschluss mit Brücken auf dem Anschlussblock, wie es auf folgenden Abbildungen dargestellt ist.
Befestigen Sie das Kabel mit einer Klammer, die das Herausziehen des Kabels verhindert, und schreiben Sie die Abdeckung.
Der Anschlusspunkt, die Wandsteckdose und/oder der Stecker,müssen immer zuganglich sein.
Building in

Überprüfen Sie, ob die Maße des Kuchenelementes und der Ausschnittte den für die Luftung erforderlichen Maßen und Abständen entsprechen.

Dichten Sie abgesagte Teile der Holz- oder Kunststoff-Arbeitsplatte mit einem entsprechender Versiegelungslack ab, um zu verhindern, dass die Arbeitsplatte wegen Feuchtigkeit quillt.

Legen Sie das Kochfeld mit der Glaskeramikfläche auf die Arbeitsplatte.

SchlieBen Sie das Stromkabel laut den Hinweisen auf den Seiten 32 und 33 an.
Entfernen Sie die Schutzschicht vom Dichtband und kleben Sie es in die Nut des Alu-Profils oder an den Rand der Glasplatte. Kleben Sie das Dichtband nicht direkt in die Ecken, sondern dichten Sie diese mit vier separates Bandstücken ab.

Drehen Sie das Kochfeld wieder um und legen Sie es in die Einbauöffnung.
Schließen Sie das Kochfeld an das elektrische Versorgungsznetz an. Die Anzeigen leuchten für kurze Zeit auf. Das Gerät ist jetzt betriebsbereit.
Überprüfen Sie, ob das Kochfeld ordnungsgemäß Funktioniert: Falls das Kochfeld nicht fachgerecht an das elektrische Versorgungsnetz angeschlossen wurde, wird auf den Anzeigen nichts angezeigt, abhängig vom Fehler.
Technische Daten
Das Gerät entspricht allen gültigen EG-Richtlinien.
| Kochfeldtyp IDK694ONY | |
| Induktion x | |
| Anschluss 230V - 50Hz | |
| Maximale Leistung der Kochzonen | |
| Vorne links 3,7 kW (octa 180x220 mm) | |
| Hinten links 3,7 kW (octa 180x220 mm) | |
| Hinten rechts 3,7 kW (octa 180x220 mm) | |
| Vorne rechts 3,7 kW (octa 180x220 mm) | |
| Rechts in der Mitte - | |
| Anschlussleistung | |
| L1 3700 W | |
| L2 3700 W | |
| L3 | |
| Gesamtanschlussleistung 7400 W | |
| Einbaumαße | |
| Breite x Länge des Kochfeldes 644 x 5 | 22 mm |
| Einbauhöhe vom oberen Rand derArbeitsplatte | 48 mm |
| Breite x Länge des Ausschnittes 560 x | 490 mm |
| Minimalabstand vom Ausschnitt biszur Rückwand | 40 mm |
| Minimalabstand vom Ausschnitt biszur Seitenwand | 40 mm |
Entsorgung von Gerät und Verpackung
Dieses Gerät wurde unter Verwendung umweltfreundlicher Materialien hergestellt. Nach Ablauf seiner Nutzungsdauer muss es verantwortungsbewusst entsorgt werden. Informationen zur Entsorgung erhalten Sie von den zuständigen Behörden.
Die Verpackung des Gerätes ist wieder verwendbar. Folgende Materialien wurden verwendet:
Pappe;
Polyethylenfolie (PE);
- FKW-freies Polystyrol (PS-Hartschaum).
These Materialien sind umweltgerecht und nach den geltenden behörddlichen Vorschriften zu entsorgen.

Zur Erinnerung an die Verpflichtung, Elektrohaushaltsgeräte getrennt zu entsorgen, ist das Produkt mit dem Symbol der durchgestrichen Mülltonne gekennzeichnet. Das bedeutet, dass das Gerät nach der Nutzungsdauer nicht über den normalen Hausmüll entsorgt werden达标. Das Gerät muss zu einer speziellen Abfallentsorgungsstelle der Gemeinde oder einer Verkaufsstelle, die diesen Service anbietet, gebracht werden.
Getrennte Entsorgung von Haushaltsgeräten hilft damit, potentielle Gefahren für die Umwelt und die Gesundheit des Menschen durch unsachgemäß Entsorgung zu vermeiden. Es wird sicher gestellt, dass die Materialien, aus denen das Gerät besteht, wiederverwertet werden können, um so erheblich Energie und Rohstoffe einzusparen.

Konformitätserklarung
Wir erklären hiermit, dass unsere Produkte die einschlagigen
Europäischen Richtlinien, Entscheidungen und Vorschriften und die Anforderungen der aufgeführten Standards erfüllen.
EinfachAnleitung