N°3 - 935397 L14 - TV-Halterung ELECTRO DEPOT - Kostenlose Bedienungsanleitung
Finden Sie kostenlos die Bedienungsanleitung des Geräts N°3 - 935397 L14 ELECTRO DEPOT als PDF.
Benutzerfragen zu N°3 - 935397 L14 ELECTRO DEPOT
0 Frage zu diesem Gerät. Beantworten Sie die, die Sie kennen, oder stellen Sie Ihre eigene.
Eine neue Frage zu diesem Gerät stellen
Laden Sie die Anleitung für Ihr TV-Halterung kostenlos im PDF-Format! Finden Sie Ihr Handbuch N°3 - 935397 L14 - ELECTRO DEPOT und nehmen Sie Ihr elektronisches Gerät wieder in die Hand. Auf dieser Seite sind alle Dokumente veröffentlicht, die für die Verwendung Ihres Geräts notwendig sind. N°3 - 935397 L14 von der Marke ELECTRO DEPOT.
BEDIENUNGSANLEITUNG N°3 - 935397 L14 ELECTRO DEPOT
GEBRAUCHSANLEITUNG 14
Merci!
Vielen Dank, dass Sie theses ELECTRO DEPOT-Produkt gewählt haben.
Ausgewählt, getestet und empfohlen durch ELECTRO DEPOT. Die Produkte der Marke ELECTRO DEPOT garantieren Ohnen Benutzerfreundlichkeit, zuverlässige Leistung und tadellose Qualität.
Mit diesen Gerät konnen Sie sichere sein, dass sie jeder Gebrauch zufriedenstellt.
Willkommen bei ELECTRO DEPOT.
Besuchen Sie unsere Websites auf www.electrodepot.fr.

ELECTRO DEPOT

Vor der Installation der Halterung
16 Sicherheitsvorschriften
17 Lieferumfang

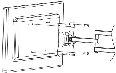
Installation der Halterung
18 Installation der Halterung
Sicherheitsvorschriften
Die Wandstruktur muss für Fernseher von 48 bis 82 cm eine Last von mindestens 20 kg/TRagen können. Anderenfalls muss die Wand verständrt werden. Die Installation muss unbedingt korrekt und entsprechend der Installationsanleitung von einem qualifizierten Techniker ausgeführ't werden. Das Nichtbefolgen dieser Anleitung kann zu schweren oder soccer tõdlichen Verletzungen führen.
Die Sicherheitsvorschriften müssen während der ganzen Installation dieser Produkte befolggt werden. Verwenden Sie eine angemessene Sicherheitsausrüstung und die geeigneten Werkzeuge für die Installation, um jedem Verletzungsrisiko zu vermeiden.
Vor der Installation theses Produkts mussen Sie die Installationsanleitung gelesen und gut verstanden haben. Lesen Sie die Installationsanleitung aufmerksam durch, um das Risiko einer Verletzung oder einer Sachbeschädigung zu vermeiden. Bewahren Sie diese Installationsanleitung an einem leicht zugänglichen Ort zur späteren Einsatz auf.
Das Gewicht des Bildschirms muss von einer stabilen Struktur getragen werden.
Bei Montage der Halterung an einer Wand mit Holzstützen muss die genaue Mitte der betroffenen Stütze vor der Installation ermittelt werden.
Nicht auf einer Struktur installieren, die Vibrationen, Bewegungen oder Stößen ausgesetzt ist. Das Nichtbefolgen dieser Vorschriften kann zur Beschädigung des Bildschirms und/oder der Oberfläche des Unterbaus führen.
Nicht in der Nähe einer Hezung, eines Kamins, in direktem Sonnenlicht, in der Nähe einer Klimaanlage oder einer direkten Wärmequelle installmenten. Das Nichtbefolgen dieser Vorschrift kann zur Beschädigung des Bildschirms führen und das Brandrisiko erhöhen.
Die Installation ist von mindestens zwei qualifizierten Personen durchzuführn. Bei Herabfallen oder falscher Handhabung des Bildschirms kann Verletzungs- und/oder Beschädigungsgefahr bestehen.
! Empfohlene Montageflächen: Holzstützen und glatter, solider Beton. Wenn die Halterung nicht auf Holz montiert wird, verwenden Sie das geeignete Material (im Handel verfügbar).
Lieferumfang














Deutsch
1

2

3a


3b


4


Denken Sie darüber, vor der Installation Ihrer LCD-Halterung den idealen Sichtwinkel einzustellen.

5

6

7
7

1 - ihre Wand muss mindestens 20kg tragen können.
2 - Vor Beginn der Installation die Anleitung genau befolgen.
3 - Zur Erleichterung der Installation empfehlen wir Ihnen, sich von einer zweiten Person herself zu lassen.
4 - Versichert Sie sich, dass die Wand, auf der Sie ihre Halterung installieren, absolut haben ist. Diese Halterung muss auf einer massiven Wand installiert werden. Wenn Sie die LCD-Halterung auf einer Hohlwand befestigen möchten, besorgen Sie sich die geeigneten Dübel und Schrauben im Fachhandel.
CONDITION DE GARANTIE
FR
Für diesen Produkt wird ab dem Verkaufsdatum* eine Garantie von 1 Jahr für Mängel infolge von Herstellungs- oder Materialfehlern gewährt. Von dieser Garantie ausgeschlossen sind Mängel oder Schäden, die durch falsche Installation, Handhabungsfehler oder unsachgemäßen Gebrauch verursacht werden.
*gegen Vorlage des Kassenbelegs.
Importé par / Geïmporteerd door / Importiert durch ELECTRO DEPOT
1 route de Vendeville
59155 FACHES-THUMESNIL
www.electrodepot.fr



Dieses Produkt wird von der Gesellschaft ELECTRO DEPOT auf den Markt gebracht, welche die Übereinstimmung des Produkts mit den geltenden Anforderungen garantiert.
Made in China
EinfachAnleitung