Support pour vidéoprojecteur - OHP-Ständer ELECTRO DEPOT - Kostenlose Bedienungsanleitung
Finden Sie kostenlos die Bedienungsanleitung des Geräts Support pour vidéoprojecteur ELECTRO DEPOT als PDF.
Benutzerfragen zu Support pour vidéoprojecteur ELECTRO DEPOT
0 Frage zu diesem Gerät. Beantworten Sie die, die Sie kennen, oder stellen Sie Ihre eigene.
Eine neue Frage zu diesem Gerät stellen
Laden Sie die Anleitung für Ihr OHP-Ständer kostenlos im PDF-Format! Finden Sie Ihr Handbuch Support pour vidéoprojecteur - ELECTRO DEPOT und nehmen Sie Ihr elektronisches Gerät wieder in die Hand. Auf dieser Seite sind alle Dokumente veröffentlicht, die für die Verwendung Ihres Geräts notwendig sind. Support pour vidéoprojecteur von der Marke ELECTRO DEPOT.
BEDIENUNGSANLEITUNG Support pour vidéoprojecteur ELECTRO DEPOT
Support pour rétroprojecteur Halterung für Overheadprojektor Steun voor overheadprojector
941416 PR15L
GUIDE D'UTILISATION 02
GEBRAUCHSANLEITUNG 12
HANDLEIDING 22
Merci!
Vielen Dank, dass Sie these S ELECTRO DEPOT- Produkt gewählt haben.
Ausgewählt, getestet und empfohlen von ELECTRO DEPOT.
Die Produkte der Marke ELECTRO DEPOT garantieren Ihnen Benutzerfreundlichkeit, zuverlüssige Leistung und tadellose Qualität.
Mit diesen Gerät konnen Sie sicherein, dass Sie jegesmal zufriedengestellt werden, wenn Sie es benutzen.
Willkommen bei ELECTRO DEPOT.
Besuchen Sie unsere Websites: www.electrodepot.fr.

ELECTRO DEPOT

Vor der Installation der Halterung
24 Sicherheitsvorschriften
26 Lieferumfang
28 Nötige Werkzeuge (nicht mitgeliefert)

Installation der Halterung
29 Deckemontage
30 Wandmontage
Sicherheitsvorschriften
Die Wandstruktur musse eine Last von mindestens 15kg tragen konnen. Anderenfalls muss die Wand verstarkt werden. Die Installation muss unbedingt korrekt und entsprechend der Installationsanleitung von einem qualifizierten Techniker ausgeführrt werden. Das Nichtbefolgenden dieser Anleitung kann zu schweren oder sogart:tödlichen Verletzungen führen.
Die Sicherheitsvorschriften müssen während der ganzen Installation theses Produkte befolgt werden. Verwenden Sie eine angemessene Sicherheitsausrüstung und die geeigneten Werkzeuge für die Installation, um jeder Verletzungsrisiko zu vermeiden.
Vor der Installation这点es Produktsmüssen Sie die Installationsanleitung gelesen und gut verstanden haben. Lesen Sie die Installationsanleitung aufmerksam durch, um das
Risiko einer Verletzung oder einer Sachbeschädigung zu vermeiden. Bewahren Sie diese Installationsanleitung an einem leicht zugänglichen Ort zur späteren Einsatz auf.
Das Gewicht des Bildschirms muss von einer stabilen Struktur getragen werden. Bei Montage der Halterung an einer Wand mit Holzstützen muss die genaue Mitte der betroffenen Stütze vor der Installation ermittelt werden.
Nicht auf einer Struktur installieren, die Vibrationen, Bewegungen oder Stößen ausgesetzt ist. Das Nichtbefolgen dieser Vorschriften kann zur Beschädigung des Bildschirms und/oder der Oberfläche des Unterbaus führen.
Nicht in der Höhe einer Heizung, eines Kamins, in direktem Sonnenlicht, in der Höhe einer Klimaanlage oder einer direkten Wärmequelle installmenten. Das Nichtbefolgen dieser Vorschrift kann zur Beschädigung des Bildschirms führen und das Brandrisiko erhöhen.
Die Installation ist von mindestens zwei qualifizierten Personen durchzuführen. Bei Herabfallen oder falscher Handhabung des Geräts kann Verletzung s- und /oder Beschädigungsgefahr bestehen.
! Empfohlene Montageflächen: Holzstützen und glatter, solider Beton. Wenn die Halterung nicht auf Holz montiert wird, verwenden Sie das geeignete Material (im Handel verfügbar).
Lieferumfang






Teil A

A


B



C



E


Teil B




Nötige Werkzeuge (nicht mitgeliefert)




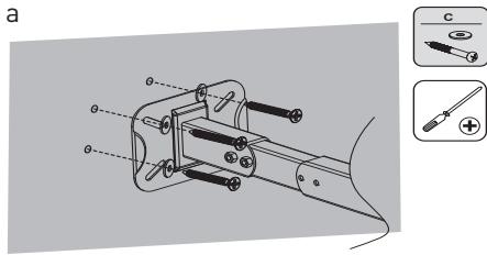
Deckemontage








b




Wandmontage









CONDITION DE GARANTIE
FR
Für diesen Produkt wird ab dem Verkaufsdatum* eine Garantie von 1 Jahr für Mängel infolge von Herstellungs- oder Materialfehlern gewährt. Von dieser Garantie ausgeschlossen sind Mängel oder Schäden, die durch falsche Installation, Handhabungsfehler oder unsachgemäßen Gebrauch verursacht werden.
*gegen Vorlage des Kassenbelegs.
Importé par / Geimposteerd door / Importiert durch ELECTRO DEPOT
1 route de Vendeville
59155 FACHES-THUMESNIL
www.electrodepot.fr



Dieses Produkt wird von der Gesellschaft ELECTRO DEPOT auf den Markt gebracht, welche die Übereinstimmung des Produkts mit den geltenden Anforderungen garantiert.
Made in PRC
EinfachAnleitung