R6705, R6719, R6707 - Wärmekissen Dreamland - Kostenlose Bedienungsanleitung
Finden Sie kostenlos die Bedienungsanleitung des Geräts R6705, R6719, R6707 Dreamland als PDF.
Benutzerfragen zu R6705, R6719, R6707 Dreamland
0 Frage zu diesem Gerät. Beantworten Sie die, die Sie kennen, oder stellen Sie Ihre eigene.
Eine neue Frage zu diesem Gerät stellen
Laden Sie die Anleitung für Ihr Wärmekissen kostenlos im PDF-Format! Finden Sie Ihr Handbuch R6705, R6719, R6707 - Dreamland und nehmen Sie Ihr elektronisches Gerät wieder in die Hand. Auf dieser Seite sind alle Dokumente veröffentlicht, die für die Verwendung Ihres Geräts notwendig sind. R6705, R6719, R6707 von der Marke Dreamland.
BEDIENUNGSANLEITUNG R6705, R6719, R6707 Dreamland
DE HEIZKISSEN SEITE 31
IT TERMOFOREO PAGINA 41
SE VARMEKUDDE SIDA 51
TYPE R6705
R6719
R6707

PROBLEMES ET SOLUTIONS
BEBILDERTER LEITFADEN





MOD.1

MOD.2

MOD.3

FIG.A

FIG.B

FIG.C
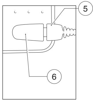
BESCHREIBUNG DES GERÄTS
- Temperatur-LEDs
- Standby-LED
- Temperaturwahler
-
EIN/AUS Wahler
-
Stecker der Steuereinheit
- Stecker des Heizkissens
- Produktetikett
TECHNISCHE DATEN
TYPE R6705 220-240 V 50/60 Hz 110 W
TYPE R6719 220-240 V 50/60 Hz 110 W
TYPE R6707 220-240 V 50/60 Hz 110 W
Sehr geehrte Kundin, sehr geehrter Kunde, wir danken Ihnen, dass Sie sich für unser Produkt entschieden haben. Wir sind gewiss, dass Sie seine Qualität und Zuverlösigkeit schätzen werden, da für uns bei seiner Planung und Herstellung die Kundenzufriedenheit an erster Stelle stand. Diese Bedienungsanleitung entspricht der Europäischen Norm EN 82079.
INHALT
| Bebilderter Leitfaden | Seite 31 |
| Beschreibung des Geräts | Seite 31 |
| Technische Daten | Seite 31 |
| Symbole | Seite 32 |
| Wichtigige Hinweise | Seite 33 |
| Gebrauch | Seite 36 |
| Reinigung und Pflege | Seite 37 |
| Lagerung des Heizkissens | Seite 38 |
| Probleme und Lösungen | Seite 38 |
| Entsorgung | Seite 39 |
| Kundendienst und Garantie | Seite 40 |
DE
SYMBOLE
| ☐ Gerät der Klasse II | ☐ Verbot |
| ☐ Lesen Sie die Bedienungsanleitung | ☐ Informationen |
| ☐ Warning | ☐ Nicht für Kinder unter 3 Jahren geeignet |
| ☐ Keine Stecknadeln einstecken | ☐ Nicht bleichen |
| ☐ Bei 30 °C waschen | ☐ Nicht chemisch reinigen |
| ☐ Beim Trocknen im Trockner ein Programm mit mittlerer Temperatur verwenden | ☐ Nicht bögeln |
| ☐ Die Steuerung nicht abdecken und sie während des Gebrauchs nicht am erhitzten Paneel ablegen. |
WICHTIGE HINWEISE.
FÜR SPÄTERES NACHLESEN AUFBEWAHREN.


WARNING! Anleitungen und Hinweise für einen sicheren Gebrauch des Geräts.

Lesen Sie vor der Verwendung these Geräts aufmerksam die Bedienungsanleitung und insbesondere Hinweise, Warnhinweise und Sicherheitshinweise und beachten Sie diese. Bewahren Sie diese Anleitung zusammen mit dem bebilderten Leitfaden zum zukünftigen Nachschlagen auf. Im Falle der Überlassung des Geräts an Dritte, ist diesen auch die vollständige Dokumentation zu übergeben.
HINWEIS: Sollte ein Teil these Handbuchschewer verstandlich sein oder Zweifel aufkommen, kontaktieren Sieitte das Unternehmen unter der auf der letzten Seite angegebenen Adresse, bevor Sie das Gerät benutzen.
HINWEIS: Sehbehinderte können die digitale Version dieser Bedienungsanleitung auf der Internetseite www.tenactagroup. com konsultieren
- Vergewissern Sie sich, nachdem Sie das Gerät aus der Verpackung entnommen haben, dass these unversehrt und vollständig ist, wie im bebilderten Leitfaden gezeigt, sowie keine Schäden aufweist. Im Zweifelsfall gebrauchen Sie das Gerät nicht, sondernnehmen Sie Kontakt mit einer autorisierten Servicestelle auf.

WARNING! Erstickungsgefahr.
Kinder)dürfen nicht mit der Verpackung spielen. Den Plastikbeutel von Kindern fernhalten.
- Dieses Gerätarfur den Zweck eingesetzt werden, fur den es geplant wurde, das heißt als Pad im Haushalt. Jede sonstige Verwendung wird als nicht bestimmungsgemäßer Gebrauch und thereof als gefährlich erachtet.
- Vor dem Anschluss des Geräts an das Stromnetz kontrollieren, dass die in den technischen Daten des Geräts angeführte Spannung und Frequenz jener des vorhandenen Versorgungsnetzes entspricht. Die technischen
Datum sind am Gerät und am Netzteil, falls vorhanden, zu finden (siehe bebilderer Leitfaden).
- Dieses Gerät arbeitet automatisch mit einer Frenz von 50 Hz oder 60 Hz.
- Dieses Gerätarf nur mit den Typen der abnehmbaren Steuereinheit verwendet werden, die auf dem Gerät gekennzeichnet sind.

Kinder unter drei Jahren dürfen these Gerät nicht benutzen, da sie nicht auf Überhitzung reagieren können.
- Dieses Gerät kann von Kindern, die äther als 3 Jahre und jünger als 8 Jahre sind, unter Aufsicht und mit der Kontrolle immer auf die Mindesttemperatur eingestellt werden (Temperatur 1).
- Das Gerätarf von Kindern ab 8 Jahren und von Personen mit eingeschränkten physischen, sensorischen oder geistigen Fähigkeiten oder Mangel an Erfahrung oder notwendiger Kenntnis verwendet werden, wenn sie bereits beaufsichtigt werden oder in die sichere Verwendung des Geräts eingewiesen worden sind und die damit verbundenen Gefahren begreifen. Das Gerät ist kein Spielzeug für Kinder. Kinder)dürfen nicht mit dem Gerät spielten. Die durch den Benutzer auszuführende Reinigung und Pflegearf nicht von Kindern ohne Beaufsichtigung durchgeführt werden.
- Dieses Gerätarf nicht von wärmeunempfindlichen Personen und anderen sehr gefährdeten Personen, die nicht auf Überhitzung reagieren können, benutzt werden.
- Die Kabel- und Steuereinheit des Geräts kann bei nicht sachgemäßer Anordnung Risiken des Verhakens, Strangulierens, Stolperns oder Tretens verursachen. Der Benutzer muss sicherstellen, dass die Stromkabel safer angeordnet sind.
- Das Gerät immer vom Stromnetz trennen, bevorsereinigt oder gewartet wird oder wenn es nicht benutzt wird.
- Untersuchen Sie das Gerät Häufig auf Anzeichen von Abnutzung oder Beschädigung. Wenn solche Zeichen vorhanden sind, wenn das Gerät falsch verwendet wurde oder nicht Funktioniert, wenden Sie sich an ein autorisiertes technisches Kundendienstzentrum, bevor Sie es wieder einschalten.
- Wenn das Netzkabel beschädigt ist, bringen Sie das gesamte Gerät zum Austausch der Steuereinheit zu einem autorisierten technischen Kundendienst, um alle Risiken zu vermeiden.

- Dieses Gerät ist nicht für den medizinischen Einsatz in Krankenhäusern vorgesehen.
- NICTT verwenden, wenn sie nass ist.

KEINE STECKNADELN ODER NADELN EINSTECKEN.


Wenn Sie das Gerät über einen längeren Zeitraum betreiben, die Temperaturstufen NICHT überschreiben, die für den Dauergebrauch festgelegt wurden.
Wenn das Gerät auf eine höhere Temperatur eingestellt und mit dieser über einen längeren Zeitraum verwendet wird, als für Dauergebrauch angegeben, kann der Benutzer Hautverbrennungen oder hitzebedingte Verletzungen erleiden.
- Lassen Sie das Gerät vor dem Falten abkühlen.

WARNING! Falten Sie das Gerät NICHT, indem Sie während der Lagerung Gegenstände darauf auf legen.

WARNING! Befolgen Sie die Angaben in den entsprechen-den Kapiteln dieser Anleitung fur die Verwendung, Reinigung, Pflege oder Lagerung des Geräts.

WARNING! Das Heizkissen DARF NICT in direkten Kontakt mit der Haut kommt.
- Die Verwendung von Cremen oder Salben in Kombination mit der Wärme des Geräts kann die Gefahr von Hautverbrennungen erhöhen.
- Personen mit einem Herzschrittmacher)dürfen these Gerät NICTH benutzen.
- Das Gerät NICHT mit feuchten Händen oder Fußen oder barfuß benutzen.
- NICHT am Netzkabel oder direkt am Gerätziehen, um den Stecker aus der Steckdose zuziehen.
- Das Gerät NICHT am Netzkabelziehen oder hochheiten.
- Das Gerät NICHT der Feuchtigkeit, Witterungseinflüsten (Regen, Sonne usw.) oder extremen Temperaturen aussetzen.
- Bei einem Defekt oder einer Funktionstörung das Gerät ausschalten und nicht daran manipulieren. Wenden Sie sich für eine eventuelle Reparatur
nur an die autorisierten technischen Servicestellen.
- Dieses Gerätarf nicht mit Wasser, anderen Flüssigkeiten, Sprays oder Dampf in Berührung kommt. Für Reinigung und Pflege ist ausschließlich der entsprechende Absatz in dieser Anleitung zu beachten.
- Verwenden Sie diesen Gerät NICHT zum Wärmen von Tieren.
Die Eigenschaften des Geräts sind auf der äußerten Verpackung angegeben.
GEBRAUCH

WARNING! Die Steuerung nicht abdecken und sie während des Gebrauchs nicht am erhitzten Paneel ablegen, um eine Überhitzung zu vermeiden.
- Stecken Sie den Stecker der Steuereinheit (5) in den Stecker des Heizkissens (6) ein, um die Steuereinheit mit dem Heizkissen zu verbinden.
- Stecken Sie den Stecker in die Netzsteckdose ein.
- Platzieren Sie das Heizkissen auf dem Körperteil, der erwärt werden soll (FIG. A, FIG. B, FIG. C).
EINSCHALTEN UND AUSWÄHLEN DER RICHTIGEN TEMPERATUR
Die Steuereinheit kann auf folgende Temperaturstufen eingestellt werden:
5: Temperatur für schnelles Vorheizen
4-3-2: Durchschnittstemperaturen
1: Temperatur für den Dauergebrauch
- Schalten Sie das Heizkissen durch Drücken der EIN-/AUS-Taste (4) ein. Die Temperatur wird automatische auf Stufe 5 eingestellt, davon leuchtet LED 5 (1) auf der Steuereinheit auf.
- Verwenden Sie zum schellen Aufheizen des Heizkissens die Höchsttemperatur 5. Sie können dann abhängig vom erforderlichen Wärmegrad eine niedrigere Temperaturstufe einstellen. Drücken Sie zum Verändern der Temperatur den Temperaturwähler (3) bis die LED (1), die der gewünschten Stufe entspricht, auf der Steuereinheit aufleuchtet. Je更高 die ausgewählte Zahl,estohigher ist die Temperatur.
- Wenn Sie das Heizkissen längerere Zeit verwenden oder es wahrscheinlich ist, dass Sie bei eingeschalteten Heizkissen einschlagen, verwenden Sie Temperaturstufe 1.
AUTOMATISCHE ABSCHALTUNG
- Das Heizkissen betet eine 3-stündige Wärmebehandlung, danach schaltet es sich automatisch aus. Die Standby-LED (2) leuchtet nach 3 Stunden Betrieb auf, um anzuziegen, dass sich das Gerät automatisch ausgeschaltet hat.
- Zum Wiedereinschalten des Geräts drücken Sie zweimal den EIN/AUS-Wähler (4) und wahren erneut die gewünschte Temperatur aus.
AUSSCHALTEN
- Schalten Sie das Heizkissen durch Drücken des EIN/AUS-Währlers (4) aus, wenn es nicht mehr verwendet wird.
- Ziehen Sie den Stecker von der Netzsteckdose ab.
REINIGUNG UND PFLEGGE
Das Heizkissen sind waschbar. Beachten Sie die Pflegesymbole auf den Etiketten von Produkt und Hülle für die Waschanweisungen.

WARNING! Vor der Reinigung oder Pflege stets den Stecker von der Netzsteckdose abziehen und den Stecker der Steuereinheit vom Gerät trennen.
VOR DEM WASCHEN
- Ziehen Sie das Stromkabel von der Steckdose ab.
- Trennen Sie den Stecker des Heizkissens (6) vom Stecker der Steuereinheit (5).
WASCHEN DES HEIZKISSENS

MASCHINENWÄSCHE
- Das Heizkissen kann bei 30^ mit einem normalen Programm in der Maschine gewaschen werden.
- Verwenden Sie nur den Schonschleudergang. Führren Sie KEINEN zusätzlichen Schleudergang aus.

- Das Heizkissen kann im Trockner mit einem Programm für empfindliche Wäsche getrocknet werden. Am Ende des Trocknungsprogramms muss es jeder luftgetrocknet werden, damit es vollständig trocknen kann.
- Entnehmen Sie das Heizkissen am Ende des Trocknungsprogramms aus dem Trockner undziehen Sie es wieder in seine ursprüngliche Form.
- Lassen Sie das Heizkissen vollständig an der Luft fertigrocknen, bevor Sie 37
deses erneut verwenden.
TROCKNEN AN DER LUFT
- Legen Sie das Heizkissen flach auf einen Wäscheständer, bis es vollständig trocken ist.

WARNING! Trocknen Sie das Gerät flach, ohne Verwendung von Klammern, um seine Beschädigung zu vermeiden. Lassen Sie es flach auf einem Wäscheständer ausgebreitet trocknen, allerdings nicht im direkten Sonnenlicht.
DE
Das Heizkissen NICHT bögeln.
LAGERUNG DES HEIZKISSENS
Lagern Sie diesen Gerät folgendermaßen, wenn Sie es nicht verwenden:
- Warten Sie, bis das Heizkissen vollständig trocken ist, wenn es zuvor gewaschen wurde.
- Es wird empfohlen, das Heizkissen zur besseren Aufbewährung in die beim Kauf erhaltene Verpackung zu legen.
- Lassen Sie das Gerät vor dem Falten abkühlen.
- Verwahren Sie das Heizkissen an einem trockenen Platz.
Untersuchen Sie das Gerät und das Netzkabel möglich auf Anzeichen von Abnutzung oder Beschädigung. Wenn solche Zeichen vorhanden sind oder im Falle einer Fehlfunktion, wenden Sie sich an ein autorisiertes technisches Kundendienstzentrum.
PROBLEME UND LÖSUNGEN
Dieses Kapitel beschreiben die haufigsten Probleme, die bei der Verwendung des Geräts auftreten konnen. Wenn die Probleme mit den folgenden Informationen nicht gelöst werden konnen, wenden Sie sichitte an die autorisierte Servicestelle.
| Problem | Lösung |
| Die LEDs auf der Steuereinheit leuchten nicht auf. | Kontrollieren Sie, dass der Stecker der Steuer-einheit ganz die Steckdose eingesteckt ist. Wenn die LEDs ausgeschaltet bleiben,ziehen Sie den Stecker der Steuereinheit aus der Steckdose und bringen das Wärmeunterbett zu einem autorisierten technischen Kundendienstzentrum. |
| Die blaue Warnleuchte blinkt. | Schalten Sie die Steuereinheit aus undziehen Sie den Stecker aus der Steckdose. Kontrollieren Sie, ob der Stecker der Steuereinheit (6) vollständig im Stecker des Heizkissens (5) eingesteckt ist und stecken Sie den Stecker wieder in die Steckdose. Wenn die Standby-LED weiterblinkt,bringen Sie das Heizkissen zu einem autorisierten technischen Kundendienstzentrum. |
| Temperatur-LED 1 (1) blinkt. | Lassen Sie das Heizkissen von einem autorisierten technischen Kundendienstzentrum kontrollieren. |
| Das Produkt wurde unrichtig verwendet oder ist beschädigt. | |
| Das Netzkabel oder ein anderes innenliegenden Kabel ist beschädigt. | |
| Die Steuereinheit ist beschädigt. | |
| Der Stoff hat Löcher oder Risse oder hartinrückige Falten, die sich nicht gläten setzen. |
ENTSORGUNG

Die Verpackung des Produktes besteht aus wiederverwertbaren Materialien. Die Verpackung entsprechend den Umweltschutzbestimmungen entsorgen.

Gemäß Richtlinie 2012/19/EU über Elektro- und Elektronik-Altgeräte (WEEE) weist das Symbol der durchgestrichen Abfalltonne auf dem Gerät oder auf seiner Verpackung daraufhin, dass das Produkt am Ende seiner Nutzungsdauer von anderen Abfallen getrennt gesammelt werden muss.
Der Nutzer muss daher das Gerät am Ende der Lebensdauer entsprechenden Abfallsammelstellen für Elektro- und Elektronikabfälle übergeben. Alternativ dazu kann das Gerät, das entsorgt werden soll, dem Handler bei Erwerb eines neuen gleichwertigen Produktes übergeben werden. Bei Handlern von Elektronikprodukten mit Verkaufsflächen von mindestens 400m^2 ist es überdies möglich, elektronische Produkte mit einer Höhe von weniger als 25~cm , die entsorgt werden müssen, ohne Kaufzwang kostenfrei abzugeben. Eine ordnungsgemäß Abfalltrennung des Altgeräts vor dem Versand für Recycling, Verarbeitung und Entsorgung auf umweltschonende Weiseträgt dazu bei, negative Auswirkungen auf die Umwelt und die Gesundheit zu vermeiden und fordert die Wiederverwendung und/oder das Recycling des Materials des Geräts.
KUNDENDIENST UND GARANTIE
Für das Gerät wird für einen Zeitraum von zwei Jahren ab Lieferdatum Gewährleistung geboten. Die Gewährleistungsfrist beginnt ab dem auf der Rechnung angegebenen Datum (sofern deutlich lesbar), es sei dann, der Käfer kann nachweisen, dass das Gerät zu einem späteren Zeitpunkt gefelfert wurde. Bei einem Produktfehler, der vor dem Liefertermin bestand, ist die Reparatur oder der Austausch ohne Kosten garantiert, es sei dann, eine der beiden Abhilfemaßnahmen ist unverhältnismäßig zu der anderen. Der Käfer muss innerhalb von zwei Monaten nach Entdeckung des Defekts die mangelnde Konformität einer autorisierten Servicestelle melden.
Die Garantie erstreckt sich nicht auf alle Teile, die aufgrund der folgenden Bedingungen fehlerhaft sind:
a. Transportschäden oder Schäden durch zufälliges Herunterfallen,
b. falsche Installation oder unzureichende elektrische Anlage,
c. Reparaturen oder Änderungen durch nicht befugtes Personal,
d. mangelnde oder unrichtige Pflege und Reinigung,
e. Produkte und/oder Produkte, die einem Verschleib und/oder Verbrauchsmaterial unterliegen, einschließlich der reduzierten Betriebszeit der Batterien (falls installiert) aufgrund der Verwendung oder des Alters,
f. Nichteinhaltung der Gebrauchsanweisungen des Gerats, Fahrlichkeit oder Nachlichkeit beim Gebrauch,
g. verdrethes und/oder zu stark geknicktes Kabel,
h. gezogenes oder gerissenes Kabel,
i. während des Gebrauchs gebogene, gefaltte und/oder gerissene Heizplatte,
j. unrichtiges Waschen (z. B. Schleudern, Auswringen, mit aktivierten Steuereinheit usw.),
k. öffentliche Brandflecken von externen Quellen (Zigaretten usw.),
I. zusammengeschlagen gefaltet (wie ein Buch).
Die oben aufgeführte Besteient nur als Beispiel und ist nicht vollständig, da diese Garantie nicht für die Umstände gilt, die nicht mit Mängeln bei der Gerätheerstellung zusammenhängen. Die Garantie erlischt auch bei unsachgemäßer Verwendung des Geräts und bei professionellem Einsatz. Der Hersteller lehtne jeder Haftung für Schäden ab, die direkt oder indirect an Personen, Sachen oder Haustieren infolge der Nichtbeachtung aller in der „Bedienungsanleitung" enthaltenen Anweisungen für die Installation, Verwendung und Wartung des Geräts entstehen können.
Dies gilt nicht für vertragliche Gewährleistungsmaßnahmen des Verkäufers.
Service-Modus
Die Reparatur des Gerätes ist bei einer autorisierten Servicestelle auszuführen. Im Garantiefall muss das defekte Gerät zusammen mit dem Kaufbeleg mit Kaufdatum oder Lieferdatum an die Servicestelle gesendet werden.
GUIDA ILLUSTRATIVE





MOD.1

MOD.2

MOD.3

FIG.A

FIG.B

FIG.C
EinfachAnleitung