TD501II - Audioverstärker ECLIPSE - Kostenlose Bedienungsanleitung
Finden Sie kostenlos die Bedienungsanleitung des Geräts TD501II ECLIPSE als PDF.
Benutzerfragen zu TD501II ECLIPSE
0 Frage zu diesem Gerät. Beantworten Sie die, die Sie kennen, oder stellen Sie Ihre eigene.
Eine neue Frage zu diesem Gerät stellen
Laden Sie die Anleitung für Ihr Audioverstärker kostenlos im PDF-Format! Finden Sie Ihr Handbuch TD501II - ECLIPSE und nehmen Sie Ihr elektronisches Gerät wieder in die Hand. Auf dieser Seite sind alle Dokumente veröffentlicht, die für die Verwendung Ihres Geräts notwendig sind. TD501II von der Marke ECLIPSE.
BEDIENUNGSANLEITUNG TD501II ECLIPSE
Verstärker TDA501II Verstärker für TD307PA II Verstärker für TD508PA II
BENUTZERHANDBUCH

Danke, dass Sie sich für den Kauf theses Verstärkers entschieden haben.
Bitte lessen Sie diese Bedienungsanleitung sorgfältig durch und verwenden Sie these
Produkt richtig.
Vor der Inbetriebnahmeleen Sieitte "Sicherer und richtiger Umgang mit dem Veränderk."
Bewahren Sie diese Bedienungsanleitung zusammen mit der Garantie an einem jederzeit
zugänglichen Ort auf.
Inhalt
Inhalt
Einleitung 22
Sicherer und richtiger Umgang mit dem Veränderer 23
Vorsichtsmaßnahmen für den Betrieb 25
Namen und Funktionen der Teile 26
Anschlussbeispel 28
Pflege und technische Daten 29
Garantie und Kundendienst 30
Einleitung
■Produktumfang



⑦ Kabel von Stereo-Mini-Jack (1/8") zu Stereo-Mini-Jack (1/8")
⑧Logoaufkleber x 1
⑨ Bedienungsanleitung x 1
10Garantie

Dieser Veränderung wurde auf Grundlage der Time-Domain-Theorie entworfen, um die Leistung des Laufsprechers optimal zur Geltung zu bringen.
<>
Die Time-Domain-Theorie wurde entwickelt, um Änderungen, die bei Schallwellen von der Erzeugung bis zum Abklingen auftreten, korrekt wiederzugeben und damit die Schallwellen des reproduzierten Tons soGENU wie möglich dem Originalton anzupassen.
Bei Time-Domain-Audiosystemen, die die Reproduzierbarkeit unter Verwendung von Time-Domains im Sinne theses Konzepts verbessern, ist eine Schallausrichtung vorhanden und feine Nuancen, die der Musik Seiten der Interpreten verliehen werden, werden wiedergegeben.
Sicherer und richtiger Umgang mit dem Veränder
Vor dem Betrieb
Die folgenden Angaben werden in dieser Bedienungsanleitung und auf dem Produkt selbst gegeben, um einen sicheren und korrekten Umgang mit dem Produkt saferzustellen und um Gefahren für den Kunden und andere Personen sowie Sachschäden zu vermeiden. Vergewissern Sie sich, die Informationen dieser Angaben zu verstehen, bevor Sie den Haupttext lessen.

WARNING
Eine Nichtbeachtung dieser Angaben und eine inkorrekte Handhabung des Produkts können zu schweren Verletzungen und zum Tod führen.

VORSICHT
Eine Nichtbeachtung dieser Angaben und eine inkorrekte Handhabung des Produkts konnen zu Verletzungen und Sachschäden führen.

WARNING
- Verwenden Sie nur die auf dem Produktgehäuse angegebene Spannung. Ansonsten besteht die Gefahr von Brand, Stromschlag oder Produkttausfall.
- Öffnen Sie nicht das Gehäuse des Subwoofoers. Ansonsten besteht die Gefahr von Stromschlag oder Verletzungen. Sind interne Kontrollen, Einstellungen oder Reparaturen notwendig, kontaktieren Sieitte Fujitsu Ten. Nehmen Sie keine Änderungen am Produkt vor. Ansonsten besteht die Gefahr von Brand oder Stromschlag.
- Verwenden Sie den Subwoofer nicht in einem Badezimmer oder an einem anderen Ort, an dem er Regen oder Feuchtigkeit ausgesetzt wird. Ansonsten besteht die Gefahr von Brand oder Stromschlag.
- Stellen Sie keine Vasen, Blumentöpfe, Dosen oder Behälter mit Kosmetika, Chemikalien oder Wasser auf oder in die Nähe des Subwoofer. Dringt/dringen Wasser oder Fremdkörper in den Subwoofer, besteht die Gefahr von Brand oder Stromschlag.
- Verwenden Sie nur das mit dem Produkt mitgelieferte Stromkabel.
Wird ein anderes Stromkabel verwendet, besteht die Gefahr von Brand oder Unfallen. - Beschädigten Sie nicht das Stromkabel, indem Sie es übermöig knicken, verdrehen, es verändern oder den Subwoofer daraufizen. Werden schwere Gegenstände auf das Stromkabel gestellt, wird das Kabel Hitze ausgesetzt oder wird am Kabel gezogen, kann es brechen, wodurch die Gefahr von Brand oder Stromschlag besteht.
- Nehmen Sie nicht zu weitere Anschlüsse an derselben Stelle vor. Ansonsten besteht aufgrund der Hitzeerzeugung Brandgefahr.
- Ist das Stromkabel beschädigt (z. B. wenn die Drahtkerne sightbar oder beschädigt sind), ersetzen Sie es.
Wird ein beschädigtes Stromkabel verwendet, besteht die Gefahr von Brand oder Stromschlag. - Stellen Sie Anomalien fest, wie z. B. anormale Gerausche, Rauchentwicklung oder einen ungewöhnlichen Geruch, schalten Sie den Strom ab,ziehen das Kabel aus der Steckdose und halten eine Kontrolle durchfahren.
- Wird das ProduktTOTz des Auftritts von Anomalien verwendet, besteht die Gefahr von Brand oder Stromschlag.
- Bei Auftreten von Donner entfernen Sie zur Sicherheit den Stecker aus der Steckdose und vermeiden es, das Antennenkabel oder den Stecker zu berühren. Ansonsten besteht die Gefahr von Brand, Stromschlag oder Produktausfall.

VORSICHT
- Ziehen Sie den Stecker nicht aus der Steckdose, indem Sie am Kabelziehen.
Dies konnte das Kabel beschädigen, wodurch die Gefahr von Brand oder Stromschlag besteht.
- Fassen Sie den Stecker nicht mit feuchten Händen an.
Ansonsten besteht die Gefahr von Stromschlag.
- Verlegen Sie das Stromkabel nicht in der Höhe von bereits Geräten.
Die Kabelisolierung konnte schmelzen, wodurch die Gefahr von Brand oder Stromschlag besteht.
-
Führn Sie den Stromkabelstecker in die Steckdose ein, bis die Stfte vollständig eingeführt sind. Werde der Stecker unvollständig eingeführt, wird Hitze erzeugt und es besteht die Gefahr von Brand, sobald sich Staub ablagert. Außer dem kann ein Berühren der Steckerstiffe zu einem Stromschlag führen.
-
Schließen Sie das Kabel nicht an einer Steckdose an, in der der Stecker locker ist, selbst nachdem die Steckerstifte vollständig eingeführt wurden. Dies wurde Hitze erzeugen und es besteht Brandgefahr. Lassen Sie die Steckdose von einem Elektriker untersuchen.
-
Bleibt/Bleiben Staub oder Metallteile an den Steckerstiften haften oder lagern sich diese nahe der Stiffe ab,ziehen Sie den Stecker aus der Steckdose und entfernen Sie den Staub oder die Metallteile mit einem trockenen Tuch. Wird der Stecker verwendet, obwohl Staub/Metalteile anhaften,besteatd die Gefahr von Brand oder Stromschlag.
-
Stellen Sie den Verstärker nicht in einer unstabilen Position auf, wie z. B. auf einem wackeligen Ständer oder auf einer schiefen Platte. Der Verstärker könnte fallen, was zu Verletzungen und Produktausfall führen kann.
-
Stellen Sie den Verständner nicht an einem Ort auf, an dem er Öl- oder Wasserdampf ausgesetzt ist, wie z. B. nahe der Arbeitsfläche der Kühre oder nahe einem Befeuchter. Ansonsten besteht die Gefahr von Brand oder Unfällen.
-
Stellen Sie den Verändern nicht an einem Ort auf, an dem er direkt einem kalten Luftstrom ausgesetzt ist.
Ansonsten besteht die Gefahr von Kondensierung, Kriechstrom oder Brand.
-
Stellen Sie den Verändern nicht an einem Ort auf, an dem er über einem längeren Zeitraum direktem Sonnenlicht ausgesetzt ist oder nahe von Heizgeräten. Ansonsten kann sich das Gehäuse verformen oder bleichen und es besteht Brandgefahr.
-
Stellen Sie den Verständner nicht an einem extrem kalten Ort auf.
Anonsosten besteht die Gefahr von Produktausfall oder Unfällen.
- Stellen Sie den Verständner nicht in der Höhe einer offenen Flamme auf.
Ansonsten besteht die Gefahr von Produktausfall oder Unfälle.
-
Treten Radiointerferenzen auf, z .B. aufgrund der Nähe eines Tuners, installieren Sie den Tuner und den Veränderter weiter voneinander entfern.
-
Bevor Sie den Verständner bewegen, schalten Sie zuerst den Strom zu den angeschlossenen Geräten ab und ziehen das Stromkabel, die Anschlusskabel zu jedem Gerät, die Laufsprecherkabel, etc. aus.
Bewegen Sie den Verständner mit angeschlossenen Kabeln, können ein Kabel beschädigt werden, wodurch die Gefahr von Brand und Stromschlag besteht.
-
Bevor Sie das Produkt reinigen/pflegen, schalten Sie unbedingt den Strom ab undziehen das Stromkabel aus der Steckdose. Ansonsten besteht die Gefahr von Stromschlag oder Verletzungen.
-
Wird der Verstärker über einen längeren Zeitaum nicht verwendet, z. B. wenn Sie in den Urlaub fahren, schalten Sie zur Sicherheit den Strom ab undziehen das Stromkabel aus der Steckdose. Ansonsten besteht Brandgefahr.
-
Bevor Sie einen Fernseher oder ein anderes Audiogerät anschließen, schalten Sie unbedingt den Strom ab, lessen die Bedienungsanleitungen der jeweiligen Geräte aufmerksam durch undnehmen die Anschüsse entsprechend den Anweisungen in diesen Bedienungsanleitungen vor.
-
Bevor Sie den Strom einschalten, überprüfen Sie, ob die Lautstärken des Subwoofoers und des Verstärkers auf dem Mindestwert stehen.
Ansonsten können plötzliche extrem laute Gerausche auftreten, wodurch Hörschäden oder andere Probleme entstehen können.
- Horen Sie einen unnatürlichen Ton, während das Audiogerät bei hoher Lautstärke in Betrieb ist, verringern Sie die Lautstärke.
Verwenden Sie den Veränderer weiterhin bei hoher Lautstärke oder über einen längeren Zeitraum, während ein verzerrter Ton produziert wird, erhitzt sich der Lautsprecher und es besteht Brandgefahr.
Vorsichtsmaßnahmen für den Betrieb
■ Bevor Sie den Strom einschalten, und bevor Sie Eingänge wechseln, stellen Sie die Lautstärke stets auf den Mindestwert.
Eine plötzliche starke Ausgabe konnte das angeschlossene Lautsprechersystem beschädigen.
■ Je nach Standort konnte Ihr Hörvergnügen andere Personen belastigen.itte stellen Sie die Lautstärke auf ein angebrachtes Niveau, sodass Sie die Nachbarn nicht storen.
Besonderss in der Nacht kann auch ein Sound von geringer Lautstärke über weite Entfernungen hörbar sein.
Bitte respektieren Sie die Anliegen ihrer Mitmenschen, um ein angenehmes Lebensumfeld aufrechtzuerhalten.
■ Vergewissern Sie sich, dass die Stromversorgung aller Geräte abgeschaltet ist, bevor Sie den Laufsprecher anschließen.
Wird das Lautsprecherkabel unabsichtlich kurzgeschlossen, wird der Schutzkreis im Veränderkern aktiviert, was zu einer vorübergehenden Unterbrechung der Tonausgabe führt.
Ziehen Sie in thisem Fall den Stecker des Stromkabels vorübergehend aus der Steckdose, beheben Sie den Kurzschluss und stecken Sie den Stecker wieder ein, um den Veränder zu verwenden.
Die negative Seite des Verständkerausgangs ist nicht geerdet. Achten Sie darauf, diese nicht mit der negativen Seite anderer Geräte unter Verwendung des Lautspeicherwahrscheinzahlen zu verbinden.
Ist der Verständner verschmutzt, reinigen Sieihn mit einem weichen Tuch und mit neutralem Reinigungsmittel.
Verwenden Sie keine Verdünner oder Benzol.
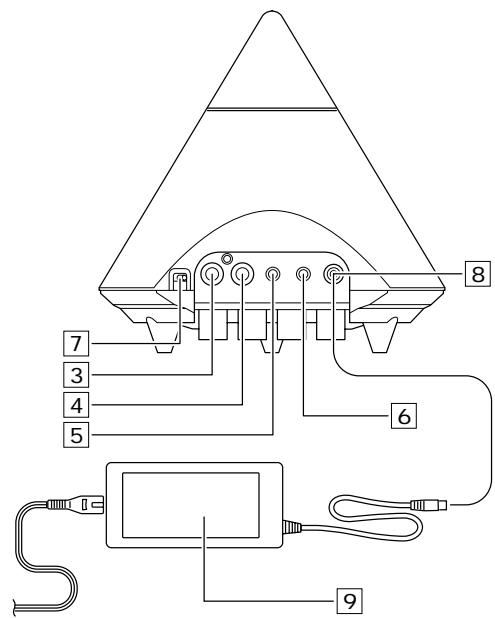
Namen und Funktionen der Teile
Hauptseinheit


Stromanzeige
Sie leuchtet, wenn die Stromversorgung eingeschaltet ist.
Drehknopf for Stromversorgung und Lautstärkeregelung
Dieser Drehknopf schaltet die Stromversorgung ein oder aus und regelt die Lautstärke. Drehen Sie diesen Knopf nach rechts, wird die Stromversorgung eingeschaltet (Klickgeräusch) und die Lautstärke gesteigert. Drehen Sie den Knopf nach links, wird die Lautstärke reduziert und schließlich die Stromversorgung abgeschaltet (Klickgeräusch).
- Beim Anschluss an einen tragbaren CD-Player, an den Kopfhörereingang eines PCs oder an ein anderes Gerät, regeln Sie die Lautstärke entsprechend am Gerät bzw. PC.
3 Cinch-Eingangsanschluss (LINE 1)
Schlieben Sie die Geräte mit dem Cinchkabel an.
- Beim Anschluss an einen tragbaren CD-Player oder an den Kopfhöreeinggang eines PCs, verwenden Sie das beiliegende Kabel für die Verbindung von Cinch und Stereo-Mini-Jack (1/8").

Eingangsanschluss für Stereo-Mini-Jack (1/8") (LINE 2)
Schlieben Sie die Geräte mit dem Stereo-Mini-Kabel (1/8") an.
- Beim Anschluss an einen tragbaren CD-Player oder an den Kopfhörereingang eines PCs, verwenden Sie das beiliegende Kabel für die Verbindung von Stereo-Mini-Jack (1/8") und Stereo-Mini-Jack (1/8").


4 Ausgangsanschluss für Stereo-Mini-Jack (1/8") Dies ist der Anschluss für die Ausgabe von Signalen vom Veränder zum Subwoofer. Die Lautstärke ändert sich gemäß der Betätigungs des Drehknopfs für die Lautstärkeregelung am Veränderk.
-
Das Gerät verfügbar nicht über die Tiefpassfilterfunktion. Nehmen Sie die Regelung am Subwoofer vor.
-
Wird dieser Anschluss verwendet, wird die Bypassfilterfungion auf den
Lautsprecherausgang angewendet.
5 Wahlschalter für Eingang
Mit thisem Schalter werden die Eingänge für den Verständiger gewählt.
Linke Seite: Cincheingang (LINE 1)
Rechte Seite: (5) Eingang für Stereo-Mini-Jack (1/8") (LINE 2)
6 Stromversorgungsanschluss
Hier erfolgt der Anschluss an die Stromquelle.
- Verwenden Sie niemals und unter keinen Umständen einen anderen
Wechselstromadapter als den beigeufigten.
Ansonsten konnte es zu Funktionstörungen und zu einem Brand kommt.
8 Lautsprecherausgangsanschlüsse
7 Wechselstromadapter
Achten Sie beim Anschluss darauf, nicht das Ende der Leitungsschnur des Lautspechersiben dem Anschluss zu berühren.
Anschlussbeispel
■Abspielgerät + Verständner + Laufsprecher
Zum Ausgangsanschluss des CD-Players oder anderer Geräte Zum Ausgangsanschluss der Kopfhörer am PC oder an anderen Geräten
Zum Ausgangsanschluss des CD-Players oder anderer Geräte Zum Ausgangsanschluss der Kopförher am PC oder an anderen Geräten

■Abspielgerät + Verstärker + Lautsprecher + Subwoofer
Zum Ausgangsanschluss des CD-Players oder anderer Geräte Zum Ausgangsanschluss der Kopfhörer am PC oder an anderen Geräten
Zum Ausgangsanschluss des CD-Players oder anderer Geräte Zum Ausgangsanschluss der Kopfhörer am PC oder an anderen Geräten

Pflege und technische Daten
■Pflege
Bevor Sie den Verstärker reinigen, schalten Sie unbedingt die Stromversorgung ab undziehen den Stecker des Stromkabels aus der Steckdose.
Entfernen Sie Schmutz am Veränder, indem Sieihn vorsichtig mit einem weichen Tuch abwischen.
Ist die Verschmutzung stark, befeuchten Sie das Tuch mit Wasser, wringen es gut aus, wischen den Schmutz weg und wischen mit einem trockenen Tuch nach.
Reinigen Sie den Verständner nicht mit Benzol oder Verdünningsmittel.
Dadurch konnte das Gehäuse beschädigt werden.

■Wenn der Veränderer Fehlfunktionen aufweist
Ist der Veränderung stichtag des Gebrauchs starkem externem Rauschen ausgesetzt (anormale Stromspannung aufgrund eines übermögem Stoßes, statischer Elektrizität oder eines Blitzeinschlags) oder wird er falsch bedient, kann er fehlerhaft Funktionieren.
Tritt dies auf, schalten Sie die Taste POWER aus.
Überprüfen Sie bei Wiedereinschaltung der Stromversorgung, ob der Betrieb normal Funktioniert.
(Bleiben die Fehlfunktionen bestehen, kontaktieren Sieitte Fujitsu Ten.)
Hinweis zur WEEE-Richtlinie
Gemäß der WEEE-Richtlinie muss diesen
Produkt bei Verkauf in EU-Mitgliedsstaaten
nach dem 13. August 2005 zwingend die
WEEE-Kennzeichnung tragen.
Wird把这些 Productk innerhalb eines EU-
Mitgliedsstaates entsorgt, sind die Gesetze des jeweiligen Landes einzuhalten, die z. B. die Rückgabe des Produkts an den Hersteller vorsehen.
WEEE: Elektro- und Elektronik-Altgeräte.
Technische Daten
Bitte beachten Sie, dass die technischen Daten und die äußere Erscheinung des Verstärkers ohne Vorankündigung aufgrund von Verbesserungen geändert werden können.
[Verständner]
Nennleistungt :12 W
(Last 8 Ω, THD: bei 1%)
Max. Ausgabe :15 W
(Last 8 Ω, THD: bei 10%)
Ausgangstyp :BLT-Ausgang
Gesamtklirrfactor in der Hochfrequenz: 0,05% (bei 1 W Ausgabe: 1 kHz)
Frequenzeigenschaften :
10 Hz bis 100 kHz (+/-3 dB)
Eingangsempfindlichkeit :180 mVrms
(bei 12 W Ausgabe)
Signal-Rausch-Verhältnis :
85 dB
Trennungsgrad : 50 dB
Eingangsimpedanz :10 kΩ
Ko mpatible Lastimpedanz :8Ω
Außenabmessungen :
159× 137× 154(mm)
Gewicht: 930 g
[Wechselstromadapter]
Eingangsspannung:
100VAC (Japan)
120 VAC (Nordamerika)
230 VAC (Europa)
Ausgangsspannung: +17 VDC
Ausgangsstromärke: 2,9 ADC
Außenabmessungen:
121 × 56 × 33 (mm)
Gewicht: 360 g
Garantie und Kundendienst
Lesen Sie die Garantie sorgfältig durch und bewahren Sie sie an einem sicheren Ort auf.
Garantiedauer
Die Garantie gilt für ein Jahr ab Verkaufsdatum.
Beachten Sie, dass auch während der Garantiezeit Kosten entstehen konnen: Lesen Sie die Garantie sorgfältig durch.
■ Mindestaufbewährungszeit der Leistungsteile für Reparaturen
Die Mindestaufbewahrungszeit der Leistungsteile für Reparaturen beträgt für diese Produkte acht Jahre nach Herstellungsbeseidigung.
These Dauer entspricht den MITI-Richtlinien.
"Leistungsteile für Reparaturen" sind die Ersatzteile, die zur Aufrechterhaltung der Produktleistung notwendig sind.
■Bei Rückfragen zu Reparaturen oder anderen Fragen:
Die jeweiligen Kontakte finden Sie unter "Fujitsu Ten ECLIPSE TD-Informationen".
Eclipse TD (UK) Ltd
Tel +44 (0)207328 4499
Fax +44 (0)20 7624 6384
mailto info@eclipse-td.co.uk
■Wenn Reparaturen notwendig sind
[Innerhalb der Garantie]
Bitte legen Sie bei Reparaturanfragen das Garantiezertifikat vor.
Wir reparieren das Produkt entsprechend den Bestimmungen auf der Garantie.
[Nachdem die Garantie abgelaufen ist]
Kann das Produkt mithilfe von Reparaturen wieder Funktionstüchtig gemacht werden, behmen wir die Reparaturen gegen Verrechnung vor.
| Kontrolieren Sie Ihr Audiogerät, um eine lange Laufzeit zu gewährleisten! | |
| Haben Sie eines dieser Symptome festgestellt? | ●Das Stromkabel oder der Stecker ist ungewöhnlich heißt●Es ist ein Brandgeruch wahrzunehmen.●Im Stromkabel ist ein tiefer Einschnitt sightbar oder das Kabel hat sich verfort.●Andere Anomalien oder Fehlufunktionen |
Stoppen Sie den Betrieb des Produkts.
| Um einen Produktausfall oder Unfälle zu vermeiden, schalten Sie den Strom ab, zieren das Stromkabel aus der Steckdose und halten unbedingte eine Kontrolle durchführten. Für Einzelheiten zu den Kosten für Kontrollen und Reparaturen kontaktierten Sièble fijiatsu Tén. |
EinfachAnleitung