KOKO - Holzofen AUSTRO FLAMM - Kostenlose Bedienungsanleitung
Finden Sie kostenlos die Bedienungsanleitung des Geräts KOKO AUSTRO FLAMM als PDF.
Benutzerfragen zu KOKO AUSTRO FLAMM
0 Frage zu diesem Gerät. Beantworten Sie die, die Sie kennen, oder stellen Sie Ihre eigene.
Eine neue Frage zu diesem Gerät stellen
Laden Sie die Anleitung für Ihr Holzofen kostenlos im PDF-Format! Finden Sie Ihr Handbuch KOKO - AUSTRO FLAMM und nehmen Sie Ihr elektronisches Gerät wieder in die Hand. Auf dieser Seite sind alle Dokumente veröffentlicht, die für die Verwendung Ihres Geräts notwendig sind. KOKO von der Marke AUSTRO FLAMM.
BEDIENUNGSANLEITUNG KOKO AUSTRO FLAMM
Benutzerhandbuch / manual / manuale / manuel
KOKO





Fig. 1
Fig. 2
deutsch
AUF-ZU
Sekundärluftschieber
Primärluftschieber
english
open - closed
-
Techn. Daten 1
-
Wichtige Informationen 1
-
So bedienen Sie ihren
Kaminofen richtig
- Die wichtigen
Ersatzteile - Übersicht 3
Garantie 13
english
Contents
Als Kaminofen der Bauart 1 ist ein Anschluß an einen bereits mit anderen Öfen und Herden für feste und flüssige Brennstoffe belegten Schornstein möglich, sofern die Schornsteinbemessung gemäß DIN 4705, Teil 3, dem nicht widerspricht.
| TECHNISCHE DATEN | |
| Höhe | 1148 mm |
| Breite | 546 mm |
| Tiefe | 427 mm |
| Gewicht mit Stahlmantel | 152 kg |
| Rauchrohrabqanq Durchmesser | 150 mm |
| Nennwärmeleistung lt. EN 13240 | 6 kW |
| Maximale Heizleistung | 8 kW |
| Kleine Heizleistung | 3,5 kW |
| Raumheizvermögen (abhängig von der Hausisolierung) | 50 - 130 m3 |
| Abgaswerte für die Mehrfachbelegung des Schornsteines nach DIN 4705, Teil 3 bzw. zur Bemessungdes Schornsteines nach DIN 4705, Teil 2 | ||
| Abgasmassenstrom | geschlossen | 8,5 g/s |
| Abgastemperatur | geschlossen | 285 °C |
| Mindestförderdruck beiNennwärmeleistung (Nwl) | geschlossen | 0,12 mbar |
| bei 0,8facherNwl | ----- mbar | |
2. WICHTIGE INFORMATIONEN
Die Informationen in thisem Handbuch sind allgemeiner Natur. Nationale und Europäische Normen sowie örtliche Vorschriften sind bei dem Betrieb der Feuerstätte zu beachten.
Allgemeine Sicherheitshinweise zum Betrieb Ihr's Kaminofens
- Lesen Sie vor der Inbetriebnahme des Ofens das gesamte Handbuch gründlich durch und beachten Sie die Warnhinweise.
- Für den Transport Ihres Heizgerätes dürfen nur zugelassene Transporthilfen mit ausreichender Tragfähigkeit verwendet werden.
- Ihr Heizgerät ist nicht zur Verwendung als Leiter oder Standgerüst geeignet.
- Durch den Abbrand von Brennmaterial wird Wärmenergie frei, die zu einer starken Erhitzung der Oberfläche des Heizgerätes, der Türen, der Tür- und Bediengriffe, der Türglaser, der Rauchrohe und gegebenenfalls der Frontwand des Heizgerätes führt. Die Berührung dieser Teile ohne entsprechende Schutzbekleidung oder Hilfsmittel wie z.B. Hitgeschutzhandschuhe oder Betätigungsmittel (kalte Hand), ist zu unterlassen.
- Machen Sie ihre Kinder auf diese besondere Gefahr aufmerksam und halten Sie sie während des Heizbetriebes vom Heizgerät fern.
- Verbrennen Sie ausschließlich das im Kapitel „saubere Verbrennung“ angeführte genehmigte Heizmaterial.
Das Verbrennen oder Einbringen von leicht brennbaren oder explosiven Stoffen, wie leere Spraydosen und dgl. in den Brennraum, sowie deren Lagerung in unmittelbarer Höhe Ihres
Heizgerätes, ist wegen Explosionsgefahr strengstens verboten.
- Beim Nachheizen sollen keine weiten, oder weniger brennbaren Kleidungsstücke getragen werden.
Das Abstellen von nicht hitzebeständigen Gegenständen auf dem Heizgerät oder in dessen Nähe ist verboten. - Legen Sie keine Wäschestücke zum Trocknen auf den Ofen.
- Ständer zum Trocknen von Kleidungsstücken oder dgl. müssen in ausreichendem Abstand vom Heizgerat aufgestellt werden - Brandgefahr.
- Beim Betrieb Ihres Heizgerätes ist das Verarbeiten von leicht brennbaren und explosiven Stoffen im selbst oder in anschließenden Räumen verboten.
Kaminofenaufstellung
Sicherheitsabstände (Mindestabstände) Fig. 2
- Zu nicht brennbaren Gegenständen: a > 400 mm b > 100 mm c > 100 mm
- Zu brennbaren Gegenständen und zu tragenden Wäden aus Stahlbeton: a > 800 mm b > 200 mm c > 200 mm (a - nach vorne im Strahlungsbereich) (b - seitlich, c - halten)
Bitte beachten Sie, daß der Aufstellungsraum mind. eine Türe / ein Fenster ins Freie aufweisen oder mit einem derartigen Raum direkt verbunden sein muß. Andere Feuerstätten und Dunstabzugshauben)dürfen nicht im Raumluftverbund mit Feuerstätten betrieben werden.
Bodentragfähigkeit
Prufen Sie vor dem Aufstellen ob die Tragfähigkeit der Unterkonstruktion dem Gewicht Ihres Kaminofen standhalt.
Rauchrohranschluß
Für den Anschluß der Rauchrohre an den Schornstein gibt es zu ihrer eigenen Sicherheit strenge Richtlinien. Ihr Kaminofen-Fachhändler kennt diese. Beauftragen Sie daher unbedingt ihren Fachhändler mit dem Rauchrohranschluß.
3. SO BEDIENEN SIE IHREN KAMINOFEN RICTIG
Die erstige Inbetriebnahme Ihres Kaminofens
Ihr Kaminofen wurde mit einem umweltverträglichen Speziallack lackiert. Die Lackoberfläche ist bei Auslieferung Ihres Ofen noch weich. Die Aushärtung des Lacks erfolgt bei der ersten Inbetriebnahme. Die Lackoberflächearfährend theseS Vorganges nicht berührt werden.Der Kaminofen muß mindestens 1,5 Stunden stark aufgeheizt werden.Be der Aushärtung des Lackes konnen sightbare Dampfe freiwerden.Öffnen Sie daher vor der ersten Inbetriebnahme die Fenster. Dadurch konnen die Dampfe schnell abziehen.
BITTE BERÜCKSICHTIGEN SIE: Erst nach mehreren Heizvorgangen ist der Betrieb Ihres Kaminofens nur mehr vom heimeligen Geruch des verbrennenden Holzes geprügt.
Zugelassene Brennstoffe
Trockenes, gut abgelagertes, naturbelassenes Holz, Holzbriketts.
Maximale Brennstoffmenge
Maximal aufzugebende Brennstoffmenge: 1,3 kg Holz oder 1 kg Holzbriketts. Größere Brennstoffmengen können zu Überhitzung und Beschädigungen am Ofen führen!
Saubere Verbrennung
Das Brennholz muß trocken (rel. Holzfeuchte < 15 %) und unbehandelt sein und die richtige Brennholzmenge muß verbrannt werden, um eine saubere, emissionsarme Verbrennung zu erreichen. Die Verfeuerung von Abfallen und insbesondere Kunststoff ist verboten.
Richtig Feuer machen
Bereiten Sie alles zum Anheizen vor - Weichholzpane, Anzündhilfe (wie zB Austroflamm-Anzünderbeutel), unbeschichtetes Papier, Brennholz. Öffnen Sie die Primär- und Sekundärluftzufuhr maximal (siehe Fig. 2 „AUF").
Öffnen Sie die Kaminofentür.
Legen Sie unbeschichtetes Papier auf den Feuerraumboden. Legen Sie darauf eine handvoll Weichholzpane. Legen Sie auf diese Späne 1-2 Scheite Holz.

Fig. 3: Anzünden
Zünden Sie nun das Papier an.
Schließen Sie die Feuerraumtur.

Fig. 4: Luftschieber regulieren
Sobald die Holzsche gut brennen, können Sie mit dem Luftschieber die Heizleistung regulieren (Schieber auf Maximalstellung „AUF“ = maximale Heizleistung – siehe Fig. 2).
Beim Nachlegen gehen Sie prinzipiell wie beim Anheizen vor: Luftschieber öffnen, Kamintüre vorsichtig öffnen, Holz nachlagen, Kaminofentüre schließen.
Warten Sie, bis das nachgelegte Holz brennt.
Dann schreiben Sie den Luftschieber. Regeln Sie in der Folge die Heizleistung mit dem Luftschieber.
Heizen in der Übergangszeit
In der Übergangszeit, d.h. bei higheren Außentemperaturen, kann es bei plötzlichem Temperaturanstieg zu Störungen des Schornsteinzugeskommen, so dass die Heizgase nicht vollständig abgezogen werden. Die Feuerstände ist dann mit geringeren Brennstoffmengen zu befüssen und bei großerer Stellung des Primäreluftschiebers/-reglers so zu betriuben, dass der vorhandene Brennstoff schneller (mit Flammentwicklung) abbrennt und dadurch der Schornsteinzug stabilisiert wird.
Hinweis bei Schornsteinbrand
Wird falscher oder zu feuchter Brennstoff verwendet, kann es aufgrund von Ablagerungen im Schornstein zu einem Schornsteinbrand kommt. Verschreiben Sie sofort alle Luftöffnungen am Kamin und informieren Sie die Feuerwehr. Nach dem Ausbrennen des Schornsteins diesen vom Fachmann auf Risse bzw. Undichtigkeit überprüfen halten.
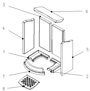
4. DIE WICHTIGSTEN ERSATZTEILE - ÜBERSICHT
Keramott
| Bezeichnung | Nr.-Skizze | Artikelnr. |
| Keramott Boden links | 1 | 714383 |
| Keramott Boden rechts | 2 | 714382 |
| Keramott Rückwand | 3 | 714384 |
| Keramott Seite links | 4 | 714386 |
| Keramott Seite rechts | 5 | 714385 |
| Keramott Umlenkplatte | 6 | 714381 |
| Keramott Holzfänger | 7 | 714380 |
| Rost | 8 | 716408 |
Sonstiges
| Bezeichnung | Nr.-Skizze | Artikelnr. |
| Koko Tür | 1 | 714400-29 |
| Holzgriff komplett | 2 | 712919 |
| Koko BA1 Feder | 3 | 714399-15 |
| Koko Türglas | 4 | 714442 |
| Glasreiniger 0,5I | -- | 640070 |
| Ofenlack | -- | 650002 |
| Austroflamm Anzünder Dose à 100 St. | -- | 640162 |
Dichtungen
| Bezeichnung | Nr.-Skizze | Artikelnr. |
| Flachdichtung 8x2, L=1425 mm | 5 | 710096 |
| Tür Flachdichtung 8x2, L=1420 mm | 6 | 710096 |
| Silikon hitzefest B1340 | 7 | 740004 |
| Rundddichtung DM14x2100 grau | 8 | 714223 |

Numerierung Keramott = Einbauanleitung!

Zubehör
Bei Ihr dem Fachhändler erhalten Sie Bodenplatten aus Glas oder Stahl, Kaminbestecke, Pflegemittel oder das Heat Memory System zur Wärmespeicherung.
WICHITG: Lassen Sie defekte Teile ausschließlich von ihrem Kaminofenfachhändler austauschen. Damit ist gewährleistet, daß Ihr Kaminofen sicher und Funktionstüchtig ist und bleibt.
Pflege
Zur Glasreinigung verwenden Sieitte ein Spezialprodukt wie Thermohit Glasreiniger. Lackierte Oberflächen durren nur mit einem Tuch (ev. feucht) gereinigt werden. Für Edelstahloberflächen gibt es ebenfalls Spezialreiniger.
Reinigung
Der Kaminofen, Rauchgaswege und Rauchrohre sollen jährlich - evtl. auch öfter, z.B. nach der Reinigung des Schornsteines - nach Ablagerungen untersucht und ggf. gereinigt werden. Der Schornstein muss ebenfalls regelmäß durch den Schornsteinfeger gereinigt werden. Über die notwendigen Intervalle gibt Ihr zuständiger Schornsteinfermeister Auskunft. Der Kaminofen soll jährlich durch einen Fachmann überprüft werden.
1. TECHNICAL DATA
Für ihren AUSTROFLAMM-Kaminofen garantieren wir für die einwandfreie Funktion aller Bauteile aus Stahl und Guß 2 Jahre ab dem Erstverkaufsdatum. Stahl- und Gußsteile, die während der Garantiezeit Material- und / oder Verarbeitungsmängel aufweisen, werden gegen Neuteile ersetzt.
Wir gewähren keine Garantie auf Verschleißsteile (z. B.: Keramott, Dichtungen, Bodenrost), Oberflächenbeschichtungen, Lack, Glas und Keramiken.
Voraussetzungen für unsere Garantieleistung sind:
- Ihr AUSTROFLAMM-Kaminofen wurde gemäß dem Benutzerhandbuch betrieben und von einem Fachmann installiert.
- Der Garantieanspruch wird mit der vollständig ausgefüllen Garantiekarte und der Rechnung bei einem AUSTROFLAMM-Fachhändler geltend gemacht.
WICHTIG: Unsere Garantieleistung umfaßt die kostenlose Lieferung der Neuteile. Arbeits- und Wegzeiten werden dadurch nicht umfaßt. Eine ungerechtfertigte Garantieinanspruchnahme wird dem Betreiber rückbelastet.
Two-Year Guarantee
Im Garantiefall herausschneiden und Ihr dem AUSTROFLAMM-Fachhändler vorlagen!
EinfachAnleitung