FLOK - Holzofen AUSTRO FLAMM - Kostenlose Bedienungsanleitung
Finden Sie kostenlos die Bedienungsanleitung des Geräts FLOK AUSTRO FLAMM als PDF.
Benutzerfragen zu FLOK AUSTRO FLAMM
0 Frage zu diesem Gerät. Beantworten Sie die, die Sie kennen, oder stellen Sie Ihre eigene.
Eine neue Frage zu diesem Gerät stellen
Laden Sie die Anleitung für Ihr Holzofen kostenlos im PDF-Format! Finden Sie Ihr Handbuch FLOK - AUSTRO FLAMM und nehmen Sie Ihr elektronisches Gerät wieder in die Hand. Auf dieser Seite sind alle Dokumente veröffentlicht, die für die Verwendung Ihres Geräts notwendig sind. FLOK von der Marke AUSTRO FLAMM.
BEDIENUNGSANLEITUNG FLOK AUSTRO FLAMM
Sekundärluftschieber
Primärluftschieber
english
open - closed
-
Techn. Daten 1
-
Wichtige Informationen 1
-
So bedienen Sie ihren
Kaminofen richtig
- Die wichtigen
Ersatzteile - Ubersicht 3
Garantie 13
english
Contents
-
Techn. data 4
-
Important information 4
-
Correct operation
of your stove
- The most important
spare parts - overview 6
Guarantee 13
italiano
Indices
Als Kaminofen der Bauart 1 ist ein Anschluß an einen bereits mit anderen Öfen und Herden für feste Brennstoffe belegten Schornstein möglich, sofern die Schornsteinbemessung gemäß DIN 4705, Teil 3, dem nicht widerspricht.
| TECHNISCHE DATEN | |
| Höhe | 958 mm |
| Breite | 433 mm |
| Tiefe | 417 mm |
| Gewicht mit Stahlmantel | 110 kg |
| Rauchrohrabgang Durchmesser | 130 mm |
| Nennwärmeleistung lt. EN 13240 | 4 kW |
| Maximale Heizleistung | 6 kW |
| Kleinste Heizleistung | 2,5 kW |
| Ruumheizvermögen (abhängig von der Hausisolierung) | 34 – 88 m3 |
| Abgaswerte für die Mehrfachbelegung des Schornsteines nach DIN 4705, Teil 3 bzw. zur Bemessungdes Schornsteines nach DIN 4705, Teil 2 | ||
| Abgasmassenstrom | geschlossen | 3,7 g/s |
| Abgastemperatur | geschlossen | 317 °C |
| Mindestforderdruck beiNennwärmeleistung (NWL) | geschlossen | 10 Pa |
| bei 0,8facherNWL | 8 Pa | |
2. WICHTIGE INFORMATIONEN
Die Informationen in thism Handbuch sind allgemeiner Natur. Nationale und europäische Normen, ortliche und baurechtliche Vorschriften sowie feuerpolizeiliche Bestimmungen sind einzuhalten.
Allgemeine Sicherheitshinweise zum Betrieb Ihr's Kaminofens
- Lesen Sie vor der Inbetriebnahme des Ofens das gesamte Handbuch gründlich durch und beachten Sie die Warnhinweise.
- Für den Transport Ihres Heizgerätes)dürfen nur zugelassene Transporthilfen mit ausreichender Tragfähigkeit verwendet werden.
- Ihr Heizgerät ist nicht zur Verwendung als Leiter oder Standgerüst geeignet.
- Durch den Abbrand von Brennmaterial wird Wärmenergie frei, die zu einer starken Erhütung der Oberfläche des Heizgerätes, der Türen, der Tur- und Bediengriffe, der Turgläser, der Rauchrohre und gegebenenfalls der Frontwand des Heizgerätes führt. Die Berührung dieser Teile ohne entsprechende Schutzbekleidung oder Hilfsmittel wie z.B. Hitgeschutzhandschuhe oder Betätigungsmittel (kalte Hand), ist zu unterlassen.
- Machen Sie ihre Kinder auf diese besondere Gefahr aufmerksam und halten Sie sie während des Heizbetriebes vom Heizgerät fern.
- Verbrennen Sie ausschließlich das im Kapitel „saubere Verbrennung“ angeführte, genehmigte Heizmaterial.
-
Das Verbrennen oder Einbringen von leicht brennbaren oder explosiven Stoffen, wie leere Spraydosen und dgl. in den Brennraum, sowie deren Lagerung in unmittelbarer Höhe Ihres Heizgerätes, ist wegen Explosionsgefahr strengstens verboten.
-
Beim Nachheizen sollen keine weiten oder leicht brennbaren Kleidungsstücke getragen werden.
Das Abstellen von nicht hitzebeständigen Gegenständen auf dem Heizgerät oder in dessen Nähe ist verboten. - Legen Sie keine Wäschestücks zum Trocknen auf den Ofen. Auch Wäscheständer oder dgl. müssen in ausreichendem Abstand vom Heizgerät aufgestellt werden - Brandgefahr.
- Der Kaminofen Flok ist keine Dauerbrand-Feuerstelle.
- Beim Betrieb Ihres Heizgerätes ist das Verarbeiten von leicht brennbaren und explosiven Stoffen im selbst oder in anschließenden Räumen verboten
Kaminofenaufstellung
Einzuhaltende Sicherheitsabstände
(Mindestabstände - siehe auch Typenschild) Fig. 2
a > 800 mm
b > 150 mm
c>100mm
(a - nach vorne im Strahlungsbereich)
(b - seitlich)
(c - hinten)
Bitte beachten Sie, dass der Aufstellungsraum mind. eine Türe / ein Fenster ins Freie aufweist oder mit einem derartigen Raum direkt verbunden sein muss. Andere Feuerstätten und Dunstabzugshauben dürfen nicht im Raumluftverbund mit Feuerstätten betrieben werden.
Bodentragfähigkeit
Prufen Sie vor dem Aufstellen, ob die Tragfähigkeit der Unterkonstruktion dem Gewicht Ihres Kaminofens standhalt.
Verbrennungsluft
Als Betreiber müssen Sie für ausreichende Verbrennungsluft sorgen. Bei abgedichteten Fenstern und Türen kann es sein, dass die Frischluftzufuhr nicht mehr gewährleistet ist bzw. das Zugverhalten des Ofens beeinträchtigt wird. Ggf. muss für eine
zusätzliche Frischluftzufuhr gesorgt werden.itte befragen Sie ihren Fachhändler.
Rauchrohranschluß
Für den Anschluß der Rauchrohre an den Schornstein gibt es zu ihrer eigenen Sicherheit strenge Richtlinien. Ihr Kaminofen-Fachhändler kennt diese. Beauftragen Sie dazu unbedingt ihren Fachhändler mit dem Rauchrohranschluß.
3. SO BEDIENEN SIE IHREN KAMINOFEN RICTIG
Zugelassene Brennstoffe
Trockenes, gut abgelagertes, naturbellassenes Holz (Hartholz bevorzugt), Holzbrikettes.
Maximale Brennstoffmenge
Maximal aufzugebende Brennstoffmerge: 1,3 kg Holz.
Größere Brennstoffmengen können zu Überhitzung und Beschädigungen am Ofen führen!
Saubere Verbrennung
Das Brennholz muß trocken (rel. Holzfeuchte < 15 %) und unbehandelt sein. Außen dem muß die richtige Brennholzmenge verbrannt werden, um eine saubere, emissionsarme Verbrennung zu erreichen.
Richtig Feuer machen
Bereiten Sie alles zum Anheizen vor – Weichholzpane, Anzunghilfe (wie z.B. Austroflamm Anzünder), Brennholz. Fig. 3 gibt Ohnen eine Richtlinie hinsichtlich der Menge an Heizmaterial.
Öffnen Sie die Primär- und Sekundärluftzufuhr maximal. (siehe Fig. 2 „AUF").
Öffnen Sie die Kaminofentür.
Legen Sie 2 - 3 Stk. Anzündhilfen auf den Feuerraubboden. Legen Sie darauf eine handvoll Weichholzspane. Legen Sie auf diese Späne 1 - 2 Scheite Holz.

Fig 3:Anzunden
Zünden Sie nun die Anzündhilfen an. Schließen Sie die Feuerraumtur.

Fig. 4: Luftschieber regulieren
Sobald die Holzsche gut brennen, können Sie mit dem Luftschieber die Heizleistung regulieren (Schieber auf Maximalstellung „AUF“ = maximale Heizleistung – siehe Fig. 2).
Beim Nachlegen gohen Sie prinzipiell wie beim Anheizen vor: Luftschieber öffnen, Ofentüre vorsichtig {. Offnen, Holz nachlagen, Ture schlieBen. Warten Sie, bis das nachgelegte Holz brennt. Regeln Sie in der Folge die Heizleistung mit dem Luftschieber.
Heizen in der Übergangszeit
In der Übergangszeit, d.h. bei higheren Außentemperaturen, kann es bei plötzlichem Temperaturstieg zu Störungen des Schornsteinzuges kommt, so dass die Heizgase nicht vollständig abgezogen werden. Die Feuerstände ist dann mit geringeren Brennstoffmengen zu befällen und bei weiter geöffnetem Primäreluftschiebers/-reglers so zu betrieben, dass der vorhandene Brennstoff schneller (mit Flammentwicklung) abbrennt und dadurch der Schornsteinzug stabilisiert wird.
Hinweis bei Schornsteinbrand
Wird falscher oder zu feuchter Brennstoff verwendet, kann es aufgrund von Ablagerungen im Schornstein zu einem Schornsteinbrand kommt. Verschlieben Sie sofort alle Luftöffnungen am Kamin und informieren Sie die Feuerwehr. Nach dem Ausbrennen des Schornsteins diesen vom Fachmann auf Risse bzw. Dichtheit überprüfen setzen.
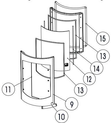
4. DIE WICHTIGSTEN ERSATZTEILE - ÜBERSICHT
Keramott
| Bezeichnung | Nr.-Skizze | Artikelnr. |
| Keramott Boden links | 1 | 714930 |
| Keramott Boden rechts | 2 | 714931 |
| Keramott Holzfänger | 3 | 714932 |
| Keramott Rückwand | 4 | 714933 |
| Keramott Seite links | 5 | 714934 |
| Keramott Seite rechts | 6 | 714935 |
| Keramott Umlenkplatte | 7 | 714936 |
| Rost | 8 | 716408 |
Sonstiges
| Bezeichnung | Nr.-Skizze | Artikelnr. |
| Flok Tür | 9 | 714973-29 |
| Flokgriff komplett | 10 | 714466 |
| Flok BA1 Feder | 11 | 714990-15 |
| Flok Türglas | 12 | 714920 |
| Glasreiniger 0,5l | -- | 640070 |
| Ofenlack | -- | 650002 |
| Austroflamm Anzünder Dose à 100 St. | -- | 640162 |
Dichtungen
| Bezeichnung | Nr.-Skizze | Artikelnr. |
| Flachdichtung 8mm x 2mm (1,7m) | 13 | 710096 |
| Runddichtung Ø 8mm (0,5m) | 14 | 710696 |
| Runddichtung Ø 14mm (1,8m) | 15 | 718429 |

Numerierung Keramott = Einbaureihenfolge

Zubehör
Bei Ihr dem Fachhändler erhalten Sie Bodenplatten aus Glas oder Stahl, Kaminbestecke, Pflegemittel oder das Heat Memory System zur Wärmespeicherung.
WICHITIG: Lassen Sie defekte Teile ausschließlich von Ihrem Kaminofenfachhändler austauschen.
Damit ist gewährleistet, daß Ihr Kaminofen sicher und Funktionstüchtig ist und bleibt.
Die Feuerstättearfichtverändertwerden.
Pflege
Zur Glasreinigung verwenden Sieitte ein Spezialprodukt wie Thermohit Glasreiniger. Lackierte Oberflächen durren nur mit einem Tuch (ev. feucht) gereinigt werden. Für Edelstahloberflächen gibt es ebenfalls Spezialreiniger.
Reinigung
Der Kaminofen, Rauchgaswege und Rauchrohre sollen jährlich -evtl. auch öfter, z.B. nach der Reinigung des Schornsteines - nach Ablagerungen untersucht und ggf. gereinigt werden. Der Schornstein muss ebenfalls regelmäß durch den Schornsteinfeger gereinigt werden. Über die notwendigen Intervalle gibt Ihr zuständiger Schornsteinfegermeister Auskunft. Der Kaminofen sollt jährlich durch einen Fachmann überprüft werden.
1. TECHNICAL DATA
Für ihren AUSTROFLAMM-Kaminofen garantieren wir für die einwandfreie Funktion des Corpus 6 Jahre, aller weiteren Bauteile aus Stahl und Guß 2 Jahre ab dem Erstverkaufsdatum. Stahl- und Gußteile, die während der Garantiezeit Material-und / oder Verarbeitungsmängel aufweisen, werden gegen Neuteile ersetzt.
Wir gewähren keine Garantie auf Verschleißsteile (z. B.: Keramott, Dichtungen, Bodenrost), Oberflächenbeschichtungen, Lack, Glas und Keramiken.
Voraussetzungen für unsere Garantieleistung sind:
- Ihr AUSTROFLAMM-Kaminofen wurde gemäß dem Benutzerhandbuch betrieben und von einem Fachmann installiert.
- Der Garantieanspruch wird mit der vollständig ausgefüllten Garantiekarte und der Rechnung bei einem AUSTROFLAMM-Fachhändler geltend gemacht.
WICTIG: Unsere Garantieleistung umfaßt die kostenlose Lieferung der Neuteile. Arbeits- und Wegzeiten werden dadurch nicht umfaßt. Eine ungerechtfertigte Garantieinanspruchnahme wird dem Betreiber rückbelastet.
EinfachAnleitung