M3 SL - Saunaofen HARVIA - Kostenlose Bedienungsanleitung
Finden Sie kostenlos die Bedienungsanleitung des Geräts M3 SL HARVIA als PDF.
Benutzerfragen zu M3 SL HARVIA
0 Frage zu diesem Gerät. Beantworten Sie die, die Sie kennen, oder stellen Sie Ihre eigene.
Eine neue Frage zu diesem Gerät stellen
Laden Sie die Anleitung für Ihr Saunaofen kostenlos im PDF-Format! Finden Sie Ihr Handbuch M3 SL - HARVIA und nehmen Sie Ihr elektronisches Gerät wieder in die Hand. Auf dieser Seite sind alle Dokumente veröffentlicht, die für die Verwendung Ihres Geräts notwendig sind. M3 SL von der Marke HARVIA.
BEDIENUNGSANLEITUNG M3 SL HARVIA
EN Instructions for Installation and Use of Woodburning Stove
DE Anleitung für Montage und Gebrauch des holzbeizahlen Saunaofens

M3 SL

20 SL

20 SL Boiler

50 SL

20 Duo, 36 Duo


EN
Wir beglückwünschen Sie zu ihrer eigenen Wahl! Der Harvia Saunaofen Funktioniert am einwandfreisten und am langsten, wenn Sieihn dieser Anleitung entsprechend benutzen und warten.
Lesen Sie die Anweisungen vor der Montage und Inbetriebnahme des Ofens aufmerksam durch. Bewahren Sie die Anweisungen zum späteren Nachsclagen gut auf.
INHALT
- ALLGEMEINES 3
1.1. Technische Daten 3
1.2.Ofenteile 4
2.BEDIENUNGSANLEITUNG. 4
2.1. Warnungen 4
2.2. Vorbereiten des Ofens zur Benutzung 5
2.3.Brennmaterial 5
2.4.Saunaofensteine 6
2.5.Heizen des Ofens 6
2.6.Saunawasser 7
2.7.Wartung. 7
2.8.Storungen 8
3.SAUNAKABINE 9
3.1. Aufheizen der Saunakabine 9
3.2.Belüftung der Saunakabine 9
3.3.Hygiene der Saunakabine 9
- MONTAGEANLEITUNG 10
4.1.Vor der Montage 10
4.1.1.Bodenschutz 10
4.1.2. Sicherheitsabstände 11
4.1.3. Schutzabdeckungen 12
4.2.1.VerstellbareFüBe des Ofens 13
4.2.2. Anschluss des Ofens an einen gemauerten
Rauchfang 14
4.2.3. Anschluss des Ofens an einen Harvia-Edelstahlschornstein 14
4.3.Änderung der Öffnungsrichtung der Ofentür 15
4.4.Zubehor 16
1. GENERAL
1. ALLGEMEINES
1.1. Technical Data
1.1. Technische Daten
| M3 SL | 20 SL | 20 SL Boiler | 20 Duo | 36 Duo | 50 SL | |
| Rated output (kW) | 13 | 18 | 18 | 18 | 30 | 40 |
| Nennleistung (kW) | ||||||
| Sauna room volume (m3) | 4,5–13 | 8–20 | 8–20 | 8–20 | 14–36 | 20–50 |
| Volumen der Saunakabine (m3) | ||||||
| Required temperature class of chimney | T600 | T600 | T600 | T600 | T600 | T600 |
| Erforderliche Temperaturklasse des Rauchfangs | ||||||
| Diameter of connection opening (mm) | 115 | 115 | 115 | 115 | 115 | 140 |
| Durchmesser der Anschlussöffnung (mm) | ||||||
| Stone quantity (max. kg) | 30 | 40 | 40 | 40 | 60 | 120 |
| Steinmenge (max. kg) | ||||||
| Stone size (cm) | Ø10–15 | Ø10–15 | Ø10–15 | Ø10–15 | Ø10–15 | Ø10–15 |
| Steingörse (cm) | ||||||
| Weight (kg) | 45 | 70 | 75 | 80 | 80 | 175 |
| Gewicht (kg) | ||||||
| Width (mm) | 390 | 430 | 430 | 430 | 510 | 510 |
| Breite (mm) | ||||||
| Depth + fire chamber extension (mm) | 430 | 510 | 510 | 510 | 510 | 715 |
| Tiefe + Brennkammerfortsatz (mm) | + 210 | + 210 | + 210 | + 280 | + 280 | + 195 |
| Height + adjustable legs (mm) | 710 | 760 | 760 | 760 | 810 | 1050 |
| Höhe + verstellbare Fuß (mm) | - | + 0–30 | + 0–30 | + 0–30 | + 0–30 | - |
| Thickness of fire chamber cover (mm) | 5 | 10 | 10 | 10 | 6 | 10 |
| Stärke der Brennkammerdecke (mm) | ||||||
| Maximum length of firewood (cm) | 35 | 39 | 39 | 39 | 39 | 61 |
| Maximale Länge des Brennholzes (cm) |
Wahlen Sie den Ofen sorgsam nach seiner Leistung aus. Wenn die Heizleistung zu gering ist, muss der Ofen länger und intensiver beheizt werden, was seine Lebensdauer verkürzt.
Beachten Sieitte, dass nicht isolierte Wände und Dachoberflächen (wie zum Beispiel Ziegel, Glas, Kacheln und Betonoberflächen) die Leistungsanforderungen des Ofens erhöhen. Für jedem Quadratmeter einer solchen Wand- oder Dachoberfläche sollen den Sie zusätzliche 1,2m^3 Volumen berechnen. Wenn die Saunawände aus Massivholz bestehen, muss das Volumen mit 1,5 multipliziert werden. Beispiele:
- Eine 10m^3 große Saunakabine mit einer 2 m breiten und 2 m hohen Steinwand entspricht einer Saunakabine von etwa 15m^3 .
- Eine 10m^3 große Saunakabine mit einer Glastür entspricht einer Saunakabine von etwa 12m^3 .
- Eine 10m^3 große Saunakabine mit Massivholzwänden entspricht einer Saunakabine von etwa 15m^3 .
Wenn Sie wünschen, kann Ich den Händler oder Vertreter des Herstellers bei der Auswahl des Ofens halten. Weitere Informationen finden Sie auch auf unserer Website unter www.harviasauna.com.
1.2. Stove Parts
A. Obere Anschlussöffnung
B. Rußöffnung
C.Ofentur
D. Aschekasten
E. Manschette (nur 20 Duo/36 Duo)
F. Brennkammerfortsatz



M3 SL
20 SL
20 SL Boiler
20 Duo
36 Duo

50SL

Figure 1. Stove parts
Abbildung 1. Ofenteile
2. INSTRUCTIONS FOR USE

2. BEDIENUNGSCANLEITUNG

Lesen Sie die Anweisungen vor der Inbetriebnahme des Ofens aufmerksam durch.
2.1. Warnungen
- Ein langer Aufenthalt in einer freißen Sauna führt zum Ansteigen der Körpertemperatur, was gefährlich sein kann.
- Achtung vor dem bereits Saunaofen. Die Steine sowie das Gehäuse werden sehr bereits und konnen die Haut verbrennen.
- Achten Sie auch darauf, daß Sie kein Wasser auf die Steine gießen, wenn sich jeder in deren Nähe befindet. Der freiße Dampf könnte Brandwunden verursachen.
- Halten Sie Kinder vom Ofen fern.
- Kinder, Gehbehinderte, Kranke und Schwache)dürfen in der Sauna nicht alleingelassen werden.
Gesundheitliche Einschränkungen bezogen auf das Saunen müssen mit dem Arzt besprochen werden. - Über das Saunen von Kleinkindern sollenn Siesich in der Mutterberatungsstelle beraten halten.
- Gehen Sie nicht in die Sauna, wenn Sie unter dem Einfluss von Narkotika (Alcohol, Medika-
menten, Drogen usw.) stehen.
Schlafen Sie nie in einer erhitzten Sauna.
- Meer- und feuchtes Klima können die Metalloberflächen des Saunaofens rosten halten.
- Benutzen Sie die Sauna wegen der Brandgebung nicht zum Kleider- oder Wäschetrocknen.
2.2. Vorbereiten des Ofens zur Benutzung
Führer Sie das erste Heizen draußen oder in einem gut belufteten Raum durch. Der Ofenkorpus hat eine Schutzschicht, die bei der erstmaligen Erhitzung wegbrennen soll. Dabei entsteht sehr viel Rauch. Sobald dieser nicht mehr entsteht, ist der Ofen zur Anwendung bereit.
Wenn das erste Heizen draußen staatfindet, bringen Sie die Ofenrohre (4.4.) an, um einen Luftzug zu erreichen. Hierdurch kommt es auch an den Ofenrohren zur Geruchsentwicklung.
Der Außenmantel wird mit hitzebeständiger Farbe lackiert, die erst beim ersten Heizen endgültig aushärtet. Vorher muss das Reiben und Wischen der lackierten Oberflächen des Ofens vermieden werden.
- Eine Ladung Holz reicht für das erstige Heizen aus.
- Vor dem ersten Heizen sollen die Saunastine noch nicht auf den Ofen gelegt werden. Legen Sie die Saunastine erst dann auf den Ofen, wenn der Ofen nach dem ersten Heizen komplett abgekühlt ist.
Währen dem erstmaligen Aufheizen des Ofens darauf kein Aufguß durchgeführt werden, daß stund durch das Wasser die Farboberfläche beschädigt wird!
2.3. Brennmaterial
Trockenes Holz ist das Beste Material, um den Ofen zu heizen. Trockenes, gehacktes Brennholz klingt, wenn es gegen ein anderes Stück geschlagen wird. Die Feuchtigkeit des Holzes hat einen betrachtlichen Einfluss darauf, wie sauber die Verbrennung ist und wie effizient der Ofen arbeitet. Sie konnen das Feuer mit Birkenrinde oder mit Zeitungspapier anfachen.
Es gibt große Unterschiede zwischen den Brennwerten der verschiedenen Holzsorten. Um die Heizkraft von Birkenholz zu erreichen, besteht man beispiselsweise ca. 15% weniger Buchenholz. Wenn zu viel Holz mit hohem Brennwert auf einmal im Ofen verbrannt wird, verstellt sich die Lebensdauer des Ofens.
Bewahren Sie das Brennmaterial in einem separaten Lagerbereich auf. Eine keine Menge an Brennmaterial konnen Sie in der Umgebung des Ofens aufbewahren, so lange die Temperatur Dort 80^ nicht überschreitet.
Verbrennen Sie folgende Materialien nicht im Ofen:
- Brennmaterialien, die einen hohen Wärmewert haben (wie etwas Spanplatten, Plastik, Kohle, Briketts, Pellets usw.)
- Lackiertes oder imprägniertes Holz
- Abfall (wie etwas PVC-Plastik, Textilien, Leder, Gummi, Einwegwindeln)
Gartenabfälle (wie etwas Gras, Blätter)
2.4. Sauna Stones
Die Steine sollen einen Durchmesser von 10-15 cm haben.
- Nur speziell für diesen Zweck vorgesehe Steine sollenten als Saunasteine verwendet werden. Geeignete Gesteinsarten sind Peridodit, Olivin-Dolerit und Olivin. In der Natur gefundene suprakrustale Steine)dürfen nicht verwendet werden.
Die Steine sollen den dem Aufschichten von Steinstaub befrei werden.
- Legen Sie die größeren Steine nach unten und die kleineren nach oben.
- Zwischen den Steinen muss Luft zirkulieren können.
- Legen Sie keine Steine gegen oder auf das Rost um die Steinkammer herum.
- Legen Sie keine Steine zwischen den Rost und den Ofenkorpus!

Figure 2. Preparing the stove and piling the stones
Abbildung 2. Vorbereitung des Ofens und Stapeln der Steine
2.5. Heizen des Ofens
Sorgen Sie vor dem Heizen des Ofens davon, dass sich keine unnötigen Gegenstände in der Sauna oder innerhalb der Sicherheitsabstände des Ofens befinden.
- Leeren Sie den Aschekasten.
- Legen Sie das Brennholz in die Brennkammer, wobei Sie genügend Lufttraum lassen, damit die Verbrennungsluft zwischen dem Brennholz hindurchströmen kann. Legen Sie die größeren Stücke Brennholz nach unten und die klineren nach oben. Verwenden Sie Brennholz mit einem Durchmesser von 8-12 cm. Füllen Sie die Brennkammer zu ca. 2/3 mit Brennholz (den Brennwert des Holzes Beachten, 2.3.). Legedas Brennholz hinterin in den Feuerraum auf den Gitterrost. Vermeide, Holz im Verlängerungsteil brennen zu{lassen. Verwende keine zu langen Holzstücke, auch wenn diese in den Ofen passen wurden.
- Legen Sie das Zündholz oben auf das Brennholz. Wenn das Feuer von der Spitze des Brennholzes aus angefacht wird, werden weniger Emissionenproduktiert.
- Zünden Sie das Zündholz an und schreiben Sie
die Tür. Der Zug kann durch Öffnen des Aschekastens geregelt werden.
- Beim Heizen des Ofens ist es allgemeinratsam, den Aschekasten zunachst leicht geöffnet zu halten. Hierdurch kann sich das Feuer am Anfang better entwickeln.
- Zu starker Zug führt dazu, dass sich der Ofenkorpus bis zum Glihen aufheizt, was seine Lebensdauer enorm verkurzt.
-
Wahlrend des Saunaganges und wenn die Sauna bereits aufgewärmt ist, kann der Aschekasten geschlossen werden, um das Feuer Klein zu halten und den Holzverbrauch zu verringern.
-
Legen Sie gegebenenfalls Brennholz in die Brennkammer nach, wenn das Feuer erlischt. Verwenden Sie Brennholz mit einem Durchmesser von 12-15 cm. Zur Aufrechterhaltung der Saunatemperatur sind nur weniger Holzstücke nötig.

Längeres, intensiveres Heizen kann zu einem Brandrisiko führen!
- Exzessives Heizen (z. B. mit mehreren vollen Holzladungen hintereinander) führt zu einer Überhitzung des Ofens und des Rauchfangs. Eine Überhitzung verkürzt die Lebensdauer des Ofens und kann zu einem Brandrisiko führen.
- Als Daumenregel gilt, dass die Temperatur der Sauna 100^ nicht überschreiben sollte.
- Beachten Sie die in den Heizanweisungen angegebenen Holzmengen. Lassen Sie Ofen, Rauchfang und Saunakabine gegebenenfalls abkühlen.
2.6. Saunawasser
Bei dem Wasser, das auf die Steine geschüttet wird, sollte es sich um klares Haushaltswasser handeln. Sorgen Sie für Wasser mit ausreichender Qualität, da mit Salzen, Kalk, Eisen oder Humus versetztes Wasser zur vorzeitigen Korrosion des Ofens führen kann. Besonderss bei Meerwasser rostet der Ofen sehr schnell. Die folgenden Qualitätsansprüche gelten für Haushaltswasser:
- Humusgehalt < 12mg/Liter
Eisen gehalt < 0,2mg / L iter - Kalzium gehalt < 100mg/Liter
- Mangangehalt < 0.05mg/Liter

Werfen Sie das Saunawasser nur auf die Steine. Wenn Sie das Wasser auf die freißen Stahlflächen werfen, können sich wegen der großen operaturunterschiede Dellen auf ihren bilden.
2.7. Wartung
Ofen
- Der Aschekasten sollen vor jedem Heizen des Ofens geleert werden, damit die Verbrennungsluft, die durch den Aschekasten geführt wird, den Feuerrost kühlt und dessen Lebensdauer verlangert. Verwenden Sie einen Metallbehälter, vorzugsweise ein stehendes Modell, für die Asche. Da sich heiße Glutstücke in der Asche befinden können, halten Sie den Aschebehälter von brennbaren Materialien fern.
- Ruß und Asche, die sich in den Rauchkanälen des Ofens sammeln, müssen gelegentlich durch die Rußöffnungen halten (1.2.).
- Aufgrund der größten Wärmeänderungen werden
die Saunasteine sprende und brüchig. Die Steine sollten mindestens einmal jährlich neu aufgeschickt werden, bei starkem Gebrauch öfter. Bei dieser Gelegenheit entfernen Sieitte auch Staub und Gesteinssplitter aus dem unteren Teil des Saunaofens und ersetzen beschädigte Steine.
Staub und Schmutz vom Ofen mit feuchtem Tuch abwischen.
Rauchfang
- Der Rauchfang muss regelmäßig gefegt werden, um einen ausreichenden Zug zu sichern.
2.8. Störungen
Im Rauchfang findet kein Luftzugstatt.
- Es gibt undchte Stellen im Anschluss des Rauchfangs. Dachten Sie den Anschluss ab (4.2.2.).
Der gemauerte Rauchfang ist kalt. - Ein Sauglüfter oder ein anderes Gerät im Raum führt zu einem Niederdruck. Sorgen Sie im Ausgleich für genügend Luft.
- Es werden mehrere Feuerstellen gleichzeitig genutzt. Sorgen Sie im Ausgleich für genügend Luft.
- Der Aschekasten ist voll.
Die Rauchkanäle des Ofens sind verstopft (2.7.).
Das Abzugsanschlussrohrarficht zuweit in den Rauchfang hineinreichen ( 4.2.2.)
Die Sauna wird nicht warm.
Die Sauna ist in Relation zur Heizkapazität des Ofens zu groß (1.1.).
- Es gibt viele nicht isolierte Wandoberflächen in der Sauna (▶1.1.).
- Das Brennmaterial ist feucht oder anderweitig von schlechter Qualität (2.3.).
- Der Rauchfang hat keinen gute Luftzug.
Die Rauchkanäle des Ofens sind verstopft (2.7.).
Die Saunaofensteine werden nicht warm.
Die Sauna ist in Relation zur Heizleistung des Ofens zu Klein (1.1.).
- Der Rauchfang hat keinen gute Luftzug.
- Das Brennmaterial ist feucht oder anderweitig von schlechter Qualität.
Die Rauchkanäle des Ofens sind verstopft (p2.7.).
- Überprüfen Sie die Anordnung der Steine (2.4.). Entfernen Sie die kleinen Steinstücks und alle Steine, die weniger als 10 cm Durchmesser aufweisen, aus der Steinkammer. Ersetzen Sie die herausgenommenen Steine durch große und unbeschädigte.
Der Ofen gibt Gerüche ab.
- Siehe Abschnitt 2.2.
- Ein heißer Ofen kann Gerüche in der Luft verstärken, die jedoch nicht durch die Sauna oder den Ofen selbst verursicht wurden. Beispiele: Farbe, Klebstoff, Öl, Würzmittel.
3. SAUNA ROOM
3.1. Aufheizen der Saunakabine
Helle Böden werden durch Asche, Steinpartikel und aus dem Ofen fallende Metalsplitter verunreinigt. Verwenden Sie Bodenabdeckungen aus dunklen Materialien und dunkle Zementschämme.
Esistganznormal,wellnisch dieHolzoberflächen einerSauna mit der Zeitverfürben.Dieschwärzung wird beschleunigt durch:
- Sonnenlicht
- Hitze des Ofens
- Täfelungsschutz an den Wänden (mit geringem Hitzewiderstand)
- Feinpartikel, die aus den zerfallenden Saunastinen in die Luft entweichen
- Rauch, der in die Sauna kommt, zum Beispiel beim Nachlegen von Brennholz.
Wenn die vom Hersteller gegebenen Montageanweisungen befolggt werden, erwartm der Ofen brennbare Materialien in der Saunakabine auf keine gefährliche Temperaturen.
3.2. Belüftung der Saunakabine
Siehe Abbildung 3.
A. Luftzufuhr. Bei Mechanischer Entlüftung Luftzufuhr über dem Ofen anbringen. Bei Schwerkraftentlüftung Luftzufuhr unter oder darüber dem Ofen anbringen. Der Durchmesser des Luftzufuhrrohres muss 50-100 mm betragen.
B. Entlüftung. Entlüftung in Bodennähe anbringen, so welt weg vom Ofen wie möglich. Der Durchmesser des Entlüftungsrohres sollen doppelt so groß sein wie bei der Luftzufuhr.
C. Sorgen Sie im Ausgleich für genügend Luft.
3.3. Hygiene der Saunakabine
Liegetücher benutzen, um die Bänke vor Schweiz zu schützen.
Bänke, Wände und Boden der Sauna mindestens alle sechs Monate waschen. Bürste und Saunareinigungsmittel verwenden.
Abbildung 3. Belüftung der Saunakabine
4. INSTRUCTIONS FOR INSTALLATION
4.1. Before Installation
4.1. Vor der Montage
Sorgen Sie vor der Montage des Ofens damit, dass alle Anforderungen bezüglich der Sicherheitsabstände eingehalten werden. Innerhalb des Sicherheitsabstands um den Ofen herum dürfen sich keine elektrischen Geräte, Kabel oder brennbare Materialien befinden.
- Wenn die Anforderungen für Sicherheitsabstände nicht eingehalten werden, sollen den Sie einen zusätzlichen Schutz anbringen (4.1.3.).
- Nähere Informationen zu Brandschutzbestimmungen erhalten Sie von den örtlichen Behörden, die für die Genehmigung der Einbauten zuständig sind.
4.1.1. Bodenschutz
Siehe Abbildung 4.
A. Betonboden ohne Fliesen. Auf Betonboden kann der Ofen ohne besondere Sicherheitsmaße aufgebaut werden, solange der Beton mindestens 60~mm dick ist. Vergewissern Sie sich, dass sich in dem Beton unter dem Ofen weder elektrische Kabel noch Wasserleitungen befinden.
B. Boden aus brennbarem Material. Schützen Sie den Boden mit einer mindestens 60~mm dicken Betonplatte. Die Platte muss an den Seiten des Ofens und dahinter um 300~mm hervorstehen (wenn sich der Ofen nicht an einer Wand befindet). Die Platte sollen sich auf einer Unterlage leicht über der Bodenoberfläche befinden, um Bodenmaterial trocken zu halten.
C. Fliesenboden. Die unter den Fliesen benutzten Klebstoffe, Mörtel und Wasserfesten Materialien können der Wärmestrahlung des Ofens nicht standhalten. Schützen Sie den Boden mit der Schutzplatte von Harvia (WX018) oder einem ähnlichen Hitgeschutz.
D. Brennbarer Untergrund auf der Seite der Ofentür. Bringen Sie an dieser Stelle einen Schutz aus feuerfestem Material an.








Figure 4. Protecting the floor (all dimensions in millimeters) Abbildung 4. Bodenschutz (alle Abmessungen in Millimetern)
4.1.2. Safety Distances
See figure 5.
4.1.2. Sicherheitsabstände
Siehe Abbildung 5.
A. Dach. Der Mindest-Sicherheitsabstand zwischen Ofen und Dach beträgt 1200mm
B. Gemauerte Wände. Lassen Sie 50 mm zwischen Ofen und Wänden, vorausgesetzt, die Luft kann vor dem Ofen und auf einer Seite zirkulieren. Wenn der Ofen in eine Nische eingebaut wird,LANsEN SiFur die Luftzirkulation zwischen dem Ofen und den Wänden 100 mm Platz.
C. Wände und Liegen aus brennbarem Material. Mindest-Sicherheitsabstand von brennbaren Materialien: 500 mm auf beiden Seiten und hinter dem Ofen und 1000 mm davor.
D. Fürutzung und Wartung benötigter Raum. Der Benutzer des Ofens besteht mindestens einen Quadratmeter Platz vor dem Ofen.




Figure 5. Safety distances (all dimensions in millimetres)

Abbildung 5. Sicherheitsabstände (alle Abmessungen in Millimetern)
4.1.3. Protective Covers
4.1.3. Schutzabdeckungen
Siehe Abbildung 6. Die angegebenen Sicherheitsabstände zu brennbaren Materialien können durch einen einfachen Schutz um die Häfte und mit einem doppelten Schutz auf ein Viertel reduziert werden.
- Eine einzelnche Schutzabdeckung (1x) kann aus faserverstärkten, nicht brennbaren Betonplatten (Mineralplatten) mit einer Mindestdicke von 7 mm oder aus Blech mit einer Mindestdicke von 1 mm bestehen.
- Eine doppelte Schutzabdeckung (2x) lässt sich aus zwei der oben erwähnten Platten herstellen.
Die Befestigungspunkte müssen nahe genug beieinander liegen, um eine solide Struktur zu gewährleisten. - Lassen Sie zwischen der zu schützenden Oberfläche und der Platte mindestens 30mm Platz.
Die Schutzabdeckung sollte mindestens 600 mm höher als die obere Kante des Ofens sein. - Eine mindestens 55mm dicke gemauerte Wand entspricht einer einzeln Schutzabdeckung.
Eine mindestens 110 mm dicke gemauerte Wand entspricht einer doppelten Schutzabdeckung. Die gemauerte Wand sollte zu den Seiten hin offen sein und sich mindestens 30 mm von der zu schützenden Oberfläche entfernt befinden.


Figure 6. Protective covers (all dimensions in millimeters)
Abbildung 6. Schutzabdeckungen (alle Abmessungen in Millimetern)
4.2. Installing the Stove
Siehe Abbildung 7. Der Saunaofen wird in einer Öffnung in einer Wand aus Beton oder Ziegelstein installiert.
M3 SL, 20 SL, 20 SL Boiler, 50 SL
- Entfernen Sie den Scharnierbolzen und die Luke (siehe Abbildung 9).
- Schieber den Sie den Brennkammerfortsatz des Saunaofens so welt durch die Öffnung, dass sich die Luke in der richtigen Position befinden.
20 Duo, 36 Duo
Ziehen Sie die vordere Manschette ab.
- Schieben Sie den Brennkammerfortsatz des Saunaofens so welt durch die Öffnung, dass sich die Manschette und die Luke in der richtigen Position befinden.
- Ziehen Sie den Saunaofen so welt zurück, dass die Manschette gegen Wand und Luke drückt.
| A min. | B max. | C min. | D min. | E min. | F min. ▷4.2.3. | |
| M3 SL | 210 | 150 | 390 | 610 | 1450 | 1300 |
| 20 SL | 210 | 150 | 390 | 610 | 1450 | 1300 |
| 20 SL Boiler | 210 | 150 | 390 | 610 | 1450 | 1300 |
| 20 Duo | 405 | 150 | 485 | 500 | 1450 | 1300 |
| 36 Duo | 405 | 150 | 485 | 500 | 1450 | 1300 |
| 50 SL | 350 | 150 | 615 | 610 | 1570 | 1550 |


20 Duo, 36 Duo


Figure 7. Installing the stove (all dimensions in millimeters) Abbildung 7. Montage des Ofens (alle Abmessungen in Millimet
4.2.1. Adjustable Legs
4.2.1. Verstellbare Füße des Ofens
(Nur 20 SL, 20 SL Boiler, 20 Duo, 36 Duo.) Die verstelltbaren Fuß deinen zur sicheren Installation auf schiefer Grundfläche. Regelbereich 0 - 30mm . Die verstelltbaren Fuß sollen bis zu einem Ausmaß gelöst werden, das es ermöglich, sie mit einem Gabelschlüssel (17 mm) einzustellen, wenn der Ofen an seinem Platz stehen.
Achtung! Die verstelltbaren Fußkonnen die Bodenoberfläche zerkratzen, wenn der Ofen auf dem Boden bewegt wird.
4.2.2. Anschluss des Ofens an einen gemauerten Rauchfang
Siehe Abbildung 8. Stellen Sie in der Brandmauer eine Öffnung für den Abzugsanschluss her. Beachten Sie, falls Sie z.B. eine Schutzplatte anzubringen gedenken, dass sich die Öffnung auf der richtigen Höhe befinden muss. Das Loch sollte etwas größer sein als der Durchmesser des Abzugsanschlussrohres. Eine Dichtungstücke von etwa 10mm um das Rohr herum ist angemessen. Es ist ratsam, die inneren Ecken der Rauchfangsöffnung abzurunden, damit die Rauchgase in den Rauchfang frei abziehen konnen. Zur einfacheren Montage stehen zusammen Zubehör zur Verfugung (4.4.).
Für den Anschluss wird ein Winkelrauchrohr (45^ oder 90^) besteht (4.4.).
- Bringen Sie das Abzugsanschlussrohr an die obere Anschlussöffnung an. Das Rohr muss fest an seinem Platz sitzen.
- Schieben Sie den Ofen an seine Position. Schieben Sie das Abzugsanschlussrohr nicht zuweit in den Rauchfang hinein. Kurzen Sie das Rohr, falls notwendig.
- Dachten Sie das Abzugsanschlussrohr in der Öffnung der feuerfesten Wand ab, z.B. mit feuerfester Mineralwolle. Der Abzugsanschluss muss absolut dicht sein. Fügen Sie gegebenenfalls mehr Mineralwolle hinzu.
| A | B | C | D ca. | E ca. | F ca. | G ca. | |
| M3 SL | 640 | 120 | 195 | 830 | 1070 | 1380 | 1630 |
| 20 SL | 670 | 120 | 215 | 850 | 1080 | 1410 | 1640 |
| 20 SL Boiler | 670 | 120 | 215 | 850 | 1080 | 1410 | 1640 |
| 20 Duo | 670 | 120 | 215 | 850 | 1080 | 1410 | 1640 |
| 36 Duo | 750 | 130 | 255 | 930 | 1200 | 1490 | 1760 |
| 50 SL | 1090 | 580 | 255 | 1230 | 1500 | -* | -* |

Figure 8. Connecting the stove to a masonry flue (all dimensions in millimeters)
Abbildung 8. Anschluss des Ofens an einen gemauerten Rauchfang (alle Abmessungen in Millimetern)
4.2.3. Anschluss des Ofens an einen Harvia-Edelstahlschornstein
Zur Abführung der Verbrennungsgase kann ein CEgeprüfter Harvia-Stahlschornstein verwendet werden. Die Ofenrohre sind aus rostfreiem Stahl gefertigt, und der Schornstein wurde feuerfest isoliert. Der Schornstein hat ein rundes Profil. Das Ofenrohr misst 115mm im Durchmesser und der Außenmantel 220~mm .
Schließen Sie das Ofenrohr des Stahlschornsteins an die obere Anschlussöffnung des Ofens an. Vergewissern Sie sich, dass das Ofenrohr fest an seinem Platz sitzt.

Sorgen Sie vor der Montage davon, dass alle Anforderungen bezüglich der Sicherheitsabreite eingehalten werden. Genauere Anweisungen in Sie in den Installationsanweisungen des Schornsteins!

Die Brennfeste Wand, in die der Ofen eingebaut wird, muss bis zum Außendach reichen. dung 7. F.)

Bei Verwendung eines Schutzmantels um den Ofen herum muss der isolierte Teil des Rauchauf Höhe der Oberkante des Schutzmantels darunter anfangen.
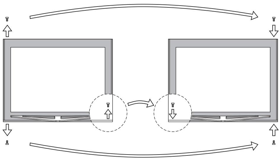
4.3. Änderung der Öffnungsrichtung der Ofentür Die Ofentür kann so montiert werden, dass sie entweder nach links oder nach rechts zu öffnen ist. Siehe Abbildung 9.

SL



Duo
Figure 9. Changing the opening direction of the stove door Abbildung 9. Änderung der Öffnungsrichtung der Ofentür
4.4. Accessories
(Models M3 SL, 20 SL, 20 SL Boiler, 20 Duo, 36 Duo only.)
A. Harvia-Stahlschornstein WHP1500. 4.2.3
B. Warmwasserbehälter VL22I. Oben auf der oberen Anschlussöffnung montiert. Wenn ein Schutzmantel oder ein anderer Schutz benutzt wird, der nicht groß genug ist, um die brennbaren Materialien um den Ofen herum vor der Wärmestrahlung des Rohres zwischen dem Warmwasserbehälter und dem Rauchfang zu schützen, so müssen Sie um das Rohr herum einen Strahlungsschutz anbringen.
C. Strahlungsschutz WZ020130. Um das Rauchrohr herum angebracht. Der Sicherheitsabstand von brennbaren Materialien zu einem ungeschützten Rauchrohr beträgt 1000mm . Bei Verwendung eines Strahlungsschutzes beträgt der Sicherheitsabstand 500mm .
D. Harvia-Schutzplatte WX018.4.1.1.
E. Winkelrauchrohr. Verschiedene Modelle.
F. Durchgangskragen für Rauchrohr WZ020115. Bedeckt die Kanten der Rauchfangöffnung und die Dichtung in der Wand. Aus Edelstahl gefertigt. Besteht aus zwei Teilen, die sich für verschiedene geniegte Rauchrohre eignen.
G. Maueranschluss WZ011115. Angebrecht an die Rauchfangöffnung, besteht keine weiteren Dichtungen. Die Innenseite verfügbar bereits über eine Dichtung.


Figure 10. Accessories (all dimensions in millimeters) Abbildung 10. Zubehor (alle Abmessungen in Millimetern)
EinfachAnleitung