HGS60 - Dampferzeuger HARVIA - Kostenlose Bedienungsanleitung
Finden Sie kostenlos die Bedienungsanleitung des Geräts HGS60 HARVIA als PDF.
Benutzerfragen zu HGS60 HARVIA
0 Frage zu diesem Gerät. Beantworten Sie die, die Sie kennen, oder stellen Sie Ihre eigene.
Eine neue Frage zu diesem Gerät stellen
Laden Sie die Anleitung für Ihr Dampferzeuger kostenlos im PDF-Format! Finden Sie Ihr Handbuch HGS60 - HARVIA und nehmen Sie Ihr elektronisches Gerät wieder in die Hand. Auf dieser Seite sind alle Dokumente veröffentlicht, die für die Verwendung Ihres Geräts notwendig sind. HGS60 von der Marke HARVIA.
BEDIENUNGSANLEITUNG HGS60 HARVIA
EN Instructions for Installation and Use of Steam Generator
DE Gebrauchs- und Montageanleitung des Dampfgenerators

EN
These Montage- und Gebrauchsanleitung richtet sich an Besitzer von Dampfkabinen und Dampfgeneratoren, an Personen, die für den Betrieb von Dampfkabinen und Dampfgeneratoren verantwortlich sind, sowie an Elektromonteure, die mit der Montage von Dampfgeneratoren betraut sind. Nach der Montage des Dampfgenerators ist diese Montage- und Gebrauchsanleitung dem Besitzer der Dampfkabinen und des Dampfgenerators oder der für die Wartung der Anlagen zuständigen Person auszuhändigen. Wir beglükwünschen Sie zu ihrer eigenen Wahl!
STEAM
Verwendungszweck des dampfgenerators: Der Dampfgenerator dient zum Erwärmen von Dampf-kabinen auf die Dampfbadtemperatur. Erarf nicht für andere Zwecke verwendet werden.
Die Garantiezeit von Dampfgeneratoren und Steuerveräten für den Heimgebrauch beträgt zwei (2) Jahre. Die Garantiezeit von Dampfgeneratoren und Steuereräten, die in Gemeinschafts-Dampfkabinen verwendet werden, beträgt ein (1) Jahr. Die Garantiezeit von Dampfgeneratoren und Steuereräten, die in öffentlichen Dampfkabinen verwendet werden, beträgt drei (3) Monate.
These Garantie gilt nicht, wenn die Anforderungen an die Wasserqualität gemäß Tabelle 1 nicht erfüllt werden, das Gerät nicht wie in Kapitel 1.4. beschreiben gewartet und/oder das Gerät nicht wie in Kapitel 2 beschreiben installiert wird.
INHALT
- ANLEITUNG FÜR DEN BENUTZER. 3
1.1. Komponenten des Dampfgeneratorsystems 3
1.2. Verwendung des Dampfgenerators 4
1.3. Verwendung des Zubehörs 4
1.3.1.Duftkonzentratpumpe (optional) 4
1.3.2.Beleuchting 6
1.3.3.Belüftung 6
1.4.Wartung des Dampfgenerators.. 6
1.4.1. Wartung des Oberflächenfuhlers 7
1.4.2.Entkalkung 7
1.4.3. Reinigung der Dampfdüssen 8
1.5.Warnhinweise 8
1.6. Störungsbeseitigung 9
- INSTALLATIONSANLEITUNG 10
2.1.Vor der Montage 10
2.2. Aufstellort und Befestigung des
Dampfgenerators 10
2.3.Elektrische Anschlusse 11
2.3.1.Installieren des Temperaturfuhlers 12
2.3.2.Multidrive 12
2.4. Anschließlich des Dampfgenerators an die Wasserversorgung 13
2.5.Dampfrohre 13
2.6. Montage der Dampfdusen 14
2.7. Montage der Duftkonzentratpumpe 14
2.8. Montage des automatischen Auslassventils 14
2.9. Montage des Bedienfelds 14
2.10. Zurücksetzen des Überhitzungsschutzes 15
3.ERSATZTEILE 16
1. INSTRUCTIONS FOR USE
1.1. Steam Generator System Components
1. ANLEITUNG FÜR DEN BENUTZER
1.1. Komponenten des Dampfgeneratorsystems
- Bedienfeld
- Temperaturfuhler
- Dampfohr
- Dampfduse
- Wasserzuleitung
- Wasserzuleitungsventil
- Wasserabflussrohr
8a. Manuelles Auslassventil
8b. Automatisches Auslassventil (optional) - Bodenabfluss
- Überdruckventil
- Anschlusskabel
- Anschlusskosten
- Duftkonzentratpumper

Abbildung 1. Komponenten des Dampfgeneratorsystems
Figure 2. The control panel
Abbildung 2. Bedienfeld
1.2. Using the Steam Generator
1.2. Verwendung des Dampfgenerators
Bevor Sie das Gerä einschalten, stellen Sie sich, dass sich keine Fremdgegenstände in der Dampf-kabine befinden. Vergewissern Sie sich, dass der Dampf frei aus der Düse austreten kann. Öffnen Sie das Sperrventil der Wasserzuleitung.
Wenn das Gerät mit einem manuellen Auslassventil versehen ist, entleeren Sie den Wassertank, bevor Sie das Gerät verwenden. Öffnen Sie das Auslassventil, warten Sie, bis der Tank entleert ist, und schließen Sie das Ventil, bevor Sie das Gerät einschalten.

Drücken Sie die I/O-Taste auf dem Bedienfeld, um den Dampfgenerator einzuschalten.
Beim Einsatz des Geräts zeigt die obere Zeile des Displays die eingestellte Temperatur, während dieunte Zeile fuff Sekunden lang die Einschaltzeit anzeigt.
Bei der Anwendung des Multidrive-Systems nimmt das Bedienfeld zuerst Kontakt mit den zur Verfugung stehenden dampfgeneratoren auf. Auf dem Display erscheint der Text "pair" und die Anzahl der verfügbaren Generatoren.
Wenn das Gerät mit einem automatischen Auslassventil versehen ist (optional), wird der Wassertank zunachst entleert (das Entleeren tauert ca. 2 Minuten) und anschließend mit frischem Wasser wieder aufgefüllt (das Auffüllen tauert ca. 10 Sekunden).
Wenn das Wasser die obere Füllstandsgrenze erreicht hat, beginnt das Heizelement das Wasser aufzuheizen. Die Heizelemente werden ausgeschaltet, wenn die gewünschte Temperatur in der Dampfkabine erreicht wurde oder die Einschaltzeit abgelaufen ist. Wenn eine Störung auftritt oder die I/O-Taste gedrückt wird, werden die Heizelemente bereits ausgeschaltet.
Wenn noch Einschaltzeit verbleibt und keine Störung vorliegt, schaltet das Steuersystem die Heizelemente periodisch ein und aus, um die gewünschte Temperatur aufrechtzuerhalten. Das Gerät füllt den Wassertank während des Gebrauchs bei Bedarf automatisch auf.
Der Dampfgenerator schaltet sich aus, wenn die Einschaltzeit abläuft oder die I/O-Taste gedrückt wird. Beim Ausschalten des Dampfgenerators wird die Duftkonzentratpumpe bereits ausgeschelt. Sonstiges Zubehör muss mit den jeweiligen Tasten separat ein- und ausgeschelt werden.
Ist der Dampfgenerator mit einem automatischen Auslassventil versehen, bleibt das Ventil nach dem Ausschalten des Generators für fünf Minuten geöffnet. Auf dieser Weise leuchtet das Signallampchen für die Spülung und die Zeit wird unter auf dem Display angezeigt.
Das Andern der verbleibenden Einsatzzeit und der Dampfkabinentemperatur ist in Abbildung 3 darestellt. Das Andern der Werkseinstellungen fur die Einsatzzeit, das Spulintervall und die Speichereinstellungen ist ebenfalls in Abbildung 3 darestellt.
1.3. Verwendung des Zubehörns
1.3.1. Duftkonzentratpumpe (optional)
Wenn die Duftkonzentratpumpe eingeschaltet ist,
| 40.00 | Basic mode. The top row shows the steam room temperature. The bottom row shows the remaining on time. | Basis-Modus. Die obere Zeile zeigt die Dampfkabinettemperatur an. Die weitere Zeile zeigt die verbleibende Einschaltzeit an. |
Changing the settings: steam room temperature setting, remaining on time
Ändern der Einstellungen: Einstellung für die Dampfkabinetemperatur, verbleibende Einsatzzeit
| MENUL | Press the MENU button. | Drucken Sie die MENU-Taste. |
| 9088. | The steam room temperature setting can be changed with the - and + buttons. The range is 30-55 °C. | Die Dampfkabinentemperatur kann mit der Plus-taste (+) und Minustaste (-) geändert werden. Der Einstellbereich beträgt 30 bis 55 °C. |
| MENUL | Press the MENU button. | Drucken Sie die MENU-Taste. |
| 8888. | The remaining on time can be changed with the - and + buttons. The time changes in 10 minute steps. If the remaining time is less than an hour, it can not be decreased any more. | Die verbleibende Einschaltzeit kann mit der Plu-staste (+) und Minustaste (-) geändert werden. Die Zeit kann in 10-Minuten-Sritten geändert werden. Wenn die verbleibende Zeit weniger als eine Stunde beträgt, kann sie nicht weiter verrin-gert werden. |
| MENUL | Return to basic mode by pressing the MENU button. | Kehren Sie in den Basis-Modus darüber, indem Sie die MENU-Taste drücken. |
Changing the settings: maximum on time, rinsing interval, memory for power failures
Ändern der Einstellungen: maximale Einschlzeit, Spülintervall, Speicher für Stromausfälle
| = MENU + | Open the settings menu by simultaneously pressing the control panel buttons -, MENU, and++. Press for 5 seconds. | Öffnen Sie das EinstellungsmENU, indem Sie auf dem Bedienfeld gleichzeitig die Minustaste (-), die MENU-Taste und die Plustaste (+) drücken. Halten Sie die Tasten 5 Sekunden lang gedrückt. |
| 688. | The maximum on time can be changed with the - and + buttons. The options are 6**, 12, and 18 hours. | Die maximale Einschaltzeit kann mit der Plustaste (+) und der Minustaste (-) geändert werden. Es kann zwischen 6**, 12 und 18 Stunden gewählt werden. |
| 688. | Press the MENU button. | Drücken Sie die MENU-Taste. |
| 688. | The memory for power failures can be turned (ON**) or (OFF). The safety regulations for memory usage vary from region to region. | Der Speicher für Stromausfälle kann ein- oder ausgeschalten werden (ON** oder OFF). Die Sicherheitsvorschriften für die Verwendung des Speichers können je nach Region variieren. |
| 688. | Press the MENU button. | Drücken Sie die MENU-Taste. |
| 688. | Activate the automatic discharge valve. • Automatic discharge valve: ON • Manual discharge valve: OFF | Aktivierung des automatischen Auslassventils. • Automatisches Auslassventil: ON • Manuelles Auslassventil: OFF |
| 688. | Press the MENU button. | Drücken Sie die MENU-Taste. |
| 688. | The rinsing interval* can be changed with the - and + buttons. The options are 0.5, 1, 2**, and 4 hours. | Das Spülintervall* kann mit der Plustaste (+) und der Minustaste (-) geändert werden. Es kann zwischen 0,5, 1, 2** und 4 Stunden ge-wählt werden. |
| 688. | Return to basic mode by pressing the MENU button. | Kehren Sie in den Basis-Modus darüber, indem Sie die MENU-Taste drücken. |
- Only devices with automatic discharge valve (optional)/Nur Geräte mit automatischem Auslassventil (optional)
** Factory setting/Werkseinstellung
Figure 3. Steam generator settings Abbildung 3. Einstellungen fur den Dampfgenerator
gibt Sie Duftstoffe an das Dampfrohr ab.
Füllen Sie den Duftkonzentratbehälter und befe-stigen Sie den Ansaugschlauch der Pumpe am Behälter, bevor Sie den Dampfgenerator starten.

Schalten Sie die Duftkonzentratpumper ein, indem Sie die Taste auf dem Bedienfeld drücken.
Die Duftkonzentratpumpere schaltet sich aus, wenn die Taste erneut gedrückt oder der Dampfgenerator ausgeschaltet wird.
Es wird empfohlen, den Duftkonzentratbehälter nach der Verwendung auszuwasanchen. Dies gilt insbesondere bei Verwendung von verschiedene Duftkonzentraten.
ACHTUNG! Stellen Sie sicher, dass der Duftkonzentratbehälter während des Betriebs nicht vollkommen geleert wird: Die Pumpearf nicht ohne Duftkonzentrat betrieben werden! Verwenden Sie ausschließlich Duftkonzentrate, die fur die Verwendung mit Dampfgeneratoren vorgesehen sind. Befolgen Sie die Anweisungen auf der Verpackung des Duftkonzentrats.
1.3.2. Beleuchting
Die Beleuchtung der Dampfkabine kann so eingestellt werden, dass sie vom Bedienfeld des Dampfgenerators aus gesteuert werden kann. (Max 100 W.)

Schalten Sie die Lampen ein oder aus,
indem Sie die Taste auf dem Bedienfeld drücken.
1.3.3. Belüftung
Wenn in der Dampfkabine eine Belüftung installiert ist, kann diese an den Dampfgenerator angeschlossen werden. In diesen Fall kann die Belüftung vom Bedi-enfeld des Dampfgenerators aus gesteuert werden.

Schalten Sie die Belüftung ein, indem Sie die Taste auf dem Bedienfeld drücken.
1.4. Wartung des Dampfgenerators
Alle Vorgänge, die vom Benutzer ausgeführrt werden können, sind nachstehend aufgeführrt. Alle anderen Wartungsarbeiten müssen von qualifiziertem technischem Personal durchgeführt werden.
Dampfgeneratoren für gemeinschaftliche, öffentliche und vergleichbare Nutzung müssen mindestens zweimal im Jahr gründlich gewartet werden (Überprüfung und Reinigung von Tank, Heizelementen und Oberflächenfuhrer).

Figure 4. Detaching the water level sensor Abbildung 4. Ausbau des Oberflächenfuhlers

Figure 5. Tips of the water level sensor's pins Abbildung 5. Spitzen der Stifte des OberflächenfuHLers
1.4.1. Water Level Sensor Maintenance
1.4.1. Wartung des Oberflächenfuhlers
Öffnen Sie den Wartungsdeckel des Oberflächenfuhlers, trennen Sie die Fühlerkabel, und haben Sie den Fühler Heraus (Beachten Sie die Reihenfolge der Kabel: grün-H, rot-L, gelb-C). Abbildung 4. Achtung! Vorsicht vor dem bereits Dampf undHEYen Komponenten.
Wenn sich Kalkablagerungen oder andere Verunreinigungen auf den Spitzen der Stiftes des Oberflächenfuhlers (Abb. 5) befinden, müssen die Spitzen mit Sandpapier:gereinigt werden. Verwenden Sie keine Werkzeuge aus Metall. Wenn die Plastikbeschäftung auf den Stiften beschädigt ist, muss der Oberflächenfuhlher ausgetauscht werden. Überprüfen Sie den Oberflächenfuhlher einmal im Monat.
1.4.2. Entkalkung
Leitungsswasser enthalt Verunreinigungen, z.B. Kalk, die mit der Zeit die inneren Komponenten des Dampfgenerators zusetzen konnen. Der Kalkgehalt des Wassers (Wasserhärte) und somit der Entkalkungsbedarf ist je nach Region unterschiedlich. Bei hartem Leitungsswasser wird empfohlen, einen Wasserenthärter im Wasserleitungssystem des Gebäudes zu installieren. Die Anforderungen an die Wasserhärte sind in Tabelle 1 aufgelistet.
Entkalkung mit Zitronensäurelösung
Die Dämpfe der Zitronensäurelösung sind gesundheitlich unbedenklich. Wenn Sie für die Entkalkung andere Materialen verwenden, befolgen Sie die Anweisungen auf der Verpackung.
- Mischen Sie 50 bis 80 Gramm Zitronensäure mit einem Liter Wasser.
- Schalten Sie den Dampfgenerator ein, und lasen Sieihn 10 Minuten lang eingeschaltet.
- Schalten Sie den Dampfgenerator mit dem Hauptschalter aus (auf der Unterseite des Dampfgenerators, siehe Abbildung 10).
- Entfernen Sie den Oberflächenfuhler, wie in Kapitel 1.4.1. beschreiben.
- Gießen Sie die Zitronensäurelösung in den Wassertank und setzen Sie den Oberflächenfuhler wieder ein.
- Lassen Sie die Lösung eine Stunde lang einwirken.
- Schalten Sie den Hauptschalter ein. Wenn der Speicher für Stromausfälle eingeschaltet ist (siehe Abbildung 3), startet der Dampferzeuger ohne Drücken der I/O-Taste.
Spülen (manuelles Auslassventil)
- Entleeren Sie den Wassertank, und schlieben Sie das Auslassventil.
- Schalten Sie den Dampfgenerator mit der I/O-Taste ein, und setzen Sie ihn eine Minute lang eingescheltet.
10.Schalten Sie den Dampfgenerator mit der I/O-Taste aus, entleeren Sie den Wassertank, und schließen Sie das Auslassventil.
11.Wiederholen Sie die Schritte 9 bis 10 dreimal.
Spülen (automatisches Auslassventil)
- Schalten Sie den Dampfgenerator mit der I/O-Taste ein, und setzen Sie ihn drei Minuten lang eingescheltet.
- Schalten Sie den Dampfgenerator mit der I/O-Taste aus, und setzen Sie ihn zwei Minutes lang ausgeschaltet.
- Wiederholen Sie die Schritte 8 bis 9 dreimal.
Table 1. Water quality requirements
Tabelle 1. Anforderungen an die Wasserqualität
| Water property Wassereigenschaft | Effect Wirkung | Recommendation Empfehlung |
| Humus concentration Humus gehalt | Colour, taste, precipitates in the steam generator Farbe, Geschmack, Ablagerungen im Dampfgenerator | < 12 mg/l |
| Iron concentration Eisen gehalt | Colour, odour, taste, precipitates in the steam generator Farbe, Geruch, Geschmack, Ablagerungen im Dampfgenerator | < 0,2 mg/l |
| Hardness: most important substances are manganese (Mn) and lime, i.e. calcium (Ca). Wasserhärte: Die wichtigen Stoffe sind Mangan (Mn) und Kalk, d.h. Kalzium (Ca). | Precipitates in the steam generator Ablagerungen im Dampfgenerator | Mn: < 0,05 mg/l Ca: < 100 mg/l |
| Chlorinated water Gehlortes Wasser | Health risk Gesundheitsschädlich | Forbidden to use Darf nicht verwendent werden |
| Seawater Salzwasser | Rapid corrosion Rasche Korrosion | Forbidden to use Darf nicht verwendent werden |
| Flow rate in the incoming water pipe (measuring: let the water run from the incoming pipe for one minute and measure the amount of water) Durchfluss in der Wasserzuleitung (Messung: Lassen Sie das Wasser eine Minute lang aus der Zuleitung laufen, und messen Sie die Wassermenge.) | Flow too slow: breaks in steam generation, E5 Flow too fast: water running from the steam pipe Durchfluss zu gering: Unterbrechung der Dampferzeugung, E5 Durchfluss zu hoch: Wasser lauft aus dem Dampfrohr | 8-12 l/min |
1.4.3. Cleaning the Steam Nozzles
1.4.3. Reinigung der Dampfdüssen
Die Dampfdusen können mit milder Seifenlösung gereinigt werden.
1.5. Warnhinweise
Die Hähne, Rohre und Dampfdüssen des Dampf-generators werden im Betrieb sehr offen. Berühren Sie sie nicht mit bloßen Händen.
- Der Dampf aus den Dampfdüssen ist kochend heißt. Verbrennen Sie sich nicht die Haut.
- Wenn die Dampfdüssen und/oder die Dampfrohre blockiert sind,{lasst der Dampfgenerator den Dampf über das Auslassventil ab. Das Auslassventil darf nicht blockiert werden.
- Nehmen Sie keine elektrischen Geräte mit in die Dampfkabinet.
- Achten Sie darauf, dass die Dampfkabine nach der Benutzung richtig trocknet.
1.6. Troubleshooting
1.6. Störungsbeseitigung
Wenn eine Störung auftritt, wird auf dem Bedienfeld eine Fehlermeldung im Format "E (Nummer)" angezeigt, die Hilfe bei der Störungsbeseitigung bietet. Tabelle 2.
Achtung! Der Benutzer kann ausschließlich die Punkte überprüfen, die mit einem Sternchen (*) markiert sind. Alle anderen Wartungsmaßnahmen müssen von qualifiziertem technischem Personal durchgeführten werden.
Table 2. Error messages
Tabelle 2. Fehlermeldungen
| Description Beschreibung | Remedy Abhilfe | |
| E1 | Temperature sensor's measuring circuit broken. Messkreis des Temperaturführers unterbrochen. | Check the wiring and connections from connectors 3 and 4 to the sensor. Verkabelung und Anschlüsse der Stecker 3 und 4 des Führers überprüften. |
| E2 | Temperature sensor's measuring circuit short-circuited. Kurzschluss im Messkreis des Temperaturführers. | Check the wiring and connections from connectors 3 and 4 to the sensor. Verkabelung und Anschlüsse der Stecker 3 und 4 des Führers überprüften. |
| E3 | Overheat protector's measuring circuit broken. Messkreis des Überhitzungsschutzes unterbrochen. | Press the overheat protector's reset button (▷2.10.). Check the wiring and connections from connectors 1 and 2 to the sensor. Reset-Taste des Überhitzungsschutzes drucken (▷2.10.). Verkabelung und Anschlüsse der Stecker 1 und 2 des Führers überprüften. |
| E5 | Water level low. Wasserfüllstand zu gering. | Check the water inlet*, solenoid valve, discharge valve, and the water level sensor*. Wasserzuleitung*, Magnetventil, Auslassventil und Oberflächenfuhrer* überprüften. |
| E9 | Connection failure between the control panel and the steam generator. Ausfall der Verbindung zwischen Bedienfeld und Dampfgenerator. | Check the cable and the connectors. Verkabelung und Stecker überprüften. |
| E10 | Water reservoir empty after rinsing. Wassertank nach dem Spülen leer. | Check the water inlet*, solenoid valve, discharge valve, and the water level sensor*. Wasserzuleitung*, Magnetventil, Auslassventil und Oberflächenfuhrer* überprüften. |
| E11 | Water reservoir full when starting the filling (starting, stopping, rinsing cycle). Wassertank zu Beginn des Füllens voll (Einschalten/Ausschalten/Spülzyklus). | Check the discharge valve and the water level sensor*. Ausbassventil und Oberflächenfuhrer* überprüften. |
| E13 | Too many fillings within five minutes. Zu früfiges Auffüllen innerhalb von fünf Minuten. | Check the water inlet*, flow rate* (table 1), solenoid valve, discharge valve and the surface sensor*. Wasserzuleitung*, Durchfluss* (Table 1), Magnetventil, Auslassventil und Oberflächenfuhrer* überprüften. |
| Err | Multidrive: Error in the system. Multidrive: Fehler im System. | Press the MENU button. The top row of the display shows the number of the device in error (for example "d1"). The bottom row shows the error message (for example "E2", see above for description). If there are several errors, you can browse them with the + button. • Press I/O if you got the error fixed. The system restarts. • Press MENU if the error persists and you wish to continue using the system. The device in error will remain switched off. Drücken Sie die MENU-Taste. Die obere Zeile der Anzeige zeigt die Nummer des fehlherfaften Geräts an (zum Beispiel „d1"). Dieunte Zeile zeigt die Fehlermeldung an (zum Beispiel „E2“, Beschreibung sieben). Wenn mehrere Fehler vorliegen, können Sie mit der Taste + durchblättern. • Drücken Sie die I/O-Taste, sobald Sie den Fehler behoben haben. Das System wird neu gestartet. • Drücken Sie die MENU-Taste, wenn der Fehler bestehen bleibt und Sie das System davon weiter verwenden möchten. Das fahrherfaste Gerät bleibt ausgeschaltet. |
| Breaks in steam generation. Unterbrechung der Dampferzeugung. | Breaks in steam generation are completely normal. The steam generation pauses when the steam generator takes water in the water reservoir and when the temperature in the steam room rises over the desired value. Unterbrechungen der Dampferzeugung sind absolut normal. Die Dampferzeugung pausiert, wenn der Dampfer generator Wasser in den Wassertank aufnimmt oder wenn die Dampftemperatur in der Dampfkabinet den gewünschten Wert überschreiben. | |
- User can check
- Kann vom Benutzer überprüft werden
2. INSTRUCTIONS FOR INSTALLATION
2. INSTALLATIONSANLEITUNG
2.1. Vor der Montage
Bevor Sie den Dampfgenerator installieren,lesen Sie sich die Montageanleitung durch, und prüfen Sie folgende Punkte:
Die Leistung des Dampfgenerators muss dem Volumen der Dampfkabine entsprechen. Tabelle 3 enthalt Richtwerte für das minimale und maximale Volumen für jeder Dampfgenerator und jedem Wandmaterial.
Die Versorgungsspannung muss sich für den dampfgenerator eignen.
Die Sicherungen und Anschlusskabel müssen vorschriftgemäß sein. Ihr Abmessungen müssen den Angaben in Tabelle 3 entsprechen.
- Am Aufstellort des Dampfgenerators mösen die in Abbildung 6 angegebenen Mindest-Sicherheitsabstände erfüllt sein. Der Aufstellort muss die in Abschnitt 2.2. beschrieben Bedingungen erfüllen.
Table 3. Installation information
Tabelle 3. Installationshinweise
| Model Modell | Output Leistung | Recommended steam room size (m3) | Steam output capacity Dampf- ausgabe- kapazität | 230 V 1N~ | 400 V 3N~ | |||||||
| Light wall (acrylic, etc.) Leichtbauwand (Acryl, usw.) | Tiled light wall Geflieste Leichtbauwand | Tiled stone wall, etc. Geflieste Steinwand, usw. | Cable Kabel | Fuse Sicherung | Cable Kabel | Fuse Sicherung | ||||||
| kW | * | ** | * | ** | * | ** | kg/h | mm² | A | mm² | A | |
| HGS45 | 4,5 | 2-5 | 2-7 | 2-4 | 2-6 | 2-3,5 | 2-4,5 | 5,5 | 3 x 6 | 25 | 5 x 1,5 | 3 x 10 |
| HGS60 | 5,7 | 2,5-8 | 3,5-11 | 2-6 | 3-9 | 2-5 | 2-7,5 | 7,6 | 3 x 6 | 25 | 5 x 1,5 | 3 x 10 |
| HGS90 | 9,0 | 6-12 | 9-17 | 4,5-10 | 7,5-14 | 3-8 | 6-11,5 | 12,0 | - | - | 5 x 2,5 | 3 x 16 |
| HGS11 | 10,8 | 10-14,5 | 15-21 | 8-12 | 12-17 | 6-10 | 10-14 | 14,6 | - | - | 5 x 2,5 | 3 x 16 |
| Multidrive (example/Beispiel) | ||||||||||||
| HGS45 + HGS11L | 15,3 | 12-19,5 | 17-28 | 10-16 | 14-23 | 8-13,5 | 12- 18,5 | 20,1 | - | - | 5 x 1,5 +5 x 2,5 | 3 x 10 +3 x 16 |
| HGS60 + HGS11L | 16,5 | 12,5- 22,5 | 18,5-32 | 10-18 | 15-26 | 8-15 | 12- 21,5 | 22,2 | - | - | 5 x 1,5 +5 x 2,5 | 3 x 10 +3 x 16 |
| HGS90 + HGS11L | 19,8 | 16-26,5 | 24-38 | 12,5-22 | 19,5-31 | 9-18 | 16- 25,5 | 26,6 | - | - | 2 x 5 x 2,5 | 2 x 3 x 16 |
| HGS11 + HGS11L | 21,6 | 20-29 | 30-42 | 16-24 | 24-34 | 12-20 | 20-28 | 29,2 | - | - | 2 x 5 x 2,5 | 2 x 3 x 16 |
| Model Modell | Width Breite | Depth Tiefe | Height Höhe | Weight (water reservoir empty) Gewicht (mit leerem Wassertank) | Weight (water reservoir full) Gewicht (mit vollem Wassertank) | |||||||
| HGS45-HGS11(L) | 520 mm | 196 mm | 411 mm | 11 kg | 14 kg | |||||||
- ventilated
** not ventilated - beluftet
** nicht beluftet
2.2. Aufstellort und Befestigung des Dampfgenerators
Der Dampfgenerator muss in einem trockenen Raum aufgestellt werden. Der Dampfgeneratorarf nicht an Orten aufgestellt werden, an denen Frost-. gefahr besteht oder er schädlichen Substanzen ausgesetzt sein konnte. Die maximale Umgebungstemperatur fur das Gerät beträgt 50^ .Der Raum muss uber einen Bodenabfluss fur das Abwasser verfügen.
Der Dampfgenerator ist für die Wandbefestigung in einer Höhe von mindestens 400 mm über dem Boden vorgesehen (Abbildung 5). Befestigen
Sie den Dampfgenerator mit für das Wandmaterial geeigneten Schrauben fest an der Wand (4 Schrauben). Mit dem Gerät werden 5 × 40 ~mm -Schrauben und Spreizdübel für die Montage an Steinwänden gefleiert.
Wenn der Dampfgenerator in einem Gehäuse oder einem geschlossenen Raum installiert wird, muss um das Gerät herum eine ausreichende Belüftung gewährleistet sein.
Auf der rechten und linken Seite des Geräts ist ein Freiraum von jeweils mindestens 190 mm vorzusehen, um die Heizelemente ausbauen zu konnen. Wenn kein ausreichender Freiraum vorhanden ist, muss das Gerät für die Wartung und zum Austauschen der Heizelemente von der Wand abgenommen werden.
2.3. Elektrische Anschlüsse
Der Dampfgeneratorarf nur von einem autorisier- ten, qualifizierten Elektriker unter Beachtung der aktuell gultigen Vorschriften an das Stromnetz an-geschlossen werden.
Der Dampfgenerator wird halbstationär an den Anschlusskosten an der Wand angeschlossen. Es muss ein Anschlusskabel des Typs H05VV-F (60227 IEC 53) oder H05RN-F (60245 IEC 57) verwendet werden.
Die Schaltverbindungen sind in Abbildung 7 darestellt.

Figure 7. Abbildung 7.
2.3.1. Installing the Temperature Sensor
2.3.1. Installieren des Temperaturfuhlers
Installieren Sie den Temperaturfuhler an der Decke der Dampfkabine oder in einer Höhe von 1700 bis 3000mm über dem Boden an einer Wand. Bohren Sie ein Loch mit 7,5 mm Durchmesser, schiben Sie den Fuhler hinein, und dachten Sie die Öffnung mit Silikon ab.
Installieren Sie den Sensor nicht in der Höhe von Türen oder Belüftungsöffnungen. Der zulässige Bereich ist in Abbildung 8 dargestellt.

Figure 8. Placing the temperature sensor Abbildung 8. Anbringen des Temperaturfuhlers
2.3.2. Multidrive
Bis zu 5 Dampfgeneratoren konnen in Serie miteinander verbunden werden, so dass sie sich über das gleiche Bedienfeld regeln setzen. Bei den Dampfgeneratoren kann es sich um verschiedene Modelle handeln. Das Anschlusschema ist in Abbildung 9 dargestellt.
- Schließen Sie das Bedienfeld an den ersten oder den letzten Dampfgenerator in der Kette an.
- Verbinden Sie einen Temperaturfuhler mit einem der Dampfgeneratoren. Sie konnen zusätzliche Fuhler anschließen (einen pro Dampfgenerator), um die Genauigkeit der Temperaturmessung und die Fehlertoleranz des Systems zu erhöhen.
- Verbinden Sie die Dampfgeneratoren durch Multidrive-Kabel miteinander. Siehe auch Abbildung 7.
- Wahlen Sie Gerätenummern für die Dampfgeneratoren aus. Verwenden Sie die Nummern 0-4 bei weichem Leitungsswasser bzw. 5-9 bei hartem Leitungsswasser (siehe Tabelle 1).

Figure 9.
Abbildung 9.
2.4. Anschlieben des Dampfgenerators an die Wasserversorgung
Siehe Abbildung 10. Die Wasserzuleitung muss mit einem Sperrventil versehen werden. Der maximale Wassereingangsdruck für die Wasserzuleitung beträgt 1 MPa (10 bar).
Das Abflussrohr des Dampfgenerators muss zum Bodenabfluss des Aufstellraums geführt werden. Achting! Das Abwasserarf nicht in die Dampfkabinet geleitet werden, da es kochend heißt ist (100 °C)!

Overpressure valve
Uberruckventil
Steam pipe connector G½" (female)
Dampfrohranschluss G 1 / 2 " (Innengewinde)
Water level sensor service hatch
Wartungsdeckel des Oberflächenfuhlers
Water supply connection G3/4 (male)
Wasseranschluss G 3 / 4 " (AuBengewinde)
Main switch
Hauptschalter
Discharge water connection G12 " (male)
Abwasseranschluss G 1 / 2 " (AuBengewinde)
Figure 10. Steam generator connections
Abbildung 10. Anschlüsse des Dampfgenerators
2.5. Steam Pipes
Der Dampf aus dem Dampfgenerator wird über Kupferleitungen in die Dampfkabine geleitet. Der minimale Innendurchmesser des Dampfrohrs beträgt 15mm
Die Rohre mussen sorgfältig isoliert werden. Die ordnungsgemäß isolierten Dampfrohre dürfen maximal 10 Meter lang sein. Es wird empfohlen, den Dampfgenerator so nahe wie möglich an der Dampf-kabine zu platzieren, um die Länge der Dampfrohre zu verkurzen.
Wenn mehrere Dampfdusen verwendet werden, muss jeder zu den Dampfdusen führende Dampfrohr mit einem Durchflussregelungsventil versehen werden, damit der Dampf in der Dampfkabinet gleichmäßig verteil wird. Abbildung 11A. Einstellen der Ventile:
- Drehen Sie alle Ventile vollständig auf.
- Wenn aus einem der Ventile deutlich mehr Dampf als aus den anderen austritt, verringn Sie den Durchfluss für diese Vesil.
Verringern Sie den Durchfluss nicht für alle Ventile.
Achtung! Der Dampf muss frei durch die Düsen strömen konnen. Wenn die Dampfdüssen und/oder die Dampfrohre blockiert sind, tritt der Dampf aus dem Überdruckventil aus (Abbildung 10).
Das Anfangsstück des Dampfrohrs muss in Richtung des Dampfgenerators geneigt sein, das abgewandte Ende in Richtung der Dampfkabinet. Die Rohre dürfen keine übermögens Biegungen, Wassertaschen oder Verengungen aufweisen. Abbildung 11B.
2.6. Installing the Steam Nozzles
2.6. Montage der Dampfdüssen
Bringen Sie die Dampfdüse am Ende des Dampfrohrs an, und dachten Sie die Einführung des Dampfrohrs mit Silikon ab. Die Düsen sollenn 100 bis 300 mm über dem Boden platziert werden. Die Gewindegroße der Düse ist G½" (Innengewinde). Abbildung 11A.
Achtung! Richten Sie die Öffnung der Düse nach unten. Stellen Sie sicher, dass der Dampf die Badenden nicht verbrufen kann. Bringen Sie die Düsen so an, dass sie nicht versehentlich berührt werden können.

A

B
Steam pipe Dampfohr

Figure 11. Steam nozzles and pipes
Abbildung 11. Dampfüssen und -rohre
2.7. Installing the Fragrance Pump
2.7. Montage der Duftkonzentratpumper
Die Duftkonzentratpumpe wird installiert, um Duftstoffe an das Dampfrohr abzugeben. Siehe Seite 17. Die Schaltverbindungen sind in Abbildung 7 dargestellt.
2.8. Montage des automatischen Auslassventils
Siehe Seite 17. Die Schaltverbindungen sind in Abbildung 7 dargestellt. Aktivieren Sie nach der Montage das automatische Auslassventil so, wie in Abbildung 3 dargestellt.
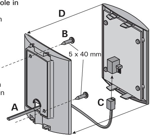
2.9. Montage des Bedienfelds
Montieren Sie das Bedienfeld an einem trockenen, gut zugänglichen Ort (Umgebungstemperatur > + 0^ ). Abbildung 12.
A. Datakabel des Bedienfelds durch die Öffnung in der Rückwand fuh
B. Hintere Abdeckung mit Schrauben an einer Wand fixieren
C. Datakabel in den Steckerschieben
D. Vordere Abdeckung auf die hintere Abdeckung drucken



Figure 12. Fastening the control panel
Abbildung 12. Befestigung des Bedienfelds
2.10. Resetting the Overheat Protector
2.10. Zurücksätzen des Überhitzungsschutzes
Öffnen Sie die Abdeckung und die rechte Seite. Um den Überhitzungsschutz nach dem Auslösen zurückzusetzen, drücken Sie den Knopf am Ende des Geräts. Abbildung 13.
Bevor Sie den Knopf drücken, müssen Sie die Ursache für die Auslösung ermitteltn. Der Überhitzungsschutzarf nur von qualifiziertem technischen Personal zurückgesetzt werden.

Figure 13. Resetting the Overheat Protector Abbildung 13. Zurücksetzen des Überhitzungsschutzes
A. Schrauben entfernen
B. Abdeckung entfernen
C. Schrauben entfernen
D. Blende entfernen
E. Knopf drucken
3. SPARE PARTS
3. ERSATZTEILE



| model/Model | pcs/Teile | ||||
| 1 | Heating element 1500 W/230 V | Heizelement 1500 W/230 V | ZG-330 | HGS45 | 3 |
| Heating element 1900 W/230 V | Heizelement 1900 W/230 V | ZG-340 | HGS60 | 3 | |
| Heating element 3000 W/230 V | Heizelement 3000 W/230 V | ZG-350 | HGS90 | 3 | |
| Heating element 3600 W/230 V | Heizelement 3600 W/230 V | ZG-360 | HGS11 | 3 | |
| 2 | Circuit board | Leiterplatte | ZG-410 | 1 | |
| 3 | Frame | Rahmen | ZG-300 | 1 | |
| 4 | End | Blende | ZG-140 | 2 | |
| 5 | Cover | Abdeckung | ZG-310 | 1 | |
| 6 | Fastening plate | Befestigungslapatte | ZG-320 | 1 | |
| 7 | Silicone hose 12/8 | Silikonschlauch 12/8 | ZSS-615 | 1 | |
| 8 | Water reservoir | Wassertank | ZG-110 | 1 | |
| 9 | Water level sensor | Oberflächenfühler | ZG-150 | 1 | |
| 10 | Service hatch cover | Wartungsdeckel | ZG-380 | 1 | |
| 11 | Tee coupler | T-Stück | ZG-570 | 1 | |
| 12 | Overpressure valve | Überdruckventil | ZG-580 | 1 | |
| 13 | Overheat protector | Überhitzungsschutz | ZG-550 | 1 | |
| 14 | Solenoid valve | Magnetventil | ZG-370 | 1 | |
| 15 | Main switch | Hauptschalter | ZSK-684 | 1 | |
| 16 | Copper bridge | Kupferbrücke | ZG-640 | 1 | |
| 17 | Control panel | Bedienfeld | WX370 | 1 | |
| 18 | Data cable | Datenkabel | WX311 | 1 | |
| 19 | Temperature sensor | Temperaturfühler | ZG-660 | 1 | |
| 20 | Steam nozzle | Dampfdüse | ZG-500 | 1 | |
Optional parts and devices/Optionale Teile und Zubehör
| 21 | Automatic discharge valve | Automatisches Auslassventil | ZG-700 | 1 | |
| 22 | Fragrance pump | Duftkonzentratpumpe | ZG-800 | 1 | |
| 23 | Multidrive steam generator 4.5 kW | Multidrive-Dampfgenerator 4,5 kW | HGS45L | 1 | |
| Multidrive steam generator 5.7 kW | Multidrive-Dampfgenerator 5,7 kW | HGS60L | 1 | ||
| Multidrive steam generator 9.0 kW | Multidrive-Dampfgenerator 9,0 kW | HGS90L | 1 | ||
| Multidrive steam generator 10.8 kW | Multidrive-Dampfgenerator 10,8 kW | HGS11L | 1 | ||
| 24 | Multidrive cable 1.5 m | Multidrive-Kabel 1,5 m | WX312 | 1 |


1


2


EinfachAnleitung