20 BOILER - Kessel HARVIA - Kostenlose Bedienungsanleitung
Finden Sie kostenlos die Bedienungsanleitung des Geräts 20 BOILER HARVIA als PDF.
Benutzerfragen zu 20 BOILER HARVIA
0 Frage zu diesem Gerät. Beantworten Sie die, die Sie kennen, oder stellen Sie Ihre eigene.
Eine neue Frage zu diesem Gerät stellen
Laden Sie die Anleitung für Ihr Kessel kostenlos im PDF-Format! Finden Sie Ihr Handbuch 20 BOILER - HARVIA und nehmen Sie Ihr elektronisches Gerät wieder in die Hand. Auf dieser Seite sind alle Dokumente veröffentlicht, die für die Verwendung Ihres Geräts notwendig sind. 20 BOILER von der Marke HARVIA.
BEDIENUNGSANLEITUNG 20 BOILER HARVIA
EN Instructions for Installation and Use of Woodburning Stove
DE Anleitung für Montage und Gebrauch des holzbeizten Saunaofens

M1

M3

20 Pro

20 ES Pro/S

20 Boiler

26 Pro

36

50
EN
Wir beglückwünschen Sie zu ihrer eigenen Wahl! Der Harvia Saunaofen Funktioniert am einwandfreisten und am langsten, wenn Sieihn dieser Anleitung entsprechend benutzen und warten.
Lesen Sie die Anweisungen vor der Montage und Inbetriebnahme des Ofens aufmerksam durch. Bewahren Sie die Anweisungen zum späteren Nachsclagen gut auf.
INHALT
- ALLGEMEINES 3
1.1. Technische Daten 3
1.2.Ofenteile 4
2.BEDIENUNGSANLEITUNG 4
2.1. Warnungen 4
2.2. Vorbereiten des Ofens zur Benutzung 5
2.3.Brennmaterial 5
2.4. Saunaofensteine 5
2.5.Heizen des Ofens 6
2.6.Saunawasser 7
2.7.Wartung.. 7
2.8.Storungen 8
3.SAUNAKABINE 9
3.1. Aufheizen der Saunakabine 9
3.2.Beluftung der Saunakabine 9
3.3.Hygiene der Saunakabine 9
- MONTAGEANLEITUNG 10
4.1.Vor der Montage 10
4.1.1.Bodenschutz 10
4.1.2. Sicherheitsabstände 11
4.1.3. Schutzabdeckungen 12
4.1.4. Harvia-Schutzmantel und Schutzplatte 12
4.2.1.VerstellbareFüBe des Ofens 13
4.2.2. Anschluss des Ofens an einen gemauerten Rauchfang 13
4.2.3. Anschluss des Ofens an einen Harvia-Edelstahlschornstein 15
4.3. Anderung der Offnungsrichtung der Ofentür 15
4.4.Zubehör 16
1. GENERAL
1. ALLGEMEINES
1.1. Technical Data
1.1. Technische Daten
| M1/M3 | 20 Pro | 20 ES Pro/S | 20 Boiler | 26 Pro | 36 | 50 | |
| Rated output (kW) | 13 | 18 | 18 | 18 | 22 | 30 | 40 |
| Nennleistung (kW) | |||||||
| Sauna room volume (m3) | 4,5–13 | 8–20 | 8–20 | 8–20 | 10–26 | 14–36 | 20–50 |
| Volumen der Saunakabine (m3) | |||||||
| Required temperature class of chimney | T600 | T600 | T600 | T600 | T600 | T600 | T600 |
| Erforderliche Temperaturklasse des Rauchfangs | |||||||
| Diameter of connection opening (mm) | 115 | 115 | 115 | 115 | 115 | 115 | 140 |
| Durchmesser der Anschlussöffnung (mm) | |||||||
| Stone quantity (max. kg) | 30 | 40 | 40 | 40 | 50 | 60 | 120 |
| Steinmenge (max. kg) | |||||||
| Stone size (cm) | Ø10–15 | Ø10–15 | Ø10–15 | Ø10–15 | Ø10–15 | Ø10–15 | Ø10–15 |
| Steingörse (cm) | |||||||
| Weight (kg) | 45 | 60 | 75 | 65 | 65 | 70 | 160 |
| Gewicht (kg) | |||||||
| Width (mm) | 390 | 430 | 430 | 430 | 430 | 510 | 510 |
| Breite (mm) | |||||||
| Depth (mm) | 430 | 510 | 650 | 510 | 510 | 510 | 720 |
| Tiefe (mm) | |||||||
| Height (mm) | 710 | 760 | 760 | 760 | 810 | 810 | 1050 |
| Höhe (mm) | |||||||
| + adjustable legs (mm) | - | 0–30 | 0–30 | 0–30 | 0–30 | 0–30 | - |
| + verstillbare Fuß (mm) | |||||||
| Thickness of fire chamber cover (mm) | 5 | 10 | 10 | 10 | 6 | 6 | 10 |
| Stärke der Brennkammerdecke (mm) | |||||||
| Maximum length of firewood (cm) | 35 | 39 | 39 | 39 | 39 | 39 | 61 |
| Maximale Länge des Brennholzes (cm) | |||||||
| Water container volume (l) | - | - | 20 | - | - | - | - |
| Volumen des Wasserbehalters (l) |
Wahlen Sie den Ofen sorgsam nach seiner Leistung aus. Wenn die Heizleistung zu gering ist, muss der Ofen länger und intensiver beheizt werden, was seine Lebensdauer verkürzt.
Beachten Sieitte, dass nicht isolierte Wände und Dachoberflächen (wie zum Beispiel Ziegel, Glas, Kacheln und Betonoberflächen) die Leistungsanforderungen des Ofens erhöhen. Für jedem Quadratmeter einer solchen Wand- oder Dachoberfläche sollen den Sie zusätzliche 1,2m^3 Volumen berechnen. Wenn die Saunawände aus Massivholz bestehen, muss das Volumen mit 1,5 multipliziert werden. Beispiele:
- Eine 10m^3 große Saunakabine mit einer 2m breiten und 2m hohen Steinwand entspricht einer Saunakabine von etwa 15m^3 .
- Eine 10m^3 große Saunakabine mit einer Glastür entspricht einer Saunakabine von etwa 12m^3 .
- Eine 10m^3 große Saunakabine mit Massivholzwänden entspricht einer Saunakabine von etwa 15m^3 .
Wenn Sie wünschen, kann Ihnen Ihr Händler oder Vertreter des Herstellers bei der Auswahl des Ofens halten. Weitere Informationen finden Sie auch auf unserer Website unter www.harviasauna.com.
1.2. Stove Parts
A. Obere Anschlussöffnung
B. Hintere Anschlussöffnung
C. Rußöffnung
D.Ofentur
E. Aschekasten


Figure 1. Stove parts
Abbildung 1. Ofenteile
2. INSTRUCTIONS FOR USE

2. BEDIENUNGSCANLEITUNG

Lesen Sie die Anweisungen vor der Inbetriebnahme des Ofens aufmerksam durch.
2.1. Warnungen
- Ein langer Aufenthalt in einer bereits Sauna führt zum Ansteigen der Körpertemperatur, was gefährlich sein kann.
- Achtung vor dem bereits Saunaofen. Die Steine sowie das Gehäuse werden sehr bereits und konnen die Haut verbrennen.
- Achten Sie auch daraufuf, daß Sie kein Wasser auf die Steine goieren, wenn sich jeder in deren Nähe befindet. Der freiße Dampf konnte Brandwunden verursachen.
- Halten Sie Kinder vom Ofen fern.
- Kinder, Gehbehinderte, Kranke und Schwache)dürfen in der Sauna nicht alleingelassen werden.
- Gesundheitliche Einschränkungen bezogen auf das Saunen müssen mit dem Arzt besprochen werden.
- Über das Saunen von Kleinkindern sollenn Si es ich in der Mutterberatungsstelle beraten halten.
- Gehen Sie nicht in die Sauna, wenn Sie unter dem Einfluss von Narkotika (Alkohol, Medikamenten, Drogen usw.) stehen.
Schlafen Sie nie in einer erhitzten Sauna. - Meer- und feuchtes Klima können die Metalloberflächen des Saunaofens rosten halten.
- Benutzen Sie die Sauna wegen der Brandgebung nicht zum Kleider- oder Wäschetrocknen.
2.2. Vorbereiten des Ofens zur Benutzung
Führer Sie das erste Heizen draußen oder in einem gut belufteten Raum durch. Der Ofenkorpus hat eine Schutzschicht, die bei der erstmaligen Erhitzung wegbrennen soll. Dabei entsteht sehr viel Rauch. Sobald dieser nicht mehr entsteht, ist der Ofen zur Anwendung bereit.
Wenn das erstige Heizen draußen staatfindet, bringen Sie die Rauchrohre (4.4.) an, um einen Luftzug zu erreichen. Hierdurch kommt es auch an den Rauchrohren zur Geruchsentwicklung.
Der Außenmantel wird mit hitzebestandiger Farbe lackiert, die erst beim ersten Heizen endgültig aushärtet. Vorher muss das Reiben und Wischen der lackierten Oberflächen des Ofens vermieden werden.
- Eine Ladung Holz reicht für das ersten Heizen aus.
- Vor dem ersten Heizen sollen die Saunastine noch nicht auf den Ofen gelegt werden. Legen Sie die Saunastine erst dann auf den Ofen, wenn der Ofen nach dem ersten Heizen komplett abgekühlt ist.

Währen dem erstmaligen Aufheizen des Ofens darf kein Aufguß durchgeführt werden, da durch das Wasser die Farboberfläche beschäd wird!
2.3. Brennmaterial
Trockenes Holz ist das Beste Material, um den Ofen zu heizen. Trockenes, gehacktes Brennholz klingt, wenn es gegen ein anderes Stück geschlagen wird. Die Feuchtigkeit des Holzes hat einen betrachtlichen Einfluss darauf, wie sauber die Verbrennung ist und wie effizient der Ofen arbeitet. Sie konnen das Feuer mit Birkenrinde oder mit Zeitungspapier anfachen.
Es gibt große Unterschiede zwischen den Brennwerten der verschiedenen Holzsorten. Um die Heizkraft von Birkenholz zu erreichen, besteht man bei-spielsweise ca. 15% weniger Buchenholz. Wenn zu viel Holz mit hohem Brennwert auf einmal im Ofen verbrannt wird, verstärzt sich die Lebensdauer des Ofens.
Bewahren Sie das Brennmaterial in einem separaten Lagerbereich auf. Eine keine Menge an Brennmaterial konnen Sie in der Umgebung des Ofens aufbewahren, so lange die Temperatur Dort 80^ nicht überschreitet.
Verbrennen Sie folgende Materialien nicht im Ofen:
- Brennmaterialien, die einen hohen Wärmewert haben (wie etwa Spanplatten, Plastik, Kohle, Briketts, Pellets usw.)
- Lackiertes oder imprägniertes Holz
- Abfall (wie etwas PVC-Plastik, Textilien, Leder, Gummi, Einwegwindeln)
Gartenabfälle (wie etwas Gras, Blätter)
2.4. Saunaofensteine
Die Steine sollen einen Durchmesser von 10-15 cm haben.
- Nur speziell für diesen Zweck vorgesehe Steine sollenten als Saunasteine verwendet werden. Geeignete Gesteinsarten sind Peridodit, Olivin-Dolerit und Olivin. In der Natur gefundene suprakrustale Steine)dürfen nicht verwendet werden.
Die Steine sollen den dem Aufschichten von Steinstaub befind. werden.
- Place the larger stones at the bottom and the smaller ones on the top.
- Make sure that air circulates between the stones.
- Do not place stones against the frame around the stone space or on top of it.
-
Do not place stones between the grille and the stove body!
-
Legen Sie die größeren Steine nach unten und die kleineren nach oben.
- Zwischen den Steinen muss Luft zirkulieren können.
- Legen Sie keine Steine gegen oder auf das Rost um die Steinkammer herum.
- Legen Sie keine Steine zwischen den Rost und den Ofenkorpus!

Führn Sie das erste Heizen draußen oder in einem gut belufteten Raum durch.


Figure 2. Preparing the stove and piling the stones Abbildung 2. Vorbereitung des Ofens und Stapeln der Steine
Place the stones in the stove only when the stove has cooled completely. Legen Sie die Saunasteine erst dann auf den Ofen, wenn der Ofen nach dem ersten Heizen komplett abgekühlt ist.
2.5. Heizen des Ofens
Sorgen Sie vor dem Heizen des Ofens davon, dass sich keine unnötigen Gegenstände in der Sauna oder innerhalb der Sicherheitsabstände des Ofens befinden.
- Leeren Sie den Aschekasten.
- Legen Sie das Brennholz in die Brennkammer, wobei Sie genügd Lufttraum lassen, damit die Verbrennungsluft zwischen dem Brennholz hindurchströmen kann. Legen Sie die größeren Stücke Brennholz nach unten und die kleineren nach oben. Verwenden Sie Brennholz mit einem Durchmesser von 8-12 cm. Füllen Sie die Brennkammer zu ca. 2/3 mit Brennholz (den Brennwert des Holzes Beachten, 2.3.).
- Legen Sie das Zündholz oben auf das Brennholz. Wenn das Feuer von der Spitze des Brennholzes aus angefacht wird, werden weniger Emissionenprodukiert.
- Zünden Sie das Zündholz an und schlieben Sied die Tur. Der Zug kann durch Öffnen des Aschekastens geregelt werden.
- Beim Heizen des Ofens ist es allgemeinratsam, den Aschekasten zunachst leicht geöffnet zu halten. Hierdurch kann sich das Feuer am Anfang better entwickeln.
- Zu starker Zug führt dazu, dass sich der Ofenkorpus bis zum Glühen aufheizt, was seine Lebensdauer enorm verkürzt.
- Wahrend des Saunaganges und wenn die Sauna bereits aufgewärmt ist, kann der Aschekasten ge
schlossen werden, um das Feuer Klein zu halten und den Holzverbrauch zu verringn.
- Legen Sie gegebenenfalls Brennholz in die Brennkammer nach, wenn das Feuer erlischt. Verwenden Sie Brennholz mit einem Durchmesser von 12-15 cm. Zur Aufrechterhaltung der Saunatemperatur sind nur weniger Holzstücke nötig.

Längeres, intensiveres Heizen kann zu einem Brandrisiko führen!
- Exzessives Heizen (z. B. mit mehreren vollen Holzladungen hintereinander) führt zu einer Überhitzung des Ofens und des Rauchfangs. Eine Überhitzung verkurzt die Lebensdauer des Ofens und kann zu einem Brandrisiko führen.
- Als Daumenregel gilt, dass die Temperatur der Sauna 100^ nicht überschreiben sollte.
- Beachten Sie die in den Heizanweisungen angegebenen Holzmengen. Lassen Sie Ofen, Rauchfang und Saunakabine gegebenenfalls abkühlen.
2.6. Saunawasser
Bei dem Wasser, das auf die Steine geschüttet wird, sollte es sich um klares Haushaltswasser handeln. Sorgen Sie für Wasser mit ausreichender Qualität, da mit Salzen, Kalk, Eisen oder Humus versetztes Wasser zur vorzeitigen Korrosion des Ofens führen kann. Besonderss bei Meerwasser rostet der Ofen sehr schnell. Die folgenden Qualitätsansprüche gelten für Haushaltswasser:
- Humusgehalt < 12mg/Liter
Eisen gehalt < 0.2mg / liter - Kalzium gehalt < 100mg/Liter
- Mangangehalt < 0.05mg/Liter

Werfen Sie das Saunawasser nur auf die Steine. Wenn Sie das Wasser auf die bereits Stahlflächen werfen, können sich wegen der großen operaturunterschiede Dellen auf ihren bilden.
2.7. Wartung
Ofen
- Der Aschekasten sollen vor jedem Heizen des Ofens geleert werden, damit die Verbrennungsluft, die durch den Aschekasten geführt wird, den Feuerrost kühlt und dessen Lebensdauer verlangert. Verwenden Sie einen Metallbehälter, vorzugsweise ein stehendes Modell, für die Asche. Da sich heiße Glutstücke in der Asche befinden können, halten Sie den Aschebehälter von brennbaren Materialien fern.
- Ruß und Asche, die sich in den Rauchkanälen des Ofens sammeln, müssen gelegentlich durch die Rußöffnungen entfernt werden (1.2.).
- Aufgrund der großen Wärmeänderungen werden die Saunasteine sprende und brüchig. Die Steine sollen den mindestensomal jährlich neu aufgeschickt werden, bei starkem Gebrauch öfter. Bei dieser Gelegenheit entfernen Sieitte auch Staub und Gesteinssplitter aus dem unteren Teil des Saunaofens und ersetzen beschädigte Steine.
Staub und Schmutz vom Ofen mit feuchtem Tuch abwischen.
Rauchfang
- Der Rauchfang muss regelmäßig gefegt werden, um einen ausreichenden Zug zu sichern.
2.8. Troubleshooting
Im Rauchfang findet kein Luftzugstatt. Es tritt Rauch in die Sauna.
- Es gibt undchte Stellen im Anschluss des Rauchfangs. Dichten Sie den Anschluss ab (4.2.2.).
- Der gemauerte Rauchfang ist kalt.
- Ein Sauglüfter oder ein anderes Gerät im Raum führt zu einem Niederdruck. Sorgen Sie im Ausgleich für genügend Luft.
- Es werden mehrere Feuerstellen gleichzeitig genutzt. Sorgen Sie im Ausgleich für genügend Luft.
- Der Aschekasten ist voll.
Die Rauchkanäle des Ofens sind verstopft (2.7.).
Das Abzugsanschlussrohrarficht zuweit in den Rauchfang hineinreichen ( 4.2.2.)
Die Sauna wird nicht warm.
Die Sauna ist in Relation zur Heizkapazität des Ofens zu groß (1.1.).
- Es gibt keine nicht isolierte Wandoberflächen in der Sauna (1.1.).
- Das Brennmaterial ist feucht oder anderweitig von schlechter Qualität (2.3.).
- Der Rauchfang hat keinen gute Luftzug.
Die Rauchkanäle des Ofens sind verstopft (2.7.).
Die Saunaofensteine werden nicht warm.
Die Sauna ist in Relation zur Heizleistung des Ofens zu Klein (1.1.).
- Der Rauchfang hat keinen gute Luftzug.
- Das Brennmaterial ist feucht oder anderweitig von schlechter Qualität.
Die Rauchkanäle des Ofens sind verstopft (2.7.).
- Überprüfen Sie die Anordnung der Steine (▶2.4.). Entfernen Sie die kleinen Steinstücks und alle Steine, die weniger als 10 cm Durchmesser aufweisen, aus der Steinkammer. Ersetzen Sie die hereausgenommenen Steine durch große und unbeschädigte.
Der Ofen gibt Gerüche ab.
- Siehe Abschnitt 2.2.
- Ein heißer Ofen kann Gerüche in der Luft verstärken, die jedoch nicht durch die Sauna oder den Ofen selbst verursacht wurden. Beispiele: Farbe, Klebstoff, Öl, Würzmittel.
3. SAUNA ROOM

Figure 3. Gravity exhaust ventilation Abbildung 3. Schwerkrafftentlufung
3. SAUNAKABINE
3.1. Aufheizen der Saunakabine
Helle Böden werden durch Asche, Steinpartikel und aus dem Ofen fallende Metalsplitter verunreinigt. Verwenden Sie Bodenabdeckungen aus dunklen Materialien und dunkle Zementschämme.
Esistganznormal,wellnisch dieHolzoberflächen einerSauna mit der Zeitverfürben.Dieschwärzung wird beschleunigt durch:
- Sonnenlicht
- Hitze des Ofens
- Täfelungsschutz an den Wänden (mit geringem Hitzewiderstand)
- Feinpartikel, die aus den zerfallenden Saunastinen in die Luft entweichen
- Rauch, der in die Sauna kommt, zum Beispiel beim Nachlegen von Brennholz.
Wenn die vom Hersteller gegebenen Montageanweisungen befolggt werden, erwärt der Ofen brennbare Materialien in der Saunakabine auf keine gefährliche Temperaturen.
3.2. Belüftung der Saunakabine
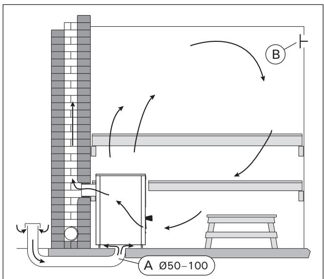
Schwerkraftentlüftung (Abbildung 3)
A. Die Frischluftzufuhr muss sich in der Nähe des Ofens nahe am Boden befinden und
B. der Auslass sollte sich so welt weg wie möglich vom Ofen befinden und in der Höhe des Daches. Da der Ofen selbst über eine effektive Luftzirkulation verfügt, dient der Auslass haupt-sächlich zum Abziehen der Feuchtigkeit aus der Sauna nach dem Saunabad.
Mechanische Entlüftung (Abbildung 4)
A. Die Frischluftzufuhr muss sich etwa 500 mm über dem Ofen befinden und
B. der Auslass solte in Bodennähe liegen, zum Beispiel unter der Bank.
3.3. Hygiene der Saunakabine
Liegetücher benutzen, um die Bänke vor Schweiz zu schützen.
Bänke, Wände und Boden der Sauna mindestens alle sechs Monate waschen. Bürste und Saunereinigungsmittel verwenden.

Figure 4. Mechanical exhaust ventilation Abbildung 4. Mechanische Entlüftung
4. INSTRUCTIONS FOR INSTALLATION
4.1. Before Installation
4.1. Vor der Montage
Sorgen Sie vor der Montage des Ofens davon, dass alle Anforderungen bezüglich der Sicherheitsabstände eingehalten werden. Innerhalb des Sicherheitsabstands um den Ofen herum dürfen sich keine elektrischen Geräte, Kabel oder brennbare Materialien befinden.
- Wenn die Anforderungen für Sicherheitsabstände nicht eingehalten werden, sollen den Sie einen zusätzlichen Schutz anbringen (4.1.3., 4.1.4.).
- Nähere Informationen zu Brandschutzbestimmungen erhalten Sie von den örtlichen Behörden, die für die Genehmigung der Einbauten zuständig sind.
4.1.1. Bodenschutz
Siehe Abbildung 5.
A. Betonboden ohne Fliesen. Auf Betonboden kann der Ofen ohne besondere Sicherheitsmaße aufgebaut werden, solange der Beton mindestens 60~mm dick ist. Vergewissern Sie sich, dass sich in dem Beton unter dem Ofen weder elektrische Kabel noch Wasserleitungen befinden.
B. Boden aus brennbarem Material. Schützen Sie den Boden mit einer mindestens 60~mm dicken Betonplatte. Die Platte muss an den Seiten des Ofens und dahinter um 300~mm hervorstehen (wenn sich der Ofen nicht an einer Wand befindet) und vor dem Ofen mindestens um 400~mm . Die Platte sollte sich auf einer Untlage leicht über der Bodenoberfläche befinden, um Bodenmaterial trocken zu halten. Sie konnen auch den Schutzmantel und die Schutzplatte von Harvia benutzen ( 4.1.4.)
C. Fliesenboden. Die unter den Fliesen benutzten Klebstoffe, Mörtel und Wasserfesten Materialien können der Wärmestrahlung des Ofens nicht standhalten. Schützen Sie den Boden mit der Schutzplatte von Harvia (4.1.4.) oder einem ähnlichen Hitgeschutz.





Figure 5. Protecting the floor (all dimensions in millimeters)

Abbildung 5. Bodenschutz (alle Abmessungen in Millimetern)
4.1.2. Safety Distances
See figure 6.
4.1.2. Sicherheitsabstände
Siehe Abbildung 6.
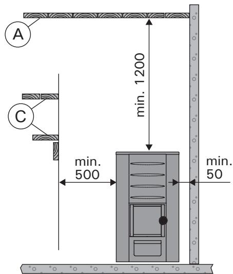
A. Dach. Der Mindest-Sicherheitsabstand zwischen Ofen und Dach beträgt 1200mm
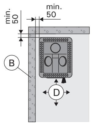
B. Gemauerte Wände. Lassen Sie 50 mm zwischen Ofen und Wänden, vorausgesetzt, die Luft kann vor dem Ofen und auf einer Seite zirkulieren. Wenn der Ofen in eine Nische eingebaut wird,LANsEN SiFur die Luftzirkulation zwischen dem Ofen und den Wänden 100 mm Platz.
C. Wände und Liegen aus brennbarem Material. Mindest-Sicherheitsabstand von brennbaren Materialien: 500~mm auf beiden Seiten und hinter dem Ofen und 1000~mm davor.
D. Für Nutzung und Wartung benötigter Raum. Der Benutzer des Ofens besteht mindestens einen Quadratmeter Platz vor dem Ofen.



Figure 6. Safety distances (all dimensions in millimeters)

Abbildung 6. Sicherheitsabstände (alle Abmessungen in Millimetern)
4.1.3. Protective Covers
4.1.3. Schutzabdeckungen
Siehe Abbildung 7. Die angegebenen Sicherheitsabstände zu brennbaren Materialien konnen durch einen einfachen Schutz um die Häfte und mit einem doppelten Schutz auf ein Viertel reduziert werden.
- Eine einzelnche Schutzabdeckung (1x) kann ausfaserverstärkten, nicht brennbaren Betonplatten (Mineralplatten) mit einer Mindestdicke von 7 mm oder aus Blech mit einer Mindestdicke von 1 mm bestehen.
- Eine doppelte Schutzabdeckung (2x) lässt sich aus zwei der oben erwähnten Platten herstellen.
Die Befestigungspunkte müssen nahe genug beieinander liegen, um eine solide Struktur zu gewährleisten. - Lassen Sie zwischen der zu schützenden Oberfläche und der Platte mindestens 30mm Platz.
Die Schutzabdeckung sollte mindestens 600mm higher als die obere Kante des Ofens sein. - Eine mindestens 55mm dicke gemauerte Wand entspricht einer einzelnen Schutzabdeckung. Eine mindestens 110mm dicke gemauerte Wand entspricht einer doppelten Schutzabdeckung. Die gemauerte Wand sollte zu den Seiten hin offen sein und sich mindestens 30mm von der zu schützenden Oberfläche entfernt befinden.


Figure 7. Protective covers (all dimensions in millimeters)
Abbildung 7. Schutzabdeckungen (alle Abmessungen in Millimetern)
4.1.4. Harvia Protective Sheath and Bedding
4.1.4. Harvia-Schutzmantel und Schutzplatte
Siehe Abbildung 8. Der Harvia-Schutzmantel und die Platte bieten eine einfache Lösung zum Schutz brennbarer Materialien vor der Hitze des Ofen. (Nur M1, M3, 20 Pro, 20 ES Pro/S, 26 Pro.)

Abbildung 8. Schutzmantel und Schutzplatte von Harvia (alle Abmessungen in Millimetern)
4.2. Installing the Stove
4.2.1. Adjustable Legs
4.2.1. Verstellbare Füße des Ofens
(Nur 20 Pro, 20 ES Pro/S, 20 Boiler, 26 Pro, 36.) Die verstellbaren Fußde dieren zur sicheren Installation auf schiefer Grundfläche. Regelbereich 0 - 30mm . Die verstillbaren Fußde sollen bis zu einem Ausmaß gelöst werden, das es ermöglich, sie mit einem Gabelschlüssel (17 mm) einzustellen, wenn der Ofen an seinem Platz stehen.
Achtung! Die verstelltbaren Fußkonnen die Bodenoberfläche zerkratzen, wenn der Ofen auf dem Boden bewegt wird.
4.2.2. Anschluss des Ofens an einen gemauerten Rauchfang
Stellen Sie in der Brandmauer eine Öffnung für den Abzugsanschluss her. Beachten Sie, falls Sie z.B. eine Schutzplatte anzubringen gedenken, dass sich die Öffnung auf der richtigen Höhe befinden muss. Das Loch sollte etwas größer sein als der Durchmesser des Abzugsanschlussrohres. Eine Dichtungstücke von etwa 10mm um das Rohr herum ist angemessen. Es ist ratsam, die inneren Ecken der Rauchfangsöffnung abzurunden, damit die Rauchgase in den Rauchfang frei abziehen konnen. Zur einfacheren Montage steht zusammen Zubehör zur Verfügung (4.4.).
Anschluss des Ofens an einen gemauerten Rauchfang über die;zähere Anschlussöffnung (Abbildung 9)
- Biegen Sie den Deckel nach unten (nur M1/M3). Bringen Sie das Abzugsanschlussrohr (im Paket) so an die wichtere Anschlussoffnung an, dass die Seite mit der Vertiefung nach oben zeigt. Das Rohr muss fest an seinem Platz sitzen. Schlagen Sie es gegebenenfalls leicht mit einem Hammer.
- Wenn das Rohr nicht dicht angeschlossen werden kann, verbiegen Sie die Halterung mit einem Schraubendreher.
- Schieben Sie den Ofen an seine Position. Schieben Sie das Abzugsanschlussrohr nicht zuweit in den Rauchfang hinein. Kurzen Sie das Rohr, falls notwendig.
- Dachten Sie das Abzugsanschlussrohr in der Öffnung der feuerfesten Wand ab, z.B. mit feuerfester Mineralwolle. Der Abzugsanschluss muss absolut dicht sein. Fügen Sie gegebenenfalls mehr Mineralwolle hinzu.
| A | |
| M1/M3 | 560 |
| 20 PRO | 560 |
| 20 ES PRO/S | 560 |
| 26 PRO | 690 |
| 36 | 680 |
| 50 | 890 |


M1/M3


Figure 9. Connecting the stove to a masonry flue via the rear connection opening (all dimensions in millimeters)
Abbildung 9. Anschluss des Ofens an einen gemauerten Rauchfang über die hintere Anschlussöffnung (alle Abmessungen in Millimetern)
Anschluss des Ofens an einen gemauerten Rauchfang über die obere Anschlussöffnung (Abbildung 10)
Für den oberen Anschluss wird ein Winkelrauchrohr (45^ oder 90^) besteht (4.4.).
- Öffnen Sie den Deckel der hinteren Anschlussöffnung (nur M1/M3). Versetzen Sie den Stopfen von der oberen Anschlussöffnung auf die wichtere Anschlussöffnung.
- Biegen Sie die Befestigungsfedern seitwärts durch die obere Anschlussöffnung, damit der Stopfen nicht hereausfällt. Klappen Sie den Dekel zurück nach oben und befestigen Sieihn mit einer Schraube (nur M1/M3).
- Bringen Sie das Abzugsanschlussrohr an die obere Anschlussöffnung an. Das Rohr muss fest an seinem Platz sitzen.
- Schieben Sie den Ofen an seine Position. Schieben Sie das Abzugsanschlussrohr nicht zuweit in den Rauchfang hinein. Kurzen Sie das Rohr, falls notwendig.
- Dachten Sie das Abzugsanschlussrohr in der Öffnung der feuerfesten Wand ab, z.B. mit feuerfester Mineralwolle. Der Abzugsanschluss muss absolut dicht sein. Fügen Sie gegebenenfalls mehr Mineralwolle hinzu.
| A | B | C ca. | D ca. | E ca. | F ca. | |
| M1/M3 | 640 | 120 | 830 | 1000 | 1380 | 1570 |
| 20 PRO | 670 | 120 | 850 | 980 | 1410 | 1540 |
| 20 ES PRO/S | 670 | 120 | 850 | 980 | 1410 | 1540 |
| 26 PRO | 750 | 130 | 930 | 1070 | 1490 | 1630 |
| 36 | 750 | 130 | 930 | 1070 | 1490 | 1630 |
| 50 | 1090 | 130 | 1230 | 1370 | -* | -* |
- smoke pipes/ Ofenrohre 0140 mm









Figure 10. Connecting the stove to a masonry flue via the upper connection opening (all dimensions in millimeters) Abbildung 10. Anschluss des Ofens an einen gemauerten Rauchfang über die obere Anschlussöffnung (alle Abmessungen in Millimetern)
4.2.3. Anschluss des Ofens an einen Harvia-Edelstahlschornstein
Zur Abführung der Verbrennungsgase kann ein CEgeprüfter Harvia-Stahlschornstein verwendet werden. Die Ofenrohre sind aus rostfreiem Stahl gefertigt, und der Schornstein wurde feuerfest isoliert. Der Schornstein hat ein rundes Profil. Das Ofenrohr misst 115 mm im Durchmesser und der Außenmantel 220 mm. Siehe Abbildung 11.
- Öffnen Sie den Deckel der hinteren Anschlussöffnung (nur M1/M3). Versetzen Sie den Stopfen von der oberen Anschlussöffnung auf die wichtere Anschlussöffnung.
- Biegen Sie die Befestigungsfedern seitwärts durch die obere Anschlussöffnung, damit der Stopfen nicht hereausfällt. Klappen Sie den Dekel zurück nach oben und befestigen Sieihn mit einer Schraube (nur M1/M3).
- Schließen Sie das Ofenrohr des Stahlschornsteins an die obere Anschlussöffnung des Ofens an. Vergewissern Sie sich, dass das Ofenrohr fest an seinem Platz sitszt. Genauere Anweisungen finden Sie in den Installationsanweisungen des Stahlschornsteins!
Bei Verwendung eines Schutzmantels um den Ofen herum muss der isolierte Teil des Rauchfangs auf Höhe der Oberkante des Schutzmantels oder darüber anfangen.




Figure 11. Connecting the stove to a Harvia steel chimney (all dimensions in millimeters) Abbildung 11. Anschluss des Ofens an einen Harvia-Edelstahlschornstein (alle Abmessungen in Millimetern)
4.3. Änderung der Öffnungsrichtung der Ofentür Die Ofentür kann so montiert werden, dass sie entweder nach links oder nach rechts zu öffnen ist. Siehe Abbildung 12.



Figure 12. Changing the opening direction of the stove door Abbildung 12. Änderung der Öffnungsrichtung der Ofentür
4.4. Accessories
A. Harvia-Stahlschornstein WHP1500. 4.2.3
B. Warmwasserbehälter VL22I. Oben auf der oberen Anschlussöffnung montiert. Wenn ein Schutzmantel oder ein anderer Schutz benutzt wird, der nicht große genug ist, um die brennbaren Materialien um den Ofen herum vor der Wärmestrahlung des Rohres zwischen dem Warmwasserbehälter und dem Rauchfang zu schützen, so müssen Sie um das Rohr herum einen Strahlungsschutz anbringen.
C. Strahlungsschutz WZ020130. Um das Rauchrohr herum angebracht. Der Sicherheitsabstand von brennbaren Materialien zu einem ungeschützten Rauchrohr beträgt 1000mm . Bei Verwendung eines Strahlungsschutzes beträgt der Sicherheitsabstand 500mm .
D. Harvia-Schutzmantel WX017. (Nur M1, M3, 20 Pro, 20 ES Pro/S, 26 Pro.) ▷4.1.4.
E. Harvia-Schutzplatte WX018. (Nur M1, M3, 20 Pro, 20 ES Pro/S, 26 Pro.) ▷4.1.4.
F. Winkelrauchrohr. Verschiedene Modelle.
G. Durchgangskragen für Rauchrohr WZ020115. Bedeckt die Kanten der Rauchfangöffnung und die Dichtung in der Wand. Aus Edelstahl gefertigt. Besteht aus zwei Teilen, die sich für verschiedene geniegte Rauchrohre eignen.
H. Maueranschluss WZ011115. Angebracht an die Rauchfangöffnung, besteht keine weiteren Dichtungen. Die Innenseite verfügbar bereits über eine Dichtung.



Figure 13. Accessories (all dimensions in millimeters) Abbildung 13. Zubehör (alle Abmessungen in Millimetern)
HARVIA 20 ES Pro

WX018
Lisavaruste
Tillbehör
Optional
Wahlweise
DOnOJIHTeJIbHO
Valikuline

HARVIA
Harvia Oy
PL12
40951 Muurame
Finland
www.harvia.fi

Vesisäiliö
Kiukaan etuosassa oleva
DER integrierte Wasserbehälter (ca. 20 l) an der Vorderseite des Ofens besteht aus hochqualitativem, rosfreien Stahl. Auf der linken oder der rechten Seite kann ein Wasserhahn angebracht werden. Verschließen Sie die andere Behälteröffnung mit einem Verschlussdeckel.
Achtung! Die Dichtungen des Wasserhahns und des Verschlussdeckels,müssen gegen die Außenfläche des Behalters angebracht werden, nicht innerhalb des Behalters. Ansonsten tritt trotz der Dichtung Wasser am Gewinde lang aus.
Vorsicht mit dem bereits Wasser! Hautkontakt mit kochen dem Wasser und bereits Dampf führt zu Verbrennungen. Warnen Sie Kinder vor den Gefahren von bereits Wasser und entsprechenden Sie Ihnen, das Heißwasser zu benutzen.
- Sobald der Ofen heißt ist, sollen sie den Wasserbehälter immer so voll wie möglich halten. Wenn der Behälter bei bereits Ofen geleert oder abgelassen wird, kann er
Schaden erleiden.
- Halten Sie den Wasserbehälter sauber. Der Wasserbehälter besteht aus Edelstahl, aber Fremdsubstanzen (z. B. Eisen) können zu Rostflecken führen.
Das Wasser muss die gleichen Qualitätsansprüche erfüllen wie das Saunawasser. Sie können im Wasserbehälter auch Seewasser von gutter Qualität benutzen. Das Ofenmaterial wird dadurch nicht beschädigt, so lange Sie den Behälter gelegentlich gründlich reinigen.
Wartung
Leeren Sie den Wasserbehälter, wenn der Ofen für längerere Zeit nicht benutzt wird oder wenn das Wasser gefrierten konnte. Lassen Sie den Wasserhahn geöffnet.
- Reinigen Sie den Wasserbehälter mit Wasser und einem weichen Tuch. Verwenden Sie keine stärken Reinigungsmittel.
- Wenn sich aus irgendem Grund Rostflecken am Wasserbehälter gebildet haben, entfernen Sie sie mit Nassschleifpapier mit 400er Körnung oder länger. Reinigen Sie den Wasserbehälter nach dem Schleifen sorgfältig. Verwenden Sie keine Stahlwolle, um Rostflecken zu entfernen.

Pe3epByapДЯВоДы
BcTpoeHHbI 20-nITpObI
pe3epByap IINB OBDI B IpeEneH qactN KAMEHKN N3rTOBIIeN I3 BbICOKOkaYeCTBeHHoH HEPKaeIOUeC tAn. BoJHOH KpaH MOXHO pACnIOXKnTb C NebOH INN PpABOcSTOpOHbI 3aKpOnTe Dpyrooe OTBepCTne pe3epByapa 6IoknPOBOuHOr 3aFyLkOi.
BnMaHHe! PpOKJaKn KpaHa n 6JoknpoBOuHO3aRnyUKN Heo6XoDnMo UcTaHaBJIbBaTb C BHeUHei CTOpObI pe3epByapa, a He c BHyTpEnHei CTOpObI. B npOTNBOM cnUyae BOda 6yDet BbITEKaTb n3 pe3epByapa, HecMOtpr Ha yCTaHOBNeHHyIO npOKJaKy.

Co6IouaIte octopoXHocTb npu KOHTaKTe C ropaye BOIo.
KnIpaa Boda n ropayn nap npn KOHTaKTe C KoxKe Bbl3bBAiOT OXoRn. PpeynpeDnte Detei o pncke, KOTOpbl npdctablaer Tropyra Boda, n He pa3peShaTe NM C Hei KOHTaKTnpoBaTb.
Iocne HarpeBaHnKaMeHKn cJeHnte, YTo6bI pe3epByap IaB ODoI 6bl MaKcHMaJIbHO nOLHbIM.HarpeBaHne KaMeHKn pni He3aIOJIeHHOM INIOnOpOJHeHHOM pe3epByape IJa BObI pInBeTe K erO NOBpeXdEHHIO.
Iopdepxnbte uctoty pe3epByapa IJI BODJI. Pe3epByap IJI BAoBI BYIOHNHe N3 HepXaBeHOLLcIe CTaJI, OJHaKO IOCTOPOHnE BeLcEcbTA (HaPImEp, JKeJe3O) MOrY Bb3BaTb 6pa3OBAHne PJITeH pXaBHybl.
BodaIOnxHaOTBeuTaTEmJTepe6oBaHnM,YTOINBODaIpaCayHbI.Ⅱra3aONHeHnPe3epByapaMOXHO
Takke INCIOJIb3OBA Tb 03epHyIO BODy XopoIeRo KaueCTBa. 3To He NOBpeIIT MaTePnAIIb, I3 KOTOpBIX N3ROTOBJeHa KAmEHKa, ECINBPEMg OT BpEMeHb BbIIOJIHrTb TlAteJIbHyIO YNCTKy pe3epByapa.
06cIyXnBaHne
EcIn KaMeHka He nCnoJb3yeTcB TeueHne IpoDoJXnTeJbHO BpeMeHN, BO n36ExKaHne 3aMep3aHnCJIeDyET CInTb BODy n3 pe3epByapa. Octabte KpaH pe3epByapa nIra Bobl OTKpbItbIM.
- Помоутpe3epyarДЯ BOы BOОи Mягко TkaHOn caPefKoH. HeИСПОЛьЗУТе CINьНодейСТВЮШиЕ MOJOUZE cpeIcTBa.
ПиOBpa3OBAHIM NO KAKIM-пбОпчINHaNoBepxHocTN pe3ePbByapa TЯTeH pKabYnHbI ydaJIte INC NOMOuH NoJXdauHOb 6ymaN C 3epHnCToCTbIO 400 nIN BblIe. Pocne abpa3nBHO Opb6OTKn CneJyET TuaTeNbHO IpombITb pe3ePbAp. He CNeJyEt NCIOJIb3OBAbT DIIA

EinfachAnleitung