RFDC2404 - Kühl-Gefrier-Kombination ACEC - Kostenlose Bedienungsanleitung
Finden Sie kostenlos die Bedienungsanleitung des Geräts RFDC2404 ACEC als PDF.
Benutzerfragen zu RFDC2404 ACEC
0 Frage zu diesem Gerät. Beantworten Sie die, die Sie kennen, oder stellen Sie Ihre eigene.
Eine neue Frage zu diesem Gerät stellen
Laden Sie die Anleitung für Ihr Kühl-Gefrier-Kombination kostenlos im PDF-Format! Finden Sie Ihr Handbuch RFDC2404 - ACEC und nehmen Sie Ihr elektronisches Gerät wieder in die Hand. Auf dieser Seite sind alle Dokumente veröffentlicht, die für die Verwendung Ihres Geräts notwendig sind. RFDC2404 von der Marke ACEC.
BEDIENUNGSANLEITUNG RFDC2404 ACEC
RéFRIGÉRATEURCONGÉLATEURKÜHL-GEFRIERSCHRANKKOEL-VRIESKASTRFDC 2404
i AVERTISSEMENTS ET CONSEILS IMPORTANTS
Bewaar nicht-luchtdicht verpakte bananen, aardappelen, uien of knoflook nicht in de koelkast.


Tips het invriezen
Enkele belangrjekte tips:
iWARNUNGEN UND WICHTIGE HINWEISE
Es ist sehr wichtig, daß diese Bedienungsanleitung mit dem betreffenden Gerät aufbewahrt wird. Sollte diesen Gerät verkauft bzw. einer anderen Person gegeben werden, so ist es nötig, die Anleitung beizufügen, damit der neue Besitzer über den Betrieb des Gerätes bzw. die entsprechenden Warnungen.
Sollte这点 Gerät mit Magnet-Türverschluß als Ersatz für ein altes Gerät dienen, das noch mit einem Schnappschoß ausgerüstet ist, so machen Sieitte这点 Schloß unbrauchbar, bevor Sie das Gerät beiseite stellen oder zum Müll geben. Sie verhindern damit, daß spielende Kinder sich selbst einsperren und damit in Lebensgefahr kommt.
These Warningungen wurden zu Ihr dem Schutz anderer erarbeitet. Wir bitten Sie daher, diese aufmerksam zu lessen, bevor das Gerät in Betrieb genommen wird.
Sicherheit
- Dieses Gerät wurde hergestellt, um von Erwachsenen benutzt zu werden. Es ist unbedingt darauf zu achten, daß Kinder es nicht anfassen oder es als Spielzeug verwenden.
- Es ist gefährlich, die Eigenschaften these Gerätes zu ändern.
- Vor der inneren bzw. äußerten Reinigung des Gerätes sowie beim Auswechseln der Glühlampe (bei damit ausgestatteten Geräten) das Gerät spanningslos machen.
- Eis aus dem Gefrier- bzw. Frosterfach nicht那么简单 essen, es könnte Kälte-Brandwunden verursachen.
- Dieses Gerät ist schwer. Beim Versetzenitte darauf aufchten!
Störungen - Kundendienst
- Sollte die Installation des Gerätes eine Änderung der elektrischen Hausinstallation verlangen, so darf diese nur von Elektro-Fachkräften durchgeführt werden.
Eventuelle Reparaturen dürfen nur von einem ELPRO-Kundendienst oder sonstigen autorisierten Stellen durchgeführt werden. - Es ist wichtig, daß nur Original-Ersatzteile verwendet werden.
- Benutzen Sie nie Metallgegenstände um das Gerät zu reinigen, da es beschädigt werden können.
- Tritt eine Störung oder ein Defekt ein, versuchen Sie nicht, das Gerät selbst zu reparieren. Elektrogeräte)dürfen nur von Elektro-Fachkräften repariert werden, da durch unsachgemäße Reparaturen erhebliche Folgeschäden entstehen können. Wenden Sie sichitte an die{nachste ELPRO-Kundendienstelle.
Aufstellung
- Sich vergewissern, daß das Gerät nach der Installation nicht auf dem Netzkabel stehen.
Wichtig: Beschädigte Versorgungskabel mussen durch ein Spezialkabel bzw. einen Spezialsatz ersetzt werden, die beim Hersteller oder den Kundendienst erhältlich sind.
- Wahlrend das Gerät in Betrieb ist, werden der Verflüssiger und der Kompressor, die sich auf der Rückseite des Gerätes befinden, heiß. Es ist darauf zuachten, dass die Luft um das Gerät frei zirkulieren kann, damit die Wärme abgeführt werden kann. Eine ungenügende Luftzirkulation kann einen unregelmäßigen Betrieb bzw. Schaden am Gerät verursichen. Achten Sie auf die Installationsanweisungen.
- Teile, die heißt werden (z.B. Kompressorgeläuse, Verflüssiger und zugehörige Rohre), sollen nicht frei zugänglich sein. Wo es auch immer möglich ist, soll das Gerät mit der Rückseite gegen eine Wand gestellt werden.
- Wahlrend des Transports kann es vorkommen, daß das im Motorkompressor enthaltene Öl in den Kältekreislauf abläuft. Man sollte mindestens 2 Std. warten, bevor das Gerät in Betrieb genommen wird, damit das Öl in den Kompressor zurückströmen kann.
Gebrauch
Die Haushaltskuhl- und Gefriergeräte sind nur zur Einlagerung bzw. zum Einfrieren von Nahrungsmitteln bestimmt.
Die Beste Leistung erzielt man bei Raumtemperaturen von +18^ bis +43^ (Klasse T); +18^ bis +38^ (Klasse ST); +16^ bis +32^ (Klasse N); +10^ bis +32^ (Klasse SN); die Geräteklasse ist auf dem Typschild angegeben.
Zu beachten: Wird theses Gerätes bei anderen Umgebungstemperaturen betrieben als den in der entsprechenden Klimaklasse angegebenen Werten, sind folgende Hinweise zu beachten: sinkt die Umgebungstemperatur unter den angegebenen Mindestwert ab, könnte die Lagertemperatur im Gefrierabteil nicht mehr garantiert sein; es wird daher empfohlen, die eingelagerten Lebensmittel so rasch als möglich
Installatie
- Einaufgetautes Produkt darf nicht wieder eingefroren werden.
- Für das Aufbewahrens bzw. das Einfrieren der Lebensmittel sind die Anweisungen des Herstellers zu befolgen.
- In allen Kuhl- und Gefriergeräten bedecken sich im Laufe der Zeit alle kältefuhrenden Teile mit einer Reif bzw. Eissicht. Diese Schicht wird je nach Modell automatisch oder mit der Hand abgetaut.
Die Reifsicht niemals mit Metallgegenständen abkratzen, das Gerät könnte beschädigt werden. Dazu nur einen Plastikschaber verwenden. -
Zum Lösener festgefrorenen Eisschalen keine scharfkantigen oder spitzn Gegenstände benutzen.
-
Es sollen den keine kohlensäurehaltigen Getränke in das Gefrier- bzw. Frosterfach eingestellt werden, sie konnten platzen.

Umweltnormen
Dieses Gerät enthalt im Kühlkreislauf und in der Isolierung kein ozonschädigendes Gas. Das Gerätarf nicht mit dem Hausmüll entsorgt werden. Eine Beschädigung des Kältemittelkreislaufs, insbesondere des Wärmetauschers auf der Rückseite des Gerätes, mußverhindert werden. Auskunft über Abholtermine oder Sammelplätze gibt die örtliche Gemeindeverwaltung an. Die in dieser Gerät verwendeten und mit dem Symbol gekennzeichneten Materialien,sind recyclingfähig.
HINWEISE ZUR VERPACKUNGSENTSORGUNG
Verpackungen und Packhilfsmittel unserer Elektro-Großgeräte sind mit Ausnahme von Holzwerkstoffen recyclingfähig und sollen grundsätzlich der Wiederverwertung zugeführrt werden.
Wir empfehlen Ihnen:
- Papier-, Pappe- und Wellpappeverpackungen sollen in die entsprechenden Sammelbehälter gegeben werden.
- Kunststoffverpackungsteile sollenen ebenfls in die davon vorgesehenen Sammelbehälter gegeben werden. Solange solche in Ihrwohngebiet noch nicht vorhanden sind, konnen Sie diese Materialien zum Hausmüll geben.
Als Packhilfsmittel sind bei uns nur recyclungfähige Kunststoffe zugelassen, z.B.:
In den Beispelen steht

PE für Polyäthylen** 02 = ^ PE-HD; 04 = ^ PE-LD
PP für Polypropylen
PS für Polystyrol
BESTANDTEILE AUS PLASTIK
Zur einfacheren Entsorgung und/oder Recycling ist ein Großteil der Materialien these Gerätes gekennzeichnet, um ihre Identifizierung zu erhögbaren.

PS

SAN

ABS
INHALT
Warningen und wichtige Hinweise 12
Hinweise zur Verpackungsentsorgung 13
Gebrauch / Reinigung der Innenteile - Inbetriebnahme - Temperaturregelung - Hinweise zum richtig . . .
Kühlen - Einfrieren von frischen Lebensmitteln - Aufbewährung der Tiefkuhlkost - Eiswürfelbereitung - . . . . .
Auftauen 14
Gebrauch / Hohenverstellbare Abstellregale - Hohenverstellung der Turablage Tips / Tips für das Kühlen - Tips für das Einfrieren 15
Tips / Tips für Tiefkuhlkost Wartung / Regelmäßige Reinigung - Stillstandzeiten - Innbeleuchtung . . . . . .16
Wartung / Abtauen - Störungen 17
Installation/Aufstellung-Hintere Abstandsstücke-Elektrischer AnschluB 18
Installation/Turanschlagwechsel 19
GEBRAUCH
Reinigung der Innenteile
Bevor Sie das Gerät in Betriebnehmen, beseitigen Sie den typischen «Neugeruch» am besten durch Auswaschen der Innenteile mit lauwarmem Wasser und einem neutralen Reinigungsmittel Sorgfällig nachtrocknen.
!Bitte keine Reinigungsbzw. Scheuermittel verwenden, die das Gerat beschädigen konnten.
Inbetriebnahme
Netzstecker in die Steckdose einstecken.
Kühlschranktür öffnen und Thermostatknopf von der Stellung “0” (STOP) aus im Uhrzeigesinn drehen.
Den Stillstand erhält man durch Drehen des Thermostatknopfes auf Stellung «O».
Temperaturregelung
Die Temperatur wird automatisch geregelt und kann erhöht werden (wärmer) durch Drehen des Thermostatknopfes auf niedrigere Einstellungen oder verringgert (kalter) durch das Drehen auf höhere Zahlen.
Die richtige Einstellung erhält man, unter Berücksichtigung folgender, die Innentemperatur beeinflussender Faktoren:
- Raumtemperatur,
- Häufigkeit des Türoeffnens,
- Menge der eingelagerten Lebensmittel,
Aufstellung des Gerätes.
Die mittlere Einstellung ist meinstens die geeignetste.

Höchste Kälteeinstellung bei hoher Raumtemperatur und erheblicher Lebensmittelmenge kann fortdauernden Kühlschrank-Betrieb verursachen, darauf kann sich eine Reif- oder Eisschicht an der hinteren Innewand bilden. In dieser Falle den Thermostatknopf auf wärmere Temperaturen stellen, damit das automatische Abtauen, mit folglich geringerem Stromverbrauch, gewährleistet werden kann.
Hinweise zum richtig Kühlen von Lebensmitteln und Geträngen
Um die besten Leistungen des Kühlschranks zu erreichen, beachten Sieitte folgenden:
-
Keine warmen Speisen oder dampfenden Flüssigkeiten in den Kühlschrank einstellen.
-
Geruchverbreitende Lebensmittel mösen abgedeckt oder eingewickelt werden.
Die Lebensmittel mussen so eingelagert werden, daß die Kälte um sie frei zirkulieren kann.
Einfrieren von frischen Lebensmitteln
Für das Einfrieren von Lebensmitteln ist es nicht nötig, die Thermostatinstellung zuändern. Wünscht man aber ein rasches Einfrieren, so muß der Thermostatknopf auf die höchste Stellung gedreht werden. Soltte jedoch bei dieser Einstellung die Temperatur im Kühlraum unter 0^ führen, so muß eine niedrigere Reglerstellung gewählt werden.
Die einzufrierenden Lebensmittel in das oberste Fach des Gerätes legen, weil dies die kalteste Stelle ist.
Aufbewährung der Tiefkuhlkost
Nach einem längeren Stillstand oder bei der ersten Inbetriebnahme des Gerätes muß vor der Einlagerung der Tiefkuhlkost die höchste Stellung des Thermostatknopfes gewählt werden. Nach ca. 2 Stunden kann dieser auf eine mittlere Stellung zurückgedreht werden..
! Wichtig
Im Falle einer Stromunterbrechung während der Lagerung von Tiefkuhlkost bzw. von eingefrorenen Lebensmitteln soll die Tur des Gefrierfaches nicht geöffnet werden. Die Tiefkuhlkost verdirbt nicht, wenn es sich um eine kurze Unterbrechung handelt (bis 6-8 Std.) und das Gerät voll ist. Wenn das nicht der Fall ist, ist es nötig, die tiefgefrorenen Lebensmittel innerhalb kurzer Zeit zu verbrauchen (eine Temperaturerhöhung der Tiefkuhlkost verkurzt die Aufbewahrungsdauer).
Auftauen
Die eingefrorenen oder tiefgekühnten Lebensmittel sollenn vor dem Gebrauch aufgetaat werden, indem man sie am besten im Kuhlabteil oder je nach der zur Verfugung stehenden Zeit bei Raumtemperatur auftaut. Kleine Stücke konnen eingefroren gekocht werden. Selfstverständlich verlangert sich damit die Kochzeit.
Eiswürfelbereitung
Das Gerät hat eine oder mehrere Eiwürfelschalen, welche mit Wasser aufgefüllt in das Gefrierfach gestellt werden.
Bitte zur Entnahme der Eiswurfelschalen keine Metallgegenstände benutzen!
Türanschlagwechsel
Bevor Sie nachstehende Arbeitsvorgänge durchführren, Netzstecker unbedingt aus der Steckdoseziehen!
Den Wechsel auf folgende Weise ausführten:
- Obere Scharnier abschrauben und die obere Tur abnehmer.
- Mittleres Scharnier abschrauben und um 180^ drehen. Sie auf gegenüberliegenden Seite montieren nachdem die Stöpsel, die die Löscher abdecken, entfernen. Die stöpsel mussen auf der gegenüberliegenden Seite in den frei gebliebenen Löchern wieder angebracht werden.
- Obere Tur wieder einstezen und obere Scharnierauf gegeüberliegende Seite anschrauben.
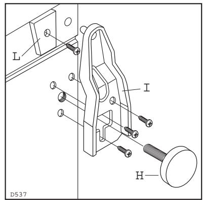
- Nivellierfüßchen (H) links und rechts, Scharnier (I) und Haltevorrichtung (L) abschrauben und auf gegenüberliegenden Seite abschrauben.
- Tügriffe abschrauben und auf die andere Seite montieren.

Vergewissern Sie sich nach Ausführung des Anschlagwechsels der Turen, daß alle Schrauben fest angezogen sind und überprüfen Sie auch, ob die Magnetdichtung am Möbel perfect anliegt. Bei einer niedrigen Raumtemperatur (z.B. im Winter) kann es vorkommen, dass die Dichtung nicht perfect am Schrank haftet. Die Wiederherstellung der Dichtung erfolgt automatisch nach gewisser Zeit. Wollen Sie aber diesen Prozess beschleunige, so genögt es die Dichtung mit einem Fön zu erwärmen.




INSTALLATION
Aufstellung
Das Gerät sollen nicht in der Höhe von Wärmequellen wie Heizkörpern oder Öfen aufgestellt und vor direkter Sonneneinstrahlung geschützt werden. Aus Gründen der Sicherheit muß eine Mindestbelüftung gesichert sein, wie aus der Abb. hervorght.
Anordnung des Gerätes unter den Oberschranken der Küche (siehe Abb. A).
Anordnung des Gerätes ohne Oberschänke der Küche (siehe Abb. B).
Achtung: Die Ventilations - Öffnungen müssen immer saubergehalten werden.
Die Nivellierung erfolgt durch Drehen der am Unterverteil des Gerätes angebrachten Nivellierfußchen.
Hintere Abstandsstücke
Im Beipack sind 2 Distanstücke enthalten, die an der Geräte-Rückseite montiert werden müssen.
Die Distanzstücke in die Öffnungen einsetzen (Pfeil(A) gemäß Abbildung) und dann um 45^ bis zum Einhaken drehen (Pfeil (A) senkrecht).
Elektrischer Anschluß
Bevor Sie den Stecker in die Steckdose einstecken, überprüfen Sieitte, daß die auf dem Typenschild des Gerätes angegebene Spannung sowie Frequenz mit dem Anschlußwert des Hauses übereinstimmen. Eine Abweichung von ±6% von der Nominalspannung ist zulässig. Für die Anpassung des Gerätes an andere Spannungen muß ein Spartantransformator angemessener Leistung vorgeschaltet werden.
Das Gerät muß unbedingt vorschriftsmäßig geerdet werden. Zu diesen Zweck ist der Stecker des Speisekabels mit dem darauf vorgesehenen Kontakt versehen. Sollte die Netzleitung im Haus nicht mit einer Erdleitung versehen sein, so muß das Gerät an eine getrennte Erdleitung vorschriftsmäßig und unter Hinzuziehung eines Fachmanns angeschlossen werden.
Die Erzeugerfirma lehtuneve Verantwortung ab, falls these Unfallverhutungsvorschrift nicht beachtet wird.


CE Dieses Gerät entspricht der folgende EWG Richtlinie:
- 87/308 EWG vom 2.6.87 (Deutschland-Ausführung) bzw. der ÖVE-Richtlinie Nr. F 61/84 (Österreich-Ausführung) bezüglich Funkentstörung.
- 73/23 EWG vom 19/02/73 (Niederspannung) und folgende Änderungen;
- 89/336 EWG vom 03/05/89 (Elektromagnetische Verträglichkeit) und folgende Änderungen.
Hohenverstellbare Abstellregale
Der Abstand zwischen den verschiedenen Abstellregalen kann je nach Wunsch geändert werden. Dazu die Regale Herausnahmen und auf das gewünschte Niveau einsetzen.
Hohenverstellung der Innentürablagen
Zur Einlagerung von Lebensmittel-Packungen verschiedener Höhe, sind die Abstellregale der Innentür hohenverstellbar.
Hierzu wie folgt vorgehen:
das Abstellregal stufenweise in Pfeilrichtung drucken bis es frei wird; dann in der gewünschten Höhe wieder anbringen.
i TIPS
Tips für das Kühlen
Nachstehend einige praktische Ratschlage:
Fleisch (alle Sorten) in Plastikfolie einpacken und auf die Glasplatte, die sich über der Gemüseschale (über den Gemüseschalen) befindet, legen.
In dieser Lage kann das Fleisch langstens 1-2 Tage aufbewahrt werden.
Gekochtene Nahrungsmittel, kalte Platten, usw. zugedeckt aufbewahren. Sie konnen auf jeder beliebigen Rost gelegt werden.
Obst und Gemüse: nach vorherigem Säubern und Waschen in der Gemüseschale (in den Gemüseschalen) aufbewahren.
Butter und Käse: in speziellen Behältern aufbewahren oder in Alu- bzw. Plastikfolie einpacken, um den Kontakt mit der Luft zu vermeiden.
Milch in Flaschen: gut verschlossen auf die Konsol der Innentür stellen.
Wenn Bananen, Kartoffeln, Zwiebeln und Knoblauch nicht verpackt sind, sollen sie nicht in den Kühlschrank gegeben werden.


Tips für das Einfrieren
Für ein einwandfreies Einfrieren der Lebensmittel geben wir folgende Ratschlage:
- Das Gefriervermögen des Gefrierabteils (in 24 Std.) kann auf dem Typenschild abgelesen werden.
- Der Gefriervorgang dauert ca. 24 Stunden. In dieser Zeit sollte keine zusätzliche Ware in das Gefrierabteil eingelegt werden.
- Nur erstklassige, frische und gut gesäuberte Produkte einfrierten.
Die Nahrungsmittel vor dem Einfrieren in keine Portionen einteilen, damit der Gefriervorgang beschleunigt wird; dies ermöglich das spätere Auftauen von kleineren Portionen.
Die Lebensmittel in Alu- oder Polyäthylenfolien Luftdicht verpacken. - Es soll vermieden werden, daß die einzufrierenden Lebensmittel mit den bereits eingefrorenen in Berührung kommt, um eine Wärmeübertragung an diese zu verhindern.
- Es ist zu beachten, daß mageres Fleisch better und länger haltbar ist. Fetthaltiges Fleisch hat
eine geringere Lagerzeit. Ferner reduziert Salz die Haltbarkeitsdauer.
- Speiseeis, direkt aus dem Gefrierfach genommen, kann Kälte-Brandwunden verursachen.
- Es ist empfehlenswert, auf der Verpackung das Einfrierdatum zu notieren, damit die Aufbewahrungszeit eingehalten werden kann.
- Auf der Innentür oder in einer Tabelle (falls diese mitgeliefert wurde) sind eine Tier- und Lebensmittelsymbole mit der in Monaten (Zahlen) angegebenen Aufbewahrungsdauer angebracht, die Ihnendie Haltbarkeit vom Moment des Einfrierens an anzeigt.
- Es sollen den keine kohlensäurehaltigen Getränke in das Gefrierfach eingestellt werden, da sie explodieren können.
WARTUNG
Vor jeder Reinigungsrarbeit immer den Netzstecker aus der Steckdoseziehen.
Regelmäßige Reinigung
Benutzen Sie nie Metallgegenstände um das Gerät zu reinigen, da es beschädigt werden können. Den Innenraum mit lauwarmem Wasser und Natron reinigen.
Gut nachwaschen und sorgfältig trocknen.
Innenbeleuchting
Die Innenbeleuchtungslampe im Kühlabteil ist durch folgende Arbeitsschritte zugänglich:
- Lösen Sie die Befestigungsschraube der Lampenabdeckung.
- Heben Sie den beweglichen Teil ab, indem Sie wie in der Abbildung gezeigt darauf drücken.
Sollte sich die Beleuchtung beim Öffnen der Türe nicht einschalten, ist zu überprüfen, ob die Glühbirne fest eingeschraubt ist; wenn die Störung dennoch bestehen bleibt, die defekte Glühbirne durch eine neue Birne gleicher Leistung ersetzen.
Die maximale Leistung ist am Leuchtkörper angegeben.
Tips für Tiefkuhlkost
Um optimale Leistungen des Gerätes zu erhalten, sich vergewissern,
- daß die Tiefkühlkost beim Verkaufen gut aufbewahrt wurde
- daß der Transport vom Verkäufer zum Verbraucher in kurzer Zeit erfolgt.
- Tür so weniger wie möglich öffnen und nicht offen halten.
- Einmal aufgetaute Lebensmittel verderbenschnell und können kein ein zweites Maleingefroren werden.
- Das Haltbarkeitsdatum auf der Tiefkuhlkestverpackung sollte nicht übersritten werden.
Stillstandszeiten
Bei längerem Stillstand des Gerätes, müssen Sie folgendermaßen vorgehen:
den Stecker aus der Steckdoseziehen;
alle Lebensmittel herausnehmer;
Gerät abtauen, Innenraum und Zubehörteile reinigen; die Türen offen setzen, um im Innern eine gute Luftzirkulation zu gewährleisten und damit Geruchsbildung zu vermeiden.

Abtauen
Die sich auf dem Verdampfer des Kühlschrankes bildende Reifschicht taut Jedesmal in den Stillstandzeiten des Motorkompressors von selbst ab. Das Tauwasser lauft durch eine Rinne in eine Plastikschale auf der Rückseite des Gerätes (über dem Kompressor) und verdunstet Dort.
Wir empfehlen, das in der Mitte der Abtauwasserrinne des Kühlraumes befindliche Ablaufloch für das Abtauwasser regelmäßig zu reinigen, um zu vermeiden, daß das
Abtauuwasser auf die eingelagerten Lebensmittel tropf. Verwenden Sie den dazu vorgesehen Reiniger, der sich schon im Ablaufloch befindet.
Die sich im Gefrierfach bildende Reifschicht soll, sobald diese eine Stärke von 4 mm erreicht hat, mit einem Plastikschaber abgekratzt werden. Wahrend these Vorganges ist es nicht nötig, das Gerät auszuschalten und die Nahrungsmittel herauszunehmen.
Wenn sich jedoch eine dicke Eisschicht bildet, muß man vollkommen abtauen. Um ein vollständiges Abtauen durchzuführen, gehen man wie folgt vor:
- Den Thermostatknopf auf «O» einstellen oder den Stecker aus der Steckdose Herausziehen.
- Die eventuell im Frosterfach liegenden Lebensmittel Herausnahmen, sie in Zeitungspapier einwickeln und sehr kuhl aufbewahren.
- Die Tür offen给你们 und das Abtauwasser mit einem Schwamm oder Tuch entfern.
- Nach beendeten Abtauproße das Fach gut trocknen.
- Den Thermostatknopf wieder in die gewünschte Stellung drehen bzw. den Stecker wieder einstecken.
- Nachdem das Gerät für 2-3 Std. in Betrieb genommen wurde, können tiefgefrore Nebensmittel darin zurückgelegt
STÖRUNGEN
Falls das Gerät Störungen aufweisen sollente, überprüfen Sie zuerst folgenden:
- Steckt der Netzstecker in der Steckdose?
- Befindet sich der Hauptschalter der elektrischen Anlage in der richtigen Stellung?
- Ist die Stromzufuhr unterbrochen?
- Befindet sich der Thermostatkopf in richtiger Stellung?
- Wasserpfütze auf dem Boden des Kühlfaches:


Achtung:
Benutzen Sie niemals Metallgegenstände, um die Reifschicht abzukratzen, damit eine Beschädigungen des Gerätes vermieden werden kann.
Benutzen Sie kein mechanisches oder andes Mittel für einen Schnellen Abtauprozeß mit Ausnahme der vom Hersteller empfohlenen.
Ein Temperaturanstieg der Tiefkuhlkost während des Abtauens konnte die Aufbewahrungsdauer verkurzen.
- Abtauwasserloch verstopt? (siehe Abschnitt "Abtauen")
Sollten Sie nach o.e. Prüfungen zu keinem Resultatkommen, so wenden Sie sichitte an unseren nachsten Kundendienst.
Um ein rasches Beheben des Schadens zu ermöglichen, ist es beim Anruf an den Kundendienst notwendig, die Modell- und Seriennummer anzugegeben, die Sie dem Garantieschein oder dem Typenschild (- linke Seite - unter) entnehmen können.
EinfachAnleitung