WTE 020, WTE 203 - Walkie-Talkies SWITEL - Kostenlose Bedienungsanleitung
Finden Sie kostenlos die Bedienungsanleitung des Geräts WTE 020, WTE 203 SWITEL als PDF.
Benutzerfragen zu WTE 020, WTE 203 SWITEL
0 Frage zu diesem Gerät. Beantworten Sie die, die Sie kennen, oder stellen Sie Ihre eigene.
Eine neue Frage zu diesem Gerät stellen
Laden Sie die Anleitung für Ihr Walkie-Talkies kostenlos im PDF-Format! Finden Sie Ihr Handbuch WTE 020, WTE 203 - SWITEL und nehmen Sie Ihr elektronisches Gerät wieder in die Hand. Auf dieser Seite sind alle Dokumente veröffentlicht, die für die Verwendung Ihres Geräts notwendig sind. WTE 020, WTE 203 von der Marke SWITEL.
BEDIENUNGSANLEITUNG WTE 020, WTE 203 SWITEL
Bedienungsanleitung 3
Mode d'emploi 13
1 Sicherheitschinweise
Lesen Sie diese Bedienungsanleitung sorgfältig durch.
Bestimmungsgemäß Verwendung
These Spechfunkgeräte sind geeignet für die Kommunikation mit anderen Spechfunkgeräten gleichen Standards. Jede andere Verwendung gilt als nicht bestimmungsgemäß. Eigenmächtige Veränderungen oder Umbauten sind nicht zulässig. Öffnen Sie die Geräte in keinem Fall selbst und führen Sie keine eigenen Reparaturversuche durch.
Verwendungsbereich
Vermeiden Sie Belastungen durch Rauch, Staub, Erschütterungen, Chemikalien, Feuchtigkeit, Hitze oder direkte Sonneneinstrahlung.
Verwenden Sie die Funkgeräte nicht in explosionsgefahrdeten Bereichen.
Batterien

Achtung: Werfen Sie Batterien nicht ins Feuer. Verwenden Sie nur Batterien des gleichen Typs! Achten Sie auf die richtige Polung! Bei verkehrter Polung der Batterien besteht Explosionsgefahr.
Medizinische Geräte

Achtung: Benutzten Sie die Funkgeräte nicht in der Nähe von medizinischen Geräten. Eine Beeinflussung kann nicht vollig ausgeschlossen werden. Funkgeräte konnen in Hörgeräten einen unangenehmen Brummton verursachen.
Entsorgung
Sie sind gesetzlich zur sachgerechten Entsorgung von Gebrauchsgutern verpflichtet. Das nebenstehende Symbol beteutet, dass elektrische und elektronische Altgeräte und Akkus getrennt vom Hausmüll zu entsorgen sind.
Elektrische oder elektronische Geräte entsorgen Sie bei einer Sammelstelle eines geeigneten Entsorgungssträgers.
Akkus entsorgen Sie beim batterievertreibenden Handel sowie bei zuständigen Sammelstellen, die entsprchende Behälter bereitstellen.
Verpackungsmaterialien entsorgen Sie entsprechend den lokalen Vorschriften.

2 Funkgeräte in Betriebnehmen
Sicherheitschinweise

Achtung: Lesen Sie vor der Inbetriebnahme unbedingt die Sicherheitshinweise in Kapitel 1.
Verpackungsinhalt prufen
Zum Lieferumfang gehoren:
- zwei Funkgeräte mit Görtelclip
- eine Bedienungsanleitung
Batterien einlegen
Öffnen Sie das Batteriefach. Legen Sie die Batterien ein. Verwenden Sie nur Batterien des Typs AAA. Achten Sie auf die richtige Polung! Schließen Sie das Batteriefach.


Funkgeräte in Betriebnehmen
Batteriestand

Sobald these Anzeige im Display blinkt, müssen die Batterien gewechselt werden.
Gurtelclip anbringen
Schieben Sie den Gürtelclip von oben in die Führung, bis er hörbar einrastet. Um den Gürtelclip wieder zu entfernen, haben Sie die Befestigungslasche mit dem Fingernagel etwas an und schieben den Gürtelclip nach oben.


3 Bedienelemente
Die Tasten Ihres Funkgeräts werden in dieser Bedienungsanleitung nachfolgend mit vereinheitlichen Symbolen dargestellt. Leichte Abweichungen der Tastensymbole Ihres Funkgeräts gegenüber den hier verwendeten Tastensymbolen sind daher möglich.
Funkgerat
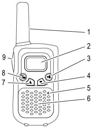
1 Antenne
2 Display
3 Ruffon senden
4 Lautstärke, Kanal abwärts
5 Mikrofon
6 Lautsprecher
7 Lautstärke, Kanal aufwirts
8 Ein / Aus, Kanaleinstellung
9 PTT-Sprechtaste

Display
1 Senden
2 Kanal / Lautstärke
3 Empfangen
4 CH = Kanal LE = Lautstärke
5 Batterien schwach

Wie bediene ich mye Funkgeräte?
4 Wie bediene ich meine Funkgeräte?
Darstellungen und Schreibweisen
| PTT | Abgebildete Taste drucken |
| , PTT | Abgebildete Taste gedrückt halten |
| , PTT | Abgebildete Taste losstellen |
| In das Mikrofon sprechen |
Ein-/Ausschalten der Funkgeräte
Funkgerat einschalten

Es erklingt ein Signal. Im Display wird der aktuell eingestellte Kanal angezeigt.

Funkgerat ausschalten
Lautstärkeregelung

Lauter oder leiser
Senden und Empfangen
Senden

Senden

Halten Sie das Funkgerät ca. 5 bis 7 cm vom Mund entfert und sprechen Sie mit normaler Lautstärke. Um mit anderen Teilnehmern zu sprechen, müssen alle Funkgeräte auf den gleichen Kanal eingestellt sein.
Empfangen

Empfangen

Sie konnen keine Funksignale empfangen, wenn Sie die PTT-Taste gedrück halten.
Bestätigungston (Roger Beep)
Der Bestätigungston erklingt, wenn Sie die PTT-Taste loslassen. Dadurch wird Ihragemenschpartner signalisiert, dass ihre Übertragung beendet ist.
Kanalwahl
| ○ | Einstellungsmodus aktivieren |
| ○ oder √, ⊙ | Kanal auswahlen und bestätigten |
| Kanal | Frequenz (MHz) | Kanal | Frequenz (MHz) |
| 1 | 446.00625 | 5 | 446.05625 |
| 2 | 446.01875 | 6 | 446.06875 |
| 3 | 446.03125 | 7 | 446.08125 |
| 4 | 446.04375 | 8 | 446.09375 |
Ruffon senden
Der Rufton macht andere Teilnehmer darauf aufmerksam, dass Sie ein Geschäft beginnen möchten. Voraussetzung dafür ist, dass die anderen Teilnehmer den gleichen Kanal verwenden.

Rufton senden
5 Falls es Probleme gibt
Service-Hotline
Haben Sie Probleme mit ihren Funkgeräten, kontrollierten Sie zu-erst die folgenden Hinweise. Bei technischen Problumen konnen Sie sich an unsere Service-Hotline unter Tel. 0900 00 1675 innerhalb der Schweiz (Kosten Swisscom bei Drucklegung: CH 2.60/min) wenden. Bei Garantieansprüchen wenden Sie sich an ihren Fachhändler. Die Garantiezeit beträgt 2 Jahre.
Fragen und Antwerten
| Fragen | Antwerten |
| Keine Funktion | - Die Batterien sind nicht korrekt eingelegt - Die Batterien sind leer |
| Senden nicht möglich | - Drücken Sie die PTT-Taste vollständig, um zu senden - Ihr Kanal wird von anderen Teilnehmern benutzt |
| Kein Empfang | - Lassen Sie die PTT-Taste los, um zu empfangen - Die Lautstärke ist zu gering eingestellt - Sie befinden sich außerhalb des Emp-fangsbereichs, ändern Sie ihre Position - Hindernisse wie Bäume und Gebäude haben einen negativen Einfluss auf die Reichweite |
6 Technische Eigenschaften
Technische Daten
| Merkmal | Wert |
| Ausgangsleistung | 0.5 W |
| Reichweite | ca. 3 km - bei freier Sichteinie |
Reichweite
Hindernisse wie Bäume und Gebäude haben einen negativen Einfluss auf die Reichweite. Die folgende Skizze zeigt die zu erwartende Reichweite bei entsprechenden Bedingungen.

Konformitätserklarung
Dieses Gerät erfüllt die Anforderungen der EU-Richtlinie:
1999/5/EG Richtlinie über Funkanlagen und Telekommunikationsendeinrichtungen und die gegenseitige Anerkennung ihrer Konformität. Die Konformität mit der o. a. Richtlinie wird durch das CE-Zeichen auf dem Gerät bestätig.
Für die komplette Konformitätserklarung nutzen Sieitte den kostenlosen Download von unserer Website www.switel.com.

7 Pflegehinweise / Garantie
Pflegehinweise
- Reinigen Sie die Gehäuseoberflächen mit einem weichen und fusselfreien Tuch.
- Verwenden Sie keine Reinigungsmittel oder Lösungsmittel.
Garantie
SWITEL - Geräte werden nach den modernsten Produktionsverfahren hergestellt und geprüft. Ausgesuchte Materialien und hoch entwickelte Technologien sorgen für einwandfrei Funktion und lange Lebensdauer. Die Garantie gilt nicht für die in den Produkten verwendeten Batterien, Akkus oder Akkupacks. Die Garantiezeit beträgt 24 Monate, gerechnet vom Tage des Kaufs. Innerhalb der Garantiezeit werden alle Mängel, die auf Material-oder Herstellungsehler zurückzuführen sind, kostenlos beseitigt. Der Garantieanspruch erlischt bei Eingriffen durch den Käfer oder durch Dritte. Schäden, die durch unsachgemäß Behandlung oder Bedienung, natürliche Abnutzung, durch falsches Aufstellen oder Aufbewahren, durch unsachgemäß Anschluss oder Installation sowie durch höhere Gewalt oder sonstige äußere Einflüsse entstehen, fallen nicht unter die Garantieleistung. Wir behalten uns vor, bei Reklamationen die defekten Teile auszubessern, zu ersetzen oder das Gerät auszutauschen. Ausgetauschte Teile oder ausgetauschte Geräte gehen in unser Eigentum über. Schadenersatzansprüche sind ausgeschlossen, soweit sie nicht auf Vorsatz oder grober Fährlösigkeit des Herstellers beruhen.
Sollte Ihr Gerät Dennoch einen Defekt innerhalb der Garantiezeit aufweisen, wenden Sie sichitte unter Vorlage ihrer Kaufquittung ausschließlich an das Geschäft, in dem Sie Ihr SWITEL - Gerät gekauft haben. Alle Gewährleistungsansprüche nach diesen Bestimmungen sind ausschließlich gegenüber Ihrem Fachhändler geltend zu machen. Nach Ablauf von zwei Jahren nach Kauf und Übergabe unserer Produkte konnen Gewährleistungsrechte nicht mehr geltend gemacht werden.
These Anlage entspricht der europäischen R&TTE Richtlinie. Für die komplete Konformitätserklung nutzen Sieitte den kostenlosten Download von unserer Website www.switel.com.
Bei technischen Problemen können Sie sich an unsere Service-Hotline unter Tel. 0900 00 1675 innerhalb der Schweiz (Kosten Swisscom bei Drucklegung: CHF 2.60/min) wenden.
EinfachAnleitung