DD 95 - Luftentfeuchter DELONGHI - Kostenlose Bedienungsanleitung
Finden Sie kostenlos die Bedienungsanleitung des Geräts DD 95 DELONGHI als PDF.
Laden Sie die Anleitung für Ihr Luftentfeuchter kostenlos im PDF-Format! Finden Sie Ihr Handbuch DD 95 - DELONGHI und nehmen Sie Ihr elektronisches Gerät wieder in die Hand. Auf dieser Seite sind alle Dokumente veröffentlicht, die für die Verwendung Ihres Geräts notwendig sind. DD 95 von der Marke DELONGHI.
BEDIENUNGSANLEITUNG DD 95 DELONGHI
Bitte vor Gebrauch des Gerätes die Gebrauchsanweisung beachten. Sie erzielen dadurch optimale Ergebnisse und höchste Betriebssicherheit.
Vorwort
Dieses Apparat ist ein "Entfeuchter" der dem Raum, wo das Gerät aufgestellt wird, Feuchtigkeit entzieht. Das Gerät in kompakter Bauweise ist mit Rollen und Griffen ausgerüstet, um einen leichten Transport zu gewährleisten.
Der Einsatz des Gerätes wird für Räume mit hoher Luftfeuchtigkeit, wie Küchen, Badezimmer, Waschküchen, Tavernen, Keller usw., empfohlen.
Wissenschaftliche Untersuchungen haben erwiesen, daß bei einer relativen Feuchtigkeit von 45 bis 60% optimale Umgebungsbedingungen für unseren Körper und für die Konservierung der Gegenstände vorliegen. In den Räumlichkeiten sollen demnach genannte Bedingungen eingehalten werden.
Technische Merkmale
| Anschlußspannung | 220/240 | V (50 Hz) |
| Leistungsaufnahme | 290 | W |
| Stromaufnahme | 1,8 | A |
| Max. Feuchtgkeitsentzug in 24h | 7,5 | Liter |
| Entfeuchtete Luft | 240 | m3/h |
| Kältemittel | R22 | |
| Abtauvorrichtung | ja | |
| Feuchtingeitsfuhrer | ja | |
| Abmessungen B x H x T | 300x570x300 | mm |
| Gewicht (netto) | 21.5 | kg |
| Tank-Fassungsvermögen | 4 | Liter |
| Einsatzgrenze: | ||
| • Temperatur | 5 bis 32 | °C |
| • Relative Luftfeuchtigkeit | 30 bis 90 | % |
Standard-Betriebsbedingungen: 27^ bei 60% relative Luftfeuchigkeit
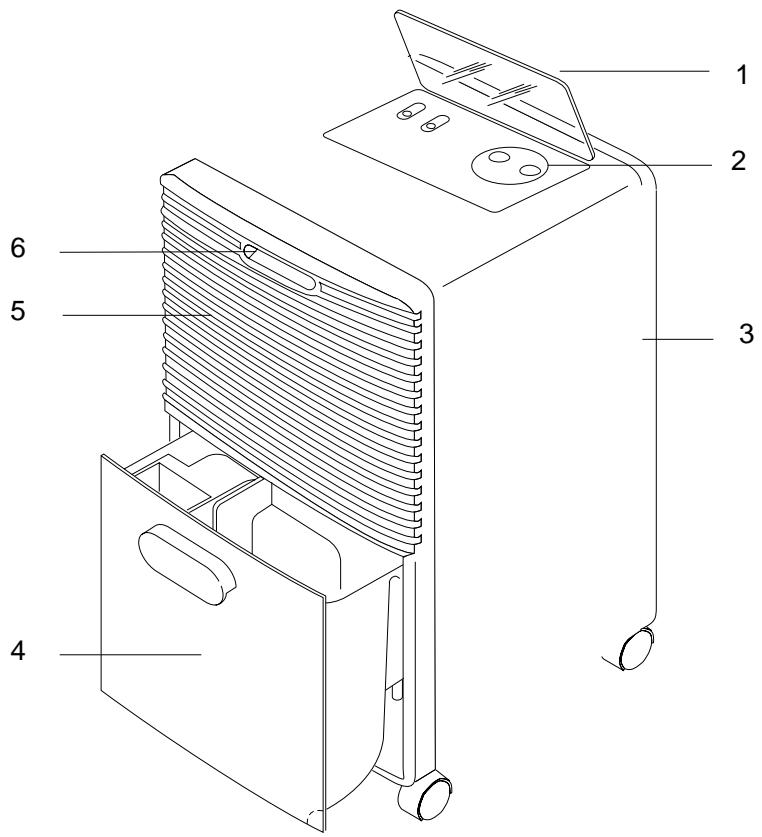
Beschreibung

- Blendendeckel
- Bedienungsblende
- Luftfilter
- Tank
- Auslaßgitter
- Hebegriff
Zubehör
| Beschreibung | Anzahl | |
| Gummistöpsel | 1 |
Anweisungen zur Aufstellung
Das Gerät im Raum, der entfeuchtet werden soll, aufstellen.
Um einen einwandfrei Betrieb, d.h. unbehinderte Luftzirkulation, zu gewährleisten, müssen mindesten 50 cm freier Raum an allen Seiten des Gerätes sein.
Der Kondenswasserabfluss kann auf zwei Arten erfolgen:
A) AbfluB in den Tank
Das Kondenswasser kann direkt im Tank, gesammelt werden (Abb. 1).
Der Tank ist zum Entleeren leicht Herausnehmbar, hat einem ergonomische Form und ist mit zwei Handgriffen ausgerüstet, wodurch der Transport und das Entleeren außerordentlich vereinfacht werden.
B) Dauerabfluß nach Außen
Muß Ihr Gerät über einen langen Zeitraum betrieben werden, ohne daß Sie die Möglichkeit haben, den Tank wiederholt zu entleeren, konnen Sie den Dauerabflüß verwenden.
Der Tank kann auf einfache Weise für den DauerabflüßVBoreitet werden:
- Auf dem Tank befindet sich eine dunnere Kante, die abgerissen werden muß, um den Schlauch durchführten zu können (Abb. 1.).
- Entfernen Sie den Gummistöpsel vom Anschlußstutzen.
- Durchbohren Sie den Anschlußstutzen mit einer)dünnen Bohrspitze.
- Führer Sie ein Schlauch 10 mm Diameter in den Anschlußstutzen ein (Abb. 2.).
- Führn Sie den Tank wieder ein (Abb. 3.).
Hinweis: Bewahren Sie den Gummistöpsel auf: Er kann sowohl zum Abdichten des Schlauches als auch zum Verschreiben des Anschlußstutzens verwendet werden, falls Sie wieder in den Tank ablassen möchten (siehe Punkt A).

Fig. 1

Fig. 2

Fig. 3

FULL Tank control system (Tank-Kontrailsystem)
Dieser Entfeuchter ist mit einer intelligenten Spezialvorrichtung ausgerüstet, die den korrekten Gerätebetrieb kontrolliert.
Eine Kontrollampe an der Bedienerblende schaltet ein, um dem Anwender folgende Situationen zu signalisieren:
- Der Tank ist voll den Tank entleeren
- Der Tank fehl Tank wieder eingetzen
- Der Tank ist nicht richtig eingesetzt richtig einsetzen
- Sie entleeren im Dauerabflüßbetrieb: der Schlauch ist verstopft oder ist nicht eben ausgelegt die Verstopfung beseitigen.
Nach Behebung der Störungsursache erlischt die Kontrollampe, und das Gerät beginnt wieder zu arbeiten.
Elektrischer Anschluß
Vor dem elektrischen Anschluß des Gerätes soll überprüft werden ob:
Die Netzspannung mit der auf dem Typenschild übereinstimmt.
- Die Steckdose und das Versorgungszeta der Strombelastung des Gerätes standhalten.
- Der Gerätestecker für die Steckdose geeignet ist; gegebenenfalls durch Fachpersonal mit einem geeigneten auswechseln halten.
Die Steckdose mit einwandfrei er Erdung ausgerüstet ist.
Bei Nichteinhaltung dieser Unfallverhütungsvorschriften kann der Hersteller nicht haftbar gemacht werden.
Dieses Gerat entspricht der EG-Richtlinie EN 55014 für Funkentstörung.
Beschreibung der Bedienungselemente

Anleitung zum Entfeuchten
1) Gerätestecker in die Steckdose stecken. Durch Aufleuchten der Kontrollampe wird angezeigt, daß das Gerät unter Spannung besteht.
2) Überprüfen, ob die Kontrollampe "Tank-Kontrailsystem" erloschen ist.
3) Feuchtgkeitsregler auf die gewUNSchte Stellung stellen.
4) Zum Ausschalten des Gerätes den Dreknopf gegen den Uhrzeigersinn auf Stellung "OFF" drehen.
Anmerkung:
Der Feuchtigkeitsgrad wird aus technischen Gründen nicht in Grades, sondern in Feuchtigkeitsstufen angegeben.
Ist der gewünschte Feuchtigkeitsgrad erreicht, den Drehknopf langsam gegen den Uhrzeigesinn drehen, bis das Gerät ausschaltet. Auf diese Weise wird eine automatische Regelung des gewährten Feuchtigkeitsgrades gewährleistet.
Wenn das Gerät in Betrieb ist, entfeucht es nicht nur den Raum, sondern heiztihn auch mit einer Leistung von 460 W.
Wartung
Vor Wartungseingriffen oder Reinigung des Gerätes, immer den Netzstecker aus der Steckdoseziehen. Aus Sicherheitsgründen, nie das Gerät mit einem direktem Wasserstrahl reinigen.
Reinigung des Gerätegehäuses
- Mit einem leicht feuchten Tuch reinigen und mit einem trockenen Tuch abwischen.
- Zur Reinigung nie Benzin, Alkohol oder Lösemittel verwenden.
- Keine Insektizide oder ähnliches auf das Gerät sprehen. Der Lack konnte abplatzen und die Plastikteile deformiert werden.
Reinigung des Luftfilters
- Der Filter sollte weniger einmal pro Woche gereinigt werden.
- Zum Herausnehmen des Filters, den Filter nach oben herausziehen (Abb. 4).
- Um den auf dem Filter abgesetzten Staub zu entfernen, einen Staubsauger verwenden.
Sollte der Filter stark verschmutzt sein, in lauwarmem Wasser reinigen und gründlich spülen.
Das Wasser sollte 40^ nicht überschreiben.
Den gereinigten Filter vor dem Einsetzen vollkommen trocknen halten.
Aufbewährung des Gerätes
- Netzstecker aus der Steckdoseziehen und den Wassertank vollkommen entleeren.
- Filter reinigen und wieder einsetzen.
- Gerät, um es vor Staub zu schützen, mit einem Plastikschutz abdecken.

Abb. 4
Sicherheitshinweise
- Dieses Gerät wurde ausschließlich als Haushaltsgerät zum Entfeuchten von Räumen im Wohnbereich entwickelt, esarf nicht zweckent fremdet verwendet werden.
- Eingriffe oder Änderungen, die die Betriebseigenschaften des Gerätes ändern, stellen eine Gefahrenquelle dar.
- Das Netzkabelarf nicht vom Verwender ausgewechselt werden; sollte es beschädigt sein bzw. ausgewechselt werden,müssen, wenden Sie sich ausschließlich an den vom Hersteller autorisierten Kundendienst.
- Eventuelle Reparaturen am Gerät dürfen nur und ausschließlich durch vom Hersteller autorisierte Kundendienst-Filialen ausgeführten werden. Es mussen immer Original-Ersatzteile montiert werden. Reparaturen, die durch einen Nichtfachmann ausgewührt werden, konnen gefährlich sein und führen zur Außerkrafttretung der Garantie.
- Dieses Gerätarf nur von Erwachsenen bedient werden, Kinder dürfen auf keinen Fall mit dem Gerät spielern.
- Das Gerätarf nur an eine einwandfrei geerdete Steckdose angeschlossen werden. Lassen Sie im Zweifelsfall ihre Haus-Stromversorgungsanlage von einem Elektriker überprüfen.
- Vor Wartungseingriffen oder Reinigung des Gerätes immer den Netzstecker aus der Steckdoseziehen.
- Zum Verstellen des Gerätes nicht direkt am Stromkabelziehen.
- Das Gerät nicht in der Höhe von Wärmequellen oder in Räumen, wo die Luft, Gas, Öl oder Schwefel enthalten konne, aufstellen.
- Keine schweren oder bereits Gegenstände auf das Gerät stellen.
- Luftfilter wichtigen einmal pro Wochereinigen.
- Das Gerät nur in vertikaler Stellung bzw. auf eine Seite gelegt, transportieren.
Vor dem Transport immer das Kondenswasser aus dem Tank entleeren.
Vor erneuter Inbetriebsetzung des Gerätes, nach dem Transport, mindestens eine Stunde abwarten.
Im Falle eventueller Betriebsstörungen
Bei einer Betriebsstörung des Gerätes, bevor Sie sich an die Kundendienst-Filiale in Ihr Raum wenden, wird empfohlen folgende Kontrollen vorzunehmen.
| Störung | Ursache | Abhilfe |
| Gerät Funktioniert nicht | ·Netzstecker ist nicht eingesteckt ·Feuchtingeitsregler auf Minimum eingestellt ·Tank voll ·Tank nicht richtig positioniert | ·Netzstecker in die Steckdose stecken ·Feuchtingeitsregler auf die gewünschte Stellung drehen ·Tank ausleeren ·Tank richtig positionieren |
| Gerät entfeuchtet nicht | ·Filter verstoptf ·Raumtemperatur bzw. Feuchtingeitsgrad zu niedrig | ·Filter reinigen ·Es ist vollkommen normal, daß das Gerät bei bestimmten Bedingungen nicht entfeuchtet (siehe Kapitel "Technische Merkmale") |
| Gerät Funktioniert, der Feuchtingeitsgrad wird nicht reduziert | ·Zuviel Feuchtingeitsquellen im Raum (kochende Töpfe) | |
| Das Gerät arbeitet nach dem Einsatzalten etwa 3 Minuten nicht. | ·Die Sicherheitsvorrichtung des Gerätes hat angesprochen | ·3 Minuten abwarten |
EinfachAnleitung