HFLE54WN - Kylskåp HOOVER - Gratis bruksanvisning och manual
Hitta enhetens manual gratis HFLE54WN HOOVER i PDF-format.
Ladda ner instruktionerna för din Kylskåp i PDF-format gratis! Hitta din manual HFLE54WN - HOOVER och ta tillbaka ditt elektroniska enhet i hand. På denna sida publiceras alla dokument som behövs för att använda din enhet. HFLE54WN av märket HOOVER.
BRUKSANVISNING HFLE54WN HOOVER
Sādan opnár man det bedste risultat:
När installasjonen av temperaturmäleren er fullfört, er det mulig.
Du kan med jevne mellomrom kontrollere at temperaturen i den kaldeste sonen er riktig.
- Sakerhetsinformation 1~9
- Översikt 10
- Dörrvändbarhet 11~12
- Montering 13~14
- Använd 15~19
Tack for att du har kochtenna produit.
Läs nogaigenom denna bruksanvisning innan du anvander kylen/frysen for att maximera prestandan. Spara all dokumentation for senare bruk erler for andra agare. Denna produkt ar endast avsedd for hushhällsbruk erller liknande anvandning som t.ex.:
- personalkoki affärer, kontor och andra arbetsmiljöer
- pá gárdar, av gäster pá hotell, motell och miljöer av bostadstyp
- pâ bed and breakfast (B&B)
- für cateringjtänster och liknande användning, inte für detailjhandel.
Denna apparat fär endast användas for Förvaring av livsmedel. All annan användning anses vara farlig och tillverkaren ansvarar inte for eventuell underlåtenhet. Det rekommenderas ocksä att du kontrollerar garantivillkoren.
SÄKERHETSINFORMATION
Läs bruks- och installationsanvisingarna noggrant! De innehäller viktig information om hur du ska installerera, använda och underhälla apparaten. Tillverkaren ansvarar inte För följder på grund av att instruktioner och varninger inte följs. Spara alla dokument För fremtida behov, eller För{nasta ägare.
- Avlagsna Förpackningen och alla transportskydd innan du ansluter apparaten till elförsörjningen. Häll allt Förpackningsmaterial och dess delar utom räckhäll För barn. Material som vikbara kartonger och plastfilm utgör kväningsrisk!
- Lat stå i minst 4 timmar innan du slär på den För att kompressoroljan ska kunna Lösas om den Transporteras horisontellt
- Kontrollera vid leveransen attprodukten inte ar skadad och att alla delar och tillbehör ar i perfekt skick
-
Skada inte kylkretsen
-
Håll ventilationsöppningarna i apparatens hölje eller i den inbyggda strukturen fria是从 hinder
- Använd aldrig vatten für att rengörakompressorn, torka den noggrant med en torrtrasa after rengöring für att Förhindra rost
Apparaten ar tung och ske hanteras av minst två personer. - Installera och nivellera apparaten på en lamplig plats med hansiyn till användning och storlek.
- Kontrollera att den elektriska informationen på typskylten überensstämmer med strömförsörjningen. Om deinte gör det, kontakta en elektriker.
Apparaten drives av en strömförsörjning på 220-240 VAC/50 Hz. Onormala spanningsvariationer kan góra att apparaten inte startar, skada temperaturkontrollen eller kompressorn eller lata konstigt under drift. Om det är sä, ska en automatisk regulator installeras. -
Endast für UK: Apparatens strömkabel ar försedd med en 3-polig jordad kontakt som passar att standarduttag med 3 poler (jordad). Klipp aldrig av eller demontera den tredje polen (jordad). Kontakten ska vara tillganglig nar apparaten ar installerad.
-
Se till att nätsladden inte ligger under apparaten medan och after att du flyttar den För att undvika att nätsladden skärs av ellerskadas. Om nätkabeln ar skadad måste den bytas ut av tillverkaren, dess servicetekniker eller liknande kvalificerad person För att undvika fara
- Installera inte apparaten på fuktiga, oljiga eller dammiga stallen och utsätt den inte für direkt solljus och vatten
- Installera inte apparaten i narheten av varmeelement aller lättantändiga material
FOR apparatuser med frysfack: luckan ske inte oppnas vid strömavbrott. Fryst mat bör inte påverkas om strömavbrottet varar färretimmar an de som anges på markningen (temperaturstegringstid). Om strömavbrottet varar langre sca maten kontrolleras och ätas omedelbart eller tillagas och sedan frysas. - Var inte orolig om apparatens lucka ar svär att öppna after att den precis har stängts. Detta beror på tryckskillnader som sedan jämnar ut sig och gör att luckan gär att öppna igen after Nägra minutes.
-
Förvara inte mediciner, medel med bakterier aller kemikalier i apparaten. Detta ar en hushållsapparat, vi rader att inte forvara material som kraver strikta temperaturer i apparaten.
-
Dra inte ut natsladden kraftigt aller vik den inte, och vidrör inte kontakten med våta händer
- Förvara inteprodukter som innehäller brandfarlig tändgas (t.ex. sprayburkar) aller explosiva ämn i apparaten. Explosionsrisk!
Forattforhindrapersonskadaorsakadavfall ellchockorsakadavkontaktmedvatten, skeinstabilaforemal(tunga objekt,behallemed vatten)inte placerasovanpakylskapet. - Använd inte elektriska apparaterinne i apparatens matforvaringsfack, om de inteär av en typ som rekommenderas av tillverkaren
- Vidrör inte de inre kylelementen, särskilt inte med våta händer, För att undvika sprickor eller skador
Barn och personer med begränsad fysik, sensorisk eller mental kapacitet, damit personer som inte har tillräcklig kunskap om apparatens drift ska hällas under uppsyn. Kontrollera att barn och utsatta personer har forstätt farorna. En person som ar sakerhetsansvarig maste overvaka eller instruera barn och utsatta personer vid användning av apparaten. Endast barn over 8år kan användaenna apparat.
Barn fär inte leka med apparaten
Barn fran tre till atta ar fär fylla på och avlågsnaprodukter fran apparaten
FOR apparatuser med frysfack: forvara inte flaskor eller burkar med vatska (gällerspeciellt kolsyrade drycker) i frysfacket. Flaskor och burkar kan spricka!
- FÖR apparater med frysfack: fryst mat fran frysfacet ska aldrig stoppas direkt i munnen. Risk För köldskada!
- Se till att plastdelar och dörrtätningar ar fria frän olja och fett. Annars blir plastdelarna och dörrtätningar porösa.
- Dra ut natsladden ur eluttaget innan du utfor nagra atgärder
- Använd inte andra mekaniska enheter aller andra medel För att paskynda avfrostningen änder som rekommenderas av tillverkaren
- Använd inte spetsiga eller skarpa objekt som t.ex. knivar eller gafflar För att ta bort frosten. Använd aldrig hårtorkar, elvärmare eller andra liknande elektriska apparater För avfrostning
- Vi rekommenderar att du häller stickkontakten ren eftersom För mycket dammrester på kontakten kan orsaka brand
Forsök inte att reparera, demontera aller modificera apparaten själv. Kontakta alltid var kundservice angående reparatoner.
Barn ske overvakas när apparaten rengörseller underhälls.
-
Rengör inte de kalla glashyllorna med hett vatten. Plötslaga temperaturfürändringar kan góra att glaset spricker.
-
VARNING: Kylkretsens rör Transporterar ett miljövänligt men brandfarligt köldmedium (R600a) och isoleringsgas (cyklopentan). Páverkar inte ozonskikitet negativt och Förstärker inte växthuseffekten. Om köldmediumkommen ut kan dina ögon skadas eller ge upphov till brand.
-
Om kylkretsen ar skadad:
-
Stänga av apparaten och dra ut nätkontakten
- Håll borta fria lagor och/eller
antändningskällor frän apparaten - Ventilera ordentligt rummet i flera minuter
-
Kontakta kundservice.
-
WARNING: Skadainte kontakten och/eller elkabeln. Detta kan ge upphov till elstötar eller bränder.
- VARNING: Använd inte flera bärbara uttag eller bärbara strömförsörjningsaggregat. Vi rädert till att inte använda fängningsssladdar och flervägsadaptrar.
- Stå eller sitt inte ovanpå apparaten. Du kan skada dig eller sökan apparaten gå sönder.
Apparaten ar inte konstruerad for att staplas med andra.
- Produktten ar endast avsedd och tillverkad for hemmabruk
- Endast originalreservdeler levererade av tillverkaren ske anvandas. Tillverkaren kan endast garantera att dessa delar uppyller sakerhetskraven.
- Om dörren hälls öppen en langre tid kan det leda till en omfattande temperaturökning i apparatens olika fack
Gör noggrant rent ytorna som kan komma i kontakt med mat och tillganglia dräneringssystem
Gör rent vattentankar om de inte har använts under två dygn. Spola vattensystemet som ar anslutet till en vattenförsörjning om vattnet inte har dragits under fem dagar - Förvara rätt köttt och fisk i lampliga behällare i kylen sä att det intekommen ikontakt med aller droppar på annan mat
- Tvåstjärninga frysfack (i förekommende fall) är lämpliga För Förvaring av förfryst mat, forvaring eller För att göra glass och isbitar
-
En-, två- och trestjärniga fack (i förekommende fall)år inte lämpliga for djupfrysning av färsk mat
-
Om apparaten lämnas tom under langre perioder ska den stängas av, avfrostas, rengöras, torkas och lämna dörren öppen für att Förhindra mögelbildning i apparaten
- För vinkylskåp: Denna apparat År avsedd att uteslutande användas for Förvaring av vin
- För fristende kyl-/frysprodukter: Denna kyl-/frysprodukt ar inte avsedd att anvandas som en inbyggd produit
- Förprodukterutan nagogot fyrstjärnigt fac: Denna kyl-/frysprodukt ar inte lamplig for infrysning av livsmedel.
Denna apparat ar märkt enligt EU-direktivet 2012/19 /EU om avfall som utgörs av ell er innehäller elektrisk och elektronisk utrustning (WEEE).
WEEE innehäller bäde Förorenande ämnen (vilket kan ha negativa konsekvenser for miljön) och grundläggande komponenter (som kan Återanvändas). Det ar viktigt att WEEE behandlas på att spezialt satt for att avlagsna och kassera alla Föroreningar på rätt satt och Återvinna och Återanvända allt material.
Individer kan spel aen viktig roll for att se till att WEE inte blir en miljofraga. Det ar viktigt att folja nagra grundlaggande regler:
- WEEE ska inte behandlas som hushållsavfall.
- WEEE böverlämnas till relevanta insamlingsställen som forvaltas av kommunen erer av registrarade foretag. I manga lander kan hamtning i hemmet for stora WEEE finnas tillgangligt.
I漫画a lander kan du nár du köper en ny apparat Återlamna den gamla till Återförsäljaren som måste hamta den kostnadsfritt, sö länge utrustningen ar av en liknande typ och har sama Funktion som den nya utrustningen.
Överensstämmlse
C
Genom att satta varumarket på denna produit bekräfarvi overensstammelse med alla relevanta europeiska sakerhets-, halso- och miljokrav som ar tillampliga inom lagstiftningen for denna produit.
Garanti
Minsta garanti ar: 2 ar for EU-länder, 3 ar for Turkiet, 1 ar for Storbritannien, 1 ar for Ryssland, 3 ar for Sverige, 2 ar for Serbien, 5 ar for Norge, 1 ar for Marocko, 6 manader for Algeriet, Tunisien kravs ingen juridisk garanti.
Energibesparing
För bättre energibesparing foreslár vi:
- Installerar apparaten bort fran värmekällor och inte utsätter den För direkt solljus och placerar den iett välventilerat rum.
- Undvik att satta in varm mat i kylskapet for att undvika att öka innertemperaturen och)därigenom orsaka att kompressorn fungerar kontinuierligt.
- Inte lagger in for mycket mat for att sakerstalla korrekt luftcirkulation.
Frosta av apparaten om det uppstar is for att underlatta overforingen av kyla. - Vid elavbrott ar det lampligt att halla kylskapsdörren stängd.
- Oppnar eller haller dorren på apparaten öppen sö lite som möjlicht.
- Undvik att justera temperaturinstallingen till for kallt.
- Ta bort damm på baksidan av apparaten.

Denna illustration ar endast for antydan, detaljerna, kontrollera din apparat.
Den mest energibesparande konfigurationen kraver att lador, matlador och hyllor placeras i Produkten, se ovanstaeende bilderr.
Dorrvändbarhet
Verktyg som kravs: korsskruvmejsel, platt skruvmejsel, sexkantsnyckel.
- Kontrollera att encheten ar frankopplad fran strömförsörningen och tom.
- För att ta av dörren ar det nödvändigt att luta encheten bakat. Du bör luta encheten på nagot fast sa att den inte glider under dörrens omvändning.
- Alla delar som tas bort maste sparas till dörrens oinstallation.
- Placera inte encheten plant aftersom det kan skada kylsystemet.
-
Vi rekommenderar att 2 personer hanterar encheten under montering.
-
Ta bort två skruvar på baksidan av övre locket.
-
Ta bort övre locket och lagg det at sidan.
-
Skruva loss övre gangjärn och ta sedan bort dörren och placera den på en mjuk dyna für att undvika repor.
-
Skruva loss det nedre gängjärnet på frysens dorr. Ta sedan bort dörren och placera den på en mjuk dyna for att undvika repor.




Dorrvändbarhet
- Skruva loss och ta bort den nedre gängjärnstappen, vänd konsolen upp och ned och byt ut den.

- Satt tillbaka konsolen som fester den nedre gängjärnstappen. Byt ut de bada justerbara fötterna.

- Satt tillbaka dörren. Se till att dörren ar riktad horisontellt och vertikalt, sä att tatningarna ar stängda på alla sidor innan det övre gangjärnet slutigen dras Åt.

- Satt dit det övre locket och fäst det med 2 skruvar på baksidan.

- Lossa packningarna for kyl- och frysdorren och fasp dem sedan after rotation.

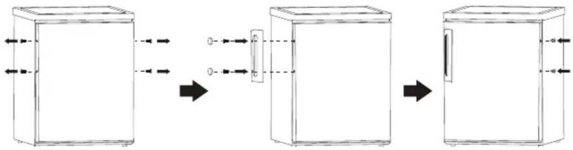
Montering
Montera externt dorrhandtag (om ett externt handtag finns)

Utrymmeskrav
- Se till att det finns utrymme att öppna dörren.


| A | 550 |
| B | 580 |
| C | 850 |
| D | min=① |
| E | min=50 |
| F | min=50 |
| G | 1100 |
| H | 1130 |
Nivåjustering
Justera entens niva genom att justera de tva framre nivafotterna.
Om erhhen inte star jamtkommen dorrama och de magnetiska tätningarna inte tacka ordentlich.


Observera: Bilderna ovan ar endast menade som referens.
Montering
Placering
Montera apparaten pa en plats dar den omgivande temperaturen stammer overens med den markta klimatklassningen pa apparatens markplat:
—Utokad tempererad (SN): Texten "Denna kyl-/frysprodukt ar avsedd att anvandas vid omgivningstemperaturer mellan 10^ och 32^ .
Tempererad (N): Texten "Denna kyl-/frysprodukt ar avsedd att anvandas vid omgivningstemperaturer mellan 16°C och 32°C."
—Subtropisk (ST): Texten "Denna kyl-/frysprodukt ar avsedd att användas vid omgivningstemperaturer mellan 16 °C och 38 °C."
Tropisk (T): Texten "Denna kyl-/frysprodukt ar avsedd att anvandas vid omgivningstemperaturer mellan 16^ och 43^ ."
Plats
Apparaten bör monteras pa ordentigt avstand fran värmekällor som element, värmpannor, direkt solljus och liknande. Se till att luft kan cirkulera fritt bakom skapet. For basta prestanda nar apparaten star under en overhangande väggenhet behovs ett minsta avstand pa 100 mm mellan overdelen av skapet och väggenheten. Allra helst sca apparaten inte stallas under overhangande väggenheter. En jämn niva garanteras med justerbara fötter vid skapets bas.

Varning! Det maste vara mojigt att koppla bort apparaten fran elnatet och darrfor maste naktakten alltid enkelt kunna nas after monteringen.
Elektriska
ansluttingar
Innan apparaten kopplas in maste du se till att spanningen och frekvensen som anges pa apparatens markplat stammer med elnatet. Apparaten maste jordas. Kontakten for natsladdenkommen med en sarskild kontakt for detta andamal. Om natuttaget inte ar jordat ansluter du apparaten till separat jord enligt gallande lagstiftning och i samrad med en kvalificerad elektriker.
Tillverkaren avsager sig allt ansvar om forsfigtighetsatgarderna ovan inte vidtas. Apparaten overensstämmer med EEG-direktiven.
Använd
Första användningen
Rengör invändigt
Fore den forsta anvandningen ske apparatens insida och alla interna tillbehor tvattas med Ijummet vatten och neutral tval och direfter torkas ordentigt for att ta bort lukten som forknippas med nyaprodukter.
Viktigt! Anvand inte diskmedel aller rengoringsmedel med slipmedel aftersom det ger skador pa ytan.
Temperaturinställning
- Anslut apparaten
- Den invändiga temperaturen regleras av en termostat. Det finns 6 installninger: 1 ar den varmaste installningen och 5 ar den kallaste installningen och 0 ar av.
- Apparaten kanske inte fungerar vid ratt temperatur om den ar installerad i ett särskilt varmt omrade aller om du öppnar dörren ofta.

Placera olika livsmedel i olika fack enligt nedanstende tabell
| Kylskåp | Typ av mat |
| Dörr eller balkonger i kylskåpet | • Livsmedel med naturliga konserveringsmedel, sössom sylt, juice, drycker, kryddor. • Förvara inte lättfördfärv Liga livsmedel |
| Crisper lådor (salladslåda) | • Frukt, örter och grönsaker ska placeras separat i skarpkärlet • Förvara inte bananer, lök, potatis, vitlök i kylen |
| Kylhylla - mitten | • M ejeriprodukter, agg |
| Kylhylla - topp | • Mat som inte behöver samlas, sössom fardigmat, delikatesser, matrester. |
Använd
| Rekommendation om temperaturinställning | ||
| Miljö Temperatur | Frysjämförelse | Färsk matfack |
| Sommar | / | Ställ in på 2-3 |
| Vanligt | / | Ställ in på 2-3 |
| Vinter | / | Ställ in på 1-2 |
Informationen ovan ger användarna rekommendation om temperaturinställning.
- Det rekommenderas att temperaturen stalls in pa 4^ i kylfacket och, om mojligt, pa -18 °C i frysfacket.
- För de fleta livsmedelskategorier uppnås langst forvaringstid i kylf Jacket vid kallare temperaturer. Eftersom vissaprodukter (som färsk frukt och färsa grönsaker) kan skadas vid kallare temperaturer, reckommenderas det att de forvaras i grönsaksfack, i forekommande fall. Om de inte finns, hall en medelinställning av termostaten.
- För fryst mat, se den forvaringstid som anges på matforpackningen. Denna forvaringstid uppnås nar inställningen respekterar jackets referenstemperaturer (1-stjärnig -6 °C, 2-stjärnig -12 °C, 3-stjärnig -18 °C).
Använd
Tillbehör
Flyttbara hyllor
Kylskapets vaggar ar forsedda med en serie glidskenor sa att hyllorna kan placeras som du vill.
Placera dorrbalkongerna
For att kunna forvara livsmedelsforpackninger av olica storlekar kan dorrbalkongerna placeras pa olica hojder.
For att gora dessa justeringar, gor sa har: dra gradvis balkongen i pilens riktning tills den frigors och satt sedan tillbaka den dar du vill ha den.
Värdefulla råd och tips
Tips om kylning av farska matvaror
Foratterhalla basta prestanda:
- Förvara inte varm mat eller avdunstande vätskor i kylskapet.
- Täck über ihrer SLå in maten, särskilt om den har en stark lukt.
Kott (alla typer) sklindas in i polyetenpasar och sedan laggas pa glashylorna ovanfor gronsakslaadan. - För sakerhet, forvara på detta satt högst en eller två dagar.
- Kokt mat, kalla ratter osv.: dessa bör täckas och kan placeras på en hylla.
- Frukt och grönsaker skarengöras noga och placeras i de speciella lådorna.
- Smör och ost: dessa bör placeras i särskilda lufttata behällare aller forpackas i aluminiumfolie eller polyetenpäsar for att avlågsna sö mycket luft som möjlicht.
- Oljeflska: dessa ska haett lock och forvaras pa balkongerna pa dorren.
- Bananer, potatis, lik och vittlok fär inte forvaras i kylen om de inte ar Förpackade.
Rengöring
Apparatinteriören och alla interna tillbehör skare rengöras regelbundet av hygieniska skä.

Varning! Apparaten fär inte vara ansluten till elnätet under rengöringen. Fara for elektriska stötar! Innan rengöringen stänger du av apparaten och drar ut kontakten ur natuttaget, ell er sa kan du stänga av ell erdra ut kretsbrytaren ell säkringen. Rengör aldrig apparaten med Ångtvatt. Fukten kan samlas i de elektriska componenterna och leda till elstölar! Het ánga kan öcksä skada plastdelarna. Apparaten maste vara helt torr innan den tas i bruk igen.
Viktigt!
Plastdelama kan skadas av eteriska oljor och organiska losningsmedel som citronjuice eller juice fran apelsinskal, smorsry erer rengoringsmedel med attiksyra.
Lat inte den har typen av amnen komma kontakt med apparatens oika delar.
Anvand inte rengoringsmedel med slipmedel.
Ta ut matvarorna frän frysen. Forvara dem val tackta pa en sval plats.
Stang av apparaten och drar ut kontakten ur natttaget, ellr sa kan du stanga av ellr dra ut kretsbrytaren ellr sakringen.
Rengor apparaten och de interna tillbehoren med en trasa och Ijummet vatten. Skoj med rent vatten och gnugga torrt.
När damm samlas i kondensorn ökar energiförbrukningen. Därför bör du rengöra kondensorn bakpä apparaten en gäng om Året
med en mjuk borste eller dammsugare.
När apparaten och tillbehören ar torra kan apparaten tas i bruk.
TILLGÄNGLIGHET AV RESERVDELAR
Termostater, temperatursensorer, kretskort och ljuskallor, under minst sju ar after det att den sista modellen av modellen slappts ut pa marknaden.
Dorrhandtag, dorrgangjärn, brickor och korgar under minst sju ár och dorrpackningar under minst 10 ár after att den sista modellen av modellen har släppts ut på marknaden.

Använd
Felsökning

Varning!
Innan du gör en felsökning ske du koppla bort strommen. Endast kvalificerade elektriker aller kompetent personal fär gora sādan felsökning som inte namns i den har bruksanvisingen
Viktigt! Man kan hora ljud vid normal anvandning (kompressorn, kylmediecirkulationen).
| Problem | Möjlig orsak | Lösning |
| Apparaten fungerar inte. | Nätkontakten är inte isatt eller sitter lõst eller särprodukten avständig. | Sätt i nätkontakten i uttaget och starta apparaten. |
| Säkringen har gätt eller är felaktig. | Kontrollera säkringen och byt ut om niedvändigt | |
| Uttaget är felaktigt. | Problem i elnätet ská átgårdas av en elektriker. | |
| Temperaturregleringsknappen Är installd på "0" | Ställ vredet på att annat nummer für att slå på apparaten. | |
| Matvaroma är inte tillräckligt frysta. | Temperaten är inte korrekt installd. | Se delen "Ställa in temperature". |
| Dörren var öppen under en hönge tid. | Öppna bara dörren på hönge det behövs. | |
| En större mängd varma matvaror lades i apparaten under de senaste 24 timmarna. | Ställ in en kallare temperatur en kort period. | |
| Apparaten stär:nära en värmekälla. | Se delen om placering. | |
| Apparaten kyler För mycket | Temperaten är installd för kall. | Vrid temperaturregleringsknappen till en varmare installlning. |
| Ovanliga ljud. | Apparaten stär inte jämnt. | Justera om fötterna. |
| Apparaten rör vid vöggen eller andra foremål. | Flytta apparaten en aning. | |
| Nágon av apparatenskomponenter, exemplelvis ett rör,rör vid en annan del av apparatenEller vidvä | Om det behövs kan componenten försiktigt böjas ur vägen. | |
| Vatten på golvet | ggen.Vattenavloppshålet är igensatt. | Se avsnittet Rengöring. |
| Sidopanelen är varm | Kondensorn är inuti panelen. | Detta är normalt. |
Om felet uppstár igen ber vi dig kontakta vart servicecentrum.
Vi behöver dessa uppgifter for att kunna ge dig snabb och korrekt hjälp. Skriv ner uppgifterna här och hänvisa till markplaten.
For att kontakta teknik assistans, besök var webbplats: https://corporate.haier-europe.com/en/. Under avsnittet "webbplats" valjer du produits varumärke och ditt land. Du kommt att omdirigeras till den specifika webbplatsen där du hittar Telefonnummer och formulär for att kontakta teknik assistans
Mer information om Produkten finns på https://eprel.ec.europa.eu/ller skannar QR på energimarket som medfoljer apparaten.
Kallaste Zonen I Kylskåpet
Denna symbol nedan anger platsen for den kallaste zonen i ditt kylskap. Denna zon avgransas nara flakten och högst upp av symbolen eller av hyllan placerad på samma Höjd.

For att bibehalla temperaturen ienna zon, var forsiktig sa att du inte flyttar detta rutnät. INSTALLERA TEMPERATURMATAREN
For att hjälpa dig att ställa in ditt kylskap korrekt har det en temperaturindikator som gör att du kanr att
övervaka medeltemperaturen i den kallaste zone.n.VARNING: Denna annons ar endastdesignad for använding med kylskapet. Var noga med att inte anzenda den i ett annat kylskap (den kallaste zone ar faktiskt inte densamma) aller for annan
använding. Temperaturkontroll i den kallaste zoneNär installationen av temperaturmätaren ar klär ar det möjlig.Du kan med jämna mellanrum kontrollera att temperaturen i den kallaste zone när korrekt.Justera vid behov termostaten)därefter. Kylskapets inre temperatur paverkas av flera faktorer sasom: B. omgivningstemperaturen i rummet, mangden mat som forvaras och hur ota dörren öppnas. Tänk på dessa faktorer när du ställer in temperaturen.Se till att forvara maten ordentligt i kylen och speciellt i det kallaste området.Se till att temperaturdisplayen visar "OK"


Om "OK" inte visas ar zontemperaturen for hog. Stall termostaten i ett högre lage. Vänta minst 12 timmar innan du Återställer termostaten. Efter att ha fyllt på färsk mat i apparaten erler after att ha öppnat luckan igen (eller under en langre tid) ar det normalt att "OK"-indikatorn inte visas på temperaturdisplayen.

Ljuskällan (lysdiod endast) ar utbytbar endast av elektriker.
Denna produit ar utrustad med en Ijuskalla med energieffektivitet enligt klass G.
Notice-Facile