S72 - Öppen spis Jøtul - Gratis bruksanvisning och manual
Hitta enhetens manual gratis S72 Jøtul i PDF-format.
Användarfrågor om S72 Jøtul
0 fråga om denna apparat. Svara på dem du kan eller ställ din egen.
Ställ en ny fråga om denna apparat
Ladda ner instruktionerna för din Öppen spis i PDF-format gratis! Hitta din manual S72 - Jøtul och ta tillbaka ditt elektroniska enhet i hand. På denna sida publiceras alla dokument som behövs för att använda din enhet. S72 av märket Jøtul.
BRUKSANVISNING S72 Jøtul
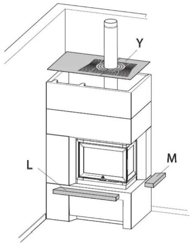
Gulvplate i glass foran Produktet
Kat. nr. 50047338 (NO/SE)
Inn Hollsforteckning
1.0 Kontroll och lagstiftning 19
2.0 Tekniska data 19
3.0 Sakerhetsanvisiningar 19
4.0 Installation 20
5.0 After montering 29
6.0 Tillval 29
7.0 Atervinning 29
8.0 Reklamationsratt. 30
1.0 Kontroll och lagstiftning
Omramningen ar anpassad till Jotul I 520 FR/FL
- Omramningarna S71 och S71 ar avsedda for insatserna Jotul I520 FR och Jotul I520 FL (med de uppstellningsvillkor som galler for respektive insats). I 520-serien har produktdokumentation for luftfororening och brandsakerhet utfardad av Norges Branntekniske Laboratorium med registraringsnummer SINTEF 041-119.
- Installationen mäste kontrolleras av behörig kontrollant innan kaminen tas i bruk. Behörig kontrollant kan varaett centralt godkänf foretag aller godkänd kommunal kontrollmyndighet. Du bör alltid kontakta det lokala sotningsväsendet och en fackman für att fä nödvändiga uppliesninger innan du pâborjar installationen.
- Monterings- och bruksanvisingen medfoljer insatsen. Innan installationen tas i bruk ska deninspectekteras och godkannas. Se monterings- och bruksanvising for Jotul 1520 (art.nr 10044945) for information om daglig anvandning, underhäll, service m.m.
2.0 Tekniska data
Se matti bild. 2
Min. avstand mellan varmluftssoppning
och tak: 700 mm.
1700
mm
685mm
Tillval:
Eldstadsplan
Friskluftsanslutning
Bottenplatta
varmelagrande sten
3.0 Sakerhetsanvisningar
OBS! För att garantera optimal Funktion och sakerhet rekommenderar Jotul att installationen utförs av en kvalifi cerad montör (en komplett lista über äterförsäljare fi nns på www.jotul.com).
Eventuella andringar pā Produkten som utförs av Āterförsäljare, montör ell er användare kan leda till att Produkten och sakerhetsfunktionerna inte fungerar korrekt. Detsamma gäller vid montering av tillbehör ell er tillval som inte har levererats av Jotul eller när delar som ar nödvändiga für kaminens Funktion och sakerhet har demonterats ell avlågsnats.
I alla dessa fall friskriver sig tillverkaren allt ansvar och reklamationsratten upphor att galla.
SVENSKA
3.1 Brandskyddsåtgärder
All använding av kaminen kan innebära fara. Observeradarfro nedanstäende anvisningar:
- Minsta tillatna sakerhetsavstand vid installation och anvandning av kaminerna fi nns i bild 2 installationshandboken forprodukten.
- Kontrollera att mobler och annat brännbart material intekommen for nara kaminen. Minsta avstand fran kaminens öppning till brännbart material ar 1000 mm.
Lat elden brinna ut. Slack aldrig med vatten. - Kaminen blir varm när du eldar i den och du kan fã brännskador om du rör vid den.
- Tom ur askan Först nar kaminen ar kall. Aska kan innehälla glöd och bör Förvaras i en iced brannbar behällare.
- Askan ska placeras på lamplig plats utomhus eller tommas)där den inte kan orsaka brand.
Vid brand i skorsten.
- Stäng alla luckor och ventiler.
Stang kaminens lucka. - Kontrollera om det forekommmer rökutveckling på vind och i källare.
Ring brandforsvaret. - After brand eller antydan till brand ska kamin och skorsten kontrolleras och godkannas av fackman.
3.2 Golv
Fundament
Fundamentet maste vara dimensionerat for kaminen (se anvisningar i 2.0 Tekniska data).
Vi rekommenderar att du tar bort golv som inte ar forankrat i det barande underlaget -s.k. il ytande golv -under kaminen.
Erforderlicht skydd av tragolv under kaminen
Omprodukten skaplaceras direkt pà trägolv maste bottenplatta (art.nr 10047361) anvandas (tillval).
Erforderligt skydd av brännbart golv framfor kaminen
Golvplaten maste uppfylla kraven enligt gallande nationella lagar och foreskrifter.
Vid osakerhet gallande lag- och sakerhetskrav, kontakta skorstensfejarmastaren ell er byggnadsmyndigheten.
For Norge: Min. 300 mm framfor och pa sidorna av kaminoppingen med minst somma bredd som oppingen.
3.3 Vagg
Kaminen ar tillaten for anvandning med halvisolerat rokror forutsatt att de avstand till vagg av brannbart material som visas i bild 2 upprathalls.
OBS! Kontrollera att mobler och annat brannbart material intekommenfornara kaminen.Minstaavstand fran kaminensoppningtillbrannbartmaterialar 1000mm
3.4 Tak
Avstand mellan kaminen och brannbart tak sca vara minst 700~mm (det betyder att takhojden inte fár understiga 2 400 mm).
4.0 Installation
OBS! Kontrollera att kaminen ar fri fran skador innan installationen paborjas.
OBS! Produkten ar tung! Anlita hjälp vid uppställning och montering.
OBS! Läs monterings- och bruksanvising for Jøtul I 520 (art. nr 10044945) och for Jøtul FS 71/72 (art.nr 10047331) noga fore montering av kaminen!
Tata alla skarvar med medfoljande akrylmassa.
Montera därefter stalskorstenen entwickel braksanvisningen.
- Kaminen kan anslutas till skorsten och rökrör som ar godkända für kaminer für fasta brändsen med rökgastemperatur 305^ .
- Skorstenens tvarsnitt maste vara minst like stort som rokrorets tvarsnitt (Ø 150 mm).
- Fleraprodukter für fast brände kan anslutas till samma skorstenspipa om skorstenstvärsnittel ar tillräcklig. Se 2.0 Tekniska data"
Rekommenderat skorstensdrag, se 2.0 Tekniska data. Vid for stort drag ar det mögigt att installera ett rökrösspjäll sa att draget kan regleras.
4.1 Före installation
Basprodukten levereras i ett kolli med betongelement. Insats (Jotul I520) och benstativ tillkommen.
OBS! Kontrollera vid uppackning att Produkten inte har synligas skador.
OBS! Kontrolera att korrekt insats används für validomramning.
Förberedelseer
Före installationen mäste foljande fastställas:
- Var rokuttaget sca placeras.
Eventuell anvandning och placering av friskluftsanslutting.
Se separata bra克斯anvisningar for montering av delarna.
Rokuttag
- S71/S72 ar avsedda for installation med topputtag aller vagguttag.
- Folj anvisningar i monterings- och bruksanvisning for Jotul I 520 FR (art.nr 30044745 for S71) aller Jotul I 520 FL (art. nr 30044744 for S72).
2. Skorsten med balanserat drag
VIKTIGT!
Använd f1 exibel slang mellan startmodulen och insatsen vid montering av skorsten med balanserat drag. Det ar viktigt att den f1 exibla slangen dras pa sidan av insatsen.
Den fär inte dras på insatsens baksida (dà blockerar den luftgenomströmningen).
S71
G 1 stk (Art.nr 50047222)
S71FR

Fig.1a
D 1 stk (Art.nr 50047219)
(S 71 FR)

B1 stk (Art.nr 50046271)

C 1 stk (Art.nr 50047224)

E 1 stk (Art.nr 50047221)

F 1 stk (Art.nr 50047220)

H1 stk (Art.nr 50047219)

L 1 stk (Art.nr 10047235)

M 1 stk (Art.nr 10047236)

S 2 stk (Art.nr 10047330)

T 2 stk (Art.nr 10047329)

U 5 stk (Art.nr 10047332)

W 2 stk (Art.nr 10047328)

SVENSKA
S71
Y 1 stk (Art.nr 10047333)

Fig.1b
ZA 22 stk (Gipsskrue PH2)

ZB 22 stk (Art.nr 10023662)

ZC 8 stk (Gipsskrue 39x25)

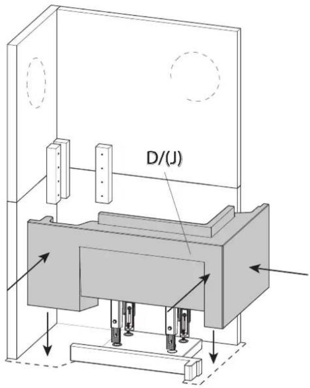
S72
11stk (Art.nr 50047348)
(S 72 FL)

J 1 stk (Art.nr 50047347)
(S 72 FL)

Bild.3

- Använd bottenplatta (art.nr 10047361) (tillval) vid installation på brännbart golv.

Bild.5
Bild.4

OBS! Spegelvänd platarna (T) om det ar Jotul S72 (för Jotul I520FL) som ska monteras

Bild 6
SVENSKA

Bild.7

Bild.9

Bild.8

Bild.10

Bild.11

Bild.13

Bild.12

Bild.14

Bild.14-b
SVENSKA

Bild.15

Bild.16-b

Bild.16

Bild.17

Bild.18
Justera insatsens hójd med ställskruvarna (se bild 26 i monterings- och bruksanvisning for Jotul I 520).
5.0 After montering
Se Installationsmanual med tekniska data for Jotul I 520 (art.nr 10044945) fore anvandning och underhall av Produkten.
OBS! Vid leverans kan det fi nnas sma sprickor omramningens grundlack. Dessa sprickor paverkar inte Produkten eigenskaper (de tatas nar omramningen malas after montering).
5.1 Målning
Målning kan utforas dagen after montering. Använd vattenbaserad farg. Om du vill fä struktur i ytan blandar du lite kakelbruk i färgen.
5.2 Småskador
När kaminen ar monterad bör du spackla eventuella skador aller ojämmheter i betongen. Medfoljande cementspackel kan användas till detta.
For att upnpà basta möjiga résultat bór du gá over omramningen med fi nt sandpapper och putsa eventuella ojämmheter och skarpa kanter innan du málar den.
- Mälā sedan en gäng.
- Blanda pulvret (cementspacket) med vatten till en smidig massa (som tandkram).
- Spackla ojamnheter - lát torka och putsa med ett fi n't sandpapper.
- Om skadan ar djup rekommenderar vi att du spacklar i två omgangar for att undvika att spacket sjunker.
- Mäläigen iönskad farg.
5.3 Sprickor
After nagra manaders anvandning kan det i vissa fall uppsta smasprickor i skarvarna pa grund av sattninger i huset (dessa sprickor kan enkelt repareras).
- Oppna sprickan med ett verktyg, t.ex. en skruvmejsel, for att ge mer plats for fogmassan.
- Dammsug Först bort allt damm. Spruta därefter in akrylfogmassa och jämna ut den med fingertopp som doppats i sāpvatten.
- Efter ett par dygn kan du mala over fogen.
6.0 Tillval
Eldstadsplan i stål framforprodukten
Articlenummer: 51047337 (NO/SE)
ArticleNumber: 51046304 (DE)
Eldstadsplan i glas framforprodukten
Articlenummer: 50047338 (NO/SE)
Artikelnummer: 50047517 (DE)
Friskluftsanslutting
ArticleNumber: 51047509
Bottenplatta
Artikelnummer: 10047361
Varmelagrande sten
Articlenummer: 10026701
7.0 Återvinning
- Pall av tra som kan delas upp och brannas i kaminen.
- Emballage av papp som skalämnas till atervinning.
- Pásar av plast som ská lámnas till Ātervinnin.
- Metall som skä lämnas till atervinning.
- Glas som ska hanteras som specialavfall. Glaset i kaminen fär inte lämnas till vanlig källsortering.
- Eldstadsbekladnad av vermikulit som kan kastas i det vanliga restavfallet.
SVENSKA
Jotul AS lamnar 10 árs reklamationsratt pa utvändigt glutjärnsgods med avseende pa material- och tillverkningsfel after forstagangsskop/-installation. Reklamationsrätten forutsätter att kaminen har monterats enligt gällande lagar och regler samt enligt Jotuls monterings- och bruksanvising.
Reklamationsrätten tacker inte:
Montering av tillvalsdelar, for att exemplvis forbättra dragforhallanden, lufttillforsel aller andra forhallanden som ligger utanfor Jotuls kontroll. Reklamationsrätten tacker inte slitdelar som eldstadsbekladnad, rokhylla, galler, bottengaller, eldfast sten, spjäll och tättingar aftersom dessa slits med tiden. Reklamationsrätten tacker inte skador som uppstatt på grund av att du eldat med olampligt bransle som drivved, impregnerat och lackat tra, spillvirke, spanplattor etc. Eldning med olampligt virke kan lätt leda till overhettning, dvs. att kaminen blir rodglödgad, vilket kan leda till missfargning av lacken samt sprickbildning i gjutjärnet.
Reklamationsrätten tacker inte heller skador som uppstatt under transporten mellan Återförsäljare och installationsplats. Den gäller inte heller vid användning av andra delar an originaldelar.
DANSK
Indhold
Skorsten med afbalanceret aftrak VIGTIGT
Gulvplade i stål foranproduktet
Kat. nr. 51047337 (NO/SE)
Kat. nr. 51046304 (DE)
Jotul arbeter kontinuierligt for om möjligt kunna forbätra sinaprodukter, och vi forbehaller oss ratten att andra spesifi kationer, färger och tillbehörutan att meddela.
Jotul arbetar after ett kvalitetssakringssystem baserat på NS-EN ISO 9001 für utveckling, produktion och forsäljning av eldstäder.
Vár kvalitetspolitik skall ge kunderna trygghet och kvalitetsupplevelse som Jotul har/Statt for sedan foretaget startade 1853.
EnkelManual