HIFS430B - štedilnik HOOVER - Brezplačna navodila za uporabo
Brezplačno poiščite navodila za napravo HIFS430B HOOVER v formatu PDF.
| Tehnične značilnosti | Štedilnik HOOVER HIFS430B, tip: električni, konvekcijska pečica, 4 vitrokeramične kuhalne plošče. |
|---|---|
| Dimenzije | Širina: 60 cm, Višina: 85 cm, Globina: 60 cm. |
| Prostornina pečice | Prostornina: 65 litrov. |
| Moč kuhalnih plošč | Sprednja leva plošča: 2000 W, Sprednja desna plošča: 1500 W, Zadnja leva plošča: 1000 W, Zadnja desna plošča: 2000 W. |
| Funkcije pečice | Obtočno segrevanje, žar, notranja osvetlitev. |
| Uporaba | Enostavna uporaba z mehanskimi kontrolami, prikaz temperature. |
| Vzdrževanje | Enostavno čiščenje zahvaljujoč vitrokeramični površini, čiščenje pečice s pirolizo. |
| Varnost | Otroška varnostna zaščita, zaščita pred pregrevanjem. |
| Poraba energije | Energetski razred: A. |
| Splošne informacije | Barva: črna, teža: 50 kg, garancija: 2 leti. |
Pogosto zastavljena vprašanja - HIFS430B HOOVER
Vprašanja uporabnikov o HIFS430B HOOVER
0 vprašanje o tej napravi. Odgovorite na tiste, ki jih poznate, ali zastavite svoje.
Zastavite novo vprašanje o tej napravi
Prenesite navodila za vaš štedilnik v formatu PDF brezplačno! Poiščite svoja navodila HIFS430B - HOOVER in vzemite svojo elektronsko napravo nazaj v roke. Na tej strani so objavljeni vsi dokumenti, potrebni za uporabo vaše naprave. HIFS430B znamke HOOVER.
NAVODILA ZA UPORABO HIFS430B HOOVER
Indukcijska kuhalna plošča
Navodila za uporabo ____ SI
Piani cottura
Nebezpečenstvo porezania
Vaša varnost je zelo pomembna, zato vas prosimo, da pred uporabo vaše nove kuhalne plošče pozorno preberete ta navodila.
Instalacija
Tveganje za električni udar
- Pred kakršnimi koli posegi ali vzdrževalnimi deli izključite aparat iz električnega omrežja.
- Aparat mora biti priključen na pravilno ozemljeno električno omrežje; to je ključnega pomena za varnost.
- Če so potrebne spremembe na hišnem električnem omrežju, jih mora opraviti ustrezno usposobljen električar.
- Neupoštevanje the navodil lahko povzroči elektirčni udar in v skrajnih primerih celo smrt.
Nevarnost poškodb
- Bodite previdni – robovi plošč so ostri!
- Zaradi neprevidnega ravnanja bi se lahko poškodovali ali urezali.
Pomembna navodila za varno uporabo
- Pred vgradnjo in uporabo tega apparata pozorno preberite ta navodila.
- Na kuhalno ploščo nikoli ne odlagajte vnetljivih snovi ali predmetov.
- Poskrbite, da bo imela oseba, ki bo aparat vgradila, na voljo tudi ta navodila; tako boste morda tudi zmanjšali strošek za vgradnjo.
- Kuhalna plošča mora biti inštalirana skladno s temi navodili, da bi se izognili tveganju.
- Za pravilno priključitev aparata in ozemljitev mora poskrbeti ustrezno usposobljena oseba.
- Aparat mora biti priključen na tokokrog s prekinjalom, ki omogoča, da ga izklopite iz električnega omrežja.
- Garancija ne pokriva škode ali poškodb ter zahtevkov po povrnitvi škode v primeru neupoštevanja teh navodil pri priključitvi na električno omrežje.
Delovanje in vzdrževanje
Nevarnost električnega udara
- Kuhalne plošče ne uporabljajte, će je njena površina počena ali poškodovana. Če se površina kuhalne plošče zlomi ali poči, takoj izklopite kuhalno ploščo iz električnega omrežja (s pomočjo stikala na zidu) in se obrnite na najbližji pooblaščeni servis.
- Pred čiščenjem in vzdrževalnimi deli izklopite kuhalno ploščo iz električnega omrežja.
- Neupoštevanje teh navodil bi lahko povzročilo električni udar in usodne poškodbe.
Tveganje za zdravje
- Ta apparat je izdelan skladno z varnostnimi predpisi o elektromagnetnem sevanju.
- Kljub temu pa osebam s srčnimi spodbujevalniki ali drugimi električnimi implantati (npr. inzulinske črpalke) svetujemo, da se pred uporabo tega aparata posvetujejo z zdravnikom ali proizvajalcem implantata in se tako prepričajo, da elektromagnetno polje ne bo vplivalo na delovanje implantata.
- Neupoštevanja tega nasveta bi lahko pozvročilo smrt.
Tveganje zaradi vroče površine
- Med uporabo se deli kuhalne plošče zelo segrejejo in bi lahko povzročili opekline.
- Pazite, da se s telesom, oblačilom ali drugim predmetom – z izjemo posode, v kateri kuhate – ne dotaknete indukcijske kuhalne površine, dokler se ta ne ohladi.
- Pazite: magnetni kovinski predmeti, ki jih morebiti nosite, bi se lahko v bližini kuhalne plošče segreli. To ne velja za zlat ali srebrn nakit!
- Otroci naj se ne približujejo kuhalni plošči.
- Ročaji posod, v katerih kuhate, se lahko segrejejo. Pazite, da ročaji ne segajo nad druga vklopljena kuhališča! Pazite, da so ročaji izven dosega
otrok!
- Če teh nasvetov ne boste upoštevali, obstaja tveganje za poškodbe; lahko bi se opekli ali poparili.
Nevarnost poškodbe s strgalom
- Strgalo za steklokeramično površino ima zelo ostro rezilo, ki je dostopno, će je varnostni pokrovček snet. Strgalo uporabljajte zelo previdno in ga po vsaki uporabi shranite na varno mesto izven dosega otrok.
- Neprevidnost bi lahko imela resne posledice.
Pomembna navodila za varno uporabo
- Med kuhanjem nikoli ne puščajte kuhalne plošče brez nadzora. Če jed prekipi ali se razlije maščoba, lahko hitro pride do vžiga.
- Kuhalne plošče nikoli ne uporabljajte kot odlagalno površino.
- Na kuhalni plošči nikoli ne puščajte nikakršnih predmetov ali posode.
- V bližino kuhalno ploščo nikoli ne odlagajte namagnetenih predmetov (npr. kreditne kartice, spominske kartice) ali elektronskih naprav (npr. računalnikov, predvajalnikov MP3), saj bi lahko elektromagnetno polje vplivalo na te predmete.
- Kuhalne plošče nikoli ne uporabljajte za ogrevanje prostora.
- Po uporabi vsakič izklopite kuhališča in kuhalno ploščo, kot je to opisano v the navodilih (npr. s pomočjo tipal). Ne zanašajte se, da bo za to poskrbela funkcija za zaznavanje posode, ko odstranite posodo s kuhalne plošče.
- Otrokom ne smete dovoliti, da se igrajo z aparatom, sedajo, stopajo ali plezajo nanj.
- V visečih omaricah nad kuhalno ploščo ne hranite za otroke zanimivih predmetov. Otroci bi se med plezanjem na kuhinjski pult lahko resno poškodovali.
- Otrok ne puščajte samih ali nenadzorovanih v bližini kuhalne plošče oz. v prostoru, kjer kuhate.
- Otroci in osebe, ki niso sposobne neodvisne uporabe kuhalne plošče, smejo to uporabljati samo pod nadzorom odgovorne in pristojne osebe, ki jih mora poučiti o pravilni uporabi, ki se mora prepričati, da so sposobni uporabljati aparat brez tveganja za lastno varnost in okolico.
- Ne popravljajte in ne menjajte posameznih delov aparata, razen će je to izrecno navedeno v teh navodilih. Vse potrebne posege prepustite ustrezno usposobljenim strokovnjakom pooblaščenega servisa.
- Ne uporabljajte parnih čistilnikov za čiščenje kuhalne plošče.
- Na kuhalno ploščo ne odlagajte težkih predmetov; pazite, da vam ti ne padejo iz rok na kuhalno ploščo.
- Ne stopajte na kuhalno ploščo.
- Za kuhanje ne uporabljajte posod z okrušenimi robovi; ne potiskajte posod po steklokeramični plošči, da je ne poškodujete.
- Pri čiščenju si ne pomagajte z gobicami iz jeklene volne ali drugimi grobimi čistilnimi pripomočki ali čistili, saj bi ti lahko opraskali steklokeramično površino.
- Poškodovan priključni električni kabel smejo zamenjati samo ustrezno usposobljeni strokovnjaki pooblaščenega servisa.
- Ta aparat je namenjen izključno uporabi v gospodinjstvih.
- Ta aparat smejo uporabljati otroci, starejši od 8 let. Osebe z zmanjšanimi fizičnimi, zaznavnimi in umskimi sposobnostmi ali s pomanjkljivimi izkušnjami in znanjem smejo uporabljati ta aparat le pod nadzorom oseb, odgovornih za njihovo varnost, ki so jim tudi razložili tveganja, ki jih uporaba prinaša. Otroke nadzirajte in poskrbite, da se ne igrajo z aparatom. Otroci smejo aparat čistiti in opravljati vzdrževalna dela le pod nadzorom odraslih.
- OPOZORILO: Med cvrenjem na olju ali masti se ne oddaljujte od kuhalne plošče, saj se lahko maščoba hitro vname. NIKOLI ne poskušajte pogasiti ognja z vodo – takoj izklopite kuhalno ploščo in nato pokrijte plamen, npr. s pokrovko ali na ogenj odporno odejo.
- Ne odlagajte na kuhalno ploščo kovinskih predmetov, npr. nožev, vilic, žlic ali pokrovk, saj bi se lahko segreli.
- Po uporabi izklopite kuhalno ploščo s pritiskom na ustrezno tipko; ne zanašaite se na funkcijo za zaznavanje posode.
- Kuhalna plošča ni namenjena upravljanju s pomočjo zunanje programske ure ali zunanjega sistema za daljinsko upravljanje.
Spoštovani kupec, hvala, da ste se odločili za nakup naše indukcijske kuhalne plošče. Prosimo, da pred uporabo kuhalne plošče pozorno preberete navodila za inštalacijo in za uporabo. Knjižico z navodili preberite v celoti, nato pa jo shranite na varno, saj jo boste morda še potrebovali.
Opis kuhalne plošče
Pogled od zgoraj

text_image
1 5 2 3 6 4 7 8- Kuhališče maks.1800/3000 W
- Kuhališče maks. 1800/3000 W
- Kuhališče maks. 1800/3000 W
- Kuhališče maks. 1800/3000 W
5-6. Prilagodljivo kuhališče 3000/4000 W - Steklokeramična plošča
- Stikalna plošča
Stikalna plošča

text_image
9:59 15 5 15 7 2 5 1 6 15 5 3 4- Drsnik za nastavljanje programske ure / moči
- Tipala za izbiranje kuhališč
- Zaklepanje
- Tipalo za vklop/izklop
- Tipalo za ohranjanje toplote
- Tipalo za segrevanje s pojačano močjo - Boost
- Tipalo programske ure
Princip delovanja indukcije
Indukcijsko kuhanje je varna, napredna, učinkovita in gospodarna tehnologija. Deluje na osnovi elektromagnetnih vibracij, ki ustvarjajo toploto neposredno v posodi in ne posredno preko segrevanja steklokeramične površine. Steklokeramika se segreje samo zaradi vroče vsebine v posodah.

Magnetni tokokrog Steklokeramična plošča
Indukcijsko navitje Inducirani tok
Pred prvo uporabo indukcijske kuhalne plošče
- Pozorno preberite ta navodila, še posebej poglavje o varnostnih opozorilih.
- Odstranite zaščitno folijo, će je vaša indukcijka kuhalna plošča z njo zaščitena.
Upravljanje s tipali
- Tipala se odzivajo na dotik, tako da vam ni treba pritiskati nanje.
- Dotaknite se tipala z blazinico prsta, ne s konico.
- Vsakič ko tipalo zazna vaš dotik, kuhalna plošča zapiska.
- Stikalna plošča naj bo vedno čista in suha, na njo ne odlagajte nikakršnih predmetov (npr. kuhalnic ali kuhinjskih krp). Tudi tanka plast vode lahko oteži upravljanje.

- Kuhajte samo v posodah, katerih dno je primerno za indukcijsko kuhanje. Prepričajte se, če je na embalaži posode ali na dnu
odtisnjen symbol za indukcijo. - Primernost posode lahko preverite tudi
s pomočjo magneta.Približajte magnet dnu posode;
če ga dno privlači, je posoda
primerna za indukcijsko kuhanje.

- Neprimerna je posoda, izdelana iz naslednjih materialov:: čisto nerjaveče jeklo, aluminij ali baker brez magnetnega dna, steklo, les, porcelan, keramika, lončena posoda.
Ne uporabljajte posode z okrušenimi robovi ali ukrivljenim dnom.

Prepričajte se, da je dno posode gladko in ravno ter se plosko prilega stekokeramiki. Premer dna mora biti enak premeru izbranega kuhališča, tj. obrisu, odtisnjenem na kuhalni plošči. Najbolj učinkovito porabo energije boste dosegli s kuhanjem v posodi, katere dno je nekoliko večje od premera izbranega kuhališča. Če uporabite posodo, katerega dno je manjše od premera kuhališča, bo učinkovitost manjša od pričakovane. Možno je, da kuhalna plošča ne bo zaznala prisotnosti posode s premerom pod 14 mm. Vedno postavite posodo na sredino kuhališča.

Pri premikanju vedno dvignite posodo, ne potiskajte je po kuhalni plošči, da ne poškodujete steklokeramične površine.

Kuhališča se do določene mere samodejno prilagajajo premeru posode. Vendar pa mora premer posode dosegati minimalno vrednost, odvisno od izbranega kuhališča. Za optimalno učinkovitost kuhalne plošče vedno postavite posodo na sredino kuhališča.
| Kuhališče | Premer dna posode, primerne za indukcijo | |
| Najmanj (mm) | Največ (mm) | |
| 1,2,3,4 | 140 | 220 |
| Priilagodljivo kuhališče | 220 | 220x400 |
Uporaba indukcijske kuhalne plošče
Kako začeti
- Dotaknite se tipala za vklop/izklop (ON/OFF) . ① Po vklopu se enkrat oglasi zvočni signal, prikaže se symbol ure, ob tipalih za izbiranje kuhališč pa ustrezni simboli
- Na izbrano kuhališče postavite ustrezno posodo • Prepričajte se, da sta tako dno posode kot tudi površina kuhališča čista in suha.
- Dotaknite se tipala za izbiranje kuhališča; Utripati začne indikator za kuhališče, ki ste ga s tipalom izbrali.

- S pomočjo drsnika nastavite želeno stopnjo moči.

text_image
POWER DOWN POWER UP- Če v roku 1 minute na nastavite stopnje moči, se indukcijska kuhalna plošča samodejno izklopi. V tem primeru začnite ponovno s 1. korakom.
- Moč segrevanja lahko prilagodite v vsakem trenutku, kadarkoli je to potrebno.
Če izmenično z nastavljeno stopnjo utripa simbol

Ta simbol opozarja
- da niste postavili posode na pravo kuhališče, ali
- ste izbrali posodo, ki ni primerna za indukcijsko kuhanje, ali
- je posoda premajhna, ali je niste postavili točno na sredino kuhališča.
Dokler na kuhališče ne postavite posode, se segrevanje ne začne.
V tem primeru se po 1 minuti prikazovalnik samodejno izklopi.
Po koncu kuhanja
- Dotaknite se tipala za izbiranje kuhališč za kuhališče, ki ga želite izklopiti.

text_image
15 0- Izklopite kuhališče s pomočjo drsnega stikala (proti levi). Prepričajte se, da je na prikazovalniku prikazana"0"

-
Izklopite kuhalno ploščo v celoti s pomočjo tipala za vklop/izklop ON/OFF control.
-
Bodite previdni – površina kuhališča je lahko vroča!

Črka H vas opozori, katero kuhališče je še vroče.
Ko se površina kuhališča ohladi na varno temperaturo, črka H izgine. To opozorilo vam je lahko tudi v pomoč, će želite prihraniti na energiji in izrabiti preostalo toploto.

Segrevanje z ojačano močjo (Boost)
Aktiviranje funkcije Boost
- Dotaknite se tipala za izbiranje kuhališč.

text_image
10 0- Dotaknite se tipala za funkcijo Boost B. V prikazovalniku za kuhališče se prikaže črka "b" in kuhališče se začne segrevati z največjo močjo.

text_image
B → bPreklic funkcije Boost
- S pomočjo tipala za izbiranje kuhališč izberite kuhališče, za katerega želite preklicati segrevanje z ojačano močjo

- a: Dotaknite se tipala za funkcijo Boost; kuhališče se preklopi na prej nastavljeno stopnjo moči.
b: Dotaknite se drsnika in nastavite želeno stopnjo.

text_image
B OR- Funkcija je na voljo za vsa kuhališča.
- Kuhališče se po 5 minutah delovanja funkcije Boost samodejno preklopi na prej nastavljeno stopnjo.
- Če aktivirate funkcjio Boost za 1. kuhališče, je med delovanjem te funkcije najvišja možna stopnja, ki jo lahko nastavite za 2. kuhališče, stopnja 2 ali manj, in obratno.
- Če je bila pred aktiviranjem funkcije Boost nastavljena stopnja 0, se kuhališče po 5 minutah preklopi na stopnjo 15.
Funkcija za ohranjanje toplote
Aktiviranje funkcije za ohranjanje toplote
- Dotaknite se tipala za izbiranje kuhališča.

text_image
10 DC- Dotaknite se tipala funkcije za ohranjanje toplote 📋 ; na prikazovalniku se prikaže |”.

- Dotaknite se tipala za izbiranje kuhališča.

- a: Dotaknite se drsnika; kuhališče se bo preklopilo na izbrano stopnjo

b: Dotaknite se tipala za aktiviranje katere od funkcij, npr. Boost; kuhališče se preklopi na prej izbrano stopnjo.
PRILAGODLJIVO KUHALIŠČE
- To kuhališče lahko uporabljate kot enojno kuhališče ali kot dve ločeni kuhališči, odvisno od vaših potreb.
- Prilagodljivo kuhališče tvorita dva neodvisna induktorja, ki ju lahko upravljate ločeno. Če deluje prilagodljivo kuhališče kot enojno, se del kuhališča, ki ni več pokrit s posodo, po eni minuti samodejno izklopi.
- POMEMBNO: Posodo vedno postavite na sredino enega kuhališča. Če kuhate v veliki posodi ali posodi ovalne ali pravokotne oblike, posodo postavite na kuhališče tako, da prekriva oba logotipa.
Primeri pravilne in nepravilne postavitve posode.

Uporaba kot veliko kuhališče
- Ko želite aktivirati prilagodljivo kuhališče kot enojno površino, se enostavno dotaknite ustreznega tipala.

text_image
0-
Moč nastavite tako kot za običajno kuhališče.
-
Če premaknete posodo s sprednjega na zadnji del kuhališča ali obratno, prilagodljivo kuhališče samodejno zazna novi položaj in ohrani isto moč.
-
Če želite na prilagodljivo kuhališče postaviti še eno posodo, se znova dotaknite ustreznega tipala, da kuhalna plošča zazna dodano posodo.
Dve ločeni kuhališči
Če želite uporabiti prilagodljivo kuhališče kot dve ločeni kuhališči in nastaviti različne stopnje moči, se dotaknite ustreznih tipal.

text_image
ORZaklepanje stikalne plošče
- Stikalno ploščo lahko zaklenete in s tem preprečite nehoteno spreminjanje nastavitev (npr. preprečite, da bi otroci med igro slučajno vklopili kuhališča).
- Če jestikalna plošča zaklenjena, se na ukase odziva samo tipalo za vklop/izklop (ON/OFF).
Zaklepanje stikalne plošče
Dotaknite se tipala s ssimbolom ključavnice prikaže napis "Loc"

. Na prikazovalniku programske ure se
Odklepanje stikalne plošče
- Dotaknite se tipala in se ga nekaj trenutkov dotikajte.
- Zdaj lahko spet uporabljate kuhalno ploščo.

Če je stikalna plošča zaklenjena, se odziva samo tipalo za vklop/izklop ON/OFF ①. V vsakem trenutku lahko kuhalno ploščo izklopite s pomočjo tipala za vklop/izklop ①, za vse druge operacije pa morate najprej odkleniti kuhalno ploščo.
Zaščita pred pregrevanjem
Temperaturni senzor nadzira temperaturo v notranjosti indukcijske kuhalne plošče. Če zazna previsoko temperaturo, se indukcijska kuhalna plošča samodejno izklopi.
Zaznavanje majhnih predmetov
Če na kuhalno ploščo odložite predmet neustrezne oblike oz. posodo iz neustreznega materiala (npr. aluminij), ali kakšen manjši predmet (npr. nož, vilico, ključ), se kuhališče za 1 minuto samodejno preklopi v stanje mirovanja. Ventilator še 1 minuto hladi indukcijsko ploščo.
Samodejen varnostni izklop
Samodejen varnostni izklop je varnostna funkcija, ki samodejno izklopi kuhalno ploščo, će vi to pozabite storiti. Predvideni časi izklopa glede na izbrano stopnjo moči so prikazani v spodnji razpredelnici:
| Stopnja moči | Ohranjanje toplote | 1-5 | 6-10 | 11-14 | 15 |
| Predviden čas izklopa (ure) | 2 | 8 | 4 | 2 | 1 |
Če odstranite posodo s kuhališča, se segrevanje takoj prekine; kuhalna plošča se samodejno izklopi po 2 minutah.

Osebe s srčnim spodbujevalnikom naj se pred uporabo te kuhalne plošče posvetujejo z zdravnikom!
Uporaba programske ure
Programsko uro lahko uporabljate na dva načina:
- Kot običajen števec minut. V tem primeru programska ura ne izklopi nobenega od kuhališč, ko preteče nastavljeni čas.
- Programsko uro pa lahko nastavite tako, da po preteku nastavljenega časa izklopi kuhališča.
- Programsko uro lahko nastavite za čas do 99 minut.
Uporaba programske ure kot števca minut
Če ni izbrano nobeno od kuhališč
- Prepričajte se, da je kuhalna plošča vklopljena.
Opomba: Števec minut lahko uporabljate, tudi će ni izbrano nobeno od kuhališč.
- Dotaknite se tipala za programsko uro √, na prikazovalniku za programsko uro se
prikaže vrednost "0: 10", "0" pa utripa.

text_image
0:10- S pomočjo drsnika nastavite ustrezen čas (npr. 6).

text_image
16 | | | | | | | | | | | | | | | | | | | | | | | | | | | | | | | | | | | | | | | | | | | | | | | | | | | | | | | | | | | | | | | | | | | | | | | | | | | | | :---:---:---:---:---:---:---:---:---:---:---:---:---:---:---:---:---:---:---:---:---:---:---:---:---:---:---:---:---:---:---:---:---:---:---:---:---:---:---:---:---:---:---:---:---:---:---:---:---:---:---4.Znova se dotaknite tipala za programsko uro "1" začne utripati.

text_image
0:16- S pomočjo drsnika nastavite ustrezen čas (npr. 9). Zdaj ste nastavili čas 56 minut.

text_image
0:56- Ko preteče nastavljeni čas, se za 30 sekund oglasi zvočni signal, na prikazovalniku pa se
Izklop kuhališč s pomočjo programske ure
Če je programska ura nastavljena za eno kuhališče:
- Dotaknite se tipala in izberite kuhališče, za katerega želite nastaviti programsko uro.

text_image
6- Dotaknite se tipala za programsko uro.
V prikazovalniku se prikaže "0: 10". "0" utripa
- S pomočjo drsnika nastavite ustrezen čas (npr. 6)

text_image
0:1:0
text_image
16 | | | | | | | | | | | | | | | | | | | | | | | | | | | | | | | | | | | | | | | | | | | | | | | | | | | | | | | | | | | | | | | | | | | | | | | | | | | | | | | | | | | | | | | | | | | | | | | | | | | | | | | | | | | | | | | | | | | | | | | | | | 16 11111111111111111111111111111111111111111111111111111111111111111111111111111111111 | 2000000000000000000000000000000000000000000000000000000000000000000 | 249999999999999999999999999999999999999999999999999999999999999999999999999999999999999999999999999999 | 2855555555555555555555555555555555555555555555555555555555555555555555555555- Znova se dotaknite tipala za programsko uro:
"1" utripa.

text_image
0:16- Znova se dotaknite drsnika in nastavite čas, (npr.5); zdaj je nastavljen čas 56 minut.
0:56

- Ko nastavite čas, se takoj začne odštevanje.
Na prikazovalniku je viden preostali čas do konca odštevanja, indikator programske ure 5 sekund utripa.

OPOMBA: Rdeča pika ob prikazu izbrane stopnje se osvetli, kar opozarja na izbrano kuhališče.
- Ko preteče nastavljeni čas, se ustrezno
kuhališče samodejno izklopi.


Če je bilo katero od drugih kuhališč vklopljeno, se kuhanje na njih nadaljuje.
Če je programska ura nastavljena za več kuhališč:
- Ko nastavite programsko uro za več kuhališč hkrati, se osvetlijo pike of ustreznih kuhališčih. Na prikazu časa je prikazan najkrajši nastavljeni čas, pika za kuhališče, za katerega ta čas velja, pa utripa.
15
3
(nastavljen čas 15 minut)
6.
(nastavljen čas 45 minut)
- Ko preteče nastavljeni čas, se kuhališče, za katerega ste čas nastavili, izklopi. Prikaže se drugi najkrajši čas, pika za kuhališče, za katerega velja čas, pa utripa.
30
6
- Če se dotaknete tipala za izbiranje kuhališč, se prikaže čas, nastavljen za to kuhališče..
Nekaj napotkov za kuhanje
Pri cvrenju bodite zelo previdni, saj se olje ali mast zelo hitro segrejeta, še posebej pa bodite pozorni, če aktivirate segrevanje z ojačano močjo. Razgreta maščoba se hitro vname, kar pomeni veliko tveganje za požar.

Nekaj nasvetov
- Ko jed zavre, znižajte stopnjo moči.
- Če pokrijete posodo s pokrovko, s tem skrajšate čas kuhanja in prihranite na energiji, saj s tem zadržite toploto.
- Čas kuhanja je krajši, če uporabite manj tekočine ali maščobe.
- Za začetek kuhanja nastavite višjo stopnjo, ko se pa živilo v celoti segreje, stopnjo znižajte.
Počasno kuhanje, kuhanje riža
- Počasno kuhanje poteka pri temperature, ki je nižja od vrelišča, in sicer pri pribl. 85°C, ko se mehurčki le občasno dvigajo na površino tekočine, ki se kuha. To je ključnega pomena za okusne juhe in mehko meso v golažu ipd., saj se okus razvije, ne da bi se živilo razkuhalo. Tudi jajčne jedi in jedi, ki jih zgostite z moko, naj se kuhajo pri temperaturi, ki je nižja od vrelišča.
- Za določena živila, med drugimi tudi riž, ki absorbira tekočino, bo morda potrebno nastaviti nekoliko višjo od najnižje sstopnje, da se bo živilo dobro skuhalo v predvidenem času.
Zrezki
Če želite pripraviti okusne sočne zrezke:
-
Meso naj pred kuhanjem približno 20 minut počiva pri sobni temperaturi.
-
Segrejte težko ponev z debelim dnom.
- Obe strani zrezka namažite z oljem. Malo olja vlijte v vročo ponev in nato položite meso na vročo ponev.
- Zrezek med kuhanjem obrnite samo enkrat. Točen čas pečenja je odvisen od debeline zrezka, ter od stopnje, do katere ga želite prepeči; to lahko traja od 2 – 8 minut na eni strani. Če je zrezek pečen se prepričate tako, da nanj pritisnete z vilico – čim bolj čvrst je, tem bolj je pečen.
- Pečen zrezek naj nekaj minut počiva na toplem krožniku, da se meso sprosti in je mehko, ko z njim postrežete.
Hitro praženje
- Za hitro praženje je najbolj primeren vok z ravnim dnom ali velika ponev.
- Pred začetkom kuhanja pripravite vse sestavine in pripomočke; praženje mora biti hitro. Če pripravljate večjo količino jedi, ne pražite vseh sestavin naenkrat, ampak po manjših porcijah.
- Na kratko segrejte ponev in dodajte dve žlici olja.
- Najprej prepražite meso in ga shranite na toplo.
- Nato prepražite zelenjavo. Ko je zelenjava vroča, a še hrustljava, znižajte stopnjo ter znova stresite meso v ponev, nato pa dodajte omako.
- Sestavine previdno premešajte, da se enakomerno segrejejo.
- Takoj postrezite.
Ustrezne stopnje moči
V spodnji razpredelnici so podane samo smernice; točne nastavitve so odvisne od številnih dejavnikov – posode, ki jo uporabljate, količine živil ... Po nekaj poskusih na vaši novi indukcijski plošči boste hitro določili nastavitve, ki vam najbolj ustrezajo.
| Stopnja | Primerno za |
| 1 - 2 | počasno segrevanje manjše količine živiltaljenje čokolade, masla in jedi, ki se hitro prismodijopočasno kuhanje na šibkem ognjupočasno segrevanje |
| 3 - 5 | pogrevanje malo hitrejše počasno kuhanjekuhanje riža |
| 6 - 11 | palačinke |
| 12- 14 | praženjekuhanje testenin |
| 15/P | hitro praženjepečenje (npr. zrezkov)segrevanje juhe do vreliščasegrevanje vode do vrelišča |
Čiščenje in vzdrževanje
| Kaj? | Kako? | Pomembno! |
| Vsakdanja nečistoča na steklokeramiki (prstni odtisi, lise, madeži od živil ali polita tekočina, ki ne vsebuje sladkorja) | 1. Izklopite kuhalno ploščo iz električnega omrežja.2. Medtem ko je kuhalna plošča še topla (ne vroča!) nanesite malo čistila za steklokeramiko.3. Izperite in do suhega obrišite površino s čisto krpo ali papirnato brisačo.4. Ponovno priključite kuhalno ploščo na električno omrežje. | • Ko je kuhalna plošča izklopljena iz električnega omrežja, na prikazovalniku ni prikazana črka H, ki opozarja, da je kuhališče še vroče. Bodite zelo previdni!• Gobice iz jeklene volne ali najlona ter agresivna čistila lahko opraskajo steklokeramično površino. Vedno preberite navodila proizvajalca, da se prepričate o ustreznosti čistila oz. čistilnega pripomočka.• Čistilo ne sme nikoli ostati na steklo- keramiki, saj bi lahko pustilo madeže. |
| Madeži od prekipelih jedi, staljene snovi in razlite jedi/tekočine z vsebnostjo sladkorja na steklokeramiki | Take snovi morate takoj odstraniti s strgalom ali drugim pripomočkom, primernim za čiščenje indukcijske steklokeramične kuhalne plošče. Bodite previdni, će so kuhališča še vroča!1. Izključite kuhalno ploščo iz električnega omrežja.2. Držite rezilo ali podoben pripomoček pod kotom 30° in zdrgnite nečistočo proti hladnemu delu kuhalne plošče.3. Obrišite nečistočo s krpo ali papirnato bristačko.4. Nato nadaljujte s čiščenjem, kot je to pojasnjeno v prejšnji točki, koraki 2 do 4. | • Madeže, ki so ostali na kuhalni plošči zaradi staljenih živil ali snovi z vsebnostjo sladkorja očistite čimprej. Če se ti ohladijo na steklokeramiki, jih je veliko težje ali celo nemogoče odstraniti in lahko celo poškodujejo steklokeramiko.• Pazite, da se ne urežete! Ko snamete zaščito s strgalo, je pod njim zelo ostro rezilo. Pri uporabi bodite izjemno previdno; stgalo vedno shranite na varno, izven dosega otrok |
| Tekočina, razlita po stikalni plošči | 1. Izključite kuhalno ploščo iz električnega omrežja.2. Vpijte tekočino s papirnato brisačko.3. Obrišite območje stikalne plošče s čisto vlažno gobico ali krpo.4. S papirnato brisačko do suhega obrišite površino.5. Ponovno priključite kuhalno ploščo na električno omrežje. | • Če se po območju stikalne plošče razlije tekočina, se lahko kuhalna plošča samodejno izklopi, ali pa se tipala ne odzivajo na ukaze, dokler so prekrita s tekočino. Pred ponovnim vklopom kuhalne plošče obvezno do suhega obrišite površino! |
Nekaj namigov in nasvetov
| Težava | Možen vzrok | Kaj storiti |
| Indukcijska kuhalna plošča se ne vklopi. | Ni električne energije. | Prepričajte se, da je indukcijska kuhalna plošča priključena na električno omrežje ter da je vklopljena.Preverite,če morda ni zmanjkalo električne energije pri vas doma ali na širšem območju. Če je omrežje pod napetostjo in je kuhalna plošča pravilno priključena in vklopljena, pa kljub temu ne deljuje, pokličite najbližji pooblaščeni servis. |
| Tipala se ne odzivajo na ukase. | Stikalna plošča je zaklenjena. | Odklenite stikalno ploščo, kot je to pojasnjeno v poglavju ‘Uporaba indukcijske kuhalne plošče’. |
| Tipala se odzivajo s težavo. | Morda so tipala prekrita s tanko plastjo tekočine, ali pa se jih dotikate s konico in ne blazinico prsta. | Prepričajte se, da je površina stikalne plošče suha in se tipala dotaknite z blazinico prsta. |
| Steklokeramika je opraskana. | Uporabili ste posodo s poškodovanim ali grobim dnom.Za čiščenje ste uporabili neprimerne, grobe gobice iz jeklene volne ali neustrezno čistilo. | Kuhajte v posodah z ravnim, gladkim dnom, kot je to pojasnjeno v poglavju ‘Ustrezna posoda.Upoštevajte navodila v poglavju ‘Čiščenje in vzdrževanje’. |
| Med kuhanjem določene posode proizvajajo čuden zvok, pokanje ali klikanje. | To je lahko posledica sestave posode (plasti iz različnih materialov različno vibrirajo). | To je normalen pojav in ne kaže na okvaro. |
| Indukcijska kuhalna plošča brenči, ko kuhate na visoki stopnji moči. | To povzroča tehnologija indukcijskega kuhanja. | To je normalno; če znižate stopnjo moči, je brenčanje tišje oziroma povsem preneha. |
| Sliši se zvok ventilatorja. | Ventilator za hlajenje, vgrajen v vašo indukcijsko kuhalno ploščo, preprečuje pregrevanje elektronskih delov. Ventilator v določenih primerih deluje tudi potem, ko izklopite kuhalno ploščo. | To je normalno, ukrepanje ni potrebno. Ne izklapljajte kuhalne plošče iz električnega omrežja, dokler ventilator deluje! |
| Posoda se ne segreva, na prikazovalniku se prikaže simbol . | Indukcijska kuhalna plošča ne zazna posode,ker ta ni primerna za indukcijsko kuhanje.Indukcijska kuhalna plošča ne zazna posode, ker je ta premajhna, ali je niste postavili pravilno – na sredino kuhališča. | Uporabite posodo, ki je primena za kuhanje na indukcijski kuhalni plošči.Preverite navodila v poglavju ‘Izbiranje ustrezne posode’.Postavite posodo na sredino kuhališča in se prepričajte, da se dno po velikosti prilega premeru kuhališča. |
| Indukcijska kuhalna plošča ali kuhališče se nenadoma samodejno izklopi, oglasi se zvočni signal in prikaže se koda napake (običajno izmenično, medtem ko je prikazovalniku programske ure vidna številka). | Tehnična okvara. | Zabeležite si kodo okvare (črko in številko), izklopite indukcijsko kuhalno ploščo iz električnega omrežja in se obrnite na najbližji pooblaščeni servis. |
Nikoli ne poskušajte sami popravljati kuhalne plošče!
Prikaz kod napak in njihovo odpravljanje
V primeru nepravilnosti v delovanju se indukcijska kuhalna plošča samodejno preklopi v varni način, na prikazovalniku pa se prikaže ena od spodnjih kod:
| Problem | Možen vzrok | Kaj storiti |
| F1-F6 | Okvara temperaturnega tipala | Obrnite se na pooblaščeni servis. |
| F9-FA | Okvara temperaturnega tipala za IGBT | Obrnite se na pooblaščeni servis. |
| FC | Napaka na povezavi med prikazovalnikom in osnovno ploščo | Obrnite se na pooblaščeni servis. |
| E1/E2 | Neustrezna priključna napetost | Preverite vrednost napetosti v električnem omrežju.Ko je vzpostavljena normalna napetost, znova priključite kuhalno ploščo. |
| E3/E4 | Visoka temperatura tipala steklokeramične plošče | Počakajte, da se kuhalna plošča ohladi, in jo nato znova vklopite. |
| ES | Visoka temperatura tipala IGBt | Počakajte, da se kuhalna plošča ohladi, in jo nato znova vklopite. |
Če gre za napako pri prilagodljivem kuhališču, se tipala za upravljanje prilagodljivega kuhališča ne odzivajo.
V zgornji tabeli so navedene rešitve za najpogostejše napake.
Nikoli sami ne razstavljajte kuhalne plošče, saj bi jo lahko poškodovali.
Tehnični podatki
| Kuhalna plošča | HIFS430B |
| Število kuhališč | 4 kuhališča |
| Priključna napetost | 220-240V~ |
| Priključna moč | 7200W |
| Mere aparata G׊×V(mm) | 590X520X60 |
| Vgradne mere A×B (mm) | 560X490 |
Podani so približni podatki o teži in merah. Pridržujemo si pravico do morebitnih sprememb podatkov brez predhodnega obvestila zaradi stalnih izboljšav naših izdelkov.
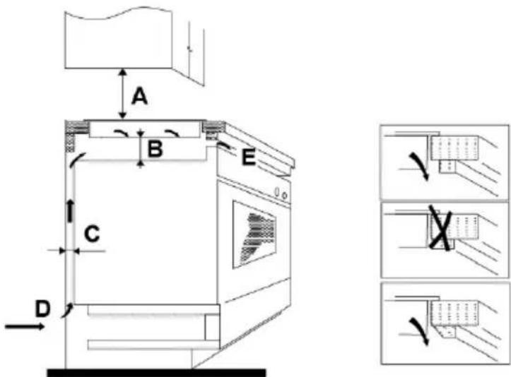
Instalacija
V delovni pult vrežite luknjo ustrezne velikosti, kot je to prikazano na spodnji sliki.
Okoli izreza mora na vseh straneh ostati vsaj po 5 cm plošče zaradi potreb pri vgradnji in uporabi.
Prepričajte se, da znaša debelina kuhinjskega pulta vsaj 30 mm. Izberite kuhinjski pult iz na vročino odpornega materiala, da se izognete večjim deformacijam zaradi toplote, ki jo bodo izžarevala kuhališča. Podrobnosti so prikazane na spodnji sliki:

Opomba: Zaradi varnosti mora znašati razdalja med kuhalno ploščo in visečo omarico nad njo vsaj 760 mm.

text_image
A B E C D| A(mm) | B(mm) | C(mm) | D | E |
| 760 | 50 mini | 20 mini | Vstop zraka | Izhod zraka 5mm |
Pred vgradnjo kuhalne plošče preverite naslednje:
- Izrez v kuhinjskem pultu mora biti pravokoten, kuhinjski pult pa povsem raven. Prostor, potreben za vgradnjo kuhalne plošče, mora biti povsem prazen.
- Kuhinjski pult mora biti izdelan iz na vročino odpornega materiala.
- Če bo kuhalna plošča vgrajena nad pečico, mora biti pečica opremljena z ventilatorjem za hlajenje.
- Pri vgradnji je potrebno upoštevati vse navedene mere, ter vse veljavne standarde in predpise.
- V primeru fiksne priključitve na električno omrežje mora biti vgrajeno ustrezno stikalo, ki zagotavlja izklop kuhalne plošče iz električnega omrežja; stikalo mora biti vgrajeno in nameščeno skladno z veljavnimi lokalnimi pravili in predpisi.
Stikalo mora biti ustreznega tipa; zagotavljati mora 3-mm razmik med vsemi poli oz. ustrezati vsem veljavnim lokalnim predpisom, ki regulirajo to področje.
- Stikalo za izklop mora biti laho dostopno tudi po vgradnji kuhalne plošče.
- Če niste prepričani o pravilnosti priključitve, se posvetujte s strokovnjakom.
- Za obloge na stenah ob kuhalni plošči uporabite na vročino odporne materiala, ki jih je enostavno čistiti (npr. keramične ploščice).
Po vgradnji kuhalne plošče se prepričajte o naslednjem:
- Priključni električni kabel ne sme biti dostopen (npr. ko so vrata omarice pod kuhalno ploščo odprta, ali ko so predali odprti).
- Do spodnjega dela kuhalne plošče mora biti omogočen zadosten dotok zunanjega zraka.
- Če je kuhalna plošča vgrajena nad predal ali kuhinjsko omarico, mora biti pod kuhalno ploščo nameščena termična zaščitna pregrada.
- Stikalo za izklop iz električnega omrežja mora biti lahko dostopno tudi po vgradnji kuhalne plošče.
Pred pritrjevanjem nosilcev kuhalne plošče
Kuhalno ploščo položite na stabilno gladko površino; pomagajte si z embalažo. Pazite, da ne pritiskate s silo na dele, ki segajo iz kuhalne plošče.
Prilagoditev položaja nosilcev
Kuhalno ploščo pritrdite na kuhinjski pult s pomočjo 4 vijakov, ki jih privijete na nosilce na spodnji strani kuhalne plošče po vgradnji (gl. sliko).

- Vgradnjo indukcijske kuhalne plošče prepustite ustrezno usposobljenim osebam. Na voljo so vam tudi strokovnjaki našega pooblaščenega servisa. Nikoli ne poskušajte sami opraviti potrebnih del.
- Vgradnja kuhalne plošče tik nad pomivalni stroj, hladilnik, zamrzovalnik, pralni stroj ali sušilec perila ni dovoljena, Vlaga bi namreč lahko poškodovala kuhalno ploščo.
- Indukcijsko kuhalno ploščo vgradite tako, da bo omogočeno kar najboljše oddajanje toplote, kar pozitivno vpliva na njeno zanesljivost.
- Zid ob kuhalni plošči mora biti odporen na vročino.
- Da bi se izognili možnosti za poškodbe, morajo biti tudi materiali v notranjosti kuhinjskega pulta odporni na toploto.
Priključitev kuhalne plošče na električno omrežje

Priključitev kuhalne plošče na električno omrežje prepustite ustrezno usposobljenim strokovnjakom.
Pred priključitvijo kuhalne plošče na električno omrežje se prepričajte:
da hišno električno omrežje prenese dodatno obremenitev, ki jo bo pomenila kuhalna plošča; da napetost v električnem omrežju ustreza vrednosti, navedeni na tablisi s podatki;
da je prerez priključnega električnega kabla primeren za obremenitev, navedeno na tablici s podatki;
Za priključitev kuhalne plošče na električno omrežje ne uporabljajte adapterjev, podaljškov ipd. naprav, saj bi ti lahko povzročili pregrevanje in posledično požar.
Priključni električni kabel mora biti napeljan tako, da se nikjer ne dotika delov, ki se segrevajo, in da po celi dolžini ni izpostavljen temperaturi nad 75° C.
Posvetujte se z električarjem, da se prepričate, da je vaše hišno omrežje primerno za priključitev kuhalne plošče. Če so potrebne kakršnekoli spremembe na omrežju, vsa potrebna dela prepustite ustrezno usposobljenim strokovnjakom.
Kuhalno ploščo smete priključiti na električno omrežje skladno z vsemi veljavnimi standardi, ali pa preko enopolnega prekinjala. Ustrezen način je prikazan na spodnji sliki:
| Napetost | Žična povezava | ||
| 380-415V 3N~ | ![]() | ![]() | [568w] |
| RjavaČrna Modra Rumena/zelena | |||
| 220-240V~ | [CSTW] | ![]() | ![]() |
| Modra Rumena/zelenaRja | |||
- Če je treba zamenjati priključni električni kabel, mora to storiti ustrezno usposobljen strokovnjak pooblaščenega servisa, ki ima na voljo ustrezna orodja, da se izognete morebitnim nezgodam.
- Če je kuhalna plošča fiksno priključena na električno omrežje, mora biti vgrajeno večpolno prekinjalo z razdaljo med kontakti vsaj 3 mm.
- Inštalater odgovarja za pravilno priključitev, ki mora biti izvedena skladno z vsemi veljavnimi varnostnimi predpisi.
- Priključni električni kabel ne sme biti prepognjen ali stisnjen.
- Redno preverjajte stanje kabla. Če ga je potrebno zamenjati, smejo to storiti samo strokovnjaki pooblaščenega servisa.


DSTRANJEVANJE: Tega izdelka ne smete odvreči skupaj z običajnimi gospodinjskimi odpadki. Potrebno ga je odvreči ločeno, saj zahteva posebno obdelavo.
Izdelek je označen skladno z direktivo evropske Gospodarske zbornice 20 2/ / E1 19 ♦ odpadni električni in elektronski opremi (WEEE).
S pravilnim načinom odstranjevanja izdelka boste pomagali preprečiti morebitne negativne posledice na okolje in zdravje ljudi, ki bi jih lahko povzročilo nepravilno odstranjevanje aparata.
Simbol na izdelku označuje, da s tem izdelkom ni dovoljeno ravnati kot z običajnimi gospodinjskimi odpadki. Izdelek odpeljite na ustrezno zbirno mesto za predelavo električne in elektronske opreme.
Odstranjevanje mora biti opravljeno skladno z lokalnimi okoljevarstvenimi predpisi o odstranjevanju odpadkov.
Za podrobnejše informacije o odstranjevanju in predelavi tega izdelka se obrnite na pristojen mestni organ za odstranjevanje odpadkov, komunalno službo ali trgovino, v kateri ste izdelek kupili.
LahkaNavodila



