HIFS430B - Cucina HOOVER - Manuale utente e istruzioni gratuiti
Trova gratuitamente il manuale del dispositivo HIFS430B HOOVER in formato PDF.
| Specifiche tecniche | Forno HOOVER HIFS430B, tipo: elettrico, forno a convezione, 4 fuochi in vitroceramica. |
|---|---|
| Dimensioni | Larghezza: 60 cm, Altezza: 85 cm, Profondità: 60 cm. |
| Capacità del forno | Capacità: 65 litri. |
| Potenza dei fuochi | Fuoco anteriore sinistro: 2000 W, Fuoco anteriore destro: 1500 W, Fuoco posteriore sinistro: 1000 W, Fuoco posteriore destro: 2000 W. |
| Funzionalità del forno | Forno ventilato, grill, illuminazione interna. |
| Utilizzo | Facile da usare con comandi meccanici, display della temperatura. |
| Manutenzione | Pulizia facile grazie alla superficie in vitroceramica, pulizia del forno tramite pirolisi. |
| Sicurezza | Sistema di sicurezza per bambini, protezione da surriscaldamento. |
| Consumo energetico | Classe energetica: A. |
| Informazioni generali | Colore: nero, peso: 50 kg, garanzia: 2 anni. |
Domande frequenti - HIFS430B HOOVER
Domande degli utenti su HIFS430B HOOVER
0 domanda su questo apparecchio. Rispondi a quelle che conosci o fai la tua.
Fai una nuova domanda su questo apparecchio
Scarica le istruzioni per il tuo Cucina in formato PDF gratuitamente! Trova il tuo manuale HIFS430B - HOOVER e riprendi in mano il tuo dispositivo elettronico. In questa pagina sono pubblicati tutti i documenti necessari per l'utilizzo del tuo dispositivo. HIFS430B del marchio HOOVER.
MANUALE UTENTE HIFS430B HOOVER
Istruzioni per l'uso ed installazione
KOCHFELDER
Informazioni di sicurezza
Per noi la sua sicurezza è importante. Per favore legga queste informazioni prima di ulizzare il piano.
Istallazione
Rischio di shock elerico
- Scollegare il piano dalla rete elerica principale prima di eeuare qualsiasi operazione di manutenzione.
- Il collegamento ad una buona rete elerica è essenziale e obbligatorio.
- Alterazioni alla rete domesca devono essere euate esclusivamente da persona qualicata.
- Non seguire ques consigli può portare a shock elerico o alla morte.
Pericolo di taglio
- Fare aenzione, i bordi del piano sono taglien.
- Non seguire le precauzioni può portare a danni o infortuni.
Istruzioni di sicurezza importan
- Leggere aentamente le istruzioni prima di installare o usare il piano.
- Materiali inammabili non devono mai essere pos sopra il piano.
-
Fornire all'installatore il presente manuale anché vengano rido i cos di installazione.
-
Per evitare infortuni, il piano deve essere installato seguendo le istruzioni di installazione
- Questo dispositivo deve essere installato esclusivamente da una persona qualicata.
- Il piano deve essere collegato alla rete elerica integrando un interruore di isolamento per un eventuale totale scollegamento dalla rete.
- Non seguire le istruzioni per l'installazione può invalidare la garanzia ed ogni responsabilità.
Operazioni e manutenzione
Rischio shock elerico
- Non cucinare su un piano roo o scheggiato. Se la supercie del piano è roa o scheggiata, spegnere immediatamente il dispositivo scollegandolo dalla rete elerica e contaare un tecnico.
- Staccare il piano dalla rete elerica prima di pulire.
- Non seguire le precauzioni può portare a shock elerico o alla morte.
Rischio per la salute
- Questo dispositivo è conforme con gli standard di sicurezza eleromagneci.
- Persone con pacemaker o altri impian (come pompe per insulina) devono contaare il medico e assicurarsi che gli
impianti non risentano del campo elettromagnetico del piano.
- Non seguire le precauzioni può portare a shock elettrico o alla morte.
Supercie rovente
- Durante l'uso alcune par di questo prodoo possono surriscaldarsi provocando rischio incendio.
- Non appoggiarsi o appoggiare articoli sul piano a induzione fino a quando non si sarà raffreddato.
- Attenzione: oggetti metallici o magnetici che si indossano, possono scaldarsi vicino al piano. Gioielli in oro o argento non ne risentiranno.
- Tenere il dispositivo lontano dalla portata dei bambini.
- Non seguire le precauzioni può causare bruciature o scottature
Pericolo di taglio
- Il profilo tagliente del piano è esposto quando il coperchio è retratto.
- Utilizzare con estrema cautela e riporre con cura e fuori dalla portata dei bambini.
• Non seguire le precauzioni può portare a danni o infortuni.
Istruzioni di sicurezza importan
- Mai lasciare il piano incustodito durante l'ulizzo. Se l'acqua trabocca può causare fumo o causare un incendio.
- Mai ulizzare il piano come supercie da lavoro o do appoggio.
- Mai lasciare ogge o utensili sul piano.
- Non lasciare o appoggiare ogge magneci (ad esempio carte di credito, memory card) o disposivi eleronici (ad esempio computer o leori mp3) vicino al piano, altrimen risenranno del suo campo eleromagneco.
- Mai usare il dispositivo per riscaldare la stanza.
- Dopo l'ulizzo, spegnere sempre le zone coura, come suggerito dal manuale di istruzioni. Non fare adamento al rilevamento delle pentole quando si spengono le zone coura.
- Non permeere ai bambini di sedersi o appoggiarsi sul piano.
- Non conservare ogge, a cui i bambini possono interessarsi, in casseo sopra il piano. I bambini arrampicandosi sul piano potrebbero infortunarsi gravemente.
- Non lasciare bambini non sorveglia nei pressi del piano in uso.
- Bambini e persone con disabilità devono assis e istrui da persone responsabili e preparate sull'ulizzo del dispositivo.
- La persona deve accertarsi che possano ulizzare il dispositivo senza recare danno a se stessi e ad altre persone.
- Non tentare di riparare o sostuire da soli par del dispositivo a meno che non sia raccomandato del manuale.
Tue le altre operazioni devono essere eeuate da un tecnico qualicato.
- Non ulizzare un pulitore a vapore per pulire il piano.
- Non appoggiare o fare cadere ogge pesan sul piano.
• Non stare sulla supercie del piano. - Non ulizzare pentole con bordi taglien e non trascinare le pentole sul vetro del piano al ne di non graarlo o rovinarlo.
- Non ulizzare spugne o altri agen pulen abrasivi al ne di non rovinare il vetro del piano a induzione.
- Se il cavo di alimentazione è danneggiato, deve essere sostuito da un tecnico qualicato.
- Questo dispositivo è progeato esclusivamente per uso domesco.
- Questo dispositivo può essere ulizzato da bambini con età superiore a 8 anni e da persone con capacità motorie, sensoriali e mentali ridoe, soo supervisione e dopo un'adeguata istruzione e comprensione dell'ulizzo e dei danni eventuali. I bambini non devono giocare con il dispositivo. La pulizia e la manutenzione non devono essere eeuate da bambini senza supervisione.
- ATTENZIONE: la coura, incustodita sul piano, di grassi e olio può essere pericolosa e a rischio incendio. Mai tentare di esnguere un incendio con l'acqua ma spegnere il piano e spegnere le amme con una coperta anncendio.
- Ogge metallici come coltelli, forchee, cucchiai e coperchi non devono essere pos sulla supercie del piano di modo che non si scaldino.
- Dopo l'ulizzo, spegnere gli elemen del piano con i comandi e non fare adamento al rilevatore delle pentole.
- Il piano non è progeato per essere ulizzato tramite controllo remoto o con un mer esterno.
Complimen per aver acquistato il vostro nuovo piano a induzione.
Vi raccomandiamo di spendere del tempo per leggere questo manuale di istruzione/istallazione al ne di comprendere come installare ed ulizzare correamente il dispositivo.
Per l'installazione, leggere per favore la sezione specica.
Leggere aentamente tue le istruzioni di sicurezza prima dell'uso e conservare il manuale per referenze future.
Panoramica del prodoo
Vista dall'alto

text_image
1 5 2 3 6 4 7 8- max . 1800/3000 W zona
- max. 1800/3000 W zona
- max. 1800/3000 W zona
- max. 1800/3000 W zona
- zona essibile 3000/4000 W zona
- zona essibile 3000/4000 W zona
- lastra di vetro
- Controllo
Pannello di controllo

text_image
9:59 15 5 15 7 2 5 1 6 15 5 3 4- Cursore potenza/mer touch
- Selezione zona di riscaldamento
- Blocco pannello di controllo
- ON/OF
- Controllo mantenimento calore
- Controllo sovralimentazione
- Controllo mer
Nozione sulla coura a induzione
La coura a induzione è una tecnologia di coura sicura, avanzata, eciente ed economica. Funziona tramite le vibrazioni eleromagneche generando calore direamente nella padella, invece di generare calore indireamente araverso la supercie in vetro. Il vetro si scalda solamente a causa del calore della padella.

Prima di usare il piano a induzione
- Leggere questa guida, facendo parcolare aenzione alle informazioni di sicurezza.
- Rimuovere ogni pellicola proteva sul piano coura.
Usare i comandi touch
- I comandi rispondono al tocco, quindi non è necessario esercitare nessuna pressione.
- Usare i polpastrelli delle dita.
- Un bip suonerà ogni volta che un comando viene registrato.
- Assicurarsi che i comandi siano sempre asciu, puli e che no ci siano ogge (ad esempio un utensile o un vesto) che li coprano. Anche un po' d'acqua può impedire il correo funzionamento dei comandi.

Scegliere le pentole giuste
- Usare solo pentole adae alla coura ad induzione. Accertarsi che ci sia il simbolo dell'induzione sulla confezione o sulla padella stessa.
- E' possibile controllare che la padella sia adaa all'induzione tramite un test con magne. Avvicinare un magnete alla base della padella, se viene arao la padella è adaa alla coura ad induzione.
- Se non si possiede un magnete: 1. Inserire dell'acqua all'interno della pentola 2. Seguire i passi soo 'inizio coura' 3. Se - non si illumina e l'acqua si scalda, la pentola è adaa alla coura ad induzione
- Le pentole fae con i seguen materiali non sono adae: puro acciaio inossidabile, alluminio o rame senza base magneca, vetro, legno, porcellana, ceramica e terracoa.
Non usare pentole con bordi frastaglia o con base curva.

Assicurarsi che la base della padella sia liscia, che appoggi correamente sul vetro e che sia della stessa misura della zona coura. Ulizzare pentole le cui dimensioni siano uguali a quella della graca della zona coura selezionata. Usando la pentola correa si oerrà la massima ecienza energeca. Se si ulizza una pentola più piccola l'ecienza energeca sarà inferiore. Pentole inferiori ai 140 mm potrebbero non essere lee dal piano. Centrare sempre la pentola nella zona coura.

Sollevare sempre le pentole, non far scivolare altrimen potrebbero rovinare il piano in vetro.

Dimensione delle pentole
Le zone di coura si adaano automacamente, no ad un certo limite, al diametro delle pentole. La parte inferiore delle pentole deve comunque avere un diametro che possa essere un minimo adeguato alla zona di coura corrispondente. Per oenere la massima ecienza dal piano, posizionare la pentola al centro della zona di coura.
| Zone coura | Diametro della base delle pentole | |
| Minimo (mm) Massimo (mm) | ||
| 1,2,3,4 140 220 | ||
| Zona essibile 220 22 | 0x400 | |
Usare il piano a induzione
Per iniziare a cucinare
- Premere il tasto ON/OFF Ⓘ
Dopo aver acceso il piano, il mer mostra , il tasto di selezione delle zone coura mostra o o , questo indica che il piano coura è entrato in modalità standby.

- Posizionare una pentola adaa sulla zona coura che si intende ulizzare.
- Assicurarsi che la parte inferiore della pentola e il piano siano puli e asciu.

- Premere il tasto per la selezione delle zone coura, un indicatore lampeggerà.

text_image
0 0- Regolare le impostazioni di calore scorrendo cull'indicatore.

text_image
POWER DOWN POWER UP- Se non viene selezionata una zona coura entro 1 minuto, il piano si spegnerà automacamente. Sarà necessario riparre dal punto 1.
- Le impostazioni di calore possono essere cambia in ogni momento durante la coura.
Se il display lampeggia alternavamente alle impostazioni di calore
Questo significa che:
- Non è stata posizionata la pentola sulla zona di coura correa;
- La pentola ulizzata non è adaa alla coura a induzione;
- La pentola ulizzata è troppo piccola o non centrata sulla zona di coura.
Non vi sarà calore a meno che non ci sia una pentola adaa sulla zona coura. Il display si spegnerà automacamente se nessuna pentola sarà posizionata sul piano.
Terminata la coura
- Premere il tasto per selezionare la zona coura che si intende spegnere.

text_image
15 0- Spegnere la zona coura scorrendo verso sinistra sul comando touch. Assicurarsi che il display indichi '0'.

- Spegnere l'intero piano premendo il tasto ON/OFF.

- Fare aenzione alla supercie calda.
'H' indicherà quali zone coura sono calde. Sparirà non appena la temperatura avrà raggiunto un livello sicuro. Può essere ulizzato anche come risparmio energeco usando pentole già calde, nel caso in cui si voglia riscaldare prima.

Usare la funzione boost
Avare la funzione boost
- Premere il tasto per la selezione della zona coura.

text_image
10 10- Premere il tasto Boost B, l'indicatore mostretà 'b' e la potenza raggiungerà il massimo livello.

text_image
B → bCancellare la funzione Boost
- Premere il tasto per la selezione della zona coura di cui si vuole cancellare la funzione boost.

text_image
b b- A: Premere il tasto Boost, la zona coura ritornerà alle impostazione iniziali.
B: Premere la barra di controllo, la zona coura raggiungerà il livello selezionato.

text_image
BOR

- La funzione può essere impostata per tue le zone di coura
- La zona di coura tornerà alle impostazioni iniziali dopo 5 minu.
- Quando la funzione boost è ava sulla prima zona coura, la seconda zona sarà automacamente limitata al 2° livello.
- Se le impostazioni iniziali eguagliano il boost, ritornerà a 15 dopo 5 minu.
Usare la funzione 'mantenimento calore'
Avare la funzione 'mantenimento calore'
- Premere il tasto per la selezione della zona coura.

text_image
10 10- Premere il tasto mantenimento calore , l'indicatore mostrerà .

Cancellare la funzione mantenimento calore
- Premere il tasto per la selezione della zona coura.

text_image
10 10- A: premere la barra di controllo, la zona coura raggiungerà il livello selezionato.

B: premere un tasto per controllare la funzione ad esempio "B", la zona di coura tornerà al livello selezionato precedentemente.
AREA FLESSIBILE
- Quest'area può essere ulizzata come singola zona o come due zone dieren, a seconda delle diverse esigenze.
- L'area essibile è composta da due induori dieren che possono essere controlla separatamente. Ulizzando l'area
come singola zona e spostando la pentola da una zona all'altra verrà mantenuto lo stesso livello di potenza della zona precedente che si spegnerà in automaco.
- Importante: assicurarsi di posizionare le pentole centrate nella singola zona di coura. In caso vengano ulizzate pentole grandi, ovali reangolari o allungate, assicurarsi che queste coprano tu gli angoli.
Esempi di un correo e uno scorreo posizionamento delle pentole.

- Per avare l'area come singola zona, premere semplicemente l'apposito tasto.

text_image
0-
Le impostazioni di potenza funzionano come ogni altra area.
-
Se la pentola è spostata dalla parte frontale a quella posteriore (o viceversa), l'area essibile individua automacamente la nuova posizione, mantenendo la stessa potenza.
-
Per aggiungere un'ulteriore pentola, premere nuovamente l'apposito tasto, al ne di individuare la pentola.
Come due zone indipenden
Per usare l'area essibile come due zone indipenden con dieren impostazioni di potenza, premere gli apposi tas.

text_image
ORBloccare i comandi
- E' possibile bloccare i comandi per evitare un ulizzo non voluto (ad esempio un bambino che accende il piano accidentalmente)
- Quando i comandi sono bloccati, tu i tas sono disabilita, ecceo il tasto ON/OFF.
Per bloccare i comandi
Premere il tasto per il blocco tasera. Il mer mostrerà "Loc".
Per sbloccare i comandi
- Tenere premuto il tasto di blocco per un momento.
- E' ora possibile ulizzare il piano a induzione.

Quando il piano è in modalità di blocco, tu i comandi sono disabilita ecceo il tasto ON/OFF, è sempre possibile spegnere il piano con il tasto ON/OFF in caso di emergenza ma è necessario sbloccarlo al primo ulizzo.
Protezione per surriscaldamento
Un sensore all'interno del piano garansce il monitoraggio della temperatura. Quando viene rilevata una temperatura eccessiva, il piano smeerà di funzionare automacamente.
Rilevazione di piccoli ogge
Nel caso in cui vengano lasciate pentole non adae (es in alluminio) o piccoli ogge come coltelli, forchee o chiavi, il piano entra automacamente in modalità standby in 1 minuto. La ventola raredderà il piano in meno di 1 minuto.
Auto bloccaggio
L'autobloccaggio è una funzione di sicurezza per il piano a induzione. Si blocca automacamente nel caso in cui venga lasciato acceso. I tempi predeni per ogni livello di potenza sono riporta nella tabella seguente:
| Livello di potenza Mante | nimento calore 1-5 6-1 | 0 11-14 15 | |||
| Tempi predeni (ore) 2 8 | 4 2 1 |
Quando la pentola viene rimossa il piano a induzione smee di riscaldare automacamente spegnendosi dopo 2 minu.

Per le persone con pace maker è consigliato consultare il medico prima dell'ulizzo del prodoo.
Ulizzare il mer
Il mer può essere ulizzato in due modi dieren:
- Può essere utilizzato come contaminu. In questo caso il mer non spegnerà nessuna zona coura quando è ava l'impostazione.
- Può essere impostato in modo che si spengano le zone coura dopo il termine del tempo.
- Il mer può essere impostato per oltre 99 minu.
Ulizzare il mer come contaminu
- Assicurarsi che il piano sia acceso.
Nota: può essere ulizzato il contaminu anche senza selezionare la zona coura.
- Premere il tasto del mer ✅️, “0: 10” apparirà sul display e “0” lampeggerà.

text_image
0:10- Impostare il tempo toccando la barra di controllo.

- Premere il tasto del mer nuovamente, “1” lampeggerà.

text_image
0:16- Impostare il tempo toccando la barra di controllo.
In questo caso il tempo impostato è di 56 minu.
0:56

- L'allarme suonerà per 30 secondi e il mer mostrerà
"0:00" quando l'impostazione del tempo sarà conclusa.
0:00
Impostare il mer per spegnere le zone coura
Se il mer è impostato su una sola zona:
- Premere il tasto della zona coura di cui si vuole impostare il mer.

text_image
6- Premere il tasto del mer, "0: 10" apparirà sul display e "0" lampeggerà.

text_image
0:1:0- Impostare il tempo toccando la barra di controllo.

text_image
16 | | | | | | | | | | | | | | | | | | | | | | | | | | | | | | | | | | | | | | | | | | | | | | | | | | | | | | | | | | | | | | | | | | | | | | | | | | | | | | | | | | | | | | | | | | | | | | | | | | | | | | | | | | | | | | | | | 16 16 16 16 16 16 16 16 16 16 16 16 16 16 16 16 16 16 16 16 16- Premere il tasto del mer lampeggerà.
nuovamente, "1"

text_image
0:16- Impostare il tempo toccando la barra di controllo.
In questo caso il tempo impostato è di 56 minu.
0:56

- Una volta impostato il tempo, inizierà immediatamente il conto alla rovescia. Il display indicherà il tempo rimanente e il mer lampeggerà per 5 secondi.
NOTA: il punto rosso, a anco all'indicatore del livello di potenza, si illuminerà indicando la zona selezionata.
6
- Una volta scaduto il tempo di coura, la zona si spegnere automacamente.
0:00

Le altre zone coura connueranno a funzionare se accese in precedenza.
Se il mer è impostato su più zone coura
- Quando vengono impostate più zone coura contemporaneamente i pun decimali delle zone di riferimento si accendono. Il display dei minu segnerà i minu, il mer e i pun delle zone corrisponden.
15
3
(impostato per 15 minu)
6.
(impostato per 45 minu)
- Una volta scaduto il conto alla rovescia, la zona corrispondente si spegnerà.
Verranno mostra poi i nuovi minu e il mer e il punto corrispondente alla zona coura lampeggerà.
30
6
- Premere il tasto per la selezione della zona coura, il mer corrispondente sarà mostrato nell'indicatore del mer.
Linee guida per la coura

Fare aenzione, mentre si frigge, ad olio e grasso bollente che potrebbero schizzare velocemente, in parcolare se si sta usando la potenza boost. A temperature estremamente alte
l'olio e il grasso possono inammarsi spontaneamente con un alto rischio di incendio.
Suggerimen per la coura
- Quando il cibo arriva a ebollizione, ridurre la temperatura.
- Usando un coperchio si riducono i tempi di coura e si preserva energia traenendo il calore.
- Minimizzare la quantà di acqua e grassi per ridurre i tempi di coura.
- Iniziare a cucinare con temperature elevate e ridurre in seguito quando il cibo si è scaldato adeguatamente.
Ebollizione, cuocere il riso
- L'ebollizione si verifica intorno agli 85°C, quando le bolle salgono verso la supercie dell'acqua di coura. E' la chiave per deliziose zuppe e teneri stufa perché i sapori si sviluppano senza scuocere il cibo. E' anche possibile cucinare salse dense e a base di uova.
- Alcune ricee, con riso e secondo il metodo di assorbimento, potrebbero richiedere impostazioni di temperatura più alte rispeo alla più bassa impostata per garanre che il cibo sia coo nel tempo suggerito.
Bistecche
Per cucinare bistecche succose e saporite:
- Lasciare la carne a temperatura ambiente per circa 20 minu prima della coura.
- Riscaldare una pentola per friggere.
- Spennellare entrambi i la della bistecca con dell'olio.
Versare un poco d'olio all'interno della padella e adagiare lentamente la bistecca. - Girare la bistecca una sola volta durante la coura. Il tempo di coura esao dipenderà dallo spessore della bistecca e da come la si vuole cucinare. Il tempo di coura può variare dai 2 agli 8 minu per parte, Premere la bistecca per vericare quanto sia coa – più sarà soda più sarà coa.
- Lasciare riposare la bistecca su un piao caldo per qualche minuto anché si possa ammorbidire prima di essere servita.
Soriggere
- Scegliere una pentola adaa o una pentola larga per friggere.
- Preparare gli ingredien e tuo il necessario. Soriggere è veloce, se si cucinano grandi quantà, friggere il cibo a diverse dosi.
- Preriscaldare la pentola velocemente e aggiungere due cucchiai d'olio.
- Cucinare prima la carne, meerla poi da parte al caldo.
- Soriggere le verdure. Quando sono calde ma ancora croccan, impostare la zona coura ad una temperatura più bassa. Rimeere la carne nella pentola e aggiungere la salsa.
- Mescolare lentamente gli ingredien per assicurarsi che siano abbastanza co.
- Servire immediatamente.
Impostazioni di coura
Le impostazioni seguen sono solo linee guida. Le impostazioni esae dipendono da diversi faori, comprese le pentole e ciò che si deve cucinare. E' necessario provare il piano a induzione per trovare le impostazioni più adae.
| Impostazioni coura | Convenienza |
| 1-2 | Coura lenta per piccole quantà di ciboSciogliere cioccolato, buo e cibi similiEbollizione lentaRiscaldamento lento |
| 3-5 | RiscaldareEbollizione rapidaCuocere il riso |
| 6-11 | Pancakes |
| 12-14 | RosolareCuocere la pasta |
| 15/P | SoriggereScoareZuppeEbollizione dell'acqua |
Manutenzione e pulizia
Le impostazioni seguen sono solo linee guida. Le impostazioni esae dipendono da diversi faori, comprese le pentole e ciò che si deve cucinare. E' necessario provare il piano a induzione per trovare le impostazioni più adae.
| Cosa? | Come? | Importante! |
| Sporco sul vetro (impronte, segni, residui di cibo.) | 1. Staccare la corrente2. Applicare un detergente per fornelli quando il piano è ancora caldo (non rovente!)3. Risciacquare e asciugare con un panno pulito4. Ricollegare la corrente al piano | · Quando la corrente è staccata, non ci sono indicazioni sulla temperatura del piano ma le zone coura potrebbero essere ancora roven! Fare aenzione.· Spugne troppo rigide, in nylon e detergen abrasivi, possono rovinare il vetro. Leggere sempre l'echea per controllare che le vostre spugne e detergen siano ada.· Mai lasciare residui di pulizia sul piano: il vetro potrebbe macchiarsi. |
| Surriscaldamento, fuoriuscite di sostanze zuccherine | Rimuovere immediatamente con palee o accessori ada ai piani ad induzione, facendo aenzione alla supercie rovente:1. Staccare la corrente2. Impugnare la palea o l’utensile ad un angolo di 30° e spostare i residui in una zona più fredda del piano.3. Pulire la supercie con uno straccio o un pezzo di carta.4. Seguire da punto 2 a punto 4 per la pulizia giornaliera del piano. | · Rimuovere le macchie il prima possibile. Se lasciate sul piano potrebbero diventare dicile da rimuovere e danneggiare il vetro.· Pericolo di taglio: quando la copertura del piano è fuori posto, fareaenzione e riporre con cura fuori dalla portata dei bambini. |
| Sporco sui comandi touch | 1. Staccare la corrente.2. Pulire le macchie3. Pulire i comandi con una spugna umida o uno straccio.4. Pulire e asciugare completamente l’area con un pezzo di carta da cucina.5. Ricollegare la corrente al piano. | • Il piano suona nel caso ci siano liquidi sulla supercie e i comandi touch potrebbero non funzionare. Assicurarsi di aver asciugato i comandi prima di riaccendere il piano. |
Problemi e suggerimen
| Problema | Possibili cause | Cosa fare |
| Il piano non si accende. | Non c'è corrente. | Assicurarsi che il piano sia collegato alla presa della corrente e che sia acceso.Controllare che non ci sia un black-out in casa o nella vostra zona.Se avete controllato tuo e il problema persiste, contaare un tecnico qualicato. |
| I comandi touch non rispondono. | I comandi sono blocca. | Sbloccare i comandi. Si veda la sezione 'Usare il piano a induzione' per istruzioni. |
| I comandi funzionano male. | Potrebbe esserci dell'acqua sui comandi o non vengono ulizza i polpastrelli delle dita. | Assicurarsi che l'area dei comandi sia asciua e ulizzare i polpastrelli per digitare. |
| Vetro graato. | Pentole con bordi taglien.Ulizzo di spugne o detergen non ada. | Usare pentole con base e bordi smussa. Si veda la sezione 'scegliere le pentole adae'.Si veda 'Manutenzione e pulizia'. |
| Alcune pentole fanno rumori schioccan. | Questo può dipendere dalla struura della pentola (stra diversi di metallo che vibrano diversamente) | E' normale per le pentole e non rappresenta un difeo. |
| Il piano a induzione fa un debole ronzio se ulizzato ad alte temperature. | Questo dipende dalla tecnologia ad induzione | E' normale ma il rumore tende a diminuire abbassando la temperatura. |
| Rumore di ventola proveniente dal piano a induzione. | La ventola di rareddamento all'interno del piano serve per evitare che le par eleriche si surriscaldino. La ventola connua a funzionare anche dopo aver spento il piano. | E' normale e non necessita di nessun intervento. Non staccare la corrente mentre la ventola è in funzione |
| Le pentole non si scaldano e non compare sul display. | Il piano non riconosce la pentola perché non adaa alla coura ad induzione.Il piano non riconosce la pentola perché troppo piccola o non centrata esaamente nella zona coura. | Usare pentole adae alla coura ad induzione. Si veda la sezione 'scegliete le pentole adae'.Centrate la pentola e assicurarsi che la dimensione sia adeguata alla zona coura. |
| Il piano o una zona coura si spengono da soli, un segnale e un codice di errore compaiono sul display (spesso alterna ad una o due cifre sul display del mer). | Problema tecnico | Per favore annotare il le leere e i numeri di errore, staccare la corrente dal piano e contaare un tecnico qualicato. |
Difeo del display e Ispezione
Se si presenta una anomalia, il piano a induzione entrerà automacamente in uno stato di protezione e il display mostrerà i relavi codici di protezione.
| Problemi | Possibili cause | Cosa fare |
| F1-F6 | Difeo nel sensore della temperatura | Contaare il fornitore |
| F9-FA | Difeo nel sensore della temperatura del IGBT | Contaare il fornitore |
| FC | La connessione tra il display e la scheda madre è fallita | Contaare il fornitore |
| E1/E2 | Voltaggio della corrente anomalo | Assicurarsi che il voltaggio sia normale. Riaccendere dopo aver controllato. |
| E3/E4 | Il sensore della temperatura del piano in vetroceramica è troppo alto | Riaccendere dopo che il piano si è rareddato |
| E5 | Il sensore della temperatura del IGTB è troppo alto | Riaccendere dopo che il piano si è rareddato |
Quelli sopra sono giudizi e ispezioni di problemi comuni.
Per favore, non smontare il piano personalmente al ne di riparare danni o malfunzionamen del piano.
Speciche tecniche
| Piano coura | HIFS430B |
| Zone coura | 4 zone |
| Voltaggio corrente | 220-240V ~ |
| Potenza elerica installata | 7200W |
| Dimensioni prodoo (mm) | 590x520x60 |
| Dimensioni incasso (mm) | 560x490 |
Pesi e misure sono approssimate. Ci sforziamo sempre di migliorare i nostri prodo, per questo movo speciche e design potrebbero cambiare senza previo avviso.
Istallazione
Selezione dell'arezzatura per l'installazione
Ritagliare la supercie di lavoro secondo le misure mostrate nell'illustrazione. Devono essere garan 5 cm di spazio intorno al foro a scopo di installazione ed uso.
Assicurarsi che lo spessore della supercie di lavoro sia di almeno 30 mm. Scegliere una supercie di lavoro resistente al calore al ne di evitare deformazioni. Come mostrato di seguito:

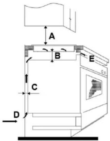
In qualunque circostanza, assicurarsi che il piano coura a induzione sia ben venlato e che l'aria entri ed esca senza ostruzioni. Garanre al piano una correa funzione. Come mostrato di seguito:

Nota: la distanza di sicurezza tra il piano e la cappa sovrastante deve essere di almeno 760 mm.

text_image
A B E C D
Prima di installare il piano, assicurarsi che:
- La supercie di lavoro sia in squadra e a livello, e che non vi siano elemen struurali che interferiscano con lo spazio richiesto.
- La supercie di lavoro sia di un materiale resistente al calore.
- Se il piano viene installato sopra un forno, il forno deve avere una ventola di rareddamento.
- L'installazione soddis tu i requisi e gli standard riches.
- Sia incorporato, montato e posizionato un interruore permanente, per scollegare completamente il piano dalla corrente, al ne di soddisfare le regole e le regolazioni di cablaggio locali.
L'interruore deve essere di un po approvato e provvisto di uno spazio di 3 mm su entrambi i poli. - L'interruore deve essere di facile accesso per il consumatore.
- Rivolgersi alle autorità locali per qualsiasi dubbio riguardante l'installazione.
- Utilizzare riniture resisten al calore e facili da pulire per ricoprire la supercie intorno al piano.
Una volta installato il piano, assicurarsi che:
- Il cavo elerico non è accessibile araverso i casse.
- C'è un adeguato usso d'aria fresca dall'esterno del mobile alla base del piano.
- Se il piano è installato sopra un casseo o una credenza, vi sia una barriera termoproteva al di soo del piano.
- L'interruore di isolamento sia di facile accesso da parte del consumatore.
Prima di individuare le stae di ssaggio
L'unità deve essere appoggiata su una supercie morbida e stabile (usare la confezione). No fare forza sui comandi che sporgono dal piano.
Regolare le stae di ssaggio
Fissare il piano alla supercie di lavoro avvitando le 4 vi (si veda la gura) dopo l'installazione.
Regolare la posizione delle stae per adaarle allo spessore del tavolo.

-
Il piao del piano deve essere installato da personale qualicato o tecnici. Non eeuare l'operazione personalmente.
-
Il piano non dovrà essere installato sopra a lavastoviglie, frigoriferi, congelatori, lavabiancheria o asciugatrici in quanto l'umidità potrebbe danneggiare le par eleroniche.
-
Il piano deve essere installato in modo che venga garanta la migliore ecacia e adabilità.
-
La parete e la zona sovrastante il piano devono resistere al calore.
-
Al ne di evitare qualsiasi danno, lo strato isolante e l'adesivo ulizza devono essere resisten al calore.
Collegare il piano alla corrente elerica

Questo piano deve essere collegato alla rete principale solamente da una persona qualicata.
Prima di collegare il piano alla rete elerica, assicurarsi che:
- Il voltaggio della rete domesca sia adao alla potenza assorbita dal piano.
- Il voltaggio corrisponda ai valori segnala sulla targhea.
- Le sezioni del cavo elerico resistano alla potenza specificata sulla targhea.
Per collegare il piano alla rete elerica principale, non ulizzare adaatori, riduzioni o altri disposivi che possano provocare surriscaldamento o incendio. Il cavo di alimentazione non deve toccare nessuna parte calda e deve essere posizionato in modo che non superi i 75°C.

Controllare con un elericista se la rete domesca è adaa senza interven. Qualsiasi intervento alla rete deve essere eeuato da una persona qualicata.
Il cavo di alimentazione deve essere collegato in conformità ai relavi standard. Il metodo di collegamento è mostrato soo.
| Tensione | Cablaggio | ||
| 380-415V 3N~ | ![]() | ![]() | ![]() |
| MarroneNero Blu Giallo/verde | |||
| 220-240V~ | ![]() | ![]() | ![]() |
| Nero | Blu Giallo/verde | Marrone e | |
- Se il cavo è danneggiato o deve essere sostuito, l'operazione deve essere eeuata da un agente post-vendita con arezzi adegua ad evitare qualsiasi incidente.
- Se il dispositivo deve essere collegato direamente alla rete principale, deve essere installato un interruore omnipolare con un'apertura massima di 3 mm tra i conta.
- L'installatore deve garanre un collegamento elerico correo e in conformità con le norme di sicurezza.
- Il cavo non deve essere piegato o schiacciato.
- Il cavo deve essere controllato periodicamente e sostuito solo da tecnici autorizza.

DISPOSIZIONI: non disporre questo prodoo tra i riu urbani indierenzia. E' necessaria la raccolta dierenziata per traamen speciali.
Questo dispositivo è echeato in conformità con la direva europea 20 2/19/ EU sui riu ed arezzature eleroniche (WEEE). E' necessario garanre un correo smalmento del dispositivo per prevenire qualsiasi danno all'ambiente e alla salute della persona che può essere altresì causato da uno smalmento scorreo.
Il simbolo sul prodoo indica che non deve essere traato come un qualsiasi riuto domesco. Deve essere portato in un punto di raccolta per il riciclaggio delle par eleriche.
Questo prodoo richiede uno smalmento specico. Per ulteriori informazioni riguardo i traamen, contaare il proprio comune di residenza o il punto vendita dove è stato acquistato il prodoo.
Per informazioni più deagliate riguardo il traamento, la conservazione ed il riciclaggio di questo prodoo, contaare il proprio comune di residenza, il servizio smalmento riu del propria zona o il punto vendita dove è stato acquistato il prodoo.
ManualeFacile





