HIFS430B - Herd HOOVER - Kostenlose Bedienungsanleitung
Finden Sie kostenlos die Bedienungsanleitung des Geräts HIFS430B HOOVER als PDF.
| Technische Merkmale | HOOVER HIFS430B Herd, Typ: elektrisch, Umluftofen, 4 Glaskeramik-Kochfelder. |
|---|---|
| Abmessungen | Breite: 60 cm, Höhe: 85 cm, Tiefe: 60 cm. |
| Ofenkapazität | Kapazität: 65 Liter. |
| Leistung der Kochfelder | Vorderes linkes Kochfeld: 2000 W, Vorderes rechtes Kochfeld: 1500 W, Hinteres linkes Kochfeld: 1000 W, Hinteres rechtes Kochfeld: 2000 W. |
| Ofenfunktionen | Umluft, Grill, Innenbeleuchtung. |
| Bedienung | Einfache Bedienung mit mechanischen Reglern, Temperaturanzeige. |
| Wartung | Leichte Reinigung dank Glaskeramikoberfläche, Pyrolyse-Selbstreinigung des Ofens. |
| Sicherheit | Kindersicherung, Überhitzungsschutz. |
| Energieverbrauch | Energieklasse: A. |
| Allgemeine Informationen | Farbe: schwarz, Gewicht: 50 kg, Garantie: 2 Jahre. |
Häufig gestellte Fragen - HIFS430B HOOVER
Benutzerfragen zu HIFS430B HOOVER
0 Frage zu diesem Gerät. Beantworten Sie die, die Sie kennen, oder stellen Sie Ihre eigene.
Eine neue Frage zu diesem Gerät stellen
Laden Sie die Anleitung für Ihr Herd kostenlos im PDF-Format! Finden Sie Ihr Handbuch HIFS430B - HOOVER und nehmen Sie Ihr elektronisches Gerät wieder in die Hand. Auf dieser Seite sind alle Dokumente veröffentlicht, die für die Verwendung Ihres Geräts notwendig sind. HIFS430B von der Marke HOOVER.
BEDIENUNGSANLEITUNG HIFS430B HOOVER
GEBRAUCHS- UND INSTALLATIONSANLEITUNG DE
| A(mm) | B(mm) | C(mm) | D | E |
| 760 | 50 mini | 20 mini | Air intake | Air exit min.5mm |
| A(mm) | B(mm) | C(mm) | D | E |
| 760 | 50 mini | 20 mini | Air intake | Air exit min.5mm |
Ihre Sicherheit ist uns wichtig. Bitte lesen Sie diese Informationen, bevor Sie Ihr Kochfeld benutzen.
Installation
Gefahr von Stromschlägen
- Trennen Sie das Gerät von der Stromversorgung, bevor Sie Arbeiten oder Wartung an dem Gerät vornehmen.
- Der Anschluss an ein gutes Erdungssystem ist lebenswichtig und zwingend vorgeschrieben.
- Änderungen am Hausstromnetz dürfen nur von einem qualifizierten Elektroinstallateur durchgeführt werden.
• Die Nichtbeachtung dieser Anweisung kann Stromschlag oder Tod zur Folge haben.
Gefahr durch Schneiden
• Vorsicht - Kanten des Geräts sind scharf.
- Nichtbeachten von Vorsichtsmaßnahmen kann zu Verletzungen oder Schnittwunden führen.
Wichtige Sicherheitsanweisungen
- Lesen Sie diese Anweisungen sorgfältig durch, bevor Sie das Gerät installieren oder verwenden.
- Legen Sie niemals brennbare Stoffe oder Gegenstände auf diesem Gerät ab.
- Bitte stellen Sie diese Informationen der Person, die für die Installation Ihres Geräts zuständig ist, zur
Verfügung, dadurch können Installationskosten gespart werden.
- Um Gefahren zu vermeiden, muss dieses Gerät entsprechend den vorliegenden Installationsanweisungen installiert werden.
- Dieses Gerät sollte nur von einer entsprechend qualifizierten Person ordnungsgemäß installiert und geerdet werden.
- Dieses Gerät sollte an ein Stromnetz mit einem Trennschalter angeschlossen werden, der eine vollständige Abschaltung von der Stromversorgung gewährleistet.
- Die nicht ordnungsgemäß e Installation des Geräts kann zu Verlust von Garantie- und Haftungsansprüchen führen.
Betrieb und Wartung
Gefahr von Stromschlägen
- Kochen Sie nicht auf einem gebrochenen oder geplatzten Kochfeld. Sollte die Kochfeldoberfläche brechen oder platzen, schalten Sie das Gerät sofort von der Hauptstromversorgung (Wandschalter) ab und kontaktieren Sie einen qualifizierten Techniker.
- Schalten Sie das Kochfeld an der Wand aus, bevor Sie Reinigungs- oder Wartungsarbeiten durchführen.
• Die Nichtbeachtung dieser Anweisung kann Stromschlag oder Tod zur Folge haben.
Gesundheitsrisiko
- Dieses Gerät entspricht den elektromagnetischen Sicherheitsstandards.
- Jedoch müssen Personen mit Herzschrittmachern oder anderen elektrischen Implantaten (wie z.B. Insulinpumpe) vor der Benutzung dieses Geräts ihren Arzt oder den Hersteller ihres Implantats um Rat fragen, um zu gewährleisten, dass ihre Implantate nicht vom elektromagnetischen Feld beeinträchtigt werden.
- Die Nichtbeachtung dieses Hinweises kann den Tod zur Folge haben.
Gefahr durch heiße Oberflächen
- Während der Benutzung können berührbare Teile dieses Geräts ausreichend heiß werden, um Verbrennungen hervorzurufen.
- Lassen Sie Ihren Körper, Ihre Kleidung oder andere Gegenstände, mit Ausnahme von geeignetem Kochgeschirr, nicht mit der Glasoberfläche des Induktionskochfeldes in Berührung kommen, bis die Oberfläche abgekühlt ist.
- Vorsicht: Magnetisierbare Metallgegenstände, die am Körper getragen werden, können in der Nähe des Kochfeldes heiß werden. Gold- und Silberschmuck ist davon nicht betroffen.
- Kinder fernhalten.
- Griffe von Kochtöpfen können beim Anfassen heiß sein.
Stellen Sie sicher, dass Griffe von Kochöpfen andere Kochzonen, die eingeschaltet sind, nicht überlagern. Halten Sie Griffe außerhalb der Reichweite von Kindern.
- Nichtbeachten dieses Hinweises kann zu Verbrennungen und Verbrühungen führen.
Gefahr durch Schneiden
- Die messerscharfe Klinge eines Glasschabers ist ungeschützt, wenn die Schutzhülle entfernt wurde. Benutzen Sie ihn mit äußerster Sorgfalt und bewahren Sie ihn sicher und außerhalb der Reichweite von Kindern auf.
- Nichtbeachten von Vorsichtsmaßnahmen kann zu Verletzungen oder Schnittwunden führen.
Wichtige Sicherheitsanweisungen
- Lassen Sie das Gerät nicht unbeaufsichtigt, wenn es gerade in Betrieb ist. Überkochen verursacht rauchende und fettige Spritzer, die sich entzünden können.
- Benutzen Sie Ihr Gerät niemals als Arbeitsfläche oder Ablage.
- Lassen Sie niemals Gegenstände oder Utensilien auf dem Gerät liegen.
- Platzieren oder lassen Sie keine magnetisierbaren Gegenstände (z.B. Kreditkarten, Speicherkarten) oder elektronischen Geräte (z.B. Computer, MP3-Player) in
der Nähe des Geräts liegen, da diese von seinem elektromagnetischen Feld beeinträchtigt werden könnten.
- Verwenden Sie Ihr Gerät niemals zum Wärmen oder Heizen von Räumen.
- Schalten Sie nach der Benutzung die Kochzone und das Kochfeld wie in dieser Anleitung beschrieben aus (d.h. über die Bedienelemente). Verlassen Sie sich nicht auf die Topferkennung, um die Kochfelder abzuschalten, wenn Sie Töpfe entfernen.
- Erlauben Sie Kindern nicht mit dem Gerät zu spielen, darauf zu sitzen, zu stehen oder auf das Gerät zu klettern.
- Verstauen Sie keine Gegenstände, für die sich Kinder interessieren könnten, in Schränken über dem Gerät. Kinder, die auf das Kochfeld klettern, könnten schwer verletzt werden.
- Lassen Sie Kinder nicht allein oder unbeaufsichtigt in Räumen, wo das Gerät in Betrieb ist.
- Kinder oder Personen mit einer Behinderung, die ihre Fähigkeiten zur Bedienung des Geräts mindert, sollten von einer verantwortlichen und kompetenten Person in der Bedienung des Geräts unterwiesen werden. Die unterweisende Person sollte sichergehen, dass sie das Gerät ohne Gefahr für sich selbst oder ihre Mitmenschen bedienen können.
- Versuchen Sie nicht, Teile des Geräts zu reparieren oder zu ersetzen, wenn es in der Anweisung nicht ausdrücklich empfohlen wird. Alle anderen
Wartungsarbeiten sollten von einem qualifizierten Techniker durchgeführt werden.
- Verwenden Sie keinen Dampfreiniger für die Reinigung des Kochfeldes.
- Stellen Sie keine Gegenstände auf dem Kochfeld ab und lassen Sie nichts auf das Kochfeld fallen.
- Stellen Sie sich nicht auf die Kochfläche.
- Verwenden Sie keine Töpfe mit rauen Kanten und schleifen Sie Töpfe nicht über die Glasoberfläche des Induktionskochfeldes, da Kratzer auf dem Glas entstehen können.
- Verwenden Sie keine Scheuermittel oder andere aggressive Reinigungsmittel für die Reinigung Ihres Kochfeldes, da diese die Glasoberfläche des Induktionskochfeldes verkratzen könnten.
- Wenn das Netzkabel beschädigt ist, darf es nur von einem qualifizierten Techniker ausgetauscht werden.
- Dieses Gerät ist nur für den privaten Gebrauch bestimmt.
- Dieses Gerät kann von Kindern ab 8 Jahren und Personen mit eingeschränkten körperlichen, sensorischen oder geistigen Fähigkeiten oder mangelnder Erfahrung und mangelndem Wissen benutzt werden, wenn diese in die sichere Bedienung des Geräts eingewiesen wurden oder beaufsichtigt werden. Kinder sollten mit dem Gerät nicht spielen. Reinigung und Pflege darf nicht von Kindern ohne Aufsicht erfolgen.
- WARNUNG: Unbeaufsichtigtes Kochen mit Fett oder Öl auf dem Kochfeld kann gefährlich sein und zu einem Brand führen. Löschen Sie ein Feuer NIEMALS mit Wasser, sondern schalten Sie das Gerät aus und decken die Flammen dann ab, z. B. mit einem Deckel oder einer Löschdecke.
- Metallische Gegenstände wie Messer, Gabeln, Löffel und Deckel sollten nicht auf der Kochfeldoberfläche abgelegt werden, da sie heiß werden können.
- Schalten Sie das Kochfeld nach der Verwendung mittels der Bedienelemente aus und verlassen Sie sich nicht auf die Topferkennung.
- Das Gerät ist nicht dazu bestimmt, über einen externen Timer oder eine gesonderte Fernsteuerung betrieben zu werden.
Herzlichen Glückwunsch zum Kauf Ihres neuen Induktionskochfeldes.
Bitte nehmen Sie sich etwas Zeit, um diese Gebrauchs- und Installationsanleitung zu lesen, und sich mit der korrekten Installationsweise und Bedienung vertraut zu machen.
Für die Installation lesen Sie bitte den Abschnitt Installation.
Lesen Sie alle Sicherheitsanweisungen sorgfältig durch, bevor Sie das Gerät benutzen und bewahren Sie diese
Gebrauchs- und Installationsanleitung zum späteren Nachschlagen auf.
Produktü bersicht
Ansicht von oben

text_image
1 5 2 3 6 4 7 8- Leistungsstufen / Timer Slider-Touch-Bedienung
- Kochzonen Auswahlsteuerungen
- Sperrfunktion
- EIN/AUS-Steuerung
- Warmhalte-Steuerung
- Booster-Steuerung
- Timer-Steuerung
Ein Wort zum Induktionskochen
Induktionskochen ist eine sichere, moderne, effiziente und kostengünstige Kochtechnologie. Durch elektromagnetische Schwingungen wird die Wärme direkt im Topf erzeugt und nicht indirekt über die Erhitzung der Glasfläche. Das Glas wird nur deshalb heiß, weil sie vom Topf oder der Pfanne erwärmt wird.

Bevor Sie Ihr neues Induktionskochfeld benutzen
- Lesen Sie diese Anleitung, achten Sie insbesondere auf den Abschnitt „Sicherheitshinweise“.
- Entfernen Sie die Schutzfolie, die möglicherweise noch auf dem Induktionskochfeld angebracht ist.
Verwenden der Touch-Bedienungen
• Die Bedienelemente sind berührungsempfindlich, d.h. Sie brauchen keinen Druck anzuwenden.
- Benutzen Sie die Fingerballen, nicht die Fingerspitze.
- Bei jeder registrierten Berührung ertönt ein Signalton.
- Achten Sie darauf, dass die Bedienelemente immer sauber und trocken sind und dass sie nicht durch Gegenstände (z.B. Kochgeschirr oder Kleidung) verdeckt werden. Selbst ein dünner Wasserfilm kann die Bedienung der Touch-Elemente erschweren.

Auswahl des richtigen Kochgeschirrs

- Verwenden Sie ausschließlich Kochgeschirr mit einem für das Induktionskochen geeigneten Boden. Achten Sie auf das Induktionssymbol auf der
Verpackung oder am Boden des Topfes oder der Pfanne.

- Ob ein Topf für das Kochen mit Induktion geeignet ist, können Sie auch mit dem so genannten Magnettest herausfinden. Halten Sie einen Magneten an den Topfboden. Wird der Magnet angezogen, ist der Topf oder die Pfanne für die Induktion geeignet.
- Wenn Sie keinen Magneten haben:
- Geben Sie etwas Wasser in den Topf oder die Pfanne, die Sie prüfen wollen.
- Folgen Sie den Schritten im Abschnitt „Mit dem Kochen starten“.
- Wenn die Anzeige nicht blinkt und das Wasser erwärmt wird, ist der Topf oder Pfanne geeignet.
- Kochgeschirr aus folgenden Materialien ist nicht geeignet: reiner Edelstahl, Aluminium oder Kupfer ohne Magnetboden, Glas, Holz, Porzellan, Keramik und Steingut.
Benutzen Sie kein Kochgeschirr mit scharfen Kanten oder gekrümmtem Boden.

Stellen Sie sicher, dass der Topf- oder Pfannenboden glatt ist, flach auf dem Glas aufliegt und genau so groß wie die Kochzone ist. Verwenden Sie Töpfe mit einem Durchmesser, der genau so groß ist, wie die Zeichnung auf der ausgewählten Kochzone. Bei Verwendung eines etwas breiteren Topfes wird die Energie mit maximaler Effizienz genutzt. Wenn Sie einen kleineren Topf verwenden, kann die Energieeffizienz geringer als erwartet sein. Töpfe mit weniger als 140 mm Durchmesser können vom Kochfeld unter Umständen nicht erkannt werden. Stellen Sie den Topf oder die Pfanne immer in die Mitte der Kochzone.

Heben Sie die Töpfe immer vom Induktionskochfeld ab - schleifen Sie Töpfe nicht, da Kratzer auf dem Glas entstehen können.

Die Kochzonen werden bis zu einer Obergrenze automatisch dem Topfdurchmesser angepasst. Der Topfboden muss jedoch einen Mindestdurchmesser haben, der dem der entsprechenden Kochzone entspricht. Um die maximale Effizienz des Kochfeldes zu erzielen, platzieren Sie den Topf in die Mitte der Kochzone.
| Kochzone | Der Bodendurchmesser von Induktionskochgeschirr | |
| Minimum (mm) | Maximum (mm) | |
| 1,2,3,4 | 140 | 220 |
| Flexible Zone | 220 | 220x400 |
Kochen mit dem Induktionskochfeld
1. Berühren Sie die AIN/AUS-Steuerung ①
Nach dem Einschalten des Geräts ertönt ein einmaliger Signalton, die Timer-Steuerung zeigt “ ☑ ”, die Kochzonen-
Auswahlsteuerung zeigt "oder" oder", und weist darauf hin, dass das Induktionskochfeld in den Stand-by-Modus geschaltet wurde.

- Stellen Sie einen geeigneten Topf oder Pfanne auf die Kochzone, die Sie verwenden möchten.
- Stellen Sie sicher, dass der Topf- oder Pfannenboden und die Oberfläche der Kochzone sauber und trocken sind.

- Bei Berührung der Kochzonen-Auswahlsteuerung blinkt die Anzeige für die ausgewählte Kochzone auf.

text_image
0 0- Passen Sie die Temperatureinstellung durch Berühren der Slider-Steuerung an.
- Wenn Sie innerhalb von 1 Minute keine Temperatureinstellung auswählen, wird das Induktionskochfeld automatisch ausgeschaltet. Sie müssen wieder mit Schritt 1 beginnen.

text_image
POWER DOWN POWER UPWenn die Anzeige abwechselnd mit der Temperatureinstellung blinkt

Das bedeutet:
- Sie haben den Topf oder die Pfanne nicht richtig auf die Kochzone gestellt oder
- Der verwendete Topf oder Pfanne ist nicht für das Induktionskochen geeignet oder
- Der Topf oder die Pfanne ist zu klein oder nicht richtig auf der Kochzone zentriert.
Es findet kein Aufheizen statt, bis ein geeigneter Topf oder Pfanne auf der Kochzone erkannt wird.
Die Anzeige schaltet sich nach 1 Minute automatisch aus, wenn kein geeigneter Topf oder Pfanne aufgestellt wird.
Wenn Sie mit dem Kochen fertig sind
-
Berühren Sie die Kochzonen-Auswahlsteuerung, um die gewünschte Kochzone auszuschalten
-
Schalten Sie die Kochzone aus, indem Sie den Regler an der linken Seite berühren. Stellen Sie sicher, dass

text_image
IS D
- Schalten Sie das ganze Kochfläche durch Berühren der EIN/AUS-Steuerung aus.

- Warnung vor heiß er Oberfläche
H weist darauf hin, welche Kochzone zu heiß zum Anfassen ist. Das Symbol verschwindet, wenn die Oberfläche auf eine sichere Temperatur abgekühlt ist. Es kann auch als Energiesparfunktion eingesetzt werden. Verwenden Sie die noch heiß e Kochplatte, um zusätzliche Töpfe oder Pfannen aufzuheizen.

Verwendung der Boost-Funktion
Aktivierung der Boost-Funktion
- Durch Berühren der Kochzonen-Auswahlsteuerung

- Bei Berühren der Booster-Steuerung Leistungsstufe erreicht.
B wird auf dem Zonen-Anzeiger "b" angezeigt und es wird die max.

text_image
B → bLöschen der Boost-Funktion
- Berühren der Kochzonen-Auswahlsteuerung um die Boost-Funktion aufzuheben

text_image
b c- a: Bei Berühren der Booster-Steuerung "B", die Kochzone wird in ihre ursprüngliche Einstellung zurückgeschaltet.
b: Bei Berühren der Slider-Steuerung, die Kochzone wird auf die ausgewählte Stufe geschaltet.

text_image
B OD
• Die Funktion kann für alle Kochzonen eingesetzt werden
• Die Kochzone wird nach 5 Minuten auf ihre ursprüngliche Einstellung zurückgeschaltet.
- Wenn Sie eine Kochzone auf Boost stellen, wird die andere automatisch auf eine niedrigere Stufe (unter Stufe 2) begrenzt.
- Wenn die ursprüngliche Temperatureinstellung gleich b ist, wird sie nach 5 Minuten auf 15 zurückgeschaltet
Verwendung der Warmhalte-Funktion
Aktivierung der Warmhalte-Funktion
- Berühren der Kochzonen-Auswahlsteuerung

text_image
10 10- Bei Berühren der Warmhalte-Steuerung 📁, auf dem Zonen-Anzeiger wird “ | ” angezeigt.

Löschen der Warmhalte-Funktion Annuler la fonction de conservation au chaud
- Berühren der Kochzonen-Auswahlsteuerung

- a: Bei Berühren der Slider-Steuerung, die Kochzone wird auf die ausgewählte Stufe geschaltet.

b: Bei Berühren der Funktions-Steuerung wie B, die Kochzone wird auf die zuvor ausgewählte Stufe geschaltet.
FLEXIBLER BEREICH
- Dieser Bereich kann jederzeit als Einzelzone oder als zwei verschiedene Zonen genutzt werden, in Übereinstimmung mit Ihren Kochbedürfnissen.
- Der flexible Bereich besteht aus zwei unabhängigen Induktoren, die getrennt bedient werden können. Beim Einsatz als Einzelzone, wird ein Kochgeschirr innerhalb des flexiblen Bereichs von einer Zone zur anderen verschoben, ohne die Temperaturstufe der Zone, in der sich das Kochgeschirr ursprünglich befand, zu ändern. Der Teil, der nicht vom Kochgeschirr abgedeckt wird, wird automatisch ausgeschaltet.
- Wichtig: Stellen Sie sicher, dass das Kochgeschirr auf der Einzelkochzone zentriert ist. Bei großen Töpfen oder Pfannen mit ovaler oder rechteckiger Form und bei Töpfen oder Pfannen mit einer gestreckten Gestalt, muss sichergestellt werden, dass diese auf die Kochzone zentriert werden und beide Querschnitte abdecken.
Beispiele für richtig platzierte und falsch platzierte Töpfe oder Pfannen.

- Um den flexiblen Bereich als einzelne große Zone zu aktivieren, drücken Sie einfach die
entsprechenden Bedienelemente.

text_image
0- Die Einstellung der Leistungsstufe funktioniert wie in allen anderen normalen Bereichen.
- Wenn der Topf oder Pfanne von vorn nach hinten verschoben wird (oder umgekehrt), erkennt der flexible Bereich automatisch die neue Position, und behält die gleiche Leistungsstufe bei.
- Um einen weiteren Topf oder Pfanne hinzuzustellen, drücken Sie erneut die entsprechenden Bedienelemente für die Erkennung des Kochgeschirrs.
Als zwei unabhängige Zonen
Um den flexiblen Bereich als zwei verschiedene Zonen mit verschiedenen Leistungsstufen zu nutzen, drücken Sie die entsprechenden Bedienelemente.

text_image
ORTastensperre
- Sie können die Bedienelemente sperren, um eine unbeabsichtigte Verwendung zu verhindern (z.B. Kinder, die versehentlich die Kochzonen einschalten).
- Wenn die Bedienelemente gesperrt sind, sind alle Steuerungen mit Ausnahme der EIN/AUS-Steuerung deaktiviert.
So werden die Bedienelemente gesperrt
Berühren Sie die Tastensperre ☑ Auf der Timer-Anzeige wird der Schriftzug "Loc" angezeigt
So wird die Tastensperre für die Bedienelemente aufgehoben
- Berühren Sie die Tastensperre 📋 und halten Sie sie eine Weile gedrückt.
- Sie können jetzt beginnen, Ihr Induktionskochfeld zu benutzen.

Wenn das Kochfeld im Sperrmodus ist, sind alle Bedienelemente mit Ausnahme der ON/OFF-S ① teuerung gesperrt. Sie können das Induktionskochfeld mit der ON/OFF ② Steuerung jederzeit in den Not-Aus schalten. Sie sollten aber das Kochfeld im nächsten Schritt zuerst entsperren.
Übertemperaturschutz
Ein integrierter Temperatursensor kann die Temperatur im Induktionskochfeld überwachen. Wenn eine übermäßige Temperatur gemessen wird, stoppt das Induktionskochfeld automatisch den Betrieb.
Erkennung von kleinen Gegenständen
Wenn eine ungeeignete Größe oder ein nicht magnetischer Topf (z.B. aus Aluminium) oder andere kleine Gegenstände (z.B. Messer, Gabel, Schlüssel) auf dem Kochfeld liegen gelassen wurden, schaltet die Zone nach 1 Minute automatisch in Standby. Der Lüfter kühlt die Temperatur des Induktionskochfeldes für eine weitere Minute ab.
Automatischer Übertemperaturschutz
Die automatische Abschaltung ist eine Sicherheitsfunktion für das Induktionskochfeld. Das Kochfeld schaltet sich automatisch ab, wenn Sie jemals vergessen sollten, die Kochzone nach dem Kochen auszuschalten. Die Standard-Betriebszeiten für verschiedene Leistungsstufen werden in der Tabelle unten dargestellt:
| Leistungsstufe | Warmhalte- | 1~5 | 6~10 | 11~14 | 15 |
| Standardbetrieb Timer (Stunde) | 2 | 8 | 4 | 2 | 1 |
Wenn der Topf entfernt wird, kann das Induktionskochfeld die Heizfunktion sofort stoppen und das Kochfeld schaltet sich nach 2 Minuten automatisch ab.

Personen mit Herzschrittmachern sollten vor der Benutzung dieses Geräts ihren Arzt um Rat fragen.
Verwendung der Timer-Funktion
Sie können den Timer auf zwei verschiedene Arten verwenden:
- Sie können ihn als Minute-Minder verwenden. In diesem Fall schaltet der Timer nach Ablauf der eingestellten Zeit die jeweilige Kochzone aus.
- Sie können ihn verwenden, um Kochzonen nach Ablauf der eingestellten Zeit auszuschalten.
- Sie können den Timer auf bis zu 99 Minuten einstellen.
Verwendung des Timers als Minute-Minder Wenn Sie keine Kochzone auswählen
- Stellen Sie sicher, dass die Kochfläche eingeschaltet ist.
Hinweis: Sie können den Minute-Minder auch benutzen, wenn Sie keine Kochzone ausgewählt haben.
- Berühren Sie die Timer-Steuerung, auf der
Timer-Anzeige wird für die berührten Flächen "0 : 10" angezeigt, und die "0" blinkt.

text_image
0:1:0- Stellen Sie die Zeit durch Berühren der Slider-Steuerung ein. (z.B. 6)

text_image
16 | | | | | | | | | | | | | | | | | | | | | | | | | | | | | | | | | | | | | | | | | | | | | | | | | | | | | | | | | | | | | | | | | | | | | | | | | | | | | | | | | | | | | | | 16- Berühren Sie wieder die Timer-Steuerung, diesmal blinkt die „1“.

text_image
0:16- Stellen Sie durch Berühren der Slider-Steuerung (z.B. 9) die Zeit ein. Jetzt beträgt die eingestellte Timerzeit 56 Minuten.
0:56

- Der Summer ertönt für 30 Sekunden und auf der Timer-Anzeige wird "0:00" angezeigt, wenn die eingestellte Zeit abgelaufen ist.
0:00
Einstellung des Timers zum Ausschalten der Kochzone
Wenn der Timer auf eine Zone eingestellt ist:
- Berühren Sie die Kochzonen-Auswahlsteuerung für die Kochzone, für die Sie den Timer einstellen möchten.
- Berühren Sie die Timer-Steuerung, auf der Timer-Anzeige wird "0:10" angezeigt, und die "0" blinkt.
- Stellen Sie die Zeit durch Berühren der Slider-Steuerung ein. (z.B. 6)

text_image
16 | | | | | | | | | | | | | | | | | | | | | | | | | | | | | | | | | | | | | | | | | | | | | | | | | | | | | | | | | | | | | | | | | | | | | | | | | | | | | | | 16- Berühren Sie wieder die Timer-Steuerung, jetzt blinkt die „1“.

text_image
0:16- Stellen Sie durch Berühren der Slider-Steuerung (z.B. 9) die Zeit ein. Jetzt beträgt die eingestellte Timerzeit 56 Minuten.

text_image
0:56- Sobald die Zeit eingestellt wurde, beginnt die Rückwärtszählung. Auf der Anzeige wird die Restzeit angezeigt und die Timer-Anzeige blinkt 5 Sekunden lang auf.
HINWEIS: Der rote Punkt neben der Leistungsstufen-Anzeige leuchtet auf und zeigt an, dass die Zone

- Wenn der Koch-Timer abgelaufen ist, wird die entsprechende Kochzone automatisch ausgeschaltet.


Andere Kochzonen setzen den Betrieb fort, wenn sie nicht schon vorher ausgeschaltet wurden.
Wenn der Timer auf mehr als eine Zone eingestellt wird:
- Wenn Sie den Timer für mehrere Kochzonen gleichzeitig einstellen, werden die Dezimal-Punkte der entsprechenden Kochzonen eingeschaltet. Die Minutenanzeige zeigt den Minuten-Timer. Der Punkt für die entsprechende Zone blinkt.
15
3
6.
(Einstellung auf 15 Minuten) (Einstellung auf 45 Minuten)
- Nach Ablauf der Zeitschaltung wird die entsprechende Zone ausgeschaltet. Dann wird der neue Minuten-Timer angezeigt und der Punkt für die entsprechende Zone beginnt zu blinken.
30
6
- Berühren Sie die Kochzonen-Auswahlsteuerung, der Timer für die entsprechende Heizzone wird in der Timer-Anzeige angezeigt.
Kochleitfaden

Vorsicht beim Frittieren, Öl und Fett werden sehr schnell erhitzt, insbesondere bei Verwendung der PowerBoost-Funktion. Bei extrem hohen Temperaturen werden Öl und Fett spontan entzündet, was eine ernsthafte Brandgefahr darstellt.
Kochtipps
- Wenn das Essen aufkocht, die Temperatur runterschalten.
- Durch Verwendung eines Deckels wird die Garzeit reduziert und durch Bewahrung der Wärme Energie gespart.
- Reduzieren Sie die Menge an Flüssigkeit oder Fett auf ein Minimum, um die Garzeiten zu verringern.
- Starten Sie das Kochen bei einer hohen Temperatur und schalten Sie die Temperatur runter, wenn das Essen erwärmt wurde.
Auf kleiner Flamme kochen, Garen von Reis
- Ein schonendes Köcheln findet unter dem Siedepunkt statt, bei etwa 85 °C, wenn die ersten Blasen gelegentlich an die Oberfläche der Kochflüssigkeit steigen. Hierin liegt das Geheimnis für köstliche Suppen und Eintöpfe, weil sich das Aroma ohne zu verkochen entfalten kann. Sie sollten Gerichte auf Eierbasis und mit Mehl eingedickte Saucen unter dem Siedepunkt zubereiten.
- Einige Aufgaben, wie das Garen von Reis durch Absorption, erfordern möglicherweise eine Temperatur, die über der niedrigsten Stufe liegt, um sicherzustellen, dass das Essen in der empfohlenen Zeit richtig gegart wird.
Schnell angebratenes Steak
Um ein saftiges schmackhaftes Steak zuzubereiten:
- Das Fleisch etwa 20 Minuten vor der Zubereitung bei Raumtemperatur ruhen lassen.
- Eine Bratpfanne mit dickem Boden erhitzen.
- Beide Seiten des Steaks mit Öl bestreichen. Eine kleine Menge Öl in die heiße Pfanne geben und dann das Fleisch auf die heiße Pfanne legen.
- Das Steak nur einmal während des Garens wenden. Die exakte Garzeit ist von der Dicke des Steaks und von der gewünschten Garung abhängig. Die Zeit variiert zwischen 2 und 8 Minuten pro Seite. Pressen Sie auf das Steak, um die Garstufe festzustellen - je härter es ist, umso „durchgebratener“ ist es.
- Lassen Sie das Steak ein paar Minuten auf einer warmen Platte ruhen, damit es vor dem Servieren schön zart wird.
Für Rührbraten
- Wählen Sie eine kompatible Wok-Pfanne mit flachem Boden oder eine große Bratpfanne.
- Bereiten Sie alle Zutaten und das notwendige Kochgeschirr vor. Das Anbraten sollte schnell gehen. Wenn Sie große Mengen zubereiten, garen Sie das Essen in mehreren kleineren Portionen.
- Heizen Sie die Pfanne kurz vor und fügen Sie zwei Esslöffel Öl hinzu.
- Garen Sie zuerst das Fleisch, legen Sie es beiseite und halten Sie es warm.
- Braten Sie dann das Gemüse an. Wenn es heiß und noch knackig ist, schalten Sie die Kochzone auf eine niedrigere Stufe, legen Sie das Fleisch wieder in die Pfanne und fügen Sie Ihre Sauce hinzu.
- Rühren Sie die Zutaten vorsichtig durch, um sicherzustellen, dass sie alle erwärmt werden.
- Sofort servieren.
Temperatureinstellungen
Die Einstellungen unten sind nur Richtwerte. Die exakte Einstellung ist von verschiedenen Faktoren abhängig, wie dem Kochgeschirr und der Menge von Lebensmitteln, die zubereitet werden sollen. Experimentieren Sie mit dem Induktionskochfeld, um die für Sie am besten geeigneten Einstellungen herauszufinden.
| Temperatureinstellung | Eignung |
| 1 - 2 | Sanfte Erwärmung für kleine Mengen von LebensmittelnSchmelzen von Schokolade, Butter und Lebensmitteln die schnell anbrennenSchonendes KöchelnLangsames Erwärmen |
| 3 - 5 | AufwärmenSchnelles KöchelnReis kochen |
| 6 - 11 | Pfannkuchen / Pancakes |
| 12- 14 | SautierenPasta /Teigwaren kochen |
| 15/P | RührbratenAnbratenSuppe zum Kochen bringenWasser kochen |
Pflege und Reinigung
Die Einstellungen unten sind nur Richtwerte. Die exakte Einstellung ist von verschiedenen Faktoren abhängig, wie dem Kochgeschirr und der Menge von Lebensmitteln, die zubereitet werden sollen. Experimentieren Sie mit dem Kochfeld, um die für Sie am besten geeigneten Einstellungen herauszufinden.
| Was? | Wie? | Wichtig! |
| Alltägliche Verschmutzungen auf dem Glas (Fingerabdrücke, Streifen, Flecken von Lebensmitteln oder übergeschwappte nicht zuckerhaltige Flüssigkeiten auf dem Glas) | Den Netzschalter auf dem Kochfeld ausschalten.Einen Kochfeld-Reiniger auftragen, wenn das Glas noch warm ist (aber nicht heiß !)Mit einem sauberen Lappen oder Papiertuch abspülen und trockenwischen.Den Netzschalter auf dem Kochfeld wieder einschalten. | Wenn die Stromversorgung auf dem Kochfeld ausgeschaltet ist, gibt es keine Anzeige für „heiße Oberfläche“, aber die Kochzone kann trotzdem heiß sein! Seien Sie besonders vorsichtig. Scharfe Scheuerschwämme, Nylon-Scheuerschwämme und raue/abrasive Reinigungsmittel können das Glas zerkratzen. Lesen Sie immer das Etikett, um zu prüfen, ob der Reiniger oder Scheuerschwamm für das Kochfeld geeignet ist.Lassen Sie niemals Reinigungsrückstände auf dem Kochfeld zurück: das Glas kann dadurch Flecken bekommen. |
| Übergeschwapptes, Geschmolzenes und heiß e zuckerhaltige Flüssigkeiten auf dem Glas | Mit einem Pfannenwender, Spachtel oder Rasierklinge für Induktionskochfelder aus Glas sofort entfernen. Achten Sie dabei immer auf heiß e Kochzonen-Oberflächen: Den Netzschalter für die Kochfläche an der Wand ausschalten.2. Die Klinge oder das Utensil in einem 30^ -Winkel festhalten und die Verschmutzung oder das übergeschwappte Essen abkratzen und in einen kühlen Bereich der Kochfläche verschieben.Die Verschmutzung oder das übergeschwappte Essen mit einem Geschirrtuch oder Papiertuch reinigen.4. Befolgen Sie die Schritte 2 bis 4 oben, für die „alltäglichen Verschmutzungen auf dem Glas“. | Entfernen Sie die Flecken, die durch das Schmelzen oder die zuckerhaltigen oder übergeschwappten Lebensmittel entstehen, so schnell wie möglich.Wenn sie auf dem Glas abkühlen, kann es schwerer sein, sie zu entfernen oder die Glasoberfläche kann dauerhaft beschädigt werden.Gefahr durch Schneiden: wenn die Schutzhülle entfernt wird, ist die Klinge eines Glasschabers messerscharf.Benutzen Sie ihn mit äuß erster Sorgfalt und bewahren Sie ihn sicher und auß erhalb der Reichweite von Kindern auf. |
| Überschwappen auf die Touch-Bedienungen | Den Netzschalter auf dem Kochfeld ausschalten.2. Die übergeschwappte Flüssigkeit aufnehmenDas Touch-Bedienfeld mit einem sauberen feuchten Schwamm oder Tuch abwischen.4. Den Bereich mit einem Papiertuch vollständig trocken wischen.Den Netzschalter auf dem Kochfeld wieder einschalten. | Das Kochfeld kann einen Piepton erzeugen und sich selbst abschalten, die Touch-Bedienungen können funktionsuntüchtig sein, solange sich Flüssigkeit darauf befindet. Stellen Sie sicher, dass das Touch-Bedienfeld trocken gewischt wurde, bevor Sie das Kochfeld wieder einschalten. |
Hinweise und Tipps
| Problem | Mögliche Ursachen | Was zu tun ist |
| Das Induktionskochfeld kann nicht eingeschaltet werden. | Kein Strom. | Stellen Sie sicher, dass das Induktionskochfeld an der Stromversorgung angeschlossen und eingeschaltet ist. Überprüfen Sie, ob ein Stromausfall in Ihrem Haus oder Wohnbereich vorliegt. Wenn Sie alles überprüft haben und das Problem weiterhin besteht, wenden Sie sich an einen qualifizierten Techniker. |
| Die Touch-Bedienungen sprechen nicht an. | Die Bedienungen sind gesperrt. | Die Tastensperre der Bedienelemente aufheben. Siehe Abschnitt „Verwendung des Induktionskochfeldes“ für Anweisungen. |
| Die Touch-Bedienungen sind schwer zu bedienen. | Es kann ein dünner Wasserfilm über den Bedienelementen liegen, oder Sie benutzen die Fingerspitzen, um die Bedienelemente zu berühren. | Stellen Sie sicher, dass das Touch-Bedienfeld trocken ist und verwenden Sie den Fingerball, wenn die die Bedienelemente berühren. |
| Das Glas wurde zerkratzt. | Kochgeschirr mit rauen Kanten. Ungeeigneter, abrasiver Scheuerschwamm oder Reinigungsprodukte wurden verwendet. | Verwenden Sie Kochgeschirr mit flachen und glatten Böden. Siehe „Auswahl des richtigen Kochgeschirrs“. Siehe „Pflege und Reinigung“. |
| Einige Töpfe knistern oder knacken. | Dies kann durch die Herstellungsweise Ihres Kochgeschirrs bedingt sein (Lagen aus unterschiedlichen Metallen, die unterschiedlich vibrieren). | Das ist normal für Kochgeschirr und deutet nicht auf einen Fehler hin. |
| Das Induktionskochfeld macht ein leises, brummendes Geräusch, wenn es bei hohen Temperaturen verwendet wird. | Dies wird durch die Induktionskochtechnologie verursacht. | Das ist normal, aber das Geräusch sollte leiser werden oder komplett aufhören, wenn Sie die Temperatur senken. |
| Lüftergeräusche vom Induktionskochfeld. | Ein Lüfter im Induktionskochfeld wurde eingeschaltet, um die Elektronik vor Überhitzung zu schützen. Der Lüfter kann auch dann weiter laufen, wenn das Induktionskochfeld ausgeschaltet wurde. | Das ist normal und erfordert keinen Eingriff. Schalten Sie das Induktionskochfeld nicht an der Wand aus, solange der Lüfter noch läuft. |
| Töpfe werden nicht heiß und auf der Anzeige wird angezeigt. | Das Induktionskochfeld kann den Topf oder Pfanne nicht erkennen, weil er nicht für das Induktionskochen geeignet ist. Das Induktionskochfeld kann den Topf oder Pfanne nicht erkennen, weil er zu klein für das Kochfeld ist oder nicht richtig darauf zentriert wurde. | Verwenden Sie geeignetes Kochgeschirr für das Induktionskochfeld. Siehe Abschnitt „Auswahl des richtigen Kochgeschirrs“. Zentrieren Sie den Topf oder Pfanne und stellen Sie sicher, dass der Boden mit der Größe der Kochzone übereinstimmt. |
| Das Induktionskochfeld oder die Kochzone hat sich selbst unerwartet ausgeschaltet, ein Signalton ertönt und ein Fehlercode wird angezeigt (in der Regel abwechselnd mit einer oder zwei Ziffern auf der Koch-Timer-Anzeige). | Technische Störung. | Bitte notieren Sie die Buchstaben und Zahlen des Fehlers, schalten Sie das Induktionskochfeld an der Wand aus und kontaktieren Sie einen qualifizierten Techniker. |
Ausfallanzeige und Inspektion
Wenn eine Störung auftritt, schaltet das Induktionskochfeld automatisch in den Schutz-Modus und zeigt die entsprechenden Schutzcodes an:
| Problem | Mögliche Ursachen | Was zu tun ist |
| F1-F6 | Temperatursensor defekt | Bitte kontaktieren Sie den Hersteller. |
| F9-FA | IGBT-Temperatursensor defekt. | Bitte kontaktieren Sie den Hersteller. |
| FC | Die Verbindung zwischen Anzeigeplatine und Hauptplatine ist ausgefallen. | Bitte kontaktieren Sie den Hersteller. |
| E1/E2 | Anormale Versorgungsspannung | Bitte überprüfen Sie, ob die Stromversorgung normal ist.Einschalten, wenn die Stromversorgung normal ist. |
| E3/E4 | Temperatursensor der Keramikglasplatte ist zu hoch | Bitte neu starten, nachdem das Induktionskochfeld abgekühlt ist. |
| E5 | IGBT-Temperatursensor zu hoch. | Bitte neu starten, nachdem das Induktionskochfeld abgekühlt ist. |
Die beschriebenen Punkte sind die Beurteilung und Inspektion üblicher Fehler. Bitte zerlegen Sie das Gerät nicht selbst, um Gefahren und Schäden am Induktionskochfeld zu vermeiden.
Technische Merkmale
| Kochfeld | HIFS430B |
| Kochzonen | 4 Kochzonen |
| Versorgungsspannung | 220-240V~ |
| Installierte elektrische Leistung | 7200W |
| Produktgröße e T× B× H(mm) | 590X520X60 |
| Einbaugröße e A× B (mm) | 560X490 |
Gewicht und Abmessungen sind ungefähre Angaben. Wir sind ständig bemüht, unsere Produkte zu verbessern, sodass Spezifikationen und Gestaltung ohne vorherige Ankündigung geändert werden können.
Installation
Auswahl der Installationsausrüstung
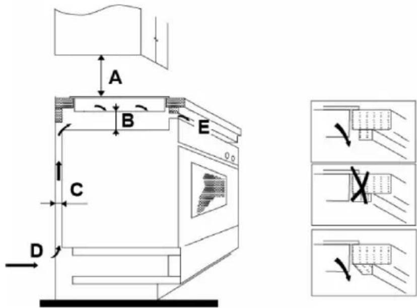
Schneiden Sie die Arbeitsfläche nach den in der Zeichnung angegebenen Maßen aus. Für Installations- und Anwendungszwecke sollten um das Loch herum mindestens 5 cm Platz gelassen werden.
Stellen Sie sicher, dass die Dicke der Arbeitsfläche mindestens 30mm beträgt. Bitte wählen Sie eine Arbeitsfläche aus hitzebeständigem Material, um größere Verformungen durch Hitzestrahlung von den heißen Platten zu vermeiden. Wie unten dargestellt:

Stellen Sie sicher, dass das Induktionskochfeld in jedem Fall gut belüftet wird und dass der Lufteintritt und -austritt nicht behindert werden. Stellen Sie sicher, dass das Induktionskochfeld in einem guten Betriebszustand ist. Wie unten dargestellt

Anmerkung: Der Sicherheitsabstand zwischen der Kochplatte und dem darüber liegenden Schrank sollte mindestens 760mm betragen.

Bevor Sie das Kochfeld installieren, stellen Sie sicher, dass
- die Arbeitsfläche rechtwinklig und eben ausgerichtet ist, und dass keine strukturellen Bauteile den Platzbedarf einschränken
- die Arbeitsfläche aus hitzebeständigem Material besteht
- wenn das Kochfeld über einem Backofen installiert wird, der Backofen mit einem eingebauten Lüfter ausgestattet ist
- die Installation mit allen Abstandsanforderungen und anwendbaren Normen und Vorschriften übereinstimmt
- ein geeigneter Trennschalter mit vollständiger Trennung vom Stromnetz in der Festverdrahtung integriert ist, in Übereinstimmung mit den lokalen Regeln und Vorschriften über die Montage und Positionierung der Verdrahtung.
Der Trennschalter muss von einem zugelassenen Typ sein und einen Luftspalt von 3 mm als Kontaktabstand an allen Polen (oder an allen aktiven [Phasen] Leitern, wenn die lokalen Verdrahtungsregeln hierfür eine Variante der Anforderungen vorsehen) gewährleisten.
- Der Trennschalter ist für den Benutzer mit installiertem Kochfeld leicht zugänglich.
- Wenden Sie sich an die lokalen Baubehörden und konsultieren Sie die geltenden Gesetzesvorschriften, wenn Sie Zweifel bezüglich der Installation haben.
- Verwenden Sie hitzebeständige und leicht zu reinigende Oberflächen (wie Keramikfliesen) für die Wandoberflächen um das Kochfeld herum.
Nachdem Sie das Kochfeld installiert haben, stellen Sie sicher, dass
- das Stromversorgungskabel nicht durch Schranktüren oder Schubladen zugänglich ist.
- eine ausreichende Frischluftzufuhr von außerhalb der Schränke zur Basis des Kochfeldes vorhanden ist.
- wenn das Kochfeld über einer Schublade oder einem Schrankraum installiert ist, ein Hitzeschutz unterhalb der Basis des Kochfeldes installiert wurde
- der Trennschalter für den Benutzer leicht zugänglich ist.
Bevor die Befestigungsbügel positioniert werden
Die Einheit sollte auf einer stabilen, glatten Oberfläche (verwenden Sie die Verpackung) aufgestellt werden. Wenden Sie keine Kraft auf die Bedienelemente des Kochfeldes an.
Ausrichtung der Position der Halterung
Fixieren Sie das Kochfeld nach der Installation auf der Arbeitsfläche mit 4 angeschraubten Halterungen am Boden (siehe
Abbildung).
Passen Sie die Position der Halterungen den unterschiedlichen Plattendicken an.

- Die Induktionskochplatte muss von qualifiziertem Personal oder Technikern installiert werden. Bitte führen Sie den Vorgang nie selbst aus.
- Das Kochfeld darf nicht direkt über einem Geschirrspüler, Kühlschrank, Gefrierschrank, Waschmaschine oder Wäschetrockner installiert werden, da die Feuchtigkeit die Elektronik des Kochfeldes beschädigen kann.
- Die Induktionskochplatte sollte so installiert werden, dass eine bessere Hitzestrahlung gewährleistet und die Zuverlässigkeit verbessert werden kann.
- Die Wand und die induzierte Heizzone über der Tischoberfläche sollten hitzebeständig sein.
- Um Schäden zu vermeiden, müssen die Sandwich-Ebene und der Klebstoff hitzebeständig sein.
Anschließen des Kochfeldes an das Stromnetz
Dieses Kochfeld darf nur von einer entsprechend qualifizierten Person an das Stromnetz angeschlossen werden. Bevor Sie das Kochfeld an das Stromnetz anschließen, überprüfen Sie dass:
- das Hausstromnetz für die Leistungsaufnahme des Kochfeldes geeignet ist.
- die Spannung mit dem Wert auf dem Typenschild übereinstimmt
- der Querschnitt des Stromkabels für die auf dem Typenschild angegebene Last geeignet ist.
Verwenden Sie keine Adapter, Reduzierstücke oder Verzweigungseinrichtungen, um das Kochfeld an das Stromnetz anzuschließen, dies kann zu Überhitzung und Brand führen.
Das Stromkabel darf nicht mit heißen Teilen in Berührung kommen und muss so positioniert werden, dass seine Temperatur an keiner Stelle auf über 75°C ansteigen kann.


Überprüfen Sie mit einem Elektroinstallateur, ob das Hausstromnetz ohne Änderungen geeignet ist. Änderungen dürfen nur von einem qualifizierten Elektroinstallateur vorgenommen werden.
Die Stromversorgung sollte in Übereinstimmung mit der einschlägigen Norm oder mit einem 1-poligen Leistungsschalter angeschlossen werden. Die Anschlussmethode wird unten dargestellt.
| Spannung | Drahtverbindung | ||
| 380-415V 3N~ | ![]() | ![]() | ![]() |
| BraunSchwarzBlauGelb/Grün | |||
| 220-240V~ | ![]() | ![]() | ![]() |
| BlauGelb/GrünBraun&Sc | |||
BlauGelb/GrünBraun&Schwarz
- Wenn das Kabel beschädigt ist oder ersetzt werden muss, müssen die Arbeiten von einem Kundendienst-Vertreter mit den entsprechenden Werkzeugen durchgeführt werden, um mögliche Unfälle zu vermeiden.
- Wenn das Gerät direkt an das Stromnetz angeschlossen wurde, muss ein allpoliger Leistungsschalter installiert werden, mit einer Mindestöffnung von 3 mm zwischen den Kontakten.
- Der Installateur muss sicherstellen, dass der Stromanschluss korrekt hergestellt wurde und den Sicherheitsvorschriften entspricht.
- Das Netzkabel darf nicht geknickt oder gequetscht werden.
- Das Netzkabel ist regelmäßig zu kontrollieren und darf nur von zugelassenem Servicepersonal ausgewechselt werden.

ENTSORGUNG: Entsorgen Sie dieses Produkt nicht als unsortierten Hausmüll. Diese Art von Abfall muss getrennt gesammelt und einer besonderen Abfallbehandlung unterzogen werden.
Dieses Elektrohaushaltsgerät ist in Einklang mit der EU-Richtlinie 201219UE über Elektro- und Elektronik-Altgeräte (WEEE) gekennzeichnet. Indem Sie sicherstellen, dass dieses Gerät ordnungsgemäß entsorgt wird, helfen Sie, mögliche Schäden für die Umwelt und die menschliche Gesundheit zu vermeiden, die andernfalls verursacht werden, wenn es auf eine falsche Art und Weise entsorgt wird.
Das Symbol auf dem Produkt weist darauf hin, dass es nicht als Hausmüll behandelt werden darf. Stattdessen sollte es zu einer entsprechenden Sammelstelle für das Recycling von elektrischen und elektronischen Geräten gebracht werden.
Dieses Gerät muss durch spezialisierte Betriebe entsorgt werden. Für weitere Informationen über die Behandlung, Wiederverwertung und das Recycling dieses Produkts wenden Sie sich bitte an Ihre örtlich zuständige Behörde, Ihr Müllabfuhrunternehmen oder an das Geschäft, in dem Sie das Produkt erworben haben.
| A(mm)B | (mm)C(mm)DE | |||
| 760 | 50 mini | 20 mini | Air intake | Air exit min.5mm |
EinfachAnleitung





