HG04392B - Záhradný stôl FLORABEST - Bezplatný návod na obsluhu
Nájdite návod k zariadeniu zdarma HG04392B FLORABEST vo formáte PDF.
Stiahnite si návod pre váš Záhradný stôl vo formáte PDF zadarmo! Nájdite svoj návod HG04392B - FLORABEST a vezmite svoje elektronické zariadenie späť do rúk. Na tejto stránke sú zverejnené všetky dokumenty potrebné na používanie vášho zariadenia. HG04392B značky FLORABEST.
NÁVOD NA OBSLUHU HG04392B FLORABEST
Vytriahnutie stolovej dosky. Strana 44
Cistenie a udrzba Strana 45
Skladovanie Strana 45
Likvidácia Strana 45
Zaruka Strana 46
Hliníkový záhradný stôl
Uvod
Blahoželáme Vám ku kúpe Vásho nového vyrobku. Kúpou ste sa rozhodli pre vysoko kvalitné produkt. Pred prým uvedením do prevádzky sa oboznámte s vyrobkom. Za týmto Účelom si pozorne precîtajte nasledujúci námod na obsluhu a bezpečnostné pokyny. Vyrobok použí vajte iba v sulade s popisom a v uvedenych oblastiach používania. Tento námod uschovajte na bezpeč-nom mieste. Ak vyrobok odovzdáte d'alšej osobe, prilozte k nemu aj vsetky podklady.
- Použivanie v sulade s určeným učelom
Vyrobok je vhodný pre sukromnu oblast'. Vyrobok nie je urcený na komercné učely. Vyrobok bol vyrobený pre sukromné obytné oblasti.
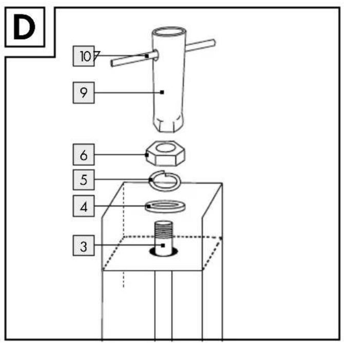
- Obsah dodávky/ Popiscesti
1 1xstolová doska
la Zavitovy otvor
1b Tlacidlo
1c Bočná vyfahovacia doska
1d Stredná vyfahovacia doska
1e Nastavovacie flačidlo
2 4x noha stola
2a Diera
3 4xtyc
4 4x podložka
5 4 x uzatvaraci prstenec
6 4 x Mathematica
7 3 x uzáver pre nohu
8 1 x vyškovo nastavitel'ny uzáver pre nohu
9 1 x šrobovacie náradie
9a Diera
10 1 x rukovaf náradia
Bezpečnostné upozornenia
TENTO NÁVOD SI DOBRE USCHOVAJTE! AK VÍROBOK ODOVZDÁTE DALSEJ OSOBE, PRILOZTE K NEMU AJ VŠEKY PODKLADY.

VAROVANIE! NEBEZPECENSTVO
OHROZENIA ZIVOTA ANBEZPECENSTVO URAZUPRE MALI STARsIE DETI!
Nikdy nenechávajte deti bez dozoru s obalovým materiaíom. Hroží nebezpečenstvo zadusenia.
Odporucame montaz vo dvojici, aby ste predisi poraneniam alebo poskodeniam vyrobku.
YAROVANIE!
daná skladani vyrobku budte opatrný, aby ste predisci poraneniam/privretiu prstov.
Pred každým použitím vyrobok skontrolujte ohl'adom poskodení alebo opotrebovania. Vyrobok používajte, iba ak je v bezchybnom stave. Vyrobok nepoužívajte, ak vidîte alebo predpokladáte akékol'vek poskodenia.
Pred použivanim skontrolujte správnu stabilitu vyrobku.
Pred použivanim postavte vyrobok na rovný, pevný podklad, inak može byt' nestabilné a prevalit'sa nabok. Može to viest' k poraneniam alebo k vzniku vecnych skod.

Neprekracujtemaximalu za'azitel'nosf 25 kg.
Prekrocenie hmotnostnej hranice moze viest' k poraneniam a/ alebo k vzniku vecnych skod.
Zabezpečte, aby sa osoby, najmă deti, nemohli na vyrobok postavit' alebo sa nan šplhat. Vyrobok by sa mohol prevrátit'.
Na vyrobok si nikdy nasadajte ani nestavajte.
Dbajte na to,aby sa Vase ruky nedostali do sklapacieho zaria-denia,aby ste predisli poraneniam.
Pri Rozkladani dbajte na to, aby vyklapaci mechanizmus správne zapadol predtým, ako budete vyrobok používat.
Dbajte na to, aby bol vyrobok pred použivaním úplne olvorený.
Vyrobok nie je hračka a mal by byt' použivaný iba pod dozorom dospelej osoby.
Vyrobok nie je urceny na lezenie alebo na hranie.
Pri extremnych poveternostnych podmienkach, napr. pri silnom vetre, zaistite vyrobok.
Vyrobok nepoužívajte v blízkosti otvoreného ohna.
NEBEZPECENSTVO VZNIKU VECNHYCH
POSKODENI! Nerucime za nehody, ktoré sa vyskytnu v dôsledku nerešpek-tovania vyšie uvedenych bezpečnostnéch po-kynov alebo nasprávnj manipulácie.
- Montáž
- Položte stolovú dosku¹ na mäkký, plochý podklad. Spodná strana musí pritom ukazováť nahor.
Poznámka: Tvrdé podklady možu poškrabat stolovú dosku.
- Prisrobuite styri tyce 3 do zavitovych otvorov 1a stolovej dosky 1 (obr. B).
- Nastavte výskovo nastavitel'ny uzáver nohy 8 tak, aby stôl stav bezpečne a stabilne (obr. F).
Vytyahnutiestolovej dosky
- Otočte stredné vyfahovaciu dosku [1d], ktorá sa nachadza pod stolovým rámom (obr. l).
Poznámka: Ak je to potrebné, zatlacte obe vyf'ahovacie dosky na strednu vyf'ahovaciu dosku, aby ste mali rovny povrch. - Stlache nestavovace tlacidlo 1e, až kým počutel'ne nezapadne (obr. H). Zasunte vyfahovacie dosky 1c 1d dokopy.
Prezasunutie stola dokopy postupujte nasledovne:
1.Stlactetlaclidlo 1b na spodnej strane stolovej dosky (obr. G).
2. Mierne vytiahnite bočné vyfahovacie dosky od seba. Raz otočte stredné vyfahovaciu dosku okolo vlastnej osi a opaţ'juzasunte pod stolový rám (obr. H).
3. Dbajte na to, aby ste zaistili umelohmotnu kridlovu skrutku (obr. H).
4. Opat'zasunte vytahovacie dosky 1c dokopy.
5. Stlacte nastavovacie tlacidlo1e, až kym poctel'ne nezapadne (obr. J).
- Cistenie a udrzba
Vyrobok Čistite vlhkou handric-kou a jemným Čistiacim prostriedkom.
Skôr, ako vyrobok znovu zabalite, nechajte vsetky diely dobre oschnúf. Tym zabrànite tvorbe plesne, neprijemnych zapachov a zafarbení.
- Skladovanie
Vyrobok skladujte vchranenej, suchej miestnosti. Suchy a cisty vyrobok skladujte vzdy pri izbovej teplote.
Likvidácia
Obal pozostava z ekologickych materiakov, ktoré możete odovzdat na miestnych recyklacnych zbernych miestach.
O moznostiach likvidacia opotrebovaného vyrobku sa možete informovat' na Vasej obecnej alebo mestskej správe.
Záruka
Tento vyrobok bol dokladne vyro-beny podla prisnych akostnych smernic a pred dodanim svedomito testovany. V priade nedostatkov tohto vyrobku Vam prinalezia zakonne przyva voci predajcovi produktu. Tieto zakonne przyva nie su našou nizsie uvedenou zarukou obmedzené.
Na tento produkt poskytujeme 3-rocnu zaruku od datumu nakupu. Zaručná doba začina plynúť datumom kupy. Starostlivo si prosim uschovaje originányPokladničné listok. Tento doklad je potrebné akodokaz o kupe.
Ak sa v rámci 3 rokov od datumu námukpu tohto vyrobku vyskytne chyba materiálu alebo vyrobná chyba, vyrobok Vám bezplatne opravíme alebo vymeníme - podl'anašho vyberu. Tát o záruka zaniká, ak bol produkt poškodený, neodborne použivaný alebo neodborne udržiavaný.
Poskytnutie záruky sa vzt'ahuje na chyby materialu a vyrobné chyby. Tato záruka sa nevzt'ahuje na Časti produktu, ktoré su vystavené
normálneu opotrebovaniu, a preto ich je možné považovat za opotrebovatel'né diely (napr. batériè) alebo na poškodenia na Rozbitnych dieloch, napr. na spínači, akumulátorovych batériach alebo Častiach, ktoré su zhotovené zo skla.







OWIM GmbH & Co. KG
Stiftsbergstraße 1
DE-74167 Neckarsulm
GERMANY
| IAN Model | No. Version | |
| 311650 HG04392A 08/2018 | ||
| 311673 HG04392B 08/2018 | ||
Notice-Facile