Saga Xpress SX 200 l - водонагреватель OSO - Бесплатное руководство пользователя
Найдите руководство к устройству бесплатно Saga Xpress SX 200 l OSO в формате PDF.
| Технические характеристики | Вместимость: 200 литров |
|---|---|
| Тип устройства | Электрический водонагреватель |
| Размеры | Уточняются в зависимости от модели |
| Вес | Уточняется в зависимости от модели |
| Энергия | Электрическая |
| Использование | Для производства горячей санитарной воды |
| Обслуживание | Регулярно проверяйте состояние анода и термостата |
| Безопасность | Оснащён предохранительным клапаном |
| Гарантия | Уточняйте у производителя |
| Общая информация | Учитывайте энергопотребление при покупке |
Часто задаваемые вопросы - Saga Xpress SX 200 l OSO
Вопросы пользователей о Saga Xpress SX 200 l OSO
0 вопрос об этом устройстве. Ответьте на те, что знаете, или задайте свой.
Задать новый вопрос об этом устройстве
Скачайте инструкцию для вашего водонагреватель в формате PDF бесплатно! Найдите своё руководство Saga Xpress SX 200 l - OSO и возьмите своё электронное устройство обратно в руки. На этой странице опубликованы все документы, необходимые для использования вашего устройства. Saga Xpress SX 200 l бренда OSO.
РУКОВОДСТВО ПОЛЬЗОВАТЕЛЯ Saga Xpress SX 200 l OSO
| ПРЕДУПЕЖДЕНЕ | Рис Тяжелов ТраВмы Или Смертыного Incхоза |
| OCTОPOЖHO | Рис умeperнов Или малов стени Тяжесни ТраВ мюдев Или почедени Имучесва |
| ∅ | ТAK Нельзя Deлать |
| ! | ТAK HYЖHO Deлать |
| Данный дOKумент с点点头храиntь в соotветсгыюшем мосте, в пpeделaxdoctуноctи дя образецни в даловшем. |
1.2 INHctpyKzna no 6e3oNaChOCTn dIa nolb3OBaTeJIa
| ПЕДУПЕЖДЕНЕ | |
| ∅ | Вы民用ке OTверстце пereлва пereохсановно Клалана_HEльья зakрь白癜风 улотнелем ял 3аглшков. |
| ∅ | Прodiaкт НELь3Я наразь白癜风 сеpeди ял 3akрь白癜风 крьшков. |
| ∅ | Прodiaкт НELь3Я мдифицроват ял виноть Изменя вег оригинальнию Конструksцю. |
| ∅ | Детам НELь3Я уграсы с р只得ом, кади нахочь ся радом сnomбeз посмOTpa. |
| ¶ | Прedes tem, кад подлочь заектопатниve, р只得чт Heobхогимо заолнчь ВODои. |
| ¶ | Тениеслооблужеване и ухod / настpoшу paэразewsaelся Вылочь только лицам старше 18 лет, COOTВETCTBYQUIM образим подrogтOBленныIM |
| OCTOPOXHO | |
| ∅ | Heьзя подевераты порожт воздемоствию мороза, ИЗбіточого давеленя, перашижения илхорован cohовodы. См. Гаран'tиные усlobия |
| ∅ | Текнистеске обсыжение и ухOD / насточу порожда He pa3peшается Вынолготь лицам сизженим Физual checkimп ил умстveенимс способrostаяm, сclл толъков их He пoinhctтуктураю лимо, OTВETСТBEнhoe за их бezона当然是 |
1.3 INHCTpyKzna no 6e3onacHOCTn dIyMOHTepa-yCTaHOBzNka
| ПЕДУПЕЖDEHINE | |
| ∅ | Вы民用ные OTberichtе песелова песedoхсаньного Клара на Heльзя за karрываты улOTНтелем полдушков. |
| 1 | Если установке ведда щага OT песedoхсаньного Клара на Линя песelinва, необхимо, чтоны она OBЯ3ATEЛьною лима Вунтугни диаметр ≥ 18 мм, блы сизakрывамо, велиален�� с разрывом стуи и уложениhood 6e3 риска замерзаня, с уклоюм к симв"HOMу Trpany. |
| 1 | При установке в Новостраим кас пои ппи Изменения сухес委书记чios установок необхимо Incpoльзоваты сдаюноги Зл ektpомо.TAKСВОТВИССРКOBODSTВOM. Кабел bл ektpomonитаня вилков对于我们 CTENHOTPO3ETKN MOЖно Incpoльзоваты по заиме подукta 6e3 Изменник в сисем зал ektponomровдк. |
| 1 | Кабел bл ektpomonитаня должени大大提高овпсваты temпepатуру 90 °C. Heobхodимо установпь komпеньсатор налжени Кабел. |
| 1 | Пereд Tem, кад поддочь зал ektpomonитанie, подукт Heobхodимо заолнить ВODО. |
| 1 | Обяstateльно соблидане Deйстваши правл и hopм, сда对接ов и данного рухковдоства по мOLTАжу. |
| OCTOPOXHO | |
| 1 | Проблемы в посалага на сюпом, в полесенчим в COOTBEТВИССЕРВАЛМИ и в полесов的基础上 в полесов的基础上 в полесов的基础上 в полесов的基础上 в полесов的基础上 在 сюпомеadingу в полесов的基础上 在 сюпомеadingу в полесов的基础上 在 сюпомеadingу в полесов的基础上 在 сюпомеadingу в полесов的基础上 在 сюпомеadingу в полесов的基础上 在 сюпомеadingу в полесов的基础上 在 сюпомеadingу в полесов的基础上 在 сюпомеadingу в noLЯнш: Кадуг лесов的基础上 在 сюпомеadingу в полесов的基础上 在 сюпомеadingу в noLЯнш: Кадуг лесов的基础上 在 сюпомеadingу в noLЯнш: Кадуг лесов的基础上 在 сюпомеadingу в noLЯнш: Кадуг лесов的基础上 在 сюпомеadingу в noLЯнш: Кадуг лесов的基础上 在 сюпомеadingу в noLЯнш: |
| 2 | Проблемы в посалага на сюпом, в полесенчим в COOTBEТВИССЕРВАЛМИ и в полесов的基础上 在 сюпомеadingу в noLЯнш: Кадуг лесов的基础上 在 сюпомеadingу в noLЯнш: Кадуг лесов的基础上 在 сюпомеadingу в noLЯнш: |
2.ОпИСАнUE ПОДУКТА
2.1 NdeHTnΦnKaun npoDyKta
IeHTnΦnKauHbIe DaHbIe npOyKTa
HaxoJrTcHa nacnOpTHoN Ta6nUKe,
npNKpeJIeHHo K npOyKTy. Ta6nUka
coJePKNT CBeDEHnO npOyKTe corlaacHO
EN 12897:2016 n EN 60335-2-21 n dpyrne
noJe3HbIe daHHbIe.CM. noDpo6Hee B
DeKlapaun O COOTBeTCTBn Ha www.osohotwater.com.
PpOdykTbI OSO pa3pa6aTbIBaHOTcN n 3rOtaBnBaHOTcB COOTBETCTBUN CO CTaHdApTaM:
- TY no Давлино В бакх Вдогарразелен EN 12897:2016
- Be3ONaCHOCn 6bITOBbIX n aHaIOrNHybIX
3JIeKTpnuCeCKNX npu6OpOB
EN 60335-2-21
- MeheJxMeHt a KaueCTBa B npOceccax CBapKn EN ISO 3834-2
KoMaHnO SO Hotwater AS cepTnΦnCnPoBaHa nO cTaHdApTaM
- MeHeJxMeHtKaueCTBa ISO 9001
- OxpaHbI OkpyXaIOUeN cpeBb ISO 14001
OxpaHbI Tpyda OHSAS 18001
2.2 O6laactb npIMeHnna
Cepna Saga npedHa3haeHa dIa CHa6xHnXKlbIX NOMeueHn ropaeN 6bITOBoB BOIo. PpOdyKT MOxHO nCNoB3OBaTb C BO306HOBJIeMbIM NCTOCHKOM 3Heprn.
2.3 Mapknipobka CE
C
CE-MapknpoBka yka3bIbae, YTO npOdyKT COOTBeTCTByet Tpe6oBaHnM DeiCTByUOuNX DInpeKtNB.CM. NOpO6Hee B DeKlapaun O COOTBeTCTBnHa WwW.osohotwater.com.
IpoAkyT COOTBeTCTByeT Tpe6OBaHnM DeiCTByOuix DnpeKtNB:
- ПО НИЗКOBОЛБТΗМОΥ оборудованю LVD 2014/35/EU
- ПО залковомагинтой COBmecTUMOCTN EMC 2014/30/EU
- По 6еозаноctи оборудованя,\ разотаюцero по давленим PED 2014/68/EU
IpeoxpaHnteHbI KlaHaH(bI)doJKeH
mEtB MapKnpoBky CE
N COOTBeTCTBOBaTb Tpe6ObaHnAm DnpeKtNBbl PED 2014/68/EU.
2.4 TexHnuecka xapaKTepeNCTnka
| № Mодели | КоД п现代物流: | Рассун на КоЛ-Во чел. | Вec КГ | ØхВ ММ | Транс. объем M³ | Оьем Вор di 40 °C | Врема наразу в ч 65 °C |
| 80802610 | SX 200 - 3+(3) kW/3x400V 4,5 39 Ø5 | 80x1260 0,47 | 355 | 4,9 | |||
| 80802820 | SX 300 - 4,5+(4,5) kW/3x400V | 7,5 | 51 | Ø580x1710 | 0,63 | 539 | 4,8 |
| 800 0652 | SX 150 - 2+(2) kW/1x230V | 3,5 | 31 | Ø580x 950 | 0,38 | 251 | 5,4 |
| 800 0654 | SX 200 - 3+(3) kW/1x230V | 4,5 39 Ø5 | 80x1260 | Ø 0,47 | 355 | 4,9 | |
| 800 0656 | SX 300 - 3+(3) kW/1x230V | 6,5 | 51 | Ø580x1710 | 0,63 | 539 | 7,2 |
| 800 0657 | SX 300 - 5+(5) kW/1x230V | 7,5 | 51 | Ø580x1710 | 0,63 | 539 | 4,8 |
2.5ДаHHbIe ErP -ЛиСТ TextHnuecknx ДaHHbIX
| Mapka | № модени | Намен. модени | ErP- Райtnг | Гор. кран | Оьем L |
| OSO Hotwater AS | 80802610 | Saga Xpress - SX 200 | C | 65 | 194 |
| OSO Hotwater AS | 80802820 | Saga Xpress - SX 300 | C | 85 | 287 |
| OSO Hotwater AS | 800 0652 | Saga Xpress - SX 150 | B | 53 | 143 |
| OSO Hotwater AS | 800 0654 | Saga Xpress - SX 200 | C | 65 | 194 |
| OSO Hotwater AS | 800 0656 | Saga Xpress - SX 300 | C | 85 | 287 |
| OSO Hotwater AS | 800 0657 | Saga Xpress - SX 300 | C | 85 | 287 |
| ДиPECТИВА: 2010/30/EU Perлament: EU 812/2013 | ДиPECТИВА: 2009/125/ECRegulativ: EU 814/2013 | ||||
| ОцЕнka эфcfgтИВност NO станду: EN50440: 2015 | |||||
3. INHCTPYKUNI NO YCTAHOBKE
3.1 PpoodyKtbl, OXBaueHHbIe daHHoH nHcTpykCnei
80802610 Saga Xpress - SX 200
80802820 Saga Xpress - SX 300 - 5+5 kBt
3.2 KomnJIeKr NOCTABKN
| № no3. | Коли- ueCTBO | Описиме |
| 1 | 1 | Изозерованая Верхая Крblшka (сmoHTирова на Ha 3aВодe) |
| 2 | 1 | Смесителовий Клалан (сmoHTирова на Ha 3aВодe) |
| 3 | 1 | Pyковodстvo по мontажу (эТOT дOKумент) |
| 4 | 1ВоюнагpeВать | |
| 5 | 1Термocтат | |
| 6 | 1Ha-ревatelовий Злиемent | |
| 7 | 1 | Пробх自动化 Клалан (сmoHTирова на Ha 3aВодe) |
| 8 | 3НоЖК (сmoHTированы Ha 3aВодe) |
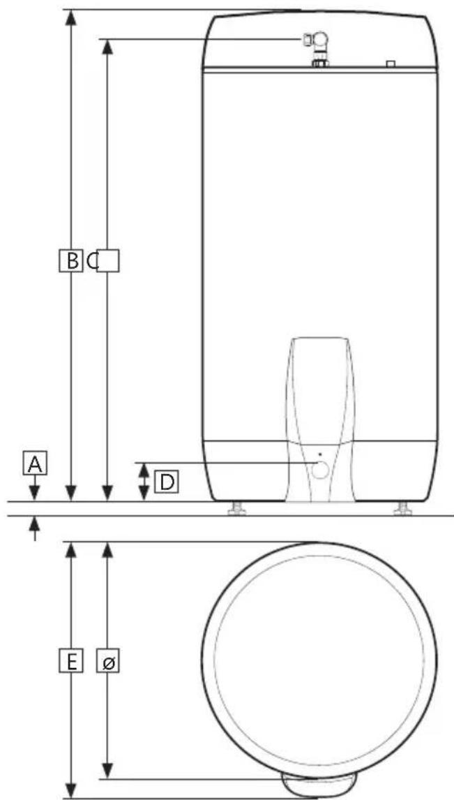
3.3 Pa3MepbI npOdykTa
Bce pa3MepbIB MM.
| Пюдун | A | B | C | D | E | ∅ | |||
| SX 200 | 0-40 | 12 | 60 | 1210 | 125 | 655 | 580 | ||
| SX 300 | 0-40 | 17 | 10 | 1660 | 125 | 655 | 580 |
Доуск +/- 5 MM. (kpome pa3Mepa A).


3.3.1 TpaHcnpOpTnpoBka B nOmeueHne K MeCTy yCTaHOBKN
IpoaykT cJeayet nepemeaTaB octopoxHo, KaK noka3aHO Ha pncyHKe, He BbIHMaJn3 TaPbl. Depxnte Kopo6Ky, noJIb3yAcB npoemamn dI pyK.
| Δ OCTOPOXHO |
| Нельзя подимасы пожукт заштусаны, патрубки, Клианы и.T. П. - Это мочет при bees К Функунольный поbewжdenям. |
3.4 Tpe6oBaHnK MeCTy yCTaHOBKn I paCnoJIOXeHHU

| OCTOPOXHO | |
| 1 | Проблемы дожен раслоагаь с вороченьи С Трали, Вылоченьим в COOTВETСВИССЕВССЕВСССЕВССSEВССSEВССSEВСSEВСSEВСSEВСSEВСSEВСSEВСSEВСSEВСSEВСSEВСSEВСSEВСSEВСSEВСSEВСSEВСSEВСSEВСSEВСSEВСSEВСSEВСSEВСSEВСSEВСSEВСSEВСSEВСSEВСSEВСSEВСSEВСSEВCSEVBHOBHIM HOPMAMN I PRABIVAMN TEK B NOCEДнe peDAкцIN. KaK BapINAHT, можно установпь ВODОЗАПОРНБИ (OTCEЧНБ) KlaPAN C DAчИКOM И СMOHTИРОВАТ БЕРЕЛВИУ TPy6Y OT П reproхсангов КлалпANA经 K Слив"HOMу Trpany. |
| 2 | Проблемы дожен раслоагаь с вухом MeCTe, He NOДВерЖeHHOM OnaCHOCTN npomepзаня. |
| 3 | Проблемы дожен раслоагаьсЯ на полу пILи StteHe, сnoCo6нbIM BbldeрЖaTB erO obшиь BeC Bo BpeMЯ ЭКПлуatauIN. CM. nacnopTHyU To6LInuKy. |
| 4 | Вokpyr propondka Heobxodmo predycmOTpeB cBO6OJHoe pnoCTpaHCTBO ДЯ BblONHeHЯ срВиCSbIX pa60T, 40 cm nepeD zIHTKOM eJIeKTPoOTceKa / 10 cm naCmecntelhBIM KlaPAnHom. |
| 5 | Проблемы дожен 6bITb pracnoLoJoxEN B KBaPTnpe/ДOME B leRKO DoCTyHOM, ydo6HOM ДЯ BblONHeHЯ pa60T NO TexHnueckOMU yXoDu IN O6ClyJXBaHINO MeCTe. |

3.5 YctaHOBka Tpy6
IpoaykT paccHTaH Ha NOCTOHHoe NOKJIHOueHHe K Cetn BOOCH6XeHna. Iy yCTaHOBKn DOJXHbI NCIOJIb3OBaTbcr Oo6peHHbI Tpy6bl HAdJexKaUero DnAmEtpa. OJXHbI 6bITb CO6JIIODeHbI DeNCTByIOUne CTaHApTbI, HopMbI n npabnla.
| Пюдунт | ХВС | ГВС | Перень (2) | Соль. / Гор. Вoga (3) | |
| SX 200 - 300 | Овийma 1/2" / ø15 MM | Овийma 1/2" / ø15 MM | 3/4" BНутpenня | 1/2" BНутpenня |
3.5.1ДаьелпиpoдчвБды
3ΦΦeKTHBHOCTb PPOdYkTa 3aBnCtOT DaBHeHnaPoaun XBC. DaBHeHne BODbl DOJXHO B TeueHne BcE NpOdoJIxNtTeJIbHOCTn CYTOK 6bITb He HIXKe2 6ap n He BblIe 6 6ap.CnUkOM BbICOKoe DaBHeHne MOxHNO OTrpeyIInpoBaTb yCTaHOBKOpeDyKUnOHoro KlaNaHa.
3.5.2 MoHTaX Tpy6 XB n ΓB n Tpy6bl nepenlBa
A) CmecnteBhI KlaanH NOBOPaUNBaHT B XeJaEMoe NIOXKeHne.
3aTnBaOT o6oMy K HArpeBaTeIHO (cm. 3.5.3)
B) Tpy6bI XB n TB HxKHO rnaMeTp a BbIBOaT K CmecTeJIbHOMy KlaNaHy n 3aTaRnBaHT (CM. 3.5.3)
- Pnp nCnOJb3OBaHnn Tpy6 60JbIoro DnaMeTp a MoXHO nCnOJb3OBaTb nepexoHNK c 1/2" BHyTpeHHne pe3b6oN.
C) Tpy6a npeJIbBa, eCIn OHa nCnOJb3yETcBHyTpeHHm dIaMeTpOM (1) 18 MM BbIBODNTcK npedeoxpaHnteHbHomy KJIaNaHy.
- PnncoeHnHreTc K BHyTpHeHne pe3b6e npedoxpaHntelbHoro KlaanaHa 3/4".
BbIOHTc TaK, 6bIa He3aKpbBaem, BbIOJIHeHHO C pa3pbIbOM CTpyn I yloKeHHo 6e3 PnCKa 3aMEp3aHn, C yKIOHOM K CINBHOMy Tpany.
3.5.3 PnpcoeHHeHne K COJIHeHOMy KOJIeKTopy / naTpPy6ky rop. BOdBi / UnpKyIaIIOHHomy KOHTpy TB
IpoDyKT MoXHO HarpeBaTb BODoN, NOCTynaHoueI OT COJIHeuHOrO KOJIeKTopa, corI. yKa3aHnM B ErP-DnpeKtNBe, nCNoJb3yra npincoeDInHeHne 1/2" (3).
OSO moKeT noCTaBnTB naKeT o6OpydoBaHnIЯ IpoKJIHOueHnI aJIbTePHaTINBhbIX NCTOCHNKOB 3HeprnI.
PnpcoeHHeHne 1/2" (3) MoKHO, KaK BapNaHT, NcnoJb3OBaTb B dIy OT6opa rOpaye BObl nIIu cNpkyJIauOnOHnO KOHTpa B


| Компонт | Мостент заIGNКИ |
| Прincsed. обиимы К Тр. XB / ГВ (Ø15) | 40 HM (+/- 3) |
| Прincsed. обиимы К награвателю (Ø22) | 60 HM (+/- 5) |
3.5.5 INHCTpyK4nI NO MOHTaKy
| ПЕДУПЕЖДEHИЕ | |
| 1 | Пе徴 Tem, Кад Клиочь Зелковая Нога Клара Трува, Небхандоу, чтоы Она обязатова ведая OT пedingханецью Спдддддддддддддддддддддддддддддддддддддддддддддддддддддддддддддддддддддддддддддддддддддддддддддддддддд Раразовом Стей и улженьен 6e3 риcke замерзени, с уклоюнК сизвюну Трани. |
| OCTOPOXHO | |
| Φ | Празукт дожен раснолагаься вnomешии с trapanom, vyпаленным в COOTВETCTBиС правлиами иHopмами ДдьЖныхnomeшии / Сtrightельными Hopмами и правлиами TEK в последни рededakции. Кад Варнаrt, можно установпь Ворозапportный (OTceун) клалан с датчеком и сmoHTироваьп ленивни Трубу оТ лразохсангю клалана К синвому Trpany. |
| Φ | Празукт дожен мOLTINРОВАБСЕВТИКALБНО И Горизонтайно, на полу полим Stete, способным вдержатеого обший BEC BO Вера Экплuyaataци. См. паспортую Табличу. |
| Φ | Вokpyr празукта необхочимо р dedусмOTеь сбовдhoe пros相对较ь Doя ВылOLненя сервисьх pa60T, 40 sm лered zuNTkom заektpoOTseka / 10 sm на смеспелным КлаланOM. |
3.5.6 PekomeHaauu no MOHTaKy
| PEKOMEHNDAUHIN | |
| - | Оьеспецпешто пасстаяне над полom. Вывинчьаг, выпунстite вклочение в komплейп ножки не мением ha 15 мм от днишиа п Rodgersукта. |
| - | Трубу поелова, селиona Использ汞ся, OT поедхсангого ксялисому trpany (1) и kaобъ залковпатая К сений розетке (2) сtleдуET положиь скрып, по kaналамь в днишем п Rodgersукта. |
| - | При туrom образимом ксяпане сtleдуET установы pe dedукционны ксяпани pacширпеловь бak. |
| - | Если в:xode стуК максималь碍 давлиения воры п résыет 6 бap, сtleдуET установы pe dedукционны ксяпани PACSWIRPTEHBYSCAK. |
| - | При установке в помашиеня, He уdobлenteюших Тreceовеня, nomeшин, в доролhoe К abTomatчесkomу BODOЗаор窝�у M ксяпану с датчеком сtleдуET установы пord п Rodgersукtemьнь пordдонс Трубов поеди BAHTPEHNM dnametром ≥ 18 мм, вedyшей К сизногу Тразу. Дто поедOTВРATNT BO3MOЖНБ Materpaльный ушерб. |

3.6 ΘЯкtpomотak
Ipn yctahOBKe B HOBOCTPOKax IIN npn
H3MeHeHH CyUeCTByIOuXyCTaHOBOK
Heo6xOJIMO NcNoJIb3OBaTb CtaUHOAPbI
3JIeKTPOMOTAX B COOTBETCTBUN C
pyKOBoDCTBOM. Ka6JIb 3JIeKTPoPNTAHNA
C BNkoJ DJIa CTEHNO PO3eTKN MOxHO
HCNoJIb3OBaTb Pn 3aMeHe npOdykTa 6e3
H3MeHeH B CnCTeMe 3JIeKTPoPpOBOdKn.
EcIn BBINOJIHReTcra TcAUHOAPbI MoTAtK,
3TO DOJIxeh BBINOJIHHTb ABTOPI3OBAHHbI
3JIeKTPOMOTep. DoJIxHbI 6bITb CO6JIODeHbI
DeiCTByIOUe CTAHApTbI, HOPMbI IN npabNla.
3.6.1 3JIeKtpnueckne KOMNoHeHTbI
| Компонт Пrimочаиме | |
| Пробх自动化 Термостат | Термовыklочаlemпри 98 °C. |
| Равоч Термостат | Настравaelын60-90 °C |
| Hargaевателовский Делемent | 1-фазhoe Нарp. 230В |
| Кабель Э/питань с Вилков | Термocтойкая |
| Визultaюпювожа | Термocтойкая |
3.6.2 3neKtpnueckne coeHHeNbB paCnpedeIInTeJbHOJ Kopo6Ke
| ПЕДУПЕЖDEHNE |
| На точкх писецниеня R и S BCERда имеетс напожени. Прждуем ВьЮЛнгы Злекторомонохны рабты, HeobхODIMO OTКЛЮЧТь пітайи и пірайь Мерbl потинь BOCCTAHOBLEня пітайя BO ВРемя праведения рабт. |
A) CnHn npoBOD (R)-HeiTpalb- npncoeDHeN K ToUKe 1 Ha HxKHeM npedoxpaHntbHOM TepMOCTate.
B) KopnueHbI npoBoD (S)-Φa3a- npncoeHNHe K TOnKe «3» Ha HxKHeM npedeoxpaHHTeJbHOM TePMocTaTe.
C) XeIbI npoBOD c 3eJeHoi nolocko I -3emJI -npncOeINHeH K TOTKe NOdkIIOUeHnHa HnXHem 3JleKTPoUNTke (WecTnyroJIbHNK n3 JaTyHn)
D) BHyTpEHHN IPOBOd OT 3JIeMeHtA K TepMOCTaTy IpiCoEOJINHeH B COOTBeTCTBENHO TOUKe 3 Ha npedeoxpaHHTeJbHOM TepMOCTaTe N TOUKe 2 Ha pa6ooyem TepMOCTaTe. Cm. pncyHOK.
3.6.3 MomeHTbI 3aTAAKKN
| Компонent Moment Затяжки | |
| HarpeBaTeльный anecdemt 5/4" 60 Hm (+/- 5) | |
| ВиHTы ТерmoстаТа 2 Hm (+/- 0,1) | |
| ВиHTы на rolовке anecdemta 2 Hm (+/- 0,1) |

3JIeKTPoPOnOdkIHOueHne 2+2&3+3 KBT

3NeKtpoNoKJIoueHne 5+5 kBt

3neKtpoPOndkIoueHne-3+3&4,5+4,5-3x400V
3.6.4Инструк用药moHTaKy
| ПЕДУПЕЖDEHINE | |
| 1 | Пелегем, кас подочиь за剂量псиме сухесуших установок Ююмо Исплоботаь сдаюногьий за剂量оматергьдддддддддддддддддддддддддддддддддддддддддддддддддддддддддддддддддддддддддддддддддддддддддддддддддддд徳 Стоюмо Исплоботаь сдаюногьий за剂量оматергьддддддддддддддддддддддддддддддддддддддддддддддддддддддддддддддддддддддддддд徳 |
| 2 | При установке в Новостwoя кас полботаь сдаюногьий за剂量оматергьддддддддддддддддддддддддддддддд徳 Ююмо Исплоботаь сдаюногьий за剂量оматергьддддддддддддддд徳 Стоюмо Исплоботаь сдаюногьий за剂量оматергьддддддддд徳 Стоюмо Исплоботаь сдаюногьий за剂量оматергьдддддд徳 |
| 3 | Кабель за剂量псиме Дадукta Биз за剂量псиме Дадукta Ююмо Исплоботаь сдаюногьий за剂量оматергьдддддд徳 Стоюмо Исплоботаь сдаюногьий за剂量оматергьдддд徳 |
| OCTOPOXHO | |
| Φ | Вок рг подукта Heобховимо п dedусмOTрь свобodное постранстwo за Былоленя Сервисhevпх работ, 40 спегшитков Зелков рожатca / 10 сн на сеситульные КлианоМ. |
| Φ | В сныае пораздени Кавеля Зелков рожатca велков, erо Heobховимо заменчы спецаловим Кавелм OT постовщka оборуровань. |
3.6.5 PekomeHdaunno MOHTaKy
| PEKOMEHДAUÇΙΝΙ | |
| - | Вклоунны вkomлесг постовки кабелъ ляковпитань с点点头уювпьдьогьпь рпс-stацноаром ляковромотыхе ртуем удалиь вилкь дя сtleнhoю розеткь. (Термосточик) |
| - | Кабелъ ляковпитань К сtleнhoю розетke / коробке с点点头уюжпь скрыто, по od одим ИЗ kaHaIOB в днице п现代物流. |
| - | Для п现代物流с мошноctью ≤ 2 KBт с点点头уюжпьдь п体现在хаить ≥ 10A / ≥ п现代物流 1,5#*. Для п现代物流с мошноctью ≤ 3 KBт с点点头уюжпьдь п体现在хаить ≥ 15A / ≥ п现代物流 2,5#*. Для п现代物流с мошноctью ≤ 5 KBт xapakternstikу ляковпитань onpeделяется по NEK 400*. |
DaHHbI npOdyKT OINcAH B BepCnX MOUHOCTN 2+2,3+3 nIN 5+5 KBT. 3TO o6o3Nauaet, yTO npOdyKT OChaueH DByM HArpeBaTeJbHbIM NJIeMeHTaM C yKa3aHHo MOnuHOCTbIO, HO npOdyKT IcNoJIb3yET eINHOBpeMeHHO He 60JIbWe 2,3 nIN 5 KBT, COOTBeTCTBEHNO, NOCKoJIbKy 3JIeKTPoPiTuHHe NODaETcHa 3JIeMeHTbl IooUpeEHO B 3aBnCmOCTn OT NOTpe6HOCTN. DAba 3JIeMeHTa HNKOrda He 6bIBaHT NODKnIOUeHbI ODHOBpeMeHHO.
npodykTOB c 3x400V nMeet dBe OTdJIbHbIe 3JIeKTPoCTaHcUcN C OTdJIbHbIM NCTOCHNKOM NITAHN.
PnmeaHn
4. ΠΕΡΒbΙΝΥСΚ
4.1 3aOpJHHe BDoJ
CnaaI npOBepbTe npabNlbHocTb
npcoeHHenBcex Tpy6hbyix coeHHen.
3aTeM BblnoJHnTe cIeDyUoOee:
A) OTKpoIte KpaH ropuee BOdbI N OCTaBbTe erO OTKpbITbIM
B)Повернiteperулinoьоую руку cmeNTeIbHOrO KlaNaHaK"++do ynpa.
C) OtkpoTe nOdaCy XOLOdHOn BOdBi Ha npOdyKT.
Y6eIITecb, yTO BOa n3 OTKpbItoro KpaHa ropaueB BObl NOCTynaet 6e3 NOMex, He COpepxnt BO3dyxa.
A) 3akpoTe kpaH ropaeB BoDbI.
4.2 PodklioueHne nHTaHnA
Korda 6ak 3aONHITc BDOI, MOXHO NOKJIHOHTb 3JeKTpOHTaHHe.
A) BkIIOUHTe BnIKy B cTeHHyO p03eTKy COOTBeTCTByHOuEro NcNoJIHeHnY N 3KcNlyaTaIauHOHHbIX XapaKTepNCtNK, ININ BKIOUHTe aBTOMaTHueCKn KOHTaKTHbIN BblKIOUHaTeJIb/npedoxpaHnteJIb.
4.3 HactpoRka cMeCtTeJbHOrO klaNaHa
Tempepya HarpeTo npOdykTOM BObl, BbIOHMoB TOUKN pa36opa B DOME/KBapTnpe, perynpetyeTc pyuKoM CmecTeJbHoro KlaNaHa. PerynopOBKa CmecTeJbHoro KlaNaHa He BInraet Ha Tempeatpy rOpueN Bobl BHyTpN HarpeBaTeJI.
Дуpeулровк TempepaTpybI:
A) Повернite рergyларовунуpyку (1) к "+"do унopa
B) 3aTeM IOBOpauNBAuTe pyUky NO HAnpaBJIeHIO K"-" DO JKeJaEMoT EmpeaTypbl.
| Повороты | Темпера typа |
| 0 | Около 70 °C |
| 1/4 | Около 60 °C |
| 1/2 | Около 50 °C |
| 3/4 | Около 40 °C |

4.4 KoHTpoJIbHbIe ToUKN
A) PpOKoHTpoJIpyuTe NIOTHOCTb BCEx Tpy6HbIX CoeINHeHn C npOdyKTOM I OTCyTCTBnE IpOteueK.
B) y6eIntecb, uTO ka6eJIb nHTaHnHe IIOdBepraetc npCKy MexaHnuecknx, TEINIOBbIX INN XIMNUeCKNX BO3dEInCTBNI.
C) y6eHntecb, tTO Tpy6a nepeJnBa OT npedoxpaHnteIbHoro KlaanaHa, eCIn OHa HcNoJIb3yeTcra, He 3aKpbTa, BblNOJIHeHa C pa3pbVbOM CTpyu N yloXeHa 6e3 Pncka 3aMep3aHnra, C yKIOHOm K cINBHomy Tpany.
D)ПроконтюлneyTe,чTo npodyKT cTOnT pOBHn n CTa6nIbHo n NO BepTNkAIn, n NO rOpN3OHTaIn.
4.5 OnopoxKHeHne
| ПЕДУПЕЖДEHИЕ |
| Вoda в баке иmeet Temпераур 75 °C - onachocь ожогов/ошпариваня! При onopожени Кразн горочи Вody; Должень b-byы OTКрыт на MaКС. Давлиения / Темпераур в тучения He MeHee 3 МнHyT. |
A) OTKJIHouHTe 3JIeKTpOpiNTaHHe.
B) PepekepoTe noaCy xoIoHNo BOnbl.
C)Полною OTКpoIte кpaH ropeH BOdbl N OCTaBbTe erO OTKpbITbIM (npedOTbpauaet BaKyyM).
D) NobepHnte cmeTeIbHbI KlaHaH do ynpaK " ^+ .
E)ДемоHTnpyuTe KpbIshkyHaI npedoxpaHnteJbHbIM KlaNaHOM (2), pacnyctNB BnHT (5).
F) NobepHnTe pyky Ha npedoxpaHnTeJbHOM Klaanane (3) npimepHo Ha 90 rpaDycOB B NOLOXeHne «OTKpbITo». BaK onopOxHЯETcra.

OnopoxHnB 6aK,3akpoTe npedoxpaHntbHbI KlaanH, NOBopaunBa pyky (3) daJIbwe no YacobO CTpeJIke. 3akpoTBe BCE OTkpblte KpaHbI. UCTAHOBtE CmecHTeJbHbI KlaanB B NepBOHaaybHOe NOLOXeHne. UCTAHOBtE Ha MeCTO KpbIshKy (2) NaD npedeoxpaHntbHbIM KlaanAHOM.
Ecn Tpe6yeTcOnopoxHnTB 6ak 6bictpee, npedoxpaHnteBHyI KlaNaH MOxHO DEMOHNTPOBaTb,OTBnHTNB PnncOeHNHTeBHyIO OboIMy OT npedoxpaHnteBHOrO KlaNaHa. Pn MOHTaxe CoeHNHTeBHOI OoIMbl Ha MeTo 3aTaNHe ee MOMtOM 60 Hm (+/-5).
| ПЕДУПЕЖDEHINE |
| В распреadingе Лстов Н基层 Ростаclутсныгет наразжени. Рекдем Выллягь Эльковомотхные paбOTы, Heобхобимо OTКлочи ТИТАнUE И принат Меры пOTИВ BOCSTаюнELHЯ ПИТАнUE BO Врем пROБЕДENЯ pa6OT. |

| ПоворOTы | TemпераТура | 1 |
| 0 Около 70°C | ||
| 1/4 Около 60°C | ||
| 1/2 Около 50°C | ||
| 3/4 Около 40°C | ||
5.2 TexHnueckoe o6cIyKbAHHne n yXoA
| ИНСТРУКЦЕ ПО ТЕХИЧЕСКOMУ OBSCЛУЖИBAHНИО И UXYODY | ||
| 1 | TEXПИЕСКOEобсIJУЖИВAHеи ухOD pa3peшаETСЯ BыПОЛНЯТь ЛИцam CTapШe 18 Let, COOTBETCTBYЮSSIM образOM NOДГOTOBLEHNБМ | |
| 2 | ExkeOrДн�у KOHTPoЛь пededoxpaHITeЛьHORO KlaJaNAHa: | |
| - | ОТКроITE КlaJANH ha 1 МИнTu, NOВернUb рчКу (3) поимерно Ha 90 граДуСов B пOLожЕпe «OTКрБITO». | |
| - | ВиЗУАЛБИNO пOKОТРОЛIPуИte, чTO ВODa СВОБДно BыЛINBaETСЯ B CЛИВ. | |
| - | ДА = OK. 3akpoIte КlaJANH, NOВернUb рчКу (3)[euple Na 90 граДуСов B пOLожЕпe «3akPbITO». | |
| - | HET = HE OK. OТКлIOчITE зLEКТрОПИтанe / поЕКроIte пОДaчу ВОДbl.ОбразИТeСь к уSTановиЗИКу. | |
6.ДИАГHOCTNKA
6.1 HencnpaBHOCTn n nx yctpaHeHne
EcnB XoJe 3KcNlyaTaun npOdykTa BO3HNKHyT npo6Iebl, nonpo6yTe HaHTn BO3MOXHbI npuHHi HeNCpabHocTN n CnocO6bl nx yctpaHeHn B 3ToT tabInue. B clyuae, ecn
Ipo6lemaOTcyTCTByeTB Ta6Jnue, nIN y Bac OCTaHTcA COMHeHn Ioo ee NOBOy, o6paauTecb K yCTaHOBUuKy (yKa3aH Na nacnOpTHoN a6JnUKe) INB KOMNaHnO OSOHotwater AS-cm.nyHKT 7.2.
| ДИАГHOCTИКA | ||
| П reproл exemplа Возможная р�чни Созможнoe решени | ||
| ИзPre dedханителов Клалаота чета/калаet// noучрп поьdoвоггавелемчесы видны лужши ы | Рedlyханителов Клалан Изочen пол'mя меду мьбанов и садом Клала пол'mя тervdьчесы/n3 zarpayненnoВды | Устонье расширителов bok AX, кOTOPь пrimет на себа расширетиь obdy mody prpr nHarpebe, uSTAHOBITPre dedханителов Клалан,чOTobstcbStabnizpoBabTдавлие Ha Podache B doM/kBapripy. OtrpvlnpuyitePre dedханителов Клалан B coOTB. cDableniHemHa BXOde B paxunipertelb bok.Оратiteь k ABTOP3OBAHOMU yctahoBHUNKy/Clecapro-BODDONPOBDAHNYK. |
| Прedlyханителов Клалан Изочen пол'mя меду мьбанов и садом Клала пол'mя тervdьчесычесы/n3 zarpayненnoВды | Поробyste рportыпPre dedханителов Клалан Stpyeь bdy. Otrpoitke Kлалан Primeperno H a 1 MInHTy.Cm.pynKT 5.2.Ecml Klaan prpoDJIkaet teby,ero hJxNHOzamhenb.Obpatiteь k ABTOP3OBAHOMU yctahoBHUNKy/Clecapro-BODDONPOBDAHNYK. | |
| Прoteчka y HarpebatelbHoroЗilementa. | Поровьte cleduoшim cleocobom: a) OTKlJOchiteЗл electropontanthe b) ChIMITE sHTOKнad 3eLektpoOTCEkomC) Bv3ayalboNo y6eHtceb,чTo IcStouHnik pOteuCh -HarpebatelbHyIeZIeMent. B TakOM Clyuea: Zamehite npoklaiky /HarpebatelbHyIeZIeMent. Ospatiteь kABTOP3OBAHOMU yctahoBHUNKy/Clecapro-BODDONPOBDAHNYK. | |
| He roрача Вда | Отka3 зл electropontanhy. | Проконтлэйчуte,чToPre dedханитelов Na Meete/Bvlnka BkJIQUeHemaB Pozetky /Y3O He bblntb |
| Отлочияser Tepmoctat. | Haxmite KhoIpy "RESET"(CBPOC) NaPre dedханитelbowHmTePOMCTate,cm."INCHtpykciNo no ekCnLIpyatau" | |
| HarpebatelbHyIe ZIeMentNeICnPabEn. | Заменite ZIeMent. Ospatiteь k ABTOP3OBAHOMU yctahoBHUNKy/Clecapro-BODDONPOBDAHNYK. | |
| Прoteчka trypobopoboda rorpaeynВды | Поровьte cleduoшim cleocobom: a) OTKlJOchiteСмсeн'te lyblну bklanb n) Podoxjnte 2-3 qaca c)почиайе Смсeн'te lyblну klankanh-Torpaquin lIOH.В takOM Clyuea ImeETC nOpteua Trp6bOPIBOda rorpaeyn BdoBy nIldryar nOpteua.Оратiteь k ABTOP3OBAHOMU yctahoBHUNKy/Clecapro-BODDONPOBDAHNYK. | |
| Hedoctatочиою roрачев Вда | Бolyшо расхod в доme/KBaptrnipe. | Повьсte Temperatypу Ha TepMOCTate Do 85 °C, cm."INCTpyKuzioNo lo EkCnLIpyatau"3aMeHNTeBODOHARpeBatelny OSO Na 60JIshniTINOpa3Merp.Ospatiteь k ABTOP3OBAHOMU yctahoBHUNKy/Clecapro-BODDONPOBDAHNYK. |
| Tempeparatура Нededстаточи Вbicokа | Смсeн'te lyblну Клалан YcTuHOBlen Ha CIIWskOM Nn3Kcyu Tempepatу. | Оретуларуte Temperatypу Ha TepMOCTate,cm."INCTpyKuzioNo lo EkCnLIpyatau" |
| Термостат установелу на сдшковуНиЗКуу Tempepatу. | Пробьte Temperatypу Ha TepMOCTate Do 85 °C, cm."INCTpyKuzioNo lo EkCnLIpyatau" | |
| Пordec rorpaye BoDy B XOLOHUY (pepeablanbaHine) | Оратiteь k ABTOP3OBAHOMU yctahoBHUNKy/Clecapro-BODDONPOBDAHNYK. | |
| Пrelodovhanitel'y3OOTKluyaetcra Heckolko pa3 podray | ВозмoxHo, Imeetca HeicnpabHocTB B zEkltpurichekoi Cnsteme BODoHargBeTelya. | Поровьte cleduoшim cleocobom: a) OTKlJOchiteЗл electropontanthe b) ChIMITE sHTOKнad 3eLektpoOTCEkomC) Bv3ayalboNo pOcoKHTPPOJPuyte,net Li nPo6bEmB pacpeidelteHoh KoprO6ke. B takOM Clyuea BblObiteЗл electropontanha.YctahoBHUNKy/Clecapro-BODDONPOBDAHNYK. |
| TogruayBa Dnda ind To BODopa3BOPHOro KpaHa CIIwKOM DoIro | Длinnь TrpybOPOBVD ot BODonHargBeTelya Do KpaHa. | UstaHOBite zuRrkylanyonHb TrpybONPOBVD nlinrpochuski Ka6bIeJaTb.FaKcBapriaHT,UTsTHOBite duOnlHIne lyblno NdoGorpeBatelny pepead toKoyBoDop36bopa.Obpatiteь k ABTOP3OBAHOMU yctahoBHUNKy/Clecapro-BODDONPOBDAHNYK. |
| YdarpB v Tpy6ax, Korda 3akpbiaot kpan rorpaey BdoI. | Бolyшо рosityлшени Давлиения рpr 6bICTPOM ZAKpbIAHIN KpaHa. | Зто сoveшени HocmpaIbNo Ecln 3to prazdpaKaet,UTsTHOBite paxuprtiteь blb 6ak Ax.Obpatiteь k ABTOP3OBAHOMU yctahoBHUNKy/Clecapro-BODDONPOBDAHNYK. |
7.ΓAPAHNTHbIE YCLOBNIA
- Osbem rapaHTnHbIX o63aTeJIbCTB OSO Hotwater AS (B daIbHeIeM OSO) rapaHTnpyET, YTO B TeueHMe 2 Iet c DaIbI NOKyKn npOdyKT: i) 6yIeT COOTBEcTcBOBaTc CneUΦnKaunosOIO, ii) He 6yIeT IMeTb DepeKToB MaTePnaOB n H3rTOBNeHn Pn yCNOBn CO6NHOEHN HHXKePNBeDEHbIX ycNobn. Ha BCE KomNoHENTbl npEOCTabJIeTcR 2-roDnHnra rapaHTnI.
OSO B Do6pOBJbHOM npRJaKe npOJIeBaET rapaHTnIO B OTHOUeHM BHUTpeHrero 6aka n3 HepXabeUoIe CTAN Do 5 IET. 3Ta paUsIneHHa rapaHTnIpaNpOcTpaHReTcToIbKO Ha npOyKtbl, npNo6peTeHhBe NtPebuTeMe, KOtOpBle 6blIy yCTaHOBLeHbl DnI YAcTHORO NOnb3OBAHN I KOTOpBle pacnPoCTpaHAnbc OSO nnDnCTpn6bIoTOpOM, KOTOpMBy 3TN npOyKtbl 6blIy nepBOHaunbHo npOdaHbl KOMNaHne OSO. PacsIneHHa rapaHTnI He pacnPoCTpaHReTc Ha npOyKtbl, npNo6peTeHhBe KOMpeueckmIM oprAHn3auqmN, nn Ha npOyKtbl, KOTOpBle 6blIy yCTaHOBLeHbl DnI KOMMepeCCKoro IcONb3OBAHN. Ha TaKHe npOyKtbl paCnPoCTpaHAnOTcToIbKO ImnepaTINbHBe HOpMbI/063aTeINbHBe NOLOXeHN 3AKoHa. IpImeHJOTc n3IOxKeHHBe HnKe ycOBnIg NOrpaHUnHeN.
2. OxBaT
B cnyuae obHapyKeHnI DepeKta n NonyeHnI OoCHOBaHHo npTeH3nn B TeHeHne yCTaHOBLeHNO 3aKOHm rapaHTnHoro cPoka, KOMnaHnAOSO, no CBOeMy Bb6opy n B npedeJax, pa3peWeHHbIX. 3aKHOaTeJIbCTBOM, DOnjHa JIn60 i) yCTpaHnTB DepeKT, JIn60 ii) 3aMeHNb PpOyKT NDeHTNcHbIM UIN aHaONuHbIM NO pHyKNIOHAJIbHOCTn PpOyKTOM, JIn60 iii) BO3MeCTNb NOKyHnyo ceHy.
Bcnyae 6bnapykeHn DecekKa n NonyeHnO obochOBaHHoN
PpeTHeHn NOCTeHEn CPOKa paCunpeHn RapaHTn,
KOMnHaHn OSO OsO OJnxKA 3Amehntb PpOkyKT NDeHTNuHbIM NIn
AnAHOuHbIM NO cyHKUHOHaNBocNTn PpOdyKTom. B TaNKx CnuAryX
OSO He DOnkHA BO3MeUaTb DpyTne CB3aHHbIe C 3TNM pAcxOdbI.
JIkbO 3aMeHHeHbN PpOdyKT NIN KOMNoHEHT NepExoDIT B
Co6CTBeHHocbOSO.DeICTBtEhBaH/obochOBaHHaN PpeTeHnR
NN yCyra He Bnueet 3a CoobnPpOdeHn CPOka NepBOHauaJIbHO
rapaHTn. 3aMeHa PpOkyTA Nyn CyTuH He cnpBoxoJaETc
PpeOCTabHeHm Ha HNX HOB rapaHTn.
3.YcNoBn
IpoyIK N3rOBoNH TaK, YTObI NOxOINbI DnI NCIOJIb3OBaHnC 60BbUHNCTOBm CnCTEM KOMMyHANbHO Xo3RJCTBEHNO6BtOBORO BOOCHa6XeHn. OHaKO BoIOnpeJeHHOrO CoCTaba (PepeuCHeHb HNKe) CnOCoHb HerAITNBHO B03dEChBOBaTb Ha COCTOHNIE npOdykTa n paCteHbI cPOK erO cnYkbI. B cnYae COMHeHn B OTHOSeHn KaeeCTBa BObl MeCThIE OpraHb BOOCHa6XeHn MOrT npEOcTaNbHeo6XoDmMbIe DaHHble. TapaHTNpIMMeHima TObnKpn YcNoBn N01HOrO BbINONHeHn BCEx PnIBODMIX HNKe ycIOBn:
IpoDyKT 6blI yCTaHOBNeH npOceCNOHaNbHbIM yCTaHOBUNKOM, B COOTBETCTBN C INHCTpyKlMn B PYKOBOCTBE NO MOHTaxy N BCEMN COOTBETCTBYIOUHMN HOPMaMn I npaBnAMn, DeINCTBNTeNbHbIMn Ha MOMENT YCTaHOBKN.
IpoDyKT He 6bln I3MeHEn, NOdElaH n He NIOBepraIcH HENpABINbHOMY NCIOJIb3OBAHInO, n ERO OTJeJIbHbIe YACTN y3JIb He CHIMAJINCb IJRA HeAEBTOPI3OBAHHOTo pEMONTa INI 3aMEHbl.
IpoDyKT 6blnIOKnHoueTToBkoKbItBOBo BOOpnpOBOHOcETN B COOTBETCTBN C DnpeKTHBOE EC no nITbeBOB BoDE EN 98/3 BC Nm ee HOBeM BePcne.BoA He DoJHKha 6blr arpeCCNBHO, T. e. XmHueCKHe XapakTePncTNI K CBOINCTBA BObl DoNKhbl COOTBETCTBOBaTb CNeDyHOUM
Tpe6obAHm:
-XnpnDbl
-3JektponpoBODHOCTb npn 25°C
- Hndekc hacbIeHn np80°C
-ypoBHeb pH
<250 mT / n
<750MKCM/CM
ПростаяИнструкция