CDB30/1X - Churrasco CANDY - Manual de utilização gratuito
Encontre gratuitamente o manual do aparelho CDB30/1X CANDY em formato PDF.
Baixe as instruções para o seu Churrasco em formato PDF gratuitamente! Encontre o seu manual CDB30/1X - CANDY e retome o controlo do seu dispositivo eletrónico. Nesta página estão publicados todos os documentos necessários para a utilização do seu dispositivo. CDB30/1X da marca CANDY.
MANUAL DE UTILIZADOR CDB30/1X CANDY
| Installazione - Uso - Manutenzione | IT |
| Installation - Use - Maintenance | GB |
| Installation - Emploi - Entretien | FR |
| Installation - Gebrauch - Wartung | DE |
| Instalación - Uso - Mantenimiento | ES |
| Installatie - Gebruik - Onderhoud | NL |
| Instalação - Uso - Manutenção | PT |
| BARBECUE DOMINO |
| libretto istruzioni | 1 | |
| operating instructions | 5 | |
| notice d'employi | 9 | |
| Bedienungsanleitung | 13 | |
| manual de instrucciones | 17 | |
| instructieboekie | 21 | |
| manual de instruções | 25 |
QUESTO PRODOTTO É STATO CONCEPITO PER UN IMPIEGO DI TIPO DOMESTICO. IL COSTRUTTORE DECLINA OGNI RESPONSABILITA NEL CASO DI DENTUALI DANNI A COSE O PERSONE DERIVANTI DA UNA NON CORRETTA INSTALLAZIONE O DA USO IMPROPrio, ERRONEO OD ASSURDO.
desejamos agradecer e congratular-nos consigoILA escolha que fez.
Este novo aparelho, cuidadosamente projectado e montado com materiais de primarya qualidade, foi verificado com atencao para satisfazer a todas as exigencias de fritura perfeita.
Pedimo-lhe portanto de ler e respectar as faceis instruções para obter os melhores resultados desde a primarya'utilização.
Com este moderno aparelho desejos cumprimentar e desejos también o melhor para si.
O CONSTRUCTOR
INDICE
Instruções para o'utilizar
Instalacao 26
Uso 26
Manutenção 27
Instruções para o instalador
Instalacao 28
Posicao 28
Ligação eletrica 28
Dados技术和
Alimentação 230V
Potência 2400 W
Cabo de alimentacao H05RR-F (3× 1,5mm^2)
H05RN-F (3× 1,5mm^2)
Instruções para o uso de um dos meus lividos.
Instalacao
Todas as operações de instalacao (ligação eletrica) tem que ser efectuadas por pessoas qualificadas segundo as leis vigentes.
- O aparelho e as suas peças acessíveis tornam-se muito quentes durante o uso. Deve-se prestar atençao para não tocar os elementos aquecedores. Crianças menores de 8 anos devem ser mantidas distantes do aparelho se não estiverem continuamente supervisionadas.
- Este aparelho pode ser utilizado por crianças maiorres de 8anos ou por pessoas com capacidade física, sensorial ou mental reduzidas, inexperientes ou que não conheçamo aparelho desdeque supervisionadas ou antesceber instruções sobre a suautilizaçãode maneira segura e que possam reconhecer os riscos relacionados.
- As crianças não devem brincar com o aparelho. A sua limpeza e manutenção não devem ser realizadas por crianças sem supervisão.
- ATENÇA: a cozedura automatica sobre a superficie de cozedura com gordura ou oleo pode ser perigosa e pode provocar incéndios. Em caso de incência, não tentar apagá-lo com água, e sim, desligar o aparecido e cobrir a chama com uma tampa ou uma coberta contra incéndios.
- ATENÇAÑO: Risco de incência: não manter objectos sobre a superficie de cozedura.
- Não utilizes dispositivos de limpeza a vapor para limpar o aparelho.
- O aparecido não destinado ao uso mediante um temporizador externo ou umsystema separado de commando à distência.
Uso
(Fig. 1) O barbecue permite grelhar com rapidez e dificuldade.
Através do Manipulo de commando situado na parte frontal acende-se a resistência eléctrica que permite regular a temperatura de 1 a 11 conforme a necessidade de calor.
O funciona como grill obtem-se na posicao 11 do manipulo, onde o termostato é除外 e a resistência torna-se incandescente.
Este facto não significica que não se possam preparar os alimentos na grelha también nas posições intermedias.
Até pelo contrário, as posções intermedias são aconselháveis para a grelhagem de alimentos delicados
ou quando se deseje obter uma grelhagem uniforme maissem no interior dos alimentos.
A lava contida no tabuleiro tem a funcao de absorver os pingos de oleo ou de gordura que se produzem durante a grelhagem. Além disto serve también para acumular o calor durante a primeira fase de acontecimiento da resistência consentindo portanto obter uma grelhagem mais uniforme que é muito semelhante à que se obtem usingo carvão.
No tabuleiro, ao lado da lava, pode-se introduzir agua (cerca de 3cm
A Presence da agua no tabuleiro elimina a formação de cheiros, sem prejudicar minimamente as prestações do barbecue.
Para se obter os melhores resultados aconseihara-se aquecer a lava durante circa de 10关键时刻 na posicao 1.
Esta operação é aconselhável especialmente na primaira vez que se usa o aparelho para diminuir o risco que durante a grelhagem os alimentos possam absorver os cheiros que a resistência produz durante o primeiro uso.
Manutenção
Antes de efectuar todas as operacoes desligue o aparelho. Para o bom estado da frigideira nos conselhamos uma limpeza geral de vez em quando. Atenço:
- os elementos de aço e/ou esmaltados limpam-se com osproprios produits (encontráveis no mercado) que não sejam abrasivos ou corrosivos. Evite produits com cloro (lixivia, ecc.)
- evite deixar em cima do piano de trabalho substancias acidas ou alcalinas (vinagre, sal, sumo de limão, ecc.).

ESTE APARELHO NAO DEVE SER UTILIZADO COM CARVAO OU COMBUSTIVEL SEMELHANTE.
Instruções para o instalador
Instalacao
As seguiñes instruções sãoquiry postas as pessoas qualificadas que instala, regula e ocupa-se de manutenção do aparecidosegundo as leis vigentes.
Desligue sempre o aparecido antes de effetuar qualquer的操作。
Posicao
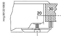
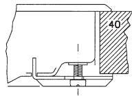
(Fig. 2) O aparelho foi projectado para ficar em cima dum plano de trabalho segundo a ilustracao.
Ponha material de lacrar ao longo do perimetro do plano.
Ligação eletrica
Antes del ligar o aparelho verifique que:
-
as caracteristicas do aparelho sejam conformes às indicadas na placá debaixo do plano;
-
o aparelho fique firme ao chao segundo as leis vigentes.
Segundo tais leis o aparelho tem que ficar bem firme ao chão.
Se não havercabo ou fichautilizematerialconformeas instruçõesdaplacéde temperaturea.OCabonão tem que atingiruma temperaturea superior de 50^ à do ambiente.
Para efectuar a ligação directa à rede é necessário intalar um interruptor omnipolar dimensionado para a cargo nominal que, garantá a desconexão da rede e, com uma distência de abertura dos contactos que consinta adesco-nexão completeness desobretensão de categoria III, em conformidade com as regras de instalação (o cabo de terra amareló/verde não deve ser interrompido). A toma ou o interruptor onipolardeerao serpositionados para um fácil manipulaçãodo aparelho instalado.
N.B.: O constructor declina qualquer responsabilitadede no caso o cliente não siga os conselhos sobre mencionados ou não respeite as leis de prevenção dos acidentedes de trabalho.
Se o cabo de alimentação estiver danificado, deve ser substituído pelo fabricante ou peloServiço de assistência técnica ou, em todo o caso, por uma pessoa qualificada, de modo a prevenir qualquer perigo.

mg9511175700

mng.9511175800

mng.9511175300

Fig. 1




Fig. 2
Aparelho classe I tipo Y

O Fabricante não assume nenhuma responsabilité acerca de eventuais inexactões contidas na presente publicação, devidas a erras de impressão ou de transcrição. Reserva-se o direito de efetuar nosproprios produits as eventuais modificações que considerar necessarias ou utés, sem prejudicar as caractéristicas essenciais.
ManualFácil