MYSTERY LED II - Iluminação de palco JBSYSTEMS LIGHT - Manual de utilização gratuito
Encontre gratuitamente o manual do aparelho MYSTERY LED II JBSYSTEMS LIGHT em formato PDF.
Perguntas dos utilizadores sobre MYSTERY LED II JBSYSTEMS LIGHT
0 pergunta sobre este aparelho. Responda às que conhece ou faça a sua.
Faça uma nova pergunta sobre este aparelho
Baixe as instruções para o seu Iluminação de palco em formato PDF gratuitamente! Encontre o seu manual MYSTERY LED II - JBSYSTEMS LIGHT e retome o controlo do seu dispositivo eletrónico. Nesta página estão publicados todos os documentos necessários para a utilização do seu dispositivo. MYSTERY LED II da marca JBSYSTEMS LIGHT.
MANUAL DE UTILIZADOR MYSTERY LED II JBSYSTEMS LIGHT
AVISO: PERIGO! Nunca exponha as lentes directamente à luz solar, mesmo que por peu tempo! Istô pode danIFICAR o efeito luminoso ou mesmo provocar um incêndio!
EN - DISPOSAL OF THE DEVICE
Tente reciclar a unidade e as pilhas usadas respeitando o ambiente e em conformidade com as normas vigentes no seu País.


OPERATION MANUAL
Obrigado por ter adquirido este produits da JB Systems. De modo a tirar total proveito das possibilidades deste produits, por favor leia this manual com atenção.
CHARACTERISTICAS
Esta unidad está protegida contra interferencias rado. Este produits cumpre as exigencias impostas pelas presentes directivas nacionais e europeias. A conformidade这是我 dofo comprovada e as declaracoes e documents relevantes foram efectuados ao fabricante.
-Esta unidad destina-se a produir efeitos luminos decorativos e éutilizada em sistemas de expectáculos de luz.
-
Este NÃO é apenas a versão LED de um comum Double Derby!
-
Este é um efeito fabuloso baseado em 2 LED RGBW de 10 Watt
-
Enche o espaço com feixes coloridos potentes e definidos tipo laser
-
Cores extremamente brillantes comparadas aefeitos com lampadas de halogeneo
-
Sem substituição de lâmpadas!
-
Virtualmente sem produção de calor econsumo muito baixo de energia
-
Controlo de intensidade 0-100% e funcao strobe ultra rapiida
-
Excellent programas incorporedados para expectáculos maravilhosos sempre a mudarem:
-
Controlo DMX: 1 canal para fácil的操作或 3 canais para controlo total
- Autónomo: activado por som activado com microfone interno
- Master/slave: Expectáculos maravilhosos sincronizados
-
Disponível como optional o controlo remoto CA-8
-
Menu através de visor de 4 digitos
- Entrada/saida IEC para fácil ligation de alimentacao usingo os cabos IECpcionais
- Perfeito para不同类型 aplicações: discotecas, clubs, dj騙ES, ...
- Compativel com o Magic Led / Mystery Led
ANTES DE UTILizar
- Antes de utilizes esta unidad verifique se existem danos provocados durante o transporte. Caso existam danos aparentes, não utilize a unidad e contacte o seu revendedor.
- Importante:Esta unidade deixou a)nossa fabrica em perfeitas condições e devidamente embalada. É imprescindivel que outilizar siga as instruções de seguranga e avisos descriitos在这ste manua. Quaisquer danos provocados por utilização Incorrecta não sera cobertos pela garantia. O revendedor não sera responsavel por quaisquer danos ou problemas causados pelo incumprimento das instruções deestemanual.
- Guarde este manual num local seguro para consulta futura. Caso vendia esta unidade, forneça estemanual.
Verifique o conteudo:
Certifique-se que a caixa contentos seguintes artigos:
- Manual do'utilizar
- Unidade MAGIC LED II ou MYSTERY LED II
- Cabo de alimentação
INSTRUÇÉS DE SEGURANÇA:

CAUTION
RISK OF ELECTRIC SHOCK DO NOT OPEN

ATENÇÃO: De forma aeating o risco dechoque eletrico, não remova peças da unidade. Não tente fazer reparacoes.Contacte pessoal qualificado

O*síbolo composto por um triángulo equátero com um relâmpago no interior alerta para a presence de voltagem perigosa não isolada no interior do produits que poderá Constituiir risco de何时que eletrico.

O*síbolo composto por um triángulo equilátero com um punto de exclamação alerta o'utilizar para a Presence de instruções importantes de utilização e manutençao do produits.
Este sintbolo significa:utilizaçãounicamente em espacos fechados
Este symbolo significa: Leia instruções
Este的概率 significa: Aparelho Classe I
Este*símbolo determina: a distência minima dos objetos iluminados. A distência minima entre o projector e o objeto iluminado deve ser mais de 0,5 medidor
Este produit é adequado para montagem em superficies inflamáveis standard. Na categoria de superficies inflamáveis standard está incluíos materiais de construição como MADEira e materiais baseados em madeira com mais de 2 mm de espessura
- Proteja o ambiente. Recicle o material della embalagem.
- De modo aeating risco de fogo ouchoque eletrico, nao exponha este produto a chuva ou humidade.
- De forma a evitar a formação de condensação no interior daunities, ao transporte-la para ambiente queja aguarde algo tempo de modo a queHA uma ambientação à temperatura. A condensação pode aferar o desempenho daunities ou até danificá-la.
- Esta unidade destinata-se uniquamente a utilização em espacços fechados.
- Não introduza objects de metal nem verta liquidos no interior do produto, correrá risco de何时que eletrico ou poderá danificar o produto. Caso algo<object的对象e estranho entre em contacto com o interior daunité,DSLigue-a de imeditado da corrente.
- Coloque esta unidad num local arejado, afastado de materiais inflamáveis e/ou liquidos.Esta unidad deverá ser instalada aPEGOS menos 50cm de distancia de paredes circundentes.
- Não cubra os orificios de ventilação ou a equipe pode sobraquecer.
- Evite locais com poeiras. Limpe a unidade regularamente.
- Mantenha esta unidade fora do alcance das crianças.
- Esta unidad deverá ser operada unicamente por pessoas experimentes.
- Temperatura ambiente de funcionaamento maxima é de 40^ . Não utilize esta unidade a temperatas ambientes mais elevadas.
- Certifique-se de que não irão passar pessoas sob a area de instalacao da unidade durante a instalacao e manutenção.
- Desligue sempre a unidade da corrente quando não a utilizes durante longos periodos de tempo ou antes de efetuar manutenção.
- A instalação eletrica deve ser efectuada unicamente por pessoal qualificado, cumprindo os regulamentos de seguranca em instalacoes eletricas e mecanicas do seu pais.
- Certifique-se que a voltagem a utilizesn não é superior à voltagem indica no poinl traseiro da unidade.
- O cabo de alimentação deverá estar sempre em perfeitas condições. Desígue a união e substitua imeditamente o cabo caso este aparece algo dano. Deverá ser substituído pelo fabricante, pelo agente autorizado ou pessoal qualificado de modo a Severity.
- Nunca permita que este cabo entre em contacto com outros cabos!
-Esta unidad devaré estar ligada à Terra de forma a respeitar as regras de seguranca. - Não ligue a unidade a reguladores de intensidade.
- Utilize sempre um cabo de segança aprovado ao instalar a unidade.
- De forma a não correr risco deCHOque eletrico não abra a cobertura da unidade. Não existem peças que possam ser substituções pelo uso.
- Nunca repare um fusivel nem tente operar a unidade sem fusivel. Substitua sempre um fusivel danificado por outras como as mesmas caracteristicas!
- Em caso de problemas sérios de functimento, interrompa a'utilização da unidade e contacte imeditamente o seu revendedor.
- A cobertura e as lentesdeerao ser substituidas casoapursem danos visiveis.
- Caso soit nécessário Transportar a unidade utilize a embalagem original.
- Por motivos de segurar, são proibidas quando alteracoes não autorizadas à unidade.
Importante: Nunca olhe direcamente para a luz! Não utilize este efeito luminoso na presence de pessoas epilepticas.
DESCRÊÇÂO:

- FONTE DE ALIMENTAG: Conector IEC. Ligue o cabo de alimentacao fornecido a este conector
- Saida de energia com Fiona IEC: pode usar um cabo de energia especial IEC para connectar esta saida com a entrada de energia do proxies MAGIC LED II ou MYSTERY LED II para uma ligação simplificada (max 17).
- Conector entrada de DMX
- Conector saida de DMX
- Entrada jack de 14 para conectar o commando optional CA-8
- Microfone interno
- Suporte de suspensão: Contém 2 parafusos de aperto em eles para fixar a unidade e um orifácio para aplicação de um gancho de montagem.
- Lentes opticas: 14 lentes para o MAGIC LED II e 28 lentes para o MYSTERY LED II
- Anel de segurarca, anexe aquio cabo de segurarca optional
- Slave LED: está aceso quando a unidade está em modo Slave
- Sound LED: pisca ao ritmo da música quando a unidade está em modo audio.
- DMX LED: está aciso quando a unidade receiveb sinal DMX
- Master LED: está aceso quando a unidade está em modo Master
- Botão MENU: uso para escolher as不同类型 opções dos menus
- Botão DOWN: para voltar às no menu e para baixar os values做不到 no visor.
- Botão UP: para subir no menu e paraLERar os valores mostrados no visor.
- Botão ENTER: uso para confirmar as suas escolhas.
- Visor: minha os various menus e as funções selecionadas.
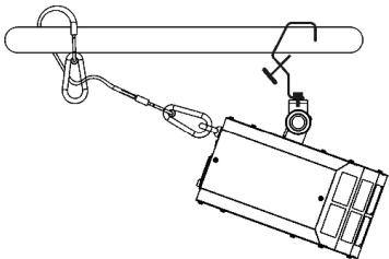
INSTALAÇÃO EM SUSPENSAO
- Important: A instalação deve ser efectuada unicoamente por pessoal qualificado. Uma instalação incorrecta pode resultar em ferimentos graves e/ou danos na sua propriedade. Para efectuar uma instalação em suspensão é necessária muita experiência! Respeite os limites de cargo, utilize materiais de instalação aprovados e inspecciona a unidade instalada regularmente de forma a assegurar a seguranca.
- Certifique-se que sob a area de instalacao da unidade não irao passar pessoas durante a instalacao e manutencao.
- Coloque esta unidad num local arejado, afastada de materiais inflamíveis e/ou liquidos.Esta unidad devaré ser instalada apelos menos 50cm de distancia de paredes circundentes.
- Aunities deve ser instalada fora do alcance das pessoas; afastada de areas onde as pessoas possam passar ou sentarse.

- Antes de proceder à instalación certificque-se que a área selecciónada pode suportar uma energia minima de 10 vezes o peso da unidade.
- Na instalação, utilize sempre um cabo de segurança aprovedo com capacidade para suportar 12 vezes ou peso da união. Esta meda de segurança secundáriadeer ser instalada de forma a que nenhum parte da instalação possa cair mais de 20cm caso o punto de apoio principal ceda.
- A equipe deverá ser fixa firmamente. Uma instalação oscilante pode ser perigosa e não deverá ser efetuada!
- Não cubra os orificios de ventilação ou aunities podem sobraquecer.
- Outilizador da unidadedeferacertificar-sequea instalacaoeaprovada em termosde segurancaem tempos Tecnicos poruma persona qualificadaantes deeffectuaraprimeirautilização.Ainstalacaodeveraser inspeccionada todos os anos por um专业技术cualificado de forma acertificar-sequea segurancaestasseguerada.
INSTALAÇÃO ELECTRICA + CONFIGURAÇÃO
Important: A instalacao eletrica deve ser feita apenas por pessoal qualificado, de acordo com os regulamentos para segurarce eletrica e mecanica novosso pais.
Instalacao eletrica para 1 unidade em autonomo:
- Insira o cabo de alimentacao. A unidade começa a travaçar imeditamente em modo autônomo
- Nota 1: Pode conectar um commando remoto CA-8 à unidade se desejar ter mais controlo. Consulte a该怎么 fazer. "Como usar a unidade" para,a,prender como fazer isto.
- Nota 2: Se não existir saía, por favor verifique se a unidade está em modo Master (ver capitulo próximo)
Instalacao eletrica para 2 ou mais unidade em master/slave:
- Conecte de 2 a um maior de 16 unidas juntas using cabos de microfone balanceados de boa qualidade. Colque a primarya unida da série em modo Master, as restantes delevarao ser colocadas em modo Slave (SL1 ou SL2). Ver o capitulo maior para mais informacao.
- Verifique se todas as unidades está ligadas à corrente.
- Pronto!
Nota: Pode conectar um commando remoto CA-8 à unidade master se desejar ter mais controlo sobre a的操作者/master/slave.
Instalação électrique em modo DMX:
- O protocolo DMX é um sinal de alta velocidade uso para controlar equipamento inteligente de luz. É necessário ligar em série ovosso controlador DMX a todas as unidas conectadas com um cabo balanceado de boa qualida
- Ambos os connectores XLR 3 pinos e XLR 5 pinos são usados, mas os XLR 3 pinos são mais populares porque这只是 cabos são compatíveis com cabos de录音 balanceados.
Configuração XLR 3 pinos: Pino 1 = Terra ~ Pino 2 = Sinal negativo (-) ~ Pino 3 = Sinal positivo (+)
Configuração XLR 5 pinos: Pino 1 = Terra ~ Pino 2 = Sinal negativo (-) ~ Pino 3 = Sinal positivo (+) ~ Pinos 4+5 não são usados.
- Para prevenir comportamento estranho dos efeitos de luz, devido a interferências,deeru using a resistência de 90 a 120 no final da série. Nunca utilize divisor de cabo Y,isto simplesmente não funciona!
- Verifique se todas as unidades está ligadas à corrente.
- Cada efeito de luz na série precise da ter o seu propre endereço inicial para saber quais os comandos do controlador que tem de descodificar. Naproxima sequção irá,aplerder como configurar os endereços DMX.


COMO DEFINIR O ENDERECO INICIAL CORRECTO:
Consulte o capíttuão proxies (Configuração endereços DMX) para fazer como definir o endereço inicial deostaunities. O endereço inicial de cadaunities é muito importante. Infolzmente é imposível indicar este manual qual o endereço inicial que deve utilizesporque depende completenessdo controlador que iráutilizar... Por isso consulte omanual do seu controlador DMX para descobrir qual o endereço inicial que deverautilizar.
CONFIGURAÇÃO DMX DO MYSTERY LED II & MAGIC LED II:
MODO DE CANAL 1
MODO DE CANAL 3
| Ch1 | Ch1 | Ch2 | Ch3 | |
| Chase | Dimmer/Strobe | Color | Rotation | |
| 250-255 | Random Chase | 248-255 On | 248-255 Color 32 | 246-255 Stop |
| 230-249 | Chase 11 | 248-255 On | 248-255 Color 31 | Fast |
| 210-229 | Chase 10 | 248-255 On | 248-255 Color 29 | 135-245 Slow |
| 190-209 | Chase 9 | 248-255 On | 248-255 Color 28 | |
| 170-189 | Chase 8 | 248-255 On | 248-255 Color 27 | |
| 150-169 | Chase 7 | 248-255 On | 248-255 Color 26 | |
| 130-149 | Chase 6 | 248-255 On | 248-255 Color 25 | |
| 110-129 | Chase 5 | 248-255 On | 248-255 Color 24 | |
| 90-109 | Chase 4 | 248-255 On | 248-255 Color 23 | |
| 70-89 | Chase 3 | 248-255 On | 248-255 Color 22 | |
| 50-69 | Chase 2 | 248-255 On | 248-255 Color 21 | |
| 30-49 | Chase 1 | 0-199 | 135-245 Slow | |
| 0-29 | OFF | |||
2 modelos DMX está disponiveis: Modelo 1CH e 3CH:
Modo de 1 canal:
Pode ter o controlo total de todas as funções do aparelho
- Canal 1: controlo de intensidade eefeito strobe
- Canal 2: selecione uma das 32 combinações de cor disponiveis
- Canal 3: Velocidade de rotação e direção
CONFIGURAR
MENU PRINCIPAL:
- Para seleccionar qualquer das opções do menu, pressione o botão MENU até que a desejada sera boa. no visor.
- Confirme a função com o botão ENTER. O visor irá piscar.
- Use os botões DOWN (baixo) e UP (cima) para escolher a opção desejada.
Assim que a opção desejada esta selecionada, pressione o botão ENTER para selecionar. Após 8 seguros, o menu ia returnar as funções sem qualquer alteração. Para returnar às funções sem qualquer alteração pressione o botão MENU. A estrutura do menu é muitoada em boa.

Configuração endereços DMX512
Usado para definir o endereço inicial numa configuração DMX.
- Pressione o botão MENU até que Addr seja muito dostrado no visor
- Pressione ENTER e o visor irá piscar.
- Utilize os botões UP e DOWN para alterar o endereço DMX512.
Após selección o endereço, pressione ENTER para confirmar o endereço DMX ou voltá automatamente às funções principales sem alterações 8 segundos depois
- Pressione o botão MENU porriba de 2 segundos para regressar ao modo automatico.

Modo Canal
Usado para definir o number de canais DMX.
Pressione o botao MENU até que [chid] sera做不到 no visor.
- Pressione o botão ENTER, o visor começa a piscar.
- Use os botões DOWN e UP para selecionar o modo [1] (1 canal) ou [3] (3 canais)
- Assim que o modo está je selecionado, pressione o botao ENTER para configurar (ou automaticamente returnar as funções principais antes 8 segundos).
- Pressione o botão MENU por.kraca de 2 segundos para regressar ao modo automatico.

Modo Slave
Usado para colocar a unidade em modo Master ou Slave
- Pressione o botão MENU ate que sera SLnd meuado no visor.
- Pressione o botão ENTER, o modo de functiәnamento corrente促成 a piscar no visor.
- Use os botões DOWN e UP para selecionar [n35] (master), [SL] (slave em sincronia com o master) ou [SL] (2 expectáculos de luz - slave em modo inverso com o master)
- Ao'seLECTIONR o modo, pressione ENTER para confirmar ou voltar automaticamente às funções principais sem alterações 8 segundos antes
- Pressione o botão MENU por.kraca de 2 segundos para regressar ao modo automatico.

Modo Show
Usage para escolher um dos expectáculos programados quando uso em modo autônomo ou master/slave
- Pressione o botão MENU até que ShfD está muito dostrado no visor.
- Pressione o botão ENTER, o expectáculo corrente começa a piscar no visor.
- Use os botões DOWN e UP para selecionar uma das 12 programas incorporedados (show 0) a (show 8)
Após selección o modo, pressione ENTER para confirmar ou voltar automaticamente às funções principais sem alterações 8 segundos(befores).
- Pressione o botão MENU por.kraca de 2 segundos para regressar ao modo automatico.

Sound Mode
Usado para escolher o modo de som desejado para activar os programas.
- Pressione o botão MENU até que 500n sera muito boa no visor.
-
Pressione ENTER
-
Use os botões DOWN e UP para selecionar on o off:
-
[on] (sound mode ON) os programas são Activados pelo microfone interno.
- (sound mode OFF) → os programas são activados pela velocidade selecionada com os programas.
- Após selección o modo, pressione ENTER para confirmar.
- Pressione o botão MENU por.kraca de 2 segundos para regressar ao modo automatico.

Modo Blackout
Modo Blackout: Quando o sinal DMX não é detectado, aunities entra em blackout
Sem modo blackout: quando o sinal DMX não é detectado, aunities automaticamente muda para o modo master.
- Pressione o botão MENU até que blnd sera minha no visor.
- Pressione o botão ENTER, o visor irá começar a piscar.
- Utilize os botões UP e DOWN para selecionar y ba (com blackout) ou n b o (sem blackout).
Apos selecionar o modo, pressione ENTER para confirmar ou voltar automaticamente as funções principais sem alteracoes 8 segundos(befores)
- Pressione o botão MENU por.kraca de 2 segundos para regressar ao modo automatico.

Visor de LEDs
Visor on: visor está sempre ligado
Visor off: visor está desligado quando não está a ser uso
- Pressione o botão MENU até que está como normal no visor.
- Pressione o botão ENTER, o visor irá começar a piscar.
- Utilize os botões UP e DOWN para selecionar (LEDs acemos) ou (LEDs apagados).
Apos selecionar o modo, pressione ENTER para confirmar ou voltar automaticamente as funções principais sem alteracoes 8 segundos(befores).
- Pressione o botão MENU por.kraca de 2 segundos para regressar ao modo automatico.

Inversão do Visor
Visor normal: O visor é legivable quando aunities está no chão.
Inversão do Visor: O visor é legível quando a unidade é montada de pernas para o ar.
- Pressione o botão MENU até que éi SP comece a piscar no visor
- Pressione ENTER para Mudar para modo (inversao do visor). A opcao sera guardada automaticamente 8 segundos antes ou pressione ENTER novamente para voltar ao mode (visor normal).
Para returnar as funções pressione o botão MENU.
- Pressione o botão MENU porerca de 2 segundos para regressar ao modo automatico.

Self-Test
- Pressione o botão MENU até que ESE sera muito dificuld no visor.
- Pressione o botão ENTER: a unit irá efectuar o programa incorporedo para auto teste. Para returnar as funções pressione o botão MENU.
- Pressione o botão MENU por.kraca de 2 segundos para regressar ao modo automatico.

Horas da unidade
- Pressione o botão MENU até que FhrS sera muito do algo visor.
- Pressione o botão ENTER e a equipe irá做不到 ser capaz de fazer algo para returnar as funções pressione o botão MENU.
- Pressione o botão MENU por.kraca de 2 segundos para regressar ao modo automatico.

Versão do Software:
Usado para做不到 a versao do software da unidade.
- Pressione o botão MENU até que [Uer] está muito segido no visor.
- Pressione o botão ENTER para fazer a versão do software da equipe.
Para returnar as funções pressione o botão MENU. - Pressione o botão MENU por.kraca de 2 segundos para regressar ao modo automatico.

Reset
- Pressione o botão MENU até que éseja àstraço no visor.
- Pressione o botão ENTER: a unidade reinicia e todos os motores irão regressar à sua posção inicial.
HOME POSITION ADJUST:
- Pressione o botão ENTERerca de 5 segundos até que o visor moste OPAN.
- Pressione ENTER para confirmar
- Use os botões CIMA E BAIXO para fazer a posção inicial (-127, +127) do motor
- Pressione o botão ENTER para confirmar, ou pressione MENU para sair do modo offset sem qualquer alterações
Esta funciona éutil para quando é necessário um expectáculo instantáneo. Ao ligar as unidas em modo master/slave, a minha unidade é controlar as restantes unidas e executar um expectáculo de luz sincronizzato automatístico activado por som. Na sua entrada DMX não sera ligado nada, o led Master está sempre ligado e o led SOUND é pescar ao ritmo da música.
Important!Esta funcão apenas funca quando o modo Blackout no menu da unidade Master está definido como OFF, de outra forma nada ia acontecer. Saiba mais sobre esta opção no paragrafo "Como Configurar"
- MASTER tem 8 programas incorporeados: Pode escolher (show 0) a (show 8) directamente no menu da unidade Master.
SLAVES tem 2 opções de functimento: As outras unidas está definidas para modo Slave (led SLAVE sempre ligado). Para Criar um bom expectáculo de luz pode introduzir movimentos contrários
→ No menu das unidades Slave pode ir a opcao SLnd e escolher:
Slave normal: Unidade Slave funciona sincronizada com a Master.
512 2 light show: Slave direccion em oposto a Master.

- ATRAVÉS DO CONTROLADOR CA-8:
Quando uso en modo Master/Slave recomendamos vivamente que utilize o controlador CA-8. Conectar este(PCqueno controlador a entrada jack de 1 / 4 "da unidade Master, e ira ser possivel controlar as seguintes funcao:
| Standby | Coloca a unidad em Blackout | ||
| Function | 1/ Strobe sincrono 2/ Strobe assincrono 3/ Strobe ao ritmo do som | Espectáculo 1-8 | Selección Velocidade 1/ Lenta 2/ Média 3/ Rápida |
| Mode | Strobe/ Som (LED apagado) | Show (LED Ligado) | LED a piscar |
MANUTENÇAO
- Certifique-se que sob a area de instalação da unidade não irão passar pessoas durante a manutenção.
- Deslgue o cabo de alimentacao da corrente e aguarde que a unidade arrefeca.
Durante a inspecção deverá verficar os seguintes pontos:
- Todos os parafusos realizados nas peças da unidade e na instalaçãodeerao estar apertados firmamente e não poderao estar corroidos.
- A cobertura da unidade, os pontos de fixação e as和地区 de instalação (tecto, armação, etc.) não deverçaoDSPresentar qualquer deformação.
- Caso una lente après danos visibileis como fendas ou riscos profundos,deera ser substituida imeditamente.
- O cabo de alimentação deverá estar em perfeitas condições e deverá ser substituído assim que for detectado o mais pouco dano.
- As ventoinhas de arrefecimento (caso existam) e os orificios de ventilação deferçao ser limpos todos os mezes de modo a fazer que unidade sobraqueça.
- Utilize um aspirador ou um compressor de ar para limpar o interior da unidade uma vez por ano.
-
De forma a optimizar a projeção de luz, limpe as lentes ópticas internas e externas e/ou espelhos periodically. A regularidade das limpeças depende do ambiente em que está instalada aunities: um ambiente humido, com fumo ou poeirento dará origem a uma maior acumulação de impurezas nas ópticas daunities.
-
Utilize um pano macio e um limpa-vidros normal na limpeza da unidade.
- Seque sempre as peças preocupadosamente.
- Limpe as ópticas externas pelo menos uma vez em cada 30 dias.
- Limpe as ópticas internas pelo menos uma vez em cada 90 dias.
Atença: Recomendamos vivamente que a limpeza do interior da unidade está efetuada por pessoal qualificado!
ESPECIFICAÇÖES
Fonte de Alimentação:
250V 6,3A Fusão Lenta (20mm vidro)
Pode fazer download da versão mais recente deste manual noypasso site: www.beglec.com
ManualFácil