MODE D'EMPLOI FOCUS FORD
FORD FOCUS Manuel du conducteur
Ford
Les informations de cette publication étaient exactes au moment de la mise sous presse. Dans le cadre de notre développement continu, nous pouvons réservés le droit de modifier les specifications, la conception ou les équipements à tout moment, et ce sans préavis ni obligation. Aucune partie de ce document ne peut être reproductive, transmise, stockée dans un système d'extraction ni traduite dans une langue quelconque, sous quelque forme et par quelque moyen que ce soit, sans notre accord écrit. Sauf erreurs et omissions.
Tous droits réservés.
Numéro de pièce: CG3568fr 06/2012 20120628180116
Glossaire des symboles. 9
Recommandations pour les pièces de rechange 11
Bref aperçu
Bref aperçu. 12
Sécurité des enfants
Sièges de sécurité infant. 20
Positionnement du siège de sécurité enfant. 21
Sièges réhausseurs. 24
Points d'ancrage ISOFIX. 25
Principes de fonctionnement. 28
Bouclage des ceintures de sécurité...30
Réglage en hauteur des ceintures de sécurité 30
Rappel de bouclage de ceinture de sécurité. 31
Utilisation des ceintures de sécurité par les femmes enceintes. 31
Désactivation du coussin gonflable passager. 32
Clés et télécommandes
Informations générales sur les fréquences radio. 33
Programmation de la télécommande. 33
Remplacement de la pile de la télécommande. 33
Serrures
Verrouillage et déverrouillage. 36
Entrée sans clé. 38
Ouverture et fermeture globales. 41
Protection de bord de porte
Principes de fonctionnement. 43
Changement de la protection de bord de porte. 43
Système d'immobilisation
Principes de fonctionnement. 44
Clés codées. 44
Armement du système d'immobilisation du moteur. 44
Désarmement du système d'immobilisation du moteur. 44
Alarme
Principes de fonctionnement. 45
Armement de l'alarme. 46
Désarmement de l'alarme. 46
Volant de direction
Réglage du volant. 48
Commandes audio. 48
Commande vocale. 49
Essuie-glaces/lave-glaces
Essuie-glace du pare-brise. 50
Essuie-glace à activation automatique. 50
Lave-glaces du pare-brise. 51
Essuie-glaces et lave-glaces de lunette arrière. 52
Lave-phares. 52
Contrôle des balais d'essuie-glaces... 53
Remplacement des balais d'essuie-glaces. 53
Éclairage
Commandes d'éclairage 55
Allumage automatique des phares.....56
Commande de feu des routes automatiques. 56
Antibrouillards. 58
Feux arrière de brouillard. 59 Réglage des projecteurs - Véhicules avec: Eclairage avant autoadaptatif/Phares à décharge à haute intensité............59 Réglage en hauteur du faisceau des projecteurs. 59 Feux de détresse. 60 Clignotants. 60 Phares de virage. 61 Eclairage intérieur. 61 Dépose d'un phare. 63 Remplacement d'une ampoule. 64 Tableau de spécifications des ampoules. 71
Vitres et rétroviseurs
Lève-vitres électriques. 73 Rétroviseurs extérieurs. 75 Rétroviseurs extérieurs à réglage électrique. 75 Rétroviseur anti-éblouissement automatique. 76 Contrôleur d'angle mort 76
Combiné des instruments
Instruments. 80 Témoins d'avertissement et indicateurs. 83 Signaux sonores et indicateurs. 86
Généralités 88 Ordinateur de bord. 95 Réglages personnalisés. 95 Messages d'information. 96
Contrat de licence d'utilisateur final
Principes de fonctionnement. 109 Ouvies d'aération. 109
Climatisation manuelle. 110 Climatisation automatique. 112 Vitres chauffantes et rétroviseurs chauffants. 115 Toit ouvrant à commande électrique. 116 Chauffage auxiliaire. 118
Sièges
S'asseoir dans la position correcte.....121 Sièges à réglage manuel. 121 Appuis-têtes. 122 Sièges à réglage électrique - Véhicules avec: Sièges électriques 6 voies......124 Sièges à réglage électrique - Véhicules avec: Sièges électriques 8 voies......125 Sièges arrière. 126 Sièges chauffants. 127
Fonctions de comportement
Réglage de l'intensité d'éclairage du combiné des instruments. 129 Montre de bord. 129 Allume-cigares. 129 Points d'alimentation auxiliaire. 129 Porte-gobelets. 130 Porte-verre. 130 Rétroviseur de surveillance. 131 Prise d'entrée auxiliaire. 131 Port USB. 131 Support de dispositif d'aide à la navigation. 131 Tapis de sol. 131
Démarrage et arrêt du moteur
Généralités 132 Commutateur d'allumage. 132 Verrou de direction. 132 Démarrage d'un moteur à essence......133
Démarrage d'un moteur à essence - Flexible Fuel. 134
Démarrage d'un moteur diesel.135
Démarrage sans clé. 135
Filtre à particules diesel. 137
Mise à l'arrêt du moteur. 138
Projecteurs antibrouillard. 138
Démarrage-arrêt
Principes de fonctionnement. 139
Utilisation du démarrage-arrêt............139
Mode eco
Principes de fonctionnement. 141
Utilisation du mode Eco. 141
Carburant et ravitaillement
Précautions de sécurité. 142
Qualité du carburant - Essence. 142
Qualité du carburant - Flexible Fuel......142
Qualité du carburant - Diesel. 143
Convertisseur catalytique. 143
Trappe du réservoir de carburant.....144
Remplissage. 146
Consommation de carburant. 146
Spécifications techniques. 146
Transmission
Boîte de vitesses manuelle. 149
Transmission automatique. 149
Freins
Principes de fonctionnement. 153
Interrupteur de coupure d'alimentation. 153
Frein de stationnement. 153
Programme de stabilité électronique
Principes de fonctionnement. 155
Utilisation du programme de stabilité électronique. 156
Utilisation du programme de stabilité électronique - 2.0L EcoBoost SCTi (MI4)............156
Aide au démarrage en côte
Principes de fonctionnement. 157
Utilisation de l'aide au démarrage en côte............157
Démarrage du véhicule à l'aide de câbles volants
Principes de fonctionnement. 159
Système d'aide au stationnement - Véhicules avec: Système d'aide au stationnement arrêté............159
Système d'aide au stationnement - Véhicules avec: Aide au stationnement avant et arrêté............161
Caméra de rétrovision
Principes de fonctionnement. 163
Caméra de recul 163
Active park assist
Principes de fonctionnement. 166
Régulateur de vitesse
Principes de fonctionnement. 169
Utilisation du régulateur de vitesse......169
Régulateur de vitesse adaptatif (ACC)
Principes de fonctionnement. 171
Utilisation du régulateur de vitesse adaptative. 173
Fonction Forward alert (alerte de ralentissement du traffic)............175
Limiteur de vitesse
Principes de fonctionnement. 177
Utilisation du limiteur de vitesse......177
Avertissement du conducteur
Principes de fonctionnement. 179
Utilisation de l'accélération du conducteur............179
Avertissement de démarrage sur voie
Principes de fonctionnement. 181
Utilisation de l'accélération de démarrage sur voie............182
Aide au maintien de l-trajectoirel
Principes de fonctionnement. 184
A l'aide de l'aide au maintien de trajectoire. 185
Reconnaissance des panneaux de signalisation
Principes de fonctionnement. 187
À l'aide de la reconnaissance des panneaux de signalisation. 187
Active city stop
Principes de fonctionnement. 189
À l'aide de l'Active City Stop - 2.0L EcoBoost SCTi (MI4)190
Chargement du véhicule
Généralités. 191
Points d'ancrage des bagages. 191
Couvre-bagages. 191
Filets à bagages. 192
Grille de séparation pour chien. 193
Barres de toit longitudinales et transversales. 195
Remorquage
Traction d'une remorque. 198
Traction d'une remorque - 2.0L EcoBoost SCTi (MI4)198
Boucle de remorquage rétractable 198
Bouledogue. 201
Conseils pour la conduite
Rodage. 205
Précautions nécessaires par temps froid. 205
Conduite sur route inondée. 205
Dispositifs d'aide au stationnement
Trousse de premiers secours. 206
Triangle de signalisation. 206
Fusibles
Emplacement des boîtes à fusibles.....207
Remplacement d'un fusible. 208
Tableau des spécifications des fusibles. 209
Dépannage
Points de remorquage 217
Remorquage du véhicule sur ses quatre roues. 217
Entretien
Généralités. 219
Ouverture et fermeture du capot.....220
Vue d'ensemble sous le capot - 1.0L EcoBoost. 221
Vue d'ensemble sous le capot - 1.6L Duratec-16V (Sigma) 222
Vue d'ensemble sous le capot - 1.6L EcoBoost SCTi (Sigma) 223
Vue d'ensemble sous le capot - 2.0L EcoBoost SCTi (MI4) 224
Vue d'ensemble sous le capot - 2.0L Duratec-HE (MI4) 226
Vue d'ensemble sous le capot - 1.6L Duratorq-TDCi (DV) Diesel.227
Vue d'ensemble sous le capot - 2.0L Duratorq-TDCi (DW) Diesel............229
Jauge de niveau d'huile moteur - 1.0L EcoBoost. 230
Jauge de niveau d'huile moteur - 1.6L Duratec-16V (Sigma) 230
Jauge de niveau d'huile moteur - 1.6L EcoBoost SCTi (Sigma) 230
Jauge de niveau d'huile moteur - 2.0L EcoBoost SCTi (MI4) 230
Jauge de niveau d'huile moteur - 2.0L Duratec-HE (MI4) 231
Jauge de niveau d'huile moteur - 1.6L Duratorq-TDCi (DV) Diesel / 2.0L Duratorq-TDCi (DW) Diesel............231
Contrôle de l'huile moteur. 231
Contrôle du liquide de refroidissement. 232
Contrôle du liquide de freins et d'embrayage. 233
Contrôle du liquide lave-glace. 233
Spécifications techniques. 234
Nettoyage du véhicule
Nettoyage de l'extérieur. 237
Nettoyage de l'intérieur. 238
Réparation des dégâts mineurs de peinture. 238
Batterie du véhicule
Démarrage du véhicule à l'aide de câbles volants. 239
Remplacement de la batterie 240
Points de branchement de batterie...240
Jantes et pneus
Généralités. 242
Remplacement d'une roue. 242
Kit de mobilité temporaire 247
Entretien des pneus. 251
Utilisation de pneus hiver. 252
Utilisation de chaînes à neige............252
Utilisation de chaînes à neige - 2.0L EcoBoost SCTi (MI4)................................252
Système de surveillance de la pression des pneus. 253
Spécifications techniques. 254
Identification du véhicule
Plaque d'identification du véhicule.....259
Numéro de châssis du véhicule.260
Quantités et spécifications
Spécifications techniques. 261
Introduction au système audio
Informations importantes concernant le système audio. 266
Présentation de l'autoradio
Présentation de l'autoradio. 267
Sécurité du système audio
Code antivol : 275
Fonctionnement de l'autoradio
Commande de marche/arrêt. 276
Bouton de réglage du son. 276
Bouton de gamme d'ondes. 276
Commande de recherche des stations. 276
Touches de préselection des stations. 277
Commande de mémorisation automatique. 277
Commandes informations routières 278
Commande automatique de volume 279
Traitement du signal numérique (DSP) 279
Diffusions de nouvelles. 279
Fréquences de substitution 279
Mode régional 280
Lecteur de disque compact
Lecture de disque compact. 281
Sélection d'une plage musicale............281
Avance/retour rapide. 281
Lecture aléatoire. 281
Répartition des plages du disque compact. 282
Balayage des plages d'un disque compact. 282
Lecture de fichiers MP3............282
Options d'affichage MP3............283
Arrêt de la lecture du disque compact. 283
Prés d'entrée auxiliaire (AUX IN)
Prise d'entrée auxiliaire (AUX IN) 284
Dépistage des pannes audio
Dépistage des pannes audio. 285
Téléphone
Généralités. 286
Configuration du téléphone 287
Commandes de téléphone. 288
Utilisation du téléphone. 288
Commande vocale
Principes de fonctionnement. 291
Utilisation de la commande vocale......291
Commandes d'autoradio. 292
Commandes de téléphone. 300
Commandes de chauffage, ventilation et climatisation. 305
Connectivité
Généralités. 308
Branchement d'un dispositif externe. 309
Branchement d'un dispositif externe - Véhicules avec : Bluetooth............310
Utilisation d'un dispositif USB 310
Utilisation d'un iPod 312
Introduction à la navigation
Généralités 314
Sécurité routière 314
Vue d'ensemble du bloc de commande du système d'aide à la navigation
Vue d'ensemble du bloc de commande du système d'aide à la navigation....316
Chargement des données de navigation. 321
Démarrage rapide de la navigation
Démarrage rapide de la navigation......322
Réglages du système
Réglages du système. 325
Système d'aide à la navigation
Menu des options d'itinéraire. 328
Affichages d'itinéraires. 329
Fonction TMC
Principes de fonctionnement. 331
Utilisation de la fonction TMC. 331
Mises à jour de la cartographie
Mises à jour de la cartographie............332
Généralités 333
Utilisation de la reconnaissance vocale 335
Utilisation de SYNC® avec votre téléphone............338
Utilisation de SYNC® avec votre lecteur multimédia 354
Diagnostic de SYNC® 359
Homologations de types. 367
Homologations de types. 367
Homologations de types. 367
Homologations de types. 368
Homologations de types. 368
Homologations de types. 369
Homologations de types. 369
Homologations de types. 369
Compatibilité électromagnétique......369
Chauffe-bloc moteur. 371
Merci d'avoir choisi Ford. Nous vous recommandons de prendre un peu de temps pour vous familiariser avec ce véhicule en lisant ce manuel. Plus vous en saurez sur lui, plus vous aurez de plaisir à le conduire et plus vous pourrez le faire en sécurité.
Avertissement

Veillez à toujours conduire et à utiliser les commandes et fonctions du véhicule avec l'attention et les options qui s'imposent.
Note: Ce manuel décrit des fonctions et options de produits disponibles dans toute la gamme, des fois avant même qu'ils ne soient disponibles d'une manière générale. Il peut désigner des options dont votre véhicule n'est pas équipé.
Note: Certaines des illustrations de ce manuel peuvent être utilisées pour différents modèles, elles peuvent sembler différentes dans le cas de votre véhicule. Toutefois, l'information essentielle contenue dans les illustrations est always correcte.
Note: Veuillez toujours utiliser votre véhicule conformément aux lois et règlements en vigueur.
Note: Au moment de la revente de votre véhicule, veuillez remettre ce manuel au nouveau propriétaire. Le Guide d'Utilisation fait partie intégrante du véhicule.
Protection de l'environnement
Vous avez un rôle à jouer dans la protection de l'environnement. L'utilisation correcte du véhicule et la mise au rebut des déchets, des produits de nettoyage et des lubrifiants de la manière prescrite constituent autant de pas franchis dans la réalisation de ces objectifs.
Voici certains des symboles que vous pourriez observer sur votre véhicule.

Alerte de sécurité

Se reporter au Manuel du propriétaire

Système de freinage antiblocage (ABS)

Interdiction de fumer, flammes et étincelles interdites

Pile

Acide de batterie

Liquide de frein - base non pétrolière

Système de freinage

Filtre à air d'habitacle

Vérifier le bouchon de réserve de carburant

Verrouillage ou déverrouillage de la sécurité infant sur les portes

Ancrage inférieur de siège infant

Ancrage de sangle de siège infant

Régulateur automatique de vitesse

Ne pas ouvrir à chaud

Filtre à air du moteur

Liquide de refroidissement du moteur

Température du liquide de refroidissement

Huile de transmission

Gaz explosives

Attention, ventilateur

Boucler la ceinture de sécurité

Airbag avant

Projecteurs antibrouillard

Réinitialisation de la pompe d'alimentation

Boîte à fusibles

Feux de détresse

Lunette arrêt chauffante

Boîtier de raccordement de batterie

Ouverture intérieure du coffre à bagages

Cric

Commande d'éclairage

Pneus sous-gonflés

Vérifier le niveau de liquide

Alarme de détresse

Aide au stationnement

Frein de stationnement

Liquide de direction assistée

Vitres électriques avant/arrière

Verrou de vitres électriques

Entretien moteur proche

Airbag latéral

Contrôle de stabilité

Nettoyage et balayage du pare-brise
Recommandations pour les PIECES de rechange
Votre véhicule a été construit selon les normes les plus strictes en utilisant des pièces de qualité. Nous vous recommandons d'exiger l'utilisation de pièces Ford et Motorcraft authentiques chaque fois que vous confiez votre véhicule pour une réparation ou un entretien planifié. Vous pouvez facilement identifier les pièces Ford et Motorcraft authentiques en recherchant la présence de la marque Ford, FoMoCo ou Motorcraft sur les pièces ou sur leur emballage.
Entretien programme réparations mécaniques
Un des meilleurs moyens de préserver le bon fonctionnement de votre véhicule au fil des ans consiste à le faire entretenir dans le respect de nos recommandations en utilisant des pièces conformes aux spécifications détaillées dans le présent Manuel du propriétaire. Les pièces Ford et Motorcraft authentiques respectent ou dépassent ces spécifications.
Réparations en cas de collision
Nous espérons que vous ne serez jamais victime d'une collision, mais personne n'est à l'abri d'un accident. Les pièces de rechange Ford authentiques utilisées en cas de collision respectent nos strictes exigences en matière d'ajustement, de finition, d'intégrité structurelle, de protection contre la corrosion et de résistance aux bosses. Au cours du développement d'un véhicule, nous nous assurons que ces pièces offrent le niveau de protection souhaité en tant que système global. Pour avoir l'assurance de bénéficier de ce niveau de protection, il vous suffit d'utiliser des pièces de rechange Ford authentiques.
Garantie des pièces de rechange
Les pièces de rechange Ford et Motorcraft authentiques sont les seules à bénéficier d'une Garantie Ford. Les dommages provoqués au véhicule suite à la défaillance de pièces non-Ford risquent de ne pas être couverts par la Garantie Ford. Pour plus d'informations, se reporter aux conditions de la Garantie Ford.
Aperçu extérieur avant

A Voir Verrouillage et déverrouillage (page 36). Voir Entrée sans clé (page 38). B Voir Commande de feux de route automatique (page 56). Voir Avertissement du conducteur (page 179). Voir Avertissement de démarrage sur voie (page 181). Voir Aide au maintien de trajectoire (page 184). Voir Reconnaissance des panneaux de signalisation (page 187). Voir Active City Stop (page 189). C Voir Remplacement des balais d'essuie-glaces (page 53).
D Voir Entretien (page 219). E Voir Points de remorquage (page 217). F Voir Remplacement d'une ampoule (page 64). G Voir Pressions des pneus (page 254). H Voir Remplacement d'une roue (page 242).
Aperçu de l'intérieur du véhicule
Bref aperçu
Voir Transmission (page 149). Voir Verrouillage et déverrouillage (page 36). Voir Lève-vitres électriques (page 73). Voir Rétroviseurs extérieurs à réglage électrique (page 75). Voir Appuis-têtes (page 122). Voir Bouclage des ceintures de sécurité (page 30). Voir Sièges arrière (page 126). Voir Sièges à réglage manuel (page 121). Voir Sièges à réglage électrique (page 124). Voir Frein de stationnement (page 153).
Voir Ouverture et fermeture du capot (page 220).
Vue d'ensemble du combiné des instruments conduite à gauche

E132738
Conduite à droite
E132739
A Aérateurs. Voir Ouiès d'aération (page 109). B Indicateurs de direction. Voir Clignotants (page 60). Feu de route. Voir Commandes d'éclairage (page 55). C Véhicules à conduite à gauche avec commande vocale - Commande de l'afficheur d'information. Voir Affichages d'informations (page 88). C Véhicules à conduite à gauche sans commande vocale - Commande de l'afficheur d'information. Voir Affichages d'informations (page 88). C Véhicules à conduite à droite avec commande vocale - Commande de l'afficheur multifonction. C Véhicules à conduite à droite sans commande vocale - Commande de l'afficheur d'information. Voir Affichages d'informations (page 88). D Combiné des instruments. Voir Instruments (page 80). Voir Témoins d'advertisement et indicateurs (page 83).
Bref aperçu
E Véhicules à conduite à gauche avec commande vocale - Commande de l'afficheur multifonction. E Véhicules à conduite à gauche sans commande vocale - Commande audio. Voir Commandes audio (page 48). E Véhicules à conduite à droite avec commande vocale - Commande de l'afficheur d'information. Voir Affichages d'informations (page 88). E Véhicules à conduite à droite sans commande vocale - Commande audio. Voir Commandes audio (page 48). F Levier d'essuie-glace. Voir Essuie-glaces/lave-glaces (page 50). G Afficheur multifonction. H Autoradio. Voir Présentation de l'autoradio (page 267). I Bouton de verrouillage de porte. Voir Verrouillage et déverrouillage (page 36). J Commutateur de faux de détresse. Voir Feux de détresse (page 60). K Commutateur de contrôle dynamique de stabilité. Voir Utilisation du programme de stabilité électronique (page 156). L Commutateur de système d'aide au stationnement. Voir Démarrage du véhicule à l'aide de câbles volants (page 159). M Commutateur d'aide active au stationnement. Voir Active Park Assist (page 166). N Commutateur Démarrage/arrêt. Voir Utilisation du démarrage-arrêt (page 139). O Commutateur de lunette arrière chauffante. Voir Vitres chauffantes et rétroviseurs chauffants (page 115). P Commutateur de pare-brise chauffant. Voir Vitres chauffantes et rétroviseurs chauffants (page 115). Q Commandes de climatisation. Voir Contrat de licence d'utilisateur final (page 109). R Bouton de démarrage. Voir Démarriage sans clé (page 135). S Commutateur d'allumage. Voir Commutateur d'allumage (page 132). T Commande audio. Voir Commandes audio (page 48). Commande vocale. Voir Commande vocale (page 49). Commande du téléphone. Voir Commandes de téléphone (page 288). U Réglage du volant. Voir Réglage du volant (page 48). V Avertisseur sonore.
W Commutateurs de régulateur de vitesse. Voir Utilisation du régulateur de vitesse (page 169). Commandes du régulateur de vitesse adaptatif (ACC). Voir Utilisation du régulateur de vitesse adaptatif (page 173). Commandes du limiteur de vitesse. Voir Utilisation du limiteur de vitesse (page 177). X Commande d'éclairage. Voir Commandes d'éclairage (page 55). Projecteurs antibrouillard. Voir Antibrouillards (page 58). Feu arrière de brouillard. Voir Feux arrière de brouillard (page 59). Commande de réglage de hauteur des phares. Voir Réglage en hauteur du faisceau des projecteurs (page 59). Rhéostat d'éclairage des instruments. Voir Réglage de l'intensité d'éclairage du combiné des instruments (page 129).
Aperçu extérieur arrêté
E133221
A Voir Remplacement des balais d'essuie-glaces (page 53). B Voir Remplacement d'une ampoule (page 64). C Voir Remplacement d'une ampoule (page 64). D Voir Trappe du réservoir de carburant (page 144). E Voir Remplacement d'une roue (page 242). F Pressions des pneus. Voir Spécifications techniques (page 254).
G Voir Points de remorquage (page 217). H Voir Trousse de premiers secours (page 206). Voir Triangle de signalisation (page 206). Voir Kit de mobilité temporaire (page 247). Roue de secours. Voir Remplacement d'une roue (page 242). Cric. Voir Remplacement d'une roue (page 242). Manivelle pour jante. Voir Remplacement d'une roue (page 242). Ceinture de remorquage. Voir Points de remorquage (page 217). Entonnoir de carburant. Voir Trappe du réservoir de carburant (page 144).
Sièges de sécurité ENFANT
E68916
Avertissements
! Attacher les enfants de moins de 150 centimètres dans un dispositif de retenue pour infant homologué, sur la banquette arrière. Danger extrême! Ne pas installer un siège de sécurité enfant de type dos à la route sur un siège protégé par un coussin gonflable frontal! Lisez et suivez les instructions du fabricant lors de la pose d'un dispositif de retenue pour enfant. Ne modifies pas les dispositifs de retenue pour enfants de chaque manière que ce soit. Ne tenez jamais un enfant assis sur vos genoux lorsque le véhicule se déplace.
Avertissements
Ne laissez pas des enfants seuls dans le véhicule. Si votre véhicule a été impliqué dans un accident, faites contrôler les dispositifs de retenue pour enfants par des techniciens correctement formés.
Note: Les obligations relatives aux dispositifs de retenue pour enfants varient d'un pays à l'autre.
Seuls les dispositifs de retenue pour enfants conformes à la norme ECE-R44.03 (ou ultérieure) ont été testés et approuvés pour être utilisés dans votre véhicule. Un besoin de produits est disponible chez votre concessionnaire.
Dispositifs de retenue pour enfants pour les différentes catégories de poids
Utilisez le dispositif de retenue pour enfant correct :
Siège de sécurité bébé
Attacher les enfants de moins de 13 kilos dans un siège de sécurité infant (Groupe 0+) dirigé vers l'arrière, sur la banquette arrière.
Siège de sécurité infant E68920
Attacher les enfants dont le poids est compris entre 13 et 18 kilos dans un siège de sécurité infant (Groupe 1) sur la banque arrière.
Avertissements

Veuillez consulter votre concessionnaire pour connaître les dernières informations concernant sièges infantiles recommandés par Ford
Avertissements

DANGER! Ne pas installer un siège de sécurité infant de type dos à la route sur un siège protégé par un airbag frontal!

En cas d'utilisation d'un siège infant avec un pied de soutien, le pied de soutien doit prendre solidement sur le plancher.

En cas d'utilisation d'un siège enfant avec une ceinture de sécurité, veiller à ce que la ceinture de sécurité ne présente pas de mou et qu'elle ne soit pas tissée.
Attention

Le siège enfant doit être solidement plaqué contre le siège du véhicule. Il pourrait être nécessaire d'élever ou de baisser l'appuie-tête. Voir Appuis-têtes (122).
Note: En cas d'utilisation d'un siège enfant sur le siège avant, toujours régler le siège passager avant au maximum vers l'arrière. S'il s'avère difficile de serrer l'enrouleur de la ceinture de sécurité sans qu'il y ait de mou, ajuster le dossier en position haute et régler la hauteur du siège. Voir Sièges (page 121).
| Sièges | Catégories de poids |
| 0 | 0+ | 1 | 2 | 3 |
| Jusqu'à 10kg (22 lbs) | Jusqu'à 13kg (29 lbs) | 9 - 18 kg(20 - 40lbs) | 15 - 25 kg(33 - 55lbs) | 22 - 36 kg(49 - 79lbs) |
| Siège passager avantavec airbag ACTIVE(ON) | X | X | UF1 | UF1 | UF1 |
| Siège passager avantavec airbag DESAC-TIVE(OFF) | U | U | U | U | U |
| Sièges arrêté | U | U | U | U | U |
Inapproprié pour les enfants dans cette catégorie de poids.
U Approprié pour les sièges de sécurité infant universels homologués pour cette catégorie de poids.
UF1 Approprié pour les sièges de sécurité infant face à la route universels homologués pour cette catégorie de poids. Toutefois, nous vous recommandons d'attacher les enfants dans un siège de sécurité homologué placé sur la banquette arrière.
Sièges-enfants ISOFIX
| Sièges | Catégories de poids |
| 0+ | 1 |
| Orienté vers l'arrière | Orienté vers l'avant |
| Jusqu'à 13 kg (29 lbs) | 9-18 kg (20-40 lbs) |
| Siège avant | Classe de tallée | Non équipé ISOFIX |
| Type de siège |
| ISOFIX de siège extérieur arrêté | Classe de tallée | C, D, E1 | A, B, B1, C, D1 |
| Type de siège | IL2 | IL, IUF3 |
| Siège central arrière | Classe de taille | Non équipé ISOFIX |
| Type de siège |
IL Approprié pour certains dispositifs de retenue pour enfants de la catégorie semi-universelle. Veuillez consulter les listes de recommandation fournie par les fournisseurs de dispositifs de retenue pour enfants.
IUF Approprié pour certains dispositifs de retenue pour enfants orientés vers l'avant de la catégorie universelle approvés pour ce groupe de masse et cette classe de taille ISOFIX.
La classe de taille ISOFIX pour les dispositifs de retenue pour enfants universels et semi-universels est déterminée par une lettre majuscule allant de A à G. Cette lettre d'identification est indiquée sur le dispositif de retenue pour enfants ISOFIX.
**Au moment de la publication, le groupe recommandé O+ ISOFIX de siège de sécurité pour bébés est le siège Britax Roemer Baby Safe **
**Au moment de la publication, le groupe recommendé O+ ISOFIX de siège de sécurité pour bébés est le siège Britax Roemer Duo. Veuillez consult **
Avertissements

N'installez pas un siège rehausserse avec la seule sangle ventrale de la ceinture de sécurité.

N'installez pas un siège rehausser avec une ceinture de sécurité détendue ou vrillée.

Ne placez pas la ceinture de sécurité sous le bras ou derrière le dos de votre enfant.

N'utilisez pas d'oreillers, de livres ou de serviettes pour rehausser votre enfant.

Veillez à ce que votre enfant soit assis en position verticale.

Attacher les enfants de plus de 15 kilos, mais mesurant moins de 150 centimètres dans un rehausseur (ou coussin).
Attention

Si vous installez un siège de sécurité enfant sur un siège arrêté, veillez à ce qu'il soit bien appuyé contre le siège réticule. Il pourrait être nécessaire de lever ou de rehausser l'appuie-tête. Voir Appuie-tête (page 122).
Rehausseur (groupe 2)
E70710
Nous vous recommandons d'utiliser un rehausseur sur combinant un coussin et un dossier à la place d'un coussin de rehausse uniquement. La position d'assise surélevée permettra de placer la sangle diagonale de la ceinture de sécurité au centre de l'épaule de votre enfant et la sangle ventrale bien ajustée sur le bassin.
Rehausseur (groupe 3)
E68924
Avertissement

Utiliser un dispositif anti-rotation lors de l'utilisation du système ISOFIX. Nous recommandons l'utilisation
d'un amarrage supérieur ou d'une patte de support.
Note: Lors de l'achat d'un dispositif de retenue ISOFIX, veiller à connaître le groupe de masse et la catégorie de taille ISOFIX corrects pour l'emplacement d'assise prévu. Voir Positionnement du siège de sécurité enfant (page 21).
Votre véhicule est équippe de points d'ancrage ISOFIX qui reçoivent de façon universelle les dispositifs de retenue pour enfants ISOFIX agréés.
Le système ISOFIX est composé de deux bras rigides sur le dispositif de retenue pour enfants qui se fixent sur des points d'ancrage prévus sur les sièges arrière, là où le coussin et le dossier se rencontrent. Des points d'ancrage supérieurs peuvent être également montés.

Points d'ancrage de sangle supérieure - 4 portes

Les points d'ancrage de sangle supérieure sont situés sous un volet.
Avertissement

Ne pas fixer une sangle d'amarrage à un autre endroit que le point d'ancrage d'amarrage correct.
Note : Retirer le couvre-bagages pour faciliter la pose, le cas échéant. Voir Couvre-bagages (page 191).
Avertissement

Veiller à ce que la sangle d'amarrage supérieure ne présente aucun mou ou qu'elle ne soit pas tordue et veiller qu'elle soit correctement placée sur point d'ancrage.
- Acheminer la sangle d'amarrage jusqu'au point d'ancrage.
E87145
- Pousser le dossier de siège de sécurité infant fermement pour engager les points d'ancrage inférieurs ISOFIX.
- Serrer la sangle d'amarrage conformément aux instructions du fabricant de sièges de sécurité infant.
Avertissement

Si les sécurité enfants sont activées, vous ne pouvez pas ouvrir les portes à partir de l'intérieur.
Sécurités enfants à commande manuelle
Note: Pour les véhicules munis d'un système d'entrée sans clé, utiliser la clé de rechange. Voir Entrées sans clé (page 38).
E78298
Côté gauche
Tournez dans le sens inverse des aiguilles d'une montre pour verrouiller et dans le sens des aiguilles d'une montre pour déverrouiller.
Côté droit
Tournez dans le sens des aiguilles d'une montre pour verrouiller et dans le sens inverse des aiguilles d'une montre pour déverrouiller.
Sécurités enfants à commande électrique
Note: Un appui sur le commutateur désactive aussi les commandes de l'écran-vitres arrêté.

E124779
Avertissements
Ne modifiez pas l'avant du véhicule de quelque manière que ce soit. Ceci pourrait affecter le déploiement des airbags. Danger extrême! Ne pas installer un siège de sécurité enfant de type dos à la route sur un siège protégé par un coussin gonflable frontal! Boucler votre ceinture de sécurité et prendre une distance suffisante entre vous et le volant. Pour retenir le corps dans une position qui permet à l'airbag d'assurer une protection optimale, la ceinture de sécurité doit être correctement utilisée. Voir S'asseoir dans la position correcte (page 121). Confier les réparations sur le volant, la colonne de direction, les sièges, les airbags et les ceintures de sécurité à un technicien compétent. Maintenir exempt d'obstruction l'espace situé devant les airbags. Ne fixez rien sur ou au-dessus des couvercles d'airbags. Ne pas enfoncer d'objets pointus aux endroits où des airbags sont montés. Ceci pourrait endommager et affecter le déploiement des airbags. Utilisez des housses conçues pour les sièges équipés d'airbags latéraux. Faites-les poser par un technicien compétent.
Note: Le déploiement d'un airbag produit une détonation et un nuage de résidus poudreux inoffensifs. Ceci est normal.
Note: Pour nettoyer les couvercles d'airbag, utilisez un chiffon humide seulement.

E74302
Les airbags conducteur et passager avant et les prétentionneurs de ceintures de sécurité avant se déploient lors de collisions frontales importantes ou jusqu'à 30 degrés vers la gauche ou la droite. Les airbags se gonflent en quelques millièmes de seconde et se dégonflent au contact avec les occupants, amortissant le mouvement de leur corps vers l'avant. Les collisions frontales mineures, les capotages, les collisions arrêté et les collisions latérales ne provoquent pas le déclenchement des airbags frontaux conducteur et passager.
Airbags latéraux et de type rideau
En cas de collision latérale importante, seuls les airbags situés du côté touché et les prétensionneurs de ceintures de sécurité avant se déployent. Les airbags se gonflent en quelques millièmes de seconde et se dégonflent au contact avec les occupants, assurant ainsi une protection du corps. Les collisions latérales mineures, les collisions frontales, les collisions arrêtées ou les capotages ne provoquent pas le déclenchement des airbags latéraux et rideaux.
Airbags latéraux

E72658
Les airbags latéraux sont montés à l'intérieur du dossier des sièges avant. Une étiquette indique que votre véhicule est équipé d'airbags latéraux.
Airbags rideaux

Les airbags rideaux sont montés à l'intérieur des garnissages au-dessus des vitres latérales avant et arrière. Des badges moulés dans les garnissages de montant B indiquent que le véhicule est équipé d'airbags rideaux.
Avertissements
Boucler votre ceinture de sécurité et prendre une distance suffisante entre vous et le volant. La ceinture de sécurité doit être correctement utilisée pour vous retenir dans la position permettant à l'airbag de fournir une protection optimale. Voir S'asseoir dans la position correcte (page 121).
N'utilisez jamais une ceinture de sécurité sur plus d'une personne. Utilisez la boucle correcte pour chaque ceinture de sécurité. N'utilisez pas une ceinture de sécurité détachée ou ouverte. Ne pas porter de vêtements écais. Pour offrir une protection optimale, la ceinture de sécurité doit être bien ajustée sur le corps. Placez la sangle diagonale sur le centre de votre épaule et ajustez la sangle ventrale pour qu'elle soit bien serrée sur votre bassin.
Les systèmes de ceinture de sécurité de siège conducteur et de siège passager sont équipés d'un prétentionneur de ceinture de sécurité. Les tendeurs automatiques de ceintures ont un seuil de déploiement plus bas que les airbags. Lors des collisions mineures, il est possible que seuls les prétentionneurs se déployent.
Avertissements
Les ceintures de sécurité qui ont subi des contraintes, au cours d'un accident, doivent être remplacées et leurs ancrages contrôlés par un technicien ayant reçu la formation nécessaire.
Avertissements

Si un prétentionneur de ceinture de sécurité a été déployé, la ceinture de sécurité doit être remplacée.
Avertissement

Insérez la languette dans la boucle jusqu'à ce qu’un déclic se fasse entendre. Si vous n’entendez pas ce clic, c’est que vous n’avez pas bouclé la ceinture.
E74124
E85817
Dérouler régulièrement la ceinture. Elle peut se bloquer si vous tirez dessus trop violemment ou si le véhicule se trouve sur une pente.
Appuyez sur le bouton rouge de la boucle pour détacher la ceinture. Laissez-la s'enrouler complètement et en douceur.
Note: Soulever légèrement le coussinet tout en appuyant sur le bouton de verrouillage pour faciliter le déblocage du mécanisme de verrouillage.
Pour le monter ou l'abaisser, appuyer sur le bouton de verrouillage sur le dispositif de verrouillage et le déplacer comme il convient.
Avertissement

Le système de protection des occupants ne fournit une protection optimale que lorsque la ceinture de sécurité est correctement utilisée.

Le témoin de rappel de bouclage de ceinture de sécurité s'allume et un signal sonore se fait.
entendre si la ceinture de sécurité du conducteur ou du passager avant n'est pas bouclée et que le véhicule commence à prendre de la vitesse. Il s'allume aussi si la ceinture de sécurité du siège conducteur ou passager avant est débouclée alors que le véhicule est en mouvement. Le signal sonore s'arrête après quelques minutes mais le témoin de rappel de bouclage de ceinture reste allumé jusqu'àu bouclage de la ceinture de sécurité du passager du siège avant ou du conducteur.
Avertissement

Si plusieurs ceintures sont débouclées en l'espace de quelques secondes, un seul signal sonore s'élève.
Note: Appuyer sur la touche OK à la commande au volant pour confirmer le message.
Un rappel visuel de l'état de la ceinture de siège est affiché à l'écran d'instruments une fois que le moteur est démarré, et à nouveau si une ceinture n'est pas bouclée lorsque le véhicule se déplace.
Les ceintures bouclées sont indiquées par un symbole de languette.
Si une ceinture est détachée lorsque le véhicule se déplace, l'écran état de la ceinture de siège s'affiche, et les sièges concernés apparaissent en surbrillance avec un point d'exclamation. Un avertissement sonore retentit également.
Déactivation du rappel de bouclage de ceinture
Contacter le concessionnaire Ford le plus proche.
Utilisation desceintures de securite par les FEMMES enceintes
E68587
Avertissement

Placez la ceinture de sécurité de manière correcte pour votre sécurité et celle de l'enfant à partir. N'utilisez ni la sangle ventrale ni la sangle iere sole.
Placez la sangle ventrale de manière confortable sur vos hanches et sous l'abdomen. Placez la sangle épaulière entre vos seins, au-dessus et sur le côté de votre abdomen.
Avertissement

Veiller à désactiver l'airbag passager si un siège de sécurité infant dos à la route est placé sur le siège
passager avant.

E71313
Avertissement

Si vous devez accéder à un siège de sécurité enfant sur un siège protégé par un sac gonflable frontal national, faites poser un commutateur d'activation de l'airbag passager. Récevez consultez votre concessionnaire pour plus de renseignements.
Note: Le commutateur à clé est situé dans la boîte à gants avec un témoin de désactivation airbag dans la console de pavillon.
L'allumage ou le clignotement du témoin d'airbags pendant la conduite signale une anomalie dans le système. Voir Témoins d'avertissement et indicateurs (page 83). Retirer le siège de sécurité infant et faire immédiatement contrôler le système.
Déraactualisation de l'airbag passager

A Désactivé
B Activé
Mettre le commutateur sur la position A. À l'endéttement du contact, s'assurer que le témoin de désactivation de l'airbag passager s'allume.
Avertissement

Veiller à ce que l'airbag passager soit activé lorsqu'aucun siège de sécurité enfant n'occupe le siège passager.
Mettre le commutateur sur la position B.
Attention
La fréquence radio utilisée par votre télécommande peut également l’être par d’autres transmissions radio à courte distance (ex. : radio amateur, équipement médical, casque sans fil, télécommande et systèmes d’alarme). Si les fréquences sont brouillées, vous ne pourrez pas utiliser votre télécommande. Vous pouvez verrouiller et déverrouiller les portes avec la clé.
Vérifiez si votre véhicule est bien fermé à clé avant de le quitter. Cette mesure exclut tout blocage nuisible potentiel.
Note: Vous pouvez déverrouiller les portes en appuyant accidentellement sur les boutons de la télécommande.
La portée de votre télécommande dépend de l'environnement.
Programmation de la télécommande
Il est possible de programmer un maximum de huit télécommandes pour utilisation sur votre véhicule (y compris toute télécommande fournie avec le véhicule).
Programmation d'une télécommande neue
- Insérer la clé dans le commutateur d'allumage.
- Tourner la clé de contact de la position 0 à Ⅱ puis la ramener en position 0 quatre fois en moins de six secondes.
- Laisser la clé en position 0 et appuyer sur n'importe quel bouton de la télécommande en moins de 10 secondes. Vous receivez une confirmation par un carillon avertisseur ou une DEL que la programmation a réussi. Note: D'autres télécommandes peuvent être programmées à ce stade.
- Appuyer sur n'importe quel bouton de chaque télécommande supplémentaire en l'espace de 10 secondes.
Reprogrammation de la fonction de déverrouillage
Note: Lorsque vous appuyez sur le bouton de déverrouillage, toutes les portes sont déverrouillées ou la porte conducteur seulement. Appuyer de nouveau sur le bouton de déverrouillage pour déverrouiller toutes les portes.
Appuyer simultanément sur les boutons de déverrouillage et de verrouillage de la télécommande pendant quatre secondes, contact coupé. Les clignotants clignotent deux fois pour confirmer le changement.
Pour revenir à la fonction de déverrouillage d'origine, répéter la procédure.
Reemplacement de la PILE de la télecommande

Veiller à mettre les vieilles piles au rebut de manière à respecter l'environnement. Obtenir des
informations relatives au recyclage auprès des autorités locales.
Télécommande avec lame de clé escamotable
E128809
- Insérer un tournevis dans la position montrée et pousser doucement le clip.
- Enfoncer le clip pour dégager le couvercle de pile.
E128810
- Déposer le couvercle avec précaution.
E128811
- Tourner la télécommande pour déposer la pile.
- Installer une pile neuve (3V CR 2032) avec le + orienté vers le haut.
- Remplacer le couvercle de pile.
Télécommande sans lampe de clé escamotable

- Appuyer sur les boutons placés sur les bords et les maintenir enfoncés pour libérer le couvercle. Déposer le couvercle avec précaution.
- Retirer la lame de la clé.
E105362
- Tourner un tournevis à lame plate dans la position indiquée pour séparer les deux moitiés de la télécommande.
E119190
- Insérer le tournevis avec précaution dans la position indiquée pour ouvrir la télécommande.
E125860
Attention

Ne pas toucher les contacts de la pile ou la carte de circuit imprimé avec le tournevis.
- Faire délicatement levier sur la pile avec le tournevis pour l'extraire.
- Installer une pile neuve (3V CR 2032) avec le + orienté vers le bas.
- Assembler les deux moitiés de la télécommande.
- Poser la lame de clé.
Attention

Vérifiez si votre véhicule est bien fermé à clé avant de le quitter.
Note: Ne pas laisser vos clés dans le véhicule.
Verrouillage avec la clé
Orienter la partie supérieure de la clé vers l'avant du véhicule.
Verrouillage à l'aide de la télécommande
Note: La porte du conducteur peut être verrouillée avec la clé. Cette solution doit être utilisée si la télécommande ne fonctionne pas.
Note: Voiture véhicule peut être verrouillée avec une porte arrière ouverte. La porte sera verrouillée une fois fermée.

Appuyez sur le bouton.
Avertissement

N'activez pas le double verrouillage, lorsque des personnes ou des animaux sont présents dans le véhicule. Les portes double-verrouillées ne peuvent pas être ouvertes à partir de l'intérieur.
Note: Si vous verrouillez votre véhicule à double tour en étant à l'intérieur, activer le contact d'allumage pour rétablir le verrouillage simple des portes.
Note: Votre véhicule peut être verrouillé à double tour avec une porte arrière ouverte. Les portes sont verrouillées à double tour lors de leur fermeture.
Le double verrouillage est une fonction de protection contre le vol qui empêche l'ouverture des portes à partir de l'intérieur.
Double verrouillage avec la clé
Tourner deux fois la clé en position de verrouillage en moins de trois secondes.
Double verrouillage avec la télécommande

Appuyer deux fois sur le bouton en moins de trois secondes.
Déverrouillage avec la clé
Orienter la partie supérieure de la clé vers l'arrête du véhicule.
Déverrouillage avec la télécommande
Note: La porte conducteur peut être déverrouillée avec la clé. Cette solution doit être utilisée si la télécommande ne fonctionne pas.
Note: Si le véhicule reste verrouillé pendant plusieurs semaines, la télécommande sera désactivée. Le véhicule doit être déverrouillé et le moteur démarré avec la clé. Le fait de déverrouiller et de démarrer une fois le véhicule réactivera la télécommande.

Appuyez sur le bouton.
Reverrouillage automatique
Les portes se reverrouilleront automatiquement si vous n'ouvrez pas de porte, ni le couvercle du coffre à bagages ou si vous ne mettez pas le contact dans les 45 secondes suivant le déverrouillage des portes à l'aide de la télécommande. Les portes se verrouillent et l'alarme revient à son état précédent.
Reprogrammation de la fonction de déverrouillage
La fonction de déverrouillage peut être reprogrammée de sorte que seule la porte conducteur soit déverrouillée (Voir Programmation de la télécommande (page 33).)
Confirmation du verrouillage et du déverrouillage
Note: Si votre véhicule est équipé d'un double verrouillage, les clignotants clignoteront une fois après que vous avez activé le verrouillage centralisé, suivi de deux autres clignotements après le verrouillage à double tour.
Lorsque vous verrouillez les portes, les clignotants clignotent une fois.
Lorsque vous verrouillez les portes à double tour, les clignotants clignotent trois fois.
Lorsque vous déverrouillez les portes, les indicateurs de direction clignotent une fois.
Verrouillage et déverrouillage des portes à partir de l'intérieur

Appuyez sur le bouton. Pour l'emplacement des repères : Voir Bref aperçu (page 12).
Ouvrir le couvercle du coffre à bagages à l'aide de la télécommande

Appuyer deux fois sur le bouton en moins de trois secondes.
Fermeture du couvercle de coffre à bagages
E133536
Verrouillage de chaque porte avec la clé.
Note: Si le verrouillage centralisé ne fonctionne pas, il est possible de verrouiller chacune des portes avec la clé orientée comme illustré.

Côté gauche
Pour verrouiller, tourner dans le sens des aiguilles d'une montre.
Côté droit
Pour verrouiller, tournez dans le sens inverse des aiguilles d'une montre.
Déverrouillage
Note: Si les serrures de sécurité infant ont également été activées, le fait de tirer sur le levier interieur désactive le verrouillage d'urgence mais pas la serrure de sécurité infant. Seules les poignées de portes extérieures permettent d'ouvrir les portes.
Note: Si les portes ont été déverrouillées grâce à cette méthode, chaque porte doit être verrouillée jusqu'à ce que le verrouillage centralisé soit réparé.
Déverrouiller la porte conducteur avec la clé. Les autres portes peuvent être déverrouillées individuellement en tirant sur les poignées de portes intérieures correspondantes.
Avertissement

Le système d'entrée sans clé peut ne pas fonctionner si la clé se trouve à proximité d'objets métalliques ou d'objets électroniques comme des phones mobiles.
Le système d'entrée passif ne fonctionne pas si:
La batterie du véhicule est déchargée. - Les fréquences de clé passive sont brouillées. La pile de la clé passive est déchargée.
Note: Si le système d'entrée passif ne fonctionne pas, vous devrez utiliser la lame de la clé pour verrouiller et déverrouiller le véhicule.
Le système d'entrée sans clé permet au conducteur de faire fonctionner le véhicule sans utiliser de clé ni de télécommande.
E78276
Pour que le verrouillage et le déverrouillage passifs s'effectuent, une clé passive valide doit être présente dans l'une des trois zones de détection externes. Ces zones se situent environ à 1,5 mètre des poignées de portes conducteur et passager et du couvercle de coffre à bagages.
Clé passive
Le véhicule peut être verrouillé et déverrouillé à l'aide de la clé passive. La clé passive peut également servir de télécommande. Voir Verrouillage et déverrouillage (page 36).
Avertissement

Le véhicule ne se verrouille pas automatiquement. Si le verrouillage n'est pas activé, le véhicule reste rouillé.
Note: Le contact se coupe automatiquement si le véhicule est verrouillé de l'extérieur. Cela évite que la batterie du véhicule se décharge.
Note: Ne pas saisir la poignée de porte.
E87384
Toucher un capteur de verrouillage de poignée de porte avant pour verrouiller le véhicule.
Pour activer le verrouillage centralisé et armer l'alarme antivol :
- Toucher une fois un capteur de verrouillage de poignée de porte avant.
Pour activer le système de double verrouillage et armer l'alarme antivol :
- Toucher deux fois en l'espace de trois secondes un capteur de verrouillage de poignée de porte avant.
Note: Il doit y avoir un espace entre chaque contact de la poignée de porte.
Note: Une fois activé, le véhicule restera verrouillé pendant environ 3 secondes. Lorsque cette période de temporisation est terminée, les portes peuvent être à nouveau ouvertes, à condition que la clé passive se situe dans la zone de détection appropriée.
Deux clignotements courts des clignotants confirment le verrouillage de toutes les portes et du couvercle de coffre à bagages et l'armement de l'alarme antivol.
Couvercle de coffre à bagages
Note: Si la clé passive se trouve dans le véhicule et que les portes sont verrouillées, le couvercle de coffre à bagages ne peut pas être fermé et se relève.
Note: Si une deuxième clé passive valide se trouve dans la zone de détection extérieure, le couvercle de coffre à bagages peut être fermé.
Déverrouillage du véhicule
Note: Si le véhicule reste verrouillé plus de trois jours, le système d'entrée sans clé passe en mode économique d'énergie afin de réduire la consommation de courant de batterie. Lorsque le véhicule est déverrouillé dans ce mode, le temps de réaction du système peut être légèrement plus long que la normale. Le déverrouillage du véhicule désactive le mode économique d'énergie.
Note: Si le véhicule reste verrouillé pendant plusieurs semaines, le système sans clé sera désactivé. Le véhicule doit être déverrouillé avec le pêne de la clé. Le fait de déverrouiller une fois le véhicule active le système sans clé.
Note: Ne pas toucher le capteur de verrouillage de poignée de porte avant lors de l'ouverture d'une porte.
E78278
Ouvrir une des portes.
Note: Une clé passive valide doit se couvrir dans la zone de détention de la porte dont la poignée a été actionnée.
Un clignotement long des clignotants confirme le verrouillage de toutes les portes et du couvercle de coffre à bagages et le désarmement de l'alarme antivol.
Déverrouillage de la porte conducteur uniquement
Si la fonction de déverrouillage est reprogrammée de manière à ce que seule la porte conducteur et le couvercle de coffre à bagages soient déverrouillés (Voir Programmation de la télécommande (page 33).), noter ce qui suit:
Si la porte conducteur est la première porte à être ouverte, les autres portes resteront verrouillées. Il est possible de déverrouiller toutes les autres portes à partir de l'intérieur du véhicule en appuyant sur le bouton de déverrouillage situé sur le combiné des instruments. Pour l'emplacement des repères : Voir Bref aperçu (page 12). Les portes peuvent être déverrouillées individuellement en tirant sur les poignées de porte intérieures correspondantes.
Clés déactivées
Toute clé laissée à l'intérieur du véhicule verrouillé est désactivée.
Une clé désactivée ne peut plus établir le contact ou faire démarrer le moteur.
Pour être de nouveau utilisables, ces clés passives doivent être reactivées.
Pour activer toutes les clés passives, déverrouiller le véhicule à l'aide d'une clé passive ou de la fonction de déverrouillage de la télécommande.
Toutes les clés passives seront activées si le contact est établi ou le moteur lancé au moyen d'une clé valide.
Verrouillage et déverrouillage des portes avec la lame de la clé
E87964
- Déposer le couvercle avec précaution.
- Retirer la lame de la clé et insérez-la dans la serrure.
Note: Seule la poignée du conducteur est équipée d'un barillet de serrure.
Ouverture et fermeture globales
Vous pouvez faire fonctionner les lève-vitres lorsque le contact est coupé en utilisant la fonction d’ouverture et de fermeture globales.
Note : La fermeture globale ne fonctionne que si vous avez programmé correctement la mémoire pour chaque vitre. Voir Lève-vitres électriques (page 73).
Ouverture générale

Pour ouvrir toutes les vitres, appuyer et maintenir enfoncé le bouton de télécommande déverrouillé sur la télécommande pendant trois secondes au moins. Appuyer sur le bouton de verrouillage ou de déverrouillage pour stopper la fonction d'ouverture.
Avertissement
Utiliser avec précaution la fermeture globale. En cas d'urgence, appuyer immédiatement sur le bouton de verrouillage ou de déverrouillage pour arrêter.
E71956
Pour fermer toutes les vitres, appuyer et maintenir enfoncé le bouton de télécommande verrouillé pendant trois secondes au moins. Appuyer sur le bouton de verrouillage ou de déverrouillage pour stopper la fonction de fermeture. La fonction anti-pincement reste active pendant la fermeture globale.
Véhicules avec entrée sans clé
E87384
Avertissement

Utiliser avec précaution la fermeture globale. En cas d'urgence, toucher un capteur de verrouillage de
poignée de porte pour arrêter.
Note: La fermeture globale peut être activée au moyen de la poignée de porte conducteur. La fermeture et l'ouverture globales peuvent également être activées au moyen des boutons situés sur la clé passive.
Pour fermer toutes les vitres, appuyer sur la poignée de porte conducteur et la maintenir enfoncée pendant au moins deux secondes. La fonction anti-pincement reste active pendant la fermeture globale.
Principes de fonctionnement
Note: Le volet de protection peut être délicatement déplacé lorsque la porte est ouverte afin de permettre le nettoyage. S'assurer que le volet est correctement repositionné car il risque sinon de ne pas se rétracter à la fermeture de la porte.
Note: Veillez à ce que les montants des portes soient libres de toute obstruction, comme une quantité importante de saletés, de neige ou de glace.
Les portes avant et arrière sont équipées d'un volet en plastique rétractable qui se met en place à l'ouverture d'une porte. Le volet protège le montant de la porte de tout dommage susceptible d'être occasionné par un contact avec d'autres objets et des obstacles.
Changement de la protection de BORD de porte
Note: Les volets de protection des portes avant et arrière sont de longueur différente. En cas de pose de la mauvaise taille de volet, ce dernier ne fonctionnera pas correctement.
Note: Ouvrir la porte et vérifier que la protection est bien étendue pour changer le volet.
E132609
- Insérer un tournevis à l'endroit indiqué et tourner pour soulever doucement le volet de son support.
- Déposez le volet.
Note: Lors du remontage, retirez si nécessaire le support du volet.
- Pour la pose, poussez vers le bas le volet dans son support.
Principes de fonctionnement
Le système d'immobilisation est un système de protection antivol qui empêche un intrus de démarrer le moteur avec une clé dont le code n'est pas correct.
Note: Évitez que des objets métalliques ne fassent écran aux clés. Ils pourraient empêcher que le récepteur identifie votre clé comme valide.
Note: Si vous perdez une clé, faites effacer le code de toutes les clés restantes et programmer un nouveau code. Veuillez consulter votre concessionnaire pour plus de renseignements. Faibles recoder des clés de rechange avec vos clés existantes.
Si vous perdez une clé, vous pouvez vous procurer une clé de rechange auprès de votre concessionnaire Ford. Si possible, indiquez-lui le numéro de clé figurant sur l'étiquette fournie avec les clés d'origine. Vous pouvez aussi obtenir des clés supplémentaires auprès de votre concessionnaire Ford.
Armement du système d'immobilisation du moteur
Le système d'immobilisation du moteur est armé automatiquement peu après la coupure du contact.
Désarmement du système d'immobilisation du moteur
Le système d'immobilisation du moteur se désarme automatiquement lorsque vous établissez le contact avec une clé codée valide.
Système d'alarme
Votre véhicule peut être équipé d'un des systèmes d'alarme suivants :
- Alarme périmétrique.
- Alarme périmétrique avec capteurs d'habitacle.
- Alarme de catégorie 1 avec capteurs d'habitacle et alarme alimentée par pile.
Alarme périmétrique
L'alarme périmétrique dissuade les intrusions par les portes et le capot. Elle protège également le système audio.
Capteurs d'habitacle E129005
Avertissement

Ne pas couvrir les capteurs dans le plafonnier. Ne pas activer l'alarme en mode de protection totale si des années, des animaux ou un objet mobile sont présents dans le véhicule.
Les capteurs jouent le rôle de dispositif anti-intrusion dissuasif en détectant tout mouvement à l'intérieur du véhicule.
Alarme alimentée par pile
L'alarme alimentée par pile est un système d'alarme antivol supplémentaire qui active une sirène lorsque l'alarme est déclenchée. Elle est armée par le verrouillage du véhicule. Cette alarme, qui a sa propre pile, déclenche une sirène même si l'intrus débranche la batterie du véhicule ou l'alarme alimentée par pile elle-même.
Déclenchement de l'alarme
Une fois armée, l'alarme se déclenche dans les cas suivants:
- Si quelqu'un ouvre une porte, hayon ou le capot sans utiliser une clé valide ou la télécommande. Si quelqu'un retire le système audio ou le système d'aide à la navigation. Si la clé de contact est tournée en position I, II ou III sans une clé valide.
- Si les capteurs d'habitacle détectent un mouvement à l'intérieur du véhicule. Sur les véhicules équipés d'une alarme antivol alimentée par pile, si quelqu'un débranche la batterie du véhicule ou l'alarme alimentée par pile elle-même.
Si l'alarme est déclenchée, la sirène se fait entendre pendant 30 secondes et les yeux de détresse clignotent pendant 5 minutes.
Toute nouvelle tentative d'effectuer une des opérations ci-dessus entraîne un nouveau déclenchement de l'alarme.
Protection totale
Le mode de protection totale est le réglage standard.
Dans ce mode, les capteurs d'habitation sont activés lorsque vous armez l'alarme.
Note: Des fausses alarmes peuvent se produire si des animaux ou des objets mobiles sont présents dans le véhicule.
Note: Des fausses alarmes peuvent aussi être déclenchées par le dispositif de chauffage auxiliaire. Voir Chauffage auxiliaire (page 118). Si vous utilisez le dispositif de chauffage auxiliaire, dirigez le flux d'air vers le plancher avant.
Protection réduite
Dans ce mode, les capteurs d'habitacle sont désactivés lorsque vous armez l'alarme.
Note: Ce mode ne peut être sélectionné que pour la durée du cycle d'établissement/coupure du contact. À l'établissement du contact suivant, l'alarme returnera en mode de protection totale.
Demander à la sortie
Vous pouvez configurer le système pour que l'afficheur multifonction vous demande à chaque fois le niveau de protection souhaité.
Si vous sélectionnez Sur demande, le message Reduced guard? s'affiche dans l'écran du combiné des instruments chaque fois que vous coupez le contact.
Pour armer l'alarme en mode de protection réduite, appuyez sur le bouton OK lorsque ce message s'affiche.
Pour maintenir la protection totale, quitter ce véhicule sans appuyer sur le bouton OK.
Sélection de la protection totale ou réduite
Note: La sélection de Réduite ne configure pas l'alarme en mode de protection réduite permanente. Le mode de protection réduite n'est défini que pour le cycle d'établissement / coupure du contact actuel. Si vous désirez fréquemment le mode de protection réduite, sélectionnez
Surdemande.
Vous pouvez sélectionner le mode de protection réduite ou complète à l'aide de l'affichage d'information. Voir
Généralités (page 88).
Voir Messages d'information (page 96).
Armement de l'alarme
Pour armer l'alarme, verrouiller le véhicule. Voir Serrures (page 36).
Alarme périmétrique
Désarmez et faites taire l'alarme en déverrouillant les portes à l'aide de la clé et en établissant le contact avec une clé correctement codée ou en déverrouillant les portes ou le couvercle de coffre à bagages à l'aide de la télécommande.
Alarme de catégorie une
Désarmez et faites taire l'alarme en déverrouillant les portes à l'aide de la clé et en établissant le contact avec une clé correctement codée dans les 12 secondes ou en déverrouillant les portes ou le couvercle de coffre à bagages à l'aide de la télécommande.
Véhicules avec entrée sans clé
Note : Pour l'entrée sans clé, une clé passive valide doit se trouver dans la zone de détection de la porte dont la poignée a été actionnée. Voir Entrée sans clé (page 38).
Alarme périmétrique
Désarmez et faites taire l'alarme en déverrouillant les portes et en établissant le contact ou en déverrouillant les portes ou le couvercle de coffre à bagages à l'aide de la télécommande.
Alarme de catégorie une
Désarmer et faire taire l'alarme en déverrouillant les portes et en établissant le contact dans les 12 secondes ou en déverrouillant les portes ou le couvercle de coffre à bagages à l'aide de la télécommande.
Avertissement

Ne jamais régler le volant lorsque le véhicule se déplace.
Note : Veiller à être aussi à la position correcte. Voir S'asseoir dans la position correcte (page 121).
E95178
E95179
Avertissement

Veiller à engager complètement le levier de verrouillage lorsqu'il est ramené à sa position d'origine.
Commandes AUDIO
Sélectionner la source requise sur l'autoradio.
Les fonctions suivantes peuvent être commandées à partir des commandes au volant :
Type1
A Augmentation du volume B Recherche vers le haut ou suivant C Diminution du volume D Recherche vers le bas ou précédent E Mode
Appuyer sur le bouton de mode pour sélectionner la source audio.
Type 2
A Augmentation du volume B Recherche vers le haut ou suivant C Diminution du volume D Recherche vers le bas ou précédent
COMMANDE VOCALE
Tirer sur le bouton pour activer ou désactiver le mode de commande vocale. Voir Commande vocale (page 291). Voir SYNC (page 333).
Recherche, suivant ou précédent
Appuyer sur le bouton de recherche pour :
Recherche, suivant ou précédent
- régler la radio sur la station pré-réglée suivante ou précédente Lecture de la piste précédente / suivante
Appuyer sur le bouton de recherche et le maintenir enfoncé pour :
- régler l'autoradio sur la station immédiatement au-dessus ou au-dessous dans la plage de fréquence. Recherche à travers une plage.
Essuieglaces de parebrise
E128444
A. Battement isolé
B. Balayage intermittent ou automatique
C. Balayage normal
D. Balayage rapide
Balayage intermittent
E128445
A Intervalle de balayage court B Balayage intermittent C Intervalle de balayage long
Le sélecteur rotatif peut être utilisé pour régler l'intervalle de balayage.
Système de balayage automatique
Certains modèles qui ne sont pas équipés de la fonction de balayage automatique sont équipés d'un système d'essuie-glaces de pare-brise asservis à la vitesse.
Lorsque le véhicule roule au pas ou s'immobilise, la vitesse d'essuie-glace passe automatiquement à la vitesse de balayage immédiatement inférieure.
Lorsque la vitesse du véhicule augmente, la vitesse de balayage revient au niveau sélectionné manuellement.
Le déplacement du levier de commande pendant le fonctionnement du système entraîne la désactivation du système.
Si le véhicule ralentit de nouveau jusqu'à rouler au pas ou s'immobilise, le système est réactivé.
Attention
Ne pas activer la fonction de balayage automatique par temps sec. Le capteur de pluie est très sensible : les essuie-glaces peuvent se déclencher si des saletés, de la brume ou des insectes frappent le pare-brise. Remplacer les balais d'essuie-glaces dès qu'ils commencent à laisser des bandes d'humidité et des traces. Si vous ne les remplacez pas, le capteur de pluie continue de détecter de l'eau sur le pare-brise et les essuie-glaces fonctionnent même si la plus grande partie du pare-brise est sec. Dégivrer complètement le pare-brise (le cas échéant) avant d'activer la fonction de balayage automatique.
Attention
Désactiver la fonction de balayage automatique avant de faire passer le véhicule dans une station de lavage.
Note: Si les phares à allumage automatique et les essuie-glaces automatiques ont été activés conjointement, les feux de croissement s'allument automatiquement lorsque le capteur de pluie active en continu les essuie-glaces de pare-brise.
E128445
A Sensibilité élevée B Activé C Sensibilité faible
Si vous activez la fonction de balayage automatique, les essuie-glaces ne fonctionnent que si de l'eau est détectée sur le pare-brise. Le capteur de pluie mesure continuellement la quantité d'eau sur le pare-brise et adapte automatiquement la vitesse de balayage.
Régler la sensibilité du capteur de pluie à l’aide de la commande rotative. Si le réglage de faible sensibilité est choisi, les essuie-glaces ne fonctionnent que si le capteur détecte une quantité importante d’eau sur le pare-brise. Si le réglage de haute sensibilité est choisi, les essuie-glaces fonctionnent si le capteur détecte une petite quantité d’eau sur le pare-brise.
Lave-glaces depare-brise
E129188
Avertissement

Ne pas actionner les lave-glaces pendant plus de 10 secondes consécutives, ne jamais les actionner lorsque le réservoir est vide.
Lorsque l'on tire le levier en direction du volant, le lave-glace fonctionne en combinaison avec les essuie-glaces.
Après avoir relâché le levier, les essuie-glaces effectuent encore quelques balayages.
Balayage intermittent

E129193
A Balayage intermittent B Balayage lent
Appuyer sur le bouton en fin de levier pour passer entre arrêt, marche intermittente et BASSE VITESSE.
Balayage en marche arrière
L'essuie-glace arrêté est automatiquement activé lorsque la marche arrière est sélectionnée, si l'essuie-glace arrêté n'est pas déjà commuté sur marche, et si l'essuie-glace avant fonctionne.
Lave-glace de lunette arrière
E129194
Avertissement

Ne pas actionner les lave-glaces pendant plus de 10 secondes consécutives, ne jamais les actionner lorsque le réservoir est vide.
Lorsque on écarte le levier du volant, le lave-glace fonctionne en même temps que les essuie-glaces.
Après avoir relâché le levier, les essuie-glaces effectuent encore quelques balayages.
Lave-phares
Les lave-phares fonctionnent avec les essuie-glaces de pare-brise lorsque les phares sont allumés.
Note: Pour éviter un épuisement rapide du réservoir de lave-glace, les lave-phares ne sont pas activés chaque fois que vous utilisez les essuie-glaces de pare-brise.
Contrôle des BALAIS d'essuie-glaces
E66644
Passez la pointe des doigts sur le bord du balai pour rechercher une éventuelle rugosité.
Nettoyer les raclettes avec de l'eau et une éponge.
Attention

Placer les essuie-glaces dans la position de service pour changer les balais.

Vous pouvez utiliser la position de service en hiver pour faciliter l'accès aux balais d'essuie-glace afin de dégager la neige ou la glace. Les essuie-glaces de pare-brise retournent à position normale dès que vous coupez le contact. Par conséquent, assurez-vous que le pare-brise est exempt de neige et de glace avant d'établir le contact.
Position de service E75184
E129986
Couper le contact et placer le levier d'essuie-glace en position A dans les trois minutes qui suivent. Lâcher le levier lorsque les essuie-glaces de pare-brise sont en position de service.
Remplacement des balais d'essuie-glace
Placer les essuie-glaces dans la position de service puis soulever les bras.
1 E72899
Effectuer la répose en inversant les opérations de la dépose.
Note: Veillez à ce que le balai s'enclenche en position.
Balai d'essuie-glace de lunette arrière
- Relevez le bras d'essuie-glace.
E86456
- Positionnez le balai à la perpendiculaire du bras d'essuie-glace.
- Détachez le balai du bras d'essuie-glace.
- Déposez le balai d'essuie-glace.
Note: Veillez à ce que le balai s'enclenche en position.
- Effectuer la répose en inversant les opérations de la dépose.
Positions de la commande d'éclairage

A OFF (désactivé) B Feux de position et feux arrêté C Phares
Avertissement

Une utilisation prolongée des feux de stationnement peut décharger la batterie.
Coupez le contact.
Les deux côtés
Mettre le contacteur d'éclairage en position B.
Un côté
E130139
A Côté droit B Côté gauche
Corrigé :
A Côté droit B Côté gauche
Feux de route et feux de croisement

E130140
Pousser le levier vers l'avant pour commuter entre deux de route et deux de croisement.
Appel de phares
Tirer légèrement le levier vers le volant.
Éclairage d'accompagnement
Couper le contact et tirer le levier de clignotants vers le volant pour allumer les phares. Un signal sonore bref se fait entendre. Les phares s'éteignent automatiquement après 3 minutes lorsqu'une porte est ouverte, ou 30 secondes après la fermeture de la dernière porte.
Pour annuler l'éclairage d'accompagnement, tirer le levier de clignotants de nouveau vers le volant de direction ou mettre le commutateur d'allumage sur ON.
Avertissement

En cas de conditions météorologiques difficiles, il peut
s'avérer nécessaire de manuellement vos phares.
Note: Si la fonction d'allumage automatique des phares est activée, vous ne pouvez allumer les feux de route que si la fonction a déjà allumé les phares.
Note: Si les phares à allumage automatique et les essuie-glaces automatiques ont été activés conjointement, les feux de croissement s'allument automatiquement lorsque le capteur de pluie active en continu les essuie-glaces de pare-brise.
E132707
Les phares s'allument et s'éteignent automatiquement en fonction de la luminosité ambiantes.
Les phares restent allumés pendant un certain temps après l'arrêt de l'allumage. Vous pouvez adapter ce délai à l'aide de l'affichage d'information. Voir Affichages d'informations (page 88).
Avertissements

Ce système ne vous exonère pas de votre responsabilité de conduire avec l'attention et les précautions qui
s'imposent. Il peut être nécessaire d'utiliser la commande manuelle si le système ne réussit pas à allumer ou éteindre les feux de route.

Il peut être nécessaire d'utiliser la commande manuelle à l'approche d'autres usagers de la route tels que cyclistes.

Ne pas utiliser le système en cas de brouillard.
Attention
Le système peut ne pas fonctionner par temps froid et en cas de conditions météorologiques difficiles. Une commande manuelle peut alors être nécessaire. Des panneaux de signalisation réfléchissants peuvent être détectés comme des véhicules circulant en sens inverse. Dans ce cas, les phares peuvent alors passer en feu de croissance. Si les phares des véhicules circulant en sens inverse sont cachés par des obstacles (par des glissières de sécurité par exemple), le système ne désactivera pas les feux de route. Toujours poser des pièces d'origine Ford lors du remplacement des ampoules de phares. L'utilisation d'autres ampoules peut diminuer les performances du système. • Contrôler et remplacer régulièrement les balais d'essuie-glace afin d'assurer au capteur de la caméra une bonne visibilité à travers le pare-brise. Les balais d'essuie-glace de remplacement doivent avoir la bonne longueur.
Note: Faites en sorte de garder le pare-brise exempt de tout corps étrangers tels que des déjections d'oiseau, des insectes, de la neige ou de la glace.
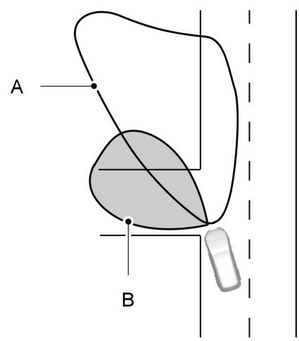
Le système allumera automatiquement les feux des routes s'il fait assez nombre et qu'aucun autre véhicule ne se trouve dans le périmètre. S'il détecte les phares ou les feux arrière d'un véhicule se rapprochant ou encore un éclairage urbain, le système éteint les feux des routes pour éviter qu'ils ne génent d'autres usagers de la route. Les feux des croisements restent quant à eux allumés.
Un capteur deamera central est monté derrière le pare-brise du véhicule et surveille en continu les conditions de conduite afin de déterminer quand les deux de route doivent être allumés ou éteints.
Une fois le système activé, les feux des routes s'allumeront si:
- il fait assez souvent pour que l'utilisation des feux de route soit requise et;
- il n'y a pas d'autres véhicules ou d'éclairage urbain dans les environs et;
- La vitesse du véhicule est supérieure à 40 km/h.
Les feux des route s'éteindront si :
- il fait encore assez jour et l'utilisation des feux de route n'est donc pas nécessaire; les phares ou feux arrière d'un véhicule se rapprochant sont détectés;
- Un éclairage urbain est détecté;
- la vitesse du véhicule est inférieure à 25 km/h;
- le capteur deamera est trop chaud ou se bloque.
Activation du système
Activez le système à l’aide de l’afficheur multifonction et des phares à allumage automatique. Voir Affichages d’informations (page 88). Voir Allumage automatique des phares (page 56).
E132707
Mettez le commutateur en position Phares à allumage automatique.
Note: Après avoir mis le contact, l'initialisation du système dure un court instant, plus particulièrement si le véhicule se trouve dans un environnement très nombreux. Les feux de route ne s'allumeront pas automatiquement pendant cette période.
Réglage de la sensibilité du système
Le système dispose de trois niveaux de sensibilité qui sont accessibles via l'afficheur multifonction. Voir Affichages d'informations (page 88).
La sensibilité détermine le temps que mettent les yeux de route à se rallumer après que les obstacles ou véhicules détectés ont quitté le champ de vision.
Commande manuelle du système E133632
Appuyer ou tirer sur le levier pour commuter entre deux de route et deux de croisement.
Note : Cette commande est temporaire ; le système revient en mode automatique après un court instant.
Afin de désactiver le système de façon permanente, utilisez le menu de l'afficheur multifonction ou tournez le commutateur de commande d'éclairage sur Phares.
Avertissement

Utiliser les projecteurs antibrouillard avant uniquement lorsque la visibilité est fortement limitée par le brouillard, la neige ou la pluie.

Avertissements

N'utiliser les feux arrêté de brouillard que lorsque la visibilité est réduite à moins de 50 mètres (164 pi).

Ne pas utiliser les feux arrière de brouillard lorsqu'il pleut ou neige et que la visibilité est supérieure à 50 mètres (164 pi).

Réglage des projecteurs - véhicules avec: eclairage avant autoadaptatif/phares à décharge à HAUTE intensité
Pour le réglage des projecteurs pour la conduite à gauche ou à droite de la chaussée, contactez le concessionnaire local.
Réglage en hauteur du faisceau des projecteurs
Note: Les véhicules équipés de phares au xénon disposent d'une fonction de réglage en hauteur automatique des phares.
- Appuyer pour déverrouiller le bouton à éjection.

- Tourner le bouton au réglage requis.
- Encocher le bouton à la position verrouillée.
Vous pouvez régler la hauteur du faisceau des phares en fonction du chargement du véhicule.
Positions recommandées du commutateur de réglage en hauteur des phares
| Charge | Chargedans le coffre à bagages | Positiondu commuta- teur |
| Sièges avant | Sièges de deuxième rangée |
| 1-2 | - | - | 0 |
| 2 | 3 | - | 1 |
| 2 | 3 | Max1 | 2 |
| 1 | - | Max1 | 3 |
Voir Identification du véhicule (page 259).
FEUX de détresse

Pour l'emplacement des repères : Voir Bref aperçu (page 12).
CLIGNOTANTS E130141
Note: Soulever ou abaisser légèrement le levier pour que les clignotants ne clignotent qu'à trois reprises.
PHARES de VIRAGE


Faisceau des phares principaux Faisceau des phares de virage
Les phares de virage éclairent l'intérieur du virage au braquage.
Éclairage intérieur
Note: Les lampes individuelles peuvent être allumées séparément mais ne peuvent pas être éteintes individuellement si toutes les lampes ont été allumées par le conducteur.
Note: Toutes les autres lampes ne pourront pas être commutées, ou seulement avec la lampe de lecture ou le plafonnier.
Les lampes s'allumeront lorsque vous déverrouillerez ou ouvrirez une porte ou le couvercle de coffre à bagages. Si vous laissiez une porte ouverte alors que le contact est coupé, toutes les lampes s'éteindront automatiquement après un certain temps afin d'éviter une décharge de la batterie. Pour les rallumer, établissez brièvement le contact.
Feu de position
A. Commutateur marche/arrêt de la lampe de lecture
B. Contacteur de porte
C. Commutateur marche/arrêt général
Toutes les lampes demeurent éteintes lors de l'ouverture de la porte en cas d'appui du contacteur B. Appuyer de nouveau sur le commutateur pour annuler ce réglage.
Toutes les lampes peuvent être commandées à l'aide du contacteur C.
Lampe centrale
A. Commutateur marche/arrêt de la lampe de lecture droite
B. Commutateur marche/arrêt de la lampe de lecture gauche
C. Contacteur de porte
D. Commutateur marche/arrêt général
Toutes les lampes demeurent éteintes lors de l'ouverture de la porte en cas d'appui du contacteur C. Appuyer de nouveau sur le commutateur pour annuler ce réglage.
Toutes les lampes peuvent être commandées à l'aide du contacteur D.
Éclairage ambiant
Si vous laissiez une porte ouverte avec le contacteur d'allumage coupé, l'éclairage ambient se coupe automatiquement après quelques temps pour éviter le déchargement de la batterie du véhicule.
En cas d'obscurité, l'éclairage ambient est actif si l'allumage et les phares sont en marche.
L'éclairage ambient illumine dans une même couleur plusieurs zones, notamment le plancher, les porte-gobelets et les portes. Il peut être activé ou désactivé à partir du menu d'affichage d'information. Voir Généralités (page 88).
Utiliser les commutateurs de variateur d'éclairage de planche de bord pour ajuster la luminosité sous Haute. Voir Réglage de l'intensité d'éclairage du combiné des instruments (page 129).
Type 2 E133092
L'éclairage ambiant illumine plusieurs zones, notamment le plancher, les porte-gobelets et les portes dans la couleur. Le commutateur de commande d'éclairage ambiant est situé dans la console de pavillon.
Pour activer, tourner le bouton de commande et ajuster la luminosité souhaitée. Utiliser le contacteur gauche pour passer en revue les de couleur. Utiliser le contacteur droit pour activer toutes les zones d'éclairage ambiant et l'éclairage intérieur.
Avertissement

Faites changer les ampoules au xénon par un technicien expérimenté. Risque d'électrocution.
- Ouvrez le capot moteur. Voir Ouverture et fermeture du capot (page 220).
E133215
- Déposez les vis.
- Tirer le phare aussi loin que possible vers l'avant du véhicule pour le dégager du point de fixation inférieur.
- Soulever l'autre côté du phare, puis le déposer.
E133750
- Débranchez le connecteur.
Note: Lors de la repose du phare, veiller à rebrancher correctement le connecteur.
Note: Lors de la reprise du phare, veiller à engager complètement le phare dans le point de fixation inférieur.
Note: Lors de la pose du phare, veiller à ce que la vis soit placée dans la pièce moulée du phare avant de la monter.
Avertissements

Eteignez les phares et coupez le contact.

Laissez l'ampoule refroidir avant de la retirer.

Faire changer les ampoules au xénon par un technicien compétent. Risque d'électrocution.
Attention

Ne touchez pas le verre de l'ampoule.
Attention

Ne posez que les ampoules spécifiées. Voir Tableau de spécifications des ampoules (page 71).
Note: Les instructions suivantes expliquent comment déposer les ampoules. Poser les ampoules de rechange dans l'ordre inverse de la dépose (sauf indications contraires).
Phare
Note: Retirez les couvercles pour accéder aux ampoules.

A Feux de position B Phares - feux de croisement C Feux de route D Indicateur de direction
Indicateur de direction
- Déposez le phare. Voir Dépose d'un phare (page 63).
E133104
- Déposez le cache.
- Tourner le porte-ampoule dans le sens inverse des aiguilles d'une montre et déposez-le.
- Appuyer doucement sur l'ampoule, tournez-la dans le sens inverse des aiguilles d'une montre puis déposez-la.
Attention

Ne touchez pas le verre de l'ampoule.
- Déposez le phare. Voir Dépose d'un phare (page 63).
E133105
- Déposez le cache.
- Débranche le connecteur.
- Libérer le clip et déposer l'ampoule.
Attention

Ne touchez pas le verre de l'ampoule.
- Déposez le phare. Voir Dépose d'un phare (page 63).

- Déposez le cache.
- Débranche le connecteur.
- Libérer le clip et déposer l'ampoule.
Feu de position
- Déposez le phare. Voir Dépose d'un phare (page 63).
Éclairage

- Déposez le cache.
- Déposez le porte-ampoule.
- Déposez l'ampoule.
Répétiteur lateral
- Déposer le couvercle avec précaution.

- Libérer le clip de fixation à l'aide d'un outil approprié.

- Déposer avec précaution le répéteur lésimal.

E133109
- Déposez le porte-ampoule.
- Déposez l'ampoule.
Attention

Veiller à ne pas casser le verre du rétroviseur lors de sa dépose.
Note: Positionnez le verre du rétroviseur aussi loin que possible vers l'intérieur.
E133110
- Mettre les doigts dans l'écart entre le boîtier de rétroviseur et le verre du rétroviseur et le tirer doucement pour extraire le verre du rétroviseur.
E133717
- Déposez la lampe.

- Déposez l'ampoule.
Projecteurs antibrouillard
- Déposez le phare. Voir Dépose d'un phare (page 63).
Éclairage

Note: L'ampoule du projecteur antibrouillard ne peut pas être séparée du porte-ampoule.
- Débranchez le connecteur.
- Tourner le porte-ampoule dans le sens inverse des aiguilles d'une montre et déposez-le.
Feux arrêté - 5 portes
- Déposez le panneau de garnissage.

- Retirer les écrous à oreilles et détacher le clip.
- Déposer la lampe.

- Débranchez le connecteur.

- Déposer le porte-ampoule.
- Appuyer doucement sur l'ampoule, tournez-la dans le sens inverse des aiguilles d'une montre puis déposez-la.
A. Feu stop
B. Feu de recul
C. Feu arrêté et feu de brouillard
D. Indicateur de direction
Clignotant, feu arrêté et feu de brouillard

- Déposez le panneau de garnissage.

- Retirer les écrous à oreilles et détacher le clip.
- Déposer la lampe.

- Débranchez le connecteur.

- Déposer le porte-ampoule.
Éclairage
- Appuyer doucement sur l'ampoule, tournez-la dans le sens inverse des aiguilles d'une montre puis déposez-la.
Feu arrêté et feu de brouillard
Indicateur de direction
Feux de recul et feux de stop
- Ouvrir le couvercle du coffre à bagages.
E133724
- Déposer le garnissage du couvercle de coffre à bagages.
E133725
Attention

Déclicher le côté extérieur d'abord.
- Retirer les écrous à oreilles et détacher les 2 clips.
- Déposer la lampe.

- Débranche le connecteur.
E133727
- Déposer le porte-ampoule.
- Appuyer doucement sur l'ampoule, tournez-la dans le sens inverse des aiguilles d'une montre puis déposez-la.
A. Feu stop B. Feu de recul
Troisième feu stop
Note: Ces éléments ne sont pas réparables, veuillez contacter votre concessionnaire en cas de dysfonctionnement.
Éclairage de plaque d'immatriculation
Note: Ces éléments ne sont pas réparables, veuillez contacter votre concessionnaire en cas de dysfonctionnement.
Véhicules avec lampes à LED
Note: La carte LED n'est pas réparable. Veuillez consulter votre réparateur/agréé si elle est défectueuse.
E125092
Éclairage de coffre, éclairage de plancher et éclairage de hayon
E72784
- Dégager avec précaution le plafonnier en faisant levier.
- Déposez l'ampoule.
TABLEAU DE SPECIFICATION DES AMPOULES
| Lampe | Spécification | Intensité (watt) |
| Indicateur de direction avant | PY21W | 21 |
| Feux de route | H1 | 55 |
| Phares - frais de croissement | H7 | 55¹ |
| Phare de virage | H1 | 55 |
| Projecteur antibrouillard | H11 | 55 |
| Feu de position | W5W | 5 |
| Répétueur létéal | WY5W | 5 |
Éclairage
| Lampe | Spécification | Intensité (watt) |
| Eclairage d'approche | W5W | 5 |
| Indicateur de direction arrêté | PY21W | 21 |
| Feu stop et feu de position arrêté | P21/5W | 21/5 |
| Feu arrêté | W5W | 5 |
| Feu arrêté de brouillard | P21W | 21 |
| Feu de recul | W16W | 16 |
| Eclairage de coffre à bagages | W5W | 5 |
Poser un fusible de remplacement de la même intensité que celui retiré.
Avertissement

N’actionner les lève-vitres électriques que s’ils sont exempts d’obstruction.
Note: Lorsque ces commutateurs sont utilisés trop souvent en peu de temps, le système peut ne plus fonctionner pendant un certain temps afin d'éviter une dépréciation par surchauffe.
Établir le contact avant d'actionner les lève-vitres électriques.
Ouverture et fermeture globales
Les lève-vitres électriques peuvent également être commandés contact coupé à l'aide de la fonction d'ouverture et de fermeture globale. Voir Serrures (page 36).
Commutateurs de porte conducteur
Vous pouvez actionner toutes les vitres au moyen des commutateurs placés sur le panneau de garnissage de la porte conducteur.

Ouverture et fermeture automatique des vitres
Enfoncer ou soulever le contacteur jusqu'à ce qu'il atteigne le deuxième point d'action et le relâcher complètement. Appuyer dessus ou le soulever de nouveau pour arrêter les vitres.
Avertissement

Sur certains véhicules, l'actionnement du commutateur a aussi pour effet de verrouiller les s'arriere (ouverture impossible à l'intérieur). Voir Sécurités (page 26).
Note: Vous pouvez toujours actionner les vitres arrière à partir de la porte conducteur.

Un commutateur dans la porte conducteur permet de neutraliser les commutateurs des lève-vitres électriques arrêté.
Le témoin dans le commutateur s'allume et les éclairages des commutateurs de lève-vitres arrêté s'éteignent lorsque les vitres arrêté sont neutralisées.
E70848
Une fermeture sans précaution des vitres peut annuler la fonction de protection et causer des blessures.
Les vitres électriques s'arrêtent automatiquement pendant la fermeture et redescendent légèrement si un obstacle est rencontré.
Avertissement

Lorsque vous fermez la vitre pour la troisième fois, la fonction anti-pincement est désactivée.
Assurez-vous qu'il n'y a pas d'obstacle dans la course de remontée de la vitre.
Pour annuler cette fonction de protection lorsqu'il se produit une résistance, par exemple en hiver, procéder comme suit :
- Fermer la vitre deux fois jusqu'à ce qu'elle atteigne le point de résistance et laisser le mouvement s'inverser.
- La troisième fois, fermer la vitre jusqu'au point de résistance. La fonction anti-pincement est désactivée et vous ne pouvez pas fermer la vitre automatiquement. La vitre surmonte la résistance et vous pouvez la fermer complètement.
- Si la vitre ne se ferme pas après la troisième tentative, faire vérifier le système par un spécialiste.
Avertissement

La fonction anti-pincement est désactivée jusqu'à ce que vous ayez réinitialisé la mémoire.
Après débranchement de la batterie, vous devez réinitialiser la mémoire de chaque vitre :
Note: Sur les véhicules à toit rétractable rigide, le toit et les portes doivent être complètement fermés pour que la procédure suivante puisse être exécutée.
- Soulever le contacteur et le maintenir dans cette position jusqu'à la fermeture totale de la porte.
- Relacher le commutateur.
- Soulever de nouveau le contacteur pendant une seconde de plus.
- Soulever le contacteur et le maintenir dans cette position jusqu'à l'ouverture totale de la vanne.
- Relacher le commutateur.
- Soulever le contacteur et le maintenir dans cette position jusqu'à la fermeture totale de la vitre.
- Ouvrir la vitre et essayer de la fermer automatiquement.
- Réinitialiser et répéter la procédure si la vitre ne se ferme pas automatiquement.
Avertissement

Ne surestimez pas la distance des objets que vous voyez dans le rétroviseur convexe. Les objets vos
Dans les rétroviseurs convexes apparaissent plus petits et plus distants qu'en réalité.
Escamotage
Poussez le rétroviseur vers la vitre de porte.
Déplier le siège
Veillez à engager complètement le rétroviseur dans son support en le ramenant à sa position d'origine.
Rétroviseurs extérieurs à réglage électrique

E70846
A Rétroviseur gauche B OFF (désactivation) C Rétroviseur droit
Sens d'orientation du rétroviseur

E70847
Les rétroviseurs extérieurs électriques incorporent un élément chauffant qui dégivre ou désembue le verre du rétroviseur. Voir Vitres chauffantes et rétroviseurs chauffants (page 115).
Rabattement et déploiement automatiques
Note: Si les rétroviseurs ont été rabattus à l'aide du bouton de rabattement manuel, ils ne peuvent être déployés qu'à l'aide du bouton de déploiement manuel.
Les rétroviseurs se rabattent automatiquement lorsque le véhicule est verrouillé avec la clé, la télécommande ou à la demande du système d'entrée sans clé. Les rétroviseurs se déploient lorsque le véhicule est déverrouillé avec la clé, la télécommande ou à la demande du système d'entrée sans clé, avec la poignée intérieure de porte conducteur ou lors du démarrage du moteur.
Rabattement et déploiement manuels
Les rétroviseurs rabattables électriques ne fonctionnent que si le contact est établi.
Note: Il est possible d'utiliser les rétroviseurs (inclinaison et rabattement) plusieurs minutes après la coupure du contact. Il faut désactiver dès qu'une porte est ouverte.
E72623
Appuyer sur le bouton pour rabattre ou déployer les rétroviseurs.
Si vous appuyez de nouveau sur le commutateur pendant le déplacement des rétroviseurs, leur course s'interrompt et leur sens de déplacement s'inverse.
Note: Lorsque ces commutateurs sont utilisés à répétition pendant un intervalle de temps réduit, le système peut alors cesser de fonctionner un certain temps afin d'éviter toute déterioration par surchauffe.
RÉTROVISEUR ANTI-ÉBLOUISSEMENT AUTOMATIQUE E71028
Le rétroviseur à inversion automatique jour/nuit s'adapte automatiquement lorsqu'il reçoit une lumière éblouissante de l'arrêté du véhicule. Il ne fonctionne pas lorsque la marche arrière est engagée.
Avertissements
Le système n'est pas conçu pour empêcher un contact avec d'autres véhicules ou objets. Son rôle est seulement d'émettre des avertissements afin de vous aider à détecter des véhicules dans les angles morts. Le système ne détecte pas d'obstacles ni piétons, motocyclistes ou cyclistes.
Le système ne doit pas se substituer à l'utilisation des rétroviseurs latéraux et intérieur et à l'habituel coup d'œil par-dessus l'épaule avant de changer de file. Il s'agit simplement d'une aide venant en plus des mesures de prudence habituelles.
Ce système est une fonction de comportement qui aide le conducteur à détecter des véhicules arrivés dans la zone d'angle mort (A). La zone de détection est des deux côtés du véhicule allant jusqu'à l'arrêt à partir des rétroviseurs extérieurs, et se termine environ 3 mètres (10 pouces) derrière le pare-choc. Le système vous alerte lorsque des véhicules pénètrent dans la zone d'angle mort pendant la conduite.

Utilisation du système
Le système affiche un témoin jaune dans les rétroviseurs extérieurs.
E124736
Note: Les deux témoins s'allument brièvement à l'établissement du contact pour confirmer le bon fonctionnement du système.
Note: Sur les véhicules avec transmission automatique, le système est activé uniquement en positions S, D et N.
Le système n'est actif que lorsque la vitesse du véhicule dépasse 10 km/h (6 mph). Le système se désactive temporairement à l'engagement de la marche arrière.
Détection et alertes du système
Le système déclenche l'alerte pour des véhicules qui pénètrent dans la zone d'angle mort en arrivant depuis l'arrière ou en se rapprochant latéralement du véhicule. Les véhicules que vous doublez ou qui entrent dans la zone d'angle mort à partir de l'avant ne déclenchent l'alerte qu'après être restés quelques instants dans la zone d'angle mort.
Note: Les véhicules qui traversent rapidement la zone d'angle mort (en moins de 2 secondes généralement) ne déclenchent pas l'alerte.
Le système comprend deux capteurs radars logés sous le pare-chocs derrière les roues arrêté.
Attention
Ne pas placer des autocollants à cet endroit. Les réparations au mastic de carrosserie dans cette zone affecteront le fonctionnement du système.
E124741

Limitations de la détection
Il peut arriver que des véhicules entrant et sortant des zones d'angle mort ne soient pas détectés.
Cas possibles de non-détection :
- Débris accumulés sur le pare-chocs arrière dans la zone des capteurs.
- Certains types de manœuvres de véhicules entrant et sortant de la zone d'angle mort. Véhicules traversant à haute vitesse la zone d'angle mort. Mauvaises conditions climatiques. Véhicules traversant la zone d'angle mort en se suivant à courte distance les uns des autres.
Fausses alertes.
Note: Les fausses alertes sont temporaires et se corrigent automatiquement.
Dans certains cas, le système émet un avertissement sans qu'il y ait de véhicule dans la zone d'angle mort.
Cas possibles de fausse alerte :
Glissières latérales de la route. Murets en béton sur autoroutes. Zones de construction. Virages serrés autour de bâtiments. Buissons et arbres. Cyclistes et motocyclistes. Freinage jusqu'à l'arrêt avec un véhicule très proche derrière.
Activation et désactivation du système
Note: La position activée ou désactivée ne peut être changée que manuellement.
Vous pouvez activer/désactiver le système à l'aide de l'écran d'information. Voir Affichages d'informations (page 88).
Si vous désactivez le système, vous ne recevez plus d'alertes. Le témoin BLIS s'allume. Voir Témoins d'avertissement et indicateurs (page 83).
Erreurs de détection
Note: Le témoin d'alerte dans le rétroviseur ne s'allume pas.
Si le système détecte une anomalie sur l'un ou l'autre capteur, l'icône d'avertissement du système s'allume et reste allumée. L'écran d'information confirmera l'anomalie et indiquera le côté du véhicule concerné.
Avertissement

Avant que le système ne détecte une obstruction et n'émette un avertissement, le nombre d'objets détectés augmente.
Attention

Les capteurs peuvent ne pas détecter des véhicules sous une pluie battante ou dans d'autres conditions pouvant causer des réflexions perturbantes.
Note: Garder la partie du pare-chocs arrière qui abrite les capteurs exempt d'impuretés, de glace et de neige.
Si un capteur devient bloqué, cela peut nuire aux performances du système. Un message de capteur bloqué peut s'afficher.
Le système revient à un fonctionnement normal une fois que deux autres véhicules ont été détectés des deux côtés.
Attention

Les véhicules équipés d'un module de remorquage non homologué par Ford ne peuvent ne pas être détectés directement. Pour éviter les fausses, déactiver le système. Voir messages d'informations (page 88).
Si le véhicule est équipé d'un module de remorquage homologué par Ford, le système détectera une remorque attelée et se désactivera. Un message de confirmation apparaîtra alors sur l'écran d'information. Voir Messages d'information (page 96). Le témoin BLIS s'allumera. Voir Témoins d'avertissement et indicateurs (page 83).
Type1
A Affichage d'informations. Voir Affichages d'informations (page 88). B Compteur de vitesse C Thermomètre de température d'eau D Bouton de remise à zéro du totalisateur journalier E Jauge de carburant F Compte-tours
Types 2 et 3 E130149
A Affichage d'informations. Voir Affichages d'informations (page 88). B Compteur de vitesse C Thermomètre de température d'eau D Jauge de carburant E Compte-tours
2.0LEcoBoost-MI4 E141657
A Jauge de température d'huile B Manomètre de contrôle de pression de turbocompresseur C Manomètre d'huile
Tous les véhicules
Indique la température du liquide de refroidissement. À la température normale de fonctionnement, l'aiguille reste dans la partie centrale.
Avertissement

Ne pas redémarrer le moteur avant d'avoir remédié à la cause de la surchauffe.
Si l'aiguille pénètre dans le secteur rouge, le moteur est en surchauffe. Mettre le moteur à l'arrêt, couper le contact et déterminer la cause de la surchauffe une fois que le moteur a refroidi. Voir Contrôle du liquide de refroidissement (page 232).
Jauge de température d'huile
Indique la température de l'huile moteur.
À la température de fonctionnement normale, l'aiguille reste dans la zone normale.
Si l'aiguille pénétre dans la zone rouge, le moteur est en surchauffe. Réduire le régime moteur dès que les conditions de sécurité le permettent afin de permettre au moteur de refroidir. Si le moteur continue de tourner à un régime haute température avec l'aiguille dans la zone rouge, le régime moteur est automatiquement limité afin d'éviter tout endommagement du moteur.
Manomètre de contrôle de pression de turbocompresseur
Indique la pression d'admission supplémentaire fournie par le turbocompresseur.
Avertissement

La conduite du véhicule avec l'aiguille du manomètre d'huile constamment dans la zone rouge est d'endommager le moteur.
Note: Lorsque le moteur est froid, une pression d'huile d'environ 5 bar peut être indiquée. Ceci est normal. À mesure que le moteur se réchauffe, la pression d'huile retombe.
Cette jauge indique la pression d'huile du moteur jusqu'à la valeur maximale de sécurité prescrite de 5 bar.
Pendant la conduite normale du véhicule, la pression d'huile varie en fonction du régime moteur, montant lorsque le régime augmente et retombant lorsque le régime descend.
Si la pression d'huile du moteur chute en dessous de la plage normale, l'aiguille du manomètre d'huile descend dans la zone rouge du manomètre et le témoin de pression d'huile du moteur du combiné des instruments principal s'allume. Arrête le véhicule dès que possible et coupe le moteur immédiatement. Contrôle le niveau d'huile et fais l'appoint si nécessaire. Voir Contrôle de l'huile moteur (page 231).
Jauge de carburant
La flèche à proximité du symbole de la pompe à essence indique de quel côté est situé le bouchon du réservoir.
Témoins d'avertissement et indicateurs
Les témoins suivants s'allument à l'établissement du contact :
Airbags ABS - Contrôle dynamique de stabilité (ESP) Témoin de bas niveau de carburant Circuit de freinage Antigivre ESP arrêt
Si un témoin ne s'allume pas à l'établissement du contact, c'est l'indication d'une anomalie dans le système. Faire contrôler le système par un technicien compétent.
Témoin ABS

S'il s'allume pendant la conduite, cela indique un mauvais fonctionnement dans
le système. Le freinage normal (sans ABS) reste totalement opérationnel. Faire contrôler le système par un technicien compétent dans la mesure du possible.
Témoin d'airbags

S'il s'allume pendant la conduite, cela indique un mauvais fonctionnement dans
le système. Faites contrôler le système par un technicien correctement formé pour cette opération.
Témoin de surveillance d'angle mort

Il s'allume lorsque la fonction est désactivée ou qu'un message est présent. Voir Contrôleur.
d'angle mort (page 76). Voir Messages d'information (page 96).
Témoin du circuit de freinage

Il s'allume lorsque le frein de stationnement est serré.
Avertissement

Diminuer progressivement la vitesse et stopper le véhicule dès que les conditions de sécurité le permettent. Éviter les freins avec précaution.
S'il s'allume pendant la conduite, contrôler que le frein de stationnement n'est pas serré. Si le frein de stationnement n'est pas serré, il indique une anomalie. Faire immédiatement contrôler le système par un technicien correctement formé pour cette opération.
Témoin de régulateur de vitesse

Il s'allume lorsqu'une vitesse est réglée à l'aide du régulateur de vitesse. Voir Utilisation du
régulateur de vitesse (page 169).
Indicateurs de direction

Ce témoin clignote en même temps que les clignotants.
L'augmentation soudaine de la
fréquence de clignotement indique qu'une ampoule est défectueuse. Voir
Remplacement d'une ampoule (page 64).
Témoin d'anomalie du moteur

S'il s'allume pendant le fonctionnement du moteur, il indique une anomalie. S'il
clignote pendant la conduite, réduire immédiatement la vitesse du véhicule.
S'il continue de clignoter, éviter toute accélération ou décelération brusque. Faire immédiatement contrôler le système par un technicien correctement formé pour cette opération.
Attention

Si le témoin d'anomalie du moteur s'allume en même temps que l'apparition d'un message, faites
contrôler le système le plus tôt possible.
Témoin de marche avant

Il s'allume lorsque la fonction est désactivée ou lorsqu'un message s'affiche. Voir
Fonction Forward alert (alerte de ralentissement du traffic) (page 175).
Témoin de projecteurs antibrouillard

Il s'allume lorsque les projecteurs antibrouillard sont actifs.
Avertissement

Même si la température dépasse +4 °C (39 °F), il n'est pas certain que la route soit exempte de dangers dus

Il s'allume et présente une lueur orange lorsque la température extérieure se situe entre +4°C
(39°F) et 0°C (32°F). Il présente une lueur rouge lorsque la température est inférieure à 0°C (32°F).
Témoin de préchauffage

Voir Démarrage d'un moteur diesel (page 135).
Témoin de phares

Il s'allume lorsque les feux de croisement ou les feux des stationnement ou de position
arrière sont allumés.
Témoin d'allumage

S'il s'allume pendant la conduite, cela indique un mauvais fonctionnement dans
le système. Mettre à l'arrêt tous les dispositifs électriques qui ne sont pas indispensables. Faire immédiatement contrôler le système par un technicien correctement formé pour cette opération.
Témoin d'avertisseur de changement de voie

Il s'allume lorsque la fonction est désactivée ou lorsqu'un message s'affiche. Voir
Avertissement de démarrage sur voie (page 181).
Témoin de bas niveau de carburant

S'il s'allume, remplir le réservoir dans les plus brefs délais.
Témoin de pneus sous-gonflés.

Voir Système de surveillance de la pression des pneus (page 253).
Témoin de fumée de route

Il s'allume lorsque les feux des route sont activés. Il clignote lorsque vous effectuez un appel.
de phares.
Indicateur de message

Il s'allume lorsqu'un nouveau message est enregistré dans l'afficheur multifonction. Voir
Messages d'information (page 96).
Attention

S'il s'allume bien que le niveau soit correct, ne pas reprendre la route.
Faire immédiatement contrôler le système par un technicien correctement formé pour cette opération.

S'il reste allumé après le démarrage ou qu'il s'allume pendant la conduite, cela signifie
qu'il y a une anomalie dans le système. Immobiliser le véhicule dès qu'il est possible de le faire en sécurité et couper le moteur. Contrôler le niveau d'huile moteur. Voir Contrôle de l'huile moteur (page 231).
Témoin de freins de brouillard arrêté

Il s'allume lorsque les feux arrière de brouillard sont activés.
Rappel de bouclage de ceinture

Voir Rappel de bouclage de ceinture de sécurité (page 31).
Témoin de passage

Il s'allume pour informer le conducteur que le passage à un rapport plus élevé permet une
meilleure économie de carburant et un niveau moins élevé d'émissions polluantes (gaz carbonique). Il ne s'allume pas lors d'une accélération rapide, d'un freinage ou lorsque la pédale d'embrayage est enfoncée.
Témoin de contrôle dynamique de stabilité (ESP)

Pendant la conduite, le témoin clignote lors des interventions du système. Si le témoin ne
s'allume pas après l'établissement du contact ou reste allumé en continu pendant la conduite, c'est l'indication d'une anomalie dans le système. Le système se désactive pendant toute la durée de l'anomalie. Faire contrôler le système par un technicien compétent dès que possible.

Si le système d'antipatinage est désactivé, le témoin s'allume. Le témoin s'éteint lorsque vous le système ou coupez le contact.
Témoin de démarrage/arrêt

Le témoin démarrage/arrêt est allumé lorsque le moteur s'arrête ou en combinaison avec un
message. Voir Utilisation du démarrage-arrêt (page 139). Voir Messages d'information (page 96).
Activation et déactivation des signaux sonores
Vous pouvez désactiver certains signaux sonores dans l'écran d'information à l'aide de la commande au volant. Pour l'emplacement des repères : Voir Bref aperçu (page 12).
Pour désigner les signaux sonores qui doivent se faire entendre si besoin est :
- Appuyez sur la touche flèche vers la gauche du volant pour accéder au menu principal.
- Mettre en valeur Settings avec les touches flèches vers le haut et vers le bas et appuyer sur la touche flèche vers la droite.
- Mettez en valeur Signaux sonores et appuyez sur la touche flèche vers la droite.
- Sélectionnez Information ou Alarme et appuyez sur la touche OK pour activer ou désactiver le signal sonore.
- Appuyez sur la touche flèche vers la gauche pour quitter le menu. Appuyez sur la touche flèche gauche et la maintenez enfoncée pour revenir à l'affichage du menu principal.
Transmission automatique
Si la position P n'est pas sélectionnée, un signal sonore retentit à l'ouverture de la porte conducteur.
Avertissement

Même si la température dépasse +4 °C (39 °F), il n'est pas certain que la route soit exempte de dangers dus
Il y a émission d'un bip dans les conditions suivantes :
+4°C (39°F) ou moins : avertissement de givre. - 0° C (32°F) ou moins : risque de routes verglacées.
Véhicules avec entrée sans clé
Si le moteur tourne et qu'une clé passive n'est plus détectée à l'intérieur du véhicule, un avertissement sonore retentit.
Porte ouverte
Un avertissement sonore retentit lorsqu'une des portes est ouverte si le véhicule dépasse une vitesse relativement basse.
Feux allumés
Un signal sonore retentit à l'ouverture de la porte conducteur lorsque les feux extérieurs sont allumés et le contact coupé.
Témoin de bas niveau décarbonant
Un avertissement sonore retentit lorsqu'il reste moins de 6 litres (1,3 gallons) de carburant environ.
Rappel de bouclage de ceinture
Voir Rappel de bouclage de ceinture de sécurité (page 31).
Généralités
Note: L'afficheur multifonction reste allumé plusieurs minutes après la coupure du contact.
Différents systèmes sur votre véhicule peuvent être contrôlés à l'aide des commandes de l'afficheur multifonction sur la colonne de direction. Des renseignements correspondants sont affichés sur l'afficheur multifonction.
Pour des instructions détaillées sur l'utilisation du système de navigation, se reporter au Manuel approprié.
Liste des positifs
L'icône change de couleur pour indiquer la fonction actuellement utilisée.


Autoradio

Entrée auxiliaire

Telephone

Réglages
Les commandes
Appuyez sur les touches fléchées haut et bas pour faire défiler les options de menu et les mettre en surbrillance dans un menu.
Appuyez sur la touche flèche droite pour entrer dans un sous-menu.
Appuyez sur la touche flèche vers la gauche pour quitter un menu.
Maintenez enfoncée la touche flèche vers la gauche pour revenir à tout moment à l'affichage du menu principal (touche Escape).
Appuyez sur la touche OK pour désigner et confirmer un réglage.
Tous les véhicules
Vous pouvez accéder au menu à l'aide des commandes de l'affichage d'information. Pour l'emplacement des repères : Voir Bref aperçu (page 12).


E133368
Vous pouvez accéder au menu à l'aide des touches du système audio ou d'aide à la navigation.
Tous les véhicules



E156546
Vous pouvez accéder au menu à l'aide des commandes de l'afficheur multifonction. Pour l'emplacement des repères : Voir Bref aperçu (page 12).
(Véhicules avec système d'aide à la navigation)


Totalisateur journalier
Il enregistre le kilométrage parcouru sur un parcours donné.
Autonomie
Indique la distance approximative que peut parcourir le véhicule avec le carburant restant dans le réservoir. Le changement de type de conduite peut provoquer des écarts avec l'autonomie affichée.
Consommation momentanée
Indique la consommation de carburant moyenne actuelle.
Consommation moyenne
Indique la consommation de carburant moyenne depuis la dernière remise à zéro de la fonction.
Vitesse moyenne
Indique la vitesse moyenne depuis la dernière remise à zéro de la fonction.
Température extérieure
Indique la température extérieure.
Totalisateur
Il enregistre le kilométrage parcouru par le véhicule.
Réinitialisation de l'ordinateur de bord
Pour remettre à zéro un affichage particulier :
- Mettre en valeur Ordin. de bord avec les touches flèches vers le haut et vers le bas et appuyer sur la touche flèche vers la droite.
- Mettre en valeur la fonction à remettre à zéro.
- Maintenir la touche OK enfoncée.
Réglage de la langue
Un besoin de 13 langues est disponible :
Anglais, Allemand, Italien, Français, Espagnol, Russe, Néerlandais, Polonais, Suédois, Portugais, Tchèque, Danois et Norvégien.
Unités de mesure
Pour sélectionner alternativement les unités de mesure métriques et anglo-saxonnes, faites défiler jusqu'à cet affichage puis appuyez sur la touche OK.
La sélection alternative des unités de mesure grâce à cet écran s'applique aux affichages suivants :
Autonomie. - Consommation moyenne de carburant - Consommation instantanée. - Vitesse moyenne
Unités de température
Pour sélectionner alternativement les unités de mesure métriques et anglo-saxonnes, faites défiler jusqu'à cet affichage puis appuyez sur la touche OK.
La sélection alternative des unités de température grâce à cet écran s'applique aux affichages suivants :
- Température extérieure.
- Affichage de la température dans la climatisation automatique.
Désactivation des signaux sonores
Les signaux sonores suivants peuvent être désactivés :
- Messages d'avertissement.
- Messages d'information.
Note: Certains messages peuvent apparaître abrégés ou tronqués en fonction du type de combiné d'instruments de votre véhicule.
E130248
Appuyez sur la touche OK pour accuser réception et supprimer certains messages de l'afficheur multifonction. D'autres messages seront supprimés automatiquement au bout de quelques temps.
Certains messages doivent être confirmés avant de pouvoir accéder aux menus.
Indicateur de message

L'indicateur de message s'allume pour souligner certains messages. Il prend une couleur
rouge ou jaune, selon le degré de gravité du message, et reste allumé jusqu'à ce que le symptôme à l'origine du message ait été corrigé.
Certains messages sont complétés par un symbole spécifique au système avec un message.
Active City Stop
| Message | Témoin | Mesure corrective |
| Capteur Active City Stop bloqué Nettoyerète | jaune | Voir A l'aide de l'Active City Stop (page 190). |
| Active City Stop non disponible | jaune | Voir A l'aide de l'Active City Stop (page 190). |
| Active City Stop Feinage automatique | - | Voir A l'aide de l'Active City Stop (page 190). |
Airbags
| Message | Indicateur de message | Mesure corrective |
| Airbag Anomalie révis. immédiate | jaune | Faire contrôle le système par un technicien compétent dès que possible. |
Alarme
| Message | Indicateur de message | Mesure corrective |
| Alarme déclenchée contrôrler vehicule | jaune | Voir Alarme (page 45). |
| Alarme Anomalie Révis. nécessaire | - | Faites contrôrler le système par un technicien correctement formé pour cette opération. |
Commande de feux de route automatique
| Message | Témoin | Mesure corrective |
| Caméra avant Visibilité BASSE Nettoyer vitre | jaune | Le capteur de caméra avant dispose d'une visibilité réduite. Nettoyer le pare-brise. |
| Caméra avant Anomalie Révis.néces-saire | jaune | Le capteur de caméra avant présente une anomalie. Le faire contrôler dès que possible. |
Batterie et circuit de charge
| Message | Indicateur de message | Mesure corrective |
| Surtension système électrique Stopper SVP | Rouge | Immobiliser le vehicule dès qu'il est possible de le faire en sécurité et couper le moteur. Faire contrôle le système par un technicien compétent dès que possible. |
| Tension batterie basse cf. Manuel | jaune | Faire contrôle le système par un technicien compétent dès que possible. |
Surveillance des angles morts
| Message | Indicateur de message | Mesure corrective |
| BLIS Visibilité BASSE cf. manuel | jaune | Voir Contrôleur d'angle mort (page 76). |
| BLIS: anomalie capteur droit RÉvis. nécessaire | jaune | Faire contrôr le système par un technicien compétent d'es que possible. |
| BLIS: anomalie capteur gauche RÉvis. nécessaire | jaune | Faire contrôr le système par un technicien compétent d'es que possible. |
| BLIS Non disponible Mode remorque | jaune | Voir Contrôleur d'angle mort (page 76). |
Sécurité infant
| Message | Indicateur de message | Mesure corrective |
| Sécurité enfants Anomalie Révis. nécessaire | jaune | Faire contrôle le système par un technicien compétent dès que possible. |
Climatisation
| Message | Témoin | Mesure corrective |
| Chauffage auxiliaire en marche | jaune | Voir Chauffage auxiliaire (page 118). |
| Chauffage auxiliaire coupé | - | Voir Chauffage auxiliaire (page 118). |
Régulateur de vitesse et régulateur de vitesse adaptatif (ACC)
| Message | Témoin | Mesure corrective |
| Capteur radar AV bloqué cf. manuel | jaune | Voir Régulateur de vitesse adaptatif (ACC) (page 171). |
| Forward Alert non disponible | jaune | Voir Régulateur de vitesse adaptatif (ACC) (page 171). |
| ACC non disponible | jaune | Voir Régulateur de vitesse adaptatif (ACC) (page 171). |
Portes ouvertes
| Message | Indicateur de message | Mesure corrective |
| Porti. conducteur ouverte | Rouge | Arrêtier le vehicule dès que les conditions de sécurité le permettent et fermer. |
| Côté conducteur portière arrêté ouverte | Rouge | Arrêtier le vehicule dès que les conditions de sécurité le permittent et fermer. |
| Portière passager avant ouverte | Rouge | Arrêtier le vehicule dès que les conditions de sécurité le permittent et fermer. |
| Côté passager portière arrêté ouverte | Rouge | Arrêtier le vehicule dès que les conditions de sécurité le permittent et fermer. |
| Coffre ouvert | Rouge | Arrêtier le vehicule dès que les conditions de sécurité le permittent et fermer. |
| Capot moteur ouvert | Rouge | Arrêtier le vehicule dès que les conditions de sécurité le permittent et fermer. Voir Ouverture et ferméture du capot (page 220). |
Alarme conducteur
| Message | Témoin | Mesure corrective |
| Alarme Conducteurfatigué Arrêt mainenant | Rouge | Arrêter le vehicule et faire une pause dès qu'il est possible de le faire en toute sécurité. |
| Alarme Conducteurfatigué Arrêt conseillé | jaune | Faire une pause dès que possible. |
Dispositif antivol de moteur
| Message | Indicateur de message | Mesure corrective |
| Anti-démarrage activé cf. Manuel | jaune | Votre clé n'a pas été identifiée. Retirer la clé puis effectuer une nouvelle tentative de démarrage. |
| Anti-démarrage Anomalie Révis. nécessaire | jaune | Faire contrôle le système par un technicien compétent d'es que possible. |
Assistance au démarrage en côte
| Message | Indicateur de message | Mesure corrective |
| Assistant de démarrage en côte non disponible | jaune | Faites contrôle le système par un technicien correctement formé pour cette opération. |
Système d'ouverture sans clé
| Message | Indicateur de message | Mesure corrective |
| Ford KeyFree Clé pas dans vehicule | Rouge | Voir Entrée sans clé (page 38). |
| Ford KeyFree Clé dans vehicule | jaune | Voir Entrée sans clé (page 38). |
| Ford KeyFree Placer la clé dans le porte-clé | - | Voir Entrée sans clé (page 38). |
| Ford KeyFree Clé non détectée | - | Voir Entrée sans clé (page 38). |
| Clé Pile faible Remplacer pile | - | Voir Remplacement de la pile de la télécommande (page 33). |
| Verrou de direction bloqué Tourner le volant | - | Voir Verrou de direction (page 132). |
Aide au maintien de trajectoire
| Message | Témoin | Mesure corrective |
| Assis. Maint. voie Révis. nécessaire | jaune | Faire contrôle le système par un technicien compétent dès que possible. |
Eclairage
| Message | Indicateur de message | Mesure corrective |
| Eclairage AV Anomalie Révis. nécessaire | jaune | Faire contrôle le système par un technician compétent d'es que possible. |
| Feu stop Ampoule défectueuse | - | Une ou les deux ampoules de feux stop ont grillé. Contrôler les ampoules de feux stop. Voir Remplacement d'une ampoule (page 64). |
| Feu position Ampoule défectueuse | - | Une ou les deux ampoules de feu de position ou de clignotant latéral ont grillé. Contrôler les ampoules de feux de stationnement et de feux arrêté. Voir Remplacement d'une ampoule (page 64). |
| Feu antibr. AR Ampoule défectueuse | - | Une ou les deux ampoules de feux arrêté de brouillard ont grillé. Contrôler les ampoules de feux arrêté de brouillard. Voir Remplacement d'une ampoule (page 64). |
| Feu code Ampoule défectueuse | - | Une ou les deux ampoules de feux de croisement ont grillé. Contrôler les ampoules de feux de croisement. Voir Remplacement d'une ampoule (page 64). |
| Feu stop remorque Ampoule défect. | - | Une ou les deux ampoules de feux stop de remorque ont grillé. Contrôler les ampoules de feux stop de votre remorque. |
| Clignotant remorque Ampoule défect. | - | Une ou les deux ampoules de clignotants de remorque ont grillé. Contrôler les ampoules de clignotants de votre remorque. |
Entretien
| Message | Indicateur de message | Mesure corrective |
| Moteur Surchauffe Stopper SVP | Rouge | Immobiliser le vehicule dès qu'il est possible de le faire en sécurité et couper le moteur. Faire contrôr le système par un technicien compétent dès que possible. |
| Niveau liquide frein insuffisant Révis. immédiate | Rouge | Contrôr le niveau de liquide de frein. Voir Contrôle de liquide de freins et d'embrayage (page 233). |
| Moteur Anomalie révis. immédiate | Rouge | Arrêté le vehicule dès que possible et couper le moteur immEDIatement. Faire immEDIatement contrôr le système par un technicien correctement formé pour cette opération. |
| Eau détectée dans carburant Révis. nécessaire | jaune | Faire contrôr le système par un technicien compétent dès que possible. |
| Moteur Anomalie révis. immédiate | jaune | Faire contrôr le système par un technicien compétent dès que possible. |
| Niveau bas du liquide de lave-glace | - | Contrôr le niveau de liquide lave-glace. Voir Contrôle du liquide lave-glace (page 233). |
| Huile moteur vidange nécessaire | - | Faites contrôr le système par un technicien correctement formé pour cette opération. |
Protection des occupants
| Message | Témoin | Mesure corrective |
| Alarme ceinture de sécurité Résision néces. | - | Faire contrôle le système par un technician compétent dès que possible. |
Aide au stationnement
| Message | Témoin | Mesure corrective |
| Assistant parking Anomalie Révis. nécessite | jaune | Faire contrôle le système par un technicien compétent dès que possible. |
Frein de stationnement
| Message | Témoin | Mesure corrective |
| Frein de stationnement serré | Rouge | Voir Frein de stationnement (page 153). |
| Frein de stationnement serré | jaune | Voir Frein de stationnement (page 153). |
Direction assistée
| Message | Indicateur de message | Mesure corrective |
| Direction verrouillée Anomalie Stopper SVP | Rouge | Immobiliser le vehicule dès qu'il est possible de le faire en sécurité et couper le moteur. Faire contrôler le système par un technicien compétent dès que possible. |
| Direction Perte totale Stopper SVP | Rouge | Immobiliser le vehicule dès qu'il est possible de le faire en sécurité et couper le moteur. Faire contrôler le système par un technicien compétent dès que possible. |
| Direction assistée Anomalie Révis. nécessaire | jaune | Direction assistée. La direction restera totalément opérationnelle mais il sera nécessaire d'exercer une force supplémentaire sur le volant. Faire contrôler le système par un technicien compétent dès que possible. |
| Direction Anomalie révis. immédiate | jaune | Faites contrôler le système par un technicien correctement formé pour cette opération. |
Contrôle dynamique de stabilité (ESP)
| Message | Témoin | Mesure corrective |
| Système anti-patinage coupé | jaune | Voir Généralités (page 88). |
Démarrage du moteur
| Message | Indicateur demessage | Mesure corrective |
| Ford KeyFree Couper contact action. "POWER" | Rouge | Voir Démarrage sans clé (page 135). |
| Rouler pr nettoyer filtre échéancement Cf. manuel | jaune | Voir Filtre à particules diesel (page 137). |
| Moteur Anomalie révis. immédiate | jaune | Voir Filtre à particules diesel (page 137). |
| Pour démarrer actio-nner frein | - | Voir Démarrage sans clé (page 135). |
| Pour démarrer actio-nner embrayage | - | Voir Démarrage sans clé (page 135). |
| Pour démarrer actio-nner frein et embrayage | - | Voir Démarrage sans clé (page 135). |
| Temps de lancement dépasse | - | Voir Démarrage et arrêt du moteur (page 132). |
| Moteur Préchauffage | - | Voir Démarrage d'un moteur diesel (page 135). |
| Nettoyage du filtre d'échévement | - | Voir Filtre à particules diesel (page 137). |
| Nettoyage du filtre terminé | - | Voir Filtre à particules diesel (page 137). |
Démarrage-arrêt
| Message | Indicateur de message | Mesure corrective |
| Auto StartStop Couper contact | Rouge | Couper l'allumage avant de quitter votre vehicule si le système a coupé le moteur. Voir Utilisation du démarrage-arrêt (page 139). |
| Auto StartStop Anomalie Révis.néces-saire | jaune | Faites contrôle le système par un technicien correctement formé pour cette opération. |
| Auto StartStop Action. embrayage pour démarrer | - | Le moteur doit être redémarré, enforcer la pédale d'embrayage pour démarrer. Voir Utilisation du démarrage-arrêt (page 139). |
| Auto StartStop vit. sur pt. mort | - | Sélectionner la position neutre pour que le système redémarré le moteur. Voir Utilisation du démarrage-arrêt (page 139). |
| Auto StartStop Démar. manuel requis | - | Le système ne fonctionne pas. Un redémarrage manuel est nécessaire. |
Boîte de vitesses
| Message | Indicateur de message | Mesure corrective |
| Boîte vitesses Surchauffe Actionner frein | Rouge | Lors de certaines conditions de conduite, il se peut que les embrayages surchauffent dans la transmi-ssion. Dans ces conditions vous doivent appuyer sur la pédale de frein et arrêté le vehicule pour empêcher la surchauffe d'augmenter. Sélectio-nnez N (POINT MORT) ou P (STATIONNE- |
| Message | Indicateur de message | Mesure corrective |
| | MENT) et appuyez sur la pédale de frein et serrez le frein de stationnement jusqu'à ce que la boîte de vitesse ait refroidi et que le message dispaïresse de l'affichage. Si vous conduisez le vehicule avec ce message affché vous sentirez le vehicule brouter, indiquant l'augmentation de la surchauffe. |
| Transmission Anomalie Révis. immédiate | Rouge | Faire contrôle le système par un technicien compétent dès que possible. |
| Boîte vitesses Surchauffe Stopper SVP | Rouge | La transmission est trop chaude. Dans de telles conditions, la boîte de vitesse désengage l'entrainment pour éviter tout endommagement du fait de la surchauffe. Il est alors impossible de conduiré jusqu'à ce que la transmission ait refroidie. Sélectionnez N (POINT MORT) ou P (STATIONNEMENT) et appuyez sur la pédale de frein et serrez le frein de stationnement jusqu'à ce que la boîte de vitesse ait refroidi et que le message disparaisse de l'affichage. |
| Boîte vitesses Surchauffe Actionner frein | jaune | Lors de certaines conditions de conduite, il se peut que les embrayages surchauffent dans la transmision. Dans ces conditions vous devez appuyer sur la pédale de frein et arrêté le vehicule pour empêcher la surchauffe d'augmenter. Sélectionné N (POINT MORT) ou P (STATIONNEMENT) et appuyez sur la pédale de frein et serrez le frein de stationnement jusqu'à ce que la boîte de vitesse ait refroidi et que le message disparisse de l'affichage. Si vous conduisez le vehicule avec ce message affché vous sentirez le vehicule brouter, indiquant l'augmentation de la surchauffe. |
| Transmission Fonction limitée cf. Manuel | jaune | Il se peut que certains rapports ne soient pas disponibles. Faire contrôle le système par un technicien compétent dès que possible. |
| Réchauffage Boîte vitesses Attendez SVP | - | Par temps froid, après démarriage du moteur, il se peut que la transmission tarde quelques secondes avant d'engager la position R (MARCHE ARRRIERE) ou D (MARCHE AVANT). Maintenir la pédale de frein enforcée jusqu'à ce que ces messages disparaissent de l'affichage. |
| Boîte vitesse pas position park. Sélectionner P | - | Voir Transmission automatique (page 149). Voir Démarrage et arrêt du moteur (page 132). |
| Pour démarrer actionner frein | - | Voir Transmission automatique (page 149). Voir Démarrage et arrêt du moteur (page 132). |
| Appuyer sur la pédale de frein | - | Voir Transmission automatique (page 149). |
Système de contrôle de la pression de gonflage des pneus
| Message | Indicateur de message | Mesure corrective |
| Contrôler pression pneus | jaune | La pression d'un ou de plusieurs pneu(s) a chuté. Contrôler)dés que possible. |
| Syst. press. pneus Anomalie Rèvis. nécessaire | jaune | Anomalie permanente. Faites contrôller votre vehicule par un technicien experimenté. |
Airextérieur
Gardez les entrées d'air devant le pare-brise exemples d'obstruction (neige, feuilles, etc.) pour permettre le bon fonctionnement du système de chauffage, ventilation et climatisation.
Attention
Une utilisation prolongée de la fonction de ventilation en circuit fermé peut être à l'origine d’un embuage des vitres. Si les vitres s’embuent, suivez les réglages de dégivrage et désembuage du pare-brise.
L'air présent dans l'habitacle sera continuellement recirculé. L'air extérieur ne pénétre pas dans le véhicule.
Chauffage
L'efficacité du chauffage dépend de la température du liquide de refroidissement.
Climatisation
Note: La climatisation ne fonctionne que lorsque la température est supérieure à 4°C (39°F).
Note: L'utilisation de la climatisation entraîne une augmentation de la consommation de carburant du véhicule.
L'air est dirigé à travers l'évaporateur où il est refroidi. L'humidité est extraite de l'air pour éviter l'embuage des vitres. La condensation qui en résulte est évacuée vers l'extérieur du véhicule et il est donc normal de voir une petite flaque d'eau sous le véhicule.
Généralités sur la commande de la température et de l'humidité dans l'habitacle
Fermez complètement toutes les vitres.
Réchauffement de l'habitacle
Orientez le flux d'air vers vos pieds. En temps froid ou humide, orientez une partie de l'air vers le pare-brise et les vitres de portes.
Refroidissement de l'habitacle
Orientez le flux d'air vers votre visage.
Buses d'aération centrales

Buse d'aération latérale
CLIMATISATION MANUELLE Commande de distribution d'air
E74660
A Tableau de bord B Tableau de bord et plancher C Plancher D Plancher et pare-brise E Pare-brise
La commande de répartition d'air peut être réglée sur n'importe quelle position intermédiaire.
Soufflerie
E75470
À OFF (désactivé)
Note: Si vous mettez la soufflerie à l'arrêt, le pare-brise peut s'embuer.
Ventilation en circuit fermé

Appuyer sur le bouton pour basculer entre la ventilation avec apport d'air extérieur et la ventilation en circuit fermé.
Chauffage rapide de l'habitacle

E129884
Ventilation
E129885
Régler les commandes de répartition d'air, de soufflerie et les ouies d'aération selon besoin.
Mise en marche et à l'arrêt de la climatisation

Si vous coupez la ventilation, la climatisation se met également à l'arrêt. Lorsque vous rétablissez la ventilation, la climatisation se remet automatiquement en service.
Abaissement de la température avec apport d'air extérieur

E129886
Refroidissement rapide de l'habitacle
E129887
Avec la commande de chauffage dans cette position, la climatisation et la ventilation en circuit fermé se mettent en marche automatiquement.
Vous pouvez activer et désactiver la climatisation et la ventilation en circuit fermé.
Dégivrage et désembuage du pare-brise E129888
Lorsque la température est supérieure à 4°C (390F), la climatisation se met automatiquement en marche. Vérifier que la soufflerie est en marche. Le témoin du contacteur s'allume pendant le dégivrage et le désembuage.
Si vous placez la commande de répartition d'air sur une autre position que celle du pare-brise, la climatisation restera activée.
Il est possible d'activer et de désactiver la climatisation et la recirculation d'air lorsque la commande de répartition d'air est réglée sur pare-brise.
Au besoin, activer le pare-brise chauffant et la lunette arrière chauffante. Voir Vitres chauffantes et rétroviseurs chauffants (page 115).
Diminution du taux d'humidité dans l'habitacle E129889
CLIMATISATION AUTOMATIQUE E133114
Contrat de licence d'utilisateur final
Le système régule automatiquement la température, le débit et la répartition du flux d'air et les adapte en fonction des conditions de conduite et de la météorologie. Appuyez une seule fois sur le bouton AUTO pour activer le mode auto.
Le système monté dans votre véhicule est une climatisation automatique bzone. Lorsque le système est en mode mono, toutes les zones de température sont rattachées à la zone conducteur. Lorsque vous désactivez le mode mono, le système double zone vous permet d'effectuer des réglages de température différents pour le côté conducteur et le côté passager avant.
Note: Éviter de modifier les réglages lorsque l'intérieur du véhicule est extrêmement chaud ou froid. La climatisation automatique s'adapte automatiquement aux conditions actuelles. Pour permettre un fonctionnement correct du système, les ouïes latérales et centrales doivent être totalement ouvertes.
Note: Le capteur d'ensoleillement est installé sur le dessus du tableau de bord. Ne pas couvrir le capteur.
Note: Lorsque la température ambiantе est basse et que la climatisation est en mode AUTO, le flux d'air est dirigé vers le pare-brise et les vitres latérales tant que le moteur est froid.
Réglage de la température E133115
La température peut être réglée entre 15,5°C (60°F) et 29,5°C (85°F) par pas de 0,5°C (1°F). En position LO, 15°C (59°F), le système bascule vers le refroidissement permanent. Dans la position HI, 30°C (86°F), le système passe en réchauffage continu.
Note: Lorsque l'une des deux positions LO ou HI est sélectionnée, le système ne se régule pas à une température stable.
Mode mono
En mode mono, les réglages de température s'appliquent de la même manière au côté conducteur et au côté passager. Si vous régalez la température à l'aide de la commande rotative du côté conducteur, les réglages s'appliquent aussi au côté passager. En mode mono, MONO est affiché sur l'écran.
Pour désactiver le mode mono
Sélectionnez la température pour le côté passager à l'aide de la commande rotative du côté passager. Le mode mono se désactive et MONO disparaît de l'écran. La température côté conducteur reste inchangée. Vous pouvez maintenant régler séparément les températures des côtés conducteur et passager. Les réglages de température pour chaque côté sont affichés sur l'écran. Vous pouvez régler une différence de température allant jusqu'à 4°C (8^).
Note: Si vous régalez une différence de température supérieure à 4°C (8^), la température de l'autre côté sera ajustée de sorte que la différence reste de 4°C (8^).
Note: Si l'un des côtés est réglé sur HI ou LO, les deux côtés sont réglés sur HI ou LO.
Pour réactiver le mode mono

Pour réactiver le mode mono, appuyer sur le bouton AUTO et le maintenir appuyé.
MONO s'affiche à nouveau et la température côté passager adopte la valeur réglée pour le côté conducteur.
Soufflerie

Utiliser les boutons pour régler la vitesse de soufflerie.
La configuration de la soufflerie est indiquée sur l'affichage.
Pour revenir au mode auto, appuyez sur la touche AUTO.
Distribution de l'air
Pour régler la répartition d'air, appuyer sur le commutateur approprié. Toutes les combinaisons de réglages peuvent être sélectionnées simultanément.



E70308
A Plancherel B Tableau de bord C Pare-brise
Lorsque vous sélectionnez le dégivrage/désembuage du pare-brise, A, B et C sont désactivés automatiquement et la climatisation se met en marche. L'air extérieur entre dans le véhicule. La fonction de ventilation en circuit fermé est alors indisponible.

Dégivrage et désembuage du pare-brise

Appuyer sur le bouton de dégivrage et désembuage du pare-brise. L'air extérieur entre dans le véhicule. La climatisation est sélectionnée automatiquement. Tant que la répartition d'air est réglée sur cette position, vous ne pouvez pas sélectionner la ventilation en circuit fermé.
Les sélecteurs de la vitesse de soufflerie et de température fonctionnent automatiquement et ne peuvent pas être réglés manuellement. La soufflerie est réglée sur la vitesse maximum et la température sur HI.
Lorsque la fonction de dégivrage et désembuage du pare-brise est sélectionnée, les fonctions de pare-brise et de lunette arrière chauffants se mettent en marche automatiquement pendant un petit moment.
Pour revenir au mode auto, appuyez sur la touche AUTO.
Mise en marche et à l'arrêt de la climatisation

Appuyer sur la touche A/C pour mettre en marche et arrêter la climatisation. A/C OFF apparaît dans l'affichage lorsque la climatisation est à l'arrêt.
A/CON apparait dans l'affichage lorsque la climatisation est activée.
Ventilation en circuit fermé

Appuyez sur la touche de ventilation en circuit fermé pour sélectionner alternativement le mode d'apport d'air extérieur et celui de ventilation en circuit fermé.
Note: Lorsque le système est en mode AUTO et que les températures intérieure et extérieure sont relativement élevées, le système sélectionne automatiquement la ventilation en circuit fermé afin d'optimiser le refroidissement de l'habitacle. Une fois atteinte la température sélectionnée, le système rétablit automatiquement le mode d'apport d'air extérieur.
Mise à l'arrêt de la climatisation automatique

Appuyez sur le bouton.
Une fois la désactivation effectuée, le système de chauffage, ventilation et climatisation est mis à l'arrêt et la ventilation en circuit fermé est sélectionnée.
Vitres chauffantes
Utiliser les vitres chauffantes pour dégivrer ou désembuer le pare-brise ou la lunette arrière.
Note: Les vitres chauffantes ne fonctionnent que lorsque le moteur tourne.


Véhicules sans chauffage auxiliaire
En cas de température ambiente inférieure à 5 °C (410F) et de température du liquide de refroidissement inférieure à 65°C (149°F), le pare-brise et le hayon chauffants sont automatiquement activés. Il se désactiveront automatiquement.
Rétroviseurs extérieurs chauffants
Les rétroviseurs extérieurs à commande électrique sont équipés d'un élément chauffant qui dégivre ou désembue le verre du rétroviseur. L'élément chauffant est activé automatiquement lorsque vous mettez en marche la fonction de lunette arrière chauffante.
Avertissement

Avant de commander le toit ouvrant à commande électrique, vérifier
qu'aucun obstacle n'est présent sur la course et veiller à éloigner les enfants et les animaux de la baie de toit ouvrant. Le non-respect de cette consigne peut entraîner des blessures corporelles graves. Il est de la responsabilité des parents de ne jamais laisser un enfant sans surveillance dans le véhicule et de ne jamais laisser les clés sur le contact.
Note: Lorsque ces commutateurs sont utilisés à répétition pendant un intervalle de temps réduit, le système peut alors ne plus fonctionner pendant un certain temps afin d’éviter toute déterioration par surchauffe.
Note: Le toit ouvrant électrique peut également être commandé si le contact est coupé grâce à la fonction d'ouverture/fermeture globale. Voir Ouverture et fermeture globales (page 41).
Il existe deux façons d'ouvrir le toit ouvrant - l'arrière du toit ouvrant peut être soulevé ou le toit ouvrant peut s'ouvrir de l'avant et coulisser vers l'arrière sous le toit. Le toit ouvrant s'ouvre et se ferme lorsque le commutateur est enfoncé.
Établir le contact avant d'actionner le toit ouvrant à commande électrique.
Le toit ouvrant électrique est commandé par un commutateur situé entre les pare-soleil.
Ouverture et fermeture du toit ouvrant
E72188
Basculement du toit ouvrant
E72189
Ouverture et fermeture automatiques du toit ouvrant
Note: En mode d'ouverture automatique, le toit ouvrant s'arrête à environ 8 cm de la position totalement fermée. Cette position permet de réduire les bruits de tremblements qui se produisent quand il ne serait pas lors de l'ouverture totale du toit ouvrant. Le toit ouvrant s'arrête automatiquement dans cette position uniquement lorsqu'il est ouvert automatiquement.
Contrat de licence d'utilisateur final
Pour ouvrir et fermer le toit ouvrant automatiquement, appuyer sur l'un des côtés du commutateur jusqu'au deuxième point de commande et le relâcher complètement. Appuyer à nouveau pour l'arrêter.
Lorsque la position de fermeture est atteinte, le toit ouvrant s'arrête automatiquement.
Avertissements

La fonction anti-pincement est désactivée jusqu'à ce que la mémoire soit réinitialisée. Fermer la avec précaution afin d'éviter tout de blessure.

- Une fermeture négligente du toit ouvrant électrique risque d'annuler la protection anti-pincement et de causer des blessures.
Lorsque le toit ouvrant se ferme, il s'arrête automatiquement et s'ouvre à nouveau en cas de détention d'un obstacle sur sa course.
Afin d'annuler la protection anti-pincement en cas de résistance, p. ex. en hiver, procéder comme suit:
Avertissement

Si le toit ouvrant se ferme à la troisième tentative, la fonction anti-pincement est désactivée. Veillez à ce qu'il n'y ait pas d'obstacle sur la surface de fermeture du toit ouvring.
La troisième fois, fermer le toit ouvrant jusqu'au point de résistance. La fonction anti-pincement est désactivée et le toit ouvrant ne peut pas se fermer automatiquement. Le toit ouvrant dépasse alors le point de résistance et peut être totalement fermé.
Si le toit ouvrant ne se ferme toujours pas après la troisième tentative, faire vérifier le système par un spécialiste.
Avertissement

La fonction anti-pincement n'est pas active pendant cette procédure. Veiller à ce qu'il n'y ait pas d'obstacles sur la course de fermeture du toit ouvrant.
Si le système détecte un dysfonctionnement, il passe en mode sécurité. Le toit ouvrant ne se déplacera que pendant environ 0,5 seconde à la fois et s'arrête à nouveau. Fermer le toit ouvrant en appuyant de nouveau sur le bouton lorsque le toit ouvrant s'arrête. Lorsque l'arrêt du toit ouvrant est soulevé, le soulever au maximum puis le refermer. Le faire vérifier par un expert immédiatement.
Avertissement

La fonction anti-pincement n'est pas active pendant cette procédure.
Veiller à ce qu'il n'y ait pas d'obstacles sur la course de fermeture du toit ouvrant.
Si le toit ouvrant ne se ferme plus correctement, appliquer la procédure de reprogrammation suivante :
- Faire basculer l'arrière du toit ouvrant aussi loin que possible. Relâcher le bouton. Appuyer et maintenir enfoncé le même bouton de nouveau pendant 30 secondes jusqu'à voir le toit ouvrant se déplacer. Relâcher le bouton, l'enfoncer immédiatement et le maintenir enfoncé encore une fois. Le toit ouvrant se fermera, s'ouvrira totalement et se refermera. Ne pas relâcher le bouton jusqu'à ce que le toit ouvrant ait atteint la position fermée pour la deuxième fois.
Si le bouton n'est pas maintenu enfoncé, la fonction de réapprentissage s'interrompt. Répéter la procédure une nouvelle fois depuis le début.
Avertissements

Le chauffage de stationnement ne doit pas être utilisé dans les stations-service, approximativement de
sources de vapeurs ou de poussières combustibles ou encore dans un local fermé.

Le chauffage auxiliaire doit être utilisé au moins une fois par mois pendant environ 10 minutes tout au long de l'année. Cette précaution permettra tout grippage de la pompe à eau moteur du chauffage.
Note: Le chauffage de stationnement ne fonctionne que s'il y a au moins 7,5 litres (1,6 gallons) de carburant dans le réservoir et si la température ambiantе est inférieure à 15°C (59^). Le chauffage ne fonctionne pas si le niveau de charge de la batterie est bas.
Note: Le chauffage dépend de la température ambiante.
Note: Lorsque le chauffage de stationnement est activé, des fumées d'échappement peuvent s'échapper par les côtés du véhicule. Ceci est normal.
Note: Pour les véhicules à système de chauffage, ventilation et climatisation manuel, le chauffage de l'habitacle dépend des réglages de température, de répartition d'air et de ventilation.
Le chauffage de stationnement fonctionne indépendamment du chauffage du véhicule en chauffant le circuit de liquide de refroidissement du moteur. Il est alimenté par le réservoir de carburant du véhicule. Vous pouvez aussi l'utiliser lorsque le véhicule est en mouvement pour aider le chauffage du véhicule à réchauffer plus rapidement l'habitacle.
A condition d'être correctement utilisé, le chiffre de stationnement offre les avantages suivants :
Il préchauffe l'intérieur du véhicule. Il évite la formation de givre sur les vitres en cas de gel et évite tout problème de condensation. Il évite les démarrages à froid et permet au moteur de monter en température plus rapidement.
Pour éviter une décharge de la batterie :
Lorsque le chauffage de stationnement a effectué un cycle de chauffage, le cycle suivant de chauffage programmé ne s'effectue que si le moteur a été démarré entre-temps. - Après un cycle de chauffage, conduire le véhicule pendant au moins la durée du cycle de chauffage.
Programmation du chauffage de stationnement
Note: L'heure programmée est l'heure à laquelle vous souhaitez un véhicule chaud et prêt à partir, pas l'heure à laquelle le chauffage doit se mettre en marche.
Note: Vous devez effectuer la programmation au moins 70 minutes avant l'heure souhaitée de mise en marche.
Note: Vous devez vérifier la date et l'heure. Voir Montre de bord (page 129).
Pour programmer les heures de chauffage :
- Utilisez les touches flèche du volant de direction pour accéder au menu principal. Voir Affichages d'informations (page 88).
- Sélectionnez l'option du dispositif de chauffage de stationnement.

E136301
- Les deux fonctions de temps vous permettent de programmer jusqu'à deux cycles de mise en marche du chauffage pour chaque jour de la semaine. Ces heures restent mémorisées de sorte que le chauffage rechauffe le véhicule aux heures et jours définis chaque semaine. La fonction une fois vous permet de programmer un cycle de mise en marche du chauffage pour un jour spécifique. La fonction Chauffer maintenant met le dispositif de chauffage automatiquement en marche.
Programmation des fonctions temps 1 et temps 2

E74468
- Utilisez les touches flèche du volant de direction pour accéder au menu principal.
- Sélectionnez la liste des heures du premier programme.
- Mettez en valeur le jour où vous souhaitez que le chauffage réchauffe le véhicule.
- Appuyez sur la touche OK.
- Procédez comme suit pour sélectionner tous les jours où le chauffage doit réchauffer le véhicule.
- Pour régler l'heure à laquelle le vehicule doit être rechauffé, sélectionnez l'heure en haut de l'afficheur et appuyez sur la touche OK. Les heures commencent à clignoter.
- Réglez les heures et les minutes si nécessaire.
Vous pouvez utiliser la liste des horaires du second programme pour définir un deuxième cycle, par exemple des horaires différents à différents jours ou deux fois le même jour. La procédure de programmation est la même que celle de la minuterie du premier programme.
Désactivation du chauffage programme
- Utilisez les touches flèche du volant de direction pour accéder au menu principal.
- Découcher la session de programme active.
Programmation du chauffage pour un seul cycle
- Sélectionner Une fois et appuyer sur la touche flèche vers la droite.
- Appuyer sur la touche OK et régler l'heure et la date souhaitées.
- Appuyer sur la touche OK pour confirmer l'heure et la date régées.
Activation manuelle du chauffage
Mettre en valeur Chauffer maintenant et appuyer sur la touche OK. Une croix apparait dans la case lorsque le chauffage est activé.
Pour désactiver le chauffage, découvrez la fonction Chauffer maintainant.
Avertissement
Le chauffage à flamme ne doit pas être utilisé dans les stations-service, à proximité de sources de vapeurs ou de poussières combustibles ou encore dans un local fermé.
Le chauffage à flamme permet d'augmenter la température du moteur et de réchauffer l'habitacle des véhicules à moteur diesel. Il est activé ou désactivé automatiquement en fonction de la température extérieure et de la température du liquide de refroidissement, sauf s'il a été désactivé.
Pour désactiver le chauffage à combustible :
- Mettre en valeur Chauffage auxiliaire et appuyer sur la touche OK. Une croix apparait dans la case lorsque le chauffage est activé.
Chauffage auxiliaire diesel (selon le pays)
Le chauffage auxiliaire pour moteur diesel (chauffage électrique PTC) permet d'augmenter la température du moteur et de réchauffer l'habitacle des véhicules à moteur diesel. Il est activé ou désactivé automatiquement en fonction de la température extérieure, de la température du liquide de refroidissement et de la charge de l'alternateur.

Avertissements

Ne pas régler les sièges lorsque le véhicule est en mouvement.

Pour retenir le corps dans une position qui permet à l'airbag d'assurer une protection optimale, la ceinture de sécurité doit être cessement utilisée.
A condition d'être correctement utilisés, le siège, l'appui-tête, la ceinture de sécurité et les airbags assurent une protection optimale en cas de collision. Nous vous recommandons :
de vous asseoir en position verticale avec la base de votre colonne vertébrale le plus en arrêté possible. de ne pas incliner le dossier à plus de 30 degrés. - de régler l'appui-tête de telle sorte que son sommet soit au niveau du sommet de votre tête et aussi avancé que possible tout en restant confortable.
- Maintenir une distance suffisante entre vous et le volant. Nous recommandons de maintenir une distance minimale de 250 mm entre votre sternum et le couvercle d'airbag.
- de tenir le volant avec les bras légèrement pliés.
- de plier légèrement les jambes de manière à pouvoir appuyer à fond sur la pédale de frein.
- de positionner la partie épaulière de la ceinture de sécurité sur le centre de votre épaule et de bien ajuster la partie ventrale sur vos hanches.
Faites en sorte de trouver une position de conduite confortable et d’être en mesure de conserver la maîtrise totale du véhicule.

Avertissement

Après avoir lâché le levier, essayer de faire bouger le siège vers l'avant et l'arrière pour s'assurer qu'il est pleinement engagé dans son verrou.
Réglage du support lombaire
Réglage de la hauteur du siège conducteur
Réglage de l'inclinaison du dossier de siège
Avertissements

Relever l'appuie-tête arrière lorsque le siège concerné est occupé par un passager.

Ne pas déposer les appuie-têtes avant lorsque les sièges avant sont occupés.

Toujours retirer l'appui-tête du siège arrière sur lequel a été installé un siège de sécurité infant face à la
Réglage de l'appui-tête
Régler l'appui-tête de telle sorte que son sommet corresponde à celui de votre tête.
Dépose des appuie-têtes appuie-tête avant
E140447
Appuyer sur le bouton de verrouillage 1 et dégager simultanément le clip de fixation 2 à l'aide d'un outil approprié.
Appui-têtes extérieurs arrêté
E135437
Appuyer sur le bouton de verrouillage et déposer l'appui-tête.
Appuie-tête intérieur arrêté
E135401
Appuyer sur les boutons de verrouillage et déposer l'appui-tête.
Siéges à réglage électrique - vehicules avec: siéges électriques 6 VOIES
E78060


Siéges à réglage électrique - vehicules avec: siéges électriques 8 VOIES



E141827
Régler la longueur du coussin de siège
E78816
Appuyer sur la poignée de verrouillage située sous la prolonge du coussin et faire glisser la prolonge vers l'avant ou vers l'arrière.
Avertissements

En rabattant et en relevant les dossiers, veiller à ne pas se coincer les doigts entre le dossier et
l'armature du siège.

Veiller à ce que les assises et les dossiers soient bien fixés et complètement engagés dans leurs vilains.
Avertissement

Abaisser les appuis-têtes. Voir Appuis-têtes (page 122).
E135629
- Appuyer sur les boutons de déverrouillage et les maintenir appuyés.
- Pousser le dossier vers l'avant.

Note: S'assurer que la ceinture de sécurité est serrée au maximum dans l'enrouleur.
- Placer les ceintures de sécurité dans les clips sur le garnissage extérieur.
Avertissements

S'assurer que l'indicateur rouge n'est pas visible à l'engagement du siège dans les verrouillages.

Abaisser les appuis-têtes. Voir Appuis-têtes (page 122).

Si vous mettez les doigts entre l'assise de siège et le dossier de siège, veillez à ne pas les coincer avec les points d'ancrage ISOFIX et le port. Voir Points d'ancrage ISOFIX (p. 25).
E135646
Note: Tenir le bord de l'assise de siège pour éviter les points d'ancrage ISOFIX et les supports.
- Placer les doigts entre l'assise et le dossier puis replier l'assise vers l'avant.
- Appuyer sur les boutons de déverrouillage et les maintenir appuyés.
- Pousser le dossier vers l'avant.

Note: S'assurer que la ceinture de sécurité est serrée au maximum dans l'enrouleur.
- Placer les ceintures de sécurité dans les clips sur le garnissage extérieur.
Avertissement

Lorsque les dossiers sont relevés, veiller à ce que l'occupant puisse voir les ceintures et qu'elles ne soient pas ées derrière les sièges.
Attention

L'utilisation de cette fonction alors que le moteur est arrêté décharge la batterie.

E130471
La température maximale est atteinte après cinq ou six minutes. Cette température est réglée par un thermostat.
Le chauffage de siège ne fonctionne que lorsque le contact est établi.
Réglage de l'intensité d'éclairage du combiné des instruments
E132712
Appuyer de manière répétée ou appuyer en maintenant appuyé jusqu'à ce que le niveau souhaité soit atteint.
Note: Si la batterie est déconnectée, déchargée ou si une batterie neuve est montée, le variateur d'éclairage règle automatiquement les composants allumés au réglage maximum.
MONTRE de BORD
Voir Affichages d'informations (page 88).
Attention

Si vous utilisez la prise lorsque le moteur est arrêté, il est possible que la batterie se décharge.

Ne pas maintenir l'objet chauffant de l'allume-cigares enfoncé.
Note: Il est possible d'utiliser la prise pour alimenter des équipements électriques de 12 volts d'une intensité maximale de 10 ampères. Utiliser uniquement les connecteurs pour accessoires Ford ou les connecteurs prévus pour une utilisation avec des prises type SAE.
E132415
Enficher l'élément chauffant pour utiliser l'allume-cigares. Il est éjecté automatiquement.
Attention

Si vous utilisez la prise lorsque le moteur est arrêté, il est possible que la batterie se décharge.
Note: Il est possible d'utiliser la prise pour alimenter des équipements électriques de 12 volts d'une intensité maximale de 10 ampères. Utiliser uniquement les connecteurs pour accessoires Ford ou les connecteurs prévus pour une utilisation avec des prises type SAE.
E78056
Les prises de courant auxiliaires se situent dans la console centrale et dans le coffre à bagages.
Avertissement

Ne pas placer des boissons chaudes dans les porte-gobellets lorsque le véhicule est en mouvement.
Accouplement arrêté
E132505
Porte-verre
E75193
E91508

Prise d'entrée auxiliaire
La prise se trouve dans la boîte à gants ou dans la console centrale. Voir Prise d'entrée auxiliaire (AUX IN) (page 284).
PORT USB
La prise se trouve dans la boîte à gants ou dans la console centrale. Voir Connectivité (page 308).
Support de dispositif d'aide à la navigation
Réglage du support
- Déverrouillage
- Réglez le support dans la position souhaitée.
- Verrouillage
Note: Veillez à ce que le support du système d'aide à la navigation soit verrouillé en position.
Avertissement

Si des tapis de sol sont utilisés, s’assurer que le tapis de sol côté conducteur est correctement fixé par les fixations prévues à cet effet, situées de telle sorte qu’il n’affecte pas le fonctionnement des pédales.
Conseils généraux
Si la batterie a été débranchée, il se peut que le véhicule présente des caractéristiques d'agrément de conduite inhabituelles sur environ 8 kilomètres (5 miles) suite au rebranchement de la batterie.
Ceci se produit car le système de gestion moteur doit se synchroniser de nouveau avec le moteur. Veuillez ignorer toutes caractéristiques d'agrément de conduite inhabituelles.
Avertissement

Pour éviter de l'endommager, ne démarrez pas votre véhicule en le tirant ou en le poussant. Utilisez des s d'appoint et une batterie d'appoint. Démarage du véhicule à l'aide des volants (page 239).
Avertissement

Ne jamais remettre la clé à la position 0 ou l’sonque le véhicule se déplace.
E72128
Le contact est coupé.
Le contact est coupé et les principaux circuits électriques sont hors tension.
Note: Pour ne pas décharger la batterie, ne pas laisser la clé de contact trop longtemps dans cette position.
II Le contact est établi. Tous les circuits électriques sont opérationnels. Allumage des témoins et indicateurs. C'est la position de la clé pendant la conduite. C'est aussi la position à utiliser en cas de remorquage du véhicule.
III Le démarreur est activé. Relâcher la clé dès le démarrage du moteur.
Avertissement

Toujours contrôlez que la direction est déverrouillée avant de déplacer le véhicule.
Véhicules sans démarrage sans clé
Pour activer l'antivol de direction :
- Retirer la clé du commutateur de démarrage.
- Tourner le volant.
Véhicules avec démarrage sans clé
Note: L'antivol de direction ne s'active pas si le contact est établi ou si le véhicule se déplace.
Votre véhicule est équipé d'un antivol de direction à commande électronique. Il fonctionne automatiquement.
L'antivol de direction est activé peu après que vous avez garé votre véhicule et lorsque la clé passive est hors du véhicule, ou lorsque vous avez verrouillé le véhicule. Voir Entrée sans clé (page 38).
Pour activer l'antivol de direction
Établir le contact, ou :
Véhicules avec transmission automatique - Appuyer sur la pédale de frein. Véhicules avec boîte de vitesses manuelle Appuyer sur la pédale d'embrayage.
Démarrage d'un moteur à essence
Note: Vous ne pouvez actionner le démarreur que pendant une durée limite, par exemple 10 secondes. Le nombre de tentatives de démarrage est limité à six environ. Une fois cette limite atteinte, le système interdit tout autre essai pendant une durée déterminée, par exemple 30 minutes.
Véhicules avec boîte de vitesses manuelle
Note: Ne pas toucher la pédale d'accélérateur.
Note: Si vous relâchez la pédale d'embrayage pendant le démar rage du moteur, le démarreur peut cesser de fonctionner et le circuit de bord revient en mode contact établi.
- Appuyer à fond sur la pédale d'embrayage.
- Démarrer le moteur.
Véhicules avec transmission automatique
Note: Ne pas toucher la pédale d'accélérateur.
Note: Si vous relâchez la pédale de frein pendant le démarrage du moteur, le démarreur peut cesser de fonctionner et le circuit de bord revient en mode contact établi.
- Mettre le levier sélecteur de transmission en position P ou N.
- Appuyer à fond sur la pédale de frein.
- Démarrer le moteur.
Tous les véhicules
Si le moteur ne démarre pas, patientez quelques instants et essayez de nouveau.
Si le moteur ne démarre pas après trois tentatives, patientez 10 secondes puis suivez la procédure Moteur noyé.
En cas de difficultés à démarrer le moteur lorsque la température est inférieure à -25°C, enfoncer la pédale d'accélérateur à mi-chemin de sa course, puis réessayer.
Véhicules avec boîte de vitesses manuelle
- Appuyez à fond sur la pédale d'embrayage.
- Enfoncer complètement la pédale d'accélérateur et l'immobiliser.
- Démarrez le moteur.
Véhicules avec transmission automatique
- Mettre le levier sélecteur de transmission en position P ou N.
- Enfoncer complètement la pédale d'accélérateur et l'immobiliser.
- Appuyer à fond sur la pédale de frein.
- Démarrez le moteur.
Tous les véhicules
Si le moteur ne démarre pas, répétez la procédure de démarrage Moteur froid ou chaud.
Régime de ralenti du moteur après le démarrage
La vitesse à laquelle le moteur tourne au régime de ralenti juste après le démarrage dépend de la température du moteur.
Le régime de ralenti augmente automatiquement lorsque le moteur est froid afin de réchauffer le convertisseur catalytique. Les émissions polluantes du véhicule sont ainsi maintenues à un niveau minimal absolu.
Le régime de ralenti revient lentement au niveau normal tandis que le convertisseur catalytique se réchauffe.
Démarrage d'un moteur à essence - flexible FUEL
Informations générales relatives au démarrage d'un moteur essence. Voir Démarrage d'un moteur à essence (page 133).
Démarrage à basse température ambiantе
Lorsque la température est inférieure à -10°C (14°F) et que le véhicule contient de l'E85, utilisez un chauffe-moteur pour faciliter le démarrage. Voir Projecteurs antibrouillard (page 138). Faute de quoi le véhicule ne pourrait pas démarrer.
Si la température doit rester inférieure à -10°C (14°F), il est recommandé d'augmenter la proportion d'essence dans le réservoir en faisant l'appoint avec de l'essence sans plomb à indice d'octane 95 si le réservoir n'est pas déjà plein. Environ 10 litres (2,2 gallons) d'essence permettant de réduire la proportion d'E85, dans un réservoir aux trois quarts plein, de 85% à 70%. Cette situation améliore considérablement la capacité de démarrage à froid du véhicule.
Si, à très basse température, le réservoir est rempli exclusivement d'E85 et qu'il n'est pas possible d'utiliser un chauffe-moteur, il pourrait être difficile de démarrer le moteur.
Si le moteur ne démarre pas, procéder comme suit :
- Enfoncez à fond la pédale d'accélérateur.
- Mettez la clé de contact en position III.
Attention
Relâcher la clé dès que le moteur a démarré.
- Relâcher progressivement la pédale d'accélérateur au bout de cinq secondes de lancement du moteur ou lorsque le régime moteur augmente.
Si le moteur ne démarre pas, répétez les étapes 1, 2 et 3 ou branchez un chauffe-moteur pendant deux heures avant de tenter un autre démarrage.
Pendant le démarrage, les injecteurs sont désactivés aussi longtemps que la pédale d'accélérateur est actionnée. Cette méthode peut être utilisée pour éliminer un excès de carburant du collecteur d'admission après plusieurs tentatives infructueuses de démarrage.
Si la batterie a ete debranchee ou le type de carburant a changed, le ralenti peut etre irregulier. Cette situation s'ameliore en 10 a30 secondes.
Tous les véhicules
Note: Lorsque la température est inférieure à -15°C, il peut être nécessaire de lancer le moteur pendant une période pouvant atteindre 25 secondes.
Note: Continuez d'actionner le démarreur jusqu'à ce que le moteur démarre.
Note: Ne pas actionner le démarreur plus de 30 secondes consécutives.

Établissez le contact et attendez que le témoin de préchauffage s’éteigne.
Véhicules avec boîte de vitesses manuelle
Note: Ne pas appuyer sur la pédale d'accélérateur.
- Appuyer à fond sur la pédale d'embrayage.
- Démarrer le moteur.
Véhicules avec transmission automatique
- Sélectionner la position P (stationnement) ou N (point mort).
- Enfoncer à fond la pédale de frein.
- Démarrer le moteur.
Avertissements

Le système de démarrage sans clé peut ne pas fonctionner si la clé se trouve près d'objets métalliques ou des positifs électroniques comme des téléphones mobiles.

Contrôler toujours que l'antivol de direction est désactivé avant de déplacer le véhicule. Voir Verrouction (page 132).
Note: Le contact peut se couper automatiquement après un certain temps si le véhicule est abandonné sans surveillance alors que le contact est mis. Cela évite que la batterie du véhicule se décharge.
Note: Une clé passive valide doit être présente dans l'habitacle pour établir le contact et faire démarrer le moteur.
Note: Pour que le moteur démarre, vous devez aussi appuyer sur la pédale de frein ou d'embrayage selon le type de boîte de vitesses.
E85766
Appuyer une fois sur le bouton. Tous les circuits électriques sont opérationnels, les témoins et indicateurs s'allument.
Démarrage avec une boîte de vitesses manuelle
Note: Si vous relâchez la pédale d'embrayage pendant le démarrage du moteur, le démarreur cesse de fonctionner et le circuit de bord revient en mode contact établi.
- Appuyer à fond sur la pédale d'embrayage.
- Appuyer brièvement sur le bouton.
Démarrage avec une transmission automatique
Note: Si vous relâchez la pédale de frein pendant le démarrage du moteur, le démarreur peut cesser de fonctionner et le circuit de bord revient en mode contact établi.
- Enfoncez à fond la pédale de frein.
- Mettre le levier sélecteur de transmission en position P ou N.
- Appuyer brièvement sur le bouton.
Démarrage d'un moteur diesel
Note: Le lancement du moteur ne commence qu'une fois que le cycle de préchauffage est terminé. Ceci peut prendre plusieurs secondes par temps extrêmement froid.
Note: Garder la pédale de frein ou d'embrayage enfoncée jusqu'à ce que le lancement du moteur commence.
Démarrage impossible
Le système de démarrage passif ne fonctionne pas si :
- Les fréquences de clé passive sont brouillées. La pile de la clé passive est déchargée.
Si le moteur ne peut pas être lancé, procéder comme suit.
E87381
- Dégager avec précaution le couvercle en faisant levier.
E85767
- Insérer la clé dans le support de clé.

E85766
- Une fois la clé insérée, vous pouvez appuyer sur le bouton pour établir le contact et lancer le moteur.
Arrêter le moteur lorsque le véhicule est à l'arrêt
Note: Le contact, tous les circuits électriques, les témoins et indicateurs sont coupés/éteints.
Transmission manuelle
Appuyer brièvement sur le bouton.
Transmission automatique
- Mettre le levier sélecteur de transmission en position P.
- Appuyer brièvement sur le bouton.
Avertissement

Arrête le moteur alors que le véhicule se déplace encore peut entraîner une diminution des
capacités de freinage et de la direction assistée. La direction n'est pas verrouillée mais un effort plus grand est nécessaire. Lorsque le contact est coupé, certains circuits électriques, témoins et indicateurs peuvent aussi être coupés.
Appuyer sur le bouton et le maintenir enfoncé ou appuyer deux fois dessus en moins de deux secondes.
Filtràparticules DIESEL
Le DPF fait partie des systèmes de réduction des rejets polluants montés sur votre véhicule. Il filtre les particules diesel nocives (sous) continues dans les gaz d'échappement.
Avertissement

Ne pas garer le véhicule ou laisser le moteur tourner au ralenti au-dessus de feuilles ou d'herbes sèches ou
autres matières inflammables. Le processus de régénération du filtre à particules crée des températures de gaz d'échappement très élevées et l'échappement dégage une chaleur considérable pendant et après la régénération, mais aussi après l'arrêt du moteur. Risque d'incendie.
Attention

Évitez de tomber en panne de carburant.
Note: Pendant la régénération à bas régime ou au ralenti, il est possible qu'une odeur de métal brûlant ou qu'un cliquetis métallique soit perceptible. Cela est normal et s'explique par les températures élevées atteintes au cours de la régénération.
Note: Le ventilateur peut continuer de tourner un petit moment après la coupure du moteur.
Contrairement aux filtres normaux qui doivent être régulièrement remplacés, le FAP a été conçu pour se régénérer ou s'autonettoyer afin de conserver son efficacité. Le processus de régénération est lancé automatiquement. Toutefois, il est nécessaire que le processus de régénération soit lancé dans certaines conditions de conduite.
Si vous conduisiez uniquement sur de courtes distances, ou si vos voyages comportent des arrêts et démarrages fréquents avec une accélération et une décelération accrues, des voyages occasionnels dans les conditions suivantes accompagneront le processus de régénération :
Conduire le véhicule à vitesse constante, de préférence sur un grand axe, pendant environ 20 minutes. - Eviter les périodes prolongées de fonctionnement au ralenti, respecter les limitations de vitesse et tenir compte de l'état des routes et des conditions de circulation. - Ne pas couper le contact. Utiliser un rapport inférieur au rapport normal pour maintenir un régime moteur plus élevé pendant ce trajet, le cas échéant.
Attention
Ne coupez pas le contact alors que le moteur tourne à haut régime. Si vous le faites, le turbocompresseur continuera de tourner avec une pression d'huile moteur nulle. Ceci peut entraîner une usure prématurée des paliers du turbocompresseur.
Relâcher la pédale d'accélérateur. Attendez que le moteur soit revenu au ralenti puis coupez le contact.
Attention
Veillez à débrancher le câble d'alimentation du connecteur de chauffe-moteur avant de démarrer.
Note: Le connecteur de chauffe-moteur est situé dans le pare-chocs avant.

Brancher le chauffe-moteur pendant deux à trois heures avant de démarrer le moteur.
Attention
Sur les véhicules équipés d'un système d'arrêt/démarrage, les exigences imposées à la batterie sont différentes. Il faut la remplacer par une batterie correspondant exactement aux mêmes spécifications que la batterie d'origine.
Le système réduit la consommation de carburant et les émissions de CO2 en coupant le moteur lorsque le véhicule est au ralenti, par exemple aux feux de signalisation. Le moteur redémarre automatiquement lorsque le conducteur appuie sur la pédale d'embrayage ou lorsqu'un système du véhicule l'exige, par exemple pour recharger la batterie.
Pour profiter au maximum du système, déplacer le levier de vitesses à la position neutre et relâcher la pédale d'embrayage pendant tout arrêt supérieur à trois secondes.
Avertissements

Le moteur peut redémarrer automatiquement si le système l'exige. Voir Principes de fonctionnement (page 139).

Couper l'allumage avant d'ouvrir le capot ou avant d'effectuer toute opération d'entretien.

Toujours couper l'allumage avant de quitter votre véhicule car le système peut avoir coupé le moteur tandis que l'allumage reste en marche.
Note: Le système fonctionne uniquement lorsque le moteur est chaud et lorsque la température extérieure est comprise entre 0°C (32°F) et 30°C (86°F).
Note: Si vous calez le moteur et relâchez ensuite la pédale d'embrayage en l'espace de quelques secondes, le système redémarre automatiquement le moteur.
Note: Le témoin démarrage/arrêt est allumé en vert lorsque le moteur s'arrête. Voir Témoins d'avertissement et indicateurs (page 83).
Note: Le témoin démar rage/arrêt clignote en jaune, vous invitant à sélectionner la position neutre ou à relâcher la pédale d'embrayage. En même temps, un message s'affiche à l'écran.
Note: Si le système détecte un mauvais fonctionnement, il est désactivé. Faites contrôler le système par un technicien correctement formé pour cette opération.
Note: Si vous avez coupé le système, le contacteur est allumé.
Note: Le système est en marche par défaut. Pour désactiver le système, enforcer le commutateur sur la planche de bord. Le système ne sera désactivé que pendant le cycle d'allumage actuel. Pour l'activer, l'enforcer de nouveau. Pour l'emplacement des repères, voir Bref aperçu (page 12).

Pour arrêter le moteur
- Arrêtez le véhicule.
- Amenez le levier de vitesses en position neutre.
- Libérez la pédale d'embrayage.
- Relacher la pédale d'accélérateur.
Le système peut ne pas couper le moteur dans certaines conditions, par exemple :
Pour maintenir le climat intérieur. - La tension de batterie est faible. La température extérieure est trop basse ou trop élevée. La porte conducteur a été ouverte. - Température de fonctionnement basse du moteur. - Niveau faible de dépression du système de freinage. Si une vitesse de 5 km/h (3 mi/h) n'a pas été dépassée. - La ceinture de sécurité du conducteur n'a pas été bouclée.
Pour redémarrer le moteur
Note: Le levier de vitesses doit se couvrir au point mort (N).
Appuyer sur la pédale d'embrayage.
Le système peut redémarrer le moteur sous certaines conditions, par exemple :
- La tension de batterie est faible. Pour maintenir le climat intérieur.
Principes de fonctionnement
Le système permet au conducteur de conduire de façon plus efficace en surveillant en permanence les caractéristiques de changement de rapport et en prévoyant les conditions de circulation et de vitesse de roulage sur autoroutes et sur routes à grande vitesse.
Note: ces valeurs de rendement ne représentent pas une valeur définie de la consommation de carburant. La consommation peut varier car elle ne dépend pas uniquement de ces pratiques de conduite mais également d'autres facteurs tels que les courts trajets et les démarrages à froid.
Note: les petits trajets courts, au cours desquels le moteur n'a pas le temps de chauffer complètement, font également augmenter la consommation de carburant.
La valeur de ces caractéristiques est représentée par des pétales figurant dans l'illustration, cinq pétales représentant le rendement le plus élevé. Plus vous conduisez de façon efficace, plus l'indice est élevé et plus faible s'avère être votre consommation globale de carburant.

Changement de rapport Prévoyance Vitesse de conduite efficace
Changement de rapport
Conduire au rapport le plus élevé approprié aux conditions de la route permet de réduire la consommation de carburant.
Prévoyance
Adapter la vitesse de votre véhicule et la distance par rapport aux autres véhicules sans devoir freiner ou accélérer brusquement permet de réduire la consommation de carburant.
Vitesse de conduite efficace
Conduire à vitesses élevées augmente la consommation de carburant. Le fait de réduire votre vitesse de croisière sur les routes à grandes vitesses permet de réduire la consommation de carburant.
Types 2 et 3
Les informations appropriées seront affichées à l'écran.
Utilisation du mode ECO
Le système est accessible à l'aide du menu de l'afficheur multifonction correspondant. Voir Affichages d'informations (page 88).
Réinitialiser le mode eco
Réinitialiser la consommation moyenne de carburant.
Note : Le calcul de nouvelles valeurs peut être effectué rapidement.
Avertissements

Cesser le ravitaillement après le second arrêt du pistolet de
Réemllissage. Cette pratique permet de conserver dans le réserveur un volume d'expansion adéquat, qui empêche tout refoulement de carburant. Une projection de carburant pourrait constituer un risque pour les autres usagers.

Ne pas approcher de flammes ou de chaleur près du circuit
d'alimentation. Le circuit
d'alimentation est sous pression. Il y a risque de blessures en cas de fuite du circuit d'alimentation.
Attention

Ne pas utiliser de l'essence plombée ou de l'essence avec des additifs contenant d'autres composés
métaux (à base de manganèse par exemple). Ils pourraient endommager le système antipollution.
Note: Nous vous recommandons de n'utiliser que des carburants de haute qualité, sans additif ni autre traitement moteur.
Utiliser de l'essence sans plomb ayant un indice d'octane égal ou supérieur à 95 et répondant aux specifications définies par la norme EN 228, ou aux specifications nationales équivalentes.
Des mélanges d'éthanol ne dépassant pas 10% (E5 et E10) peuvent être utilisés dans votre véhicule.
Avertissements

Ne pas modifier la configuration du circuit d'alimentation ou les composants du circuit.

Ne pas remplaçer le circuit d'alimentation ou ses composants par des pièces qui ne seraient pasalement conçues pour fonctionner du E85.
Attention

Ne pas utiliser de l'essence plombée ou de l'essence avec des additifs contenant d'autres composés catalytiques (à base de manganèse par exemple). Ils pourraient endommager le même anti-pollution.

Ne pas utiliser du méthanol au lieu du E85.
Note: Nous vous recommandons de n'utiliser que des carburants de haute qualité, sans additif ni autre traitement moteur.
Note: L'utilisation du E85 peut causer une augmentation de la consommation de carburant.
Note: Votre véhicule peut parfaitement fonctionner avec de l'essence sans plomb d'indice d'octane 95 de qualité du commerce, mais seul le E85 de haute qualité offre le même niveau de protection et de performances.
Utiliser de l’essence sans plomb d’indice d’octane 95 minimum conforme à la norme EN 228 ou équivalente. Il est également possible d’utiliser un mélange essence sans plomb et E85.
Stockage à long terme
Du fait des faibles quantités d'impuretés corrosives susceptibles d'être présentes dans le E85, il est recommandé de remplir le réservoir d'essence sans plomb d'indice d'octane 95 avant le stockage prolongé de votre véhicule.
Avertissement

Ne pas mélanger du gazole avec de l'huile, de l'essence ou d'autres liquides. Ceci pourrait déclencher une son réaction chimique.
Attention

Ne pas ajouter de kérosène, de paraffine ou d’essence au gazole. Ceci pourrait endommager le circuit d'injection.

Utiliser un gazole conforme à la norme EN 590 ou conforme à la Specification nationale correspondante.
Note: Nous recommandons l'utilisation d'un carburant de haute qualité uniquement.
Note: L'utilisation d'additifs ou d'autres traitements pour le moteur non agréés par Ford n'est pas recommandée.
Note: Nous ne recommandons pas l'utilisation prolongée d'additifs conçus pour empêcher un paraffinage du carburant.
Stockage à long terme
Comme la plupart des gazoles contiennent du biogazole, il est recommandé de remplir le réservoir de gazole purement minéral (le cas échéant) ou d'y ajouter de l'anti-oxydant avant tout stockage prolongé (supérieur à 2 mois) de votre véhicule. Votre concessionnaire ou réparateur agréé peut vous fournir un anti-oxydant approprié.
Avertissement

Ne pas garer le véhicule ou laisser le moteur tourner au ralenti au-dessus de feuilles ou d'herbes sèches ou de matières inflammables.
L'échappement émet une quantité considérable de chaleur pendant le fonctionnement du moteur mais aussi un certain temps après la coupure du contact. Risque d'incendie.
Attention

Eviter de tomber en panne sèche.

N'actionnez pas le démarreur pendant de longues périodes consécutives.

Ne faites pas fonctionner le moteur lorsqu'un fil de bougie est débranché.

Ne démarrez pas le moteur en poussant ou remorquant le véhicule. Utilisez des câbles volants. Voir
Démarrage du véhicule à l'aide de câbles volants (page 239).

Ne coupez pas le contact pendant la conduite.
Avertissements

Lors du ravitaillement, veillez à éviter de projeter le carburant pouvant rester dans le pistolet de lissage.

Ne pas approcher de flammes ou de chaleur près du circuit d'alimentation. Le circuit
d'alimentation est sous pression. Il y a risque de blessures en cas de fuite du circuit d'alimentation.
Attention

Si le véhicule est lavé au jet haute pression, asperger le volet de
replissage de carburant brièvement et à une distance toujours supérieure à 200 millimètres.
Type1 E135934
Type 2 E135935
- Appuyer sur la trappe pour l'ouvrir. Ouvrir totalement la trappe jusqu'en butée.
E139202
Note: Lorsque vous introduisez le pistolet de replissage, un dispositif de blocage à ressort s'ouvre si le diamètre du pistolet est correct. Ce dispositif évite les erreurs de ravitaillement.
- Insérer le pistolet de replissage jusqu'à, et y compris, la première encoche du pistolet A. Le laisser reposer sur le couvercle de l'ouverture du tuyau de replissage.
Avertissement

Cesser le ravitaillement après le second arrêt du pistolet de
replissage. Cette pratique permet de conserver dans le réserveur un volume d'expansion adéquat, qui empêche tout refoulement de carburant. Une projection de carburant pourrait constituer un risque pour les autres usagers.

A Position incorrecte B Position correcte
- Ne pas relever le pistolet pendant le remplissage. Cela peut entraver l'écoulement du carburant et couper le pistolet de remplissage avant que le réservoir soit plein.
Type1 E139204
Type 2 E139205
- Utiliser le pistolet de remplissage au sein de la zone indiquée.
Avertissements

Nous vous recommandons de retirer l'ensemble le pistolet de remplissage pour que tout reste de carburant s'écouler dans le réservoir de carburant. Vous pouvez aussi attendre quelques secondes avant de retirer le pistolet de remplissage.
Avertissements

Pendant la totalité du processus de ravitaillement, ne pas retirer le piston de remplissage alors qu'il est pleinement inséré.
E119081
- Soulever légèrement le pistolet de remplissage pour le dégager.
Approvisionnement en carburant à l'aide d'un bidon d'essence
Utiliser l'entonnoir situé dans la boîte à gants.
Attention

Ne tentez pas de démarrer le moteur si vous avez rempli le réservoir de carburant avec un carburant incorrect.
Ceci pourrait endommager le moteur. Faire immédiatement contrôler le système par un technicien correctement formé pour cette opération.
Attention
Ne tentez pas de démarrer le moteur si vous avez rempli le réservoir de carburant avec un carburant incorrect. Ceci pourrait endommager le moteur. Faites immédiatement contrôler le système par un technicien correctement formé pour cette opération.
Après le ravitaillement, laissez le moteur tourner normalement pendant 5 minutes à une vitesse supérieure à 48 km (30 mph) pour réduire le risque d'une augmentation du temps de redémarrage du moteur.
Consommation de carburant
Les chiffres de CO2 et de consommation de carburant proviennent de contrôles effectués en laboratoire conformément à la directive CEE 80/1268/EEC et de ses amendements ultérieurs et sont réalisés par tous les constructeurs automobiles.
Ils sont conçus en guise de comparaison entre les marques et les modèles de véhicules. Ils ne sont pas destinés à représenter la consommation de carburant réelle de votre véhicule. La consommation de carburant réelle est régulée par plusieurs facteurs, y compris : style de conduite, conduite à vitesse élevée, conduite avec arrêts/démarrages fréquents, utilisation de la climatisation, accessoires posés et remorquage, etc.
Votre concessionnaire Ford peut vous conseiller afin d'améliorer votre consommation de carburant.
Valeurs de consommation de carburant
| Version | En ville | Sur route | Ville et route | Émissionsde CO2 |
| I/100 km (mpg) | I/100 km (mpg) | I/100 km (mpg) | g/km |
| 1.0L EcoBoost (73 kW/100 ch), 5 portes | 5,9 (47,9) | 4,1 (68,9) | 4,8 (58,9) | 109 |
| 1.0L EcoBoost (73 kW/100 ch), 4 portes et clipper | 6 (47,1) | 4,2 (67,3) | 4,9 (57,6) | 112 |
| 1.0L EcoBoost (92 kW/125 ch), 5 portes | 6,3 (44,8) | 4,2 (67,3) | 5 (56,5) | 114 |
| 1.0L EcoBoost (92 kW/125 ch), 4 portes et clipper | 6,4 (44,1) | 4,4 (64,2) | 5,1 (55,4) | 117 |
| 1.6L Duratec-16V Ti-VCT, 5 portes, vehicules à boîte de vitesses manuelle | 8 (35,3) | 4,7 (60,1) | 5,9 (47,9) | 136 |
| 1.6L Duratec-16V Ti-VCT, 4 portes et clipper, vehicules à boîte de vitesses manuelle | 8,1 (34,9) | 4,8 (58,9) | 6 (47,1) | 139 |
| 1.6L Duratec-16V Ti-VCT, vehicules à transmission automatique DPS6 | 9,3 (30,4) | 4,8 (58,9) | 6,4 (44,1) | 149 |
| 1.6L EcoBoost, vehicules sans marche-arrêt | 8,3 (34) | 5 (56,5) | 6,2 (45,6) | 144 |
| 1.6L EcoBoost, vehicules avec marche-arrêt | 7,7 (36,7) | 5 (56,5) | 6 (47,1) | 139 |
| 2.0L Duratec-HE - MI4, vehicules à boîte de vitesses manuelle | 9,6 (29,4) | 5 (56,5) | 6,7 (42,2) | 149 |
| 2.0L Duratec-HE - MI4, vehicules à transmission automatique | 9,1 (31) | 4,9 (57,6) | 6,4 (44,1) | 156 |
| 2.0L EcoBoost - MI4 | 9,9 (28,5) | 5,6 (50,4) | 7,2 (39,2) | 169 |
| L/100 km (mpg) | L/100 km (mpg) | L/100 km (mpg) | g/km |
| 1.6L Duratorq-TDCi, vehicules sans marche-arrêt | 5,7 (49,6) | 3,7 (76,3) | 4,5 (62,8) | 117 |
| 1.6L Duratorq-TDCi, vehicules avec marche-arrêt | 5,1 (55,4) | 3,7 (76,3) | 4,2 (67,3) | 109 |
| 2.0L Duratorq-TDCi - DW, vehicules avec boîte de vitesses manuelle | 6,3 (44,8) | 4,2 (67,3) | 5 (56,5) | 129 |
| 2.0L Duratorq-TDCi - DW, vehicules avec transmission automatique | 6,8 (41,5) | 4,4 (64,2) | 5,3 (53,3) | 139 |
Attention
N'engagez pas la marche arrière lorsque le véhicule est en mouvement. Faute de quoi la boîte de vitesses pourrait être endommagée.
E99067
Sur certains véhicules, il est nécessaire de soulever la bague pour engager la marche arrière.
Attention
Appuyer à fond sur la pédale d'embrayage et patienter trois secondes avant de sélectionner la marche arrière.
Positions du levier de vitesse
E133124
P Stationnement R Marche arrière N Point mort D Marche avant S Mode Sport et passage manuel des vitesses + Montée de rapport manuelle - Descente de rapport manuelle
Avertissement

Appuyer sur la pédale de frein avant de déplacer le levier sélecteur et la prendre enfoncée jusqu'au ent du départ effectif.
Appuyer sur le bouton du levier sélecteur pour changer de position.
La position sélectionnée est indiquée sur l'écran d'information.
Avertissements

N'engager la position stationnement (P) que lorsque le véhicule est immobile.

Serrer le frein de stationnement et sélectionner la position stationnement avant de quitter
Le véhicule. Vérifiez que le levier sélecteur est bien verrouillé dans cette position.
Note: Un signal sonore se fait entendre à l'ouverture de la porte conducteur si le levier sélecteur n'est pas sur la position stationnement (P).
Dans cette position, aucune puissance n'est transmise aux roues motrices et la transmission est bloquée. Vous pouvez lancer le moteur lorsque le levier sélecteur est dans cette position.
Avertissements

Ne sélectionner la marche arrière que si le véhicule est complètement arrêté et le moteur au ralenti.

Toujours s'arrêter complètement avant de sortir de la marche arrière.
Sélectionner la marche arrière pour permettre au véhicule de se déplacer vers l'arrière.
Point mort
Dans cette position, aucune puissance n'est transmise aux roues motrices mais la transmission n'est pas bloquée. Vous pouvez lancer le moteur lorsque le levier sélecteur est dans cette position.
Marche avant
Note: Le passage ne s'effectue que lorsque la vitesse du véhicule et le régime moteur sont appropriés.
Note: Vous pouvez outrepasser la vitesse actuellement sélectionnée à l'aide des boutons + et -.
Sélectionnez la position marche avant (D) pour obtenir le passage automatique des vitesses.
La transmission sélectionne la vitesse qui offre les performances optimales pour la température ambianté, le profil de la route, le chargement du véhicule et le comportement du conducteur.
Mode sport
Note: En mode Sport, la transmission fonctionne normalement mais les rapports sont sélectionnés plus rapidement et à des régimes plus élevés.
Note: En mode Sport, S s'affiche au tableau de bord.
Activez le mode Sport en plaçant le levier sélecteur sur la position S. Le mode Sport reste activé jusqu'à ce que vous montiez ou descendiez un rapport manuellement à l'aide de + et -, ou que vous rameniez le levier de vitesses à la position D.
Avertissement

Ne pas maintenir les boutons en permanence sur - ou +.
Attention
La boîte de vitesses rétrograde automatiquement au rapport inférieur lorsque la vitesse du véhicule est trop faible.
Appuyer sur le bouton - pour descendre les rapports et appuyer sur le bouton + pour monter les rapports.
Il est possible de sauter des rapports en appuyant plusieurs fois de suite à brefs intervalles.
Le mode manuel fournit aussi une fonction de kickdown. Voir Kickdown.
Attention

Ne laissez pas tourner le moteur au ralenti trop longtemps avec les freins serrés.
Démarrage
- Déserrez le frein de stationnement.
- Relâchez la pédale de frein et appuyez sur la pédale d'accélérateur.
Arrêt
- Relâchez la pédale d'accélérateur et appuyez sur la pédale de frein.
- Serrerez le frein de stationnement.
- Sélectionnez la position de point mort ou de stationnement.
Rétrogradation forcée
Lever sélecteur en position D, enfoncer à fond la pédale d'accélérateur pour sélectionner le rapport immédiatement inférieur et booster des performances optimales. Relâchez la pédale d'accélérateur lorsque vous n'avez plus besoin du kickdown.
Levier de déverrouillage d'urgence de la position park
Utilisez ce levier pour sortir le levier sélecteur de la position stationnement (P) en cas d'incident électrique ou de batterie à plat.

- Déposer le couvercle avec précaution.
- Déposer le clip de fixation.
- Déposer le panneau latéral de la console centrale.

Note : Le levier est blanc.
- Enclencher la pédale de frein. À l'aide d'un outil approprié, appuyer sur le levier en le tenant vers l'avant tout en tirant le levier sélecteur hors de la position de stationnement et en l'amenant au point mort.
Principes de fonctionnement
Note: Selon les lois et réglementations en vigueur dans le pays de production du véhicule, les feux de stop clignotent en cas de freinage brusque.
Note: Les bruits de frein occasionnels sont normaux et n'indiquent pas un incident. Dans des conditions normales, le système peut émettre des grincements ou des gémissements occasionnels ou intermittents au cours du freinage. De tels bruits sont généralement provoqués par les conditions environnantes, notamment le froid, la chaleur, l'humidité, la poussière de la route, le sel ou la boue.
Freins à disques
Lorsque les disques de frein sont mouillés, l'efficacité du freinage est diminuée. À la sortie d'une station de lavage, exercer plusieurs pressions légères sur la pédale de frein pour éliminer le film d'eau.
Avertissement

L'ABS ne vous exonère pas de votre responsabilité de conduire avec l'attention et les précautions qui sont les vôtres.
En évitant le blocage des roues, l'ABS vous aide à conserver la maîtrise de la direction et donc à maintenir la trajectoire de votre véhicule lors d'un freinage d'urgence.
Interrupteurdecoupure d'alimentation
Note: Quand le système fonctionne, des pulsations sont senties dans la pédale de frein et sa course peut continuer. Maintenez la pression sur la pédale de frein. Il se peut aussi que le système émette du bruit. Ceci est normal.
L'ABS n'élimine pas les risques dans les situations suivantes:
- vous conduisiez trop près du véhicule devant vous; l'aquaplaning;
- vous négociez les virages trop rapidement. le revêtement de la route est en mauvais état/de mauvaise qualité.
Avertissement

Sur les véhicules équipés d'une transmission automatique, le levier de déslecteur doit toujours être en position P (Stationnement) lorsque vous quittez le véhicule.
Appuyer fermement sur la pédale de frein. - Tirer à fond le levier de frein de stationnement. - Ne pas appuyer sur le bouton de déverrouillage en tirant le levier vers le haut.
Freins
- Si le véhicule est garé en pente dans les sens de la montée, sélectionner la première ou la position P
(et tourner le volant vers le côté opposé au trottoir.)
- Si le véhicule est garé en pente dans les sens de la descente, sélectionner la marche arrêté ou la position P
(Stationnement) et tourner le volant vers le trottoir.
Pour desserrer le frein de stationnement, appuyer fermement sur la pédale de frein, tirer légèrement le levier vers le haut, appuyer sur le bouton de déverrouillage puis abaisser le levier.
Avertissement

L'ESP ne vous dégage pas de votre responsabilité de conduire avec l'attention et la prudence requises.
E72903
L'ESP rétablit la stabilité du véhicule lorsque celui-ci commence à s'écarter de la trajectoire souhaitée. Pour cela, le système procède à un freinage individuel des roues et à une réduction du couple moteur si nécessaire.
Le système fournit aussi une fonction d'antipatinage améliorée en réduisant le couple du moteur et en freinant individuellement les roues si celles-ci patinent à l'accélération. Cette fonction facilite le démarrage sur routes glissantes ou surfaces instables et améliore le comportement en limitant le patinage des roues dans les virages serrés.
Témoin du contrôle dynamique de stabilité (ESP)
Le témoin ESP clignote pendant une intervention du système. Voir Témoins d'avertissement et indicateurs (page 83).
Avertissement

L'assistance au freinage d'urgence ne vous exonère pas de votre responsabilité de conduire avec
l'attention et les précautions qui s'imposent.
L'assistance au freinage d'urgence détecte un freinage brutal en mesurant la vitesse à laquelle vous appuyez sur la pédale de frein. Elle fournit une puissance de freinage optimale aussi longtemps que vous maintenez la pression sur la pédale. L'assistance au freinage d'urgence peut réduire les distances d'arrêt dans les situations critiques.
Avertissement

Le système de contrôle de stabilité de remorque ne vous exonère pas de votre responsabilité de tracter une que avec l'attention et les situations qui s'imposent.
Programme de stabilité électronique
Le contrôle de stabilité de remorque est une fonction améliorée de l'ESP qui détecte automatiquement un début d'instabilité de la remorque attelée.
Si cette situation se produit, le système freine automatiquement certaines roues pour stabiliser la remorque et le véhicule. En cas d'instabilité majeure, le système réduit le couple moteur et ralentit automatiquement le véhicule.
Utilisationduprogramme destabilite électronique
Note : Le système est automatiquement activé à chaque établissement du contact.
Pour activer et désactiver le système. Voir Affichages d'informations (page 88).
Avertissement

En désactivant le contrôle de stabilité, vous désactivez aussi Active city stop.
Note: Le système est automatiquement activé à chaque établissement du contact.
Note: Vous pouvez aussi désactiver et activer le système à l'aide de l'écran d'information. Voir Généralités (page 88).
Le commutateur est situé sur la planche de bord. Voir Bref aperçu (page 12).
Activation du mode sport
Note: Le contrôle de stabilité est seulement réduit et pas complètement désactivé.
Appuyez sur le commutateur. Un message apparaît conjointement avec une icône illuminée sur l'affichage. Appuyez de nouveau sur le commutateur pour ramener le système en mode normal.
Désactivation du système
Enlevez le contacteur pendant cinq secondes environ. Un message apparaît conjointement avec une icône illuminée sur l'affichage.
Principes de fonctionnement
Cette fonction facilite le démarrage du véhicule en côte, sans utiliser le frein de stationnement.
Lorsque la fonction est activée, le véhicule reste stationnaire en pente un bref moment après que la pédale de frein soit relâchée. Pendant cet intervalle, vous avez le temps de déplacer votre pied de la pédale de frein à la pédale d'accélérateur et de démarrer. Les freins se desserrent automatiquement dès que le moteur a développé une puissance motrice suffisante pour empêcher le véhicule de dévaler la pente. Cette fonction est utile lorsqu'il s'agit de démarrer en côte, comme à partir de la rampe d'un parc de stationnement, de feux de circulation ou lors d'une marche arrêtée pour se garer dans une montée.
Avertissement

Elle ne remplace pas le frein de stationnement. En quittant véhicule, toujours serrrer le frein de
stationnement et engager la première ou la marche arrière.
Utilisation de l'aide au demarrage en côte
Le système est activé automatiquement lorsque vous arrêtez le véhicule sur une pente de plus de 3 %. Le système fonctionne avec le véhicule orienté vers le bas de la pente si la marche arrière est sélectionnée et avec le véhicule orienté vers le haut de la côte si un rapport de marche avant est sélectionné.
Véhicules équipés d'une boîte de vitesses manuelle uniquement
Le système peut être activé et désactivé à l'aide de l'affichage d'information. Voir Généralités (page 88).
Avertissements

Vous devez rester dans le véhicule une fois que vous avez activé le système.

Vous êtes responsable à tout moment du contrôle du véhicule, du contrôle du système et de toute action, le cas échéant.

Si une anomalie est détectée lorsque le système est actif, le système est désactivé et un message apparait sur l'affichage. Voir Messages d'information (page 96).
Vous pouvez activer le système uniquement si les conditions suivantes ont été remplies :
- Démarrer le moteur. Le système est activé.
- Sur les véhicules équipés d'une boîte de vitesses manuelle, la pédale d'embrayage est enfoncée. Aucun mode de défaillance n'est présent.
Pour activer le système :
- Appuyez sur la pédale de frein pour immobiliser complètement le véhicule. Gardez la pédale de frein enfoncée.
- Si les capteurs détectent que le véhicule est sur une pente, le système est automatiquement activé.
Aide au démarrage en côte
- Lorsque vous retirez votre pied de la pédale de frein, le véhicule reste sur la pente sans s’éloigner en roulant un court instant. Ce temps de maintien est automatiquement prolongé si vous êtes en train de démarrer.
- Démarrer de la manière habituelle. Les freins sont desserrés automatiquement.
Déactualisation du système
Pour désactiver le système, effectuez une des opérations suivantes:
- Attendre un bref instant jusqu'à ce que le système se désactive automatiquement.
- Si une marche avant a été sélectionnée une fois le système devenu actif, sélectionnez la marche arrêté.
- Si la marche arrêtée a été sélectionnée une fois le système devenu actif, sélectionnez une marche avant.
Avertissement

Ce système ne vous exonère pas de votre responsabilité de conduire avec l'attention et les précautions qui sont les vôtres.
Attention

Les véhicules équipés d'un module de remorquage non homologué par Ford ne peuvent ne pas détecter les obstacles.

Les capteurs peuvent ne pas détecter des objets sous une pluie battante ou dans d'autres conditions pouvant liure des réflexions perturbantes.

Les capteurs peuvent ne pas détecter des objets dont les surfaces absorbent les ondes ultrasonores.

Le système d'aide au stationnement ne détecte pas les obstacles qui s'éloignent du véhicule. Ils ne sont détectés qu'à partir du moment où ils menacent à se rapprocher à nouveau du véhicule.

Si vous lavez votre véhicule au jet haute pression, asperger les capteurs brièvement et à une distance inférieure à 20 cm.

L'aide au stationnement émet des sons via le système audio monté et homologué par Ford. Si cela ne fonctionne pas, l'aide au stationnement n'agira pas.
Note: Sur les véhicules équipés d'une boule de remorquage, le système d'aide au stationnement arrière se désactive automatiquement lorsque des feux des remorque (ou une plaque de feu arrière) sont connectés au connecteur à 13 broches via un module de remorquage autorisé par Ford.
Note: Garder les capteurs exempts d'impuretés, de glace et de neige. Ne pas les nettoyer avec des objets pointus.
Note: Le système d'aide au stationnement peut émettre de fausses tonalités s'il détecte un signal qui utilise la même fréquence que les capteurs ou si le véhicule est au niveau de charge maximal.
Note: Les capteurs extérieurs peuvent détecter les parois latérales d'un garage. Si la distance entre le capteur extérieur et la paroi latérale reste constante pendant trois secondes, la tonalité cesse. Lorsque vous poursuivrez la manœuvre, les capteurs intérieurs détecteront les objets vers l'arrière.
Avertissement

Le système d'aide au stationnement ne vous exonère pas de votre responsabilité d'effectuer les opérations de stationnement avec prudence et les précautions qui seront.

Le dispositif d'aide au stationnement est automatiquement activé lorsque vous sélectionnez la marche arrêtée et que le contact est établi.
Une tonalité intermittente se fait entendre à une distance d'environ 150 cm (59 po) entre l'obstacle et le pare-chocs arrière et d'environ 50 cm (20 po) sur le côté. Lorsque la distance diminue, la tonalité intermittente s'accélère.

Indicateur de distance.
Au fur et à mesure que la distance diminue, l'indicateur se déplace vers le véhicule.
Elle devient continue lorsque la distance par rapport au pare-chocs arrêté est inférieure à 30 cm (11 po).
Note: Sur les véhicules équipés d'une barre de remorquage montée et homologuée par Ford, le son en continu commence à retentir à une distance de 45 centimètres (18 pouces à partir du pare-chocs arrêté).
E130179
Témoin d'anomalie de fonctionnement.
Note: Si une anomalie de fonctionnement est indiquée, le système est désactivé. Faites contrôler le système par un technicien correctement formé pour cette opération.
E130180
Un symbole de remorque indique qu'il y a une remorque attachée, et que le système est désactivé.
Avertissement

Le système d'aide au stationnement ne vous exonère pas de votre responsabilité d'effectuer les manoeuvres de stationnement avec prudence et les précautions qui sont.
Activation et désactivation du dispositif d'aide au stationnement.
Le dispositif d'aide au stationnement est par défaut désactivé. Pour activer le dispositif d'aide au stationnement, engager la marche arrière ou appuyer sur le commutateur dans la planche de bord. Pour l'emplacement des repères : Voir Bref aperçu (page 12).
Le témoin dans le commutateur s'allume lorsque le système d'aide au stationnement est activé.
Pour le désactiver, appuyer de nouveau sur le commutateur.
Manœuvres avec le système d'aide au stationnement

E130381
1 Marche/arrêi sélectionnée 2 Point mort ou vitesse arrière sélectionnée.
Afficheur et son
Afficheur et son
Afficheur seul
Afficheur et son
Une tonalité intermittente se fait entendre à une distance allant jusqu'à environ 150 cm (59 po) entre l'obstacle et le pare-chocs arrêté, environ 80 cm (31 po) entre l'obstacle et le pare-chocs avant et environ 50 cm (20 po) sur le côté. Lorsque la distance diminue, la tonalité intermittente accélère. Un son continu commence à retentir à une distance inférieure à 30 centimètres (11 po) par rapport au pare-chocs arrêté ou avant.
Note: Sur les véhicules équipés d'une barre de remorquage montée et homologuée par Ford, le son en continu commence à retentir à une distance de 45 centimètres (18 pouces) à partir du pare-chocs arrêté.
Une tonalité intermittente se fait entendre de l'avant et de l'arrière si des obstacles se trouvent à moins de 30 cm des pare-chocs avant et arrière.
Indicateur de distance.
Au fur et à mesure que la distance diminue, l'indicateur se déplace vers le véhicule.
Témoin d'anomalie de fonctionnement.
Note: Si une anomalie de fonctionnement est indiquée, le système est désactivé. Faites contrôler le système par un technicien correctement formé pour cette opération.
E130180
Un symbole de remorque indique qu'il y a une remorque attachée, et que les capteurs arrêtés sont désactivés.
Principes de fonctionnement
La télécamera constitue une aide visuelle pour la marche arrêtée.
Avertissement

Ce système ne vous exonère pas de votre responsabilité de conduire avec l'attention et les précautions qui sont les vôtres.
Attention
Si vous lavez votre véhicule au jet haute pression, aspergez la caméra brièvement et à une distance toujours supérieure à 20 cm (8 pouces).

N'exercez pas de pression sur la caméra.
Note: Gardez la caméra exempte d'impuretés, de glace et de neige. N'utilisez pas d'objets pointus, de produit dégraissant, de cire ou de produits organiques pour la nettoyer. Utilisez uniquement un chiffon doux.
Pendant l'utilisation, des lignes de guidage apparaissent sur l'affichage et représentent la trajectoire du véhicule et la distance approximative qui le sépare des obstacles arrêtés.
Avertissements

Le fonctionnement de la caméra peut varier selon la température ambiantes, l'état du véhicule et les conditions routières.

Les distances indiquées à l'écran peuvent être différentes de la distance réelle.
Avertissements

Ne placer aucun objet devant laamera.
La caméra se trouve dans le couvercle du coffre à bagages, après la poignée.
E99105
Attention

L'amateur ne pas détecter pas des objets trop proches du véhicule.
Contact établi, et autoradio en marche :
- Appuyer sur le contacteur d'aide au stationnement dans la planche de bord. Pour l'emplacement de l'élément : Voir Bref aperçu (page 12). Ou,
- Passer la marche arrière.
L'image affichée sur l'écran.
Le témoin dans le contacteur est allumé lorsque le système est activé.
Le bon fonctionnement de la caméra peut être compromis dans les cas suivants :
- Changement rapide de la température ambience.
- Humidité de la caméra, après exposition à la pluie ou à une forte humidité par exemple.
- Obstruction de la vue de la caméra, par de la boue par exemple.
Attention

Les obstacles situés au-dessus de la caméra n'apparaissent pas. Examiner la zone à l'arrière de votre véhicule au loin.

Les repères ne sont disponibles qu'à titre indicatif et sont calculés pour des véhicules chargés au maximum etantsur une surface régulière.
Les lignes montrent une trajectoire projetée du véhicule (d'après l'angle actuel du volant) et la distance depuis les rétroviseurs extérieurs et le pare-chocs arrière.

A Garde aux rétroviseurs extérieurs -0,1 mètre (4 pouces) B Rouge - jusqu'à 0,3 mètre (12 pouces) C Orange -0,3-0,6 mètre (12-24 pouces)
D Jaune-0,6-0,9 mètre (24-35 pouces) E Jaune - axe de la trajectoire prévue du véhicule
Note: La ligne verte est prolongée de 0,9 mètre (35 pouces) jusqu'à une distance de 3,2 mètres (126 pouces).
Note: En cas de recul avec une remorque, les lignes à l'écran n'apparaissent pas. La caméra indique la direction du véhicule, et non pas la remorque.
Désactivation de la caméra de rétrovision
Note: Désengager la marche arrière. L'affichage reste allumé quelques instants puis s'éteint.
Note: Le système est automatiquement désactivé lorsque le véhicule atteint environ 15 km/h (9 mi/h).
Appuyer sur le contacteur d'aide au stationnement dans la planche de bord.
Pour l'emplacement des repères : Voir Bref aperçu (page 12).
Véhicules avec système d'aide au stationnement
L'affichage montre également une barre de distance en couleur. Ce guide indique la distance qui sépare le pare-chocs arrêté de l'obstacle détecté.
Les barres ont les couleurs suivantes :
- Vert - 0,6 à 1,8 mètre (24 - 71 pouces). Orange - 0,3 à 0,6 mètre (12 - 24 pouces).
- Rouge - 0,3 mètre (12 pouces) ou moins.
Avertissements
Ce système ne vous exonère pas de votre responsabilité de conduire avec l'attention et les précautions qui s'imposent. Vous êtes responsable à tout moment du contrôle du véhicule, du contrôle du système et de toute intervention, le cas échéant. Vous devez observer que l'espace sélectionné reste dégagé pendant toute la manœuvre. Les véhicules avec des charges dépassant, les aménagements de la route ou d'autres éléments peuvent ne pas être détectés par le système. S'assurer que l'espace sélectionné est adapté au stationnement du véhicule. Ne pas utiliser le système si une remorque est attachée au véhicule. Ne pas utiliser le système si un porte-vélo est attaché à l'arrière du véhicule. Ne pas utiliser le système si une charge dépassant est attachée au toit. Si la manœuvre est interrompue avant d'être achevée, le système est désactivé. La position du volant de direction n'indiquera pas la position réelle du volant et vous devrez prendre la commande du véhicule. Veiller à ce que des vêtements trop larges, les mains ou les bras ne soient happés par le volant en rotation.
Le système détecte un espace de stationnement adapté et dirige le véhicule dans cet espace. Le système commande la direction, pendant que le conducteur commande l'accélération, la transmission et les freins. La manœuvre peut être arrêtée à tout moment en tenant le volant de direction ou en appuyant sur le contacteur d'aide active au stationnement. Voir Bref aperçu (page 12).
Le système donne des instructions visuelles et sonores au conducteur pendant la procédure pour stationner le véhicule en toute sécurité.
Attention
Les capteurs peuvent ne pas détecter des objets sous une pluie battante ou dans d'autres conditions pouvant produire des réflexions perturbantes. Les capteurs peuvent ne pas détecter des objets dont les surfaces absorbent les ondes ultrasonores. Il se peut que les capteurs ne détectent pas la cordure.
Note: Si le système antipatinage est désactivé, l'aide active au stationnement ne sera pas disponible. Voir Généralités (page 88).
Le système n'aligne pas le véhicule correctement si :
- vous utilisez une roue de secours, ou si un pneu présente une usure plus importante que les autres pneus.
- vous n'utilisez pas la taille de pneu montée en usine sur le véhicule les pneus patinent
- Vous laissez le véhicule rouler. Les conditions climatiques sont défavorables (fortes pluies, neige, brouillard, etc.).
Avancer à une vitesse maximale de 30 km/h (18 mph). Appuyer sur le commutateur d'aide active au stationnement. Voir Bref aperçu (page 12). Utiliser le levier de clignotants pour sélectionner soit le côté gauche, soit le côté droit du véhicule.
Note: Si aucune sélection n'est effectuée via le levier de clignotant, le système par défaut l'aide au stationnement du côté passager du véhicule.

Note: pour désactiver l'avertisseur sonore : voir réglages personnalisés (page 95).
L'afficheur multifonction vous informe et un avertissement sonore retentit lorsqu'un espace adapté est trouvé. Pour stationner le véhicule, suivre les instructions à l'écran d'information et de divertissement.
Note: Les flèches ou les graphiques à l'affichage indiquent dequel côté du véhicule le système va stationner. L'affichage vous avertira quand sélectionner la marche arrêté.
Ralentir et s'arrêter à la position A environ, puis suivre les instructions du système.


Avertissement

En cas de dépassement d'une vitesse de 10 km/h (6 mph), le système est désactivé et vous devez entièrement la commande duule.
Reculer le véhicule avec précaution à l'aide des pédales d'accélération et de frein pour commander le véhicule. Les signaux d'avertissement de l'aide au stationnement retentissent. Arrêtez le véhicule lorsque vous entendez un son continu.
Vous pouvez prendre le contrôle de la manoeuvre en tenant le volant de direction. Un message peut apparaître indiquant que le système peut être relâché. Appuyer sur le commutateur d'aide active au stationnement pour valider ce message. Voir Bref aperçu (page 12).
E130109
Avancer le véhicule. Arrêter le véhicule lorsque vous entendez un son continu.
Répéter les étapes ci-dessus jusqu'à ce que le véhicule soit correctement stationné. L'afficheur indique quand le système a terminé la manœuvre.
Avertissement

Ce système ne vous exonère pas de votre responsabilité de conduire avec l'attention et les précautions qui sont les vôtres.
Le régulateur de vitesse permet de commander la vitesse du véhicule à l'aide des commutateurs au volant. Le régulateur de vitesse peut être utilisé lors que la vitesse du véhicule dépasse environ 30 km/h (20 mi/h).
Avertissement

Ne pas utiliser le régulateur de vitesse en cas de circulation intense, sur des routes sinueuses ou lorsque la route est glissante.
Activation du régulateur de vitesse
E130072
Note: Le système est prêt pour le réglage d'une vitesse.
Réglage d'une vitesse
Appuyer sur le commutateur SET + ou le commutateur SET - pour mémoriser et maintenir la vitesse en cours. Le témoins du régulateur de vitesse s'allume. Voir
Témoins d'avertissement et indicateurs (page 83).
Avertissement

Lorsque le véhicule descend une pente, la vitesse peut augmenter et dépasser la vitesse réglée. Le système ne fait pas intervenir les freins. Garder et appuyer sur le bouton SET- pour aider le système tenir la vitesse réglée.
Note: Si la vitesse du véhicule augmente lorsque la pédale d'accélérateur est enfoncée, la vitesse réglée ne change pas. Lorsque la pédale d'accélérateur est relâchée, la vitesse revient à celle précédemment réglée.

Annulation de la vitesse réglée
Enfonce la pédale de frein ou tire sur le commutateur CAN.
Note: Le système ne commande plus la vitesse du véhicule. Le témoin du régulateur de vitesse s'éteint mais le système conserve la vitesse précédemment réglée.
Reprise de la vitesse réglée
Tirer sur le commutateur RES.
Le témoin du régulateur de vitesse s'allume et le système essaie de reprendre la vitesse précédemment régée.
Désactivation du régulateur de vitesse

Le système ne conserve pas la vitesse précédemment régée. Le témoin du régulateur de vitesse ne s'allume pas.
Avertissements

Ce système n'est pas un avertisseur de collision ou d'évitement. La fonction distincte d'alerte de
distance est un dispositif d'avertissement et de réduction des risques de collision.
Voir Fonction Forward alert (alerte de ralentissement du traffic) (page 175).
Vous devez intervenir, le système ne détecte pas le véhicule qui vous précède.

Lorsque vous conduisez, il est de votre responsabilité de maintenir une distance et une vitesse correctes,
même lorsque le régulateur de vitesse adaptatif est activé. Vous devez toujours rester attentif aux conditions de circulation et il est de votre responsabilité d'intervenir lorsque le régulateur de vitesse adaptatif ne maintient pas une vitesse ou une distance de sécurité appropriées.

Ce système ne vous exonère pas de votre responsabilité de conduire avec l'attention et les précautions qui s'imposent.
s'imposent.

Ce système ne freine pas pour les véhicules lents ou à l'arrêt, les piétons, les objets sur la route, les
véhicules s'approchant et les véhicules traversant la chaussée.
Attention

Utiliser le régulateur de vitesse adaptatif uniquement dans des conditions favorables, par exemple
sur les autoroutes et les routes à grande circulation sur lesquelles le trafic est fluide et régulier.

Ne pas utiliser l'ACC lorsque la visibilité est réduite, en particulier en cas de brouillard, de grêle, de pluie ou de neige.
Attention

Ne pas utiliser le système sur des routes verglacées ou glissantes.

N'utilise pas ce système lorsque vous vous engagez sur une autoroute ou lorsque vous quittez une autoroute.

Le capteur radar présente un champ de vision limité. Dans certaines situations, il peut détecter un véhicule que celui qui précède ou ne pas détecter de véhicule du tout.
Note: Si le régulateur de vitesse adaptatif est activé, il se peut que vous entendiez des sons inhabituels pendant le freinage automatique. Ce phénomène causé par le système de freinage automatique est normal.
Note: Veiller à ce que l'avant du véhicule soit exempt de poussière, de pièces métalliques ou d'objets tels que des projecteurs supplémentaires ou des protections installées à l'avant du véhicule risquant d'empêcher le bon fonctionnement du capteur.
Le système est donc pour vous aider à conserver une distance par rapport au véhicule vous précédant, ou à conserver une vitesse définie s'il n'y a pas de véhicule plus lent devant vous. Le système est destiné à assurer un fonctionnement optimal du véhicule lorsqu'il se trouve derrière d'autres véhicules roulant sur la même voie et dans le même sens.
Le système est basé sur l'utilisation d'un détecteur radar qui projette un rayon directement vers l'avant du véhicule. Ce faisceau détecte tout véhicule se trouvant dans la zone balayée par le système.
Le détecteur radar est monté derrière la calandre avant.
Anomalies de détection
E71621
Certaines anomalies de détection peuvent survenir :
- Avec des véhicules qui mordent votre file et qui ne peuvent être détectés qu’une fois qu’ils sont entièrement engagés dans votre file (A). Les mots peuvent être détectés tardivement ou ne pas être détectés du tout. (B) Avec des véhicules à l’avant lorsqu’ils s’engagent ou qu’ils débouchent d’un virage (C). Le faisceau de détection ne suit pas les courbes des virages serrés.
Dans ces cas, il se peut que le système freine tardivement ou de manière inattendue. Vous devez rester vigilant et intervenir si nécessaire.
Avertissements

Vous devez intervenir immédiatement une fois alerté car le freinage du régulateur de vitesse partiel ne suffira pas pour garder une distance de sécurité suffisante par rapport au véhicule vous précédant.

Dans certains cas, il se peut qu'il n'y ait pas d'advertissement ou que l'advertissement soit retardé. Vous devez actionner les freins si nécessaire.

Si vous suivez un véhicule juste devant vous, le régulateur de vitesse adaptatif ne ralentira pas nativement à un stop.
Le système freinera automatiquement à votre place si cela est nécessaire pour conserver la distance définie entre votre véhicule et le véhicule détecté devant votre véhicule. La capacité de freinage est alors limitée à environ 30% de la capacité de freinage manuelle totale afin de garantir confort et souplesse. Si une capacité de freinage supérieure est nécessaire et que vous n'intervenez pas en freinant manuellement, une alarme sonore retentit et un symbole d'avertissement s'affiche sur le combiné des instruments.
Utilisation du régulateur de vitesse adaptatif
Le système fonctionne grâce à des commandes de réglage montées sur le volant.

A Augmentation de la vitesse définie
B Diminution de la vitesse définie
C Activation/désactivation de l'ACC
D Augmentation de l'écart enregistré dans l'ACC
E Réduction de l'écart enregistré dans l'ACC
F Annulation/rappel ACC
Activation du système
Appuyer sur le commutateur C. Le système est activé en mode veille.
Réglage d'une vitesse
Note : le système doit se trouver en mode de veille.
Appuyer sur le contacteur A ou le contacteur B pour sélectionner la vitesse de croisière souhaitée. La vitesse est affichée sur l'afficheur multifonction et mémorisée comme la vitesse définie.
Modification de la vitesse réglée.
Note: La vitesse du véhicule peut être augmentée ou abaissée par tranche de 5 km/h ou 5 mph.
Note: Si le système ne réagit pas à ces modifications, cela peut être du fait que l'écart entre le véhicule et celui qui le précède empêche une augmentation de la vitesse.
Appuyer sur le contacteur A pour augmenter ou sur le contacteur B pour diminuer la vitesse définie jusqu'à ce que la vitesse désirée s'affiche dans l'afficheur multifonction. La vitesse du véhicule changera progressivement pour atteindre la valeur sélectionnée.
Attention
Programmer l'écart approprié en fonction des règles du code de la route local.
Note: Le réglage de l'écart est fonction de la durée, de ce fait, la distance régule automatiquement votre vitesse. Par exemple, lorsque l'écart programmé correspond à 4 traits, l'écart temporel est de 1,8 seconde. Cela signifie qu'à une vitesse de 100 km/h (62 mph), la distance par rapport au véhicule qui précède est maintenue à 50 mètres.
Note: Si l'accélérateur est enfoncé pendant un court moment, par exemple lors d'un dépassement, le système est temporairement désactivé puis réactivé lorsque la pédale d'accélérateur est relâchée. Un message apparaît dans l'afficheur multifonction.
Note: La programmation de l'écart reste inchangée pendant les cycles d'allumage.

E82311
La distance entre votre véhicule et le véhicule détecté qui précède est maintenue par le biais d'un paramètre variable. Il y a cinq seuils représentés par des traits horizontaux sur l'afficheur multifonction. Un trait indique l'écart le plus petit et cinq traits indiquent l'écart le plus grand. Ces traits apparaissent en pointillé en mode veille tandis qu'il s'agit de traits pleins en mode activé.
Si aucun véhicule n'est détecté à l'avant, seul votre véhicule apparaît alors à l'écran sous les traits. Le système maintient la vitesse réglée lorsque les conditions le permettent. L'écart programme est conservé et affiché.
Si un véhicule est détecté par le capteur, un autre véhicule apparait à l'écran au-dessus des traits horizontalement.

E82312
Il s'agit alors d'un mode de suivi selon lequel le système accélère et décélère si nécessaire pour maintenir l'écart défini.
Tirer sur le commutateur E pour réduire l'écart ou sur le commutateur D pour l'augmenter. L'écart sélectionné est indiqué par le nombre de traits apparaissant à l'écran.
Note : Le réglage d'écart recommandé est de quatre ou cinq traits.
Désactivation temporaire du système
Note: Le système est neutralisé lorsque le levier de vitesse est mis en position de point mort ou si la pédale d'accélération ou l'embrayage sont enfoncés pendant un long moment.
Appuyer sur la pédale de frein ou tirer sur le contacteur F afin de neutraliser le système. Le système revient alors en mode de veille, vous permettant ainsi de reprendre le contrôle manuel de votre véhicule. La vitesse définie et la programmation de l'écart sont enregistrées en mémoire.
Tirer à nouveau sur le contacteur F pour reprendre. Le système reprendra la vitesse et la programmation d'écart précédemment définies si les conditions le permettent.
Désactivation du système
Appuyez sur le commutateur C pour désactiver le système.
Note: Lorsque vous désactivez le système en appuyant sur le commutateur C, la vitesse définie n'est pas mémorisée.
Désactivation automatique
Note: Si le régime moteur chute de manière excessive, un message apparait sur l'afficheur multifonction, indiquant d'engager un rapport inférieur (boite de vitesses manuelle uniquement). Si cette recommandation n'est pas suivie, le système passe alors en mode de désactivation automatique.
Note: Le système ne fonctionne pas lorsque le système antipatinage a été désactivé.
Le système dépend de plusieurs autres systèmes de sécurité, comme par exemple l'ABS et l'ESP. Si l'un de ces systèmes présente un mauvais fonctionnement ou réagit à une situation d'urgence, le système est automatiquement désactivé.
En cas de désactivation automatique, un signal retentit et le message apparaît à l'affichage d'informations. Voir Messages d'information (page 96). Vous devez alors intervenir et adapter votre conduite et votre vitesse aux véhicules vous précédant.
Cette désactivation automatique peut être causée par :
- un abaissement de la vitesse en-dessous de 30 km/h (20 mph)
- une perte d'adhérence des roues, température de frein trop élevée, par exemple en conduite sur des routes de montagne ou sur des routes en pente
- régime moteur trop bas
- capteur radar couvert
- frein de stationnement serré.
Avertissements
Ne jamais attendre un avertissement de collision pour intervenir. Lorsque le véhicule se déplace, il incombe au conducteur de maintenir une distance et une vitesse correctes, même lorsque le système est activé. Le système réagit uniquement en fonction des véhicules circulant devant le véhicule et dans la même direction mais il ne réagit pas en cas de véhicules lents ou stationnaires. Ne jamais conduire de manière à déclencher le système. Le système a été créé uniquement pour aider dans les situations d'urgence.
Attention
Des avertissements peuvent être déclenchés en retard, être absents ou se déclencher de manière intempestive en raison de problème de faisceau de détection. Voir Principes de fonctionnement (page 171).
Le système utilise les mêmes détecteurs radar que le régulateur de vitesse adaptatif et présente donc les mêmes limites. Voir Principes de fonctionnement (page 171).
Note: Le système d'aide au freinage d'urgence réduit la vitesse de collision uniquement si vous freinez immédiatement après l'alerte.
Note: Si la pédale de frein est enfoncée assez rapidement, la fonction de freinage intervient de manière optimale même si la force exerçée sur la pédale est faible.
Note: L'aide au freinage d'urgence prépare le système de freinage à une intervention rapide et serre légèrement les freins, ce qui peut se traduire par un faible à-coup.
Note: Les avertissements de risque de collision n'interviennent que lorsque le système est activé, toutefois l'aide au freinage d'urgence est activée en permanence et ne peut être désactivée.
Note: Le système peut être utilisé avec ou sans le régulateur de vitesse adaptatif activé.
Le système vous assiste en vous avertissant du risque d'une collision avec le véhicule vous précédant.
Le système vous envoie des alertes sonores et un avertissement visuel affiché sur l'écran d'information. Voir Messages d'information (page 96).
L'assistance de freinage est activée pour permettre une efficacité de freinage intégrale, et pour réduire la gravité d'une collision avec le véhicule précédent.
Activer et désactiver le système
Note: Lorsque le système est désactivé, un témoin reste allumé dans l'afficheur multifonction. Voir Témoins d'avertissement et indicateurs (page 83).
Note: Les réglages et le statut du système restent inchangés pendant les cycles d'allumage.
Le système peut être activé et désactivé à l'aide de l'affichage d'information. Voir Généralités (page 88).
Réglage de la sensibilité des avertissements
Il est possible de régler la sensibilité du système d'avertissement en utilisant les boutons au volant de direction. Voir Généralités (page 88). Ce réglage permet de déterminer à quel moment l'avertissement visuel et acoustique est activé.
Avertissement

Lorsque le véhicule descend une pente, la vitesse peut augmenter et dépasser la vitesse réglée. Le véhicule ne serrera pas les freins mais un signal sera émis.
Le système vous permet de définir la vitesse-limite du véhicule. La vitesse réglée sera la vitesse maximale effective du véhicule mais avec la possibilité de dépasser temporairement cette limite au besoin.
Utilisation dulimiteur de vitesse
Note: La limitation de vitesse peut être intentionnellement dépassée pendant une courte période, par exemple pour dépasser un vehicule.
La limitation de vitesse peut être intentionnellement dépassée pendant une courte période, par exemple pour dépasser un vehicule.

Augmentation de la vitesse définie
Activation/désactivation du limiteur de vitesse
Diminution de la vitesse définie
Limiteur de vitesse annuler/reprendre
Activer et désactiver le système
Appuyer sur contacteur B. L'écran d'information demandera d'entrer une vitesse.
Réglage du limiteur de vitesse
Utilisez les commandes du régulateur de vitesse pour changer le réglage de vitesse maximale.
Appuyez sur le commutateur A ou C pour sélectionner la vitesse-limite souhaitée. La vitesse est affichée sur l'afficheur multifonction et mémorisée comme la vitesse définie.
Tirer sur le contacteur D pour annuler le limiteur et le mettre en mode veille. L'écran d'information confirme la désactivation en affichant la vitesse réglée barrée.
Tirer à nouveau sur le contacteur G pour rappeler le limiteur. L'écran d'information confirme l'activation du système en affichant de nouveau la vitesse réglée.
Dépassement volontaire de la vitesse limite réglée
Enforcez complètement l'accélérateur pour désactiver temporairement le système. Le système se réactive une fois que la vitesse du véhicule est revenue en dessous de la vitesse réglée.
Avertissements du système.
Si la vitesse limite réglée est dépassée involontairement, par exemple lorsque vous conduisez en descente, l'afficheur multifonction fait clignoter la vitesse réglée et un signal sonore retentit.
Si la vitesse limite est intentionnellement dépassée, la vitesse réglée apparait barrée sur l'écran d'information.
Avertissements

Ce système ne vous exonère pas de votre responsabilité de conduire avec l'attention et les précautions qui sont les vôtres.

Vous êtes responsable à tout moment du contrôle du véhicule, du contrôle du système et de toute mention, le cas échéant.

En cas de capteur bloqué, le système peut ne pas fonctionner.

Faites régulièrement des pauses, lorsque cela est nécessaire et n'attendez pas que le système vous envoie une alerte si vous vous sentez mal.

Faites une pause seulement lorsqu'il est possible de le faire en toute sécurité.

Certains styles de conduite et comportements au volant peuvent en entraîner l'émission d'alertes par l'arme bien que vous ne soyez pas en danger.
Attention

Le système peut ne pas fonctionner par temps froid et en cas de conditions météorologiques difficiles.
La pluie, la neige, des jets ainsi que de forts contrastes d'éclairage peuvent avoir une influence sur le capteur.

Le système ne fonctionne pas si le capteur est dans l'incapacité de suivre les marquages de voie.

Il est possible que le système ne fonctionne pas dans les zones de travaux routiers.
Attention

Il est possible que le système ne fonctionne pas sur des routes avec des virages serrés ou des voies tropes.

Ne pas effectuer de réparations du pare-brise dans l'environnement direct autour du capteur.

Si votre véhicule est équipé d'un kit de suspension non approuvé par Ford, le système peut ne pas fonctionner correctement.
Note: Faites en sorte de garder le pare-brise exempt de tout corps étrangers tels que des déjections d'oiseau, des insectes, de la neige ou de la glace.
Note: Le système apporte une aide au conducteur lors de trajets sur voies rapides et autoroutes.
Note: Le système calcule un niveau d'alerte avec des vitesses supérieures à environ 65 km/h (40 mph).
Le système surveille automatiquement votre comportement au volant à l'aide de différentes entrées dont le capteur deamera avant.
Si le système détecte un endormissement ou que votre style de conduite se détériore, il vous en avertit.
Activer et désactiver le système
Note: L'état du système reste inchangé pendant les cycles d'allumage.
Activez le système à l'aide de l'afficheur multifonction. Voir Affichages d'informations (page 88).
Une fois activé, le système calcule votre niveau d'attention en fonction de votre comportement au volant et des marquages au sol ainsi que d'autres facteurs.
Avertissements du système.
Note: Le système n'émet aucune alerte lorsque le véhicule roule à une vitesse inférieure à environ 65 km/h.
Le système d'alerte se déroule en deux étapes. Le système émet tout d'abord une alerte temporaire indiquant qu'une pause devrait être faite. Ce message apparaît seulement pendant un court instant. Si aucune pause n'est faite, une autre alerte est émise et reste affichée dans l'afficheur multifonction jusqu'à ce qu'elle soit supprimée. Voir Messages d'information (page 96).
Appuyez sur OK sur la commande du volant de direction afin de supprimer le message.
Affichage du système
Lorsqu'il est actif, le système fonctionne en arrière-plan et n'émet des alertes que lorsque cela est nécessaire. Vous pouvez afficher son état à n'importe quel moment à l'aide de l'afficheur multifonction. Voir Généralités (page 88).
Le niveau d'alerte est indiqué par une barre colorée décomposée en six étapes.
E131358
Le niveau d'alerte est faible : aucune pause n'est requise.
E131359
Le niveau d'alerte est élevé : une pause doit être effectuée dès que possible et ce en toute sécurité.
La barre d'état se déplace de la gauche vers la droite lorsque le niveau d'alerte calculé augmente. Au fur et à mesure que la barre se rapproche de l'icône de pause, la couleur passe du vert au jaune, puis au rouge, indiquant alors qu'une pause doit être effectuée.
- Vert - Aucune pause n'est requise. Jaune - Première alerte (temporaire).
- Rouge - Deuxième alerte.
Note: Le niveau d'alerte est affiché en gris si le capteur deamera est dans l'incapacité de suivre les marquages de voie ou si la vitesse du véhiculeonne passe en dessous d'environ 65 km/h (40 mph).
Réinitialisation du système
Vous pouvez réinitialiser le système soit en:
Coupant et remettant le contact. - Arrêtant le véhicule, puis en ouvrant et fermant la porte conducteur.
Avertissements

Ce système ne vous exonère pas de votre responsabilité de conduire avec l'attention et les précautions qui s'imposent.

En cas de capteur bloqué, le système peut ne pas fonctionner.

Il est possible que le capteur ne puisse pas toujours détecter correctement les marquages de voie.
D'autres éléments ou objets peuvent de temps à autre être incorrectement détectés comme un marquage de voie, ce qui entraîne une erreur ou une absence d'alerte.
Attention

Le système peut ne pas fonctionner par temps froid et en cas de conditions météorologiques difficiles.
La pluie, la neige, des jets ainsi que de forts contrastes d'éclairage peuvent avoir une influence sur le capteur.

Le système ne fonctionne pas si le capteur est dans l'incapacité de suivre les marquages de voie.

Il est possible que le système ne fonctionne pas dans les zones de travaux routiers.

Il est possible que le système ne fonctionne pas sur des routes avec des virages serrés ou des voies tropiques.

Ne pas effectuer de réparations du pare-brise dans l'environnement direct autour du capteur.
Attention

Si votre véhicule est équipé d'un kit de suspension non approuvé par Ford, le système peut ne pas fonctionner nettement.
Note: Faites en sorte de garder le pare-brise exempt de tout corps étrangers tels que des déjections d'oiseau, des insectes, de la neige ou de la glace.
Note: Le système apporte une aide au conducteur lors de trajets sur voies rapides et autoroutes.
Note: Il est possible que le système ne fonctionne pas lors d'accélérations ou de freinages secs et, lorsque vous effectuez des manœuvres brusques.
Note: Le système fonctionne dès qu'un marquage de voie est détecté et suivi.
Note: Le système ne fonctionne qu'à une vitesse supérieure à environ 65 km/h.
Un capteur est monté derrière le rétroviseur intérieur. Il surveille en continu les conditions de conduite afin de vous avertir en cas de franchissement involontaire des lignes lorsque vous roulez à grande vitesse.
Le système détecte et suit automatiquement les marquages de voie. S'il détecte que le conducteur risque involontairement de franchir les délimitations de la voie, il affiche alors une alerte visuelle dans l'afficheur multifonction. Le conducteur en est également averti par le biais de vibrations dans le volant de direction.
Activer et désactiver le système
Note: Lorsque le système est désactivé, un témoin reste allumé dans l'afficheur multifonction. Voir Témoins d'avertissement et indicateurs (page 83).
Note: Les réglages et le statut du système restent inchangés pendant les cycles d'allumage.
E132099
Activer et désactiver le système à l'aide du bouton sur la tige des clignotants.
Appuyez sur le bouton pour arrêter le système. Appuyez deux fois sur le bouton pour mettre le système en marche.
Réglage du niveau de vibration du volant de direction
Le système dispose de trois niveaux d'intensité qui peuvent être sélectionnés à l'aide de l'afficheur multifonction. Voir Généralités (page 88).
Réglage de la sensibilité du système
Vous soupesez régler la vitesse du système à vous alerter d'une situation dangereuse. Le système dispose de deux niveaux de sensibilité qui peuvent être sélectionnés à l'aide de l'afficheur multifonction. Voir Généralités (page 88).
Avertissements du système.
E132651
Une colonne de marquages de voie est affichée de chaque côté de l'icône du véhicule.
Les marquages de voie suivent le code couleur suivant :
- Vert - Le système est prêt à vous alerter en cas de changement de voie involontaire.
- Le véhicule se rapproche ou est trop près de la délimitation de voie détectée. Remettre immédiatement le véhicule dans sa voie en toute sécurité.
- Gris - La délimitation de voie correspondante est supprimée.
Situations pouvant entraîner la suppression d'une délimitation de voie :
- Les marquages de la chaussée ne sont pas détectés par le capteur. L'indicateur de direction pour ce côté du véhicule est activé. Lors d'accélérations ou de freinages secs, ou si le conducteur effectue des manœuvres brusques. La vitesse du véhicule est en dehors des limites de fonctionnement.
Avertissement de démarrage sur voie
- Si l'ABS ou le contrôle dynamique de stabilité (ESP) est manipulé. Voie étroite.
Si les marquages de voie deviennent rouges ou que des vibrations se font sentir dans le volant de direction, vous devez immédiatement réagir afin de remettre le véhicule dans sa voie en toute sécurité et corriger tout écart involontaire.
Avertissements
Ce système ne vous exonère pas de votre responsabilité de conduire avec l'attention et les précautions qui s'imposent. Vous êtes responsable à tout moment du contrôle du véhicule, du contrôle du système et de toute intervention, le cas échéant. En cas de capteur bloqué, le système peut ne pas fonctionner. Il est possible que le capteur ne puisse pas toujours détecter correctement les marquages de voie. Il se peut que d'autres structures ou objets ne soient pas toujours correctement détectés, comme un marquage de voie, ce qui entraîne un avertissement erroné ou une absence d'avertissement, en combinaison avec une intervention erronée ou une absence d'intervention sur la direction. Toujours garder les mains sur le volant pour le cas où il est nécessaire de passer autre le système.
Attention
Le système peut ne pas fonctionner par temps froid et en cas de conditions météorologiques difficiles. La pluie, la neige, des jets ainsi que de forts contrastes d'éclairage peuvent avoir une influence sur le capteur.
Le système ne fonctionne pas si le capteur est dans l'incapacité de suivre les marquages de voie. Il est possible que le système ne fonctionne pas dans les zones de travaux routiers.
Attention
Il est possible que le système ne fonctionne pas sur des routes avec des virages serrés ou des voies trop étroites. Ne pas effectuer de réparations du pare-brise dans l'environnement direct autour du capteur. Si votre véhicule est équipé d'un kit de suspension non approuvé par Ford, le système peut ne pas fonctionner correctement.
Note: Faites en sorte de garder le pare-brise exempt de tout corps étrangers tels que des déjections d'oiseau, des insectes, de la neige ou de la glace.
Note: Le système apporte une aide au conducteur lors de trajets sur voies rapides et autoroutes.
Note: Il est possible que le système ne fonctionne pas lors d'accélérations ou de freinages secs et lorsque vous effectuez des manœuvres brusques.
Note: Le système fonctionne dès qu'un marquage de voie est détecté et suivi.
Note: Le système ne fonctionne qu'à des vitesses du véhicule comprises entre 65 km/h (40 mph) et 180 km/h (112 mph).
Note: Si le système ne détecte pas une entrée de direction active par le conducteur, il sera temporairement désactivé jusqu'à ce que vous reprenez le contrôle. Le système vous alerte avec un avertissement sonore et un message à l'affichage.
Un capteur est monté derrière le rétroviseur intérieur. Il surveille en continu les conditions de conduite afin de vous avertir en cas de franchissement involontaire des lignes lorsque vous roulez à grande vitesse.
Le système détecte et suit automatiquement les marquages de voie. S'il détecte que le conducteur risque involontairement de franchir les délimitations de la voie, il affiche alors une alerte visuelle dans l'afficheur multifonction. Le système applique aussi automatiquement un couple de direction pour corriger la trajectoire du véhicule. Si le système est incapable de corriger la trajectoire du véhicule, il émet un avertissement de changement de voie. Voir Utilisation de l'avis de démarrage sur voie (page 182).
Activer et désactiver le système
Note: Le système est coupé par défaut.
Note: Si le système a été activé, l'avertissement de changement de voie est mis par défaut.
E132099
Activer et désactiver le système à l'aide du bouton sur la tige des clignotants.
Appuyez trois fois sur le bouton pour permettre le système en marche. Appuyez à nouveau sur le bouton pour arrêter le système.
Avertissements du système.
E132651
Une colonne de marquages de voie est affichée de chaque côté de l'icône du véhicule.
Les marquages de voie suivent le code couleur suivant :
- Vert - Le système est prêt à vous avertir en cas de changement de voie involontaire. Jaune - Le système applique automatiquement un couple de direction pour aligner la trajectoire du véhicule et pour corriger toute dérive de voie involontaire.
- Rouge - Le véhicule se rapproche ou est trop près de la délimitation de voie détectée. Un avertissement est émis sous forme d'une vibration sentie à travers le volant de direction. Remettre immédiatement le véhicule dans sa voie en toute sécurité.
- Gris - La délimitation de voie correspondante est supprimée.
Situations pouvant entraîner la suppression d'une délimitation de voie :
- Les marquages de la chaussée ne sont pas détectés par le capteur. L'indicateur de direction pour ce côté du véhicule est activé.
Lors d'accélérations ou de freinages secs, ou si le conducteur effectue des manœuvres brusques. La vitesse du véhicule est en dehors des limites de fonctionnement - Si l'ABS ou le contrôle dynamique de stabilité (ESP) est manipulé. Voie étroite.
Note: Il est possible d'outrepasser le système à tout moment pendant son fonctionnement en tournant le volant de direction.
Avertissements

Ce système ne vous exonère pas de votre responsabilité de conduire avec l'attention et les précautions qui s'imposent.

En cas de capteur bloqué, le système peut ne pas fonctionner.
Attention

Le système peut ne pas fonctionner par temps froid et en cas de conditions météorologiques difficiles. La neige, des jets ainsi que de forts rayons d'éclairage peuvent avoir une influence sur le capteur.

Ne pas effectuer de réparations du pare-brise dans l'environnement direct autour du capteur.

Si votre véhicule est équipé d'un kit de suspension non approuvé par Ford, le système peut ne pas fonctionner correctement.

Toujours poser des pièces d'origine Ford lors du remplacement des ampoules de phares. L'utilisation des ampoules peut diminuer les normes du système.
Note: Faites en sorte de garder le pare-brise exempt de tout corps étrangers tels que des déjections d'oiseau, des insectes, de la neige ou de la glace.
Note: Il se peut que le système ne détecte pas tous les panneaux de circulation.
Note: Le système est conçu pour détecter des panneaux correspondant à la convention de Vienne.
Un capteur est monté derrière le rétroviseur intérieur. Il surveille en continu les panneaux routiers afin de vous avertir de la limite de vitesse autorisée et des règles de dépassement.
Le système détecte automatiquement les panneaux routiers reconnaissables, par exemple les panneaux de limitation de vitesse et les panneaux d'annulation de limite de vitesse.
Activer et désactiver le système
Note: Les réglages et le statut du système restent inchangés pendant les cycles d'allumage.
Le système peut être activé et désactivé à l'aide de l'affichage d'information. Voir Généralités (page 88).
Réglage de l'accélération de vitesse du système
Le système présente une série de niveaux d'avertissement de vitesse pouvant être réglés à l'aide de l'affichage d'information. Voir Généralités (page 88).
Affichage du système


E132994
Il se peut que le système affiche deux panneaux de circulation en parallèle.
Vous pouvez afficher son état à n'importe quel moment à l'aide de l'afficheur multifonction.
L'affichage du système est en quatre étapes, comme suit :
- Tous les nouveaux panneaux routiers reconnaissables apparaissent plus clairement que les autres panneaux à l'affichage.
- Après une durée prédéterminée, ils sont affichés normalement.
- Avec une distance prédéterminée, ils sont affichés en grisés.
- Après une autre distance prédéterminée, ils sont effacés.
Si un panneau routier supplémentaire est détecté, par exemple un panneau de réduction de la limitation de vitesse en cas de chaussée humide, il n'est pas affiché, mais apparaît sous forme de boîte vide sous le panneau respectif.
Avertissements

Ce système ne vous exonère pas de votre responsabilité de conduire avec l'attention et les précautions qui sont les vôtres.

Vous êtes responsable à tout moment du contrôle du véhicule, du contrôle du système et de toute mention, le cas échéant.

Ne regardez jamais directement vers le capteur avec toute sorte d'objet, vous risquez de vous blesser les yeux.

En cas de capteur bloqué, le système peut ne pas fonctionner.

Pour atteindre des performances optimales, le système de freinage doit être rôdé. Voir Rodage (page

La performance du système peut varier en fonction de l'état du véhicule et de la route.

Le système ne réagit pas aux véhicules allant dans une autre direction.

Le système ne réagit pas aux bicyclettes, vélomoteurs, piétons ou animaux.

Lorsque l'allumage est mis, le capteur transmet constamment un faisceau laser.

Le système ne fonctionne pas pendant une accélération et une direction brutes.

Le système peut ne pas fonctionner par temps froid et en cas de conditions météorologiques difficiles.
La pluie, la neige, des jets et la glace peuvent avoir un effet sur le capteur.
Avertissements

Ne pas effectuer de réparations du pare-brise dans l'environnement direct autour du capteur.

Si votre véhicule est équipé d'un pare-brise non agréé par nous, il se peut que le système ne fonctionne correctement.

Si le moteur s'arrête après l'activation du système, les yeux de détresse sont actifs.

Le système peut ne pas fonctionner pendant la conduite dans des virages serrés.
Note: Faites en sorte de garder le pare-brise exempt de tout corps étrangers tels que des déjections d'oiseaux, des insectes, de la neige ou de la glace.
Note: Veillez à ce que le capot soit exempt de glace et de neige, sinon il se peut que le système ne fonctionne pas correctement.
Un capteur est monté derrière le rétroviseur intérieur. Il surveille en continu les conditions pour décider quand intervenir.
Le système est conçu pour vous aider à réduire les collisions à basse vitesse par l'arrière d'un autre véhicule. Il vous aide aussi à réduire les endommagements dus à un chic ou évite carrément qu'une collision puisse survenir.
Le système fonctionne à des vitesses inférieures à environ 30 km/h (19 mph) en serrant les freins lorsque le capteur détecte qu’une collision est probable.
Vous devez enfoncer la pédale de frein pour obtenir la totalité de la force de freinage.
Si le système freine ou si les freins sont serrés automatiquement, un message s'affiche à l'écran.
Pour des informations et des données relatives au capteur laser : Voir Homologations de types (page 367).
Avertissement

Ne regardez jamais directement vers le capteur avec toute sorte d'objet, vous risquez de vous blesser les yeux.
Activer et désactiver le système
Note: Le système est activé par défaut.
Note: Dans certaines situations, il peut être recommandé de désactiver le système, par exemple en conduite tout terrain ou des objets peuvent recouvrir le pare-brise.
Activer et désactiver le système à l'aide de l'affichage d'informations. Voir Généralités (page 88).
Avertissements

Ne regardez jamais directement vers le capteur avec toute sorte d'objet, vous risquez de vous blesser les yeux.

En désactivant le contrôle de stabilité, vous désactivez aussi Active city stop. Un message apparait sur l'écran.
Activer et désactiver le système
Note: Le système est activé par défaut.
Note: Dans certaines situations, il peut être recommandé de désactiver le système, par exemple en conduite tout terrain où des objets peuvent recouvrir le pare-brise.
Activer et désactiver le système à l'aide de l'affichage d'informations. Voir Généralités (page 88).
Avertissements

Utilisez des sangles d'amarrage conformes à une norme, par exemple DIN.

Fixez solidement tous les objets mobiles.

Placez les bagages et autres objets aussi bas et vers l'avant que possible dans l'espace de chargement.

Ne conduisez pas avec le hayon ou la porte arrière ouverte. Les fumées d'échappement peuvent pénétrer le véhicule.

Ne dépassez pas la charge maximale des essieux avant et arrière de votre véhicule. Voir Identification du culé (page 259).

Lorsque des charges lourdes sont placées dans l'habitacle, les poser sur les sièges arrière rabattus comme é. Voir Sièges arrière (page 126).
Attention

Veillez à ce qu'aucun objet ne puisse venir en contact avec les vitres arrière.

N'utilisez pas de matériaux abrasifs pour nettoyer l'intérieur des vitres arrière.

Ne posez pas d'autocollant ou d'étiquette sur l'intérieur des vitres arrière.
E97377
POINTS d'ancrage des bagages
E132901
Soulever le volet pour accéder au point d'ancrage.
Avertissement

Ne pas disposer d'objets sur la tablette arrêtée.
3 portes et 5 portes
Clipper E72969
Tirer le couvre-bagages et le verrouiller dans les points de fixation.
Le détacher des points de fixation et le laisser s'enrouler dans son logement. Fixer le crochet de retenue sur le boîtier.

Avertissement

Sur les véhicules Clipper, les points d'ancrage du fil de retenue des bagages ne sont pas installés
derrière les sièges de la première rangée, mais derrière ceux de la seconde rangée.
Pour la pose de la cassette du filet de retenue d'espace de chargement :
Déposer la tablette arrière.
Tirer les curseurs de la cassette l'un vers l'autre et engager la barre télescopique dans les logements des parois latérales de la caisse derrière les dossiers de siège arrière.
S'assurer que les embouts avec l'axe anti-rotation sont correctement en place dans le garnissage.
E78834
Tirer le filet vers le haut et engager les extrémités de la barre sur les fixations du pavillon.
Veiller à repousser la barre vers l'avant dans la section étroite des fixations.
Avertissement

Après avoir mis en place la cassette, appuyer sur l'avant de la tablette arrière pour la ramener dans sa
position d'origine (vers l'avant) afin de ne pas générer la vision du conducteur dans la lunette arrière.
Remettre en place la tablette arrière.
Procéder à la dépose dans l'ordre inverse des opérations de pose.
Fichier d'espace de chargement E78835
A Avec anneaux d'arrimage B Sans anneaux d'arrimage
Le filet d'espace de chargement peut être utilisé pour éviter que des objets ne glissent dans l'habitacle.
Fixer les crochets situés à chaque angle du filet sur les quatre fixations du plancher de coffre.
Attention

Maintenir une distance d'au moins 1 cm entre la cloison grillagée et les sièges devant.
Pose derrière les sièges avant
- Pousser les extrémités de la barre sur la grille l'une vers l'autre et les insérer dans les retenues sur le toit. Pousser la barre vers l'avant dans la partie étroite des retenues.

- Fixer la grille sur les points d'ancrage inférieurs. Ne pas serrer les vis.

- Fixer la grille sur la barre inférieure avec les molettes. Ne pas serrer les boutons molettes.
- Serrer les vis au niveau des points d'ancrage inférieurs.
- Serrer les molettes.
Pose derrière les sièges arrière
- Pousser les extrémités de la barre sur la grille l'une vers l'autre et les insérer dans les retenues sur le toit. Pousser la barre vers l'avant dans la partie étroite des retenues.



- Déposez deux vis des deux points d'ancrage de bagages. Voir Points d'ancrage des bagages (page 191).
- Fixez la barre inférieure sur la grille avec les molettes. Ne pas serrer les boutons molettes.
- Fixez la barre inférieure de la cloison grillagée pour chien sur les points d'ancrage de bagages, fixez à l'aide des vis neuves fournies.
- Serrer les molettes.
Procéder à la dépose dans l'ordre inverse des opérations de pose.
Avertissements
Le montage d'une galerie de toit augmente la consommation de carburant du véhicule et peut affecter son comportement. Sur les véhicules équipés d'un moteur 2.0L EcoBoost SCTi (MI4), ne pas désactiver le contrôle de stabilité ou sélectionner le mode sport si vous utilisez une crémaillère de direction. Lisez et suivez les instructions du fabricant avant d'installer une galerie de toit. Ne pas dépasser la charge maximale autorisée sur le toit de 75 kilogrammes (poids de la galerie inclus).
Contrôlez la fixation de la galerie de toit et serrez les éléments de fixation comme suit :
Avant le départ. - À pros 50 kilomètres (30 miles). Tous les 1000 kilomètres (600 miles).
Pour réduire la consommation de carburant, les traverses doivent être déposées si elles ne sont pas utilisées.
Avertissements
Répartir la charge uniformément sur l'espace de chargement et maintenir le centre de gravité aussi bas que possible. Arrimez solidément la charge sur la galerie afin d'éviter tout glissement. Ne disposez jamais de charge directement sur le pavillon.
Avertissements

Déposez les traverses avant d'amener le véhicule dans une station de lavage automatique.
Note: Les glissières de galerie sont conçues de manière à permettre le montage de traverses (pour la fixation de porte-vélos, porte-skis, etc.) issues de la gamme des accessoires Ford.
Note: Avant de mettre en place les traverses, nettoyez les glissières avec une éponge et de l'eau.
Note: Positionnez les traverses comme illustré.

A 515 mm (20 pouces)
B 750 mm (30 pouces)

Note: Des tampons adhésifs sont fournis pour aider à réduire les bruits de tremblement.
Note: S'assurer que la surface des traverses est propre avant d'attacher les tampons adhésifs.
- Retirer la plaque et attacher les tampons adhésifs aux traverses dans les positions montrées.

- Insérer la clé. Tourner la clé dans le sens contraire des aiguilles d'une montre.
- Déposez le cache.
- Desserrer les vis.

- Poser les bandes de caoutchouc dans les positions illustrées.

Note: Veiller à ce qu'il n'y ait aucun espace entre la traverse et le brancard(A).
- Poser les traverses.
- Serrer les vis jusqu'à entendre un déclic.
- Poser le couvercle. Pour verrouiller, tournez la clé dans le sens des aiguilles d'une montre.
- Retirez la clé.
Montage d'une boite de toit
E135141
S'assurer que les tampons adhésifs ne sont pas en contact avec la vis de montage.
Avertissements

Le véhicule Focus ECOnetic n'est pas approuvé pour le remorquage.

Ne pas dépasser 100 km/h (62 mph).

Augmenter la pression des pneus arrière de 0,2 bar (3 psi) au-dessus de la valeur prescrite. Voir
Spécifications techniques (page 254).

Ne dépassez pas le poids total roulant maximal du véhicule indiqué sur la plaque d'identification du véhicule. Voir Identification du véhicule (p. 259).

Ne pas dépasser le poids maximal autorisé à l'avant (poids vertical sur la boule de remorquage).
Note: Nous vous recommandons d'acheter un kit de remorquage à votre concessionnaire. Faute de quoi le moteur risquerait d'être endommagé.
Note: Tous les véhicules ne sont pas prévus ou homologués pour être équipés de barres de remorquage. Renseignez-vous auprès du concessionnaire au préalable.
Placez les charges sur une position aussi basse et aussi centrale que possible par rapport à l'essieu/aux essieux de la remorque. Si vous remorquez avec un véhicule non chargé, la charge dans la remorque doit être placée vers l'avant, dans les limites maximales permises à l'avant de la remorque pour tenir la meilleure stabilité.
La stabilité de l'ensemble véhicule et remorque dépend en grande partie de la qualité de la remorque.
Dans des régions à haute altitude (supérieure à 1000 mètres), le poids total roulant maximal autorisé stipulé doit être réduit de 10% tous les 1000 mètres.
Avertissement

Les freins de la remorque ne sont pas commandés par le système ABS.
Rétrogradez avant d'aborder une descente raide.
Avertissement

Votre véhicule n'est pas approuvé pour le remorquage.
Avertissement

Un signal sonore retentit lorsque la boule de remorquage n'est pas située dans l'une des positions quillées. L'avertissement sonore cesse après 30 secondes. Si la tonalité ne se fait entendre lors du mouvement du bras boule de remorquage ou lors de la vation du système, ne pas utiliser la d'attelage et la faire contrôler par un professionnel compétent.
Attention

Bouger uniquement le bras de boule de remorquage avec la main. Ne jamais utiliser le pied ou des outils liées car cela pourrait entraîner des dommages au mécanisme.

Une prise de remorque à 13 broches A est montée sous le pare-chocs arrière proche du bras de boule de remorquage B.
Attention
Ne pas toucher le bras de boule de remorquage pendant le processus de déverrouillage.
Note: Si le processus de déverrouillage est interrompu, notamment par un obstacle ou la perte d'alimentation électrique, le système doit être réinitialisé. Pour réinitialiser le système, répétez le processus de déverrouillage.
Note: Le témoin dans le contacteur est allumé lorsque le système est activé.
Les conditions suivantes doivent être remplies avant de déverrouiller le bras de boule de remorquage :
Le couvercle de coffre/hayon doit être ouvert. L'allumage doit être coupé. Aucune fiche ne doit être connectée à la prise de remorque à 13 broches. La tension batterie doit être supérieure à 11 volts.

- Appuyez sur le bouton pour activer le système.
- Appuyez à nouveau sur le bouton dans les quatre secondes qui suivent pour déverrouiller le bras de boule de remorquage.

Le bras de boule de remorquage s'abaisse automatiquement.
Si le bras de boule de remorquage ne se libère pas, appuyer de nouveau sur le bouton pendant 15 secondes.
Avertissement
S'il ne se dégage toujours pas, ne pas utiliser la barre d'attelage et la faire contrôler par un technicien compétent.
Pivotement du bras de boule de remorquage vers l'extérieur

Déplacer le bras de boule de remorquage jusqu'en position d'utilisation. Le bras de boule de remorquage se verrouille automatiquement en position d'utilisation. Le processus de verrouillage est parfaitement audible et l'avertissement sonore s'arrête.
Attention
Avant de faire pivoter le bras de boule de remorquage vers l'intérieur, toujours décharger la remorque ou démonter les porte-charges et leurs fixations. Démonter les fixations pour améliorer la stabilité en position ligne droite du véhicule. Déposer la fiche pour l'alimentation électrique de remorque et l'adaptateur de la prise. Le non-respect de ces consignes peut entraîner l'endommagement du pare-chocs.
- Libérer le bras de boule de remorquage. Voir le déverrouillage du bras de boule de remorquage.

- Le bras de boule de remorquage s'abaisse automatiquement.

- Déplacer le bras de boule de remorquage jusqu'à la butée, en position de rangement. Le bras de boule de remorquage se verrouille automatiquement en position de rangement. Le processus de verrouillage est parfaitement audible et l'avertissement sonore s'arrête.
Anomalies
Si le bouton de déverrouillage du bras de boule de remorquage est éclairé ou si un avertissement retentit lorsque le contact est en position II, répéter le processus de déverrouillage.
Si le bras de boule de remorquage est abaissé au cours du processus de déverrouillage, le système s'immobilise pour éviter tout état de surcharge. Pour réinitialiser le système, appuyer sur le bouton de déverrouillage pendant 15 secondes.
Avertissements

En cas de panne du véhicule, débrancher la remorque avant de remorquer le véhicule.

Si l'une des conditions suivantes ne peut être remplie, ne pas utiliser la barre d'attelage et la faire contrôler par un technicien compétent.
Vérifiez le bon verrouillage de la boule de remorquage avant de prendre la route. Vérifier que:
- aucune tonalité d'alerte ne se fait entendre lorsque la procédure de verrouillage est terminée. Le bras de boule de remorquage est verrouillé. Elle ne doit pas bouger lorsqu'on la secoue.
Attention

La barre de remorquage et le boitier de commande ne nécessitant aucun entretien. Ne pas les graisser ou les fier.

Seul le fabricant doit effectuer les réparations ou démonter la barre de remorquage.

Lors du nettoyage du véhicule avec un jet haute pression, ne pas orienter le jet directement sur le joint articulé ras de boule de remorquage.
Avertissements

Lorsqu'elle n'est pas utilisée, toujours fixer solidement la boule de remorquage dans le coffre à gaz.

La pose de la boule de remorquage doit être effectuée avec un soin particulier car la sécurité du véhicule et de la remorque en dépend.

Ne pas utiliser d'outil pour le montage ou le démontage de la boule de remorquage. Ne pas fier l'attelage de la remorque. Ne pas conter ni tenter de réparer la boule de rquage.
E71328
Une prise de remorque à 13 broches et le siège de la boule de remorquage sont montés sous le pare-chocs arrière. Tourner la prise de remorque de 90 degrés vers le bas jusqu'à ce qu'elle s'engage dans la position d'extrémité.
Déverrouillage du mécanisme de boule de remorquage
E71329
- Déposer le chapeau de protection (1). Insérer la clé et la tourner dans le sens des aiguilles d'une montre pour déverrouiller (2).
- Maintenir la boule de remorquage. Tilter la molette et la tourner dans le sens des aiguilles d'une montre jusqu'à ce qu'un déclic se fasse entendre (3).
- Le repère rouge sur la molette doit coïncider avec le repère vert sur la boule de remorquage.
- Relâcher la molette. La boule de remorquage est déverrouillée.
Mise en place de la boule de remorquage
E71330
Avertissement

La boule de remorquage ne peut être insérée que si elle est complètement déverrouillée.
- Dégager le bouchon.
- Insérer la boule de remorquage à la verticale et la pousser vers le haut jusqu'à ce qu'elle s'engage (1). Ne pas laisser la main à proximité de la molette.
- Le repère vert sur la molette doit coïncider avec le repère vert sur la boule de remorquage.
- Pour verrouiller, tourner la clé dans le sens contraire des aiguilles d'une montre et retirer la clé (2).
- Retirer le bouchon de protection de la tête de la clé et l'enfoncer sur le verrouillage.
Conduite avec une remorque
Avertissement

Si l'une des conditions suivantes ne peut pas être remplie, ne pas utiliser la barre d'attelage et la faire réviser par un technicien compétent.
Vérifier le bon verrouillage de la boule de remorquage avant de prendre la route. Vérifier que:
les repères verts sont alignés - la molette (A) est correctement montée sur le bras de boule de remorquage ; la clé (B) a été retirée - la boule de remorquage est solidement positionnée. Elle ne doit pas bouger lorsqu'on la secoue.
Dépose de la boule de remorquage
E71332
- Dételer la remorque.
- Retirer le capuchon de protection. Encaisser le capuchon de protection dans la tête de la clé. Insérer la clé et déverrouiller (1).
- Maintenir la boule de remorquage. Extraire la molette, la tourner dans le sens des aiguilles d'une montre contre la butée (2) et déposer la boule de remorquage (3).
- Relâcher la molette.
Lorsqu'elle est déverrouillée de cette manière, la boule de remorquage peut être réintroduite à tout moment.
Conduite sans remorque
E94771
- Déposer la boule de remorquage.
- Insérer le bouchon dans son logement (1).
Avertissement

Ne jamais déverrouiller le bras de la boule de remorquage lorsque la remorque est fixée.
Avertissement

Avant de nettoyer le véhicule au jet haute pression, déposer la boule de remorquage et protéger son siège avec le capuchon.
Assurer la propriété du système d'attelage. Graisser périodiquement les paliers, surfaces de glissement et billes de verrouillage avec de la graisse, de la résine ou de l'huile et le verrouillage avec de la graisse graphitée.
En cas de perte, des clés de rechange sont disponibles auprès du constructeur (indiquer le numéro du barillet de serrure).
Avertissement

Les pneus neufs doivent être rodés sur une distance d'environ 500 km.
Pendant cette période, le comportement routier du véhicule peut être différent.
Avertissement

Dans la mesure du possible, éviter l'utilisation intensive des freins et de l'embrayage au cours des 150
premiers kilomètres en ville et des premiers 1500 kilomètres sur autoroutes.
Attention

Eviter de conduire trop rapidement pendant les 1500 premiers
kilomètres. Variez fréquemment la vitesse du véhicule et passez les rapports relativement tôt. Ne faites pas pénal le moteur.
Precautions nécessaires par temps FROID
Il se peut que le fonctionnement de certains composants et systèmes soit affecté à des températures inférieures à -30°C (-22^)
Attention
La conduite dans l'eau est possible en cas d'urgence uniquement et en aucun cas dans des conditions de conduite normales. Si de l'eau pénétre dans le filtre à air, le moteur peut être endommagé.
En cas d'urgence, le vehicule peut rouler dans une profondeur d'eau maximum de 200 millimetres (8 inches) et à une vitesse maximum de 10km / h (6 mph). Prendre d'extrêmes précautions en conduisant dans un courant d'eau.
Conduire à faible vitesse et ne pas stopper le véhicule dans l'eau. Après avoir conduit dans l'eau et dès que les conditions de sécurité le permettent :
Enfoncer légèrement la pédale de frein et vérifier s'il est possible d'obtenir un freinage maximal. Vérifier que l'avertisseur sonore fonctionne. Vérifier que l'ensemble de l'éclairage du véhicule fonctionne correctement. Vérifier que la direction assistée fonctionne correctement.
Trousse de premiers secours
Un espace est prévu dans le coffre à bagages.
Triangledesignalisation
Un espace est prévu dans le coffre à bagages.
Boîte à fusibles du compartiment moteur
La boîte à fusibles est placée dans le compartiment moteur. Voir Entretien (page 219).
Boîte à fusibles de l'habitacle
E130170
E130171
Berline 4 portes
E135336
Berline 5 portes
E135337
- Pincer les clips de fixation pour dégager le couvercle.
- Abaisser le couvercle du boîtier à fusibles et le tirer vers vous.
Effectuer la répose en inversant les opérations de la dépose.
Clipper E135338
Ne modifiez pas les circuits électriques de votre véhicule de quelque manière que ce soit. Faire des modifications aux circuits électriques et remplacer les fusibles à haute intensité n'est pas à faire par un technicien compétent.
Avertissements

Coupez le contact et tous les équipements électriques avant de toucher ou de tenter de changer une.
Attention

Posez un fusible de remplacement de la même intensité que celui retiré.
Note: Un fusible grillé se reconnaît à la rupture de son filament.
Note: Tous les fusibles, sauf les fusibles à haute intensité, sont interchangeables.
Note: Un extracteur de fusible est placé dans la boîte à fusibles du compartiment moteur.
Boîte à fusibles du compartiment moteur
E129925
| Fusible | Intensité | Circuit protégé |
| 7 | 40 | Pompe du système de freinage antiblocage, pompe du module de contrôle de stabilité |
| 8 | 30 | Vanne du module de contrôle de stabilité |
| 9 | 30 | Lunette arrêtée chauffante |
| 10 | 40 | Soufflerie de chauffage |
| 11 | 30 | Module de démarrage/arrêt |
| 12 | 30 | Systèmes de gestion moteur, relais de recirculation des gaz d'échéppement |
| 13 | 30 | Relais de démarreur |
| 14 | 40 | Pare-brisechauffant (côtédroit) |
Fusibles
| Fusible | Intensité | Circuit protégé |
| 15 | 25 | Module de régulateur de vitesse, ventilateur de refroidissement intermédiaire - 1.0L EcoBoost |
| 16 | 40 | Pare-briseCHAUFFANT (côté gauche) |
| 17 | 20 | Chauffage auxiliaire à la flamme |
| 18 | 20 | Essuie-glaces |
| 19 | 5 | Pompe du système de freinage antiblocage, pompe du module de contrôle de stabilité |
| 20 | 15 | Avertisseur |
| 21 | 5 | Contacteur de feuistop |
| 22 | 15 | Système de surveillance de pile |
| 23 | 5 | Bobines relais, module de commutateur d'éclairage |
| 24 | 20 | Sortie de courant arrêté |
| 25 | 10 | Rétrouviseurs extérieurs à réglage électrique |
| 26 | 15 | Module de commande de la transmission automatique |
| 27 | 15 | Embrayage de climatisation |
| 28 | 5 | Régulateur de vitesse adaptif |
| 29 | 20 | Lave-phares |
| 30 | 5 | Module de gestion moteur |
| 31 | - | Non utilisé |
| 32 | 10 | Clapet de recirculation des gaz d'échéappement, vannes de commande de turbulences, capteur HEGO (gestion moteur), relais de module de commande de ventilateur électronique (bobine), module de fonctionnement sur pompè à eau - 1.0L EcoBoost |
| 33 | 10 | Soupapes de commande moteur, soupape de purge de cartouche, vanne de commande turbo, capteur d'eau dans le carburant, bobines d'allumage - 1.0L EcoBoost |
| 34 | 10 | Injecteurs, relais d'évaporateur, soupape de purge de cartouche |
| 35 | 5 | Obturator de grille actif (moteur essence), relais de fonctionnement sur pompe à eau, relais de ventilateur de refroidissement intermédiaire |
| 35 | 15 | Obturator de grille actif et dispositif de chauffage de filtre (moteur diesel) |
| 36 | 10 | Module de gestion moteur |
| 37 | - | Non utilisé |
| 38 | 15 | Module de gestion moteur, module de commande de transmission |
| 39 | 5 | Module de commande de phare (réglage en hauteur des halogènes) |
| 40 | 5 | Direction assistée électrique |
| 41 | 20 | Module de commande de carrosserie |
| 42 | 15 | Essue-glace arrêté |
| 43 | 15 | Module de commande de phare (réglage en hauteur de la décharge à haute intensité), unité d'éclairage avant adaptatif |
| 44 | 5 | Régulateur de vitesse adaptif |
| 45 | 10 | Gicleurs de lave-glaces chauffants |
| 46 | 25 | Vitres électriques (avant) |
| 47 | 7,5 | Rétroviseurs extérieurs chauffants |
| 48 | 15 | Evaporateur |
Boîte à fusibles de l'habitacle


| Fusible | Intensité | Circuit protégé |
| 56 | 20 | Alimentation de la pompe d'alimentation |
| 57 | - | Non utilisé |
| 58 | - | Non utilisé |
| 59 | 5 | Alimentation système antivol passif |
| 60 | 10 | Eclairages interieurs, pack de contacteur de porte conduc-teur, boîte à gants, éclairage ambiant, toit ouvrant à commande électrique |
| 61 | 20 | Allume-cigares, sortie prise de courant arrêté |
| 62 | 5 | Module de capteur de pluie, capteur d'humidité, rétroviseur anti-éblouissement |
| 63 | 10 | Régulateur de vitesse adaptif |
| 64 | - | Non utilisé |
| 65 | 10 | Déverrouillage de couvercle de coffre à bagages |
| 66 | 20 | Serrure de porte du conducteur, double verrouillage |
| 67 | 7,5 | Connectivité de l'afficheur multifonction, GPS, commande vocale de téléphone Bluetooth |
| 68 | 15 | Verrou électrique de colonne de direction |
| 69 | 5 | Combiné des instruments |
| 70 | 20 | Verrouillage centralisé |
| 71 | 10 | Air conditionné |
| 72 | 7,5 | Module de commande de volant de direction |
| 73 | 5 | Avertisseur sonore à la batterie (système d'alarme), système de diagnostic embarquè |
| 74 | 15 | Feux de route |
| 75 | 15 | Projecteurs antibrouillard |
| 76 | 10 | Feu de recul |
| 77 | 20 | Pompe de lave-glace |
| 78 | 5 | Commutateur d'allumage ou bouton de démarrage |
Fusibles
| Fusible | Intensité | Circuit protégé |
| 79 | 15 | Autoradio, boutons de feu des détresse et de serrure de porte |
| 80 | 20 | Toit ouvrant à commande électricque |
| 81 | 5 | Détector de mouvement dans l'habitacle, récepteur de fréquence radio |
| 82 | 20 | Masse pompe de lave-glace |
| 83 | 20 | Masse de verrouillage centralisé |
| 84 | 20 | Déverrouillage de porte du conducteur et masse de double verrouillage |
| 85 | 7,5 | Dispositif de chauffage de climatisation, contacteur de désaction d'airbag passager, contacteur de sièges chauffants, dispositif de chauffage auxiliaire, module de dispositif de chauffage d'air conditionné manuel |
| 86 | 10 | Système de retenue, système de désaction d'airbag passager |
| 87 | - | Non utilisé |
| 88 | - | Non utilisé |
| 89 | - | Non utilisé |
Boîte à fusibles compartiment de chargement

E129927
| Fusible | Intensité | Circuit protégé |
| 1 | - | Non utilisé |
| 2 | 10 | Module vehicule sans clé |
| 3 | 5 | Poinnées de porte vehicule sans clé |
| 4 | 25 | Module de porte (avant gauche) (lève-vitres électriques, verrouillage centralisé, rétroviseurs extérieurs électriques rabattables, rétroviseurs extérieurs chauffants) |
| 5 | 25 | Module de porte (avant droit) (lève-vitres électriques, verrouillage centralisé, rétroviseurs extérieurs électriques rabattables, rétroviseurs extérieurs chauffants) |
| 6 | 25 | Module de porte (arrière gauche) (vitres électriques) |
| 7 | 25 | Module de porte (arrière droit) (vitres électriques) |
| 8 | 10 | Système d'alarme |
| 9 | 25 | Siège à réglage électrique |
| 10 | - | Non utilisé |
| 11 | 25 | Siège électrique du passager avant - 2.0L EcoBoost - MI4 |
| 12 | 10 | Module d'air conditionné (avec module de démarrage/ arrêt) |
| 13 | 5 | Combiné des instruments (avec module de démarrage/ arrêt) |
| 14 | 7,5 | Afficheur multifonction, module GPS (avec module de démarrage/arrêt) |
| 15 | 15 | Autoradio, panneau de commande d'autoradio (avec module de démarrage/arrêt) |
| 16 | - | Non utilisé |
| 17 | - | Non utilisé |
| 18 | - | Non utilisé |
| 19 | - | Non utilisé |
| 20 | - | Non utilisé |
| 21 | - | Non utilisé |
| 22 | - | Non utilisé |
Fusibles
| Fusible | Intensité | Circuit protégé |
| 23 | - | Non utilisé |
| 24 | - | Non utilisé |
| 25 | - | Non utilisé |
| 26 | 40 | Module de remorque |
| 27 | - | Non utilisé |
| 28 | - | Non utilisé |
| 29 | 5 | Contrôle d'angle mort, aide au maintainen de trajectorie, active city stop,amera arrêté (sans module de démar- rage/arrêt) |
| 30 | 5 | Module d'aide au stationnement |
| 31 | - | Non utilisé |
| 32 | - | Non utilisé |
| 33 | - | Non utilisé |
| 34 | 15 | Siège chauffant conducteur |
| 35 | 15 | Siège chauffant passager avant |
| 36 | - | Non utilisé |
| 37 | 5 | Toit ouvrant à commande électrique |
| 38 | - | Non utilisé |
| 39 | - | Non utilisé |
| 40 | - | Non utilisé |
| 41 | 5 | Boule de remorquage rétractable |
| 42 | - | Non utilisé |
| 43 | - | Non utilisé |
| 44 | - | Non utilisé |
| 45 | - | Non utilisé |
| 46 | 10 | Contrôle d'angle mort, aide au maintainen de trajectorie,amera arrêté (avec module de démarriage/arrêt) |
Emplacement de l'anneau de remorquage
L'anneau de remorquage vissable est logé dans le logement de roue de secours.
L'anneau de remorquage doit toujours être présent dans le véhicule.
Attention
L'anneau de remorquage est du type à pas à gauche. Tournez-le dans le sens contraire des aiguilles d'une montre pour le poser. S'assurer que l'anneau de remorquage est serré à fond.
Note: Sur les véhicules munis d'une barre de remorquage, l'anneau de remorquage ne peut être posé à l'arrière du véhicule. Utiliser la barre de remorquage pour remorquer un véhicule.
Anneau de remorquage avant
E78367
Anneau de remorquage arrière
E78368
Introduire un objet adapté dans l'orifice de la partie inférieure du couvercle et soulever le couvercle en faisant levier.
Mettre en place l'anneau de remorquage.
Avertissements

Établir le contact pour le remorquage de votre véhicule, faute de quoi le verrou de direction s’engagera et les brasants et peaux stop ne fonctionneront.

L'assistance au freinage et à la direction n'est pas fonctionnelle tant que le moteur ne tourne pas.
Appuyer plus fort sur la pédale de frein et tenir compte d'un allongement des distances d'arrêt et d'un allourdissement de la direction.
Attention
Attention excessive dans la corde de remorquage pourrait endommager votre véhicule ou le véhicule tracteur. Sélectionner le point mort (N) au cours du remorquage du véhicule. En cas de panne ou de défauts mécaniques ne pas utiliser de carter d'essieu individuel. Notre véhicule doit être récupéré soit avec TOUTES les roues au sol, ou transporté avec TOUTES les roues soulevées du sol sur une plate-forme.
Le véhicule tracteur doit accélérer lentement et sans à-coups.
Attention
Au-delà d'une vitesse de 20 km/h (12 mph) et d'une distance de 20 kilomètres (12 miles), TOUTES les roues doivent être décollées du sol. Il est déconseillé de remorquer le véhicule avec les roues motrices au sol. Toutefois, s'il est nécessaire d'éloigner le véhicule d'un endroit dangereux, ne pas remorquer le véhicule à une vitesse supérieure à 20 km/h (12 mph) ou sur une distance supérieure à 20 kilomètres (12 mph). Ne pas remorquer votre véhicule à l'envers. En cas de panne ou de défauts mécaniques de la transmission, ne pas utiliser de CART d'essieu individuel. TOUTES les roues doivent être soulevées du sol sur une plate-forme. Ne pas remorquer le véhicule si la température ambiante est inférieure à 0°C (32°F).
Généralités
Faites en entretenir régulièrement votre véhicule pour le maintenir en bon état de marche et préserver sa valeur de revente. Un vaste réseau de Réparateurs Agréés Ford met sa compétence professionnelle à votre disposition. Leurs techniciens spécialement formés sont les plus qualifiés pour assurer un entretien de qualité de voiture véhicule. Ils disposent d'une vaste gamme d'outils hautement spécialisés et spécialement conçus pour l'entretien de voiture véhicule.
En plus d'un entretien régulier, nous vous recommandons d'effectuer les contrôles supplémentaires suivants.
Avertissements

Coupez le contact avant toute intervention ou tentative de réglage.

Ne pas toucher les pièces du circuit d'allumage électronique après l'établissement du contact ou que le moteur tourne. Le système de des haute tensions.

Tenez vos mains et vêtements à distance du ventilateur de refroidissement. Dans certaines situations, le ventilateur peut continuer à tourner plusieurs minutes après l’arrêt du moteur.
Attention

Lorsque des contrôles d'entretien sont effectués, s'assurer que les bouchons de remplissage sont bien fixés.
Contrôles journaliers
Eclairage extérieur. Eclairages intérieurs. Témoins et indicateurs.
Contrôler lors du ravitaillement en carburant
- Niveau d'huile moteur Voir Contrôle de l'huile moteur (page 231).
- Niveau du liquide de frein Voir Contrôle de liquide de freins et d'embrayage (page 233).
- Niveau de liquide de lave-glace. Voir Contrôle du liquide lave-glace (page 233).
- Pression de gonflage des pneus (pneus froids). Voir Spécifications techniques (page 254).
- État des pneus. Voir Jantes et pneus (page 242).
Contrôles mensuels
- Niveau de liquide de refroidissement (moteur froid). Voir Contrôle du liquide de refroidissement (page 232).
- Étanchéité des canalisations, flexibles et réservoirs.
- Fonctionnement de la climatisation.
- Fonctionnement du frein de stationnement.
- Fonctionnement de l'évaporateur sonore.
- Serrage des écrous de roue. Voir Spécifications techniques (page 254).
Ouverture du capot moteur


Déplacer le verrou jaune vers la droite.

Ouvrir le capot et le soutenir avec la béquille.
Avertissement

S'assurer que le capot est correctement fermé.
Abaisser le capot et le laisser tomber de son propre poids sur les derniers 20 à 30 cm.
VUE d'ensemble sous le CAPOT - 1.0l ecoboost

A Réservoir de liquide de frein et d'embrayage (véhicules à conduite à droite). Voir Contrôle de liquide de freins et d'embrayage (page 233). B Bouchon de remplissage d'huile moteur. Voir Contrôle de l'huile moteur (page 231). C Réservoir de liquide de frein et d'embrayage (véhicules à conduite à gauche). Voir Contrôle de liquide de freins et d'embrayage (page 233). D Batterie. Voir Batterie du véhicule (page 239). E Boîte à fusibles du compartiment moteur. Voir Fusibles (page 207). F Filtre à air. Aucun entretien nécessaire. G Jauge d'huile moteur. Voir Contrôle de l'huile moteur (page 231). H Réservoir de liquide lave-glace. Voir Contrôle du liquide lave-glace (page 233).
I Réservoir de liquide de refroidissement. Voir Contrôle du liquide de refroidissement (page 232).
Les bouchons de replissage et la jauge de niveau d'huile sont colorés pour en faciliter l'identification.
VUED'ENSEMBLESOUSLECAPOT-1.6LDURATEC-16V (SIGMA)
E130030
A Réservoir de liquide de refroidissement*: Voir Contrôle du liquide de refroidissement (page 232). B Réservoir de liquide de frein et d'embrayage (véhicule à conduite à droite) Voir Contrôle de liquide de freins et d'embrayage (page 233). C Bouchon de remplissage d'huile moteur': Voir Contrôle de l'huile moteur (page 231). D Réservoir de liquide de frein et d'embrayage (véhicule à conduite à gauche) Voir Contrôle de liquide de freins et d'embrayage (page 233). E Batterie: Voir Batterie du véhicule (page 239). F Boîte à fusibles de compartiment moteur : Voir Fusibles (page 207). G Filtre à air: Aucun entretien nécessaire.
H Jauge de niveau d'huile moteur: Voir Contrôle de l'huile moteur (page 231).
Réservoir de liquide lave-glace de pare-brise*: Voir Contrôle du liquide lave-glace (page 233).
Afin d'en faciliter l'identification, tous les bouchons de remplissage et la jauge d'huile moteur sont de couleur.
VUE D'ENSEMBLE SOUS LE CAPOT - 1.6L ECOBOOST SCTI (SIGMA)
A Réservoir de liquide de frein et d'embrayage (véhicules à conduite à droite). Voir Contrôle de liquide de freins et d'embrayage (page 233). B Bouchon de replissage d'huile moteur. Voir Contrôle de l'huile moteur (page 231). C Réservoir de liquide de frein et d'embrayage (véhicules à conduite à gauche). Voir Contrôle de liquide de freins et d'embrayage (page 233). D Batterie. Voir Batterie du véhicule (page 239). E Boîte à fusibles du compartiment moteur Voir Fusibles (page 207). F Filtre à air. Aucun entretien nécessaire. G Jauge d'huile moteur. Voir Contrôle de l'huile moteur (page 231). H Réservoir de liquide lave-glace. Voir Contrôle du liquide lave-glace (page 233).
I Réservoir de liquide de refroidissement. Voir Contrôle du liquide de refroidissement (page 232).
Les bouchons de replissage et la jauge de niveau d'huile sont colorés pour en faciliter l'identification.

Entretien
A Réservoir de liquide de frein et d'embrayage (véhicules à conduite à droite). Voir Contrôle de liquide de freins et d'embrayage (page 233). B Bouchon de remplissage d'huile moteur. Voir Contrôle de l'huile moteur (page 231). C Réservoir de liquide de frein et d'embrayage (véhicules à conduite à gauche). Voir Contrôle de liquide de freins et d'embrayage (page 233). D Batterie. Voir Batterie du véhicule (page 239). E Boîte à fusibles du compartiment moteur. Voir Tableau de spécification des fusibles (page 209). F Filtre à air. Aucun entretien nécessaire. G Jauge d'huile moteur. Voir Contrôle de l'huile moteur (page 231). H Réservoir de liquide lave-glace. Voir Contrôle du liquide lave-glace (page 233).
I Réservoir de liquide de refroidissement. Voir Contrôle du liquide de refroidissement (page 232).
Les bouchons de replissage et la jauge de niveau d'huile sont colorés pour en faciliter l'identification.
VUE D'ENSEMBLE SOUS LE CAPOT - 2.0L DURATEC-HE (MI4)
A Réservoir de liquide de refroidissement*: Voir Contrôle du liquide de refroidissement (page 232). B Réservoir de liquide de frein et d'embrayage (véhicule à conduite à droite) : Voir Contrôle de liquide de freins et d'embrayage (page 233). C Bouchon de remplissage d'huile moteur': Voir Contrôle de l'huile moteur (page 231). D Réservoir de liquide de frein et d'embrayage (véhicule à conduite à gauche) : Voir Contrôle de liquide de freins et d'embrayage (page 233). E Batterie: Voir Batterie du véhicule (page 239). F Boîte à fusibles de compartiment moteur : Voir Fusibles (page 207).
G Filtre à air : Aucun entretien nécessaire. H Jauge de niveau d'huile moteur : Voir Contrôle de l'huile moteur (page 231).
I Réservoir de liquide lave-glace de pare-brise*: Voir Contrôle du liquide lave-glace (page 233).
Afin d'en faciliter l'identification, tous les bouchons de remplissage et la jauge d'huile moteur sont de couleur.
VUE d'ensemble sous le capot-1.6L Duratorq-TDCI (DV) DIESEL

E130031
Entretien
A Réservoir de liquide de refroidissement*: Voir Contrôle du liquide de refroidissement (page 232). B Réservoir de liquide de frein et d'embrayage (véhicule à conduite à droite) Voir Contrôle de liquide de freins et d'embrayage (page 233). C Bouchon de remplissage d'huile moteur: Voir Contrôle de l'huile moteur (page 231). D Réservoir de liquide de frein et d'embrayage (véhicule à conduite à gauche) Voir Contrôle de liquide de freins et d'embrayage (page 233). E Batterie: Voir Batterie du véhicule (page 239). F Boîte à fusibles de compartiment moteur : Voir Fusibles (page 207). G Filtré à air : Aucun entretien nécessaire. H Jauge de niveau d'huile moteur': Voir Contrôle de l'huile moteur (page 231).
I Réservoir de liquide lave-glace de pare-brise*: Voir Contrôle du liquide lave-glace (page 233).
1 Afin d'en faciliter l'identification, tous les bouchons de remplissage et la jauge d'huile moteur sont de couleur.
A Réservoir de liquide de refroidissement*: Voir Contrôle du liquide de refroidissement (page 232). B Réservoir de liquide de frein et d'embrayage (véhicule à conduite à droite) Voir Contrôle de liquide de freins et d'embrayage (page 233). C Jauge de niveau d'huile moteur': Voir Contrôle de l'huile moteur (page 231). D Réservoir de liquide de frein et d'embrayage (véhicule à conduite à gauche) Voir Contrôle de liquide de freins et d'embrayage (page 233). E Batterie: Voir Batterie du véhicule (page 239). F Boîte à fusibles de compartiment moteur : Voir Fusibles (page 207). G Filtre à air: Aucun entretien nécessaire.
H Bouchon de remplissage d'huile moteur 1 : Voir Contrôle de l'huile moteur (page 231).
Réservoir de liquide lave-glace de pare-brise*: Voir Contrôle du liquide lave-glace (page 233).
Afin d'en faciliter l'identification, tous les bouchons de remplissage et la jauge d'huile moteur sont de couleur.
JAUGE DE NIVEAU D'HUILEMOTEUR - 1.0L ECOBOOST
A MIN
B MAX
JAUGE DE NIVEAU D'HUILE MOTEUR - 1.6L DURATEC-16V (SIGMA)
JAUGE DE NIVEAU D'HUILE MOTEUR - 1.6L ECOBOOST SCTI (SIGMA)
E134114
A MIN B MAX
JAUGE DE NIVEAU D'HUILE MOTEUR - 2.0L ECOBOOST SCTI (MI4)

JAUGE DE NIVEAU D'HUILEMOTEUR - 2.0L DURATEC-HE (MI4)
JAUGE DE NIVEAU D'HUILEMOTEUR - 1.6L DURATORQ-TDCI (DV) DIESEL /2.0LDURATORQ-TDCI (DW) DIESEL CONTRÔLE DE L'HUILÉ MOTEUR
Attention
Ne pas utiliser d'additifs avec l'huile moteur ou d'autres produits de protection du moteur. Dans certaines conditions, ils pourraient endommager le moteur.
Note: La consommation d'huile des moteurs neufs atteint son niveau normal après environ 5000 kilomètres.
Attention
S'assurer que le niveau se situe entre les repères MIN et MAX.
Note: Contrôler le niveau avant de démarrer le moteur.
Note: Le véhicule doit se couvrir sur une surface plane
Note: L'huile se dilate lorsqu'elle est chaude. Le niveau peut donc dépasser de quelques millimètres le repère MAX.
Retirer la jauge de niveau d'huile et l'essuyer avec un chiffon propre et non pelucheux. Remettre la jauge en place, puis la retirer de nouveau pour vérifier le niveau d'huile.
S'il est au repère MIN, faire l'appoint immédiatement.
Avertissements

- Faire l'appoint uniquement lorsque le moteur est froid. Si le moteur est chaud, patienter 10 minutes pour le refroidir.

Ne pas retirer le bouchon de remplissage lorsque le moteur est en marche.
Retirez le bouchon de remplissage.
Avertissement

Ne pas compléter le niveau d'huile au-delà du repère MAX.
Note: Essuyer immédiatement tout écoulement avec un chiffon absorbant.
Faire l'appoint avec un liquide conforme aux specifications Ford. Voir
Spécifications techniques (page 234).
Remettez le bouchon de replissage en place. Le tourner jusqu'à ce qu'une forte résistance soit perceptible.
Avertissement

Eviter tout contact du liquide avec la peau ou les yeux. Si cette situation se produit, rincer immédiatement la
partie du corps concernée avec une quantité abondante d'eau et consulter un médecin.
Attention

S'assurer que le niveau se situe entre les repères MIN et MAX.
Note: Le liquide de refroidissement se dilate lorsqu'il est chaud. Le niveau peut donc dépasser le repère MAX.
S'il est au repère MIN, faire l'appoint immédiatement.
Avertissements

Faire l'appoint uniquement lorsque le moteur est froid. Si le moteur est chaud, patienter 10 minutes pour le refroidir.

Ne pas retirer le bouchon de remplissage lorsque le moteur est en marche.

Ne pas-retirer le bouchon de remplissage lorsque le moteur est chaud. Laisser refroidir le moteur.

L'antigel non dilué est inflammable et peut s'enflammer en cas de projection sur un tube encore chaud.
Attention
En cas d'urgence, vous pouvez ajouter de l'eau dans le circuit de refroidissement pour rejoindre un garage. Faire contrôler le système par un technicien compétent dès que possible. L'utilisation prolongée d'une dilution incorrecte de liquide de refroidissement peut endommager le moteur par corrosion, surchauffe ou gel.
Desserrer le bouchon lentement. Toute la pression présente se dissipate lentement au fur et à mesure du desserrage du bouchon.
Attention
Ne pas compléter le niveau au-delà du repère MAX.
Faire l'appoint avec un mélange à 50/50 d'eau et d'antigel conforme à la norme Ford. Voir Spécifications techniques (page 234).
Avertissements

L'utilisation d'un liquide de frein autre que celui recommandé peut réduire l'efficacité du frein et ne pas correspondre aux normes de performance de
Avertissements

Eviter tout contact du liquide avec la peau ou les yeux. Si cette situation ne se produit, rincer immédiatement la partie du corps concernée avec une abondance d'eau et consulter un.

Si le niveau du liquide se situe au niveau du repère MIN, faites contrôler le circuit par un technicien formé pour cette opération le plus tôt possible.
Note: Le liquide de frein doit rester propre et sec. Une contamination par des saletés, de l'eau, des produits pétroliers ou autres matériaux peut endommager le système de freinage et provoquer des pannes.
Note: Les circuits de freins et d'embrayage sont alimentés par un réservoir commun.
Faire l'appoint avec un liquide conforme aux spécifications Ford. Voir Spécifications techniques (page 234).
Contrôle duliquide lave-glace
Note: Les lave-glaces de pare-brise et de lunette arrière sont alimentés par le même réservoir.
Lorsque vous faites l'appoint, utilisez un mélange de liquide de lave-glace et d'eau pour éviter que le liquide ne gèle en hiver et améliorer les propriétés nettoyantes. Nous vous recommandons de n'utiliser que du liquide de lave-glace de qualité.
Pour plus de détails sur la dilution du liquide, reportez-vous aux instructions du produit.
Fluides pour véhicule
Note: Utiliser des fluides qui correspondent aux spécifications ou exigences définies. L'utilisation d'autres fluides risque d'entraîner des dommages qui ne sont pas couverts par votre garantie.
| Elément | Spécification | Indice de viscosité | Fluide recommandé |
| Huile moteur - moteurs essence uniquement | WSS-M2C948-B | 5W-20 | Huile moteur Ford ou Castrol |
| Autres huile moteur - tous les moteurs essence excepté 1.0L EcoBoost | WSS-M2C913-C | 5W-30 | Huile moteur Ford ou Castrol |
| Huile moteur - moteurs diesel | WSS-M2C913-C | 5W-30 | Huile moteur Ford ou Castrol |
| Antigel | WSS-M97B44-D | - | Antigel Motorcraft Super-Plus |
| Liquide de frein | WSS-M6C65-A2 ou ISO 4925 Classe 6 | - | Liquide de frein hautes performances Motorcraft ou Ford DOT 4 LV |
Votre moteur a été conçu pour être utilisé avec les huiles moteur Ford et Castrol, ce qui permet des économies de carburant tout en assurant la longévité de votre moteur.
Appoint d'huile: S'il n'est pas possible de tracer une huile qui réponde à la Specification définie par WSS-M2C913-C ou WSS-M2C948-B (moteurs essence seulement), vous devez utiliser l'huile SAE 5W-30 qui correspond aux specifications définies par ACEA A5/B5.
L'utilisation d'autres huiles que celles spécifiées pour faire l'appoint en huile peut entraîner des périodes de démarrage plus longues, une baisse de performances du moteur, une augmentation de la consommation de carburant et du niveau des rejets polluants.
Huile moteur Castrol recommandée.

Capacités
| Version | Repère | Capacité en litres (gallons) |
| Tous les moteurs essence excepté 2.0L EcoBoost - MI4 | Réserveur du carburant | 55 (12,1) |
| 2.0L EcoBoost - MI4 | Réserveur du carburant | 62 (13,6) |
| 1.6 L Duratorq-TDCi | Réserveur du carburant | 53 (11,7) |
| 2.0L Duratorq-TDCi - DW | Réserveur du carburant | 60 (13,2) |
| Toutes | Système de lave-glace de pare-brise - avec lave-phares | 4,5 (1) |
| Toutes | Système de lave-glace de pare-brise - sans lave-phares | 3 (0,7) |
| 1.0L EcoBoost | Huile moteur - avec filtré | 4,1 (0,9) |
| 1.0L EcoBoost | Huile moteur - sans filtré | 4 (0,9) |
| 1.0L EcoBoost | Circuit de refroidissement | env. 6,3 (1.4) |
| 1.6 L Duratec-16V Ti-VCT | Huile moteur - avec filtré | 4,1 (0,9) |
| 1.6 L Duratec-16V Ti-VCT | Huile moteur - sans filtré | 3,75 (0,8) |
| 1.6 L Duratec-16V Ti-VCT | Circuit de refroidissement | env. 5,8 (1,3) |
| 1.6L EcoBoost | Huile moteur - avec filtré | 4,1 (0,9) |
| 1.6L EcoBoost | Huile moteur - sans filtré | 3,75 (0,8) |
| 1.6L EcoBoost | Circuit de refroidissement | env. 6,3 (1.4) |
| 2.0L Duratec-HE - MI4 | Huile moteur - avec filtré | 4,3 (1) |
| 2.0L Duratec-HE - MI4 | Huile moteur - sans filtré | 3,9 (0,9) |
| 2.0L Duratec-HE - MI4 | Circuit de refroidissement | env. 6,5 (1,4) |
| 2.0L EcoBoost - MI4 | Huile moteur - avec filtré | 5,4 (1,2) |
| 2.0L EcoBoost - MI4 | Huile moteur - sans filtré | 5,1 (1,1) |
| 2.0L EcoBoost - MI4 | Circuit de refroidissement | env. 8,7 (1,9) |
| 1.6 L Duratorq-TDCi | Huile moteur - avec filtré | 3,8 (0,8) |
Entretien
| Version | Repère | Capacité en litres (gallons) |
| 1.6 L Duratorq-TDCi | Huile moteur - sans filtré | 3,5 (0,8) |
| 1.6 L Duratorq-TDCi | Circuit de refroidissement | env. 7,3 (1,6) |
| 2.0L Duratorq-TDCi - DW | Huile moteur - avec filtré | 5,7 (1,3) |
| 2.0L Duratorq-TDCi - DW | Huile moteur - sans filtré | 5,4 (1,2) |
| 2.0L Duratorq-TDCi - DW | Circuit de refroidissement | env. 8.5 (1.9) |
Volumes d'appoint d'huile moteur
| Mateur | Capacité en litres (gallons) |
| 1.0L EcoBoost | 0,8 (0,2) |
| 1.6 L Duratec-16V Ti-VCT | 0,8 (0,2) |
| 1.6L EcoBoost | 0,8 (0,2) |
| 2.0L Duratec-HE - MI4 et 2.0L EcoBoost - MI4 | 0,9 (0,2) |
| 1.6 L Duratorq-TDCi | 1,6 (0,4) |
| 2.0L Duratorq-TDCi - DW | 1,8 (0,4) |
Avertissement

Si vous utilisez une station de lavage avec un cycle cire, veillez à éliminer la cire du pare-brise.
Attention

Avant d'utiliser un système de lavage auto, vérifier s'il peut être utilisé dans le cas du véhicule concerné.

Certaines stations de lavage utilisent de l'eau à haute pression. Le jet peut endommager certaines parties du véhicule.

Démontez l'antenne avant de faire passer le véhicule dans une station de lavage.

Coupez la soufflerie pour éviter une contamination du filtre d'habitacle.
Nous vous recommandons de laver votre véhicule avec une éponge et de l'eau tiède contenant un shampooing auto.
Attention

Ne rayez pas le verre des phares. N'utilisez pas non plus des abrasifs ou des solvants alcooliques ou desants chimiques pour les nettoyer.

N'essuyez pas les phares à sec.
Attention

Ne frottez pas l'intérieur de la lunette arrière. N'utilisez pas non plus d'abrasif ou de solvant chimique pour le nettoyer.
Utilisez un chiffon propre et non pelucheux ou une peau de chamois humide pour nettoyer l'intérieur de la lunette arrière.
Attention

Ne pas utiliser des produits abrasifs ou des solvants chimiques. Utiliser de l'eau savonneuse.
Nettoyage des roues en alliage
Note: Ne pas appliquer d'agent de nettoyage chimique sur des jantes et des caches de roue chauds.
Note: Les produits de nettoyage industriels (agressifs) ou agents de nettoyage chimiques combinés à l'agitation de la brosse pour éliminer les poussières et saletés de frein peuvent user la couche de finition avec le temps.
Note: Ne pas utiliser d'agent de nettoyage pour roues à base d'acide fluorhydrique ou caustique en grande quantité, de laine d'acier, de carburant ou de détergent domestique puissant.
Note: Si vous envisagez de stationner le véhicule pendant une période prolongée après avoir nettoyé les roues avec un produit de nettoyage conçu à cet effet, conduisez le véhicule pendant quelques minutes avant de l'immobiliser. Cela réduit les risques de corrosion des disques de frein, des patins de frein et des garnitures.
Note: Certains stations de lavage automatique peuvent endommager la finition de vos jantes et caches de roue.
Les roues en alliage et les caches de roue sont recouverts d'une fine peinture définition. Pour les maintenir en bon état, respecter les recommandations suivantes :
- Les nettoyer une fois par semaine avec le produit pour pneu et roue commandé. Utiliser une éponge pour éliminer l'accumulation de gros dépôts de saleté et de poussières de frein.
- Les rincer complètement à la vapeur d'eau sous pression une fois le nettoyage terminé.
Nous recommandons l'utilisation du produit de nettoyage pour roue Ford. Veiller à lire et suivre les instructions du fabricant.
L'utilisation d'autres produits de nettoyage non recommandés peut occasionner des dégâts cosmétiques graves et définitifs.
Attention
N'appliquez pas du polish sur votre véhicule sous un ensoleillement intense. Évitez tout contact du polish avec les surfaces en plastique. Il pourrait être difficile de l'enlever. N'appliquez pas de polish sur le pare-brise ou la lunette arrière. Ceci pourrait rendre les essuie-glaces bruyants et inefficaces.
Nous vous recommandons de cirer la peinture une ou deux fois par an.
Avertissements
Ne pas utiliser d'abrasifs ou de solvants pour les nettoyer. Ne pas laisser d'humidité pénétrer dans l'enrouleur de la ceinture de sécurité.
Nettoyer les ceintures de sécurité avec un produit de nettoyage pour habitacle ou de l'eau appliquée avec une éponge douce. Laisser sécher les ceintures de sécurité naturellement, sans chaleur artificielle.
Avertissement

Ne pas utiliser d'abrasifs, de solvants à base d'alcool ou de solvants chimiques pour les nettoyer.
Attention
N'utilise pas de matériel abrasifs pour nettoyer l'intérieur des vitres arrêté. Ne posez pas d'autocollant ou d'étiquette sur l'intérieur des vitres arrière.
Attention
Otez immédiatement les substances apparemment inoffensives de la carrosserie (ex : fuimes, résine, insectes, tâches de goudron, sel routier et retombées industrielles).
Réparezèsquepossiblelesdommages de peinture dus aux gravillons ou à des rayures mineures. Un choix de produits est disponible chez votre concessionnaire Ford. Lisez et suivez les instructions du fabricant.
Avertissement

N'utilisez pas les conduites de carburant, les cache-culbuteurs du moteur ou le collecteur d'admission comme points de mise à la masse.
Attention

Connectez des batteries de même tension nominale.

Utilisez toujours des câbles de démarrage d'une section appropriée et munis de pinces isolées.

Ne débranchez pas la batterie du circuit électrique du véhicule.
Raccordement des câbles de démarrage
E102925
A Véhicule avec la batterie à plat B Véhicule avec la batterie auxiliaire C Câble de démarrage positif D Câble de démarrage négatif
- Disposez les 2 véhicules de manière à ce que leur carrosserie ne soit pas en contact.
- Arrêtez le moteur et tous les consommateurs électriques.
- Raccordez la borne positive (+) du véhicule B à la borne positive (+) du véhicule A (câble C).
- Raccordez la borne négative (-) du véhicule B à la connexion de masse du véhicule A (câble D). Voir Points de branchement de batterie (page 240).
Attention
Ne branche pas le câble sur la borne négative (-) de la batterie à plat. S'assurer que les câbles ne viennent pas au contact des organes mobiles et des éléments du système d'alimentation en carburant.
Démarrage du moteur
- Faites tourner le moteur du véhicule B à un régime modérément élevé.
- Faites démarrer le moteur du véhicule A.
- Laissez tourner les moteurs des deux véhicules pendant au moins trois minutes avant de débrancher les câbles.
Attention
N'allumez pas les phares lors du débranchement des câbles. La pointe de tension qui en résulte pourrait faire griller les ampoules.
Pour le débranchement des câbles, procédez dans l'ordre inverse du branchement.
Attention
Sur les véhicules équipés d'un système d'arrêt/démarrage, les exigences imposées à la batterie sont différentes. Il faut la remplacer par une batterie correspondant exactement aux mêmes spécifications que la batterie d'origine.
Note: Le cas échéant, le système audio doit être reprogrammé avec son code antivol.
La batterie est placée dans le compartiment moteur. Voir Entretien (page 219).
Attention
Ne pas brancher le câble sur la borne négative (-) de la batterie à plat.
E130431
La connexion à la masse est située sur le côté droit de la batterie, à côté de la boîte à fusibles dans le compartiment moteur.
Attention
Utiliser exclusivement des dimensions de jantes et de pneus homologues. L'utilisation d'autres dimensions risquerait de détériorer le véhicule et d'invalider son homologation. Si vous montez des pneus d'un diamètre autre que celui d'origine, le compteur de vitesse pourrait indiquer une vitesse incorrecte. Emmenez votre véhicule chez votre concessionnaire pour faire reprogrammer le système de gestion du moteur. Si vous avez l'intention de remplacer les roues par des roues de dimensions différentes de celles d'origine, vérifiez leur conformité avec votre concessionnaire.
Note: Contrôlez régulièrement la pression de vos pneus afin d'optimiser votre consommation de carburant.
Une étiquette indiquant les pressions de gonflage est apposée sur le montant B dans la baie de la porte conducteur.
Contrôlez et corrigez la pression de gonflage à la température ambianté à laquelle vous prévoyez de conduire le véhicule et sur des pneus froids.
Écrous de roue antivol
Pour obtenir une clé pour écrou de roue antivol de rechange et des écrous de roue antivol de rechange, adressez-vous à votre concessionnaire muni du certificat de numéro de référence.
Véhicules avec roue de secours
Si la roue de secours est exactement du même type et de la même taille que les autres roues posées, il est possible de remplaçer une des roues par la roue de secours et de continuer à conduire de façon normale.
Si la roue de secours n'est pas identique aux autres roues, une étiquette jaune indiquant les limites de vitesses à respecter doit être présente.
Se reporter aux informations suivantes avant de changer une roue.
Avertissements
Effectuer un parcours aussi court que possible. Ne jamais monter simultanément plusieurs roues de secours sur un même véhicule. Ne pas effectuer de réparations sur le pneu d'une roue de secours. Ne pas faire passer le véhicule ainsi équipé dans un tunnel de lavage. Si vous ne connaissiez pas le type de roue de secours dont vous disposez, ne dépassez pas une vitesse de 80 km/h. Sur les véhicules équipés d'un moteur 2.0L EcoBoost SCTi (MI4), ne pas désactiver le contrôle de stabilité ou sélectionner le mode sport si une roue de secours-temporaire est posée sur votre véhicule. Ne poser des chaînes à neige que sur les pneus spécifiés. Voir Spécifications techniques (page 254).
Note: La garde au sol du véhicule peut être réduite. Faire attention lors des stationnements près d'un trottoir.
Note: Votre véhicule peut présenter un agrément de conduite inhabituel.
Avertissements

N'utiliser le cric fourni avec le véhicule que pour changer une roue en situation d'urgence.

Avant d'utiliser le cric, vérifier qu'il n'est pas endommagé ni déformé et que son filetage est graissé et sans impuretés.

Ne rien placer entre le cric et le sol ou entre le cric et le véhicule.
Note: Les véhicules équipés d'un kit de réparation de pneu sont dépourvus de cric et de clé pour écrous de roue.
Il est recommandé d'utiliser un cric hydraulique de type atelier pour intervenir sur les pneus et les pneus d'hiver.
Note: Utiliser un cric ayant une capacité de levage minimum de 1,5 tonne et équipé d'une plaque de levage d'au moins 80 mm (3,1 pouces) de diamètre.
Véhicules sans kit de réparation de pneu
Le cric, la clé de roue, l'anneau de remorquage vissable et l'outil de dépose de l'enjoliveur de roue sont rangés dans le logement de roue de secours.
Avertissement

N'utilise que les points de levage indiqués. L'utilisation d'autres points de levage peut causer des dégradations de la caisse, de la direction, de la suspension, du moteur, du système de freinage et des canalisations d'alimentation en carburant.


E92658
A Utilisation en cas d'urgence uniquement
B Entretien
E93302
Les indentations au niveau des seuils de porte A montrent l'emplacement des points de levage.
E92932

Avertissement

L'anneau de remorquage est du type à pas à gauche. Le tourner dans le sens contraire des aiguilles d'une
monter pour le poser. S'assurer que l'anneau de remorquage est serré à fond.

Insérer l'anneau de remorquage vissable dans la clé de roue.
Déposer l'enjoliveur de roue.

- Insérer l'outil de dépose de l'enjolivre de roue.
- Déposer l'enjolivre de roue.
Note: Veillez à tirer l'outil de dépose de l'enjoliveur de roue à angle droit par rapport à l'enjoliveur.
Avertissements

Garer le véhicule de manière à ne pas gêner les autres usagers et à ne pas vous mettre en danger.

Mettre en place un triangle de signalisation.

Veillez à ce que le véhicule soit sur une surface stable et plane, avec les roues en position ligne droite.

Coupez le contact et serrez le frein de stationnement.
Avertissements

Si le véhicule est équipé d'une boîte de vitesses manuelle, engagez la première ou la marche arrière. Si le
véhicule est équipé d'une transmission automatique, sélectionnez la position stationnement (P).

Aucun passager ne doit rester à bord du véhicule.

Bloquer la roue diagonalement opposée à l'aide d'une cale appropriée.

Veillez à ce que les flèches sur les pneus directionnels pointent dans les sens de rotation en marche avant du
véhicule. Si une roue de secours dont les flèches pointent dans le sens inverse de rotation doit être montée, faites reposer le pneu dans le sens correct par un technicien compétent.

Ne travailliez jamais sous un véhicule uniquement soutenu par un cric.

Veillez à ce que le cric soit à la verticale du point de levage et à ce que sa base soit à plat sur le sol.
Note: Ne couchez pas les jantes alliage face au sol, ce qui endommagerait la peinture.
Note: La roue de secours est située sous un panneau de plancher dans le coffre.
- Mettre en place la clé pour écrous de roue antivol.

E121887
- Débloquez les écrous de roues.
- Soulevez le véhicule jusqu'à ce que la roue soit décollée du sol.
- Déposez les écrous de roues et la roue.
Avertissements

Utiliser exclusivement les dimensions de jantes et de pneus homologuées.
L'utilisation d'autres dimensions risquerait de déterminer le véhicule et d'invalider son homologation. Voir Spécifications techniques (page 254).

Ne pas monter de pneus à roulage à plat sur des véhicules qui n'en étaient pas équipés d'origine. Veuillez
contacter votre concessionnaire pour plus de détails sur la compatibilité.
Avertissement

Ne jamais fixer des jantes en alliage au moyen d'écrous de roue prévus pour des jantes en acier.
Note: Les écrous de roues des jantes en alliage et des jantes en acier à rayons peuvent également être utilisés sur la roue de secours avec jante en acier pendant une courte période (deux semaines au maximum).
Note: Veillez à ce que les surfaces de contact de la jante et du moyeu soient exempts d'impuretés.
Note: Veiller à ce que les cônes des écrous de roue soient en contact avec la jante.
- Posez la roue.
- Posez les écrous de roue et serrez-les à la main.
- Mettre en place la clé pour écrous de roue antivol.

E75442
- Serrez partiellement les écrous de roue dans l'ordre indiqué.
- Descendez le véhicule au sol et retirez le cric.
- Serrez à fond les écrous de roue dans l'ordre indiqué. Voir Spécifications techniques (page 254).
- Poser l'enjoliveur de roue avec la paume de la main.
Avertissement

Faites le contrôle du serrage des écrous de roue et la pression de gonflage des pneus dès que possible.
KIT de mobilitétemporaire
Le véhicule peut ne pas comporter de roue de secours. Dans ce cas, il est muni d'un kit de réparation de pneu d'urgence qui peut être utilisé pour réparer un pneu crevé.
Le kit de réparation de pneu est placé dans le logement de roue de secours.
Avertissements

Selon le type et l'étendue des dommages, l'obturation pourra n’être que partielle, voire impossible.
La perte de la pression de gonflage peut affecter le comportement routier du véhicule et entraîner une perte de contrôle.

Ne pas utiliser le kit de réparation de pneu si le pneu a déjà été endommagé du fait d'un gonflage.

Ne pas utiliser le kit de réparation de pneu pour des pneus à rouage à plat.

Ne pas essayer d'obturer une crevaison située ailleurs que dans la bande de roulement visible du pneu.

Ne pas essayer de réparer une crevaison dans le flanc du pneu.
Le kit de réparation de pneu répare la plupart des crevaisons [d'un diamètre maximal de six millimètres] et permet de rétablir, temporairement, la mobilité du véhicule.
Observer les règles suivantes en cas d'utilisation du kit :
Conduire avec précaution et éviter les mouvements brusques, notamment si le vehicule est charge ou tracte une remorque. Le kit fournit une solution de réparation-temporaire en cas d'urgence permettant de poursuivre le trajet jusqu'au prochain réparateur, ou de parcourir une distance maximale de 200 kilométres. - Ne pas dépasser une vitesse maximale de 80 km/h. - Ranger le kit hors de portée des enfants. - N'utiliser le kit que lorsque la température extérieure se situe entre -30°C (-22^) et +70°C (+158^).
Avertissements

L'air comprimé peut avoir un effet explosif ou propulseur.

Exercer la plus grande prudence lors de l'utilisation du kit de réparation de pneu.
Attention

Le compresseur ne doit pas fonctionner pendant plus de 10 minutes.
Note: Le kit de réparation de pneu ne doit être utilisé que sur le véhicule avec lequel il a été livré.
- Garer le véhicule de manière à ne pas gêner la circulation et à ne pas mettre en danger pendant l'utilisation du kit.
- Serrer le frein de stationnement, même si le véhicule est garé sur une surface plane, afin d'éviter tout déplacement intempestif du véhicule.
- Ne pas essayer de retarder un corps étranger comme un clou ou une vis enfoncé dans le pneu.
- Laisser le moteur en marche pendant l'utilisation du kit, sauf si le véhicule se trouve dans un endroit fermé ou mal ventilé (comme par exemple à l'intérieur d'un bâtiment). Dans ce cas, activer le compresseur avec le moteur éteint.
- Remplacer le flacon de produit d'étanchéité par un neuf avant sa date d'expiration (voir dessus du flacon). Informer les autres utilisateurs du véhicule que le pneu a été provisoirement réparé à l'aide du kit de réparation de pneu et leur rappeler les exigences spéciales à observer pour la conduite.
Avertissements

Avant le gonflage, contrôler le flanc du pneu. S'il présente une fissure, une boursouflure ou tout autre défaut équivalent, ne pas tenter le gonflage.

Ne pas rester immédiatement à côté du pompe pendant le fonctionnement du compresseur.
Avertissements

Observer le flanc du pneu. Si une fissure, une boursouflure ou tout autre dommage semble apparaître. Cesser d'utiliser le compresseur et laisser l'air s'échapper à l'aide du détendeur de l'on B. Ne pas conduire le véhicule avec ce pneu.

Le produit d'étanchéité contient du latex naturel. Éviter tout contact avec la peau et les vêtements. Si
cette situation se produit, rincer immédiatement la partie du corps concernée avec une quantité abondante d'eau et consulter un médecin.

Si la pression de gonflage n'atteint pas 1,8 bar (26 psi) dans les sept minutes, le pneu est peut-être trop
endommagé pour permettre une réparation temporaire. Dans ce cas, ne pas poursuivre la conduite avec ce pneu.
Attention

En vissant le flacon sur le porte-flacon, on obtient l'opercule du flacon. Ne pas dévisser le flacon du port pour éviter toute fuite de produit étanchéité.

A Bouchon protecteur B Dévidendeur de pression C Flexible D Bouchon orange E Porte-bouteille F Manomètre G Prise avec câble H Contacteur de compresseur I Étiquette J Bouchon du flacon K Flacon de produit d'étanchéité
- Ouvrir le couvercle du kit de réparation de pneu.
- Décoller du boîtier l'étiquette indiquant la vitesse maximale autorisée de 80 km/h et l'approcher sur la planche de bord dans le champ de vision du conducteur. Veiller à ce que l'étiquette ne masque pas quelque chose d'important.
- Sortir le flexible C et la prise avec le câble G du kit.
- Dévisser le bouchon orange D et le bouchon du flacon J.
- Visser complètement le flacon de produit d'étanchéité K dans le sens des aiguilles d'une montre dans le porte-bouteille E.
- Retirez le bouchon de la valve du pneu endommagé.
- Détacher le bouchon protecteur A du flexible C et visser le flexible C fermement sur la valve du pneu endommagé.
- S'assurer que le contacteur du compresseur H est en position 0.
- Brancher la prise G dans la prise de l'allume-cigare ou la prise de courant auxiliaire. Voir Allume-cigares (page 129). Voir Points d'alimentation auxiliaire (page 129).
- Démarrez le moteur.
- Déplacer le contacteur du compresseur H sur la position O.
- Gonfler le pneu pendant sept minutes maximum jusqu'à une pression minimale de 1,8 bar (26 psi) et maximale de 3,5 bars (51 psi). Déplacer le contacteur du compresseur H sur la position 0 et contrôler la pression actuelle des pneus avec le manomètre F.
- Retirer la prise G de la prise de l'allume-cigare ou de la prise de courant auxiliaire.
- Dévisser rapidement le flexible C de la valve du pneu et remettre en place le bouchon protecteur A. Reposer le bouchon de la valve.
- Laisser le flacon de produit d'étanchéité K dans le porte-bouteille E.
- Veiller à ce que le kit, le bouchon du flacon et le bouchon orange soient rangés dans un endroit sûr mais facilement accessible du véhicule. Le kit sera de nouveau nécessaire pour contrôler la pression des pneus.
- Démarrer immédiatement et parcourir environ 3 kilomètres pour que le produit d'étanchéité obture la zone endommagée.
Note: Lors du pompage du produit d'étanchéité à travers la valve du pneu, la pression peut monter jusqu'à 6 bars (87 psi) mais retombe après environ 30 secondes.
Avertissement
Si des vibrations importantes, un comportement irrégulier de la direction ou des bruits sont observés pendant la conduite, réduire la vitesse et amener avec précaution le véhicule dans un endroit où il peut être stationné en sécurité. Contrôler de nouveau le pneu et sa pression. Si la pression de gonflage est inférieure à 1,3 bar (19 psi) ou s'il présente une fissure, un renflement ou tout dommage semblable, ne pas poursuivre la conduite avec ce pneu.
Contrôle de la pression de gonflage
- Immobiliser le véhicule après environ trois km. Contrôler et, si nécessaire, corriger la pression du pneu endommagé.
- Fixer le kit etlore la pression des pneus indiquée par le manomètre F.
- Si la pression du pneu rempli de produit d'étanchéité est supérieure ou égale à 1,3 bar, la ramener à la pression spécifiée. Voir Spécifications techniques (page 254).
- Suivre à nouveau la procédure de gonflage pour regonfler le pneu.
- Contrôler à nouveau la pression des pneus à partir du manomètre F. Si la pression est trop élevée, dégonfler le pneu jusqu'à la pression prescrite à l'aide du détendeur de pression B.
- Une fois le pneu gonflé à la pression de gonflage correcte, déplacer le contacteur de compresseur H à la position 0, retirer la prise de courant G de son logement, dévisser le flexible C, serrer le chapeau de valve et remettre en place le bouchon protecteur A.
- Laisser le flacon de produit d'étanchéité K dans le porte-bouteille E et ranger le kit à son emplacement d'origine.
- Se rendre chez le spécialiste le plus proche pour faire replacer le pneu endommagé. Avant de séparer le pneu de la jante, informer le revendeur de pneus que le pneu contient un produit d'étanchéité. Remplacer le kit une fois qu'il a été utilisé.
Note: Se rappeler que les kits de réparation d'urgence des pneus ne procurent qu'une mobilité temporaire. La réglementation concernant la réparation des pneus après utilisation du kit peut varier d'un pays à l'autre. Se renseigner auprès d'un spécialiste des pneus.
Avertissement

Avant de conduire, s'assurer que le pneu est gonflé à la pression prescrite. Voir Spécifications
techniques (page 254). Surveiller la pression de gonflage jusqu'au remplacement du pneu.
Les flacons vides de produit d'étanchéité peuvent être éliminés avec les ordures ménagères normales. Retourner les restes de produit d'étanchéité au concessionnaire ou les éliminer conformément à la réglementation locale sur l'élimination des déchets.
Entretien des PNEUS

E70415

Pour garantir l'usure uniforme des pneus avant et arrêté du véhicule et prolonger leur vie, il est recommandé de permuter les pneus avant et arrêté à intervalles réguliers compris entre 5000 et 10000 kilomètres.
Attention

Évitez de faire frotter les flancs des pneus contre les trottoirs lors du stationnement.
S'il est nécessaire de franchir une corniche de trottoir, effectuer cette manoeuvre lentement et avec les pneus perpendiculaires à la corniche du trottoir.
Examiner régulièrement les pneus en recherchant des coupures, des corps étrangers et une usure irrégulière des sculptures. Une usure irrégulière peut être le signe de réglages de géométrie non conformes.
Contrôler toutes les deux semaines les pressions de gonflage des pneus (y compris la roue de secours) lorsqu'ils sont froids.
Attention

Utiliser les écrous de roue corrects pour le type de jante sur lequel les pneus hiver sont montés.
Si le véhicule est équipé de pneus hiver, contrôler que les pressions de gonflage sont correctes. Voir Spécifications techniques (page 254).
Avertissements

Ne pas dépasser 50 km/h

N'utilisez pas des chaînes à neige sur des routes exemplies de neige.

Ne posez des chaînes à neige que sur les pneus spécifiés. Voir
Si le véhicule est équipé d'enjoliveurs, retirez-les avant de poser les chaînes à neige.
Note: L'ABS continue de fonctionner normalement.
Utilisez uniquement des chaînes à neige à petits maillons.
Ne posez les chaînes à neige que sur les roues avant.
Véhicules avec contrôle dynamique de stabilité (ESP)
Les véhicules équipés du contrôle dynamique de stabilité (ESP) peuvent présenter des caractéristiques de conduite inhabituelles qui peuvent être réduites en désactivant le système antipatinage. Voir Utilisation du programme de stabilité électronique (page 156).
Avertissements

Ne pas dépasser 50 km/h

N'utilisez pas des chaînes à neige sur des routes exemplies de neige.

Ne posez des chaînes à neige que sur les pneus spécifiés. Voir Spécifications techniques (page

Si le véhicule est équipé d'enjoliveurs, retirez-les avant de poser les chaînes à neige.
Note: L'ABS continue de fonctionner normalement.
Utiliser uniquement des chaînes à neige de 12 millimètres maximum sur des pneus 215/55 R 16.
Utiliser uniquement des chaînes à neige de 10 millimètres maximum sur des pneus 215/50 R 17.
Ne posez les chaînes à neige que sur les roues avant.
Véhicules avec contrôle dynamique de stabilité (ESP)
Les véhicules équipés du contrôle dynamique de stabilité (ESP) peuvent partager des caractéristiques de conduite inhabituelles qui peuvent être réduites en désactivant le système antipatinage. Voir Utilisation du programme de stabilité électronique (page 156).
Avertissements

Le système ne vous dégage pas de leur responsabilité de contrôler régulièrement la pression des pneus.
gonflage des pneus.

Le système ne fournit qu'un avertissement de basse pression de gonflage. Il ne gonfle pas les pneus.

Ne pas utiliser le véhicule avec des pneus sous-gonflés. Risque de surchauffe et d'éclatement des pneus. Le sous-gonflage augmente la consommation de carburant, accélère la bande de roulement et affecte l'accuratie d'utilisation du véhicule.
Attention

Ne pas courber ou endommager les valves lors du gonflage des pneus.

Faire poser les pneus par des techniciens expérimentés.
Le Deflation Detection System (système de détection de dégonflage) signale toute modification de pression de gonflage de l'un des pneus. Grâce aux capteurs ABS, il détecte la circonférence de roulement des roues. Lorsque la circonférence change, cela indique que la pression de gonflage de pneu est insuffisante. Un message d'avertissement s'affiche alors sur l'affichage d'informations et l'indicateur de message s'allume. Voir Messages d'information (page 96).
Si un message d'avertissement est affiché, contrôler les pressions dès que possible et gonfler les pneus à la pression recommandée. Voir Spécifications techniques (page 254).
Si cette situation se produit fréquemment, en faire rechercher et corriger la cause dès que possible.
Mise à part une pression de gonflage insuffisante ou un pneu endommagé, les situations suivantes peuvent avoir un effet sur la circonférence de roulement :
La charge du véhicule est inégalement répartie. L'utilisation d'une remorque ou monter/descendre une pente. L'utilisation de chaînes à neige. Conduire sur un sol meuble tel que de la neige ou de la boue.
Note: Le système fonctionne encore correctement, mais il se peut que le temps de détection soit plus long.
Réinitialisation du système
Note: Ne pas réinitialiser le système lorsque le véhicule est en mouvement.
Note: Il est nécessaire de réinitialiser le système après tout réglage de pression de gonflage ou tout remplacement de pneu.
Note: Établir le contact.
- En utilisant les commandes de l'afficheur multifonction, naviguer jusqu'à Réglages > Ass. conduct. >
Contrôle des pneus
- Appuyer sur la touche OK et maintenir-la enfoncée jusqu'à ce qu'un message de confirmation s'affiche.
Pressions de gonflage des pneus (pneus froids) - tous les modèles excepté 2.0l ecoboost - MI4
Couple de serrage des écrous de roue
| Type des roues | Nm (lb-pi) |
| Toutes | 135 (100) |
Jusqu'à 80 km/h (50 mi/h)
| Variante | Dimensions des pneus | Charge normale | Pleine charge |
| Avant | Arrière | Avant | Arrière |
| bars (lbf/ in2) | bars (lbf/ in2) | bars (lbf/ in2) | bars (lbf/ in2) |
| Toutes | T125/80 R 16 | 4,2 (61) | 4,2 (61) | 4,2 (61) | 4,2 (61) |
| Toutes | T125/90 R 16 | 4,2 (61) | 4,2 (61) | 4,2 (61) | 4,2 (61) |
Jusqu'à 160 km/h (100 mph)
| Variante | Dimensions des pneus | Charge normale | Pleine charge |
| Avant | Arrière | Avant | Arrière |
| bar (psi) | bar (psi) | bar (psi) | bar (psi) |
| Toutes | 205/55 R 16* | 2,1 (31) | 2,1 (31) | 2,4 (35) | 2,8 (41) |
| 1.0L EcoBoost, 1.6L Duratec-16V Ti-VCT, 1.6L EcoBoost, 2.0L Duratec-HE - MI4, 1.6L Duratorq-TDCi | 215/55 R 16* | 2,1 (31) | 2,1 (31) | 2,4 (35) | 2,8 (41) |
| 2.0L Duratorq-TDCi - DW | 215/55 R 16* | 2,3 (33) | 2,1 (31) | 2,4 (35) | 2,8 (41) |
| 1.0L EcoBoost, 1.6L Duratec-16V Ti-VCT, 1.6L EcoBoost, 2.0L Duratec-HE - MI4, 1.6L Duratorq-TDCi | 215/50 R 17 | 2,1 (31) | 2,1 (31) | 2,4 (35) | 2,8 (41) |
| 2.0L Duratorq-TDCi - DW | 215/50 R 17 | 2,3 (33) | 2,1 (31) | 2,4 (35) | 2,8 (41) |
| 1.6L Duratec-16V Ti-VCT, 1.6L EcoBoost, 2.0L Duratec-HE - MI4, 1.6L Duratorq-TDCi | 235/40 R 18 | 2,1 (31) | 2,1 (31) | 2,4 (35) | 2,8 (41) |
| 2.0L Duratorq-TDCi - DW | 235/40 R 18 | 2,3 (33) | 2,1 (31) | 2,4 (35) | 2,8 (41) |
*Ne poser des chaînes à neige que sur les pneus spécifiés.
Vitesse continue supérieure à 160 km/h (100 mph)
| Variante | Dimensions des pneus | Charge normale | Pleine charge |
| Avant | Arrière | Avant | Arrière |
| bar (psi) | bar (psi) | bar (psi) | bar (psi) |
| 1.0L EcoBoost, 1.6L Duratec-16V Ti-VCT, 1.6L Duratorq-TDCi | 205/55 R 16 | 2,1 (31) | 2,1 (31) | 2,4 (35) | 2,8 (41) |
| 1.6L EcoBoost | 205/55 R 16 | 2,2 (32) | 2,1 (31) | 2,4 (35) | 2,8 (41) |
| 1.0L EcoBoost, 1.6L Duratec-16V Ti-VCT, 1.6L EcoBoost, 2.0L Duratec-HE - MI4, 1.6L Duratorq-TDCi | 215/55 R 16 | 2,1 (31) | 2,1 (31) | 2,4 (35) | 2,8 (41) |
| 2.0L Duratorq-TDCi - DW | 215/55 R 16 | 2,3 (33) | 2,1 (31) | 2,6 (38) | 2,8 (41) |
| 1.0L EcoBoost, 1.6L Duratec-16V Ti-VCT, 1.6L EcoBoost, 2.0L Duratec-HE - MI4, 1.6L Duratorq-TDCi | 215/50 R 17 | 2,1 (31) | 2,1 (31) | 2,4 (35) | 2,8 (41) |
| 2.0L Duratorq-TDCi - DW | 215/50 R 17 | 2,3 (33) | 2,1 (31) | 2,6 (38) | 2,8 (41) |
| 1.6L Duratec-16V Ti-VCT, 1.6L EcoBoost, 2.0L Duratec-HE - MI4, 1.6L Duratorq-TDCi | 235/40 R 18 | 2,1 (31) | 2,1 (31) | 2,4 (35) | 2,8 (41) |
| 2.0L Duratorq-TDCi - DW | 235/40 R 18 | 2,3 (33) | 2,1 (31) | 2,6 (38) | 2,8 (41) |
Couple de serrage des écrous de roue
| Type des roues | Nm (lb-pi) |
| Toutes | 135 (100) |
Avertissement

Ne pas désactiver le contrôle de stabilité si une roue de secours-temporaire est posée sur votre véhicule.
| Dimensions des pneus | Charge normale | Pleine charge |
| Avant | Arrière | Avant | Arrière |
| bars (lbf/in2) | bars (lbf/in2) | bars (lbf/in2) | bars (lbf/in2) |
| T125/80 R 16 | 4,2 (61) | 4,2 (61) | 4,2 (61) | 4,2 (61) |
| T125/90 R 16 | 4,2 (61) | 4,2 (61) | 4,2 (61) | 4,2 (61) |
Avertissement

Ne pas désactiver le contrôle de stabilité si une roue de secours-temporaire est posée sur votre véhicule.
| Dimensions des pneus | Charge normale | Pleine charge |
| Avant | Arrière | Avant | Arrière |
| bars (lbf/in2) | bars (lbf/in2) | bars (lbf/in2) | bars (lbf/in2) |
| 205/55 R 16 | 3 (44) | 3 (44) | 3 (44) | 3 (44) |
Jusqu'à 220 km/h (137 mph)
| Dimensionsdes pneus | Charge normale | Pleine charge |
| Avant | Arrière | Avant | Arrière |
| bar (psi) | bar (psi) | bar (psi) | bar (psi) |
| 215/55 R 16* | 2,4 (35) | 2,4 (35) | 2,4 (35) | 2,8 (41) |
| 215/50 R 171 | 2,4 (35) | 2,4 (35) | 2,4 (35) | 2,8 (41) |
| 235/40 R 18 | 2,4 (35) | 2,4 (35) | 2,4 (35) | 2,4 (35) |
*Ne poser des chaînes à neige que sur les pneus spécifiés.
Vitesse continue supérieure à 220 km/h (137 mph)
| Dimensions des pneus | Charge normale | Pleine charge |
| Avant | Arrière | Avant | Arrière |
| bar (psi) | bar (psi) | bar (psi) | bar (psi) |
| 215/55 R 16 | 2,4 (35) | 2,4 (35) | 2,6 (38) | 2,8 (41) |
| 215/50 R 17 | 2,5 (36) | 2,4 (35) | 2,8 (41) | 2,8 (41) |
| 235/40 R 18 | 2,4 (35) | 2,4 (35) | 2,5 (36) | 2,5 (36) |
PLAQUE D'identification du vehicule
Note: la forme de la plaque d'identification du véhicule peut être différente de celle représentée ci-dessous.
Note: les informations indiquées sur la plaque d'identification du véhicule dépendent des exigences du marché.

A Modèle B Variante C Désignation de moteur D Norme anti-pollution E Numéro de série du véhicule F Poids nominal brut G Poids total roulant H Poids maximal sur essieu avant I Poids maximal sur essieu arrière
Le numéro d'identification du véhicule et les valeurs de charge maximale sont présentes sur une plaque située sur le côté verrouillage en bas de l'ouverture de porte droite.
NUMERO De châssis du véhicule

E87496
Le numéro d'identification du véhicule est estampé dans le plancher du côté droit du véhicule, à côté du siège avant. Il est également indiqué sur le côté gauche du tableau de bord.
Dimensions des véhicules
Berline 4 portes
| Description des dimensions | Dimension en mm (pouces) |
| Longueur maximum | 4534 (178,5) |
| Largeur hors tout (réroviseurs extérieurs inclus) | 2010 (79,1) |
| Hauteur totale - poids à vide CE | 1451 - 1484 (57,1 - 58,4) |
| Empattement | 2648 (104,3) |
| Voie avant | 1544 - 1559 (60,8 - 61,4) |
| Voie arrêtée | 1534 - 1549 (60,4 - 61) |
Berline 5 portes
| Description des dimensions | Dimension en mm (pouces) |
| Longueur maximum | 4358 - 4412 (171,6 - 173,7) |
| Largeur hors tout (réroviseurs extérieurs inclus) | 2010 (79,1) |
| Hauteur totale - poids à vide CE | 1451 - 1484 (57,1 - 58,4) |
| Empattement | 2648 (104,3) |
| Voie avant | 1544 - 1559 (60,8 - 61,4) |
| Voie arrêtée | 1534 - 1549 (60,4 - 61) |
Clipper
| Description des dimensions | Dimension en mm (pouces) |
| Longueur maximum | 4556 - 4606 (179,4 - 181,3) |
| Largeur hors tout (réroviseurs extérieurs inclus) | 2010 (79,1) |
| Hauteur totale - poids à vide CE | 1472 - 1505 (58 - 59,3) |
Quantités et spécifications
| Description des dimensions | Dimension en mm (pouces) |
| Empattement | 2648 (104,3) |
| Voie avant | 1544 - 1559 (60,8 - 61,4) |
| Voie arrêté | 1534 - 1549 (60,4 - 61) |
Dimensions de l'équipement de remorquage


E132737
Berline 4 portes
| Élément | Description des dimensions | Dimension en mm (pouces) |
| A | Centre de pare-chocs de boule de remorquage | 77 - 80 (3 - 3,1) |
| B | Point de fixation - centre de la boule de remorquage | 3 (0,1) |
| C | Centre de la roue - centre de la boule de remorquage | 1068 - 1071 (42 - 42,2) |
| D | Centre de la boule de remorquage - longeron | 515 (20,3) |
| E | Distance entre les longerons | 1030 (40,6) |
| F | Centre de la boule de remorquage - ler point de fixation du centre | 447 - 450 (17,6 -17,7) |
| G | Centre de la boule de remorquage - 2ème point de fixation du centre | 747 - 750 (29,4 - 29,5) |
Berline 5 portes
| Élément | Description des dimensions | Dimension en mm (pouces) |
| A | Centre de pare-chocs de boule de remorquage | 81 - 83 (3,2 - 3,3) |
| B | Point de fixation - centre de la boule de remorquage | 3 (0,1) |
| B | Point d'attache - centre de la boule de remorquage (attelage de remorque amovible) | 18 (0,7) |
| C | Centre de la roue - centre de la boule de remorquage | 896 - 898 (35,3 - 35,4) |
| D | Centre de la boule de remorquage - longeron | 515 (20,3) |
| E | Distance entre les longerons | 1030 (40,6) |
| F | Centre de la boule de remorquage - ler point de fixation du centre | 396 - 398 (15,6 - 15,7) |
| G | Centre de la boule de remorquage - 2ème point de fixation du centre | 696 - 698 (27,4 - 27,5) |
Clipper
| Éléments | Description des dimensions | Dimension en mm (pouces) |
| A | Centre de pare–chocs de boule de remorquage | 81 (3,2) |
| B | Point de fixation - centre de la boule de remorquage | 72 - 77 (2,8 - 3) |
| C | Centre de la roue - centre de la boule de remorquage | 1094 (43,1) |
| D | Centre de la boule de remorquage - longeron | 586 (23,1) |
| E | Distance entre les longerons | 1172 (46,1) |
| F | Centre de la boule de remorquage - 1er point de fixation du centre | 474 (18,7) |
| G | Centre de la boule de remorquage - 2ème point de fixation du centre | 719 (28,3) |
Avertissements

Certaines incompatibilités d'ordre technique peuvent entraîner un mauvais fonctionnement des CDs enregistrables (CD-R) et rétribuables (CD-RW).

Ces autoradios avec lecteurs de CD, permettent la lecture de disques compacts conformes aux normes du International Red Book. Les CD provenant de certainsants ne sont pas conformes à cette norme et leur lecture n'est pas garantie.

Les disques double format, double face (format DVD Plus, CD-DVD), adoptés par l'industrie de la musique, plus écais que les CD classiques. Par équent, leur lecture ne peut pas être utile et ils peuvent se bloquer. N'utilise des CD de forme irrégulière ou munis de film de protection anti-rayures ou de stickers auto-adhesifs. Les relations en garantie ne seront pas protégées lorsque ce type de disque est à l'intérieur d'un appareil retourné pour réparation.

Tous les lecteurs de CD sont conçus pour lire uniquement les disques compacts audio de 12 cm disponibles sur le commerce.

L'autoradio pourra être endommagé si des corps étrangers, comme des cartes de crédit ou des pièces de monnaie, sont introduits dans l'ouverture d'accueil de CD.
CD audio








Note: Les systèmes audio comportent un afficheur multifonction intégré, situé au-dessus de l'ouverture de CD. Ici figurent des informations importantes permettant de commander votre système audio. De plus, plusieurs icônes disposées autour de l'écran d'affichage s'éclairent lorsqu'une fonction est active (par exemple CD, Radio ou Aux.)
Type1 E130324
A Ejection: appuyez sur cette touche pour éjecter un CD. Voir Lecteur de disque compact (page 281). B Flèches de déplacement: appuyez sur une touche pour faire défiler les choses à l'écran. C Fente de CD: emplacement où vous introduisez un CD. Voir Lecteur de disque compact (page 281). D OK: appuyez sur cette touche pour valider vos sélections à l'écran.
E INFO: appuyez sur cette touche pour accéder aux informations des modes radio, CD, USB et iPod. F TA: appuyez sur cette touche pour activer ou désactiver les informations routières et annuler les informations lorsqu'un bulletin est en cours. Voir Commande d'informations routières (page 278). G Clavier numérique: appuyez sur cette touche pour rappeler une station précédemment mémorisée. Pour mémoriser l'une de vos stations favorites, appuyez sur la touche et maintenez-la enfoncée jusqu'à ce que le son soit rétabli. Voir Touches de préselection des stations (page 277). H Recherche automatique vers le haut: appuyez sur cette touche pour passer à la station immédiatement au-dessus dans la plage de fréquence radio ou à la piste suivante sur un CD. Voir Commande de recherche des stations (page 276). Voir Sélection d'une plage musicale (page 281). Marche, arrêt et volume: appuyez sur ce bouton pour mettre en marche le système audio ou l'arrêter. Tournez le bouton pour régler le volume. J Recherche automatique vers le bas: appuyez sur cette touche pour passer à la station immédiatement au-dessous dans la plage de fréquence radio ou à la piste précédente sur un CD. Voir Commande de recherche des stations (page 276). Voir Sélection d'une plage musicale (page 281). K MENU: appuyez sur cette touche pour accéder aux différentes fonctions du système audio. L SOUND: appuyez sur cette touche pour régler les paramètres du son pour les graves, les médiums et les aigus, la balance et la répartition du son. Voir Bouton de réglage du son (page 276). M AUX: appuyez sur cette touche pour accéder aux fonctions AUX et SYNC. Cela annule également la navigation dans un menu ou une liste. Voir Prise d'entrée auxiliaire (page 131). Voir Prise d'entrée auxiliaire (AUX IN) (page 284). N RADIO: appuyez sur cette touche pour sélectionner différentes bandes radio. Cela annule également la navigation dans un menu ou une liste. Voir Fonctionnement de l'autoradio (page 276). O CD: appuyez sur cette touche pour changer de source et passer en mode CD. Cela annule également la navigation dans un menu ou une liste. Voir Lecteur de disque compact (page 281).
Présentation de l'autoradio
Type 2 A
Descriptions des touches de fonction 1 à 4
E104157

E130142
A Ejection: appuyez sur cette touche pour éjecter un CD. Voir Lecteur de disque compact (page 281). B Flèches de déplacement: appuyez sur une touche pour faire défiler les à l'écran. C Fente de CD: emplacement où vous introduisez un CD. Voir Lecteur de disque compact (page 281). D OK: appuyez sur cette touche pour valider vos sélections à l'écran. E INFO: appuyez sur cette touche pour accéder aux informations des modes radio, CD, USB et iPod. F TA: appuyez sur cette touche pour activer ou désactiver les informations routières et annuler les informations lorsqu'un bulletin est en cours. Voir Commande d'informations routières (page 278). G Sound: appuyez sur cette touche pour régler les paramètres du son pour les tons bas, mediums et aigus, la balance et la répartition du son. Voir Bouton de réglage du son (page 276). H Clavier numérique: appuyez sur cette touche pour rappeler une station précédemment mémorisée. Pour mémoriser l'une de vos stations favorites, appuyez sur la touche et maintenez-la enfoncée jusqu'à ce que le son soit rétabli. Voir Utilisation du téléphone (page 288). Voir Touches de préselection des stations (page 277). I Touche de fonction 4: appuyez sur cette touche pour sé J Touche de fonction 3: appuyez sur cette touche pour sé K Recherche automatique vers le haut: appuyez sur cette touche pour passer à la station immédiatement au-dessus dans la plage de fréquence radio ou à la piste suivante sur un CD. Voir Commande de recherche des stations (page 276). Voir Sélection d'une plage musicale (page 281). L Marche, arrêt et volume: appuyez sur ce bouton pour mettre en marche le système audio ou l'arrêter. Tournez le bouton pour régler le volume. M Recherche automatique vers le bas: appuyez sur cette touche pour passer à la station immédiatement au-dessous dans la plage de fréquence radio ou à la piste précédente sur un CD. Voir Commande de recherche des stations (page 276). Voir Sélection d'une plage musicale (page 281). N Touche de fonction 2: appuyez sur cette touche pour sélectionner différentes fonctions du système audio en fonction du mode dans lequel le système se trouve (radio ou CD).
O Touche de fonction 1: appuyez sur cette touche pour sé P MENU: appuyez sur cette touche pour accéder aux différentes fonctions du système audio. Q PHONE: appuyez sur cette touche pour accéder à la fonction téléphone du système SYNC, en appuyant sur PHONE, puis sur MENU. Se reporter au Manuel distinct associé. Voir Téléphone (page 286). R AUX: appuyez sur cette touche pour accéder aux fonctions AUX et SYNC. Cela annule également la navigation dans un menu ou une liste. Voir Prise d'entrée auxiliaire (page 131). Voir Prise d'entrée auxiliaire (AUXIN) (page 284). Voir Connectivité (page 308). S RADIO: appuyez sur cette touche pour sélectionner différentes bandes radio. Cela annule également la navigation dans un menu ou une liste. Voir Fonctionnement de l'autoradio (page 276). T CD: appuyez sur cette touche pour changer de source et passer en mode CD. Cela annule également la navigation dans un menu ou une liste. Voir Lecteur de disque compact (page 281).
Les touches de fonction 1 à 4 dépendent du contexte et changent selon le mode actuel du système audio. Les descriptions des fonctions sont indiquées en bas de l'afficheur.

A. Descriptions des touches de fonction 1 à 4
E129074
A Marche, arrêt: appuyez sur ce bouton pour mettre en marche le système audio ou l'arrêter. B DISPLAY: appuyez sur cette touche pour démarrer l'affichage en mode de repos. C Clavier numérique: appuyez sur cette touche pour rappeler une station précédemment mémorisée. Pour mémoriser l'une de vos stations favorites, appuyez sur la touche et maintenez-la enfoncée jusqu'à ce que le son soit rétabli. Voir Utilisation du téléphone (page 288). Voir Touches de préselection des stations (page 277). D Fente de CD: emplacement où vous introduisez un CD. Voir Lecteur de disque compact (page 281). E Flèches de déplacement: appuyez sur une touche pour faire défiler les choix à l'écran. F Traitement numérique des signaux: appuyez sur cette touche pour accéder aux fonctions de traitement numérique des signaux. Voir Traitement du signal numérique (DSP) (page 279).
G Ejection: appuyez sur cette touche pour éjecter un CD. Voir Lecteur dedisque compact (page 281). H INFO: appuyez sur cette touche pour acceder aux informations des modes radio, CD, USB et IPod.
I CLOCK: appuyez sur cette touche pour accéder aux fonctions liées à l'horloge. J Recherche automatique vers le haut: appuyez sur cette touche pour passer à la station immédiatement au-dessus dans la plage de fréquence radio ou à la piste suivante sur un CD lorsque le système est en mode CD. En mode téléphone, utilisez cette touche pour mettre fin à un appel. Il est possible de rejeter un appel K MUTE: appuyez sur cette touche pour éteindre le son et appuyez à nouveau pour le rétablir. L TA: appuyez sur cette touche pour activer ou désactiver les informations routières et annuler les informations lorsqu'un bulletin est en cours. Voir Commande d'informations routières (page 278). M Touche de fonction 4: appuyez sur cette touche pour sélectionner différentes fonctions du système audio en fonction du mode dans lequel le système se trouve (radio ou CD). N SOUND: appuyez sur cette touche pour régler les paramètres du son pour les graves, les médiums et les aigus, la balance et la répartition du son. Voir Bouton de réglage du son (page 276). O Touche de fonction 3: appuyez sur cette touche pour sélectionner différentes fonctions du système audio en fonction du mode dans lequel le système se trouve (radio ou CD). P OK: appuyez sur cette touche pour valider vos sélections à l'écran. (Taberet) Q Touche de fonction 2: appuyez sur cette touche pour sélectionner différentes fonctions du système audio en fonction du mode dans lequel le système se trouve (radio ou CD). R MENU: appuyez sur cette touche pour accéder aux différentes fonctions du système audio. S Touche de fonction1: appuyez sur cette touche pour sélectionner différentes fonctions du système audio en fonction du mode dans lequel le système se trouve (radio ou CD). T PHONE: appuyez sur cette touche pour accéder à la fonction téléphone du système SYNC, en appuyant sur PHONE, puis sur MENU. Se reporter au Manuel distinct associé. Voir Téléphone (page 286).
U AUX: appuyez sur cette touche pour accéder aux fonctions AUX et SYNC. Cela annule également la navigation dans un menu ou une liste. Voir Prise d'entrée auxiliaire (page 131). Voir Prise d'entrée auxiliaire (AUX IN) (page 284). V Recherche automatique vers le bas: appuyez sur cette touche pour passer à la station immédiatement au-dessous dans la plage de fréquence radio ou à la piste précédente sur un CD lorsque le système est en mode CD. En mode téléphone, utilisez cette touche pour lancer un appel. Il est possible d'accepter un appel téléphonique W RADIO: appuyez sur cette touche pour sélectionner différentes bandes radio. Cela annule également la navigation dans un menu ou une liste. Voir Fonctionnement de l'autoradio (page 276). X CD: appuyez sur cette touche pour changer de source et passer en mode CD. Cela annule également la navigation dans un menu ou une liste. Voir Lecteur de disque compact (page 281). Y Volume: tournez le bouton pour régler le volume.
Les touches de fonction 1 à 4 dépendent du contexte et changent selon le mode actuel du système audio. Les descriptions des fonctions sont indiquées en bas de l'afficheur.
Code antivol
Chaque système audio possède un code unique lié au numéro de série du véhicule (VIN). Le système audio vérifie automatiquement qu'il correspond bien au véhicule avant de permettre le fonctionnement.
Si un message de code de sécurité s'affiche, veuillez contacter votre concessionnaire.
Commande marche/arrét
Appuyer sur le bouton lorsque le contact est coupé. Cela fait fonctionner l'autoradio pendant une heure maximum.
Si l'autoradio est allumé avant de couper le contact, il se coupe automatiquement après 10 minutes ou lorsqu'une porte avant est ouverte.
Boutondéréglageduson
Cette touche permet de régler les paramètres du son (par exemple les basses et les aigus).
- Appuyez sur la touche son.
- Utilisez les touches flèche vers le haut et vers le bas pour sélectionner le réglage souhaité.
- Utilisez les touches flèche vers la gauche et vers la droite pour procéder aux réglages nécessaires. L'affichage indique le niveau sélectionné.
- Appuyez sur la touche OK pour confirmer les nouveaux paramètres.
Boutondegammed'ondes
Appuyez sur la touche RADIO pour sélectionner parmi les bandes d'ondes disponibles.
Le sélecteur peut aussi servir à retourner à la réception radio après l'écoute d'une autre source.
Sinon, appuyez sur la touche flèche vers la gauche pour afficher les bandes d'ondes disponibles. Faites défiler jusqu'à la bande d'onde de votre choix et appuyez sur OK.
Continuité DAB
Note: La continuité DAB est désactivée par défaut.
Note: Cette continuité permet d'effectuer des références croisées avec d'autres fréquences correspondantes de la même station (par exemple FM et d'autres ensembles DAB).
Note: Le système passe automatiquement à une station correspondante si celle actuellement en écoute devient indisponible, par exemple lorsque le véhicule quitte la zone de couverture.
Activation/désactivation de la continuité DAB. Voir Généralités (page 88).
Recherche automatique
Sélectionnez une bande d'ondes et appuyez brièvement sur l'une des touches de recherche. L'autoradio s'arrête sur la première station qu'il trouve dans la direction que vous avez.
Recherche manuelle
- Appuyez sur la touche MENU.
- Sélectionnez mode RADIO, suivi de REGLAGE MANUEL.
- Utilisez les touches flèche droite et gauche pour explorer la bande d’ondes de façon ascendante ou descendante par petits incréments (ou maintenez-la enfoncée pour progresser plus rapidement) jusqu’à ce que vous trouviez la station qui vous convient.
- Appuyez sur OK pour continuer d'écouter une station.
Types 2 et 3
- Appuyez sur la touche de fonction 2.
- Utilisez les touches flèche droite et gauche pour explorer la bande d'ondes de façon ascendante ou descendante par petits incréments (ou maintenez-la enfoncée pour progresser plus rapidement) jusqu'à ce que vous trouviez la station qui vous convient.
- Appuyez sur OK pour continuer d'écouter une station.
Réglage par balayage
Le balayage vous permet d'écouter quelques secondes sur chaque station détectée.
- Appuyez sur la touche MENU.
- Sélectionnez mode RADIO, suivi de BALAYAGE.
- Utilisez les touches de recherche pour explorer la bande d'ondes sélectionnée de façon ascendante ou descendante.
- Appuyez sur OK pour continuer d'écouter une station.
Types 2 et 3
- Appuyez sur la touche de fonction 3.
- Utilisez les touches de recherche pour explorer la bande d'ondes sélectionnée de façon ascendante ou descendante.
- Appuyez de nouveau sur la touche de fonction 3 ou sur OK pour continuer d'écouter une station.
Touches de préréselection des stations
Cette fonction vous permet de mémoriser vos stations préférées afin de les rappeler en sélectionnant la bande voulue et en appuyant sur l'une des touches de préselection.
- Sélectionnez une gamme d'ondes.
- Réglez l'autoradio sur la station requise.
- Appuyez sans relâcher sur l'une des touches de préréglage. Un message et une barre d'état s'affichent. Lorsque la barre d'avancement est complète, cela signifie que la station a été enregistrée. Le système audio se met également momentanément en sourdine afin de confirmer.
Cette opération peut être répétée sur chaque bande d'ondes et pour chaque touche de préréglage.
Note: lorsque le véhicule change de région, les stations FM et DAB diffusant sur les fréquences de remplacement et mémorisées sur les touches de préselection peuvent être mises à jour avec la fréquence et le nom de la station correspondant à cette région.
Commande démemorisation automatique
Note: Cette fonction permet de mémoriser les 10 signaux les plus forts disponibles, qu'ils proviennent de la bande AM ou FM, et de replacer les stations précédemment mémorisées. Elle peut également servir à mémoriser manuellement des stations de la même manière que les autres bandes d'ondes.
Note: Sur le type 3, vous devez désigner un nombre de 1000 FM AST ou AM AST pour pouvoir utiliser cette fonction.
- Maintenez la touche de fonction 1 ou la touche RADIO appuyée. Le son est rétabli lorsque la recherche est terminée et les signaux les plus intenses sont mémorisés dans les présélections AutoStore.
De nombreuses stations sur la bande FM ont un code TP indiquant qu'elles diffusent des informations routières.
Avant de pouvoir recevoir des bulletins d'informations routières, vous devez appuyer sur la touche TA ou TRAFFIC. 'TA' s'affiche indiquant que la fonction est activée.
Si vous êtes déjà calé sur une station qui diffuse des informations routières, 'TP' est également affiché. Sinon le système audio cherche un programme d'informations routières.
Lors de la diffusion d'informations routières, l'interrupt automatiquement la réception radio normale, la lecture de CD et 'Infos routières (IR)' s'affiche.
En cas de sélection ou de rappel à l'aide d'une touche de préselection d'une station ne diffusant pas d'informations routières, l'unité audio restera sur cette station, à moins que l'option TA (bulletin d'informations routières) ou TRAFFIC (informations routières) ne soit à nouveau désactivée puis réactivée.
Note: Si l'option TA est activée et que vous sélectionnez une préselection, un réglage manuel vers une station non TA, aucune information routière ne sera diffusée.
Note: Si vous écoutez une station non TA et si vous activez et désactivez l'option TA, une recherche TP se produit.
Les bulletins d'informations routières interrompent les diffusions normales à un niveau sonore préseleccionné, généralement plus élevé que les volumes d'écoute normaux.
Pour régler le volume préselectionné :
Utilisez le bouton de volume pour procéder au réglage nécessaire pendant la diffusion d'informations routières. L'affichage indique le niveau sonore sélectionné.
Lorsqu'un bulletin d'informations routières est terminé, l'autoradio revient à un fonctionnement normal. Pour permettre un terme à une information avant la fin, appuyez sur la touche TA ou TRAFFIC pendant son écoute.
Note: Si vous appuyez sur TA ou TRAFFIC à tout autre moment, vous empêcherez la diffusion de tous les bulletins d'informations routières.
Commande automatique de volume
Si disponible, la régulation automatique du volume (AVC) règle le volume afin de compenser les bruits du moteur, aérodynamiques et de roulement.
- Appuyez sur la touche MENU et sélectionnez AUDIO.
- Sélectionnez NIVEAU AVC ou ADAPTER VOL.
- Utilisez la touche flèche vers la gauche ou vers la droite pour procéder au réglage.
- Appuyez sur la touche OK pour confirmer votre choix.
- Appuyez sur la touche MENU pour revenir en arrière.
Occupation DSP
Cette fonction tient compte des différences de distance entre les divers haut-parleurs du véhicule et chaque siège. Sélectionnez la position assise pour laquelle l'audio doit être correctement optimisé.
Égaliseur DSP
Sélectionnez la catégorie de musique la plus adaptée à votre préférence d'écoute. La sortie audio se modifie pour valoriser le style de musique particulier choisi.
Modification des paramètres DSP
- Appuyez sur la touche MENU.
- Sélectionnez AUDIO ou REGLAGES AUDIO.
- Naviguez jusqu'à la fonction DSP souhaitée.
- Utilisez les touches flèche vers le haut et vers le bas pour sélectionner le réglage souhaité.
- Appuyez sur la touche OK pour confirmer votre choix.
- Appuyez sur la touche MENU pour y revenir.
Diffusions de nouvelles
Certains autoradios interrompent la réception normale pour diffuser des bulletins d'information de stations de la bande FM ou de stations à lien RDS et EON, de façon identique aux informations routières.
Pendant la diffusion de bulletins d'information, l'affichage indique la présence d'un bulletin entrant. Les bulletins d'informations sont diffusés au même niveau de volume préselectionné que les bulletins d'informations routières.
- Appuyez sur la touche MENU.
- Sélectionnez AUDIO ou REGLAGES AUDIO.
- Naviguez jusqu'à INFORMATIONS et allumez et éteignez à l'aide de la touche OK.
- Appuyez sur la touche MENU pour revenir en arrière.
Frequences de substitution
De nombreuses stations diffusées sur la bande FM ont un code d'identification de programme (PI) qui peut être décodé par les autoradios.
Si la fonction de réglage des fréquences alternatives (AF) de votre autoradio est activée et que vous passez d'une zone de diffusion à une autre, cette fonction recherche et se calibre sur un éventuel signal plus intense de la station.
Cependant, dans certaines conditions, le réglage sur une fréquence de remplacement peut interrompre momentanément la réception.
Une fois la fonction sélectionnée, le système évalue en permanence la force du signal ; si un meilleur signal est disponible, le système le sélectionne. L'autoradio se met en sourdine pendant qu'il passe en revue une liste des fréquences alternatives et, le cas échéant, il explore de nouveau la bande d'ondes sélectionnée à la recherche d'une fréquence alternative appropriée.
Lorsqu'il en trouve une, il rétablit la réception audio. S'il n'en trouve aucune, l'autoradio revient à la fréquence initialement mémorisée.
Une fois sélectionnée, FA'saffichage.
- Appuyez sur la touche MENU.
- Sélectionnez AUDIO ou MENU AUDIO.
- Naviguez jusqu'à FREQ. ALTERN. ou FREQ. ALTERNAT. et activez ou désactivez la fonction avec la touche OK.
- Appuyez sur la touche MENU pour y revenir.
Mode régional
Le mode régional (REG) détermine le comportement de commutation AF entre les réseaux liés régionalement d'un diffuseur parent. Un diffuseur peut utiliser un réseau assez étendu couvrant une grande partie du pays. À différents moments de la journée, ce grand réseau peut être scindé en plusieurs réseaux régionaux plus petits, généralement centrés sur des villes importantes. Lorsque le réseau n'est pas scindé en versions régionales, le réseau entier a la même programmation.
Mode régional ACTIVE : Ceci empêche les commutations AF aléatoires lorsque des réseaux régionaux voisins n'ont pas la même programmation.
Mode régional OFF (désactivé) : Ceci procure une zone de couverture plus étendue si des réseaux régionaux voisins ont la même programmation mais peut provoquer des commutations AF 'aléatoires' si ce n'est pas le cas.
- Appuyez sur la touche MENU.
- Sélectionnez AUDIO ou REGLAGES AUDIO.
- Faites défiler jusqu'à RDS REGIONAL et allumez et éteignez au moyen de la touche OK.
- Appuyez sur la touche MENU pour y revenir.
Lecture de DISQUE compact
Note: Pendant la lecture, l'affichage indique le disque, la plage et le temps écoulé depuis le début de la plage.
Pendant la réception radio, appuyez une fois sur la touche CD pour lancer la lecture du CD.
La lecture commence de suite après le chargement du CD.
Selection d'une PLAGE musicale
- Appuyez une fois sur la touche de recherche vers le haut pour passer à la plage suivante ou appuyez plusieurs fois sur cette touche pour passer aux plages ultérieures.
- Appuyez une fois sur la touche de recherche vers le bas pour revenir au début de la plage en cours. Si vous appuyez dans les deux secondes qui suivent le début d'une plage, la plage précédente est sélectionnée.
- Appuyez plusieurs fois sur la touche de recherche vers le bas pour sélectionner des plages précédentes. Utilisez les touches flèche vers le haut et vers le bas, et à l'aide de la touche OK, sélectionnez la piste souhaitée.
Types 2 et 3
Il est possible de saisir le numéro de plage désirée à partir du clavier numérique. Composez dans son intégralité le numéro de plage désirée (par exemple 1 suivi de 2 pour la plage 12) ou composez le numéro et appuyez directement sur OK.
Avance/Retour RAPIDE
Maintenez les touches recherche vers le bas ou vers le haut enfoncées pour effectuer une recherche en avant ou en arrière parmi les plages musicales du disque.
Lecture aleatoire
La lecture aléatoire permet la lecture de toutes les plages du CD dans un ordre quelconque.
- Appuyez sur la touche MENU et sélectionnez MODE CD.
- Sélectionnez SHUFFLE, qui permet d'activer ou de désactiver la fonction.
Lors de la lecture d'un CD MP3, vous avez la possibilité de procéder à la lecture aléatoire (SHUFFLE) de l'intégralité du CD ou de toutes les plages du dossier dans un ordre quelconque.
Types 2 et 3
Appuyez sur la touche de fonction 2.
Note: Lors de la lecture d'un CD MP3, vous avez la possibilité de procéder à la lecture aléatoire (SHUFFLE) de l'intégralité du CD ou de toutes les plages du dossier dans un ordre quelconque. En appuyant plusieurs fois sur la touche de fonction 2 vous pouvez sélectionner ces options alternativement.
Si nécessaire, utilisez la touche de recherche vers le haut ou vers le bas pour sélectionner la prochaine plage de façon aléatoire.
Répétition des PLAGES du DISQUE compact
- Appuyez sur la touche MENU et sélectionnez MODE CD.
- Sélectionnez REPETER, qui permet d'activer ou de désactiver la fonction. Ceci permet de revenir au début de la plage en cours, une fois celle-ci terminée.
Lors de la lecture d'un CD MP3, vous avez la possibilité de REPETER la plage, ou de répéter toutes les plages du dossier.
Types 2 et 3
Appuyez sur la touche de fonction 1.
Lors de la lecture d'un CD MP3, vous avez la possibilité de REPETER la plage, ou de répéter toutes les plages du dossier. En appuyant plusieurs fois sur la touche de fonction 1 vous pouvez sélectionner ces options alternativement.
Balayage des PLAGES d'un DISQUE compact
La fonction BALAYAGE permet d'écouter l'intro de chaque plage pendant environ 5 secondes.
Il existe plusieurs modes de balayage selon le type de CD en cours de lecture.
- Appuyez sur la touche MENU et sélectionnez MODE CD.
- Sélectionnez BALAYAGE, qui permet d'activer ou de désactiver la fonction.
Note: Lors de la lecture d'un CD MP3, vous avez la possibilité de BALAYER le CD, ou simplement les plages du dossier.
- Appuyez sur la touche OK pour arrêter le mode balayage.
Types 2 et 3
- Appuyez sur la touche de fonction 3.
Note: Lors de la lecture d'un CD MP3, vous avez la possibilité de BALAYER le CD, ou simplement les plages du dossier. En appuyant plusieurs fois sur la touche de fonction 3 vous pouvez sélectionner ces options alternatively.
- Appuyez de nouveau sur la touche de fonction 3 pour arrêter le mode balayage.
Lecture de fichiers MP3
Note: Il est possible que le lecteur de CD ne puisse pas lire certains fichiers audio protégés contre la copie.
Le lecteur de CD prend également en charge les fichiers audio aux formats MP3 et WMA.
Lorsqu'un CD contenant des plages audio est inséré dans le lecteur de CD, l'arborescence du disque est automatiquement lue. Quelques instants peuvent s'écouler avant que la lecture commence. Cela dépend de la qualité du disque.
Les plages MP3 peuvent être enregistrées de diverses manières sur le CD. Elles peuvent toutes être placées dans le répertoire racine, comme sur un CD audio classique, ou être situées dans des dossiers pouvant représenter, par exemple un album, un artiste ou un genre musical.
Lecture d'un disque multi session
La séquence de lecture de CD à dossiers multiples commence normalement par les plages dans le premier dossier, suivie des plages se trouvant dans les autres dossiers emboîtés dans le premier dossier, puis le deuxième dossier, et ainsi de suite. Par exemple, si le dossier 1 contient les dossiers 1a et 1b et que le dossier 2 contient le dossier 2a, la séquence de lecture est 1, 1a, 1b, 2, 2a.
Quand un fichier a été lu, la lecture des autres fichiers du même répertoire se poursuit. Le changement de répertoire survient automatiquement une fois que tous les fichiers du répertoire en cours ont été lus.
Options d'affichage MP3
Lors de la lecture d'un disque MP3, il est possible d'afficher certaines informations codées dans chaque plage. Ces informations sont normalement les suivantes :
Le nom du fichier Le nom du dossier - Les informations ID3 qui peuvent être l'album ou le nom de l'artiste.
L'autoradio affiche normalement le nom de fichier en cours de lecture. Pour sélectionner une ou plusieurs informations, appuyer plusieurs fois sur la touche INFO jusqu'à ce que l'information souhaitée apparaisse sur l'affichage.
Note: Si les informations ID3 sélectionnées ne sont pas disponibles, NO MP3 TAG apparait sur l'affichage.
Options d'affichage du texte de CD
Lorsqu'un disque audio associé à du texte CD est en cours de lecture, quelques informations codées dans chaque plage peuvent être affichées. Ces informations sont normalement les suivantes :
Le nom du disque Le nom de l'artiste Le nom de la plage.
Note: Ces options d'affichage se sélectionnent de la même manière que les affichages MP3. NO DISC NAME or NO TRACK NAME will be shown in the display if no information has been encoded.
Arrêt de la lecture de DISQUE compact
Pour rétablir la réception radio sur tous les autoradios :
- Appuyez sur la touche RADIO.
Note: Le CD n'est pas éjecté; le disque effectue simplement une pause au point où la réception radio a été rétablie.
Pour reprendre la lecture du CD, appuyez de nouveau sur la touche CD.
Note: Pour obtenir des performances optimales lors de l'utilisation de tout appareil auxiliaire, réglez le volume de l'appareil sur élevé. Ceci permet de réduire les interférences audio lors du chargement de l'appareil via la prise d'alimentation du véhicule.
Si le véhicule est équipé d'une prise d'entrée Auxiliaire (AUX IN), cette dernière permet à tout appareil auxiliaire, tel qu'un lecteur MP3, d'être relié au système audio du véhicule. Le son peut être émis par les haut-parleurs du véhicule.
Le branchement d'un appareil auxiliaire se fait via la prise AUX IN à l'aide d'un connecteur jack d'écoute classique de 3,5 mm.
Sélectionnez l'entrée auxiliaire au moyen de la touche AUX. Le son est émis par les haut-parleurs du véhicule. ENTREE AUDIO ou ENTREE AUDIO ACTIVE apparait alors sur l'affichage de l'autoradio du véhicule. Le réglage du volume, des aigus et des basses du système audio du véhicule se fait normalement.
Les touches du système audio du véhicule peuvent aussi permettre une lecture à partir du système audio même si l'appareil auxiliaire est branché.
| Affichage de l'autoradio | Rectification |
| CONTROLER CD | Message général d'erreur pour les défauts de CD (lecture de CD impossible, CD de données inséré, etc.) Assurez-vous que le disque est chargé face imprimée vers le haut. Nettoyez le CD et essayez de nouveau ou remplacez le disque par un disque déjà utilisé. Si l'erreur persiste, contactez votre concessionnaire. |
| ANOMALIE LECTEUR CD | Message d'erreur général relatif aux défauts de CD, par exemple un début de mécanisme potentiel. |
| TEMP LECTEUR CD ÉLEVÉE | La température ambiente est trop élevé - le lecteur ne fonctionnera pas tant qu'il n'aura pas refroidi. |
| erreUR D'ACCès À L'APPA-REIL L'IPOD | Message d'erreur général relatif aux défauts d'iPod, par exemple lecture impossible des données. Veiller à ce que l'iPod soit inséré correctement. Si l'erreur persiste, contactez votre concessionnaire. |
Attention

L'utilisation du système lorsque le moteur est arrêté vide la batterie.
Cette section présente les fonctions et caractéristiques du système mains libres de téléphone mobile Bluetooth.
La partie téléphone mobile Bluetooth du système assure l'interaction avec le système audio ou le système d'aide à la navigation et votre téléphone mobile. Elle vous permet d'utiliser le système audio ou d'aide à la navigation afin de passer et recevoir des appels sans avoir à tenir votre téléphone mobile.
Attention
Comme aucun accord commun n'existe, les fabricants de téléphones mobiles peuvent instaurer une variété de profils dans leurs dispositifs Bluetooth. Il est possible que pour cette raison une incompatibilité se produise entre le téléphone et le système mains libres, ce qui peut dans certains cas déterminer considérablement la performance du système. Pour éviter cette situation, utiliser uniquement les téléphones recommandés.
Veuillez visiter le site www.ford-mobile-connectivity.com pour de plus amples informations.
Avant de pouvoir utiliser votre téléphone avec votre véhicule, il doit être connecté par liaison bonding au système de téléphone du véhicule.
Gestion des téléphones
Il est possible de connecter jusqu'à six appareils Bluetooth par liaison bonding au système du véhicule.
Note: Si un appel est en cours au moment où le téléphone utilisé est sélectionné pour être le nouveau téléphone actif, l'appel est transmis au système audio du véhicule.
Note: Même lorsqu'il est connecté au système de la voiture, votre téléphone peut encore être utilisé de la manière habituelle.
Conditions requises pour une connexion bluetooth
Pour effectuer une connexion Bluetooth avec un téléphone, les conditions suivantes doivent être remplies.
- La fonction Bluetooth doit être activée sur le téléphone et sur le système audio. Veillez à ce que l'option menu Bluetooth sur l'écran du système audio soit réglée sur ON. Pour obtenir des informations sur les réglages du téléphone, reportez-vous au Guide d'utilisation de votre téléphone.
- Dans le menu Bluetooth de votre téléphone, rechercher Ford Audio puis sélectionner-le.
- Saisir le code indiqué à l'écran du véhicule à l'aide du clavier du téléphone. Si aucun code n'est indiqué à l'écran, saisissez le numéro PIN 0000 Bluetooth sur le clavier du téléphone. Maintenant, saisissez le numéro PIN Bluetooth qui apparait à l'écran du véhicule.
- Si vous téléphone mobile vous demande d'autoriser la connexion automatique, sélectionner OUI.
Note: Si le système audio est éteint pendant un appel téléphonique, ce dernier est coupé. La coupure du contact du véhicule n'affecte pas l'appel téléphonique en cours.
Répertoire
Note: Il peut s'avérer nécessaire de confirmer l'accès au répertoire via le système Bluetooth avec le téléphone mobile.
Après le démarrage, l'accès à la liste du répertoire peut être retardé de quelques minutes en fonction de sa taille.
Catégories de répertoire
Une icône indique la catégorie :

Telephone

Portable

Domicile

Bureau
Pour rendre actif un téléphone
Note: Si un appel est en cours au moment où le téléphone utilisé est sélectionné pour être le nouveau téléphone actif, l'appel est transmis au système audio du véhicule.
Lors de la première utilisation du système, chaque téléphone n'est pas connecté au système.
Une fois le contact établi et le système audio allumé, le téléphone Bluetooth doit être connecté par liaison bonding au système. Voir Configuration Bluetooth (page 286).
Après avoir connecté un téléphone Bluetooth au système par liaison bonding, il devient le téléphone actif. Pour plus d'informations, se reporter au menu du téléphone.
Sélectionnez le téléphone dans le menu téléphone actif.
Lorsque le contact est de nouveau établi et que la radio est de nouveau allumée, le dernier téléphone actif est détecté par le système.
Note: Dans certains cas, la connexion Bluetooth doit également être confirmée sur le téléphone.
Connexion par liaison bonding d'un autre téléphone bluetooth
Connectez un nouveau téléphone Bluetooth par liaison bonding de la manière décrite dans les conditions requises pour une connexion Bluetooth.
Il est possible d'accéder aux téléphones enregistrés dans le système grâce à la liste téléphonique du système audio.
Note: Il est possible de connecter jusqu'à six appareils par liaison bonding. Si six appareils Bluetooth sont déjà connectés par liaison bonding, un appareil supplémentaire ne peut être connecté que si la connexion de l'un des six premiers est supprimée.
Commandes de téléphone télécommande

A Augmentation du volume B Touche voix C Fin d'appel D Diminution du volume E Recevoir un appel
Utilisation du téléphone
Note: Reportez-vous au guide du système audio pour les détails des commandes. Voir Présentation de l'autoradio (page 267).
Note: Il est possible de quitter le menu du téléphone en appuyant sur une touche de source CD, RADIO ou AUX.
Note: l'utilisation des touches flèche vers le haut/bas, des touches recherche avant et recherche arrêtée ainsi que de la touche OK peut être effectuée sur le volant de direction ou sur l'autoradio.
Ce chapitre décrit les fonctions téléphone du système audio.
Un téléphone actif doit être présent.
Même lorsqu'il est connecté au système audio, votre téléphone peut être utilisé de la manière habituelle.
Composer un numéro au moyen de la commande vocale
Il est possible de composer des numéros de téléphone au moyen de la commande vocale. Voir Commandes de téléphone (page 300).
Composer un numéro en utilisant le répertoire
- Appuyez sur la touche PHONE.
- Appuyez sur les touches flèche vers le haut/bas jusqu'à ce que l'ANNUAIRE s'affiche.
- Appuyez sur la touche OK.
Note: Vous pouvez également utiliser le clavier du téléphone pour sélectionner la première lecture de l'entrée que vous recherchez. Appuyez sur le numéro correspondant à la lecture de façon répétée jusqu'à ce que la lecture souhaitée s'affiche. 4. Appuyez sur les touches flèche vers le haut/bas pour sélectionner le numéro de téléphone de votre choix.
Note: Appuyez et maintenez enfoncées les touches flèche vers le haut/bas afin d'effectuer une recherche en avant ou en arrière dans l'annuaire. 5. Appuyez sur la touche OK pour composer le numéro de téléphone sélectionné.
Composer un numéro en utilisant le clavier téléphonique
- Appuyez sur la touche PHONE.
- Composez le numéro à l'aide du clavier de téléphone sur le système audio.
- Appuyez sur la touche OK.
Note: Si vous saisissez un chiffre incorrect lors de la saisie d'un numéro de téléphone, appuyez sur la touche de fonction 3 pour effacer le dernier chiffre. Un enforcement long efface la ligne complète de chiffres.
Pour terminer un appel
Il est possible de mettre fin aux appels en:
- appuyant sur la touche recherche avant
- Appuyant sur la touche OK, appuyant sur la touche de fonction 4.
Pour recomposer un numéro de téléphone
- Appuyez sur la touche PHONE.
- Appuyez sur les touches flèche vers le haut/bas jusqu'à ce que LISTES D'APPELS s'affiche.
- Appuyez sur la touche OK.
Note: Si le téléphone actif ne fournit aucune liste d'appels sortants, la dernière entrée/le dernier numéro d'appel sortant peut être saisie/composée de nouveau.
- Appuyez sur les touches flèche vers le haut/bas pour sélectionner la liste d'appels de votre choix.
- Appuyez sur la touche OK.
- Appuyez sur les touches flèche vers le haut/bas pour sélectionner le numéro de téléphone de votre choix.
- Appuyez sur la touche OK.
Pour recomposer le dernier numéro composé
- Appuyez sur la touche PHONE.
- Appuyez sur les touches flèche vers le haut/bas jusqu'à ce que REPET. NUMERO s'affiche.
- Appuyez sur la touche OK.
Pour accepter un appel entrant
Il est possible d'accepter des appels entrants en appuyant sur la touche recherche arrière ou en appuyant sur la touche OK.
Rejet d'un appel téléphonique
Il est possible de rejeter des appels entrants en :
- appuyant sur la touche recherche avant, ou en appuyant sur la touche flèche vers le bas pour mettre en évidence REFUS, puis en appuyant sur la touche OK.
Recevoir un second appel entrant
Note : La fonction de second appel entrant doit être activée sur votre téléphone.
Si un appel arrive pendant un appel en cours, une tonalité se fait entendre et vous avez la possibilité de terminer l'appel actif et d'accepter l'appel entrant.
Pour accepter un second appel entrant
Note: Le premier appel entrant sera alors coupé et remplacé par le deuxième appel entrant.
Un deuxième appel entrant peut être accepté en appuyant sur la touche recherche arrière sur le volant de direction ou sur l'autoradio, ou en appuyant sur la touche OK de l'autoradio.
Pour rejeter un second appel entrant
Il est possible de rejeter un deuxième appel entrant en :
- appuyant sur la touche recherche avant, ou en appuyant sur la touche flèche vers le bas pour mettre en évidence REFUS, puis en appuyant sur la touche OK.
Il est possible de refuser les deuxièmes appels entrants en appuyant sur la touche de fonction 4.
Mise en sourdine du microphone
Note: Lors d'un appel, il est possible de mettre le microphone en sourdine. Pendant la mise en sourdine, le confirmation s'affiche à l'écran.
Appuyez sur la touche de fonction 1. Appuyez de nouveau sur la touche pour annuler cette fonction.
Pour changer de téléphone actif
Note: Les téléphones doivent être connectés par liaison bonding au système avant d'être rendus actifs.
Note: Après avoir connecté un téléphone au système par liaison bonding, il devient le téléphone actif.
- Appuyez sur la touche PHONE.
- Appuyez sur les touches flèche vers le haut/bas jusqu'à ce que CHOISIR TELEPHONE s'affiche.
- Appuyez sur la touche OK.
- Faites défiler les différents téléphones enregistrés à l'aide des touches flèche vers le haut/bas pour afficher les téléphones connectés par liaison bonding.
- Appuyez sur la touche OK pour sélectionner le téléphone de votre choix comme téléphone actif.
Pour supprimer un téléphone connecté par liaison bonding
Un téléphone connecté par liaison bonding peut être supprimé à tout moment du système, sauf si un appel est en cours.
- Appuyez sur la touche PHONE.
- Appuyez sur les touches flèche vers le haut/bas jusqu'à ce que CHOISIR TELEPHONE s'affiche.
- Appuyez sur la touche OK.
- Appuyez sur les touches flèche vers le haut/bas pour mettre en évidence le téléphone souhaité.
- Appuyez sur la touche de fonction 1.
Attention

L'utilisation du système lorsque le moteur est arrêté vide la batterie.
La reconnaissance vocale permet le fonctionnement du système sans devoir détourner notre attention de la route pour modifier les réglages ou recevoir du feedback du système.
Lorsque vous donnez une des instructions définies avec le système actif, le système de reconnaissance vocale convertit votre instruction en signal de commande pour le système. Vos entretes prennent la forme de dialogues ou instructions. Vous êtes guidé dans ces dialogues par des announcements ou des questions.
Veuillez-vous familiariser avec les fonctions du système avant d'utiliser la reconnaissance vocale.
Commandes prises en charge
Le système de commande vocale vous permet de commander les fonctions du véhicule suivantes :
- Téléphone Bluetooth radio Lecteur de CD
- appareil externe (USB)
- appareil externe (iPod)
- climatisation automatique
Réponse du système
Pendant une séance de commande vocale, le système vous informe par un bip sonore qu'il est prêt à continuer.
N'essayez pas de donner une instruction avant d'avoir entendu le bip. Le système de commande vocale reprend chaque instruction prononcée.
Si vous n'êtes pas sûr de savoir comment continuer, dites "AIDE" pour obtenir de l'aide ou "ANNULER" si vous ne voulez pas continuer.
La fonction "AIDE" fournit uniquement un sous-ensemble des commandes vocales disponibles. Des explications détaillées de toutes les commandes vocales possibles figurent sur les pages suivantes.
Commandes vocales
Toutes les commandes vocales doivent être données d'un ton naturel, comme si vous parliez à un passager ou au téléphone. Votre niveau de voix doit être adapté au niveau de bruit régnant à l'intérieur ou à l'extérieur du véhicule mais vous ne devez pas crier.
Fonctionnement du système
L'ordre et le contenu des commandes vocales sont indiqués dans les listes suivantes. Les tableaux indiquent l'ordre des commandes vocales d'utilisateur et les réponses du système pour chaque fonction disponible.
indique un numéro ou une étiquette d'identification en mémoire que l'utilisateur doit indiquer.
Raccourcis
Il existe plusieurs raccourcis de commande vocale, qui vous permettent de piloter certaines fonctions du véhicule sans passer par le menu de commande complet. Ce sont les suivants :
- Téléphone: APPELER NOM, APPELER NUMERO et RAPPELER.
- Téléphone: APPELER NOM, PRENOM à ENDROIT. Par exemple: appeler Fred Bloggs à la maison.
- Climatisation automatique : TEMPERATURE, MODE AUTOMATIQUE, ACTIVER DEGIVRAGE, ACTIVER DESEMBUAGE, DESACTIVER DEGIVRAGE et DESACTIVER DESEMBUAGE. Radio: NOM DE LA RADIO.
- Appareil externe (USB et iPod) : TITRE.
Démarrage de la communication avec le système
Avant de pouvoir commencer à parler, vous devez d'abord appuyer sur la touche VOIX pour chaque opération et attendre jusqu'à ce que le système émette un bip. Voir Commande vocale (page 49).
Appuyer de nouveau sur la touche pour annuler la séance de commande vocale.
Étiquette d'identification
La fonctionnalité étiquette d'identification est compatible avec les fonctions téléphone, système audio et aide à la navigation à l'aide de la fonction "ENREGISTRER NOM". Vous pouvez attribuer une étiquette d'identification aux entrées telles que vos stations radio préférées et les numéros de téléphone de vos contacts personnels. Voir
Commandes d'autoradio (page 292). Voir Commandes de téléphone (page 300).
- Elle permet d'enregistrer jusqu'à 20étiquettes d'identification par fonction. La durée d'enregistrement moyenne pour chaque étiquette d'identification est d'environ 2-3 secondes.
Lecteur de CD
Vous pouvez commander la lecture directement par commande vocale.
Vue d'ensemble
La vue d'ensemble ci-dessous indique les commandes vocales disponibles. Les listes suivantes donnent de plus amples informations sur le menu complet des commandes dans des cas bien précis.
| "LECTEUR CD" |
| "AIDE" |
| "DEMARRER LECTURE" |
| "PLAGE"b |
| "LECTURE ALEATOIRE TOTALE" |
| "LECTURE ALEATOIRE DU DOSSIERT"*** |
| "ARRETER LA LECTURE ALEATOIRE" |
| "REPETER DOSSIER"* |
| "REPETER PLAGE" |
| "ARRETER REPETITION" |
- Peut être utilisé comme raccourci. Disponible uniquement si le CD contient des fichiers de données audio tels que MP3.
Plage
Vous pouvez désigner une plage directement sur votre CD.
| Étapes | L'utilisateur dit | Le système répond |
| 1 | "LECTEUR CD" | "LECTEUR CD" |
| 2 | "PLAGE"® | "NUMÉRO PLAGE S'IL VOUS PLAît?" |
| 3 | "<un numéro entre 1 et 99>**** | "PLAGE <nummer>" |
- Peut être utilisé comme raccourci. De plus, il est possible de parler des nombres de 4 chiffres maximum (par exemple "2", "4", "5" pour la plage 245)
Lecture aléatoire totale
Pour régler la lecture aléatoire.
| Étapes | L'utilisateur dit | Le système répond |
| 1 | "LECTEUR CD" | "LECTEUR CD" |
| 2 | "LECTURE ALEATOIRE TOTALE" | |
Autoradio
Les commandes vocales de la radio prennent en charge la fonctionnalité de la radio et vous permettent de sélectionner les stations de radio par commande vocale.
Vue d'ensemble
La vue d'ensemble ci-dessous indique les commandes vocales disponibles. Les listes suivantes donnent de plus amples informations sur le menu complet des commandes.
| "RADIO" |
| "AIDE" |
| "AM" |
| "FM" |
| "NOM DE LA RADIO"° |
| "SUPPRIMER NOM" |
| "SUPPRIMER RÉPERTOIRE" |
| "OUVRIR RÉPERTOIRE" |
| "ENREGISTRER NOM" |
| "DEMARRER LECTURE" |
- Peut être utilisé comme raccourci.
Fréquence
Cette fonction vous permet de régler les fréquences de votre radio par commandes vocales.
| Étapes | L'utilisateur dit | Le système répond |
| 1 | "RADIO" | "RADIO" |
| 2 | "AM" | "FREQUENCY AM, S'IL VOUS PLAIT ?" |
| "FM" | "FREQUENCY FM, S'IL VOUS PLAIT ?" |
| 3 | "..." | "STATION <fréquence>" |
- La saisie de la fréquence peut s'effectuer de plusieurs façons. Se reporter aux informations ci-dessous afin d'obtenir des exemples concrets.
Bande FM: 87.5 à 108.0 par incréments de 0,1
"Cent un point un" (101.1) "Cent huit point zéro" (108.0)
"Quatre-vingt-neuf point neuf" (89.9) Bande AM/MW : 531 à 1602 par incréments de 9 "Quatre-vingt-dix point zéro" (90.0) "Cent point cinq" (100.5)
Commande vocale
Bande AM/LW: 153 à 281 par incrément de 1
"Cinq cent trente et un" (531) "Neuf cent" (900) "Mille quatre cent quarante" (1440)
"Mille cinq cent trois" (1503) "Mille quatre-vingt" (1080)
Enregisternom
Si vous avez réglé une station de radio, vous pouvez l'enregistrer avec un nom dans le répertoire.
| Étapes | L'utilisateur dit | Le système répond |
| 1 | "RADIO" | "RADIO" |
| 2 | "ENREGISTRER NOM" | "ENREGISTRER NOM"
"NOM S'IL VOUS PLAît?" |
| 3 | "<nom>" | "RÉPÉTEZ NOM S'IL VOUS PLAît" |
| 4 | "<nom>" | "ENREGISTREMENT NOM"
"<nom> ENREGISTRÉ" |
Cette fonction vous permet de rappeler une station de radio enregistrée.
| Étapes | L'utilisateur dit | Le système répond |
| 1 | "RADIO" | "RADIO" |
| 2 | "NOM DE LA RADIO"¹a | "NOM S'IL VOUS PLAÎT? " |
| 3 | "<nom>" | "STATION<nom>" |
- Peut être utilisé comme raccourci.
Cette fonction vous permet de supprimer une station de radio enregistrée.
| Étapes | L'utilisateur dit | Le système répond |
| 1 | "RADIO" | "RADIO" |
| 2 | "SUPPRIMER NOM" | "NOM S'IL VOUS PLAÎT?" |
| 3 | " | |
Commande vocale
| Etapes | L'utilisateur dit | Le système répond |
| | "CONFIRMER OUI OU NON" |
| 4 | "OUI" | "SUPPRIMPÉ" |
| "NON" | "COMMANDE ANNULÉE" |
Ouvrir répertoire
Cette fonction permet au système de vous indiquer toutes les stations de radio enregistrées.
| Étapes | L'utilisateur dit | Le système répond |
| 1 | "RADIO" | "RADIO" |
| 2 | "OUVRIR RÉPERTOIRE" | "OUVRIR <RÉPERTOIRE>" |
Supprimer répertoire
Cette fonction vous permet de supprimer d'un coup toutes les stations de radio enregistrées.
| Étapes | L'utilisateur dit | Le système répond |
| 1 | "RADIO" | "RADIO" |
| 2 | "SUPPRIMER RÉPERTOIRE" | "SUPPRIMER RÉPERTOIRE"
"CONFIRMER OUI OU NON" |
| 3 | "OUI" | "RÉPERTOIRE SUPPRIMÉ" |
| "NON" | "COMMANDE ANNULÉE" |
Lecture
Cette fonction permet de faire basculer la source audio sur la radio.
| Étapes | L'utilisateur dit | Le système répond |
| 1 | "RADIO" | "RADIO" |
| 2 | "DEMARRER LECTURE" | |
Entrée auxiliaire
Cette fonction permet de faire basculer la source audio sur l'appareil d'entrée auxiliaire branché.
| Étapes | L'utilisateur dit | Le système répond |
| 1 | "APPAREIL EXTERNE" | "APPAREIL EXTERNE" |
| 2 | "ENTREE AUDIO" | "ENTREE AUDIO" |
Appareils externes - USB
Ces commandes vocales acceptent la fonctionnalité d'un appareil externe USB qu'il est possible de brancher au système audio.
Vue d'ensemble
La vue d'ensemble ci-dessous indique les commandes vocales disponibles. Les listes suivantes donnent de plus amples informations sur le menu complet des commandes dans des cas bien précis.
| "APPAREIL EXTERNE", "USB" |
| "AIDE" |
| "DEMARRER LECTURE" |
| "PLAGE"b |
| "LISTE D'ECOUTE"* |
| "DOSSIER"* |
| "LECTURE ALEATOIRE TOTALE" |
| "LECTURE ALEATOIRE DU DOSSIER" |
| "LECTURE ALEATOIRE DE LA LISTE D'ECOUTE" |
| "ARRETER LA LECTURE ALEATOIRE" |
| "REPETER PLAGE" |
| "REPETER DOSSIER" |
| "ARRETER REPETITION" |
- Peut être utilisé comme raccourci. Il est impératif d'attribuer des noms de fichiers spéciaux aux listes d'écoute et aux dossiers actifs par commande vocale. Voir Généralités (page 308).
Lecture USB
Cette fonction vous permet de faire basculer la source audio sur l'appareil USB branché.
| Étapes | L'utilisateur dit | Le système répond |
| 1 | "APPAREIL EXTERNE" | "APPAREIL EXTERNE" |
| 2 | "USB" | "USB" |
| 3 | "DEMARRER LECTURE" | |
Plage USB
Vous pouvez désigner une plage directement sur votre appareil USB.
| Étapes | L'utilisateur dit | Le système répond |
| 1 | "APPAREIL EXTERNE" | "APPAREIL EXTERNE" |
| 2 | "USB" | "USB" |
| 3 | "PLAGE" | "NUMéro PLAGE S'IL VOUS PLAît?" |
| 4 | "<un numéro entre 1 et 99>*** | "PLAGE <nummer>" |
- De plus, il est possible de parler des nombres de 4 chiffres maximum (par exemple "2", "4", "5" pour la plage 245)
Appareils externes - iPod
Ces commandes vocales acceptent la fonctionnalité d'un iPod qu'il est possible de brancher au système audio.
Vue d'ensemble
La vue d'ensemble ci-dessous indique les commandes vocales disponibles. Les listes suivantes donnent de plus amples informations sur le menu complet des commandes dans des cas bien précis.
| "APPAREIL EXTERNE", "IPOD" |
| "AIDE" |
| "DEMARRER LECTURE" |
| "PLAGE" |
| "LISTE D'ECOUTE"* |
| "LECTURE ALEATOIRE TOTALE" |
| "LECTURE ALEATOIRE DE LA LISTE D'ECOUTE" |
| "ARRETER LA LECTURE ALEATOIRE" |
| "REPETER PLAGE" |
| "ARRETER REPETITION" |
- Peut être utilisé comme raccourci. Il est impératif d'attribuer des noms de fichiers spéciaux aux listes d'écoute activées par commande vocale. Voir Généralités (page 308).
Plage ipod
Vous pouvez choisir une plage figurant sur la liste "tous les titres" directement sur votre iPod.
| Étapes | L'utilisateur dit | Le système répond |
| 1 | "APPAREIL EXTERNE" | "APPAREIL EXTERNE" |
| 2 | "IPOD" | "IPOD" |
| 3 | "PLAGE"® | "NUMéro PLAGE S'IL VOUS PLAît? " |
| 4 | "<un numéro entre 1 et 99>**** | "PLAGE <nummer>" |
- Peut être utilisé comme raccourci. De plus, il est possible de parler des nombres de 5 chiffres maximum (par exemple "5", "2", "4", "5", "3" pour la plage 52453), allant jusqu'à 65535.
Liste d'écoute de l'iPod
Vous pouvez avoir besoin d'une liste d'écoute directement sur votre iPod.
| Étapes | L'utilisateur dit | Le système répond |
| 1 | "APPAREIL EXTERNE" | "APPAREIL EXTERNE" |
| 2 | "IPOD" | "IPOD" |
| 3 | "LISTE D'ECOUTE"* | "NUMERO DE LISTE D'ECOUTE S'IL VOUS PLAIT ?" |
| 4 | "<un numéro entre 1 et 10>" | "LISTE D'ECOUTE <nummer>" |
- Il est impératif d'attribuer des noms de fichiers spéciaux aux listes d'écoute activées par commande vocale. Voir Généralités (page 308).
Téléphone
Votre système de téléphone vous permet de créer un réseau supplémentaire. Les contacts enregistrés peuvent être appelés par commande vocale. Les numéros de téléphone enregistrés à l'aide de la commande vocale sont enregistrés sur le système du véhicule et non pas dans votre téléphone.
Vue d'ensemble
La vue d'ensemble ci-dessous indique les commandes vocales disponibles. Les listes suivantes donnent de plus amples informations sur le menu complet des commandes dans des cas bien précis.
| "TELEPHONE" |
| "AIDE" |
| "NOM DU PORTABLE"a,b |
| "APPELER NUMÉRO"a |
| "APPELER NOM"a |
| "SUPPRIMER NOM" |
| "SUPPRIMER RÉPERTOIRE" |
| "OUVRIR RÉPERTOIRE" |
| "ENREGISTRER NOM" |
| "RAPPELER"A |
| "ACCEPTER APPELS" |
| "REFUSER APPELS" |
- Peut être utilisé comme raccourci.
Fonctions du téléphone
Les numéros peuvent être appelés après avoir donné la commande vocale de l'étiquette d'identification.
| Étapes | L'utilisateur dit | Le système répond |
| 1 | "TELEPHONE" | "TELEPHONE" |
| 2 | "APPELER NUMÉRO"¹ | "NUMÉRO S'IL VOUS PLAît?" |
| 3 | "phoné de téléphone" | "phoné de téléphone> CONTINUER?" |
| 4 | "APPELER" | "APPEL EN COURS" |
| CORRECTION" | "répéter la dernière partie du numéro> CONTINUER?" |
- Peut être utilisé comme raccourci.
Appeler nom
Les numéros peuvent être appelés après avoir donné la commande vocale de l'étiquette d'identification.
| Étapes | L'utilisateur dit | Le système répond |
| 1 | "TELEPHONE" | "TELEPHONE" |
| 2 | "APPELER NOM"° | "NOM S'IL VOUS PLAît?°" |
| 3 | "<nom>" | "APPELER <nom>"
"CONFIRMER OUI OU NON" |
Commande vocale
| Étapes | L'utilisateur dit | Le système répond |
| 4 | "OUI" | "APPEL EN COURS" |
| "NON" | "COMMANDE ANNULÉE" |
- Peut être utilisé comme raccourci.
Rappeler
Cette fonction vous permet de recomposer le dernier numéro de téléphone appelé.
| Étapes | L'utilisateur dit | Le système répond |
| 1 | "TELEPHONE" | "TELEPHONE" |
| 2 | "RAPPELER"° | "RAPPELER"
"CONFIRMER OUI OU NON" |
| 3 | "OUI" | "APPEL EN COURS" |
| "NON" | "COMMANDE ANNULÉE" |
- Peut être utilisé comme raccourci.
Nom du portable
Cette fonction vous permet d'accéder aux numéros de téléphone enregistrés avec une étiquette d'identification dans votre téléphone mobile.
| Étapes | L'utilisateur dit | Le système répond |
| 1 | "TELEPHONE" | "TELEPHONE" |
| 2 | "NOM DU PORTABLE" | "NOM DU PORTABLE" <dialogue dépendant du téléphone>" |
- Peut être utilisé comme raccourci.
DTMF (composition avec tonalité)
Cette fonction permet de transférer les numéros parlés en tonalités DTMF. Par exemple d’introduire à distance votre répondeur domestique ou de saisir un numéro PIN, etc...
Note: DTMF peut uniquement être utilisé pendant un appel en cours. Actionner la touche VOICE et attendre que le système se manifeste.
Ne fonctionne que sur les véhicules équipés d'une touche VOICE spéciale.
| Étapes | L'utilisateur dit | Le système répond |
| 1 | | "NUMÉRO S'IL VOUS PLAît?" |
| 2 | " <numéros 1 à 9, zéro, dièse, étoile>" | |
Enregisternom
La commande "ENREGISTRER NOM" permet d'enregistrer de nouvelles entrées. Cette fonction peut être utilisée pour composer un numéro en utilisant le nom que le numéro de téléphone.
| Étapes | L'utilisateur dit | Le système répond |
| 1 | "TELEPHONE" | "TELEPHONE" |
| 2 | "ENREGISTERRER NOM" | "ENREGISTERRER NOM"
"NOM S'IL VOUS PLAît?" |
| 3 | "<nom>" | "RÉPÉTEZ NOM S'IL VOUS PLAît" |
| 4 | "<nom>" | "ENREGISTERSTREMENT NOM"
"<nom> ENREGISTERRÉ"
"NUMéro S'IL VOUS PLAît?" |
| 5 | "<numéro de téléphone>" | "<numéro de téléphone>" |
| 6 | "ENREGISTERRER" | "ENREGISTERSTREMENT NUMéro"
"<numéro de téléphone>"
"NUMéro ENREGISTERRÉ" |
Les noms enregistrés peuvent également être supprimés du répertoire.
| Étapes | L'utilisateur dit | Le système répond |
| 1 | "TELEPHONE" | "TELEPHONE" |
| 2 | "SUPPRIMER NOM" | "NOM S'IL VOUS PLAît? " |
| 3 | "<nom>" | "SUPPRIMER <nom>" |
Commande vocale
| Etapes | L'utilisateur dit | Le système répond |
| | "CONFIRMER OUI OU NON" |
| 4 | "OUI" | " <nom> SUPPRIMPÉ" |
| "NON" | "COMMANDE ANNULÉE" |
Ouvrir répertoire
Utilisez cette fonction pour que le système vous donne tous les contacts enregistrés.
| Étapes | L'utilisateur dit | Le système répond |
| 1 | "TELEPHONE" | "TELEPHONE" |
| 2 | "OUVRIR RÉPERTOIRE" | "OUVRIR RÉPERTOIRE" |
Supprimer répertoire
Cette fonction vous permet de supprimer tous les contacts d'un coup.
| Etapes | L'utilisateur dit | Le système répond |
| 1 | "TELEPHONE" | "TELEPHONE" |
| 2 | "SUPPRIMER RÉPERTOIRE" | "SUPPRIMER RÉPERTOIRE" "CONFIRMER OUI OU NON" |
| 3 | "OUI" | "REPERTOIRE SUPPRIME" |
| "NON" | "COMMANDE ANNULÉE" |
Refuser les appels
Il est possible de régler le refus automatique des appels par commande vocale.
| Étapes | L'utilisateur dit | Le système répond |
| 1 | "TELEPHONE" | "TELEPHONE" |
| 2 | "REFUSER APPELS" | "REFUSER APPELS" |
| "ACCEPTER APPELS"* | "ACCEPTER APPELS" |
- utilisez cette commande pour annuler le mode refuser
Climatisation
Les commandes vocales de climatisation prennant en charge la fonctionnalité des réglages de vitesse de ventilateur, de température et de mode. Les fonctions ne sont pas toutes disponibles sur tous les véhicules.
Vue d'ensemble
La vue d'ensemble ci-dessous indique les commandes vocales disponibles. Les listes suivantes donnent de plus amples informations sur le menu complet des commandes dans des cas bien précis.
| "CLIMATISATION" |
| "AIDE" |
| "VENTILATEUR"aa |
| "ACTIVER DÉGIVRAGE/ACTIVER DÉSEMBUAGE"aa |
| "DÉSACTIVER DÉGIVRAGE/DÉSACTIVER DÉSEMBUAGE"aa |
| "TEMPÉRATURE"aa |
| "MODE AUTOMATIQUE"aa |
- Peut être utilisé comme raccourci. Dans les véhicules équipés d'un module de langue Anglais, le raccourci "VENTILATEUR" n'est pas disponible.
Ventilateur
Cette fonction vous permet de régler la vitesse du ventilateur.
Commande vocale
| Étapes | L'utilisateur dit | Le système répond |
| 1 | "CLIMATISATION" | "CLIMATISATION" |
| 2 | "VENTILATEUR"° | "VITESSE VENTILATEUR, S'IL VOUS PLAît?". |
| 3 | "MINIMUM" | "VENTILATEUR MINIMUM" |
| "<un numéro entre 1 et 7>" | "VENTILATEUR <nummer>" |
| "MAXIMUM" | "VENTILATEUR MAXIMUM" |
- Peut être utilisé comme raccourci. Dans les véhicules équipés d'un module de langue Englais, le raccourci "VENTILATEUR" n'est pas disponible.
Dégivrage/Désembuage
| Étapes | L'utilisateur dit | Le système répond |
| 1 | "CLIMATISATION" | "CLIMATISATION" |
| 2 | "ACTIVER DEGIVRAGE/ACTIVER DESEMBUAGE"* | "ACTIVER DEGIVRAGE/ACTIVER DESEMBUAGE" |
| "DEACTIVER DEGIVRAGE/DESA-CTIVER DESEMBUAGE"* | "DEACTIVER DEGIVRAGE/DESA-CTIVER DESEMBUAGE" |
- Peut être utilisé comme raccourci.
Température
Cette fonction vous permet de régler la température.
| Étapes | L'utilisateur dit | Le système répond |
| 1 | "CLIMATISATION" | "CLIMATISATION" |
| 2 | "TEMPÉRATURE"° | "TEMPÉRATURE, S'IL VOUS PLAît? " |
| 3 | "MINIMUM" | "TEMPÉRATURE MINIMUM" |
Commande vocale
| Étapes | L'utilisateur dit | Le système répond |
| " <un numéro entre 15 et 29 °C par incréments de 0,5>" ou " <un numéro entre 59 et 84 °F>" | "TEMPÉRATURE <nummer>" |
| "MAXIMUM" | "TEMPÉRATURE MAXIMUM" |
- Peut être utilisé comme raccourci.
Mode AUTO
| Étapes | L'utilisateur dit | Le système répond |
| 1 | "CLIMATISATION" | "CLIMATISATION" |
| 2 | "MODE AUTOMATIQUE"° | "MODE AUTOMATIQUE" |
- Peut être utilisé comme raccourci. Peut être désactivé en sélectionnant une température ou une vitesse de ventilateur différente.
Attention
Procéder avec précaution lors de la manipulation d'appareils externes à connecteurs exposés (tel que le connecteur USB). Lorsque cela s'avère possible, toujours replacer l'obturateur/l'écran de protection. Il peut se produire une décharge électrostatique qui risque d'endommager l'appareil.
Ne pas toucher ou manipuler la prise USB du véhicule. Obturer la prise lorsqu'elle n'est pas utilisée. Utiliser uniquement des appareils USB à mémoire de grande capacité. Toujours basculer l'autoradio sur une autre source (par exemple la radio) avant de débrancher l'appareil USB. Ne pas poser ou brancher de concentrateurs ou séparateurs USB.
Note: Le système est conçu uniquement pour identifier et lire des fichiers audio adaptés provenant d'un appareil USB à mémoire de grande capacité ou d'un iPod. Le fonctionnement de tous les appareils USB avec ce système ne peut pas être garanti.
Note: Il est possible de brancher des apparèels compatibles à l'aide d'un cable USBTRAINTANT ainsi que ceux qui se branchent directement à la prise USB du vehicule (par exemple les cartes mémoire et clés USB).
Note: Il se peut que certains appareils USB avec une consommation électrique plus élevée ne soient pas compatibles (par exemple certains lecteurs de disque dur plus importants).
Note: La durée d'accès pour la lecture des fichiers sur l'appareil externe diffère en fonction de la structure du fichier, sa taille et le contenu de l'appareil.
Le système accepte une gamme variée d'appareils externes qui s'intègrent parfaitement à votre autoradio via la prise USB et la prise de signaux d'entrée auxiliaires. L'autoradio permet de commander l'appareil externe, une fois ce dernier branché.
Des appareils compatibles typiques sont listés ci-dessous:
- Clés USB Lecteurs de disque dur portables USB
- Certains lecteurs MP3 avec connexion USB
- Lecteurs multimédia iPod (se reporter à www.ford-mobile-connectivity.com pour la première liste de compatibilité en date).
Le système est compatible avec USB 2.0 Full Speed, conforme à USB 1.1 Host et accepte les systèmes à fichiers FAT 16/32.
Créer uniquement une partition simple sur l'appareil USB.
Il est recommandé de placer les fichiers MP3 dans un dossier.
Si des listes d'écoute sont créées, elle doit contenir les chemins d'accès au fichier corrects ainsi que la référence correcte à l'appareil USB en question. Il est préférible de créer la liste d'écoute après avoir transféré les fichiers audio sur l'appareil USB.
Créer impérativement les listes d'écoute au format. m3u.
Les fichiers audio doivent être au format. m3u.
Ne pas excéder les limites suivantes :
1000 articles par dossier (fichiers, dossiers et listes d'écoute) - 5000 dossiers par appareil USB (listes d'écoute incluses) 8 niveaux de sous-dossier.
Pour activer la commande vocale des dossiers et listes d'écoute personalisés, suivre la procédure ci-dessous:
- Créer des dossiers dont le nom présente la structure suivante : "Ford<*>". reprise un chiffre de 1 à 10. Par exemple "Ford3" sans suffixe.
- Créer des listes d'écoute dont le nom présente la structure suivante : "Ford < *>. m3u" ≤ reprise un chiffre de 1 à 10. Par exemple "Ford5. m3u" sans espace entre "Ford" et le chiffre.
Après quoi il sera possible de sélectionner les dossiers et listes d'écoute personnalisés au moyen de la commande vocale.
Ipod
Pour activer la commande vocale des listes d'écoute personalisées, créé des listes d'écoute dont le nom présente la structure suivante: "Ford<*>" <*> représentée un chiffre de 1 à 10. Par exemple "Ford7" sans espace entre "Ford" et le chiffre.
Après quoi il sera possible de sélectionner les listes d'écoute personnalisées au moyen de la commande vocale.
Avertissement

Veiller à ce que l'appareil externe soit solidement fixé à l'intérieur du véhicule et que les connexions n'obstruent pas les commandes inductives.
Il est possible de brancher des appareils externes à l'aide de la prise de signaux d'entrée auxiliaire et du port USB. Voir Prise d'entrée auxiliaire (page 131). Voir Port USB (page 131).
Connexion
Brancher l'appareil et si nécessaire le fixer pour l'empêcher de bouger à l'intérieur du véhicule.
Brancher un ipod
Brancher le câble USB de l'iPod à la prise USB du véhicule.
Branchement d'un dispositif externe - vehicules avec: bluetooth
Branchement d'un dispositif audio Bluetooth
Attention
Comme divers accords existent, les fabricants peuvent instaurer une variété de profils dans leurs dispositifs Bluetooth. Il est possible que pour cette raison une incompatibilité se produise entre le téléphone et le système Bluetooth, ce qui peut dans certains cas limiter la performance du système. Pour éviter cette situation, utiliser uniquement les dispositifs recommandés.
Veuillez visiter le site www.ford-mobile-connectivity.com pour de plus amples informations.
Effectuer une liaison bonding du dispositif
Pour connecter le dispositif au système, suivre la même procédure que pour les téléphones mains libres Bluetooth. Voir Configuration Bluetooth (page 286).
Utilisation du dispositif
Note: Les touches de recherche et les informations de fichier ne fonctionnent que sur certains téléphones et appareils.
Sélectionner Bluetooth audio comme source active.
- Sélectionner AUX.
- Appuyez sur les touches flèche haut et bas pour sélectionner la fonction souhaitée.
- Appuyez sur la touche OK.
Les pistes peuvent être lues en passant à la piste suivante et en revenant à la piste précédente à l'aide des commandes au volant ou directement à partir des commandes de l'autoradio.
Commande audio
Appuyez sur les touches de recherche vers le haut et vers le bas pour faire défiler les plages vers l'avant ou l'arrière.
Maintenez les touches de recherche enfoncées pour activer le retour/avance rapide dans le contenu des plages.
Appuyez sur la touche INFO ou sur la touche de fonction 4 pour que les informations suivantes s'affichent :
Titre. Artiste. Album. - Nom de fichier.
Utilisation d'un dispositif USB
Différentes icônes seront à identifier les divers types de fichiers, dossiers audio, etc...

L'appareil USB est la source active

Dossier

Listedécoute

Album

Artiste

Nom du fichier

Titre de plage

Information non disponible.
Utilisation
Sélectionnez l'appareil USB en tant que source audio en appuyant plusieurs fois sur la touche AUX jusqu'à ce que l'écran USB apparaisse sur l'afficheur. Une fois l'appareil USB branché, la lecture de la première plage du premier dossier commence automatiquement. Ensuite, après avoir changé de source audio, la position de lecture sur l'appareil USB est retrouvée.
Pour naviguer dans le contenu de l'appareil USB, appuyez une fois sur la touche flèche vers le haut/bas ou sur la touche OK.
Les informations relatives aux plages ainsi que d'autres informations importantes décrites ci-dessous apparaisent sur l'afficheur :
- Une barre de défilement vertical située sur la droite de l'afficheur indique la position actuelle de Vue du dossier. Lorsque n > n suit une entrée, cela indique qu'il est possible de voir les entrées se trouvant au niveau inférieur (par exemple un dossier portant le nom d'un album contenant des plages d'album).
Lorsque n > n précède une entrée, cela indique qu'il est possible de voir les entrées se trouvant au niveau supérieur. - Des icônes situées à gauche du nom de plage/dossier indiquent le type de fichier/dossier. Reportez-vous à la liste pour obtenir des informations explicatives sur les icônes.
Pour naviguer dans le contenu de l'appareil USB, utilisez les touches flèche vers le haut/bas pour faire défiler les listes et les touches flèche vers la gauche/droite pour monter ou descendre dans l'arborescence du dossier. Une fois que vous piste, liste de lecture ou dossier souhaité(e) est mis(e) en évidence, appuyez sur la touche OK pour commencer la lecture.
Note: Si vous désirez sauter au niveau le plus haut du contenu de l'appareil USB, maintenez enfoncée la touche flèche vers la gauche.
Commande audio
Appuyez sur les touches de recherche vers le haut et vers le bas pour faire défiler les plages vers l'avant ou l'arrière.
Maintenez les touches de recherche enfoncées pour activer le retour/l'avance rapide dans le contenu des plages.
Utilisez les touches de fonction afin d'activer le mode aléatoire, repeats et scan en fonction de l'appareil, des dossiers et des listes de lecture.
Appuyez sur la touche INFO ou sur la touche de fonction 4 pour que les informations suivantes s'affichent :
- Titre Artiste Album Nom de dossier Nom de fichier.
Utilisation d'un IPOD
Différentes icônes seront à identifier les divers types de fichiers, dossiers audio, etc...

L'iPod est la source active

Liste de lecture de l'iPod

Artiste de l'iPod

Album de l'iPod

Genre de l'iPod

Chanson de l'iPod

Catégorie générique de l'iPod

Fichier multimédia générique de l'iPod
Utilisation
Connectez l'iPod. Voir Branchement d'un dispositif externe (page 309).
Sélectionnez l'iPod en tant que source audio en appuyant plusieurs fois sur la touche AUX jusqu'à ce que l'écran iPod apparaisse sur l'afficheur.
La liste du menu de l'iPod permettant de parcourir le contenu apparaît sur l'écran de l'autoradio. La navigation dans le contenu s'effectue selon les mêmes principes que ceux de l'utilisation de l'iPod autonome (par exemple recherche par artiste, titre, etc.). Pour parcourir le contenu de l'iPod, appuyez sur la touche flèche vers le haut/bas ou sur la touche OK une fois.
Les informations relatives aux plages ainsi que d'autres informations importantes décrites ci-dessous apparaissent sur l'afficheur :
- Une barre de défilement vertical située sur la droite de l'afficheur indique la position actuelle de Vue de liste. Lorsque n > n suit une entrée, cela indique qu'il est possible de voir les entrées se trouvant au niveau inférieur (par exemple tous les albums composés par le même artiste). Lorsque n > n précède une entrée, cela indique qu'il est possible de voir les entrées se trouvant au niveau supérieur.
- Une icône sur la gauche indique le type de liste actuellement affichée (par exemple liste d'albums). Reportez-vous à la liste pour obtenir des informations explicatives sur les icônes.
Pour naviguer dans le contenu de l'iPod, utilisez les touches flèche vers le haut/bas pour faire défiler les listes et les touches flèche vers la gauche/droite pour monter ou descendre dans l'arborescence. Lorsque la plage, la liste d'écoute, l'album, l'artiste ou le genre désiré(e) est mis(e) en surbrillance, appuyez sur la touche OK pour sélectionner la lecture.
Note: Si vous désirez sauter au niveau le plus haut du contenu de l'iPod, maintenez enfoncée la touche flèche vers la gauche.
Commande audio
Appuyez sur les touches de recherche vers le haut et vers le bas pour faire défiler les plages vers l'avant ou l'arrière.
Maintenez les touches de recherche enfoncées pour activer le_retour/l'avance rapide dans le contenu des plages.
Utilisez les touches de fonction pour activer la lecture aléatoire et la lecture répétée des listes d'écoute.
Appuyez sur la touche de fonction 3 pour balayer l'intégralité de l'appareil ou une liste d'écoute s'il/elle est en cours de fonctionnement.
Appuyez sur la touche INFO ou sur la touche de fonction 4 pour que les informations suivantes s'affichent :
Généralités
Pour accéder aux fonctions du système, appuyer sur la touche correspondante de la façade. Le mode sélectionné s'affichera.
Mode une heure
Afin d'économiser la batterie, le système peut être réglé pour ne fonctionner que pendant une heure. Si le contact est coupé, appuyer sur la touche ON/OFF permettre en marche le système. Le système s'éteint automatiquement au bout d'une heure.
Avertissements

La vitesse maximale indiquée peut ne pas être applicable pour votre véhicule. Vous êtes responsable de
tout moment du contrôle du véhicule, de la supervision des systèmes et du respect des limites de vitesse.

Le verre de l'écran à cristaux liquides peut se casser en cas de choc avec un objet dur. Si le verre se brise, ne
Pas toucher la matière cristalline liquide. En cas de contact avec la peau, la laver immédiatement à l'eau et au savon.

Cet appareil est un produit laser de haute qualité qui emploie un rayon laser invisible. S'il est manipulé
incorrectement, il peut émettre des rayons dangereux. Ne pas essayer de regarder par les ouvertures de l'appareil.
Attention

Ne pas utiliser des CD de forme irrégulière ou munis d'un film de protection anti-rayures ou
d'étiquettes auto-adhésives. Les réclamations en garantie ne seront pas acceptées lorsque ce type de disque est trouvé à l'intérieur d'un appareil returné pour réparation.
Attention
Ne pas nettoyer l'appareil avec des solvants ou des produits de nettoyage en aérosol. Utiliser uniquement un chiffon humide. Ne pas insérer de corps étrangers dans les lecteurs de disque ou les fentes de carte media de l'appareil. Ne pas insérer plus d'un disque à la fois dans le lecteur. Utiliser uniquement des disques de 12 cm (4,7 pouces) ou des disques de 8 cm (3,1 pouces) avec un adaptateur approprié. Ne pas essayer d'ouvrir l'appareil. En cas de dysfonctionnement de l'appareil, consulter votre concessionnaire. L'utilisation incorrecte de réglages et de connexions autres que ceux décrits dans le présent manuel risque d'endommager l'appareil. Ne pas tourner la clé de contact ou ne pas essayer de démarrer le moteur pendant la mise à jour du logiciel.
Il est recommandé d'utiliser ce système lorsque la clé de contact est en position Accessoires ou lorsque le moteur est en marche. En cas d'utilisation prolongée du système moteur arrêté, il faut faire attention de ne pas décharger la batterie.
Avertissements

Ce système vous fournit des informations qui vous aideront à atteindre votre destination en toute sécurité.
Avertissements

Pour des raisons de sécurité, la programmation du système doit être effectuée une fois lorsque le ule est à l'arrêt.

Ce système n'est d'aucune utilisation pour les panneaux stop, deux tricolores, zones en travaux ou autres nations essentielles pour la sécurité.

N'utilisez pas le système tant que vous ne vous êtes pas familiarisé avec son fonctionnement.

Ne regardez l'affichage du système que si les conditions de conduite vous le permettent.
Veillez à tirer et respecter toutes les précautions relatives à la sécurité. Le non-respect de ces instructions peut accroître les risques de collision et de blessures corporelles. Ford Motor Company ne peut être responsable de dommages de chaque nature que ce soit découlant du non-respect de ces instructions.
Si vous nevez visualiser en détails les instructions d'itinéraire, quittez la route et arrêtez-vous à un endroit où vous pouvez stationner sans danger.
N'utilisez pas le système de navigation pour localiser les services d'urgence.
Pour utiliser le système avec le maximum d'efficacité et de sécurité, utilisez toujours les informations de navigation les plus récentes. Votre concessionnaire sera en mesure de vous renseigner sur ce point.
Vue d'ensemble du bloc de commande du système d'aide à la navigation

A. Descriptions des touches de fonction 1 à 4
Les touches de fonction 1 à 4 dépendent du contexte et changent selon le mode actuel du système audio. Les descriptions des fonctions sont indiquées en bas de l'afficheur.
Véhicules avec système d'aide à la navigation à cd-sd
E129241
A Ejection de CD. B Flèches nav. C Ouverture de CD. D OK. E Informations. F Sélection de carte. Voir Affichages d'itinéraires (page 329). G Sélection de menu. Voir Réglages du système (page 325). H Clavier téléphonique et prééglages de stations. Voir Fonctionnement de l'autoradio (page 276). Voir Menu de l'autoradio (page 279). Voir Téléphone (page 286). Montre de bord. Voir Réglages du système (page 325). J Infos routières. Voir Fonction TMC (page 331).
Vue d'ensemble du bloc de commande du système d'aide à la navigation
K Fonction 4.
L Fonction 3.
M Touche de recherche vers le haut. Sélection des plages de CD. Voir Commande de recherche des stations (page 276). Voir Sélection d'une plage musicale (page 281).
N Commande marche/arrêt et volume. Voir Commande de marche/arrêt (page 276).
O Touche de recherche vers le bas. Sélection des plages de CD. Voir Commande de recherche des stations (page 276). Voir Sélection d'une plageusicale (page 281).
P Fonction 2.
Q Fonction 1.
R Sélection de téléphone. Voir Téléphone (page 286).
S Sélection du mode appareil Auxiliaire. Voir Prise d'entrée auxiliaire (AUX IN) (page 284).
T Sélection du mode Radio. Voir Fonctionnement de l'autoradio (page 276). Voir Menu de l'autoradio (page 279).
U Sélection du mode CD. Voir Lecteur de disque compact (page 281).
V Sélection de navigation Voir Réglages du système (page 325).
Véhicules avec système d'aide à la navigation à cd-sd sony
E129242
A Touche marche/arrêt. Voir Commande de marche/arrêt (page 276). B Sélection de navigation Voir Réglages du système (page 325). C Clavier téléphonique et prééglages de stations. Voir Fonctionnement de l'autoradio (page 276). Voir Menu de l'autoradio (page 279). Voir Téléphone (page 286). D Ouverture de CD. E Flèches nav. F Sélection de carte. Voir Affichages d'itinéraires (page 329). G Ejection de CD. H Informations. Montre de bord. Voir Réglages du système (page 325).
Vue d'ensemble du bloc de commande du système d'aide à la navigation
J Touche de recherche vers le haut. Sélection de plages CD. Fin d'appel. Voir Commande de recherche des stations (page 276). Voir Sélection d'une plage musicale (page 281). Voir Utilisation du téléphone (page 288). K Sélection home. Voir Réglages du système (page 325). L Infos routières. Voir Fonction TMC (page 331). M Fonction 4. N Sélection son. Voir Bouton de réglage du son (page 276). O Fonction 3. P OK. Q Fonction 2. R Sélection de menu. Voir Réglages du système (page 325). S Fonction 1. T Sélection de téléphone. Voir Téléphone (page 286). U Sélection du mode appareil Auxiliaire. Voir Prise d'entrée auxiliaire (AUX IN) (page 284). V Touche de recherche vers le bas. Sélection de plages CD. Accepter l'appel. Voir Commande de recherche des stations (page 276). Voir Sélection d'une plage musicale (page 281). Voir Utilisation du téléphone (page 288). W Sélection du mode Radio. Voir Fonctionnement de l'autoradio (page 276). Voir Menu de l'autoradio (page 279). X Sélection du mode CD. Voir Lecteur de disque compact (page 281). Y Commande de volume.
Chargement des données d'aide à la navigation
E129900
- Chargez la carte SD de navigation dans la fente.
- Appuyez sur le bouton NAV. L'avertissement relatif à la sécurité routière s'affiche à l'écran.
- Utilisez les touches flèche vers le haut et le bas pour sélectionner la fonction souhaitée.
- Appuyez sur la touche OK pour confirmer votre choix.
Pour obtenir les mises à jour des cartes et les mises à niveau du système, veuillez consulter votre concessionnaire.
Attention

L'utilisation du système lorsque le moteur est arrêté vide la batterie.
Note: L'envoi et la réception de messages textes (SMS) vous seront facturés.
Note: Reportez-vous au manuel de votre téléphone pour tout détail sur les fonctions et l'utilisation du téléphone.
Note: Conservez le code d'activation (imprimé sur le guide d'installation) en lieu sûr.
Note: Conservez le message texte d'activation dans la boîte d'entrée de votre téléphone mobile.
Attention

Comme aucun accord commun n'existe, les fabricants de téléphones et mobiles peuvent instaurer une variété de profils dans leurs dispositifs Bluetooth. Il est possible que pour cette raison une incompatibilité se produise entre le téléphone et le système mains libres, ce qui peut dans certains cas déterminer indésirablesment la performance du système. Pour éviter cette situation, utiliser un moyen les téléphones recommandés.
Veuillez visiter le site
www.ford-mobile-connectivity.com pour de plus amples informations.
Installation de la carte micro SD E114212
- Retirez la carte micro SD de l'adaptateur.
- Insérez la carte micro SD dans le téléphone mobile.
Activation du système de navigation sur téléphone mobile
Note: L'autoradio doit être allumé avant le branchement du téléphone mobile sur le récepteur GPS embarqué.
Note: L'application Ford Mobile Navigation doit être installée et activée dans votre téléphone mobile.
Note: Il est possible d'activer un maximum de trois téléphones.
Note: Des instructions détaillées sont disponibles sur la carte micro SD et sur www.ford-mobile-connectivity.com.
Pour connecter le dispositif au système, suivre la même procédure que pour les téléphones mains libres Bluetooth. Voir Configuration Bluetooth (page 286).
- Allumez la radio.
E114213
- Allumez votre téléphone mobile et lancez l'application "Ford Mobile Navigation".
- Choisissez "Destination".
- Choisissez "Adresse".
- Changez les options d'itinéraire au besoin et lancez le guidage routier.
- L'écran du véhicule affiche les informations directionnelles. Des instructions vocales sont diffusées par les haut-parleurs du véhicule.
Note: Votre téléphone mobile affiche votre position actuelle. 7. Vous pouvez quitter l'application et reprendre le guidage routier après avoir redémarré l'application.
Véhicules avec système d'aide à la navigation cd-sd ou système d'aide à la navigation sony cd-sd
Ce système inclut une multitude de fonctions, tout en restant simple d'utilisation. Le guidage routier est affiché sur l'écran d'affichage. Ce dernier fournit des informations complètes sur l'utilisation du système par le biais de menus, écrans textuels et cartes. La sélection des écrans s'effectue en naviguant dans les menus à l'aide des touches flèche vers le haut, le bas, la gauche et la droite et en appuyant sur la touche OK pour confirmer.
Fonctionnement de base
- Appuyez sur les touches NAV ou MENU pour accéder à la structure de menu.
- Utilisez les touches flèche vers le haut, le bas, la gauche et la droite pour naviguer dans les différentes listes des choix.
- Appuyez sur la touche OK pour valider votre choix.
Listes de sélection
Divers écrans présentés offrent une liste de sélection des options disponibles.
- Sélectionnez l'option voulue ou, si elle n'apparaît pas dans le menu, utilisez les flèches vers le haut et vers le bas pour faire défiler le reste de la liste de besoin.
- Appuyez sur la touche OK pour valider votre choix.
Entrée de clavier alphanumérique
Lorsqu'il est nécessaire d'entrer une adresse, un clavier apparaîtra pour vous demander d'entrer un code postal, une ville ou une rue.
- Utilisez les touches flèche vers le haut, le bas, la gauche et la droite pour sélectionner la dette ou le chiffre voulu.
Note: Au fur et à mesure de votre saisie, les résultats apparaissent sur l'affichage.
Note: Le système limitera vos entrées à uniquement les caractères épelant une entrée valide.
- Appuyez sur la touche OK pour valider votre choix.
Écran principal de navigation
Pour sélectionner le système d'aide à la navigation, appuyez sur la touche NAV. Le message d'avertissement sur la sécurité routière s'affiche. Pour utiliser le système, mettez l'avertissement, puis appuyez sur la touche OK.
Ecran d'entrée de destination
Utilisez les touches flèche vers le haut et le bas pour faire défiler l'affichage jusqu'à Entrée Destination. - Appuyez sur la touche OK pour valider votre choix.
Note : Une liste contenant plusieurs options s'affiche.
- En commençant par le haut, sélectionnez le pays suivi du code postal (si disponible) ou de la ville et du nom de rue. Utilisez le clavier alphanumérique et les listes de sélection pour sélectionner les données de votre adresse.
- Après avoir entré les informations requises, naviguez jusqu'à Lancer guidage et appuyez sur la touche OK pour valider votre choix.
Note: Si vous n'avez besoin que de naviguer jusqu'à un centre-ville par exemple, les données complètes de l'adresse ne sont pas nécessaires.
L'itinéraire est maintenant calculé et l'écran revient à l'écran de navigation principal pour donner les instructions sur la façon de procéder. Suivez les informations à l'écran et les indications vocales pour atteindre votre destination.
Il est possible d'accéder à la plupart des réglages importants de votre système d'aide à la navigation par le biais des touches MENU ou NAV. La section suivante décrit les diverses options et la façon de les utiliser.
Pour les structures de menu : Voir Affichages d'informations (page 88).
Itinéraire
Cette fonction vous permet de personnaliser vos conditions d'itinéraire spécifiques (par exemple : utiliser le guidage en continu, l'arrêteur des portions spécifiques ou sélectionner des portions spécifiques d'un itinéraire).
Cette fonction vous permet de saisir les détails sur votre destination (par exemple : vous pouvez saisir des noms de villes, des noms de rues, ou désirez un lieu à partir d'une carte).
Messages
Cette fonction vous permet de personnaliser la réception des informations routières (par exemple : consulter et trier les messages, consulter leur itinéraire ou bloquer des portions de leur itinéraire).
Adresse d'origine
Cette fonction vous permet de commencer le guidage à partir de votre adresse d'origine ou de modifier les détails de l'adresse d'origine.
Note: Sur les véhicules équipés d'un système d'aide à la navigation Sony CD-SD, il suffit d'appuyer sur la touche HOME pour que le système commence automatiquement le guidage à partir de l'adresse affichée.
Dernières destinations
Cette fonction permet d'accéder rapidement à un historique des destinations précédemment entrées dans le système. Un affichage détaillé contient toutes les informations en mémoire, y compris une carte offrant une vue d'ensemble. Sélectionnez la destination souhaitée dans cette liste.
Cette fonction vous permet de personnaliser un carnet d'adresse personnel et d'attribuer des noms à votre convenance aux adresses et lieux entrés. Un affichage détaillé contient toutes les informations en mémoire, y compris une carte offrant une vue d'ensemble. Sélectionnez la destination souhaitée dans cette liste.
Points d'intérêt
Cette fonction vous permet de personnaliser vos conditions d'itinéraire spécifiques (par exemple : sélectionner un musée ou un point d'intérêt spécifique sur votre itinéraire).
Définition circuit
Cette fonction permet d'entrer plusieurs destinations et de sélectionner l'ordre dans lequel vous voulez y passer. Vous pouvez modifier un circuit existant ou repartir d'un circuit précédent. Le système calcule automatiquement et affiche l'itinéraire choisi.
Enreg. position
Cette fonction vous permet d'enregistrer et d'attribuer un nom à votre position actuelle.
Options itinéraire
Cette fonction vous permet de personnaliser vos conditions d'itinéraire spécifiques (par exemple : de sélectionner l'itinéraire le plus rapide ou le plus économique, ou un itinéraire évitant les tunnels, les routes saissonnées, les péages, etc.).
Fonctions spéc.
Cette fonction vous permet de sélectionner les informations relatives au GPS et au système ou d'obtenir une démonstration des fonctionnalités du système.
Affichage carte
Cette fonction vous permet de modifier le mode d'affichage des cartes (par exemple, vue 2D et 3D) et de personnaliser les informations à afficher pour votre itinéraire spécifique (par exemple : heures d'arrivée, assistance au besoin sur la bande de circulation, etc.).
Assistance
Cette fonction vous permet de personnaliser les informations à afficher pour votre itinéraire spécifique (par exemple : panneaux de signalisation, bandes de circulation, limitations de vitesse, etc.).
Données personnelles
Cette fonction vous permet de modifier et de supprimer vos données personnelles (par exemple : votre adresse d'origine, etc.).
Rétablir réglages
Cette fonction vous permet de rétablir les réglages d'aide à la navigation.
Volume adaptatif
Cette fonction vous permet de régler le niveau sonore de manière à compenser le bruit du moteur et celui lié à la vitesse. Vous pouvez l'activer et la désactiver.
Son
Cette fonction vous permet de régler les paramètres du son (par exemple les basses et les aigus).
Volume navire
Cette fonction vous permet de régler le niveau de mixage sonore entre la sortie vocale d'aide à la navigation et la source audio.
Réglage DSP
Cette fonction vous permet de personnaliser la sortie haut-parleur en fonction de la position du siège.
Égaliseur DSP
Cette fonction vous permet de sélectionner le style musical qui correspond le mieux à vos goûts. La sortie audio se modifiera pour valoriser le style de musique particulier choisi.
Cette fonction vous permet de recevoir des bulletins d'informations émis par des stations radio de la bande FM ou par les stations liées RDS (Radio Data System) et EON (Enhanced Other Network), de la même manière que pour les informations routières. Vous pouvez l'activer et la désactiver.
Fréquences alternatives
Cette fonction recherche et bascule sur le signal radio le plus fort lorsqu'il passe d'une zone de transmission à une autre.
RDS régional
Cette fonction détermine le comportement de commutation AF entre les réseaux liés régionalement d'un diffuseur parent.
Continuité DAB
Cette fonction vous permet de sélectionner des stations diffusées sur les canaux DAB.
Bluetooth
Cette fonction vous permet d'activer ou de désactiver le Bluetooth.
Horloge
Cette fonction vous permet de régler manuellement l'heure.
Régler la date
Cette fonction vous permet de régler manuellement la date, le mois et l'année.
Heure GPS
Cette fonction vous permet, si vous vous trouvez dans une zone couverte, de régler automatiquement la date et l'heure via le GPS.
Fusehouraire
Cette fonction vous permet de sélectionner un fuseau horaire spécifique.
Heure d'être
Cette fonction vous permet de régler le système pour qu'il s'ajuste aux changements d'heure saisonniers.
Note: La fonction Heure GPS doit avoir été sélectionnée.
24 Heures
Cette fonction vous permet de régler le système sur le mode 12 heures ou 24 heures.
Il vous est possible de définir un certain nombre d'options modifiant la façon dont un itinéraire est planifié.
En utilisant les touches flèche vers le haut, le bas, la gauche et la droite, vous pouvez sélectionner dans la liste des fonctions d'informations routières à ne pas utiliser ou à inclure dans l'itinéraire en activant ou en désactivant la fonction correspondante.
Éco
Cette option privilégie l'itinéraire qui mènera à la destination avec un maximum d'économie.
Rapide
Cette option privilégie l'itinéraire qui mènera à la destination le plus rapidement.
Courte
Cette option privilégie l'itinéraire qui mènera à la destination en suivant l'itinéraire le plus court.
Toujours demander
Cette fonction vous permet de vous assurer que le système vous demandera toujours de CHOISIR LE TYPE DE TINERIAI souhaite.
Calme
Cette option privilégie l'itinéraire qui mènera à la destination avec une conduite calme.
Normal
Cette option privilégie l'itinéraire qui mènera à la destination avec une conduite normale.
Sportif
Cette option privilégie l'itinéraire qui mènera à la destination avec une conduite rapide.
Remorque
Cette fonction vous permet de modifier les réglages d'économie de votre itinéraire pour tenir compte du fait que vous tractez une remorque et de la taille de la remorque.
Coffre de toit
Cette fonction vous permet de modifier les réglages d'économie de votre itinéraire pour tenir compte du fait que vous utilisez un coffre de toit.
Dynamique
Lorsqu'elle est activée, et si le système reçoit un signal de station d'information routière (TMC) valide, l'itinéraire sera mis à jour automatiquement pour prendre en compte les incidents de circulation ou les embouteillages en temps réel.
Note : Cette fonction peut être utile pour éviter les retards au niveau du trajet.
Autoroute
Lorsque cette fonction est activée, le système recherche des autoroutes sur toute itinéraire et met à jour automatiquement la distance et les temps de toute itinéraire.
Note : Cette fonction peut être utile pour éviter les retards au niveau du trajet.
Système d'aide à la navigation
Lorsque cette fonction est activée, le système recherche des traversées en ferry sur toute itinéraire et met à jour automatiquement la distance et les temps de toute itinéraire.
Péage
Lorsque cette fonction est activée, le système recherche des autoroutes à péage sur votre itinéraire et met à jour automatiquement la distance et les temps de votre itinéraire.
Routes saisonnelles
Lorsque cette fonction est activée, le système recherche des routes saisonnées sur votre itinéraire et met à jour automatiquement la distance et les temps de votre itinéraire.
Note : Cette fonction peut être utile pour éviter les retards au niveau du trajet.
Vignette
Lorsque cette fonction est activée, le système sélectionne les autoroutes à péage sur votre itinéraire et met à jour la distance et les temps de votre itinéraire automatiquement.
Affichage carte
Appuyez sur la touche MAP pour afficher une vue de la carte.
Cette vue montre votre emplacement actuel avec votre véhicule au centre indiqué sous forme de flèche entourée par un cercle. La flèche est tournée dans le sens du trajet.
Les informations de la ligne supérieure indiquent le nom de la route actuelle ou celui de la prochaine route à prendre à l'approche d'un virage.
Vous pouvez modifier la façon dont la carte est affichée en modifiant les réglages d'orientation et de zoom. Appuyez sur les touches de fonctions appropriées pour modifier l'échelle de la carte et utilisez les touches flèche vers la gauche et la droite pour agrandir ou réduire l'affichage. L'échelle de la carte actuelle apparaît sur l'affichage.
Les réglages de l'échelle de la carte peuvent être définis entre 50 mètres et 500 kilomètres ou 0,05 mile et 500 miles, avec un réglage automatique jusqu'à bout sur la gauche. Le réglage automatique modifie constamment l'échelle de carte selon le type de route pratiquée.
Zoom carefour
Cette fonction zoome automatiquement vers l'avant dans l'affichage de carte lorsque vous devez prendre un virage ou effectuer des manoeuvres plus complexes. Peu après, l'échelle de zoom revient au niveau précédent.
Sélectionnez AUTO pour activer la fonction junction zoom.
Affichage de navigation
Après le début d'un itinéraire de navigation, l'écran par défaut est l'écran de navigation principal :
Une fois un itinéraire actif en cours, le guidage est donné par des informations portées à l'écran et des instructions vocales. Quelle que soit la source audio dans laquelle vous souhaitez laisser le système, des informations de base virage par virage et de distance restent affichées sur l'écran sous la forme d'un encart graphique. Vous n'avez pas besoin de laisser le système sur l'écran de navigation principal lorsque vous parcourez un itinéraire. Si nécessaire, des informations légèrement plus détaillées sur tout itinéraire peuvent être disponibles par le biais de l'écran de navigation principal.
Avertissement

Ne vous fiez pas aux instructions de l'écran lors de la navigation. Écoutez toujours la voix de navigation et attention de ne pas relâcher votre tension de la route.
Principes de fonctionnement
Les stations d'informations routières TMC diffusent sur la gamme d'ondes FM. TMC est une fonction qui reçoit des alertes de traffic pouvant être utilisées pour planifier des itinéraires alternatifs et éviter les embouteillages.
Utilisationdela fonction TMC
Appuyez sur la touche TA ou TRAFFIC pour afficher la page de menu des messages.
Il est possible d'activer ou de désactiver Information routière (TA) par le biais de ce menu. En cas d'activation, un moyen TA est indiqué dans la bande d'informations de la barre d'état.
Les stations diffusées sur la gamme d'ondes FM qui véhiculent des informations de programme de traffic routier (TP) sont identifiées par TP sur l'affichage. Lorsque TA est activé, le système répond à ces informations routières et interrompt la lecture de la musique. Une fois les informations routières terminées, la lecture de la musique reprend.
Lorsqu'une information routière est terminée, le système revient à un fonctionnement normal. Pour interrompre une annonce en cours, appuyez sur la touche TA, TRAFFIC, RADIO ou CD pendant l'annonce.
Utilisation des messages TMC
Sélectionnez l'option requise pour afficher une liste des messages TMC. Voir Généralités (page 88). Il s'agit uniquement d'un affichage d'aperçu donnant des informations très basiques. Sélectionnez le message pour lequel vous nécessitiez davantage d'informations et un autre écran s'affichera pour donner les détails complets du message sur l'endroit de l'incident, etc.
Vous pouvez sélectionner une vue montrant les messages se rapportant uniquement à votre itinéraire programme ou bien une vue montrant tous les messages reçus. Appuyez sur la touche de fonction 1 pour changer la vue.
Avertissement de zone dangereuse (selon le pays)
Note : La disponibilité de cette fonction varie selon le pays.
Le système prend en charge une fonction d'alerte de zone dangereuse qui vous renseigne sur les zones de trafic dangereuses au moyen d'un retour d'informations visible et audible. Le système est désactivé par défaut. Le système peut être activé et désactivé à l'aide de l'affichage d'information. Voir Affichages d'informations (page 88).
Le réseau routier est en perpétuel changement en raison de l'implantation de nouvelles routes, de modifications apportées à la classification des routes, etc. Par conséquent, il n'est pas toujours possible de faire correspondre exactement les données cartographiques du système au réseau routier actuel.
Les informations cartographiques sont mises à jour régulièrement, mais le même niveau de détail n'est pas forcément disponible pour toutes les zones. Certaines routes, en particulier les voies privées, peuvent ne pas figurer dans la base de données. Afin d'obtenir une meilleure précision, utilisez systématiquement la version la plus récente du disque de navigation. Votre concessionnaire sera en mesure de vous la fournir.
Généralités

E142598
SYNC est un système de communication intégré au véhicule qui fonctionne avec votre téléphone cellulaire compatible Bluetooth et votre lecteur multimédia portable. Il vous permet de :
passer et recevoir des appels; - écouter de la musique à partir de votre lecteur multimédia portable; - utiliser l'assistance d'urgence; accéder aux contacts de votre répertoire et à votre musique grâce aux commandes vocales; - charger de la musique depuis le téléphone cellulaire connecté; - sélectionner des SMS prédéfinis;
utiliser le système avancé de reconnaissance vocale; - charger un appareil USB (si le dispositif le permet).
Assurez-vous de consulter le guide d'utilisation de votre appareil avant de l'utiliser avec SYNC.
Assistance
Veuillez contacter un concessionnaire agréé pour en savoir plus. Le site Web Ford offre de plus amples informations.
Avertissement
Le fait de conduire avec une source de distraction peut entraîner une perte de contrôle du véhicule, des collisions et des blessures. Nous vous recommandons vivement de faire preuve de la plus grande prudence lorsque vous utilisez un appareil susceptible de détourner votre attention de la route. La conduite en toute sécurité de votre véhicule est votre première responsabilité. Nous vous déconseillons de manipuler un appareil portable en conduisant ; à la place, utilisez si possible les systèmes de commande vocale. Nous vous invitons également à prendre connaissance de la législation en vigueur concernant l'utilisation d'appareils électroniques au volant.
Lorsque vous utilisez SYNC :
- Ne mettez pas en marche un lecteur multimédia si les fils ou les câbles d'alimentation sont cassés, coupés ou endommagés. Disposez les fils et les câbles avec précaution, de façon à ne pas générer les mouvements ou le fonctionnement des pédales, des sièges, des compartiments ou une conduite sécurisée.
- Ne laissez aucun appareil en marche dans votre véhicule en cas de conditions extrêmes : il pourrait être endommagé. Pour plus d'informations, reportez-vous au guide d'utilisation de votre appareil.
- Ne tentez aucune maintenance ou réparation sur le système. Contactez un concessionnaire/agréé.
Confidentialité
Lorsqu'un téléphone cellulaire se connecte à SYNC, le système crée un profil lié au téléphone en question au sein de votre véhicule. Ce profil vous permet de profiter d'un plus grand nombre de fonctionnalités et facilite l'utilisation du système. Ce profil peut notamment contenir des données de votre réseau téléphonique, vos SMS (lus ou non) et l'historique des appels. Cet historique comprend les appels passés/reçus quand votre téléphone cellulaire n'était pas connecté au système. En outre, si vous connectez un appareil multimédia, le système crée et conserve un index des contenus multimédias pris en charge. Le système enregistre également un court journal de développement d'environ 10 minutes pour chacune des activités récentes du système. Le profil du journal et d'autres données du système sont susceptibles d'être utilisés pour améliorer le système et aider à diagnostiquer les problèmes potentiels.
Le profil du téléphone cellulaire, l'index des appareils multimédias et le journal de développement restent dans votre véhicule jusqu'à ce que vous les supprimiez. Généralement, ils sont uniquement accessibles depuis le véhicule lorsque le téléphone cellulaire ou l'appareil multimédia est connecté. Si vous ne souhaitez plus utiliser le système ou votre véhicule, nous vous conseillons d'effectuer une remise à zéro complète du système afin d'effacer toutes les informations enregistrées.
Il est impossible d'accéder aux données du système sans équipement et accès spécifique au module SYNC de votre véhicule. Nous ne consultons en aucun cas les données du système sans notre consentement, sauf dans les cas suivants : injonction d'un tribunal ou lorsque cela est exigé par la police, d'autres instances gouvernementales ou tout autre tiers agissant avec un pouvoir légal. D'autres parties pourraient tenter d'accéder à ces informations indépendamment de nous. Pour plus d'informations sur la confidentialité, consultez les sections sur l'assistance d'urgence.
Utilisation de la reconnaissance VOCALE
Ce système vous permet de contrôler plusieurs fonctions grâce aux commandes vocales. Vous pouvez ainsi garder vos mains sur le volant et vous concentrer sur la route.
Conseils
Assurez-vous que l'habitacle de votre véhicule est aussi silencieux que possible. Le bruit du vent provenant des fenêtres ouvertes et les vibrations de la route peuvent empêcher le système de reconnaître les commandes vocales.
Appuyez sur la touche Voix et patientez jusqu'à la fin du bip unique signalant la fin de l'annonce vocale du système, avant d'indiquer une commande. Toute commande enoncée avant ce signal n'est pas enregistrée par le système.
Parlez de façon naturelle, sans faire de pauses trop longues entre les mots.
Vous pouvez interrompre le système en cours de commande à tout moment en appuyant sur l'icône Voix. Vous pouvez également annuler une session de commande vocale en appuyant sur l'icône Voix à tout moment.
Démarrer une session de commande vocale

Appuyez sur la touche Voix et patientez jusqu'à la fin du bip unique signalant la fin de
l'annonce vocale du système. Une liste des commandes vocales disponibles s'affiche sur l'écran. Énoncez l'une des commandes suivantes :
| Dites | Si vous voulez |
| « Bluetooth Audio » | Charger de la musique depuis votre téléphone cellulaire. |
| « Annuler » | Annuler l'action demandée. |
| « Entrée ligne » | Accéder à l'appareil connecté via la prise d'entrée auxiliaire. |
| « Téléphone » | Passer un appel. |
| « SYNC » | Revenir au menu principal. |
| « USB » | Accéder à l'appareil connecté via le port USB. |
| « Paramètres vocaux » | Régler le niveau d'interaction vocale et de réponse du système. |
| « Aide » | Entendre la liste des commandes vocales disponibles pour le mode en cours. |
Interactions et réponses du système
Le système vous répond avec une gamme de signaux sonores, d'invitations, de questions et de confirmations vocales, selon la situation et le niveau d'interaction choisi (voir Voice settings). Vous pouvez personnaliser le système de reconnaissance vocale de manière à ce qu'il fournisse plus ou moins d'instructions et de réponses.
Le réglage par défaut est défini sur un niveau d'interaction élevé afin de vous aider à maîtriser le fonctionnement du système. À tout moment, vous pouvez modifier ces paramètres.
Régler le niveau d'interaction

Appuyez sur la touche Voix. Dites « Paramètres vocaux » lorsque vous y êtes invité, puis énoncez
l'une des commandes suivantes :
| Si vous dites | Le système |
| « Mode d'interaction avancé » | Diminue les interactions vocales et augmente les invites sonores. |
| « Mode d'interaction standard » | Fournit une interaction et un guidage plus détaillés. |
Le système active par défaut le mode d'interaction standard.
Les invitations de confirmation sont de brèves questions posées par le système lorsqu'il n'est pas certain de votre demande, ou lorsqu'il existe plusieurs réponses possibles à votre demande. Par exemple, le système peut demander : « Vous avez bien dit 'Téléphone' ? »
Appuyez sur la touche Voix pour modifier le réglage des invites de confirmation. Dites "Voice settings" lorsque vous y êtes invité, puis énoncez l'une des commandes suivantes:
| Si vous dites | Le système |
| « Invite de confirmation désactivée » | Est plus intuitif dans ses réponses. Occasio-nnellement, le système pourra vous demander de confirmer votre demande. |
| « Invite de confirmation activée » | Precise vos commandes vocales avec une brève question. |
Le système établit des listes de réponses lorsqu'il considère qu'il existe plusieurs réponses, toutes plausibles, à votre commande vocale. Lorsque ce paramètre est activé, le système pourrait vous demander de préciser jusqu'à quatre possibilités.
Par exemple, dites « 1 » après le timbre pour appeler Jean Dupont à la maison appeler Jeanne Dupont à la maison.
La même logique s'applique au contenu multimédia. Par exemple, dites : « 1 » après le timbre pour jouer du Jean Dupont jouer du Jeanne Dupont.
| Si vous dites | Le système |
| « Lists des candidats média désactivées » | Est plus intuitif à partir de la liste des candidats Média. Occasionnellement, le système pourra vous poser des questions. |
| « Lists des candidats Média activées » | Précise vos commandes vocales pour chacune des réponses multimédias possibles. |
| « Lists des candidats du téléphone désactivées » | Est plus intuitif à partir de la liste des candidats du téléphone cellulaire. Occasionallement, le système pourra vous poser des questions. |
| « Lists des candidats du téléphone actuées » | Précise vos commandes vocales pour chacune des réponses possibles du téléphone cellulaire. |
- Appuyez sur la touche MENU.
- Sélectionnez SYNC-Réglages.
- Sélectionnez Param. vocaux.
Utilisation de SYNC avec votre téléphone
L'application mains-libres constitue l'une des fonctions principales de SYNC. Même si le système prend en charge une large gamme de fonctions, beaucoup d'entre elles dépendent de la fonctionnalité de votre téléphone cellulaire. La plupart des téléphones cellulaires dotés de la technologie sans fil Bluetooth prennent en charge au minimum les fonctions suivantes :
- répondre à un appel entrant;
- terminer un appel ; utiliser le mode Privé ; composer un numéro de téléphone ; recomposer un numéro ;
- notification de mise en attente d'appel;
- identité de l'appelant.
D'autres fonctions, comme envoyer des SMS via Bluetooth ou télécharger automatiquement le réseau, dépendent des fonctions de votre téléphone cellulaire. Pour vérifier la compatibilité de votre téléphone cellulaire, reportez-vous au guide d'utilisation de votre téléphone cellulaire ou consultez le site Web Ford régional.
Jumelage initial d'un téléphone
Note: vous devez mettre le contact et allumer l'autoradio.
Note: pour naviguer dans les menus, appuyez sur les flèches haut et bas de votre système audio.
Le jumelage sans fil de votre téléphone cellulaire à SYNC vous permet de passer et de recevoir des appels en mains-libres.
- Appuyez sur la touche PHONE. Lorsque l'écran indique Aucun téléphone jumelé, appuyez sur la touche Ajouter.
- Lorsque Commencer jumelage s'affiche à l'écran, recherche SYNC sur votre appareil pour débuter le processus de jumelage. Assurez-vous que la fonction Bluetooth est activée sur votre téléphone cellulaire avant de commencer la recherche. Consultez le guide d'utilisation de votre téléphone cellulaire si nécessaire.
- Lorsque vous y êtes invité sur l'écran de votre téléphone cellulaire, saisissez le code PIN à six chiffres fourni par SYNC sur l'écran. L'écran vous indique lorsque le jumelage est réussi.
Selon les fonctionnalités de votre téléphone cellulaire et votre pays, le système peut vous demander si vous souhaitez définir ce téléphone cellulaire comme téléphone cellulaire principal (c'est-à-dire le téléphone cellulaire auquel SYNC essaie d'abord de se connecter automatiquement au démarrage du véhicule), télécharger vos répertoire, etc.
Jumelage de téléphones cellulaires supplémentaires
Note: assurez-vous que la radio est en marche.
Note: pour naviguer dans les menus, appuyez sur les flèches haut et bas de votre système audio.
- Appuyez sur la touche PHONE.
- Faites défiler les options et sélectionnez Appareils BT.
- Appuyez sur la touche OK.
- Appuyez sur la touche Ajouter pour débuter le processus de jumelage.
- Lorsque Commencer jumelage s'affiche à l'écran, recherche SYNC sur votre appare
- Lorsque vous y êtes invité sur l'écran de votre téléphone cellulaire, saisissez le code PIN à six chiffres fourni par SYNC sur l'écran audio. L'écran vous indique lorsque le jumelage a réussi.
Le système vous demande ensuite si vous souhaitez définir ce téléphone cellulaire comme téléphone cellulaire principal (c'est-à-dire le téléphone cellulaire auquel SYNC essaie d'abord de se connecter automatiquement au démarrage du véhicule), télécharger votre répertoire, etc.
Commandes vocales du téléphone cellulaire
| « TELEPHONE » |
| « Appeler <nom> »1 | « ModePrivé » |
| « Appeler <nom> à la maison »1 | « Attente » |
| « Appeler <nom> au travail »1 | « Conférence » |
| « Appeler <nom> au bureau »1 | « Menu »2,4 |
| « Appeler <nom> sur le mobile »1 | « Répertoir « nom »2 |
| « Appeler <nom> sur l'autre numéro de téléphone »1 | « Répertoir « nom » à la maison »2 |
| « Historique des appel entrants »2 | « Répertoir « nom » au bureau »2 |
| « Historique des appel manqués »2 | « Répertoir « nom » au travail »2 |
| « Historique des appel sortants »2 | « Répertoir « nom » sur le mobile »2 |
| « Connexions »2 | « Répertoir « nom » sur l'autre numéro de téléphone »2 |
| «Composer »1,3 | - |
1 Il n'est pas nécessaire de prononcer « Téléphone » avant d'énoncer ces commandes.
2 Ces commandes ne sont pas disponibles tant que les informations de votre téléphone cellulaire n'ont pas été complètement téléchargées via Bluetooth.
3 Voir le tableau Composer.
4 Voir le tableau Menu.
Commandes du répertoire. Lorsque vous demandez à SYNC d'accéder à un nom, un numéro, etc. du répertoire téléphonique, les informations demandées s'affichent à l'écran. Appuyez sur la touche Phone et dites « Appeler » pour appeler le contact.
| « COMPOSER » |
| « 112 » (un-un-deux), etc. |
| « 700 » (sept cents) |
| « 800 » (huit cents) |
| « 900 » (neuf cents) |
| « Diège », (#) |
| « Numéro <0-9> » |
| « Astérisque » (*) |
| « Effacer » (supprime tous les chiffres saisis) |
| « Suppr. » (supprimer un seul chiffre) |
| « Plus » |
| « Étoile » |
Note: Pour quitter le mode de composition, appuyez sur la touche Phone et maintenez-la enfoncée, appuyez sur MENU ou n'importe quelle autre touche.
| « MENU » |
| « Connexions (du téléphone) » |
| « [Téléphone] Annoncer SMS désactivé » |
| « [Téléphone] Annoncer SMS activé » |
| « Paramètres (du téléphone) sonnerie téléphone » |
| « Paramètres (du téléphone) sonnerie 1 » |
| « Paramètres (du téléphone) sonnerie 2 » |
| « Paramètres (du téléphone) sonnerie 3 » |
| « Paramètres (du téléphone) désactivés » |
| « Nom du téléphone » |
| « Boîte de réception de messages » |
| Les mots entre parentheses () sont facultatifs. Il n'est pas nécessaire de les pronouncer pour que le système comprendne la commande. |
Passer un appel
Appuyez sur la touche Voix et, lorsque le système est prêt, dites :
- « Appeler » ou « Composer » puis dites le numéro.
- Lorsque le système confirme le numéro, dites de nouveau « Composer » pour lancer l'appel.
Pour effacer le dernier chiffre énoncé, dites « Supprimer » ou appuyez sur la touche flèche gauche. Pour effacer tous les chiffres énoncés, dites « Effacer » ou appuyez sur la touche flèche gauche et maintenez-la enfonnée.
Pour terminer un appel, appuyez sur la touche Fin d'appel sur le volant de direction ou bien sélectionnez Fin d'appel à l'écran et appuyez sur OK.
Recevoir un appel
Lorsque vous recevez un appel, vous pouvez :
- Répondre à l'appel en appuyant sur la touche Accepter l'appel sur le volant de direction ou bien sélectionner Accepter l'appel à l'écran et appuyer sur OK.
- Rejeter l'appoint, en appuyant sur la touche Rejeter l'appoint sur le volant de direction, ou bien sélectionner cette commande à l'écran et appuyer sur OK.
- Ignorer l'appel en ne faisant rien.
Options de téléphone cellulaire disponibles pendant un appel actif
Lors d'un appel actif, plusieurs options de menu additionnelles deviennent disponibles, comme par exemple mettre un appel en attente, basculer en mode conférence, etc.
Pour y acceder, CHOISSEZ l'une des options disponibles au bas de I'ecran ou appuyez sur Plus.
| Si vous sélectionnez | You pouvez |
| Mic. off | Désactiver le microphone de votre vehicule. Pour activer le microphone, appuyez à nouveau sur le bouton Mic. off. |
| Privé | Transférer un appel depuis un environment mains-libres actif vers votre téléphone cellulaire pour une conversation plus confidentielle. |
| Si vous sélectionnez | Vous pouvez |
| Lorsque cette option est sélectionnée, Privé s'affiche sur l'écran. |
| Attente | Mettre un appel actif en attente.Lorsque cette option est sélectionnée, Attente s'affiche sur l'écran. |
| Composer num. | Entrer des numéro, par exemple des numérios pour les mots de passer, en utilisant le clavier du système. |
| Conférence | Associer deux appeals distincts. (SYNC prend en charge trois appeals au maximum pour un appel à plusieurs ou une conférence téléphonique.)1. Appuyez sur Plus.2. Accédez au contact désiré grâce à SYNC ou utilisez les commandes vocales pour lancer le deuxième appel.Lorsque ce deuxieme appel est actif, appuyez sur la touche Plus.3. Faites défilier les options jusqu'à ce que Conférence s'affiche, puis appuyez sur OK. |
| Répertoire | Accéder aux contacts de votre répertoire.1. Appuyez sur Plus.2. Faites défilier les options jusqu'à ce que Répertoire s'affiche, puis appuyez sur OK.3. Faites défilier les contacts de votre répertoire.2. Appuyez de nouveau sur OK lorsque le contact souhaité s'affiche à l'écran.3. Appuyez sur la touche OK ou Comp. pour appeler la sélection. |
| Hist. d'appels | Accéder à votre journal d'appels.1. Appuyez sur Plus.2. Faites défilier les options jusqu'à ce que Hist. d'appels s'affiche, puis appuyez sur OK.3. Faites défilier les options de l'historique des appeals (entrants, sortants ou manqués).4. Appuyez sur OK lorsque la sélection souhaitée s'affiche à l'écran.5. Appuyez sur la touche OK ou Comp. pour appeler la sélection. |
Vous pouvez accéder à l'histoire des appels, à votre réseau, aux SMS envoyés, mais aussi accéder aux paramètres du téléphone et du système. Vous pouvez également accéder à des fonctions avancées celles que l'assistance d'urgence (Ford SOS).
- Appuyez sur la touche PHONE pour accéder au menu du téléphone cellulaire.
- Sélectionnez l'une des options disponibles.
| Si vous sélectionnez | Vous pouvez |
| Composer num. | Composer un numéro en utilisant le clavier du système. |
| Recomposer | Recomposer le dernier numéro appelé (si disponible). Appuyez sur OK pour effectuer votre sélection. |
| Répertoire1,2 | Accéder à votre répertoire téléchargeé. 1. Appuyez sur OK pour confirmer et entraîr dans le répétoire. Vous pouvez utiliser les boutons en bas de l'écran pour accéderrapidement à une catégorie alphabétique. Vous pouvez également utiliser les lettres du clavier pour accéder directement à un endroit dans la liste. 2. Naviguez jusqu'àu contact youlu, puis appuyez sur OK. 3. Appuyez sur la touche OK ou Comp. pour appeler la sélection souhaitée. |
| Hist. d'appels1 | Accéder à n'importe quel appel émis, reçu ou manqué. 1. Appuyez sur OK pour effectuer votre sélection. 2. Faites défiler l'affichage pour sélectionner l'un des appeals entrants, appeals sortants ou appeals manqués. Appuyez sur OK pour confirmer votre sélection. 3. Appuyez sur la touche OK ou Comp. pour appeler la sélection souhaitée. Le système tente automatiquement de retélécharger votre répétoire et l'histoire des appeals à chaque fois que votre téléphone cellulaire se connecte à SYNC (si la fonction de téléchargement automatique est activée et que votre téléphone cellulaire compatible Bluetooth dispose de cette fonction.) |
| Comp. abrégée | Sélectionnez l'une des dix entrées de composition abrégée. Pour définitir une entree de composition abrégée, accédez au répéroire et appuyez sur l'une des touches des numérores entre 0 et 9 sur le clavier du système et maintenez-la enforcée. |
| SMS1 | Envoyer, télécharger et supprimer des SMS. |
| S�� sélectionnez | You pouvez |
| Appareils BT | Accéder aux éléments de menu des Appareils Bluetooth (ajouter, connecter, définir comme principal, activer ou désactiver, supprimer). |
| Paramètres tél.1 | Consulter l'état de votre téléphone cellulaire, régler les sonneries, sélectionner la notification des messages, modifier les entrées du réseau et télécharger automa-tiquement les données de votre réseauTELphonique, ainsi que n'importe chaque autre fonction sur votre téléphone cellulaire. |
| Ford SOS | Vous permet d'activer et de désactiver la fonction d'assi-stance d'urgence. |
Cette fonction dépend de votre téléphone cellulaire.
Messages texte (SMS)
Note : Cette fonction dépend de votre téléphone cellulaire.
SYNC vous permet d'envoyer, de recevoir, de télécharger et de supprimer des SMS. Le système peut également dire les SMS reçus afin que vous ne quittiez pas la route des yeux.
Recevoir un SMS
Note: cette fonction dépend de votre téléphone cellulaire. Pour recevoir des SMS entrants, votre téléphone cellulaire doit prendre en charge le téléchargement de SMS via Bluetooth.
Note: un seul destinataire est autorisé par SMS.
Lorsque vous recevez un nouveau message, une tonalité se fait entendre et l'écran indique que vous avez un nouveau message. Plusieurs options sont disponibles :
- Appuyez sur la touche Écouter pour que SYNC vous lise le message.
- Appuyez sur Voir pour ouvrir le SMS, appuyez sur Ignorer ou ne faites rien et le message est alors stocké dans votre boîte de réception de messages. Après avoir sélectionné l'option Voir, vous pouvez écouter le message, afficher d'autres messages ou sélectionner Plus.
Ouvrez une session de commande vocale et dites « Jouer SMS » - Sélectionnez Plus et faites défiler l'affichage. Faites-vous entrer :
Rép. à l'expéd.: appuyez sur OK pour accéder à cette option, puis faites défilier la liste de messages prédéfinis à envoyer. Appeler l'expéd.: appuyez sur OK pour appeler l'expéditeur du message. - Transférer le SMS : appuyez sur OK pour transférer le message à l'un des contacts de votre réseau ou de votre historique des appels. Vous pouvez aussi désirer d'entrer un nombre.
Envoyer, télécharger et supprimer vos SMS
Les fonctions SMS dépendent de votre téléphone cellulaire. Si votre téléphone cellulaire est compatible, SYNC vous permet d'envoyer, de recevoir, de télécharger et de supprimer des SMS.
- Appuyez sur la touche PHONE.
- Faites défiler le menu jusqu'à ce que SMS apparaisse, puis appuyez sur OK.
Une liste de tous les SMS disponibles s'affiche. Vous pouvez faire votre choix parmi les options suivantes :
- Nouv. vous permet d'envoyer un nouveau SMS d'après une liste de 15 messages prédéfinis.
- Voir vous permet de lire la totalité du message et vous offre en plus la possibilité d'écouter le message en demandant à SYNC de le lire. Pour passer au message suivant, sélectionnez Plus. Cette option vous permet de répondre à l'expéditeur, d'appeler l'expéditeur ou de transférer le message.
Suppr. Vous permet de supprimer des messages actuels du système SYNC (pas de votre téléphone cellulaire). L'écran vous avertit lorsque tous les SMS ont été supprimés en affichant Vide. - Plus vous permet de supprimer tous les messages ou de déclencher manuellement un téléchargement de tous les messages non lus présents sur votre téléphone cellulaire.
Lorsque vous sélectionnez Envoyer un SMS, les messages prédéfinis suivants vous sont proposés :
- Peux pas parler. J'appelle + tard. Bcp de traffic A dans 10 min.
- A dans 20 min. Oui. Non. Merci! Trop fort. Tu me manques.
- Je t'aime.
- Envoi de directions. Appelle-moi. Où es-tu ? Pourquoi ?
Pour envoyer le message :
- Appuyez sur Envoyer lorsque la sélection souhaitée est affichée en surbrillance à l'écran.
- Appuyez sur Oui lorsque votre contact apparait, puis appuyez de nouveau sur OK pour confirmer au système que vous souhaitez bien envoyer le message. La signature suivante est attachée à chaque SMS : « This message was sent from my Ford » (Message envoyé depuis ma Ford).
Note: Vous pouvez envoyer des SMS soit en choisissant un contact du répertoire et en sélectionnant l'option de texte à l'écran, soit en répondant à un message reçu présent dans la boîte de réception.
Accéder aux paramètres de votre téléphone cellulaire
Ces fonctions dépendent de votre téléphone cellulaire. Les paramètres de votre téléphone cellulaire vous permettent d'accéder à et de modifier les paramètres de fonctions telles que le réglage de la sonnerie de votre téléphone, la notification des SMS, la modification de votre réseau, mais aussi la configuration du téléchargement automatique.
- Appuyez sur la touche PHONE.
- Faites défiler le menu jusqu'à ce que Paramètres tél. apparaisse, puis appuyez sur OK.
- Naviguez dans le menu pour sélectionner l'une des options suivantes:
| Si vous sélectionnez | Vous pouvez |
| Régler maître | Si vous cochez cette option, SYNC utilise ce téléphone cellulaire comme téléphone maître lorsqu plusieurs téléphones cellulaires jumelés avec SYNC sont disponibles dans votre vehicule. Vous pouvez modifier cette option et définir comme maître n'importe lequel des téléphones cellulaires jumelés (pas seulement celui qui est actif) en utilisant le menu Appareils BT. |
| Etat téléphone | Consulter le nom du téléphone, le nom de l'opérateur, le numéro du téléphone, la puissance du signal et l'état de la batterie. A condition que votre téléphone cellulaire prenne en charge cette fonction.Lorsque vous avez terminé, appuyez sur la flèche gauche pour returner au menu d'état du téléphone. |
| Régler sonnerie | Sélectionnez la sonnerie d'appoint (l'une des sonneries du système ou de votre téléphone cellulaire).1. Appuyez sur OK pour effectuer la sélection, puis faites défiler les options pour entendre la Sonnerie 1, Sonnerie 2, Sonnerie 3 et la Sonnerie téléphone.2. Appuyez sur OK pour effectuer votre sélection.Si votre téléphone cellulaire prend en charge la signalisation intrabande, il se met à sonner lorsqu vous avez sélectionné Sonnerie téléphone. |
| Announcer SMS | Activer un signal sonore pour vous prévenir quand vous receivez un SMS. |
| 1. Appuyer sur OK pour activer ou désactiver le signal sonore. |
| Préf. répertoire | Modifier le contentu de votre répertoire (ajouter, supprimer ou télécharger). Appuyez sur OK et Choisissez l'une des options suivantes :Ajouter contact: appuyez sur OK pour ajouter d'autres contacts de votre répertoire. Déplacez le ou les contact(s) youlu(s) vers votre téléphone cellulaire. Consultez le guide d'utilisation de votre téléphone cellulaire pour en savoir plus sur le déplacement de vos contacts.Suppr.: appuyez sur OK pour supprimer le répertoire et l'historique des appel actuels. Lorsque Supprimer répertoire ? s'affiche, appuyez sur Oui pour confirmer.SYNC vous ramène au menu Paramètres tél..Télécharg. ajust.: appuyez sur OK pour sélectionner et télécharger libre répertoire sur SYNC.Télécharg. auto:Cochez ou découvert cette option pour télécharger automatiquement libre répertoire à chaque fois que vous téléphone se connecte à SYNC. La durée de télécharge-ment dépend de libre téléphone et du volume des données à télécharger.Quand le téléchargement automatique est activé, tous les changements, ajouts ou suppressions enregistrés dans SYNC depuis votre dernier téléchargement sont supprimés.Si vous ne foulez pas télécharger libre répertoire à chaque fois que libre téléphone cellulaire se connecte à SYNC, sélectionnez Arrêt.Vous pouvez acceder à libre répertoire, à l'historique des appel et aux SMS uniquement lorsque libre téléphone jumelé est connecté à SYNC. |
Appareils BT
Ce menu vous permet d'accéder à vos appareils Bluetooth. Utilisez les touches fléchées pour faire défiler les options du menu.
Le menu Appareils BT vous permet d'ajouter, de connecter et de supprimer des appareils et de définir un téléphone cellulaire principal.
- Appuyez sur la touche PHONE pour accéder au menu du téléphone cellulaire.
- Faites défiler le menu jusqu'à ce que Appareils BT apparaisse, puis appuyez sur OK.
- Naviguez dans le menu pour sélectionner l'une des options suivantes:
| Si vous sélectionnez | Vous pouvez |
| Ajouter | Jumeler des téléphones cellulaires supplémentaires avec le système.1. Appuyez sur la touche Ajouter pour débuter le proces-sus de jumelage.2. Lorsque Commencer jumelage s'affiche à l'écran, recherchez SYNC sur votre apparéil pour débuter le processus de jumelage. Consultez le guide d'utilisation de votre téléphone cellulaire si nécessaire.3. Lorsque vous y étés invite sur l'écran de votre téléphone cellulaire, saïsssez le code PIN à six chiffres fournir par le système SYNC sur l'écran de la radio. L'écran给您 indique lorsque le jumelage est réussi.4. Définissez le Nom du téléphone comme téléphone cellulaire préfééré ? Vous doivent désirsier entre Oui et Non.5. Selon les fonctions prises en charge par votre téléphone cellulaire, il se peut que le système vous pose des ques-tions supplémentaires (notamment, si vous souhaitez télécharger libre repertoire). Appuyez sur Oui ou Non pour sélectionner vos réponses. |
| Suppr. | Supprimer un téléphone cellulaire jumelé. Appuyez sur Suppr. et confirmez votre choix en appuyant sur Oui lorsque le système vous demande si vous voulez supprimer l' apparéil sélectionné de SYNC. ÀpRES avoir supprimé un téléphone cellulaire de la liste, vous pouze reconnectcer ce téléphone uniquement après avoir exécuté à nouveau le processus de jumelage. |
| Maitre | Définir un téléphone déjà jumelé avec le système comme votre téléphone principal. Appuyez sur Maitre pour sélectionner le téléphone cellu-laire désiré comme téléphone principal. |
| SYNC essaie de se connecter au téléphone principal à chaque fois que le contact est mis. Lorsqu'un téléphone est défini comme téléphone principal, il apparait en premier dans la liste et est immédiatement suivi d'une astérisque*. |
| Conn. | Connector un téléphone compatible Bluetooth deja jumelé. Un seul apparéil peut être connecté à la fois pour utiliser les fonctions de téléphone cellulaire. Lorsqu'un autre téléphone cellulaire se connecte, l' apparéil précédent est déconnecté des services téléphoniques. SYNC vous permet d'utiliser les fonctions de téléphones cellulaire et la fonction de lecture de musique audio BT simultanément avec différents apparéils Bluetooth. Appuyez sur Conn. pour vous connecter au téléphone cellulaire précédemment sélectionné. |
| Décon. | Déconnecter le téléphone cellulaire sélectionné. Appuyez sur Décon. et confirmez votre choix en appuyant sur Oui lorsque le système vous le demande. Àpres avoirdéconn ecté un téléphone cellulaire, vous pouvez reconnectcer ce téléphone uniquement après avoir exécuté à nouveau le processus de jumelage complet. |
Paramètres du système
- Appuyez sur la touche MENU pour accéder au menu du système.
- Sélectionnez SYNC-Réglages, puis appuyez sur OK.
| Si vous sélectionnez | Vous pouvez |
| Bluetooth activé | Cochez ou découvertes cette option pour activer ou désac-tiver l'interface Bluetooth du système. Faites votre sélec-tion, puis appuyez sur OK pour modifier l'état de l'options. |
| Déf. régl. défaut | Rétablier les réglages par défaut de l'usine. Ce réglage n'efface pas les informations indexées (répertoire, histori-rique des appeals, SMS et autres apparèils enregistrrés). Appuyez sur OK pour faire votre sélection, puis appuyez sur Oui lorsque Déf. régl. défaut ? s'affiche à l'écran. |
| Réinit. totale | Effacer toutes les informations enregistrées dans SYNC (répertoire, historique des appeals, SMS et autres apparèils jumelés) et rétablier les réglages par défaut de l'usine. |
| Appuyez sur OK pour faire votre sélection, puis appuyez sur Oui lorsque Réinit. totale ? s'affiche à l'écran. L'écran indique lorsque l'opération est terminée et SYNC vous ramène au menu SYNC-Réglages. |
| Instal. sur SYNC | Installer des applications ou des mises à jour logicielles que vous avez téléchargées.Faites défilier l'affichage pour effectuer votre sélection, puis appuyez sur OK. Confiirmez votrechioix par Oui lorsque Instal. sur SYNC s'affiche à l'écran. La clé USB doit composer une application SYNC ou une mise à jour valide pour terminer une installation avec succès. |
| Infos système | Afficher les numérios de version du système ainsi que son numéro de série.Appuyez sur OK pour effectuer votre sélection. |
| Param. vocaux | Le sous-menu des paramètres vocaux donne accès au mode d'interaction, aux invites de confirmation, aux candidats du téléphone et aux candidats média. Voir Utilisation de la reconnaissance vocale (page 335). |
| Recherche USB | Explorer la structure du menu de l'appareil USB connecté.Appuyez sur OK et utilisez les touches flèche haut et flèche bas pour parcourir les dossiers et fichiers. Utilisez les touches flèche gauche ou flèche croite pour acceder à un dossier et le quitter. Le contenu multimédia peut être directement sélectionné à partir de ce menu pour être lu. |
| Ford SOS | Vous pouvez activer et désactiver la fonction d'assistance d'urgence. Voir Applications et services SYNC® (page 350). |
- Appuyez sur la touche MENU pour accéder au menu du système.
- Faites défiler l'affichage jusqu'à ce que SYNCApplic soit sélectionné, puis appuyez sur OK.
Une liste des applications disponibles s'affiche. Chaque application peut avoir ses propres paramètres spécifiques.
Avertissements

Pour que cette fonction puisse fonctionner, votre téléphone cellulaire doit être compatible avec
SYNC.
Avertissements

Posez toujours votre téléphone cellulaire dans un endroit sûr à l'intérieur de votre véhicule. Le
non-respect de ces consignes est susceptible d'entraîner de graves blessures ou d'endommager le téléphone, ce qui empêcherait le fonctionnement correct de l'assistance d'urgence Ford SOS.

A moins que le paramètre Ford SOS soit activé avant une collision, le système n'essaie pas de passer un
appel d'urgence, ce qui pourrait retarder les secours et donc augmenter potentiellement le risque de blessures graves, voire mortelles. N'attendez pas que Ford SOS passe un appel d'urgence si vous êtes en mesure de le faire vous-même. Composez immédiatement le numéro des services d'urgence pour éviter de retarder les secours. Si vous n'entendez pas Ford SOS dans les cinq secondes suivant la collision, il se peut que le système ou le téléphone cellulaire soit endommagé ou hors d'état de fonctionnement.
Note: avant de sélectionner cette fonction, vous devez lire la déclaration de confidentialité de Ford SOS plus loin dans cette section pour prendre connaissance des renseignements importants qu'elle contient.
Note: lorsque vous activez ou désactivez Ford SOS, ce réglage s'applique à tous les téléphones cellulaires jumelés. Si vous avez désactivé Ford SOS et qu'un téléphone jumelé précédemment se connecte lorsque vous mettez le contact, cela déclenche soit la lecture d'un message vocal, soit l'affichage d'un message ou d'une icône à l'écran (ou les deux).
Note: chaque téléphone cellulaire fonctionne différément. Même si la fonction Ford SOS fonctionne avec la plupart des téléphones cellulaires, il se peut que certains d'entre eux rencontrent des difficultés lors de son utilisation.
Note: pour connaître les informations essentielles concernant le déploiement des airbags : Voir Protection des occupants (page 28).
Dans le cas d'une collision déclenchant le déploiement d'un airbag ou du commutateur de coupure de l'alimentation en carburant, le système peut contacter les services d'urgence en composant le 112 (numéro d'urgence sans fil qui fonctionne dans la plupart des pays européens) au moyen d'un téléphone jumelé et connecté au système. Pour plus d'informations sur SYNC et Ford SOS, visitez votre site Web Ford régional.
Pour activer ford SOS
- Appuyez sur la touche PHONE pour accéder au menu du téléphone.
- Faites défiler l'affichage jusqu'à Ford SOS.
- Appuyez sur OK pour confirmer votre choix et accéder au menu Ford SOS.
- Faites défiler l'affichage et mettez en surbrillance la sélection Marche ou Arrêt.
- Appuyez sur OK pour confirmer la sélection.
Options d'affichage :
- Si vous avez sélectionné Marche, Activer s'affiche à l'écran pour confirmer l'activation de la fonction.
- Si vous avez sélectionné Arrêt, une boîte de dialogue s'affiche pour vous permettre de définir un rappel vocal.
La déactivation avec rappel vocal déclenche un rappel visuel et vocal lorsque le téléphone cellulaire se connecte et que votre véhicule démarre. La déactivation sans rappel vocal déclenche uniquement un rappel visuel, sans rappel vocal, lorsque le téléphone se connecte.
Pour s'assurer que l'assistance d'urgence ford SOS fonctionne correctement :
SYNC doit être alimenté et fonctionner correctement au moment de la collision et pendant l'activation et l'utilisation de la fonction. La fonction Ford SOS doit être activée avant l'incident. - Vous devez disposer d'un téléphone cellulaire connecté à SYNC. - Dans certains pays, il peut s'avérer nécessaire de disposer d'une carte SIM valide, enregistrée et créditée pour pouvoir passer et maintenir un appel au 112. - Un téléphone cellulaire connecté doit pouvoir passer et maintenir un appel sortant au moment de l'incident. - Un téléphone cellulaire connecté doit disposer d'une couverture réseau adaptée, d'une batterie suffisamment chargée et d'une puissance de signal assez élevée. - Véhicule doit avoir une batterie en état de marche et se trouver dans un pays européen ou une région où la fonction Ford SOS SYNC peut appeler les services d'urgence locaux. Consultez votre site Web Ford régional pour plus de détails.
En cas de collision
Note: toutes les collisions ne déclenchent pas le déploiement des airbags ou le commutateur de coupure d'alimentation en carburant (ce qui peut activer l'assistance d'urgence Ford SOS). Cependant, si la fonction Ford SOS est déclenchée, SYNC essaie de contacter les services d'urgences. Si un téléphone cellulaire est endommagé ou s'est déconnecté de SYNC, SYNC recherche et essaie de se connecter à l'un des téléphones préalablement jumelés et tente de passer un appel d'urgence au 112.
Avant d'appeler :
- Si l'appel n'a pas été annulé, et lorsqu'il aboutit, le message d'introduction est d'abord lu à l'opérateur d'urgence, puis l'occupant de votre véhicule entre en communication mains-libres avec l'opérateur. SYNC prévoit un court laps de temps (environ 10 secondes) pour annuler l'appel. Si l'appel n'est pas annulé, SYNC tente de composer le 112. SYNC énonce le message suivant, ou un message similaire : « SYNC va tenter de passer un appel d'urgence. Pour annuler cet appel, choisissez Annuler à l'écran ou appuyez sur la touche de raccrochage »
En cours d'appel
L'assistance d'urgence Ford SOS utilise les informations fournies par le réseau de téléphonie mobile ou le réseau GPS du véhicule pour déterminer la langue la plus adaptée pour alerter l'opérateur d'urgence de la collision et délivrer le message d'introduction. Cela peut comprendre les coordonnées GPS de votre véhicule. - La langue utilisée pour interagir avec les occupants de votre vehicle est sélectionnée par l'utilisateur pour toutes les fonctions SYNC et peut être différente de la langue utilisée par SYNC pour délivrer les informations voulues à l'opérateur d'urgence. - Une fois que le message d'introduction a été délivré, la ligne vocale s'ouvre pour vous permettre de parler en mode mains-libres avec l'opérateur d'urgence. - Dès que la ligne est connectée, soyez prêt à donner immédiatement votre nom, votre numéro de téléphone et l'endroit où vous vous trouvez.
Note: pendant que le système fournit des informations à l'opérateur d'urgence, vous entendrez le message suivant, ou un message similaire : « Veuillez patientez pendant que des informations importantes sont fournies à l'opérateur d'urgence. » SYNC announce "ligne ouverte" ou un message similaire au début de la communication mains-libres.
Note: pendant un appel d'urgence, un écran prioritaire d'urgence s'affiche dans votre véhicule. Il contient les coordonnées GPS du véhicule si elles sont disponibles. Ces coordonnées correspondent aux informations fournies à l'opérateur d'urgence dans le message d'introduction.
Note: l'opérateur d'urgence est également susceptible de recevoir des informations du réseau de téléphonie mobile, telles que le numéro du téléphone cellulaire, l'emplacement du téléphone cellulaire, et le nom du fournisseur de téléphonie mobile, indépendamment de Ford SOS SYNC.
Ford SOS pourrait ne pas fonctionner si :
- votre téléphone cellulaire ou le système matériel Ford SOS a été endommagé lors d'une collision;
- la batterie de votre véhicule ou le système SYNC est coupé;
- si votre téléphone est éjecté de votre véhicule au cours d'une collision.
- vous n'avez pas une carte SIM valide, enregistrée et créditée dans votre téléphone;
- vous vous trouvez dans un pays ou une région d'Europe où l'appel d'assistance d'urgence Ford SOS SYNC ne peut pas être passé; Consultez votre site Web Ford régional pour plus de détails.
À l'heure actuelle, Ford SOS n'appelle pas les services d'urgence dans les pays suivants : Albanie, Biélorussie, Bosnie-Herzégovine, Macédoine, Pays-Bas, Ukraine, Moldavie et Russie.
Consultez votre site Web Ford régional pour obtenir les informations détaillées les plus récentes.
Déclaration de confidentialité concernant ford SOS
Une fois la fonction Ford SOS activée, elle peut informer les services d'urgence que votre véhicule a été impliqué dans une collision avec déploiement d'un airbag ou activation du commutateur de coupure d'alimentation en carburant. Cette fonction est capable de fournir des informations sur votre position à l'opérateur d'urgence, ainsi que d'autres détails concernant votre véhicule ou la collision, pour lui permettre de déterminer les services d'urgence les plus adaptés.
Si vous ne souhaitez pas communiquer ces informations, désactivez la fonction.
Utilisation de SYNC® avec votre lecteur multimédia
Vous pouvez accéder et écouter de la musique depuis votre lecteur de musique numérique grâce aux hauts-parleurs de votre véhicule, en utilisant le menu multimédia ou les commandes vocales du système. Vous pouvez également classer et dire toute musique selon différentes catégories : par artiste, par album, etc.
SYNC prend en charge presque tous les lecteurs multimédias numériques, y compris : les lecteurs iPod®, Zune™, « Plays from device » et la plupart des appareils USB. SYNC prend également en charge les fichiers audio aux formats MP3, WMA, WAV et ACC.
Connectez votre lecteur multimédia numérique au port USB
Note: Si votre lecteur multimédia numérique possède un bouton de mise en marche, assurez-vous que l'appareil est allumé.
Se connecter en utilisant les commandes vocales
- Branchez l'appareil au port USB de votre véhicule.
- Appuyez sur la touche Voix et, lorsque le système est prêt, dites « USB »
- Vous pouvez à présent écouter de la musique en énonçant l'une des commandes vocales appropriées. Référez-vous aux commandes vocales multimédia.
- Branchez l'appareil au port USB de votre véhicule.
- Appuyez sur la touche AUX jusqu'à ce que Initialisation apparaisse sur l'affichage.
- En fonction du nombre de fichiers multimédias numériques présents sur l'appareil connecté, le message Indexation USB peut s'afficher à l'écran. Une fois l'indexation terminée, l'écran retourne au menu Jouer.
Appuyez sur Rechercher. Vous pouvez maintenant parcourir la liste suivante :
Jouer tout. - Listes de lecture. - Pistes. - Artistes. - Albums. - Genres. - Rechner USB. - Réinit. Sync. USB. - Quitter.
Commande qu'est-ce qui change?
À tout moment, lorsqu'une piste est en cours de lecture, vous pouvez appuyer sur l'icône Voix et demander au système « Qui est-ce qui chante ? ». Le système vous lit alors les étiquettes de métadonnées (si renseignées) de la piste en cours.
Commandes vocales multimédia

Appuyez sur la touche Voix et, lorsque le système vous y invite, dites « USB », puis énoncez l'une
des commandes suivantes :
| « USB » |
| « Pause » | |
| « Jouer » | « Régier désactivée » |
| « Jouer album <nom> »1,2 | « Régier activée » |
| « Jouer tout » | « Rechercher album <nom> »1,2 |
| « Jouer artiste <nom> »1,2 | « Rechercher artiste <nom> »1,2 |
| « Jouer par genre <nom> »1,2 | « Rechercher par genre <nom> »1 |
| « Jouer dossier suivant »3 | « Rechercher chanson <nom> »1 |
| « Jouer piste suivante » | « Rechercher piste <nom> »1,2 |
| « Jouer liste <nom> »1,2 | « Lecture aléatoire désactivée » |
| « Jouer Dossier précédent »3 | « Lecture aléatoire activée » |
| « Jouer piste précédent » | « Musique similaire » |
| « Jouer chanson <nom> »1 | « Qui est-ce qui chante? » |
| « Jouer piste <nom> »1,2 | |
correspond à une liste dynamique ; il peut donc s'agir du nom du groupe, de l'artiste, de la chanson souhaitée, etc. 2 Ces commandes vocales ne sont pas disponibles tant que l'indexation n'est pas terminée. 3 Ces commandes vocales sont uniquement disponibles en mode dossier.
| Guide des commandes vocales |
| « Rechercher par genre » ou « Jouer par genre » | Le système effectue une recherche parmi toutes les données de la musique indexée et, le cas échéant, commence à dire le type de musique choisi. Les genres de musique doivent correspondre à l'étiquette de métadonnées de genre qui se trouve dans votre lecteur multimédia numérique. |
| « Musique similaire » | Le système compose une liste de lecture à l'aide des informations de métadonnées indexées, puis lit des pistessemblables à celle en cours de lecture à partir du port USB. |
| Rechercher ou Jouer « Artiste », « Piste » ou « Album » | Le système recherche un artiste, une piste ou un album spécifique dans la musique indexée depuis le port USB. |
Le système est également capable de diffuser de la musique depuis votre téléphone cellulaire, via Bluetooth.
Pour activer le mode Bluetooth Audio, appuyez sur la touche AUX ou Source ou appuyez sur la touche Voix, puis, lorsque le système vous y invite, dites « Initialisation », puis énoncez l'une des commandes suivantes :
| « INITIALISATION » |
| « Connexions » |
| « Pause » |
| « Jouer » |
| « Jouer piste suivante » |
| « Jouer piste précédente » |
Le menu Media vous permet de choisir la façon dont la musique est lue (par artiste, genre, mode de lecture aléatoire ou répétition, etc.), mais aussi de trouver de la musique similaire ou de réinitialiser l'index de vos appareils USB.
- Appuyez sur AUX pour sélectionner la lecture USB, puis Options pour accéder au menu Media.
- Faites défiler le menu pour passer en revue les options suivantes :
| Si vous sélectionnez | You pouvez |
| Lecture aléatoire et Répéter piste | Lire votre musique de manière aléatoire ou la répéter. Une fois ces options activées, elles le restent jusqu'à ce qu'elles soient désactivées. |
| Musique similaire | Ecouter des types de musiquesemblables à celui de la liste de lecture en cours depuis le port USB. Le système utilise les informations des métadonnées de chacune des chansons pour constituer une liste de lecture. Le système creée ensuite une nouvelle liste de chansons similaires et commence leur lecture. Les étiquettes de métadonnées de chaque piste doivent être renseignées pour que cette fonction puisse inclure des pistes à la liste de lecture. Avec certains lecteurs, si vos étiquettes de métadonnées ne sont pas renseignées, les pistes ne sont pas disponibles pour la reconnaissance vocale, le menu de lecture ou la fonction de musique similaire. Cependant, si vous transférez ces pistes sur votre lecteur en mode de stockage de masse, elles fonctionnement avec la reconnaissance vocale, lorsque vous parcourez le menu de lecture et avec la fonction de musique similaire. Touté étiquette de métado-nnée vide peut se voir attribuer une piste inconnue. |
| Réinit. SYNC USB | Réinitialiser l'index USB. Une fois la nouvelle indexation terminée, vous pouvez sélectionner la musique que vous voulez écouter depuis la bibliothèque USB. |
Accéder à votre bibliothèque USB
Ce menu vous permet de sélectionner et de lire votre musique par artiste, album, genre, liste de lecture, piste ou même de parcourir le contenu de votre appareil USB.
- Assurez-vous que votre appareil est branché au port USB et bien allumé.
- Appuyez sur AUX pour sélectionner la lecture USB, puis Rech..
Si aucun fichier multimédia n'est accessible, l'écran indique que l'appareil ne contient aucun fichier. Si plusieurs fichiers multimédia sont disponibles, vous pouvez faire défiler et sélectionner les options suivantes :
| Si vous sélectionnez | You pouvez |
| Jouer tout | Lire tout le contenu indexé (les pistes) depuis votre lecteur, une piste après l'autre, par ordre numérique. |
| Si vous sélectionnez | Vous pouvez |
| Appuyez sur OK pour effectuer votre sélection. Le titre de la première piste s'affiche à l'écran. |
| Listes lecture | Accéder à vos listedes de lectures (depuis divers formats, comme . ASX, .M3U, . WPL ou . MTP). .1. Appuyez sur OK pour effectuer votre sélection.2. Faites défilier la liste pour sélectionner la liste de lecture souhaitée et appuyez sur OK. |
| Pistes | Rechercher et lire une piste indexée spécifique. .1. Appuyez sur OK pour effectuer votre sélection.2. Faites défilier la liste pour sélectionner la piste souhaitée, puis appuyez sur OK. |
| Artistes | Classer tout le contenu indexé par artiste. Une fois cette option sélectionnée, le système classe et lit ensuite tous les artistes et toutes les pistes par ordre alphabetique. .1. Appuyez sur OK pour effectuer votre sélection.2. Faites défilier la liste pour sélectionner l'artiste souhaité et appuyez sur OK. |
| Albums | Classer tout le contenu indexé par albums. .1. Appuyez sur OK pour effectuer votre sélection.2. Faites défilier la liste pour sélectionner les albums souhaités et appuyez sur OK. |
| Genres | Classer la musique indexée par genre (catégorie). .1. Appuyez sur OK pour effectuer votre sélection.2. Faites défilier la liste pour sélectionner le genre souhaité et appuyez sur OK. |
| Rechercher USB | Explorer tout le contenu multimédia numérique pris en charge se trouvant sur votre apparéil connecté au port USB. Vous pouvez uniquement voir le contenu compatible avec SYNC. Les autres fichiers stockés sont invisibles.1. Appuyez sur OK pour effectuer votre sélection.2. Faites défilier la liste pour explorer le contenu multimédia indexé de votre disque flash, puis appuyez sur OK. |
| Réinit. Sync USB | Réinitialiser l'index USB. Une fois la nouvelle indexation terminée, vous pouvez sélectionner la musique que vous voulez écouter depuis la bibliothèque USB. |
Vous pouvez utiliser les boutons en bas de l’écran pour passer rapidement à une certaine catégorie alphabétique. Vous pouvez également utiliser les lettres du clavier numérique pour accéder directement à un endroit dans la liste.
Appareils bluetooth et paramètres système
Vous pouvez accéder à ces menus en utilisant l'affichage. Voir Utilisation de SYNC avec votre téléphone (page 338).
Diagnostic de SYNC®
Votre système SYNC est facile à utiliser. Toutefois, en cas de questions, veuillez vous reporter aux tableaux ci-dessous.
Consultez le site Web Ford pour vérifier la compatibilité de votre téléphone.
| Problèmes de téléphone |
| Problème | Cause potentielle | Solution possible |
| Beaucoup de bruit de fond pendant un appel. | Les paramètres de commande audio de votre téléphone interférènt peut-être avec les performances de SYNC. | Consultez la partie du guide d'utilisation de votre téléphone consacrée aux réglages audio. |
| Lors d'un appel, j'entends mes interlocuteurs, mais eux ne peuvent pas m'entendre. | Anomalie potentielle du téléphone. | Essayez d'éteindre l'appareil, de le réiniti-liser, de retirer sa batterie, puis réessayez.Assurez-vous que l'options Mic off de SYNC est définie sur Arrêt. |
| SYNC n'arrive pas à télé-charger mon réseau. | Cette fonction dépend de votre téléphone.Dysfonctionnement possible du téléphone. | Vérifiez la compatibilité de votre téléphone sur le site Internet.Essayez d'éteindre l'appareil, de le réiniti-liser ou de retirer sa batterie, puis réessayez.Essayez de déplacer les contacts de votre réseau dans SYNC en utilisant la fon-c tion Ajouter contact.Vous devez activer votre téléphone cellu-laire et la fonction de téléchargement de répéroye automatique dans SYNC. |
| Le système dit « Répertoir telecharge » , mais,dans SYNC, mon réseau resté vide ou des contacts manquent. | Les capacités de votre téléphone ont atteint leurs limites. | Essayez de déplacer les contacts de votre répertoire dans SYNC en utilisant la fon-c tion Ajouter contact.Si les contacts manquants sont stockés sur votre carte SIM, essayez de les déplacer vers la mémoire de l'appareil.Supprimez toutes les images ou sonneries spéciales associées aux contacts manquants.Vous devez activer votre téléphone cellu-laire et la fonction de téléchargement de répertoire automatique dans SYNC. |
| J'ai du mal à connecter mon téléphone cellu-laire à SYNC. | Cette fonction dépend de votre téléphone cellu-laire.Dysfonctionnement possible du téléphonecellulaire. | Vérifiez la compatibilité de votre téléphonecellulaire sur le site Internet.Essayez d'étéindre l'appareil, de le réiniti-lierser ou desterolir sa batterie,uis réessayez.Essayez de supprimer votre apparéil deSYNC, et de supprimer SYNC de votre apparéil,uis réessayez.Sur votre téléphone cellu-laire,contrôlez les paramètres de sécurité et d'acceptation automatique des invites concernant la connexion Bluetooth à SYNC.Mettez à jour le microcode de votre appar-riel.Désactivez le paramètre de Télécharge-ment automatique du réseau. |
| Les SMS ne fonctionnent pas avec SYNC. | Cette fonction dépend de votre téléphone cellu-laire.Dysfonctionnement possible du téléphonecellulaire. | Vérifiez la compatibilité de votre téléphonecellulaire sur le site Internet.Essayez d'étéindre l'appareil, de le réiniti-lierser ou desterolir sa batterie,uis réessayez. |
| La lecture audio des SMS ne fonctionne pas sur mon télé-phone cellu-laire. | Il s'agit d'une restriction liée à votre téléphonecellulaire. | Cette fonction dépend de votre téléphonecellulaire. Pour receiveoir des SMS entrants,votrecéléphone cellu-laire doit prendre en charge le tél'échéargement de SMS viaBluetooth.Accédez au menu des SMS de SYNC pour vérifier si cette fonction est prise en charge par votre téléphone cellu-laire. Appuyez sur la touche PHONE,puis faites défilé l'affi-chage et sélectionnez SMS,appuyez ensuite sur OK.Le fonctionnement de chaque téléphonecellulaire étant différent,reportez-vous auGuide d'utilisation de votre apparéil pour savoir comment le jumeler. En réalité,il peut y avoir des différences entre les télé-phones cellulaires en raison de leur marque,leur modèle,leur nombre de version et du fournisseur d'accès utilisé. |
| Problèmes USB et multimédia |
| Problème | Cause potentielle | Solution possible |
| J'ai du mal à connecter mon apparéil. | Dysfonctionnement possible de l' apparéil. | Essayez d'éteindre l' apparéil, de le réiniti-liser, de retirer sa batterie, puis réessayez.Assurez-vous que vous utilisez le cable du fabricant.Assurez-vous que le cable USB est correc-tement branché à l' apparéil et au port USB de votre vehicule.Assurez-vous que l' apparéil ne dispose pas d'un programme d'auto-installation ou de paramètres de sécurité actifs. |
| SYNC ne recon-nait pas l'appa-reil quand je démarre mon vehicule. | Il s'agit d'une restriction de l' apparéil. | Assurez-vous de ne pas laisserz l' apparéil dans le vehicule par des températures extrêmes (chaudes ou froides). |
| Le Bluetooth audio ne charge rien. | Cette fonction dépend de votre téléphone cellu-laire.L' apparéil est décon-necté. | Assurez-vous que l' apparéil est connecté à SYNC et que vous avez appuyé sur le bouton lecture de l' apparéil. |
| SYNC ne recon-nait pas la musique que contient mon apparéil. | Vos fichiers de musiques ne contiennent peut-être pas les informations appropriées concernant l'artiste, le titre de la chanson, l'album ou le genre. | Assurez-vous d'avoir renseigné toutes les informations concernant la chanson. |
| Le fichier peut être corrompu.
La chanson est peut-être protégée par des droits d'auteur et l'appareil ne peut donc pas la生存. | Certains appareils nécessités de modifier les paramètres USB et de passer du proto-cole de stockage de masse au protocole de transfert multimédia. |
| Lorsque mon iPhone ou mon iPod Touch est connecté simultanément via USB et Blue-tooth Audio, parfois, je n'entends plus rien. | Il s'agit d'une restriction de l'appareil. | Depuis l'écran affichtant la musique en cours de lecture de l'iPhone ou de l'iPod Touch, sélectionnez l'icône AirPlay de l'appareil audio tout en bas sur l'écran de votre iPhone ou iPod Touch.
Pour écouter votre iPhone ou iPod Touch via Bluetooth Audio, sélectionnez SYNC.
Pour écouter votre iPhone ou iPod Touch via USB, sélectionnez le connecteur de dock. |
| Problèmes de commandes vocales |
| Problème | Cause potentielle | Solution possible |
| SYNC ne comprend pas ce que je dis. | Vous utilisez peut-être les mauvaises commandes vocales. Vous parlez peut-être trop tôt ou au mauvais moment. | Relisez les commandes vocales du télé- phone cellulaire et multimédia au début de leurs sections respectives.Pendant une session de commande vocale active, reportez-vous à l'écran : une liste des commandes vocales disponibles y est affichée.Le microphone pour le système se trouve soit dans votre rétroviseur, soit dans la garniture de pavillon, juste au dessus du pare-brise. |
| SYNC ne comprend pas le nom de la chanson ou de l'artiste. | Vous utilisez peut-être les mauvaises commandes vocales. Vous ne pronounceze peut-être pas le nom exacte- ment comme il est enregistré dans le système. | Relisez les commandes vocales multimé-dias au début de la section multimédia.Prononcez le nom de la chanson ou de l'artiste exactement comme il est enregi-stré. Si vous dites « Jouer artiste Prince», le système ne lit pas les chansons de Prince and the Revolution ou Prince and the New Power Generation. |
| Le système ne « lit » peut-être pas le nom de la même façon que vous le pronouncez. | Vérifiez que vous pronouncez bien le titre complet, comme « California remix featuring Jennifer Nettles ».
Si les titres des chansons sont enregistrées en majuscules, vousdezvez les épeler.LOLANécessite que vous pronouncez « L-O-L-A ».
N'utilise pas les caractères spéciaux dans les titres, carle système ne les reconnait pas. |
| SYNC ne comprend pas, ou appelle le mauvais contact quand je veux passer un appel. | Youss utilisez peut-être les mauvaises commandes vocales.
Youss ne pronouncez peut-être pas le nom exactement comme il est enregistré dans le système.
Les contacts enregistrés dans votre réseau sont peut-être très courts et similaires, ou bien ils contiennent peut-être des caractères spéciaux.
Les contacts de votre réseau sont peut-être enregistrés en majuscules. | Relisez les commandes vocales du téléphone cellulaire au début de la section sur le téléphone cellulaire.
Vérifiez que vous pronouncez bien le nom du contact exactement comme il est enregistré. Par exemple, si un contact est enregistré sous Pierre Durand, dites « Appeler Pierre Durand ».
Le système fonctionne moins si vous enregistrrez des noms complets, comme « Pierre Durand», plutilt que « Pierre ».
N'utilisez pas de caractères spéciaux comme 123 ou ICE puisque le système ne les reconnait pas.
Si les contacts sont enregistrrés en majuscules, vousdezvez les épeler.JEAN nécessite que vous pronounce « Appeler J-E-A-N ».
Youss pouvez également utiliser le téléphone cellulaire et les listedes de candidats médias pour有關ir une liste des candidats possibles lorsqu'el système ne vous a pas complètement compris. Voir Utilisation de la reconnaissance vocale (page 335). |
| Le système de commande vocale de SYNC a des difficultés pour reconnaître les noms étrangers enregistrés dans la liste de contacts de mon réseau téléphonique. | Les noms étrangers sont prononçés en utilisant la langue actuellément sélectionnée pour SYNC. | Le système SYNC applique les règles de pronunciation phonétique de la langue séLECTIONnée aux noms de contact enregistres sur votre téléphone cellulaire. Conseil : sélectionnez votre contact manuellement (PHONE > Répertoire > Nom du contact) et appuyez ensuite sur la touche programmable Entendre. SYNC écience alors le nom du contact, vous donnant une idée de la pronunciation attènue par SYNC. |
| Le système de commande vocale de SYNC a des difficultés pour reconnaître les noms des pistes, des arti-stes, des albums, des genres et des listes de lecture étrangers enregistrés sur mon lecteur multimédia USB ou mon disque flash USB. | Les noms étrangers sont prononçés en utilisant la langue actuellément sélectionnée pour SYNC. | Le système SYNC applique les règles de pronunciation phonétique de la langue sélectionnée aux noms enregistrés sur votre lecteur multimédia USB ou disque flash USB. Le système est capable de faire certaines exceptions pour les noms d'arti-stes très populaires (U2, par exemple) de sorte que vous pouvez toujours utiliser la pronunciation anglaise pour ces artistes. |
| Les invites vocales sont générées élec-troniquement, et la pronunciation de certains mots peut ne pas être exacte dans ma langue. | Le système SYNC utilise la technologie de synthèse de la parole à partir du texte pour ses invites vocales. | Le système utilise une voix synthétiqueplatz où qu'une voix humaine pré-enregistrée. |
| | SYNC propose de nouvelles fonctions de commande vocale dans un grand nombre de langues. Appel d'un nom de contact directement à partir du réseau sans enregistrement préalable (par exemple, "Appeler Jean Dupont") ou sélection d'une piste, d'un artiste, d'un album, d'un genre ou d'une liste de lecture depuis votre lecteur multimédia USB (par exemple, « Jouser artiste Madonna »). |
| Mon système de commande vocale précédent me permettait de commander les systèmes de radio, CD et climatisation. Pourquoi est-ce que je ne peux pas commander ces systèmes avec SYNC ? | SYNC a pour principal objectif la commande de vos apparêls mobiles et des donnéesées enregistrées sur vos apparêls. | SYNC propose des fonctionnalités importantes plus poussées et plus complètes que celles du système précédent, comme : Appel d'un nom de contact directement à partir du réseau sans enregistrement préalable (par exemple, "Appeler Jean Dupont") ou sélection d'une piste, d'un artiste, d'un album, d'un genre ou d'une liste de lecture depuis votre lecteur multimédia USB (par exemple, « Jouser artiste Madonna »). |
| Général |
| Problème | Cause potentielle | Solution possible |
| La langue sélectionnée pour le combiné des instruments et l'écran d'information et de divertissement (radio, CD, programmes) | La langue actuellément sélectionnée pour le combiné des instruments et l'écran d'information et de divertissement n'est pas prise en charge par SYNC. | SYNC n'accepte que quatre langues dans un seul module pour l'affichage de texte, la commande vocale et les invites vocales. Les quatre langues de chaque lot sont sélectionnées en fonction des langues les plus parlées dans le pays où votre vehicule est vendu. Si la langue sélectionnée n'est pas disponible, SYNC continue d'utiliser la langue active courante. |
| menu, etc.) n'est pas la même que celle de SYNC ( téléphone, USB, Bluetooth audio, commande vocale et invites de vocales). | | SYNC propose de nouvelles fonctions de commande vocale dans un grand nombre de langues. Appel d'un nom de contact directement à partir du réseau sans enregistrement préalable (par exemple, "Appeler Jean Dupont") ou sélection d'une piste, d'un artiste, d'un album, d'un genre ou d'une liste de lecture depuis votre lecteur multimédia USB (par exemple, Jouer artiste Madonna). |
Homologations de TYPES
Cet appareil est conforme au numéro 15 du règlement du FCC. Le fonctionnement est soumis aux deux conditions suivantes : (1) cet appareil ne peut pas émettre d'interférences nocives et (2) cet appareil doit accepter toute interférence reçue, ceci inclut les interférences pouvant entraîner un fonctionnement non souhaité.
FCC ID: WJRLX-42
IC:7847A-RX42
Toute modification apportée à votre appareil n'ayant pas été expressément approuvée par la partie responsable de la conformité peut entraîner l'annulation du droit de l'utilisateur d'utiliser l'équipement.
Nous, partie responsable de la conformité, déclarons sous notre seule responsabilité que le produit d'intégration de combiné RX-42 est conforme aux dispositions de la Directive française suivante : 1999/5/CE. Une copie de la Déclaration de conformité est disponible sur :
www.novero.com/declaration_of_conformity
Le mot, la marque et les logos Bluetooth sont la propriété de Bluetooth SIG, Inc. et toute utilisation par Ford Motor Company est effectuée sous licence. Les autres marques de fabrique et noms de marque sont ceux de leurs propriétaires respectifs.
Homologations TYPES
iPod est une marque déposée de Apple Inc.
Homologations de TYPES

© 2008 NAVTEQ B. V. Tous droits réservés.
| AT | "© Bundesamt für Eich- und Vermessungswesen" |
| PL | "© EuroGeographics" |
| FR | "source: Géoroute® IGN France & BD Carto® IGN France" |
| DE | "Die Grundlagendaten wurden mit Genehmigung der zuständigen Behörden entnommen" |
| GB | "Based upon Crown Copyright material." |
| GR | "Copyright Geomatics Ltd." |
| IT | "La Banca Dati Italiana è stata prodotta usingo quale riferimento ante cartografia numerica ed al tratto prodotta e formita alla Regione Toscana." |
| NO | "Copyright © 2000; Norwegian Mapping Authority" |
| PT | "Source: IgeoE - Portugal" |
| ES | "Informatión geografía propietad del CNIG" |
| SE | "Based upon electronic data © National Land Survey Sweden." |
| CH | "Topografische Grundlage: © Bundesamt für Landestopographie" |
Homologations TYPES


Le logo SD est une marque déposée.

Avertissements

Radiation laser invisible. Ne pas regarder directement avec des instruments optiques (loupes).
Produit laser classe 1M.
Avertissements

IEC 60825-1:1993 + A2:2001.
Correspond aux normes de performance FDA pour les produits à l'exception de l'écart suite à la note N° 50 en date du 26 juillet 2001.
| Elément | Spécification |
| Puissance moyenne max. | 45mW |
| Durée d'impulsions | 33ns |
| Longueur d'onde | 905nm |
Déclaration UE
Par la présente, Valeo déclare que ce dispositif à courte portée est conforme aux principales exigences et autres dispositions pertinentes de la directive 1999/5/CE.
Certificat pour les Émirats arabes unis

E125209
ER-GEN-00-0002-24
Homologations de TYPES
Le logiciel de navigation est partiellement basé sur le travail de l'équipe FreeType © 2006
Homologations detypes
Le logiciel de navigation est partiellement basé sur le travail du groupe JPEG indépendant.
Avertissements

- Voiture vignicule a été testée et certifiée conforme aux législations relatives à la comptabilité électromagnétique (45/CEE, Règlement 10 ONU ECE ou autre législation locale applicable). Il ne vaits responsabilité de veiller à ce qui est casquet opération que vous avez monté. Il monte soit conforme à la législation de vigneur. Confiez le montage de opérations à des techniciens fiés.

N'installer que des équipements de transmission radiofréquence (ex : téléphone cellulaire, émetteur amateur, etc.) conformes aux normes figurant dans le tableau suivant. Leur installation ou utilisation est soumise à aucune disposition légale ou condition.
Avertissements

Ne pas monter
d'émetteur-récepteur, microphone, haut-parleur ou autre objet dans le cap de déploiement des airbags.

Ne pas fixer les câbles d'antenne sur le câblage d'origine du véhicule, les canalisations de carburant ou les
tuyaux de frein.
Avertissements

Garder les câbles d'antenne et d'alimentation à au moins 10 centimètres de tout module
électronique et airbag.
E85998
| Bande de fréquence (en MHz) | Puissance de sortie maximale en Watt (puissance RMS maximaile) | Positions d'antenne |
| 1 - 30 | 50 W | 3.4 |
| 30 - 54 | 50 W | 1.2.3 |
| 68 - 87,5 | 50 W | 1.2.3 |
| 142 - 176 | 50 W | 1.2.3 |
| 380 - 512 | 50 W | 1.2.3 |
| 806 - 940 | 10 W | 1.2.3 |
| Bande de fréquence (en MHz) | Puissance de sortie maximale en Watt (puissance RMS maximale) | Positions d'antenne |
| 1200 - 1400 | 10 W | 1.2.3 |
| 1710 - 1885 | 10 W | 1.2.3 |
| 1885 - 2025 | 10 W | 1.2.3 |
Note: Après la pose d'émetteurs radiofréquence, rechercher un éventuel parasitage par et sur l'équipement électrique du véhicule, dans les modes de réception et d'émission.
Contrôler la totalité de l'équipement électrique :
contact établi - moteur en marche - pendant un essai sur route à différentes vitesses.
Contrôler que les champs électromagnétiques générés dans l'habitacle du véhicule par l'émetteur installé ne dépassent pas les limites d'exposition humaine applicables.
SYNC® contrat de licence utilisateur final (CLUF)
- Vous avez fait l'acquisition d'un appareil (« APPAREIL ») qui comprend un logiciel acquis sous licence par FORD MOTOR COMPANY auprès d'une société affiliée à Microsoft Corporation (« MS »). Ces produits logiciels installés d'origine MS, ainsi que les supports associés, les documents imprimés, et les documentation « en
ligne » ou sous forme électronique (« LOGICIEL MS ») sont protégés par les lois et traités internationaux en matière de propriété intellectuelle. Le LOGICIEL MS est concédé sous licence, il n'est pas vendu. Tous droits réservés.
Le LOGICIEL MS peut s'interfacer et/ou communiquer avec, ou peu fournis par FORD MOTOR COMPANY. Les logiciels et systèmes supplémentaires d'origine FORD MOTOR COMPANY, ainsi que les supports associés, les documents imprimés, et les documentations « en ligne » ou sous forme électronique (« LOGICIEL FORD FORD n'est pas vendu, mais concédé sous licence. Tous droits réservés.
Le LOGICIEL MS et/ou le LOGICIEL FORD peuvent s'interfacer et/ou communiquer avec, ou peuven proposés par des fournisseurs de logiciel et de service tiers. Les logiciels et services supplémentaires d'origine tierce, ainsi que les supports associés, les documents imprimés et les documentations « en ligne » ou sous forme électronique (« LOGICIEL TIERS ») sont protégés par les lois et traités internationaux en matière de propriété intellectuelle. Le LOGICIEL TIERS n'est pas vendu, mais concédé sous licence. Tous droits réservés. Le LOGICIEL MS, le LOGICIEL FORD et les LOGICIELS TIERS sont ci-après dénommés collectivement et individuellement le « LOGICIEL »
CONCESSION DE LICENCE LOGICIELLE: Ce CLUF vous octroie la licence suivante:
- Vous pouvez utiliser le LOGICIEL tel qu'installé sur l'APPAREIL et tel qu'il s'interface avec des systèmes et/ou services fournis par ou par l'intermédiaire de FORD MOTOR COMPANY ou ses fournisseurs de logiciels et prestataires de services tiers.
Description des autres droits et limitations
Reconnaissance vocale : si le LOGICIEL comporte un ou plusieurs composant(s) de reconnaissance vocale, vous devez savoir que la reconnaissance vocale est un processus statistique par essence et que les erreurs de reconnaissance sont inhérentes à ce processus. Ni FORD MOTOR COMPANY, ni ses fournisseurs ne sauraient être tenus pour responsables de dommages quels qu'ils soient découlant d'erreurs survenues dans le cadre du processus de reconnaissance vocale. - Limitations relatives à l'ingénierie inverse, à la décompilation et au désassemblage : vous n'êtes pas autorisé à réaliser l'ingénierie inverse, à décompiler ou à désassembler, ou à permettre à quiconque de procéder à l'ingénierie inverse, de décompiler ou de désassembler le LOGICIEL, sauf si et seulement dans la mesure où une telle opération est expressément permise par la législation en vigueur, nonobstant la présente limitation. - Limitations relatives à la distribution, reproduction, modification et création d'œuvres dérivées : vous n'êtes pas autorisé à distribuer, reproduire, modifier le LOGICIEL ou créer des œuvres dérivées du LOGICIEL, sauf et seulement dans la mesure où une telle activité est expressément autorisée par la législation en vigueur, nonobstant la présente limitation. - CLUF unique : la documentation destinée à l'utilisateur final pour l'APPAREIL et les systèmes et services associés peut contenir plusieurs CLUF, et notamment des traductions et/ou des versions multiples (par exemple
Dans la documentation de l'utilisateur et dans le logiciel). Même si vous recevez plusieurs CLUF, la licence qui vous est octroyée vous autorise à utiliser seulement une (1) copie du LOGICIEL.
- Transfert du LOGICIEL: vous pouvez transférer définitivement les droits qui vous sont concédés par ce CLUF uniquement dans le cadre d'une vente ou d'un transfert de l'APPAREIL, à condition de n'en conserver aucune copie, de transférer la totalité du LOGICIEL (y compris tous ses composants, supports et documents imprimés, toutes ses mises à niveau et, le cas échéant, le(s) Certificat(s) d'authenticité), et que le bénéficiaire accepte de se conformer aux dispositions de ce CLUF. Si le LOGICIEL est une mise à niveau, toute transmission doit inclure la totalité des versions antérieures du LOGICIEL.
- Résiliation: sans porter atteinte à tout autre droit, FORD MOTOR COMPANY ou MS peut résilier le présent CLUF si vous n'en respectez pas les modalités.
- Mises à jour de sécurité/Gestion des droits numériques : les propriétaires du contenu utilisent la technologie de gestion de droits numériques Windows Media (WMDRM) présente sur votre APPAREIL pour protéger leur propriété intellectuelle, y compris le contenu protégé par des droits d'auteur. Certaines parties du LOGICIEL présente sur votre APPAREIL utilisent le logiciel WMDRM pour accéder au contenu protégé par WMDRM. Si le logiciel WMDRM ne parvient pas à protéger le contenu, les propriétaires du contenu peuvent demander à Microsoft de révoquer la capacité du logiciel à utiliser WMDRM pour lire ou copier le contenu protégé. La révocation
n'effetce pas le contenu non protégé. Lorsque vous téléchargez des licences pour du contenu protégé, vous consentez à ce que Microsoft puisse inclure une liste de revocation avec ces licences. Les propriétaires du contenu peuvent exiger que vous procédiez à une mise à niveau du LOGICIEL sur votre APPAREIL afin d'accéder à leur contenu. Si vous refusez une mise à niveau, vous ne pourrez pas accéder au contenu nécessitant cette mise à niveau.
Consentement à l'utilisation des données : vous accept s désignés puissent collecter et utiliser les informations techniques recueillies de chaque manière que ce soit dans le cadre des services d'assistance liés au LOGICIEL ou des services annexes. MS, Microsoft Corporation, FORD MOTOR COMPANY, les fournisseurs de logiciels et prestataires de services tiers, leurs sociétés associées et/ou leur mandataires désignés peuvent utiliser ces informations uniquement pour améliorer leurs produits ou pour vous fournir des services ou technologies personnalisés. MS, Microsoft Corporation, FORD MOTOR COMPANY, les fournisseurs de logiciels et prestataires de services tiers, leurs sociétés associées et/ou leur mandataires désignés peuvent divulguer ces informations à d'autres parties, mais pas sous une forme qui vous identifie personnellement.
Composants de services Internet: le LOGICIEL peut contenir des composants qui permettent et facilitent l'utilisation de certains services Internet. Vous reconnaissez et convenez que MS, Microsoft Corporation, FORD MOTOR COMPANY, les fournisseurs de logiciels et prestataires de services tiers, leurs sociétés associées et/ou leur mandataire désigné puissent contrôle automatique la version du LOGICIEL et/ou des composants que vous utilisez et puisent fournir des mises à niveau ou suppléments au LOGICIEL, télécharges automatique sur votre APPAREIL.
- Logiciels/Services complémentaires: le LOGICIEL peut permettre à FORD MOTOR COMPANY, aux fournisseurs de logiciels et prestataires de services tiers, à MS, à Microsoft Corporation, à leurs sociétés associées et / ou à leur mandataires désigné de vous fournir ou de mettre à votre disposition des mises à jour, suppléments, modules complémentaires ou composants de services Internet associés au LOGICIEL après la date à laquelle vous avez obtenu votre copie initiale du LOGICIEL ( « Composants Supplémentaires » ).
Si FORD MOTOR COMPANY ou des fournisseurs de logiciels et prestataires de services tiers n'accompagnent ces Composants Supplémentaires, les dispositions du présent CLUF s'appliquent.
Si MS, Microsoft Corporation, leurs sociétés associées et/ou leur mandataires désigné distinctes ne les accompagnent, les dispositions du présent CLUF s'appliquent, à ceci près que l'entreprise MS, Microsoft Corporation ou sa société associée fournissant le(s) Composant(s) supplémentaire(s) sera le concédant de licence du/des Composant(s) Supplémentaire(s).
FORD MOTOR COMPANY, s se réservent le droit, sans engager leur responsabilité, d'interrompre tout service Internet qui vous est fourni ou qui est mis à votre disposition par le biais de l'utilisation du LOGICIEL.
-Liens vers des sites tiers : le
LOGICIEL MS peut vous permettre de créer des liens vers des sites tiers par le biais de l'utilisation du LOGICIEL. Ces sites tiers ne sont pas sous le contrôle de MS, Microsoft Corporation, leurs sociétés associées et/ou leur mandataires désigné. Ni MS, ni Microsoft Corporation, leurs sociétés associées ou leur mandataires désigné ne sont responsables (i) du contenu de tout site tiers, de tout lien présent sur un site tiers, de toute modification ou mise à jour d'un site tiers, ou (ii) de la diffusion d'informations sur le Web ou de toute autre forme de transmission reçue de la part d'un site tiers quel qu'il soit. Si le LOGICIEL fournit des liens vers des sites tiers, ces liens vous sont fournis uniquement dans un souci de commodité, et l'inclusion d'un lien quel qu'il soit n'implique pas l'approbation d'un site tiers par MS, Microsoft Corporation, leurs sociétés associées et/ou leur mandataires désigné.
Obligation de conduite
responsable : vous reconnaissez vos obligations de conduire de façon responsable et de rester concentré sur la route. Vous devez l'APPAREIL, tout particulièrement en matière de sécurité, et assurez tout risque associé à l'utilisation de l'APPAREIL.
MISES à niveau et supports de
RECUPERATION: si le LOGICIEL est fourni par FORD MOTOR COMPANY séparément de l'APPAREIL sur un support tel qu'une puce ROM, un ou plusieurs disques CD ROM ou par le biais d'un téléchargement sur Internet ou de tout autre moyen, et qu'il est intitulé « A des fins de mise à niveau uniquement » ou « A des fins de restauration uniquement», vous pouvez installer une (1) copie de ce LOGICIEL sur l'APPAREIL en tant que copie de remplacement du LOGICIEL existant et l'utiliser conformément aux dispositions du present CLUF, y compris toute modalité complémentaire accompagnant le LOGICIEL de mise à niveau.
DROITS de propriété
INTELLECTUELLE: tous les titres et droits de propriété intellectuelle dans et sur le LOGICIEL (y compris, de manière non exhaustive, les images, photographies, animations, musiques, textes, « mini-applications » et tout élément vidéo ou sonore intégrés au LOGICIEL), les documents imprimés qui l'accompagnent et toute copie du LOGICIEL appartiennent à MS, Microsoft Corporation, FORD MOTOR COMPANY, ou leurs sociétés affiliées ou fournisseurs. Le LOGICIEL n'est pas vendu, mais concédé sous licence. Vous n'êtes pas autorisé à reproduire les documents imprimés accompagnant le LOGICIEL. Tous les titres et droits de propriété intellectuelle dans et sur le contenu accessible en utilisant le LOGICIEL sont la propriété du propriétaire du contenu et peuvent être protégés par des lois et traités régissant les droits d'auteur ou la propriété intellectuelle. Le présent CLUF ne vous concède aucun droit d'utiliser un tel contenu. Tous les droits n'étant pas spécifiquement concédés en vertu du présent CLUF sont réservés par MS, Microsoft Corporation, FORD MOTOR COMPANY, les fournisseurs de logiciels et prestataires de services tiers, leurs sociétés associées et/ou leur mandataire désigné. L'utilisation de services en ligne accessibles via le LOGICIEL peut être régie par des conditions d'utilisation propres à ces services. Si ce LOGICIEL contient une documentation fournie uniquement sous forme électronique, vous pouvez imprimer un exemplaire de cette documentation électronique.
RESTRICTIONS À L'EXPORT : vous reconnaissez que le LOGICIEL est assujetti à la législation sur les exportations en vigueur aux États-Unis et dans l'Union Européenne. Vous convenez de vous conformer à toutes les lois internationales et nationales en vigueur s'appliquant au LOGICIEL, y compris les « Export Administration Regulations » (réglementation en matière d'exportations en vigueur aux États-Unis), ainsi que les restrictions concernant les utilisateurs finaux, l'utilisation finale et la destination imposées par les gouvernements américain et étrangers. Pour obtenir de plus amples informations, rendez-vous sur http://www.microsoft.com/exporting/.
MARQUES DE FABRIQUE: le présent CLUF ne vous concède aucun droit sur les marques de fabrique ou de service de FORD MOTOR COMPANY, MS, Microsoft Corporation, des fournisseurs de logiciels ou prestataires de services tiers, leurs sociétés associées ou fournisseurs.
ASSISTANCE PRODUIT: l'assistance produit pour le LOGICIEL n'est pas fournie par MS, sa société mère Microsoft Corporation, leurs sociétés affiliées ou filiales. En ce qui concerne l'assistance produit, veuillez vous reporter aux instructions de FORD MOTOR COMPANY fournies dans la documentation relative à l'APPAREIL. Si vous avez des questions concernant le présent CLUF, ou si vous souhaitez contacter FORD MOTOR COOMPANY pour toute autre raison, veuillez utiliser l'adresse fournie dans la documentation relative à l'APPAREIL.
Absence de responsabilité pour certains dommages: EXCEPTE SI LA LOI L'INTERDIT, FORD MOTOR COMPANY, LES FOURNISSEURS DE LOGICIELS OU PRESTATAIRES DE SERVICES TIERS, MS, MICROSOFT CORPORATION ET LEURS SOCIETES AFFILIEES EXCLUENT TOUT RESPONSABILITE POUR TOUT DOMMAGE INDIRECT, SPECIAL, CONSECUTIF OU FORTUIT RESULTANT DE OU SURVENANT EN RELATION AVEC L'UTILISATION OULE FONCTIONNEMENT DU LOGICIEL. LA PRESENTE LIMITATION S'APPLIQUE MEME SI TOUT RECOURS MANQUE SON PRINCIPAL OBJECTIF. MS, MICROSOFT CORPORATION ET/OU LEURS SOCIETES AFFILIEES NE SAURAIENT EN AUCUN CAS ETRE REDEVELABLES DE TOUT MONTANT SUPERIEUR A DEUX CINQ CINQUANTE DOLLARS US (250,00 USD).
IL N'EXISTE AUCUNE AUTRE GARANTIE QUE CELLES EXPRESSEMENT FOURNIES POUR VOTRE NOUVEAU VEHICULE.
Ce système FORD SYNC™ contient un logiciel concédé sous licence au constructeur FORD MOTOR COMPANY par une société affiliée à Microsoft Corporation, en vertu d'un contrat de licence. Tout(e) retrait, reproduction, ingénierie inverse ou autre utilisation non autorisée du logiciel en violation du contrat de licence est strictement interdit(e) et passible d'une action en justice.
Veuillez lire et suivre les instructions suivantes : avant d'utiliser votre système Windows Automotive, veuillez lire et suivre toutes les instructions et informations sur la sécurité fournies dans le présent manuel de l'utilisateur final (« Guide de l'Utilisateur »). Le non-respect des précautions préconisées dans le présent Guide de l'Utilisateur peut causer un accident ou avoir d'autres conséquences graves.
Laissez le Guide de l'Utilisateur dans le véhicule ; le Guide de l'Utilisateur pourra ainsi être facilement consulté par vous et d'autres utilisateurs peu familiers du système Windows Automotive. Avant la première utilisation du système, veuillez vous assurer que tous les utilisateurs lisent attentivement les instructions et les informations sur la sécurité du Guide de l'Utilisateur.
Avertissement
L'utilisation de certaines fonctions de ce système pendant la conduite peut détourner votre attention de la route, et causer un accident ou avoir d'autres conséquences graves. Veuillez vous abstenir de modifier les paramètres du système ou de saisir des données non verbalement (manuellement) pendant la conduite. Ces opérations doivent être effectuées une fois le véhicule stoppé en toute sécurité, dans un endroit autorisé. Veuillez respecter cet avertissement car le réglage ou la modification de certaines fonctions peut en effet distraire votre attention de la route et vous obliger à lâcher le volant.
Fonctionnement général
Commandes vocales : les fonctions du système Windows Automotive peuvent être accomplies uniquement à l'aide de commandes vocales. L'utilisation des commandes vocales pendant la conduite vous permet de faire fonctionner le système sans lâcher le volant.
Visualisation prolongée de l'écran :
N'utilisez aucune fonction nécessitant une visualisation prolongée de l'écran pendant la conduite. Garez-vous en toute sécurité dans un endroit autorisé avant d'utiliser une fonction du système nécessitant une attention prolongée. Même de rapides coups d'œil à l'écran peuvent s'avérer dangereux si votre attention est distraite de la route à un moment critique.
Réglage du volume : n'augmentez pas le volume de manière excessive. Maintenez le volume à un niveau vous permettant d'entendre les bruits de la circulation et les signaux sonores d'urgence pendant la conduite. Le fait de conduire sans pouvoir entendre cessons peut occasionner un accident.
Utilisation des fonctions de
reconnaissance vocale : le logiciel de reconnaissance vocale est un processus statistique sujet aux erreurs. Il vous incombe de contrôler les fonctions de reconnaissance vocale du système et de corriger les erreurs eventuelles.
Fonctions d'aide à la navigation : les fonctions d'aide à la navigation du système sont conçues pour vous indiquer un itinéraire jusqu'à la destination souhaitée. Veuillez vous assurer que toutes les personnes utilisant ce système lisent attentivement et suivent rigoureusement les instructions et les informations sur la sécurité.
Risque de distraction : ces fonctions d'aide à la navigation peuvent nécessiter un réglage manuel (non verbal). Effectuer des opérations de réglage ou insérer des données pendant la conduite peut distraire votre attention, et causer un accident ou avoir d'autres conséquences graves. Ces opérations doivent être effectuées une fois le véhicule stoppé en toute sécurité, dans un endroit autorisé.
Fiez-vous à votre jugement : toute fonction d'aide à la navigation ne constitue qu'une assistance. Prenez vos décisions en fonction de vos observations des conditions locales et du code de la route applicable. Une telle fonction ne doit pas se substituer à votre propre jugement. Les itinéraires suggérés par le système ne doivent jamais prévaloir sur le code de la route, votre jugement personnel ou les règles de prudence en matière de conduite.
Sécurité routière: ne suivez pas les itinéraires proposés s'ils vous obligent à effectuer des manoeuvres illégales ou dangereuses, s'ils vous placent dans une situation dangereuse, ou s'ils vous dirigent vers un lieu que vous considérez dangereux. Le conducteur est seul responsable de la conduite de son véhicule en toute sécurité et, par conséquent, doit juger de la sécurité des itinéraires proposés.
Inexactitude potentielle des cartes : il se peut que les cartes utilisées par ce système soient inexactes en raison de modifications des routes, des contrôles de la circulation ou des conditions de conduite. Faites toujours appel à votre jugement et votre bon sens en suivant les itinéraires suggérés.
Services d'urgence: ne vous fiez pas aux fonctions d'aide à la navigation du système pour vous guider vers les services d'urgence. Renseignez-vous auprès des autorités locales ou des opérateurs de services d'urgence. La base de données cartographique des fonctions d'aide à la navigation ne contient pas forcément tous les services d'urgence tels que la police, les casernes de pompiers, les hôpitaux et les cliniques.
Contrat de licence utilisateur final (CLUF) du logiciel telenav
Veillez à lire attentivement les termes du présent contrat de licence avant d'utiliser le Logiciel Telenav. Notre utilisation du Logiciel Telenav vaut pour acceptation des termes du contrat de licence. Si vous n'acceptez pas ces termes, abstenez-vous de briser le sceau de l'emballage, de lancer ou d'utiliser le Logiciel Telenav.
Telenav peut modifier le présent Contrat et sa politique de confidentialité à tout moment, parfois sans vous en aviser. Vous convenez de consulter de temps à autre le site http://www.telenav.com pour prendre connaissance de la version la plus récente du présent Contrat et de la politique de confidentialité.
1. Utilisation sûre et légale
Vous reconnaissez que le fait de concentrer votre attention sur le Logiciel Telenav peut représenter un danger pour vous-même et les autres dans des situations nécessitant toute votre attention, et vous convenez par conséquent de vous conformer aux instructions suivantes lorsque vous utilisez le Logiciel Telenav : (a) respectez le code de la route et conduisez prudemment ; (b) exercez votre propre jugement en conduisant : si vous estimez qu’un itinéraire proposé par le Logiciel Telenav vous amène à effectuer une manœuvre dangereuse ou illégale, vous place dans une situation dangereuse ou vous dirige vers un endroit considéré comme peu sûr, ne suivez pas cet itinéraire ; (c) n’entrez pas une destination ou ne manipulez pas le Logiciel Telenav tant que votre véhicule n’est pas immobile et garé ; (d) n’utilisez pas le Logiciel Telenav à des fins illégales, non autorisées, autres que celles prévues ou dangereuses, ou d’une manière contraire au présent Contrat ; (e) disposez tous les appareils GPS et sans fil ainsi que les câbles nécessaires au fonctionnement du Logiciel Telenav de manière à ne pas gêner votre conduite ni empêcher le fonctionnement de tout dispositif de sécurité (tel qu’un airbag).
Vous convenez d'indemniser et de mettre hors de cause Telenav contre toute réclamation résultant de toute utilisation dangereuse ou inappropriée du Logiciel Telenav dans un véhicule en mouvement, et notamment de votre manquement à vous conformer aux instructions susmentionnées.
Vous convenez : (a) lors de l'enregistrement du Logiciel Telenav, de fournir à Telenav des informations exactes, précises, à jour et complètes vous concernant, et (b) d'informer rapidement Telenav de toute modification de ces informations, en veillant à ce qu'elles restent exactes, précises, à jour et complètes.
3. Licence du logiciel
Sous réserve de votre conformité avec les termes du présent Contrat, Telenav vous concède par la présente une licence personnelle, non exclusive et non transférable (sauf autorisation expressée ci-dessous, en cas de transfert permanent de la licence du Logiciel Telenav), sans droit de concéder une sous-licence, pour utiliser le Logiciel Telenav (uniquement sous la forme de code objet) afin d'accéder àudit Logiciel et de l'utiliser. La présente licence prendra fin à la résiliation ou à l'expiration du présent Contrat. Vous convenez d'utiliser le Logiciel Telenav uniquement pour vos loisirs ou besoins professionnels personnels, et non à des fins commerciales, en fournissant des services de navigation à des tiers.
3.1 Limitations de la licence
Vous convenez de vous abstenir de : (a) procéder à l'ingénierie inverse, décompiler, désassembler, traduire, modifier, ALTERER ou changer autrement le Logiciel Telenav ou toute partie de celui-ci ; (b) tenter d'extraire le code source, l'audiothèque ou la structure du Logiciel Telenav sans le consentement écrit préalable et exprès de Telenav ; (d) effacer ou ALTERER les marques de fabrique, noms de marques, logos, mentions de brevets ou de droits d'auteur ou autres mentions ou marquages de Telenav ou de ses fournisseurs sur le Logiciel Telenav ; (d) distribuer, concéder en sous-licence ou transférer le Logiciel Telenav à des tiers, excepté dans le cadre d'un transfert permanent du Logiciel Telenav ; (e) utiliser le Logiciel Telenav d'une manière qui (i) enfreint les droits de propriété intellectuelle, les droits de publicité, le droit à la vie privée ou d'autres droits de toute partie, (ii) violate n'importe quelle loi, ordonnance ou réglementation, y compris, de manière non exhaustive, les lois et réglementations en matière de spams, de confidentialité, de protection des consommateurs et de l'enfance, d'obscénité ou de diffamation, ou (iii) s'avère préjudiciable, menaçante, abusive, déductrice, diffamatoire, vulgaire, obscène, autrement contestable ou constitue du harcèlement ; et (f) louer ou permettre autrement à des tierces parties d'avoir accès au Logiciel Telenav sans l'autorisation écrite préalable de Telenav.
4. Exclusion de responsabilité
Dans la limite autorisée par la loi en vigueur, Telenav, ses concédants de licence et fournisseurs, ainsi que leurs agents ou employés respectifs, ne sauraient en aucun cas être responsables de toute décision prise ou action entreprise par vous ou quiconque sur la base des informations fournies par le Logiciel Telenav. Telenav ne garantit pas non plus l'exactitude des cartes ou autres données utilisées pour le Logiciel Telenav. De telles données ne reflètent pas toujours la réalité, en raison, notamment, de la fermeture de routes, de travaux, des conditions météorologiques, de la construction de nouvelles routes ou d'autres aléas. Vous assumez l'intégralité des risques résultant de votre utilisation du Logiciel Telenav. Par exemple, vous convenez de ne pas vous fier au Logiciel Telenav pour l'aide à la navigation dans des endroits où votre bien-être ou survie ou encore le bien-être ou la survie d'autres personnes dépend de l'exactitude de la navigation, étant donné que les cartes ou la fonctionnalité du Logiciel Telenav ne sont pas conçus pour des applications à haut risque, en particulier dans les zones géographiques les plus reculées.
TELENAV EXCLUT EXPRESSEMENT TOUTES LES GARANTIES LIEES AU LOGICIEL TELENAV, QU'ELLES SOIENT LEGALES, EXPRESSES OU IMPLICITES, Y COMPRIS TOUTES LES GARANTIES POUVANT RÉSULTER DE LA PRATIQUE OU DES USAGES COMMERCIAUX, PARMI LESQUELLES, DE MANIÈRE NON EXHAUSTIVE, LES GARANTIES IMPLICITES DE QUALITE MARCHANDE, D'ADEQUATION A UN USAGE PARTICULIER ET D'ABSENCE DE CONTREFACON DES DROITS DE TIERCES PARTIES EN RELATION AXEC LE LOGICIEL TELENAV. Certains juridictions n'autorisent pas l'exclusion de certaines garanties, si bien que la présente limitation peut ne pas s'avAILer à vous.
5. Limitation de responsabilité
DANS LA LIMITE AUTORISEE PAR LA LOI EN VIGUEUR, TELENAV, SES CONCEDANTS DE LICENCE ET FOURNISSEURS NE SAURAIENT EN AUCUN CAS ETRE RESPONSABLES ENVERS VOUS OU N'IMPORTE QUELLE TIERCE PARTIE POUR TOUT DOMMAGE INDIRECT, CONSECUTIF, SPECIAL OU EXEMPLAIRE (Y COMPRIS, DE MANIÈRE NON EXHAUSTIVE, LES DOMMAGES LIES A L'INCAPACITE D'UTILISER L'ÉQUIPEMENT OU D'ACCEDER AUX DONNEEES, LA PERTE DE DONNEEES, LA PERTE D'AFFAIRES, LE MANQUE A GAGNER, L'INTERRUPTION D'ACTIVITE OU AUTRE) RESULTANT DE L'IMPOSSIBILITE D'UTILISER LE LOGICIEL TELENAV, MEME SI TELENAV AVAIT ETE AVISE DE L'EVENTUALITE DE TELS DOMMAGES.
NONOBSTANT TOUT DOMMAGE QUE VOUS POURRIEZ SUBIR POUR QUELQUE RAISON QUE CE SOIT (Y COMPRIS, DE MANIÈRE NON EXHAUSTIVE, TOUS LES DOMMAGES MENTIONNES DANS LA PRESENTE ET TOUS LES DOMMAGES DIRECTS OU GENERAUX, A TITRE CONTRACTUEL, DELICTUEL (Y COMPRIS EN CAS DE NEGLIGENCE) OU AUTRE, LA RESPONSABILITE TOTALE DE TELENAV OU DE SES FOURNISSEURS SERA LIMITEE AU MONTANT EFFECTIVEMENT PAYE PAR VOUS POUR LE LOGICIÉL TELENAV. CERTAINS ETATS ET/OU JURIDictions N'AUTORISENT PAS L'EXCLUSION OU LA LIMITATION DES DOMMAGES FORTUITS OU CONSECUTIFS, DE SORTE QUE LES LIMITATIONS CI-DESSUS PEUVENT NE PAS S'APPLIQUE R À VOUS.
6. Arbitrage et droit applicable
Vous convenez que tout(e) litige, réclamation ou différend résultant du ou survenant en relation avec le présent Contrat ou le Logiciel Telenav sera réglé(e) par l'arbitrage indépendant d'un arbitre neutre, conformément aux règles de l'American Arbitration Association du comité de Santa Clara, Californie. L'arbitre appliquera les règles d'arbitrage commercial de l'American Arbitration Association, et sa sentence pourrait être appliquée par n'importe quel tribunal compétent. Aucun juge ou jury ne participe à la procédure d'arbitrage, et la décision de l'arbitre liera les deux parties. Vous renoncez expressément à votre droit à un procès devant un jury.
Le présent Contrat et son exécution seront régis par le, et interprétés conformément au, droit de l'État de Californie, sans tenir compte de ses dispositions relatives au conflit de lois. Dans la mesure où une action en justice serait requise en relation avec l'arbitrage, Telenav et vous-même convenez de vous soumettre à la compétence exclusive des tribunaux du comté de Santa Clara, Californie. La Convention des Nations Unies sur les contrats de vente internationale de marchandises ne s'appliquera pas.
7. Cession
Vous ne sauriez revendre, céder ou transférer le présent Contrat ni vos droits ou obligations, sauf en totalité dans le cadre d'un transfert permanent de la licence du Logiciel Telenav, et à la condition expresse que le nouvel utilisateur du Logiciel Telenav consente à être lié par les termes du présent Contrat. Tout(e) vente, cession ou transfert n'était pas expressément autorisé(e) en vertu du présent paragraphe entraînera la résiliation immédiate du présent Contrat, sans aucune responsabilité pour Telenav, auquel cas vous et toutes les autres parties devrez cesser immédiatement toute utilisation du Logiciel Telenav. Nonobstant ce qui précède, Telenav peut céder le présent Contrat à n'importe quelle autre partie sans notification, à condition que le cessionnaire reste lié par le présent Contrat.
8,1
Le présent Contrat constitue l'accord intégral entre Telenav et vous-même concernant l'objet de la présente.
8,2
À l'exception des licences limitées expressément concédées en vertu du présent Contrat, Telenav conserve tous les droits, titres de propriété et intérêts dans le Logiciel Telenav, y compris, de manière non exhaustive, tous les droits de propriété intellectuelle s'y rapportant. Les licences ou autres droits n'étaient pas expressément concédés dans le présent Contrat ne sauraient être concédés ni conférés de manière implicite, par la loi, par forclusion ou autre, et Telenav ainsi que ses fournisseurs et concédants de licence se réservent par la présente tous leurs droits respectifs, autres que les licences explicitement concédées dans le présent Contrat.
En utilisant le Logiciel Telenav, vous consentez à recevoir de Telenav toutes les communications, y compris les notifications, les contrats, les communications exigées par la loi ou d'autres informations liées au Logiciel Telenav (collectivement dénommés les « Notifications ») par voie électronique. Telenav peut vous adresser de telles Notifications en les publiant sur le site web de Telenav ou en les téléchargeant sur votre appareil sans fil. Si vous souhaitez ne plus recevoir de telles Notifications, vous devez cesser d'utiliser le Logiciel Telenav.
Le fait que Telenav ou vous-même manquiez d'exiger l'exécution de n'importe quelle disposition n'affectera pas le droit de cette partie d'exiger une telle exécution à tout moment par la suite, de même que toute renonciation en cas de rupture ou de violation du présent Contrat ne saurait constituer une renonciation en cas de rupture ou violation ultérieure ou une renonciation à la disposition violée.
Si une disposition de la présente est jugée inapplicable, une telle disposition sera modifiée de manière à refléter l'intention des parties, et les dispositions restantes du présent Contrat resteront pleinement effectives.
Les intitulés figurent dans le présent Contrat à titre indicatif uniquement, ne font pas partie du présent Contrat et ne sauraient affecter l'interprétation du présent Contrat. Utilisés dans le présent Contrat, les mots « incluent » et « y compris » et leurs variantes ne sauraient être limitatifs, mais seront considérés au contraire comme suivis par les termes « de manière non exhaustive »
9. Conditions générales de fournisseurs tiers
Le logiciel Telenav utilise des cartes et autres données concédées sous licence à Telenav par des fournisseurs tiers, pour votre bénéfice et celui d'autres utilisateurs finaux. Le présent contrat contient des termes applicables à ces sociétés (y compris à la fin du contrôle), et votre utilisation du logiciel Telenav est également assujettie à ces termes. Vous convenez de vous conformer aux termes supplémentaires suivants, applicables aux concédants de licences tiers de Telenav :
Contrat de licence utilisateur FINAL
Le contenu fourni (« Données ») n'est pas vendu, mais concédé sous licence. En ouvrant ce paquet, ou en installant, copiant ou utilisant les Données, vous convenez d'être lié par les termes du présent contrat. Si vous n'approvez pas les termes du présent Contrat, vous n'avez pas le droit d'installer, de copier, d'utiliser, de revendre ou de transférer les Données. Si vous refusez les termes du présent contrat, et n'avez ni installé, ni copié, ni utilisé les Données, vous devez contacter votre revendeur ou NAVTEQ North America, LLC (« NT ») dans les trente (30) jours suivant votre achat pour obtenir le remboursement du prix d'achat. Pour contacter NT, rendez-vous sur le site www.navteq.com.
Les Données sont fournies pour votre usage personnel uniquement et ne sauraient être revendues. Elles sont protégées par des droits d'auteur et couvertes par les termes suivants (le présent « Contrat de Licence Utilisateur Final »), qui sont acceptés par vous, d'une part, et par NAVTEQ North America LLC (« NT ») et ses concédants de licences (y compris leurs concédants de licences et fournisseurs) d'autre part.
Les Données concernant des régions du Canada contiennent des informations fournies avec l'autorisation des autorités canadiennes, y compris © Sa Majesté la Reine du chef du Canada, © l'Imprimeur de la Reine pour l'Ontario, © Canada Post Corporation (Société canadienne des postes), GeoBase®.
Nt détenant une licence non exclusive concédée par la Poste américaine (« United States Postal Service » ®) pour publier et vendre des informations sur le code postal + 4 chiffres (« ZIP+4 » ®).
© United States Postal Service © 2009. Les prix ne sont ni fixés, ni contrôlés ni approuvés par United States Postal Service ®. Les marques de fabrique suivantes sont la propriété de USPS : United States Postal Service, USPS et ZIP+4.
Les données concernant le Mexique contiennent certaines Données de l'Instituto Nacional de Estadística y Geografía.
Conditions generales
Restrictions d'utilisation : vous convenez que votre licence pour utiliser ces Données est limitée à une utilisation à des fins purement personnelles et non commerciales, et non de service bureau, de temps partagé ou d'autres fins similaires. Sauf indication contraire dans la présente, vous convenez de vous abstenir de reproduire, de copier, de modifier, de décompiler, de désassembler ou de procéder à l'ingénierie inverse de toute portion de ces Données, de les transférer ou diffuser de quelque manière que ce soit, à quelque fin que ce soit, excepté dans la limite autorisée par les lois en vigueur.
Restrictions de transfert : votre licence limitée ne vous autorise pas à transférer ou à revendre les Données, si ce n'est que vous pouvez transférer les Données et tout le matériel qui les accompagne de manière permanente si : (a) vous ne conservez aucune copie des Données ; (b) le récipiendaire approuve les termes du présent Contrat de Licence Utilisateur Final ; et (c) vous transférez les Données sous une forme rigoureusement identique à celle achetée en transférant physiquement le support d'origine (par exemple le CD-ROM ou le DVD que vous avez acheté), l'emballage d'origine, tous les Manuels et autres documents. En particulier, un ensemble de disquettes peut uniquement être transféré ou vendu sous la forme d'un jeu complet, tel qu'il vous a été fourni.
Restrictions supplémentaires de la licence : sauf autorisation spécifique accordée par NT dans un contrat écrit séparé, et sans limiter le précédent paragraphe, votre licence est conditionnée à une utilisation des Données strictement conforme au présent contrat, et vous ne sauriez (a) utiliser ces Données avec tout(e) produit, système ou application installé(e) ou autrement connecté(e) à, ou en communication avec, des véhicules équipés de fonctions d'aide à la navigation, de positionnement, de dispatching, de guidage routier en temps réel, de gestion de flotte ou d'applications similaires ; ou (b) avec des téléphones cellulaires, ordinateurs de poche, parsers, assistants numériques personnels ou PDA.
Avertissement

Ces Données peuvent contenir des informations inexactes ou incomplètes en raison du temps
écoulé, de l'évolution des circonstances, des sources utilisées et de la nature des données géographiques collectées, qui peuvent générer des résultats erronés.
Absence de garantie: ces Données vous sont fournies « en l'état » et vous convenez de les utiliser à vos propres risques. NT et ses concédants de licences (ainsi que leurs concédants de licences et fournisseurs) ne donnent aucune garantie et ne font aucune déclaration de chaque nature que ce soit, expresses ou implicites, légales ou autres, y compris, de manière non exhaustive, concernant le contenu, la qualité, l'exactitude, l'exhaustivité, l'efficacité, la fiabilité, l'adéquation à un usage particulier, l'utilité, l'utilisation ou les résultats de ces Données, le fonctionnement ininterrompu ou sans erreur des Données ou du serveur.
Exclusion de Garantie: NT ET SES CONCEDANTS DE LICENCES (AINSI QUE LEURS CONCEDANTS DE LICENCES ET FOURNISSEURS) EXCLUENT TOUTE GARANTIE, EXPRESSE OU IMPLICITE, DE QUALITE, DE PERFORMANCE, DE QUALITE MARCHANDE, D'ADEQUATION A UN USAGE PARTICULIER OU D'ABSENCE DE CONTREFACON. Certains états, territoires et pays n'autorisent pas certaines exclusions de garantie, de sorte que la présente exclusion peut ne pas s'appliquer à vous.
Exclusion de responsabilité: NT ET SES CONCEDANTS DE LICENCES (AINSI QUE LEURS CONCEDANTS DE LICENCES ET FOURNISSEURS) NE SAURAIENT ETRE RESPONSABLES ENVERS VOUS POUR Toute RECLAMATION, DEMANDE OU ACTION DE QUELQUE NATURE QUE CE SOIT FONDEE SUR TOUT(E) PREJUDICE, BLESSURE OU DOMMAGE, DIRECT(E) ou INDIRECT(E), POUVANT RESULTER DE L'UTILISATION OU DE LA POSSESSION DE CES DONNEES, OU POUR TOUT MANQUE A GAGNER, TOUTE PERTE DE CHIFFRE D'AFFAIREs, DE CONTRAT OU D'ECONOMIES, OU POUR TOUT AUTRE DOMMAGE DIRECT, INDIRECT, FORTUIT, SPECIAL OU CONSECUTIF RESULTANT DE VOTRE UTILISATION OU INCAPACITE A UTILISER CES DONNEES, DE TOUT DEFAULT DANS CES DONNEES, OU DE LA VIOLATION DES PRESENTS TERMES, QU'il S'AGISSE D'UNE ACTION A TITRE CONTRACTUEL OU DELICTUEL OU AU TITRE DE LA GARANTIE, MEME SI NT OU SES CONCEDANTS ETAIENT AVISES DE LA POSSIBILITE DE TELS DOMMAGES. Certains états, territoroes et pays n'autorisent pas certaines exclusions de responsabilité ou limitations des dommages, de sorte que le paragraphe ci-dessus peut ne pas s'appliquer à vous.
Contrôle des exportations : vous convenez de n'exporter aucune partie des Données ni aucun produit directement issu de celles-ci, excepté conformément aux, et avec toutes les autorisations et approbations requises par les lois, régles et réglementations sur les exportations en vigueur, y compris, de manière non exhaustive, les lois, régles et réglementations appliquées par l'Office of Foreign Assets Control du Ministère du Commerce américain, ainsi que par le Bureau of Industry and Security du Ministère du Commerce américain. Dans la mesure où ces lois, régles ou réglementations sur les exportations interdisent à NT d'exécuter ses obligations de fourniture ou de diffusion des Données en vertu de la présente, un tel manquement sera excusé et ne constituera pas une rupture du présent Contrat.
Accord intégral : les présents termes constituent l'accord intégral entre NT (et ses concédants de licences, ainsi que leurs concédants de licences et fournisseurs) et vous-même concernant l'objet de la présente, et annulent et remplacent dans leur intégralité tous les accords écrits ou oraux antérieurs existants concernant l'objet de la présente.
Dissociabilité : si vous-même et NT convenez qu'une partie du présent contrat est illégale ou inapplicable, cette partie sera dissociée et le reste du contrat restera pleinement effectif.
Droit applicable : les termes ci-dessus seront régis par les lois de l'État d'Illinois, sans tenir compte (i) de leurs dispositions relatives au conflit de lois, ni (ii) de la Convention des Nations Unies pour les contrats de vente internationale de marchandises, qui est expressément exclue. Vous convenez de vous soumettre à la juridiction de l'État d'Illinois pour tout(e) litige, réclamation et action résultant des, ou survenant en relation avec les, Données vous étant fournies en vertu de la présente.
Utilisateurs finaux gouvernementaux:
Si les Données sont acquises par ou au nom du gouvernement des États-Unis ou de toute autre entité faisant valoir ou exerçant des droits similaires à ceux habituellement revendiqués par le gouvernement des États-Unis, ces Données sont un « article commercial » tel que ce terme est défini dans la Loi 48 C. F. R. (« FAR », réglementation des acquisitions fédérales) 2.101, sont concédées sous licence conformément au présent Contrat de Licence Utilisateur Final, et chaque copie des Données fournies portera la mention « Notice d'Utilisation » suivante, et sera traitée conformément à une telle Notice :
NOTICE d'utilisation
FABRICANT/FOURNISSEUR
NOM:
FABRICANT/FOURNISSEUR
ADRESSE:
Ces Données sont un article commercial tel que défini dans FAR 2.101.
et sont couvertes par le Contrat de Licence Utilisateur Final (CLUF) régissant
la fourniture de ces Données.
© 2011 NAVTEQ. Tous droits réservés.
Si le fonctionnaire, l'agence du gouvernement fédéral ou n'importe quel employé fédéral signataire de la présente refuse d'utiliser la légende fournie dans la présente, il/elle doit le notification à NAVTEQ avant de revendiquer des droits supplémentaires ou alternatifs dans les Données.
Données sur les points d'accès Wi-Fi fournies par JiWire, © 2013 JiWire.
Droits d'auteur gracenote®
Données CD et musicales de Gracenote Inc., droits d'auteur© 2000-2007 Gracenote. Logiciel Gracenote, droits d'auteur © 2000-2007 Gracenote. Ce produit et service peut être couvert par un ou plusieurs brevets américains parmi les suivants: Brevets #5,987,525, #6,061,680, #6,154,773, #6,161,132, #6,230,192, #6,230,207, #6,240,459, #6,330,593 et autres brevets délivrés ou en attente. Certain services sont fournis sous licence par Open Globe Inc. pour les États-Unis. Brevet: #6,304,523.
Gracenote et CDDB sont des marques de fabrique déposées de Gracenote. Le logo et logotype Gracenote, ainsi que le logo « Powered by Gracenote™ » sont des marques de fabrique de Gracenote.
Contrat de licence utilisateur final (CLUF) gracenote®
Cet appareil contient un logiciel de Gracenote Inc., 2000 Powell Street Emeryville, Californie 94608 (« Gracenote »).
Le logiciel de Gracenote (le « Logiciel Gracenote ») permet à cet appareil d'identifier les fichiers musicaux et d'obtenir des informations telles que le nom du morceau, de l'artiste et de l'album (« Données Gracenote ») depuis des serveurs en ligne (« Serveurs Gracenote »), et d'accomplir d'autres fonctions. Vous pouvez utiliser les Données Gracenote uniquement à l'aide des fonctions Utilisateur Final de cet appareil.
Cet appareil peut détenir du contenu appartenant aux fournisseurs de Gracenote. Si tel est le cas, toutes les restrictions stipulées dans la présente concernant les Données Gracenote s'appliqueront également à un tel contenu, et les fournisseurs de ce contenu auront droit à tous les avantages et protections dont dispose Gracenote en vertu de la présente.
Vous convenez d'utiliser le contenu de Gracenote ( « Contenu Gracenote » ), les Données Gracenote, le Logiciel Gracenote et les Serveurs Gracenote uniquement pour votre propre usage personnel et non commercial. Vous convenez de ne pas céder, copier, transférer ou transmettre le Contenu Gracenote, le Logiciel Grace ou les Données Gracenote (excepté dans un Tag associé à un fichier musical) à une tienne partie qu'elle soit. VOUS CONVEZÉ DE NE PAS UTILISER OU EXPLOITER LE CONTENU GRACENOTE, LES DONNÉES GRACENOTE, LE LOGICIEL GRACENOTE OU LES SERVEURS GRACENOTE SAUF AutorISATION EXPRESSE EN VERTU DE LA PRESENTE.
Vous convenez que vos licences non exclusives pour utiliser le Contenu Gracenote, les Données Gracenote, le Logiciel Gracenote et les Serveurs Gracenote seront résiliées si vous outrepassez ces restrictions. Si vos licences sont résiliées, vous convenez de cesser toute utilisation du Contenu Gracenote, des Données Gracenote, du Logiciel Gracenote et des Serveurs Gracenote. Gracenote se réserve tous les droits dans les Données Gracenote, le Logiciel Gracenote, les Serveurs Gracenote et le Contenu Gracenote, y compris tous les droits de propriété. Gracenote ne saurait en aucun cas vous être redevable de quelque paiement que ce soit pour toute information fournie par vous, y compris tout matériel ou toute information sur les fichiers musicaux protégé(e) par des droits d'auteur. Vous convenez que Gracenoue peut vous opposer ses droits, collectivement ou séparément, directement au nom de chaque société, en vertu du présent Contrat.
Gracenote utilise un identifiant unique pour suivre les demandes d'information, à des fins statistiques. Cet identifiant numérique attribué de manière aléatoire a pour objectif de permettre à Gracenote de comptabiliser les demandes tout en ignorant votre identité. Pour obtenir de plus amples informations, consultez la Politique de Confidentialité de Gracenote à l'adresse www.gracenote.com.
LE LOGICIEL GRACENOTE, CHAQUE DONNEE GRACENOTE ET LE CONTENU GRACENOTE SONT CONCEDES SOUS LICENCE « EN L'ETAT ». GRACENOTE NE FAIT AUCUNE DECLARATION ET NE DONNDE AUCUNE GARANTIE, EXPRESSE OU IMPLICITE, CONCERNANT L'EXACTITUDE DE Toute DONNEE GRACENOTE EMANANT DES SERVEURS GRACENOTE OU DU CONTENU GRACENOTE. GRACENOTE SE RESERVE LE DROIT, COLLECTIVEMENT ET SEPAREMENT, DE SUPPRIMER LES DONNEEES ET/OU LE CONTENU DES SERVEURS RESPECTIFS DES SOCIENTES OU, DANS LE CAS DE GRACENOTE, DE MODIFIER LES CATEGORIES DE DONNEEES SI GRACENOTE LE Juge NECSSAIRE. RIEN NE GARANTIT QUE LE CONTENU GRACENOTE, LE LOGICIEL GRACENOTE OU LES SERVEURS GRACENOTE sont DEPOURVUS D'ERREUR OU QUE LE FONCTIONNEMENT DU LOGICIEL GRACENOTE OU DES SERVEURS GRACENOTE SERA ININTERROMPU. GRACENOTE N'A PAS L'OBLIGATION DE VOUS FOURNIR DES DONNEES AMELIOREES OU SUPPLEMENTaires QUE GRACENOTE POURRAIT DECIDER DE FOURNIR A L'AVENIR, ET GRACENOTE EST LIBRE D'INTERROMPRE SES SERVICES EN LIGNE A TOUT MOMENT. GRACENOTE EXCLUT TOUTES LES GARANTIES EXPRESSES OU IMPLICITES, Y COMPRIS, DE MANIÈRE NON EXHAUSTIVE, LES GARANTIES IMPLICITES DE QUALITE MARCHANDE, D'ADEQUATION A UN USAGE PARTICULIER, DE TITRE DE PROPRIETE OU D'ABSENCE DE CONTREFACON. GRACENOTE NE GARANTIT PAS LES RESULTATS QUI SERONT OBTENUS A LA SUITE DE VOTRE UTILISATION DU LOGICIEL GRACENOTE OU DES SERVEURS GRACENOTE. GRACENOTE
NE SAURAIT EN AUCUN CAS ETRE RESPONSABLE DES DOMMAGES CONSECUTIFS OU FORTUITS NI DE TOUT(E) MANQUE A GAGNER OU PERTE DE CHIFFRE D'AFFAIES, QUELLE QU'EN SOIT LA CAUSE.
© Gracenote 2007.
ID FCC: KMHSYNCG2
IC:1422A-SYNCG2
Cet appareil est conforme à la Partie 15 des Règles FCC et RSS-210 d'Industry Canada. Son fonctionnement est assujetti aux deux conditions suivantes : (1) il ne doit causer aucune interférence nuisible, et (2) cet appareil doit accepter toute interférence, y compris celle pouvant affecter son bon fonctionnement.
Avertissement

Les modifications ou changements n’étant pas expressément approuvés par la partie responsable de l’autorité peuvent annuler l’autorisation utilisateur de se servir de l’équipement. Comme « IC » précédant le numéro de circulation radio signifie uniquement l’autorité aux spécifications techniques du U. S. Country Canada.
L'antenne utilisée pour ce transmetteur ne doit pas être située à côté de, ou utilisée conjointement avec, une autre antenne ou un autre transmetteur.
Voir : Contrat de licence d'utilisateur
final. 109
Voir : Freins. 153
Accessoires
Voir : Recommandations pour les pièces de
rechange 11
Voir : Régulateur de vitesse adaptatif
(ACC) 171
Voir : Utilisation du régulateur de vitesse
adaptatif. 173
Active City Stop. 189
Principes de fonctionnement. 189
Principes de fonctionnement. 166
Affichages d'informations. 88
Généralités. 88
Affichages d'itinéraires. 329
Affichage de la carte. 329
Affichage de navigation. 329
Zoom carrefour 329
Aide au démarrage en côte............157
Principes de fonctionnement. 157
Aide au maintien de trajectoire. 184
Principes de fonctionnement. 184
Alarme. 45
Principes de fonctionnement. 45
Allumage automatique des phares.....56
Allume-cigares. 129
Panneaux de signalisation. 187
Activer et désactiver le système. 187
Affichage du système. 188
Réglage de l'arrêtissement de vitesse du
systeme. 187
EcoBoost SCTi (MI4) 190
Activer et désactiver le système............190
Activer et désactiver le système............190
Trajectoire. 185
Activer et désactiver le système............185
Avertissements du système. 185
Antibrouillard.58
Appendices 367
Pour activer Ford SOS : 351
Appuis-têtes. 122
Dépose des appuie-têtes. 123
Réglage de l'appui-tête. 122
Protection de l'environnement. 9
Armement de l'alarme. 46
Armement du système d'immobilisation du moteur. 44
Arrêt de la lecture de disque
compact. 283
Assistance de lancement en côte (HLA)
Voir : Utilisation de l'aide au démarrage en côte. 157
Avance/retour rapide. 281
Avertissement de démarrage sur
voie. 181
Principes de fonctionnement. 181
Avertissement du conducteur............179
Principes de fonctionnement. 179
Balayage des plages d'un disque
compact. 282
Type 1. 282
Types 2 et 3. 282
Barres de toit longitudinales et
transversales. 195
Galerie de toit. 195
Montage des traverses. 195
Batterie du véhicule. 239
Boîte de vitesses manuelle. 149
Engagement de la marche arrière.149
Boîte de vitesses
Voir : Transmission. 149
Bouclage des ceintures de sécurité....30
Boule de remorquage. 201 Conduite avec une remorque. 203 Conduite sans remorque. 204 Dépose de la boule de remorquage......203 Déverrouillage du mécanisme de boule de remorquage. 202 Entretien 204 Mise en place de la boule de remorquage. 202 Boule de remorquage rétractable 198 Anomalies. 200 Conduite avec une remorque. 201 Déverrouillage du bras de boule de remorquage. 199 Entretien. 201 Pivotement du bras de boule de remorquage vers l'extérieur. 200 Pivotement du bras de boule de remorquage vers l'intérieur. 200 Bouton de gamme d'ondes. 276 Bouton de réglage du son. 276 Branchement d'un dispositif externe. 309 Connexion. 309 Branchement d'un dispositif externe - Véhicules avec: Bluetooth............310 Branchement d'un dispositif audio Bluetooth. 310 Bref aperçu. 12 Aperçu de l'intérieur du véhicule. 13 Aperçu extérieur arrière. 18 Aperçu extérieur avant. 12 Vue d'ensemble du combiné des instruments. 14 Buses d'aération Voir: Ouiës d'aération. 109
Câbles d'appoint
Voir : Démarrage du véhicule à l'aide de câbles volants. 239
Caméra de recul 163 Activation de la caméra de rétrovision. 163 Désactivation de la caméra de rétrovision. 165 Utilisation de l'affichage. 164 Véhicules avec système d'aide au stationnement. 165 Caméra de rétrovision 163 Principes de fonctionnement. 163 Carburant et ravitaillement. 142 Spécifications techniques. 146 Ceintures de sécurité Voir : Bouclage des ceintures de sécurité....30 Chaînes à neige Voir: Utilisation de chaînes à neige................................252 Voir: Utilisation de chaînes à neige - 2.0L EcoBoost SCTI (MI4)................................252 Changement de la protection de bord de porte. 43 Chargement des données de navigation. 321 Chargement des données d'aide à la navigation. 321 Chargement du véhicule. 191 Généralités. 191 Chauffage auxiliaire à flamme Voir : Chauffage auxiliaire............118 Chauffage auxiliaire. 118 Chauffage à combustible (selon le pays). 120 Chauffage auxiliaire diesel (selon le pays) 120 Chauffage de stationnement..118 Chauffage Voir: Contrat de licence d'utilisateur final. 109 Chauffe-bloc moteur............371 SYNC® Contrat de licence utilisateur final (CLUF)............371 Clés codées. 44 Clés et télécommandes. 33 Clignotants. 60
Climatisation automatique. 112
Dégivrage et désembuage du pare-brise. 114
Distribution de l'air. 114
Mise à l'arrêt de la climatisation automatique. 115
Mise en marche et à l'arrêt de la climatisation. 114
Mode mono. 113
Pour désactiver le mode mono. 113
Pour réactiver le mode mono. 113
Refroidissement rapide de l'habitacle.....114
Réglage de la température. 113
Soufflerie. 114
Ventilation en circuit fermé. 115
Climatisation
Voir : Contrat de licence d'utilisateur final. 109
Climatisation manuelle. 110
Air conditionné. 111
Chauffage rapide de l'habitacle. 111
Commande de distribution d'air. 110
Soufflerie. 111
Ventilation. 111
Ventilation en circuit fermé. 111
Code antivol : 275
Combiné des instruments. 80
Commande automatique de volume 279
Commande de feu des routes automatiques. 56
Activation du système. 57
Commande manuelle du système............58
Réglage de la sensibilité du système......58
Commande de marche/arrêt. 276
Commande de mémorisation automatique. 277
Commande de recherche des stations. 276
Continuité DAB. 276
Recherche automatique. 276
Recherche manuelle. 276
Réglage par balayage 277
Commandes informations routières 278
Activation des bulletins d'informations routières. 278
Pour permettre fin à la diffusion des informations routières. 278
Volume des bulletins d'informations routières. 278
Commandes audio. 48
Type 1. 48
Type 2. 49
Commandes d'éclairage. 55
Appel de phares. 55
Eclairage d'accompagnement. 56
Feux de route et feux de croisement.55
Feux de stationnement. 55
Positions de la commande d'éclairage. 55
Commandes de chauffage, ventilation et climatisation. 305
Climatisation. 305
Commandes de téléphone 288
Créer un répertoire. 303
Fonctions du téléphone. 301
Réglages principaux. 304
Télécommande. 288
Telephone 300
Commandes d'autoradio. 292
Appareils externes - iPod. 298
Appareils externes - USB. 297
Autoradio. 293
Entrée auxiliaire. 297
Lecteur de CD. 292
Commande vocale. 49
Principes de fonctionnement. 291
Commutateur d'allumage. 132
Compatibilité électromagnétique....369
Conduite sur route inondée. 205
Conduire dans l'eau. 205
Conditions requises pour une connexion Bluetooth. 286
Gestion des téléphones. 286
Configuration du téléphone. 287
Catégories de répertoire. 287
Connexion par liaison bonding d'un autre téléphone Bluetooth............287
Pour rendre actif un téléphone. 287
Répertoire. 287
Connectivité 308
Généralités 308
Connexion d'un iPod
Voir : Branchement d'un dispositif externe. 309
Voir : Branchement d'un dispositif externe - Véhicules avec : Bluetooth.310
Connexion d'un lecteur MP3
Voir : Branchement d'un dispositif externe. 309
Voir: Branchement d'un dispositif externe - Véhicules avec: Bluetooth............310
Conseils de conduite ABS
Voir : Interrupteur de coupure d'alimentation. 153
Conseils pour la conduite. 205
Consommation de carburant. 146
Consommation de carburant
Voir : Spécifications techniques. 146
Contacteur de démarrage
Voir : Commutateur d'allumage. 132
Contrat de licence d'utilisateur final. 109
Principes de fonctionnement. 109
Contrôle d'huile
Voir : Contrôle de l'huile moteur. 231
Contrôle de l'huile moteur. 231
Contrôle du niveau d'huile. 231
Faire l'appoint. 232
Contrôle du liquide de freins et d'embrayage. 233
Contrôle du liquide de refroidissement
Voir : Contrôle du liquide de refroidissement. 232
Contrôle des balais d'essuie-glaces....53
Contrôle du liquide de refroidissement. 232
Contrôle du niveau de liquide de refroidissement. 232
Faire l'appoint. 232
Contrôle du liquide lave-glace. 233
Contrôleur d'angle mort 76
Activation et désactivation du système. 78
Détection et alertes du système. 77
Erreurs de détection. 78
Système d'information sur l'angle mort (BLIS). 76
Utilisation du système. 77
Convertisseur catalytique. 143
Conduite avec convertisseur catalytique. 143
Couvre-bagages. 191
3 portes et 5 portes. 192
Clipper. 192
Démarrage-arrêt. 139
Principes de fonctionnement. 139
Démarrage assisté
Voir : Démarrage du véhicule à l'aide de câbles volants. 239
Démarrage d'un moteur à essence.....133
Moteur froid ou chaud. 133
Moteur noyé. 133
Régime de l'engin du moteur après le démarrage. 134
Démarrage d'un moteur à essence - Flexible Fuel. 134
Démarrage à basse température ambiante. 134
Démarrage d'un moteur diesel.135
Moteur froid ou chaud. 135
Démarrage du véhicule à l'aide de câbles volants. 239
Démarrage du moteur. 240
Principes de fonctionnement. 159
Raccordement des câbles de démarrage. 239
Démarrage et arrêt du moteur............132
Généralités. 132
Démarrage rapide de la navigation......322
Véhicules avec système d'aide à la navigation CD-SD ou système d'aide à la navigation Sony CD-SD. 323
Véhicules avec système d'aide à la navigation embarqué. 322
Démarrage sans clé. 135
Arrêter le moteur lorsque le véhicule est à l'arrêt. 137
Arrêter le moteur lorsque le véhicule se déplace. 137
Contact établi. 136
Démarrage avec une boîte de vitesses manuelle. 136
Démarrage avec une transmission automatique. 136
Démarrage d'un moteur diesel. 136
Démarrage impossible. 136
Dépannage 217
Dépistage des pannes audio. 285
Dépose d'un phare. 63
Désactivation du coussin gonflable passager. 32
Activation de l'airbag passager. 32
Désactivation de l'airbag passager............32
Pose d'un commutateur de désactivation de l'airbag passager. 32
Désarmement de l'alarme. 46
Véhicules avec entrée sans clé. 47
Véhicules sans entrée sans clé. 46
Désarmement du système d'immobilisation du moteur. 44
Diagnostic de SYNC® 359
Diffusions de nouvelles. 279
Dispositifs d'aide au stationnement. 206
DPF Voir : Filtre à particules diesel. 137
Eclairage. 55
Éclairage intérieur. 61
Éclairage ambiant. 62
Éclairage intérieur. 61
Emplacement des boîtes à fusibles. 207
Boîte à fusibles - compartiment de chargement. 207
Boîte à fusibles de l'habitacle. 207
Boîte à fusibles du compartiment moteur. 207
Entrée sans clé. 38
Clé passive. 39
Clés déactivées. 40
Déverrouillage du véhicule. 39
Informations d'ordre général. 38
Verrouillage du véhicule. 39
Verrouillage et déverrouillage des portes avec la lame de la clé. 40
Entretien des pneus. 251
Entretien. 219
Généralités 219
Spécifications techniques. 234
Essuie-lave-glaces Voir: Essuie-glaces/lave-glaces.50
Essuie-glace à activation automatique. 50
Système de balayage automatique......50
Essuie-glaces et lave-glaces de lunette arrière. 52
Balayage en marche arrière. 52
Balayage intermittent. 52
Lave-glace de lunette arrière. 52
Feux arrière de brouillard. 59
Feux de brouillard - arrière Voir : Feux arrêté de brouillard............59
Feux de détresse. 60
Filets à bagages. 192
Filtre d'espace de chargement. 193
Filet de retenue des bagages. 192
Filtre à particules diesel. 137
Régénération 137
Fonction de coupure d'alimentation Voir : Antibrouillards............58
Fonction Forward alert (alerte de ralentissement du trafic). 175
Activer et désactiver le système. 176
Réglage de la sensibilité des avertissements. 176
Fonctionnement de l'autoradio. 276
Fonctions de comportement. 129
Fonction TMC. 331
Principes de fonctionnement 331
Frein de stationnement. 153
Frein de stationnement
Voir : Frein de stationnement. 153
Freins. 153
Principes de fonctionnement. 153
Fréquences de substitution. 279
Fusibles. 207
Glossaire des symboles. 9
Grille de séparation pour chien. 193
Pose derrière les sièges arrêtée. 194
Pose derrière les sièges avant. 194
HLA
Voir : Aide au démarrage en cote. 157
HLA
Voir : Utilisation de l'aide au démarrage en côte 157
Homologations de types. 367
Capteur laser 368
Certificat pour les Émirats Arabes Unis. 369
RX-42 - Déclaration de conformité. 367
Identification du véhicule. 259
Informations générales sur les fréquences radio. 33
Informations importantes concernant le système audio. 266
Étiquettes de disque. 266
Étiquettes des autoradios. 266
Instruments. 80
Jauge de carburant. 83
Jauge de température d'huile. 82
Manomètre de contrôle de pression de turbocompresseur. 82
Manomètre d'huile 82
Thermomètre de température d'eau......82
Interrupteur de coupure d'alimentation. 153
Introduction à la navigation 314 Généralités 314
Introduction au système audio. 266
Introduction. 9
iPod Voir : Utilisation d'un iPod 312
Jantes et pneus. 242
Généralités 242
Spécifications techniques. 254
Jauge de niveau d'huile moteur - 1.0L EcoBoost. 230
Jauge de niveau d'huile moteur - 1.6L Duratec-16V (Sigma) 230
Jauge de niveau d'huile moteur - 1.6L Duratorq-TDCi (DV) Diesel/2.0L Duratorq-TDCi (DW) Diesel............231
Jauge de niveau d'huile moteur - 1.6L EcoBoost SCTi (Sigma).230
Jauge de niveau d'huile moteur - 2.0L Duratec-HE (MI4).....231
Jauge de niveau d'huile moteur - 2.0L EcoBoost SCTi (MI4).230
Kit de mobilité temporaire 247
Contrôle de la pression de gonflage......250
Gonflage du pneu. 248
Informations d'ordre général. 247
Utilisation du kit de réparation de pneu. 248
Kit de réparation de pneu Voir : Kit de mobilité temporaire 247
Lavage de l'extérieur du véhicule
Voir : Nettoyage de l'extérieur. 237
Voir : Nettoyage de l'extérieur. 237
Lave-glaces du pare-brise. 51
Lave-phares. 52
Lecteur de disque compact. 281
Lecture aléatoire. 281
Type 1. 281
Types 2 et 3. 281
Lecture de disque compact. 281
Lecture de fichiers MP3............282
Lecture d'un disque Multi session. 283
Lève-vitres électriques. 73
Commutateur de sécurité des vitres arrière. 73
Commutateurs de porte conducteur......73
Ouverture et fermeture automatique des vitres. 73
Ouverture et fermeture globales. 73
Réinitialisation de la mémoire des lève-vitres électriques. 74
Limiteur de vitesse. 177
Principes de fonctionnement. 177
Menu des options d'itinéraire. 328
Autoroute 328
Conduite : 328
Dynamique 328
Ferry. 329
Itinéraire. 328
Péage 329
Réglages Éco. 328
Routes saïgon 329
Vignette. 329
Menu de l'autoradio. 279
Messages d'information. 96
Aide au maintien de trajectoire. 101
Aide au stationnement. 103
Airbags. 97
Alarme. 97
Alarme conducteur. 100
Assistance au démarrage en côte. 100
Batterie et circuit de charge. 98
Boîte de vitesses. 106
Climatisation. 99
Commande de feux de route automatique. 97
Contrôle dynamique de stabilité (ESP). 104
Démarrage-arrêt. 106
Démarrage du moteur. 105
Direction assistée. 104
Dispositif antivol de moteur. 100
Eclairage. 102
Entretien. 103
Frein de stationnement. 104
Indicateur de message. 96
Portes ouvertes. 99
Protection des occupants. 103
Régulateur de vitesse et régulateur de vitesse adaptatif (ACC) 99
Sécurité infantile. 98
Surveillance des angles morts. 98
Système d'ouverture sans clé............101
Système de contrôle de la pression de gonflage des pneus. 108
Mise à l'arrêt du moteur. 138
Véhicules avec turbocompresseur. 138
Mises à jour de la cartographie. 332
Mode Eco. 141
Principes de fonctionnement. 141
Mode régional 280
Montre de bord. 129
Nettoyage de l'extérieur. 237 Nettoyage de la lunette arrière. 237 Nettoyage des garnitures chromées. 237 Nettoyage des phares. 237 Nettoyage des roues en alliage. 237 Protection de la peinture de la carrosserie. 238 Nettoyage de l'intérieur. 238 Ceintures de sécurité. 238 Écrans de combiné des instruments, écrans à affichage à cristaux liquides (LCD) et écrans radio. 238 Lunette arrière. 238 Nettoyage du véhicule. 237 Numéro de châssis du véhicule. 260
Options d'affichage MP3. 283 Options d'affichage du texte de CD. 283 Ordinateur de bord Voir: Affichages d'informations. 88 Ordinateur de bord. 95 Autonomie. 95 Consommation momentanée. 95 Consommation moyenne. 95 Réinitialisation de l'ordinateur de bord. 95 Température extérieure. 95 Totalisateur. 95 Totalisateur journalier. 95 Vitesse moyenne. 95 Ouies d'aération 109 Buse d'aération latérale. 110 Buses d'aération centrales. 109 Ouverture et fermeture du capot. 220 Fermeture du capot. 220 Ouverture du capot moteur. 220 Ouverture et fermeture globales. 41 Fermeture générale. 41 Ouverture générale 41
Phares de virage. 61
Pile de télécommande Voir: Remplacement de la pile de la télécommande. 33 Plaque d'identification du véhicule. 259 Pneus hiver Voir : Utilisation de pneus hiver. 252 Pneus Voir: Jantes et pneus. 242 Points d'ancrage des bagages. 191 Points de branchement de batterie 240 Points de remorquage. 217 Emplacement de l'anneau de remorquage. 217 Pose de l'anneau de remorquage. 217 Points d'alimentation auxiliaire.129 Points d'ancrage ISOFIX. 25 Fixation d'un siège de sécurité infant avec sangles d'ancrage supérieures. 25 Points d'ancrage de sangle supérieure - 4 portes. 25 Points d'ancrage de sangle supérieure - 5 portes et clipper.25 Porte-charge Voir: Barres de toit longitudinales et transversales. 195 Porte-gobelets. 130 Accoudoir arrière. 130 Porte-verre. 130 Port USB. 131 Positionnement du siège de sécurité infant. 21 Précautions de sécurité. 142 Précautions nécessaires par temps froid. 205 Présentation de l'autoradio. 267 Pressions de gonflage Voir: Specifications techniques. 254 Prise d'entrée auxiliaire (AUX IN) 284 Prise d'entrée auxiliaire. 131 Programmation de la télécommande. 33 Programmation d'une télécommande neuve. 33 Reprogrammation de la fonction de déverrouillage. 33
Programmation de la télécommande
Voir: Programmation de la
télécommande. 33
Programme de stabilité
Électronique. 155
Principes de fonctionnement. 155
Projecteurs antibrouillard.
Protection de bord de porte. 43
Principes de fonctionnement. 43
Protection des occupants
Principes de fonctionnement. 28

Qualité du carburant - Diesel............143
Stockage à long terme. 143
Qualité du carburant - Essence.142
Qualité du carburant - Flexibles
Fuel. 142
Stockage à long terme. 143
Quantités et spécifications. 261
Rappel de bouclage de ceinture de
sécurité 31
Déactivation du rappel de bouclage de
ceinture. 31
Rappel de ceinture de siège arrière. 31
Ravitaillement - Flexible Fuel .146
Réfrigération. 146
Recommandations pour les pièces de
rechange 11
Entretien programme et réparations
mécaniques. 11
Garantie des pièces de rechange. 11
Réparations en cas de collision............11
Reconnaissance des panneaux de
Signalisation. 187
Principes de fonctionnement. 187
Réglage de l'intensité d'éclairage du
Combiné des instruments. 129
Réglage des phares
Voir: Réglage des projecteurs - Véhicules
avec: Éclairage avant autoadaptatif/Phares
Décharge à haute intensité.59
Réglage des projecteurs - Véhicules
avec : Eclairage avant
autoadaptatif/Phares à décharge à
Haute intensité. 59
Réglage du volant. 48
Réglage en hauteur des ceintures de
sécurities. 30
Réglage en hauteur du faisceau des
Projecteurs. 59
Positions recommandées du commutateur
Définition des réglages en hauteur des phares. 60
Réglages du système. 3
Réglage de la montre de bord. 327
Réglages audio. 326
Structure de menu - Afficheur multifonction
Structure de menu - Afficheur multifonction
- Véhicules avec système d'aide à la navigation. 325
Réglages personnalisés. 95
Désactivation des signaux sonores. 96
Réglage de la langue. 95
Unités de mesure. 96
Unités de température. 96
Régulateur de vitesse adaptatif
(ACC) 171
Principes de fonctionnement. 171
Régulateur de vitesse adaptatif (ACC)
Voir: Utilisation du régulateur de vitesse
adaptatif. 173
Régulateur de vitesse. 169
Principes de fonctionnement. 169
Régulateur de vitesse
Voir : Régulateur de vitesse. 169
Voir : Utilisation du régulateur de
vitesse. 169
Remorquage du véhicule sur ses quatre
roues. 217
Tous les véhicules. 217
Véhicules avec transmission
Automatique. 218
Remorquage. 198
Remplacement d'une ampoule. 64
Eclairage d'approche 67
Eclairage de coffre, éclairage de plancher et éclairage de hayon. 71
Eclairage de plaque d'immatriculation. 71
Éclairage intérieur. 71
Feux arrêt - 4 portes. 69
Feux arrêté - 5 portes. 68
Phare. 64
Projecteurs antibrouillard. 67
Régulateur de l'extracteur. 66
Troisième feu stop. 70
Remplacement d'une roue. 242
Créic du véhicule. 243
Dépose d'une roue. 245
Déposer l'enjoliveur de roue. 245
Écrous de roue antivol. 242
Montage de la clé de roue. 245
Points de levage du véhicule. 243
Pose d'une roue. 246
Véhicules avec roue de secours. 242
Remplacement d'un fusible. 208
Remplacement de la batterie 240
Remplacement de la pile de la télécommande. 33
Télécommande avec lame de clé escamotable. 34
Télécommande sans lame de clé escamotable. 34
Remplacement des balais d'essuie-glaces. 53
Balai d'essuie-glace de lunette arrière.....54
Balai d'essuie-glace de pare-brise....53
Remplacement d'ampoule Voir : Remplacement d'une ampoule.....64
Réparation des dégâts mineurs de peinture. 238
Répétition des plages du disque compact. 282
Type 1. 282
Types 2 et 3. 282
Rétroviseur anti-éblouissement automatique. 76
Rétroviseur de surveillance. 131
Rétroviseurs extérieurs à réglage électrique. 75
Rétroviseurs rabattables électriques. 75
Sens d'orientation du rétroviseur. 75
Rétroviseurs extérieurs. 75
Rétroviseurs rabattables manuels. 75
Rétroviseurs
Voir : Vitres chauffantes et rétroviseurs chauffants. 115
Voir : Vitres et rétroviseurs. 73
Rodage. 205
Freins et embrayage. 205
Moteur. 205
Pneus. 205
S'asseoir dans la position correcte.....121
Sécurité des enfants. 20
Sécurité du système audio. 275
Sécurité routière 314
Informations relatives à la sécurité............315
Sécurités enfants. 26
Sécurités enfants à commande électrique. 26
Sécurités enfants à commande manuelle. 26
Sélection d'une plage musicale............281
Types 2 et 3. 281
Serrure de capot
Voir: Ouverture et fermeture du capot.....220
Serrures. 36
Sièges à réglage électrique - Véhicules avec: Sièges électriques 6 voies......124
Sièges à réglage électrique - Véhicules avec: Sièges électriques 8 voies......125
Régler la longueur du coussin de siège............126
Sièges à réglage manuel. 121
Avancement et recul des sièges. 121
Réglage de l'inclinaison du dossier de siège............122
Réglage de la hauteur du siège conducteur. 122
Réglage du support lombaire. 122
Sièges arrêtés 126
Plier les coussins de siège et les dossiers de siège arrêt vers l'avant............127
Rabattement des dossiers de sièges vers le haut. 127
Repli des dossiers de siège arrêté vers l'avant. 126
Sièges chauffants. 127
Sièges de sécurité infant. 20
Dispositifs de retenue pour enfants pour les différentes catégories de poids. 20
Sièges réhausseurs. 24
Rehausseur (groupe 2) 24
Rehausseur (groupe 3) 24
Sièges. 121
Signaux sonores et indicateurs. 86
Activation et déactivation des signaux sonores. 86
Clé hors du véhicule. 86
Feux allumés. 86
Givre. 86
Porte ouverte. 86
Rappel de bouclage de ceinture. 87
Témoin de bas niveau de carburant......86
Transmission automatique. 86
Spécifications techniques
Voir : Quantités et spécifications. 261
Support de dispositif d'aide à la navigation. 131
Réglage du support. 131
SYNC 333
Généralités 333
Système d'aide au stationnement - Véhicules avec: Aide au stationnement avant et arrière............161
Activation et déactivation du dispositif d'aide au stationnement. 161
Manœuvres avec le système d'aide au stationnement. 161
Système d'aide au stationnement - Véhicules avec : Système d'aide au stationnement arrêté............159
Système d'immobilisation. 44
Principes de fonctionnement. 44
Système d'immobilisation. Voir : 44
Système de surveillance de la pression des pneus. 253
Réinitialisation du système 253
Système d'aide à la navigation. 328
Tableau de spécifications des ampoules. 71
Tableau de spécifications des
fusibles. 209
Boîte à fusibles compartiment de chargement................................214
Boîte à fusibles de l'habitacle. 212
Boîte à fusibles du compartiment moteur. 209
Tapis de sol. 131
Telephone 286
Généralités 286
Telephone
Voir : Utilisation du téléphone. 288
Témoins d'avertissement et
Indicateurs. 83
Indicateur de message. 85
Indicateurs de direction. 84
Rappel de bouclage de ceinture. 85
Témoin ABS. 83
Témoin d'airbags. 83
Témoin d'allumage. 84
Témoin d'anomalie du moteur. 84
Témoin d'avertisseur de changement de voie. 84
Témoin de bas niveau de carburant......85
Témoin de contrôle dynamique de stabilité (ESP). 85
Témoin de démarrage/arrêt. 86
Témoin de feu de brouillard arrêté........85
Témoin de feu des roues. 85
Témoin de marche avant. 84
Témoin de passage. 85
Témoin de phares. 84
Témoin de pneus sous-gonflés. 85
Témoin de préchauffage. 84
Témoin de pression d'huile 85
Témoin de projecteurs antibrouillard. 84
Témoin de régulateur de vitesse. 83
Témoin de surveillance d'angle mort......83
Témoin de verglas. 84
Témoin du circuit de freinage. 83
Toit ouvrant à commande électrique. 116
Basculement du toit ouvrant. 116
Mode de sécurité du toit ouvrant. 117
Ouverture et fermeture automatiques du toit ouvrant. 116
Ouverture et fermeture du toit ouvrant. 116
Protection anti-pincement de toit ouvrant. 117
Reprogrammation du toit ouvrant............117
Toit ouvrant. Voir : Toit ouvrant à commande électrique. 116
Touches de préselection des stations. 277
Traction d'une remorque - 2.0L EcoBoost SCTi (MI4).198
Traction d'une remorque. 198 Conduite du véhicule sur fortes pentes. 198
Traitement du signal numérique (DSP) 279
Égaliseur DSP. 279
Modification des paramètres DSP............279
Occupation DSP. 279
Transmission automatique............149 Conseils pour la conduite d'un véhicule à transmission automatique............151
Lever de déverrouillage d'urgence de la position park. 151
Mode Sport et passage manuel des vitesses. 150
Positions du levier de vitesse. 149
Transmission. 149
Trappe du réservoir de carburant.....144
Approvisionnement en carburant à l'aide d'un bidon d'essence. 146
Triangle de signalisation. 206
Trousse de premiers secours. 206
USB. Voir : Utilisation d'un dispositif USB.310
Utilisation de chaînes à neige - 2.0L EcoBoost SCTi (MI4).252
Véhicules avec contrôle dynamique de stabilité (ESP). 253
Utilisation de chaînes à neige............252
Véhicules avec contrôle dynamique de stabilité (ESP). 252
Utilisation de la commande vocale......291
Étiquette d'identification. 292
Fonctionnement du système 291
Utilisation de la fonction TMC. 331
Avertissement de zone dangereuse (selon le pays). 331
Information routière. 331
Pour permettre fin à la diffusion des informations routières. 331
Utilisation des messages TMC. 331
Utilisation de la reconnaissance vocale 335
Conseils. 335
Démarrer une session de commande vocale. 335
Interactions et réponses du système......336
Utilisation de l'aide au démarrage en côte. 157
Activation du système. 157
Désactivation du système. 158
Véhicules équipés d'une boîte de vitesse manuelle uniquement. 157
Utilisation de l'arrêtétement de démarrage sur voie............182
Activer et désactiver le système............182
Avertissements du système. 182
Réglage de la sensibilité du système......182
Réglage du niveau de vibration du volant de direction. 182
Utilisation de l'accélération du conducteur............179
Activer et désactiver le système. 179
Affichage du système. 180
Avertissements du système. 180
Réinitialisation du système. 180
Utilisation de pneus hiver. 252
Utilisation des ceintures de sécurité par les femmes enceintes. 31
Utilisation de SYNC® avec votre lecteur multimédia 354
Accéder à votre bibliothèque USB. 357
Appareils Bluetooth et paramètres système 359
Commande "Qui est-ce qui chante ?"............355
Commandes vocales multimédia. 355
Connectez votre lecteur multimédia numérique au port USB. 354
Options du menu Média. 356
Utilisation de SYNC avec votre téléphone............338
Accéder aux fonctions depuis le menu du téléphone cellulaire. 343
Accéder aux paramètres de votre téléphone cellulaire. 346
Appareils BT. 347
Commandes vocales du téléphone cellulaire. 339
Jumelage de téléphones cellulaires supplémentaires. 338
Jumelage initial d'un téléphone..... 338
Messages texte (SMS). 344
Options de téléphone cellulaire disponibles pendant un appel actif............341
Passer un appel. 341
Recevoir un appel. 341
Utilisation du démarrage-arrêt. 139
Pour arrêter le moteur. 139
Pour redémarrer le moteur. 140
Utilisation du limiteur de vitesse. 177
Activer et désactiver le système............177
Avertissements du système 178
Dépassement volontaire de la vitesse limite réglée. 178
Réglage du limiteur de vitesse. 177
Utilisation du mode Eco. 141
Réinitialiser le mode Eco. 141
Utilisation du programme de stabilité électronique - 2.0L EcoBoost SCTi (MI4)............156
Activation du mode sport. 156
Désactivation du système. 156
Utilisation du programme de stabilité électronique. 156
Utilisation du régulateur de vitesse adaptative. 173
Activation du système. 173
Désactivation automatique. 175
Désactivation du système. 174
Désactivation temporaire du système. 174
Modification de la vitesse réglée............173
Programmation de l'écart. 173
Réglage d'une vitesse. 173
Utilisation du régulateur de vitesse......169
Activation du régulateur de vitesse. 169
Annulation de la vitesse réglée. 170
Désactivation du régulateur de vitesse. 170
Modification de la vitesse réglée. 169
Réglage d'une vitesse. 169
Reprise de la vitesse réglée. 170
Utilisation du téléphone. 288
Mise en sourdine du microphone. 290
Pour changer de téléphone actif........290
Pour passer un appel. 288
Pour recevoir un appel entrant. 289
Pour supprimer un téléphone connecté par liaison bonding. 290
Recevoir un second appel entrant. 289
Utilisation d'un dispositif USB 310
Commande audio. 311
Utilisation. 311
Utilisation d'un iPod 312
Commande audio. 313
Utilisation. 312

Ventilation
Voir : Contrat de licence d'utilisateur final. 109
Verrou de direction. 132
Véhicules avec démarrage sans clé............132
Véhicules avec démarrage sans clé............132
Verrouillage et déverrouillage. 36
Confirmation du verrouillage et du déverrouillage. 37
Couvercle de coffre à bagages. 37
Déverrouillage 36
Double verrouillage. 36
Verrouillage. 36
Verrouillage de chaque porte avec la clé. 37
Verrouillage et déverrouillage des portes à partir de l'intérieur. 37
Verrouillages électriques des portes
Voir : Verrouillage et déverrouillage 36
VIN Voir : Numéro de châssis du vehicule......260
Vitres chauffantes et rétroviseurs chauffants. 115
Rétroviseurs extérieurs chauffants. 115
Vitres chauffantes. 115
Vitres et rétroviseurs. 73
Volant de direction. 48
Vue d'ensemble du bloc de commande du système d'aide à la navigation. 316
Véhicules avec système d'aide à la navigation à CD-SD. 317
Véhicules avec système d'aide à la navigation à CD-SD Sony. 319
Vue d'ensemble sous le capot - 1.0L EcoBoost.221
Vue d'ensemble sous le capot - 1.6L Duratec-16V (Sigma).222
Vue d'ensemble sous le capot - 1.6L Duratorg-TDCi (DV) Diesel............227
Vue d'ensemble sous le capot - 1.6L EcoBoost SCTi (Sigma).223
Vue d'ensemble sous le capot - 2.0L Duratec-HE (MI4) 226
Vue d'ensemble sous le capot - 2.0L Duratorq-TDCi (DW) Diesel............229
Vue d'ensemble sous le capot - 2.0L EcoBoost SCTi (MI4).224