ELECTRIC 1400 - Tronçonneuse HUSQVARNA - Notice d'utilisation et mode d'emploi gratuit
Retrouvez gratuitement la notice de l'appareil ELECTRIC 1400 HUSQVARNA au format PDF.
| Type d'appareil | Tronçonneuse électrique |
| Puissance | 1400 W / 1600 W |
| Alimentation | Électrique filaire |
| Longueur de guide | Non précisé |
| Type de chaîne | Non précisé |
| Poids | Non précisé |
| Système de lubrification | Automatique |
| Frein de chaîne | Oui |
| Poignée ergonomique | Oui |
| Protection contre les surcharges | Oui |
| Longueur du câble | Non précisé |
| Utilisation recommandée | Découpe de bois |
| Normes de sécurité | CE |
| Mode de démarrage | Interrupteur électrique |
| Couleur | Non précisé |
FOIRE AUX QUESTIONS - ELECTRIC 1400 HUSQVARNA
Questions des utilisateurs sur ELECTRIC 1400 HUSQVARNA
0 question sur cet appareil. Repondez a celles que vous connaissez ou posez la votre.
Poser une nouvelle question sur cet appareil
Téléchargez la notice de votre Tronçonneuse au format PDF gratuitement ! Retrouvez votre notice ELECTRIC 1400 - HUSQVARNA et reprennez votre appareil électronique en main. Sur cette page sont publiés tous les documents nécessaires à l'utilisation de votre appareil ELECTRIC 1400 de la marque HUSQVARNA.
MODE D'EMPLOI ELECTRIC 1400 HUSQVARNA
Manuel d'utilisation

Symboles sur la tronçonneuse

ATTENTION! Les tronçonneuses peuvent être dangereuses! Une utilisation négligente ou imprudente risque de causer des lésions graves et même fatales.

S'assurer de lire et bien comprendre le manuel d'utilisation avant d'utiliser la tronçonneuse.

Toujours porter:
Casque - Protecteur d'oreilles Lunettes ou écran de protection
Symboles dans le manuel:

ATTENTION! Toujours retirer le contact avant d'effectuer tout montage ou ajustage sur la tronconneuse.

Toujours porter des gants protecteurs.

Un nettoyage régulier est indispensable.

Examen oculaire.

Port de lunettes protectrices ou visière.

Ne pas exposer la machine à la pluie ou à l'humidité.

Si le câble est endommagé, débrancher la prise.

Longueur maximale de guide-chaîne.
Mesures à prendre avant d'utiliser la machine
- Lire attentivement le manuel d'utilisation.
- Vérifier le montage et le réglage de l'outil de coupe. Voir page 23.
- Mettre la tronçonneuse. Voir page 24.
- Ne pas utiliser l'outil avant que la chaîne ait reçu une quantité suffisante d'huile de chaîne. Voir page 13.
Important!
Une chaîne mal ajustée augmente l'usure de la chaîne ou risque d'endommager le guide-châine, le pignon et la chaîne.

Ne jamais modifier la machine sans l'autorisation du fabricant. N'utiliser que des accessoires et des pièces d'origine. Toute modification interdite et l'emploi d'accessoires non homologués peuvent provoquer des accidents graves et même mortels, soit à l'utilisateur soit à d'autres personnes.
Instructions de sécurité
Protection personnelle 4
Équipement de sécurité de la tronçonneuse 4
Contrôle, maintenance et entretien des équipements de sécurité
Équipement de coupe 9
Mesures anti-rebond 15
Instructions générales de sécurité 16
Méthodes de travail 17
Quels sont les composants?
Quels sont les composants ? 22
Montage
Montage du guide-chaîne et de la chaîne 23
Démarrage et arrêt
Démarrage et arrêt 24
Entretien
Entretien quotidien 25
1400W 26
1500W 26
Instructions de sécurité

Cet outil à moteur peut être dangereux, toute utilisation défectueuse ou négligente peut avoir de graves conséquences : blessures personnelles ou danger de mort. Il importe de lire attentivement et de bien assimiler le manuel d'utilisation.
Protection personnelle

LA PLUPART DES ACCIDENTS DUS À DES TRONÇONNEUSES SE PRODUISENT QUAND LA CHÂINE TOUCHE L'OPÉRATEUR. Il est donc nécessaire de se protégerr conformément aux règlements. Les équipements de sécurité n'éliminent pas tous les risques, ils réduisent la gravité des blessures en cas d'accident. Demandez conseil à notre concessionnaire qui vous aidera à choisir tout équipement individuel.
CASQUE DE SECURITE PROTECTEUR D'OREILLES LUNETTES PROTECTRICES OU VISIÈRE GANTS PROTECTEURS ANTI-CHAINE PANTALONS PROTECTEURS DOUBLES ANTI-CHAINE
BOTTES RENFORCEES ANTI-CHAINE, A EMBOUT ACIER ET SEMELLE ANTIDERAPATANTE
Ne pas porter de vêtements trop amples et qui génent les mouvements. - Trousse de premiers secours TOUJOURS AVAILABLE.





Equipement de securite de la tronçonneuse
Ce chapitre présente les équipements de sécurité de la tronçonneuse, leur fonction, comment les vérifier et les maintenir en état. (Voir au chapitre "Quels sont les composants?" pour trouver leur emplacement.)

NE PAS UTILISER UNE TRONCONNEUSE DONT LES EQUIPEMENTS DE SECURITE SONT DEFECTUEUX. Suivre les directives de maintenance, entretien et réparations.
1 Frein de chaîne avec arceau protecteur 2 Blocage de gachette d'accélérateur 3 Pare-chaine 4 Protection de la main droite 5 Embrayage antigelissement 6 Équipement de coupe (voir au chapitre "Equipement de coupe").






1 Frein de chaîne avec arceau protecteur
Votre tronçonneuse est équipée d'un frein de chaîne, destiné à bloquer automatiquement la chaîne en cas de rebond. Il réduit le risque d'accidents, mais il apparaît à l'opérateur de les prévenir.
Attention en utilisant la tronçonneuse et s'assurer que la zone de rebond du guide-chaîne ne touche rien.

Le frein de chaîne (A) peut être activé manuellement (avec la main gauche) ou par inertie (poids oscillant par rapport à la tronçonneuse ; dans la plupart de nos modèles, c'est l'arceau protecteur qui fait office de contrepoids au sens du rebond.)

Pousser l'arceau (B) vers l'avant pour activer le frein de chaîne.

Ce mouvement active mécaniquement un ressort qui tend le ruban du frein (C) autour du système d'entraînement de la chaîne, autrement dit le "tambour d'embrayage" (D).


2 L'arceau de sécurité n'active pas seulement le frein de chaîne. Il réduit aussi le risque que la main gauche se blesse à la chaîne en l'obligeant prise sur la poignée avant.

Le frein de chaîne sert de frein de stationnement de courte durée et pour le transport. Donc le frein de chaîne non seulement réduit les risques d'accident en cas de rebond, mais, activé manuellement, constitue une mesure de sécurité.

Tirer l'anneau vers la poignée arrêt pour désactiver le frein de chaîne.

5 Un rebond peut être rapide et violent (voir A). Toutefois, la plupart des rebonds sont courts et n’activent pas nécessairement le frein de chaîne. En ce cas, tenir l’outil solidement et ne pas le lâcher.

Instructions de sécurité
Le mode d'activation du frein de chaîne (manuel ou automatique) dépend de l'ampleur du rebond et de la position de l'outil par rapport à l'objet rencontrés par la zone dangereuse du nez.
En cas de rebond violent, et si le nez se trouve loin de l'opérateur, c'est PAR INERTIE que le frein de chaîne se trouve alors activé (effet de contrepoids).
En cas de rebond moins violent, et si le nez se trouve proche de l'opérateur, le frein de chaîne sera activé manuellement (main gauche).
En position d'abattage, tenir la poignée avant de la main gauche ce qui ne permet pas d'activer manuellement le frein de chaîne. Dans cette position (la main gauche ne pouvant activer l'arceau de protection) le frein de chaîne ne peut être activé que par inertie.
L'activation automatique présente un grand avantage, mais seulement sous certaines conditions (voir 6).


2 Blocage de gâchette d'accélérateur
Saisir la poignée avant avec la main gauche. Saisir la poignée arrière avec la main droite. Enfoncer le bouton de verrouillage avec le pouce droit, puis enfoncer le bouton de démarrage.
Arrêt
La tronconenne s'arrête lorsqu vous l'chez le bouton de démarrage

3 Pare-chaine
A pour but de rattraper une chaîne sautée ou cassée. On peut éviter ces inconvénients en ayant une tension correcte de la chaîne (voir "Montage") ainsi qu'en entretenant correctement le guide et la chaîne (voir "Méthodes de travail")

4 Protection de la main droite
Protège la main si la chaîne saute ou se casse et empêche les branchettes et brindilles de générer la prise arrière.

5 Embrayage à glissement
La tronconenne est équipée d'un embrayage à glissement. Celui-ci protège également la tronconenne contre la surcharge. Si la chaîne s'arrête le moteur tournant, la tronconenne est surchargée. Réduire la pression de coupe jusqu'à ce que la chaîne recommence à tourner. Si le guide-chaîne est coincé, arrêter la tronconenne immédiatement, puis le retirer. Si la chaîne s'arrête souvent au cours du travail, la chaîne pourrait être émoussée. Affûter la chaîne.

Tronconneuse 1600W
La tronconneuse 1600W est\ équipée d'une protection de\ surcharge électronique.\ Quand celle-ci est activée, la\ machine s'arrête. Pour la\ remise en route, actionner la\ commande de démarrage.\ S'assurer que la chaîne n'est\ pas coincée et tourne\ librement. Enfoncer à\ nouveau la commande de\ démarrage.
Contrôle, maintenance et entretien des équipements de sécurité

Tout entretien ou réparation d'une tronçonneuse EXIGE UN OUTILLAGE SPÉCIAL, en particulier celles munies d'un équipement de sécurité. Si les contrôles suivants ne donnent pas un résultat positif, s'adresser à UN ATELIER SPÉCIALISÉ. L'achat de l'un de nos produits offre à l'acheteur la garantie d'un service qualifié. Si le point de vente n'assure pas ce service, s'adresser à L'ATELIER SPÉCIALISÉ le plus proche.
1 Contrôle d'usure du ruban de frein

Nettoyer le frein de chaîne et le tambour d'embrayage (copeaux, résine, saletés). La saleté et l'usure en compromettent le bon fonctionnement.

Vérifier le ruban régulièrement, qui doit être d'au moins 0,6 mm d'épaisseur à son point le plus faible.
2 Contrôle de l'arceau anti-rebond

A Vérifier que l'arceau est intact et sans aucun défaut (fissure ou autre). B Actionner l'arceau d'avant en arrière pour s'assurer qu'il se meut librement et qu'il est solidement fixé à son articulation dans le carter d'embrayage.

3 Contrôle de la puissance de freinage:
Contrôler le frein chaque jour, avant tout travail. Placer la tronçonneuse sur un support stable. Tenir la tronçonneuse fermement, avec la main droite sur la poignée arrête et la main gauche sur la poignée avant, le pouce et les doigts de chaque main bien refermés sur les poignées et accélérer à fond. Déclencher le frein en tournant le poignet gauche vers l'arceau de protection sans lâcher la poignée avant. La chaîne doit être bloquée instantanément.

4. Contrôle de déclenchement:

Contrôler le frein chaque jour, avant tout travail.
ATTENTION! Moteur à l'arrêt.
Tenir la tronconatrice environ 45 cm au-dessus d'une souche ou d'un autre objet stable (voir illustration). Tenir la tronconatrice verticalement au-dessus d'une souche et laisser la tronconatrice d'elle-même tomber sur la souche sous contrôle. Le frein doit déclencher au contact de la pointe du guide avec la souche.

2 Blocage de gâchette d'accélérateur
Saisir la poignée avant avec la main gauche. Saisir la poignée arrêt avec la main droite. Enfoncer le bouton de verrouillage avec le pouce droit, puis enfoncer le bouton de démarrage.
Arrêt
La tronconneuse s'arrête lorsqu'on lâche le bouton de démarrage

3 Captation de chaîne

Vérifier que le CAPTEUR DE CHÂINE est en bon état et qu'il est bien fixé en place.

4 Protection de la main droite

S'assurer que la PROTECTION DE LA MAIN DROITE est intacte et sans défauts visibles, fissures, etc.


Ne jamais utiliser une tronçonneuse dont les équipements de sécurité sont défectueux. Contrôler et entretenir ceux-ci suivant les instructions du manuel. Si les contrôles ci-dessus ne donnent pas de résultat positif, confier la tronçonneuse à un réparateur.
Equipement de COUPE
Le choix judicieux de l'équipement de coupe et son entretien correct permettront
- De réduire le risque de rebond
- De réduire le risque de chaîne sautée ou de rupture de chaîne D'obtenir la meilleure coupe possible
- D'augmenter la durée de vie de l'équipement de coupe.
Les 5 règles de base
1 N'utiliser que l'équipement de coupe recommandé (voir "Caractéristiques techniques") 2 Tenir les dents de la chaine bien affûtées, suivre les instructions et utiliser le gabarit d'affutage recommandé, une chaine émoussée augmente le risque d'accidents. 3 Suivre les instructions d'entretien et utiliser la jauge de profondeur recommandée, une profondeur incorrecte augmente le risque de rebond. 4 Maintenir la tension de chaine correcte, une tension insuffisante augmente le risque de chaine sautée, d'usure du guide, de la chaine et du pignon. 5 Maintenir l'équipement bien lubrifié et bien entretenu un équipement insuffisamment lubrifié augmente risque de chaîne sautée, d'usure du guide, de la chaine et du pignon.





1 Équipement de coupe anti-rebond

Un équipement de coupe défectueux ou une mauvaise combinaison chaîne et guide-chaîne augmentent le risque de rebond. N'utiliser que les combinaisons guide-chaîne/chaîne indiquées au chapitre "Caractéristiques techniques".
On ne peut éviter un rebond qu'en s'assurant que la zone dangereuse d'une z n'entre pas en contact avec un objet. On réduira le risque de rebond en utilisant la version anti-rebond intégrée à la chaine et une chaine bien affûtée et bien entretenue.
Plus le rayon du nez est court, plus le risque de rebond est limité.

Une chaîne compte un certain nombre de maillons, tant en modèle standard qu'en version anti-rebond.
| Inexistant | Standard | Anti-rebond | |
| Maillon coupant | |||
| Maillon entraineur | |||
| Maillon létéral |
En combinant ces maillons de différentes façons, on obtiendra un taux de réduction de rebond plus ou moins élevé. Les quatre types suivants sont possibles :
Taux de réduction de rebond
Maillon coupant
Maillon entraîneur
Maillon latéral
PETIT

MOYEN

GRAND

TRÉS GRAND
Instructions de sécurité
C Terminologie concernant guide-chaine et chaîne En cas d'usure et de remplacement nécessaire, n'utiliser que les accessoires d'origine (guide-chaine et chaîne), voir "Caractéristiques techniques" pour les modèles recommandés pour chaque tronçonneuse.
Guide-chaine
- LONGUEUR (cm)
- Nombre de dents par pignon (T). Nombre réduit = petit rayon = tendance au rebond limité.
- PAS DE CHÂINE (pouce). Le pignon du nez et le pignon d'entraînement doivent correspondre à l'espace entre les maillons. NOMBRE DE MAILLONS ENTRAÎNEURS (pce). La longueur du guide, le pas de chaîne et le nombre de dents au pignon donnent un nombre déterminé de maillons entraîneurs. LARGEUR DE GORGÉ DU GUIDE-CHAÎNE (mm). Celle-ci doit correspondre à la largeur des maillons entraîneurs de la chaîne.
- TROU DE GRAISSAGE DE CHAÎNE ET TROU DU TENDEUR DE CHAÎNE. Le guide-chaîne doit correspondre au modèle de tronçonneuse.
Chaîne
- PAS DE CHÂINE (pouce) = espace entre les mailons. LARGEUR DE GORGDE DU GUIDE-CHAINE (mm). NOMBRE DE MAILLONS ENTRAINEURS (pce)
- TAUX DE RÉDUCTION DE REBOND. Seule l'indique la désignation de la chaîne. Voir "Caractéristiques techniques" quels numéros de désignation correspondant aux différents modèles de tronçonneuse.


2 Affutage et réglage de profondeur de la chaîne

Une chaîne émoussée augmente le risque de rebond !
- Ne jamais utiliser une tronçonneuse dont les dents sont émoussées. Une chaîne est émoussée quand les dents de la chaîne doivent être forcées contre le bois et si les copeaux sont très petits. Une chaîne très usée ne produit aucuns copeaux, rien que de la poudre.
- Une chaîne bien affûtée entame le bois par elle-même et sans forcer, laissant de gros et longs copeaux. LA PARTIE COUPANTE de la chaîne consiste en un MAILLON COUPANT qui compte une dent (A) et UN LIMITEUR (ou cale) DE PROFONDEUR (B). L'espace entre les deux détermine la profondeur de coupe.
- En affûtant la dent, il faut tenir compte de 5 dimensions :
ANGLE D'AFFUTAGE
ANGLE D'IMPACT
POSITION DE LA LIME
DIAMÈTRE DE LA LIME RONDE
PROFONDEUR D'AFFUTAGE

Voir aux "Caractéristiques techniques" les paramètres concernant le modèle de chaîne correspondant à votre tronçonneuse.
Affûter une chaîne sans outils spéciaux est très difficile. Il est donc recommandé d'utiliser notre gabarit, qui assure un affûtage maximal et une réduction optimale du risque de rebond.


Négliger comme suit les paramètres d'affûtage augmente nettement le risque de rebond :

Angle d'affutage trop étroit Angle d'impact trop petit Diamètre de lime trop court
- En affûtant la dent, LA PROFONDEUR DE COUPE diminue. Prévoir celle-ci de façon à avoir la performance de coupe optimale.
Voir aux "Caractéristiques techniques" les cotes de profondeur correspondant à la chaîne utilisée.
- Sur le modèle de maillon AVEC REDUCTION DE REBOND, la cale de profondeur est arrondie par devant. Cette caractéristique doit être soigneusement conservée lors de l'affutage.
- Nous recommandons la jauge de profondeur qui permet à la fois un affutage correct et préserve la forme arrondie de la cale de profondeur.



Cette opération nécessite UNE LIME RONDE et UN GABARIT. Voir aux "Caractéristiques techniques" les paramètres concernant le diamètre de lime et le gabarit correspondant à la chaîne utilisée.
1 S'assurer que la chaîne est tendue, sinon l'instabilité latérale génère l'affûtage de la chaîne. 2 Toujours limer de l'intérieur de la dent vers l'extérieur, soulager la lime pendant le mouvement de retour.
Commencer par limer toutes les dents du même côté, retourner la tronçonneuse et limer de l'autre côté.
3 Amener toutes les dents à la même hauteur. Si la hauteur de dent est inférieure à 4 mm, la chaîne est usée et doit être remplacée.





Une profondeur excessive augmente le risque de rebond !

- Pour ce faire, les dents doivent être nouvellement affûtées. Un réglage de profondeur est recommandé tous les trois affûtages. ATTENTION: à supposer que la longueur des dents n'est pas anormalement réduite.
- Cette opération nécessite UNE LIME PLATE et UNE JAUGE DE PROFONDEUR.
- Placer le gabarit sur la cale de profondeur.
- Placer la lime plate sur la partie dépassante de la cale de profondeur et limer celle-ci. Quand aucune résistance ne se fait sentir, la cale est à la hauteur correcte.

3 Tension de la chaîne

Une tension insuffisante de la chaîne augmente le risque de chaîne sautée et donc de blessures graves et même mortelles.
- Plus on utilise une chaîne plus elle s'allonge. Il importe de vérifier l'équipement de coupe après chaque utilisation.
- Il importe de vérifier la tension de la chaîne après chaque plein d'essence. ATTENTION: Une nouvelle chaîne exige une période de rodage durant laquelle il faudra vérifier la tension plus souvent.
- En règle générale, il faut tendre la chaîne au maximum, mais pas au point de ne pouvoir la faire tourner manuellement.




1 Avec la clé universelle, dévisser les écrous du guide-chaine fixant le carter d'embrayage/frein de chaine. Puis les desserrer à fond manuellement. 2 Soulever le nez du guide et tendre la chaîne en serrant le tendeur de chaîne avec la clé universelle. Tendre jusqu'à ce que la chaîne ne soit plus molle sous le guide. 3 Avec la clé universelle, serrer les écrous du guide-chaine, tout en tenant levé le nez du guide. S'assurer que la chaine peut tourner manuellement et ne pend pas sous le guide.

Sur nos tronçonneuses, le tendeur de chaîne peut être placé différemment. Voir au chapitre "Quels sont les composants?" pour comparer avec votre méthode.
4 Lubrification de l'équipement de coupe

Un graissage insuffisant de l'équipement de coupe augmente le risque de rupture de chaîne et donc de blessures graves et même mortelles.
- Une bonne huile de chaîne reste sur la chaîne en mouvement et doit être fluide été comme hiver.
- L'huile de chaîne mise au point par nos soins est une huile végétale entièrement dégradable. Son usage augmente la durée de vie de la chaîne et respecte l'environnement.
- En l'absence de notre huile végétale, on utilisera une huile spéciale chaîne ordinaire.
- En l'absence d'une huile spéciale chaîne, l'huile de boîte de vitesse EP 90 est utilisée.
- Ne jamais utiliser une huile usagée.
- Toutes nos tronçonneuses sont dotées d'un graissage automatique de chaîne, certaines avec début réglable.

- Vérifier la lubrification à chaque plein d'essence.
Diriger le nez du guide sur un objet clair, à 20 cm d'écart. Après 1 minute de marche, l'objet clair doit nettement présenter un film d'huile en forme de ruban.

En cas de mauvais fonctionnement:
1 Vérifier le canal de graissage du guide-chaine. Le nettoyer au besoin.

2 S'assurer que la gorge du guide est propre. La nettoyer au besoin. 3 Vérifier que le pignon d'uneuze tourne librement et que l'orifice de graissage est propre. Nettoyer au besoin.
Si ces tests ne sont pas conduits, s'adresser obligatoirement à un réparateur.
F contrôle d'usure de l'équipement de coupe chaine

Vérifier l'état de la chaîne journalièrement, s'assurer :
- que les rivets et maillons ne sont pas cassés
- que la chaîne n'est pas raide
- que les rivets et mailons ne sont pas anormalement usés.
Il est recommandé de comparer avec une chaîne neuve pour évaluer le degré d'usure.
Si la hauteur de dents est inférieure à 4 mm, la chaîne est usée et doit être remplacée.

Instructions de sécurité


Le tambour d'embrayage est muni de l'un des pignons d'entraînement suivants:
A Fixation
B Couronne (interchangeable)
Vérifier régulièrement le degré d'usure du pignon. Le replacer en cas d'usure excessive. Le pignon doit être remplacé en même temps que la chaîne.


Vérifier régulièrement :
- Qu'il n'y a pas de bavures sur les côtés extérieurs de la gorge, les limer au besoin.
- Que la gorge n'est pas anormalement usée, la remplacer au besoin.
- Que le nez n'est pas anormalement usé : si un creux s'est formé à l'extrémité du rayon du nez (bord inférieur), la chaîne n'était pas suffisamment tendue.
- Retourner le guide quotidiennement pour assurer une durée de vie optimale.


La plupart des accidents surviennent quand la chaîne de la tronçonneuse touche l'opérateur.
Utiliser les équipements de protection (voir au chapitre "Protection personnelle" et "Equipement de sécurité de la tronçonneuse"). - Eviter tous travaux pour lesquels on se sent mal préparé (voir aux chapitres "Protection personnelle", "Mesures anti-rebond" et "Equipement de coupe"). - Eviter les situations susceptibles de provoquer des rebonds (voir "Protection personnelle"). Utiliser les équipements de coupe recommandés et en vérifier le bon état (voir "Méthodes de travail"). - Vérifier le fonctionnement des équipements de sécurité de la tronçonneuse (voir "Méthodes de travail" et "Instructions générales de sécurité").
Mesures anti-rebond

Un rebond peut être soudain, rapide et violent, il renvoie la tronçonneuse, le guide-chaine et la chaîne en direction de l'opérateur. Si la chaîne est alors en rotation, les blessures encourues sont graves et quelquefois mortelles. Il faut en être averti et savoir éviter ce phénomène pour bien utiliser la tronçonneuse. Une bonne méthode de travail est également nécessaire.
Qu'est-ce qu'un rebond ?
Un rebond peut se produire quand la pointe ou nez du guide-chaine touche un objet quelconque. Le contact de la pointe peut alors causer une réaction de recul. Le quart supérieur du nez est appelé zone de rebond.

Le rebond se produit toujours dans le plan du guide-chaine. En général, tronconière et guide-chaine sont relevés simultanément en direction de l'opérateur. Néanmoins, la direction du rebond peut varier suivant la position du nez au moment où il touche un objet quelconque.

Le rebond ne peut se produire que quand la pointe ou nez du guide-chaine (zone de rebond) touche un objet quelconque.

Règles élémentaires
1 En comptant en quoi consiste et comment se produit un rebond, on peut limiter l'effet de surprise, qui augmente le risque d'accident. La plupart des rebonds sont courts, mais certains peuvent être extrêmement rapides et violents.
Dès que le moteur tourne, maintenir l'outil fermement des deux mains, la main droite sur la poignée arrière, la gauche sur la poignée avant.
Tenir les poignées solidement avec les doigts et le pouce. Toujours tenir la tronçonneuse dans cette position, que l'on soit droitier ou gaucher. Une prise solide aide à maîtriser les rebonds et à mieux contrôler la machine. Ne pas lâcher!

- La plupart des accidents se produisent lors de l'ébranchage. Se tenir fermement sur les jambes. S'assurer que la zone de travail est bien dégagée, pour ne pas risquer de glisser ou de perdre l'équilibre. Ne pas tenir le nez du guide-chaine au voisinage d'une souche, d'un rondin, d'une branche ou d'un arbre voisin auquel il risque de se cogner en cours de travail.

- Ne jamais travailler à un niveau trop élevé, plus haut que les épaules. Éviter de couper avec la pointe du guide-chaine.
Ne jamais tenir la tronconneuse d'une seule main !

- Toujours travailler à la vitesse maximale.
- Attention en utilisant le tranchant supérieur du guide-chaine, c'est-à-dire en sciant la pièce par en dessous (de bas en haut). Ceci s'appelle travailler en poussée, étant donné que la force réactionn re. Si on coupe avec la partie inférieure de la chaîne, c'est-à-dire par en dessus (de haut en bas), la tronçonneuse est attirée vers le bois, en s'éloignant de l'opérateur. En ce cas, l'opérateur a un meilleur appui sur la pièce, et contrôle mieux à la fois son outil et la place d'une zone (zone dangereuse). C'est la méthode la plus sûre.
- Suivre les instructions du fabricant relatives à l'affutage et à l'entretien. N'utiliser que des pièces d'origine, et seulement les combinaisons chaîne et guide-chaine recommandées. Voir au chapitre "Caractéristiques techniques", "Equipement de coupe".





Un équipement de coupe défectueux ou une chaîne mal affûtée augmentent le risque de rebond, de même qu'une mauvaise combinaison chaîne et guide-chaîne!
Instructions generales de securite
1 La tronçonneuse est destinée à ne couper que du bois. Le seul accessoire autorisé est la combinaison guide-chaine et chaîne recommandée par le fabricant. Voir les "Caractéristiques techniques".
2 Eviter d'utiliser la tronçonneuse quand on est fatigué, quand on a bu de l'alcool ou pris un médicament apte à modifier l'acuité visuelle, la précision des gestes ou l'état général.
3 Toujours porter l'équipement de protection. Voir au chapitre "Protection personnelle".
Ne pas utiliser de tronçonneuse modifiée et non conforme au modèle original.
5 La tronçonneuse doit être en parfait état de marche. Suivre dans le mode d'emploi les instructions de maintenance et d'entretien. Certaines réparations doivent être confiées à un spécialiste. Voir au chapitre "Maintenance".
Démarrage et arrêt
Attention!
- Ne jamais démarrer la tronçonneuse sans avoir monté guide-chaine, chaîne et carter d'embrayage. L'embrayage risquerait de se détacher et d'occasionner un accident corporel. Veiller à être soi-même dans une position stable et à ce que la chaîne ne puisse entraîner en contact avec quoi que ce soit. Veiller à ce qu'aucune personne non autorisée ne se trouve dans la zone de travail.


Demarrage
Saisir la poignée avant avec
la main gauche. Saisir la poignée arrière avec la main droite. Enferrer le bouton de verrouillage avec le pouce droit, puis enforcer le bouton de démarrage.
Arrêt
La tronçonneuse s'arrête lorsqu'vous lâchez le bouton de démarrage (Note: La correction ne peut pas être appliquée car "qu'vous" ne forme pas un mot clair et ne peut être reconstruit avec certitude.)

Un équipement de coupe défectueux ou une chaîne mal affûtée augmentent le risque de rebond, de même qu'une mauvaise combinaison chaîne et guide-chaîne!

Methodes de travail

Ce chapitre concerne les mesures élémentaires de sécurité en utilisant la tronconneuse. Mais aucune information ne peut remplacer l'expérience et le savoir-faire de l'opérateur. En cas de doute ou de difficulté, il est recommandé de s'adresser à un spécialiste, soit le concessionnaire habituel, soit l'atelier le plus proche, soit enfin un professionnel experimenté (consulter l'annulaire du téléphone à la rubrique exploitation forestière). EVITER TOUT EMPLOYE DE LA TRONCONNEUSE POUR LEQUEL ON NE SE SENT PAS SUFFISAMMENT QUALIFIÉ!
Important
1 Il faut être averti du phénomène de rebond et savoir comment l'éviter pour pouvoir utiliser la tronçonneuse (voir au chapitre "Mesures anti-rebond"). 2 Il faut connaître également les deux procédés : scier avec la partie supérieure ou la partie inférieure de la chaîne (voir "Mesures anti-rebond").
1 Règles élémentaires de sécurité
1 Bien observer la zone de travail : S'assurer que personne, témoin ou animal, ne risque de générer l'usage de la tronconneuse. S'assurer que personne n'est à portée de la chaîne et ne risque d'être blessé par une branche tombée.

Observer les règles ci-dessus et néanmoins s'assurer de pouvoir appeler à l'aide en cas d'accident.
2 Ne pas travailler par mauvais temps : brume, averse, vent violent, gel, etc. Travailler dans ces conditions est cause de fatigue et peut même être dangereux : sol glissant, chute d'arbre ou de branchage, etc. 3 Attention en élagant les petites branches, et éviter de scier un bosquet (ou plusieurs branchettes en même temps). Les branchettes peuvent se coincer dans la chaîne, être projetées vers l'opérateur et causer des blessures.

4 S'assurer que le passage est libre et solide, sans obstacles gênants : trous, pierres, branchages, fondrières, etc. Attention en travaillant en terrain incliné.

5 Attention en coupant des branches ou des troncs pliés. Une fois coupé, la branche ou le tronc peut revenir d'un seul coup en position initiale, ce qui est dangereux surtout si l'entaille ou l'opérateur se trouvent mal placés. La tronçonneuse peut être soumise à un choc violent et l'opérateur perdre l'équilibre, d'où risque de blessure grave.


Pour se déplacer, bloquer la chaîne avec le frein de chaîne et couper le moteur. Porter la machine avec le guide-chaîne tourné vers l'arrière. Pour un transport prolongé, utiliser le fourreau du guide-chaîne.

Généralités
- Scier de haut en bas = méthode "tirée".
- Scier de bas en haut = méthode "poussée".
Voir au chapitre "Mesures anti-rebond" pour le risque de rebond avec la méthode "poussée".
Terminologie
Sciage = consiste à scier le tronc de part en part.
Élagage = consiste à ébrancher un arbre abattu.
Fendage = consiste à casser la pièce avant que l'entaille ne soit terminée.
Avant toute opération de sciage, observer les cinq facteurs suivants :
1 Ne pas coincer l'outil de coupe dans l'entaille. 2 Ne pas casser la pièce en cours de sciage. 3 La chaîne ne doit rien rencontrer pendant ou après le sciage. 4 Y a-t-il risque de rebond ? 5 L'aspect du site et du terrain peut-il générer votre position de travail?




Si la chaîne se coince ou si la pièce à scier se casse, cela dépend de deux raisons : le support de la pièce avant et après le sciage, et l'état de tension de la pièce.
On peut en général éviter les inconvénients indiqués ci-dessus en effectuant le sciage en deux temps, soit de haut en bas, soit de bas en haut. Il suffit de neutraliser la tendance naturelle de la pièce à coincer la chaîne ou à se fendre.

Si la chaîne se coince dans l'entaille. COUPER LE MOTEUR! Ne pas tirer sur la tronçonneuse pour la dégager. Vous risqueriez de vous blesser à la chaîne au moment où la tronçonneuse se décoince. Utiliser un bras de levier pour décoincer la tronçonneuse.
La liste suivante indique comment se tirer des situations les plus couramment rencontrées par les utilisateurs de tronçonneuses.
Coupage
Le tronc est couché à même le sol. Il n'y a aucune risque de coincement de la chaîne ou défendage de la pièce acier. Par contre, il existe un risque important que la chaîne rencontre le sol après le sciage.
Couper le tronc de haut en bas. Faire attention à la fin de l'entaille pour éviter que la chaîne rencontre le sol. Maintenir le plein gaz et se préparer à toute éventualité.
A Si c'est possible (s'il est possible de retourner le tronc), interrompre de préférence l'entaille aux 2/3 du tronc. B Retourner le tronc de manière à pouvoir couper le 1/3 restant de haut en bas.






Instructions de sécurité
2 Risque important de fendage si une extrémité du tronc repose sur un support.
A Commencer par couper le tronc par en bas (environ 1/3 du diamètre). B Finir la coupe par en haut, de manière que les deux traits de coupe se rencontrent.




Les deux extrémités du tronc reposent sur des supports. Risque important de coinçage de la chaîne.
A Commencer par couper le tronc par en dessus (environ 1/3 du diamètre). B Finir la coupe par en dessous, de manière que les traits de coupe rencontrent.




Ébranchage
Lors de l'ébranchage de branches épaisses, procédez comme pour le sciage ordinaire.
Couper les branches gênantes par étapes, une par une.

3 Techniques d'abattage

L'abattage d'un arbre demande beaucoup d'expérience. Un utiliseur non experimenté ne doit pas effectuer d'abattages. EVITEZ TOUT UTILISATION QUE VOUS NÉ MAITRISER PAR SUFFISAMENT!
La distance de sécurité à respecter entre un arbre à abattre et le lieu de travail doit être d'au moins 2 1/2 fois la hauteur de l'arbre. Veiller à ce que personne ne se trouve dans la "zone dangereuse" avant et pendant l'abattage.

Le but consiste à placer l'arbre abattu de façon à faciliter l'ébranchage et le tronçonnage ultérieurs du tronc. Chercher à sécuriser au maximum la position de travail.
Il faut avant tout éviter que l'arbre abattu ne s'accroche à un autre arbre. Décrocher un arbre coincé peut s'avérer très dangereux (voir point 4 de ce chapitre).
Après avoir décidé du sens d'abattage de l'arbre, estimer dans quel sens l'arbre aura tendance à s'abattre naturellement.
Les facteurs déterminants sont :
L'inclinaison
La courbure
La direction du vent
La densité des branches
Le poids éventuel de la neige

Cette estimation peut amener à juger plus prudent de laisser l'arbre tomber dans son sens naturel de chute, soit que le sens d'abattage décidé par avantsoit impossible à obtenir, soit qu'il constitue un danger.
Un autre facteur important (qui n'a aucune incidence sur le sens d'abattage mais concerne votre sécurité), c'est la présence éventuelle de branches mortes ou cassées qui, en se détachant, risquent de vous blesser.
C Émondage des branches basses et voie de retraite
Éliminer les branches basses en procédant de haut en bas et en ayant le tronc entre soi et la tronçonneuse. Jamais plus haut que les épaules.

Dégager les taillis autour du tronc et éviter les obstacles tels que pierres, branches cassées, fondrières, etc. S'assurer d'une voie de retraite facile au moment de la chute. Celle-ci doit'être à 135_. derrière la chute prévue.

D'abattage
L'abattage consiste en deux opérations : l'encoche et le trait de chute. Commencer par l'entaille supérieure (en diagonale) du côté de la chute. Puis bien regarder dans l'entaille inférieure (horizontal) pendant son exécution, pour ne pas scier trop profondément. Les deux entailles formeront une charnière large et peu profonde, dont l'angle doit être suffisamment ouvert pour guider la chute aussi exactement que possible.
Entaille d'abattage
Pour effectuer l'encoche, commencer par l'entaille supérieure. Se tenir à droite de l'arbre, méthode "tirée".
Puis effectuer l'entaille inférieure de façon que les deux entailles correspondent.
L'encoche doit faire 1/4 du diamètre du tronc et l'angle entre les deux entailles doit être d'au moins
La ligne de jointure entre les deux entailles s'appelle LE TRAIT DE CHUTE. Celui-ci doit être horizontal et former un angle de avec la sens de chute prévu.

Entaille d'abattage
Cette entaille se fait de l'autre côté du tronc et doit être parfaitement horizontale. Se tenir à gauche de l'arbre, méthode "tirée".
Placer l'entaille d'abattage à environ 3-5 cm au-dessus du TRAIT DE CHUTE horizontal.
Scier à plein gaz et enfoncer graduellement le guide-chaine dans le tronc. Attention si l'arbre se déplace dans le sens opposé au sens de chute besoin. Introduire un COIN ou un BRAS DE LEVIER dans L'ENTAILLE D'ABATTAGE dès que la profondeur le permet.
L'ENTAILLE D'ABATTAGE doit s'achever parallèlement au TRAIT DE CHUTE, l'espace entre les deux étant 1/10 du diamètre du tronc. La partie non coupée s'appelle la CHARNIÈRE.
Celle-ci guide le tronc dans la direction de chute.
Ce contrôle fonctionne mal si la charnière est trop petite ou coupée trop profondément ou si les deux entailles ne coïncident pas.
Une fois les deux entailles terminées, l'arbre tombe de lui-même ou à l'aide d'un coin ou d'un bras de levier.

Instructions de sécurité
Nous recommandons une longueur de guide-chaine supérieure au diamètre du tronc, ce qui simplifie que l'ENTAILLE d'abattage et le TRAIT DE CHUTE s'effectuent avec un simple trait de scie (voir aux "Caractéristiques techniques" les longueurs de guide-chaine recommandées pour chaque modèle de tronçonneuse).

Il existe des méthodes d'abattage pour les troncs dont le diamètre est supérieur à la longueur du guide-chaine. Ces méthodes comportent un risque important que la zone de rebond du guide-chaine entre en contact avec un objet.


Il est déconseilé aux utilisateurs non expérimentés d'abattre un arbre dont le diamètre du tronc est supérieur à la longueur du guide-chaine!
É Branchage

La plupart des rebonds se produit lors de l'ébranchage ! Bien observer où se trouve la zone de rebond du guide-chaine en coupant des branches piées !
Se tenir bien d'aplomb, et à gauche du tronc. Se tenir aussi proche que possible de la tronçonneuse pour maîtriser. Si possible, prendre appui sur le tronc avec le corps de la tronçonneuse.

Ne se déplacer qu'avec le tronc entre soi et la tronçonneuse.
Voir au chapitre "Méthodes de travail"
4 Solution à un abattage raté = grand risque d'accident
Le plus sûr est d'utiliser un treuil.
A Monté sur tracteur B Mobile

B sciage d'un arbre ou d'une branche plies préparations :
a. Appréciez la direction dans laquelle l'arbre ou la branche est susceptible de se détendre, ainsi que son POINT DE RUPTURE (= en cas de flexion supplémentaire).

b. S'assurer de pouvoir agir SANS RISQUE et si une solution est possible. En cas de difficulté, le plus sûr moyen est de ne pas se servir de la tronçonneuse et d'avoir recours à un treuil.
Règle générale :
a. Se place de façon à ne pas se trouver dans le trajet en cas de détente. b. Faire plusieurs entailles à proximité du POINT DE RUPTURE en nombre et de profondeur suffisants pour provoquer la RUPTURE AU POINT susdit.
Ne jamais scier de part en part un arbre ou une branche pies!




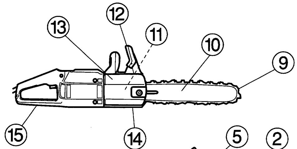
Quels sont les composants?
- Poignée arrête
- Blocage de gachette d'accélérateur
- Gachette d'accélérateur
- Aérateur
- Poignée avant
- Réservoir d'huile pour chaîne
- Repère de niveau d'huile
- Galet
- Chaine
- Guide-châîne
- Frein de chaîne dissimulé par le carter d'embrayage
- Arceau protecteur
- Carter d'entraînement
- Pare-chaine, destiné à bloquer la chaine si elle saute ou se casse
- Protège-chaine, destiné à protéger la main droite si la chaine saute ou se casse
- Clé universelle
- Fourreau protecteur du guide-chaine
- Mode d'emploi
Montage du guide-chaine et de la chaîne

Utiliser des gants pour toute manipulation de la chaîne.

S'assurer que le frein de chaîne ne soit pas déclenché, en amenant l'arceau de protection contre l'étrier de la poignée avant.
Déposer les écrous du guide-chaine et le carter d'embrayage.



Positionner le guide-chaine sur les goujons et l'amener à sa position la plus reculée. Placer la chaine sur le pignon d'entrainement et sur le guide-chaine. Commencer par le dessus du guide. S'assurer que la face tranchante des dents est vers l'avant sur le dessus du guide.

Monter le carter d'embrayage et centrer le goujon de tension de la chaine dans l'ouverture du guide. S'assurer que les maillons d'entraînement s'engagent dans le pignon et que la chaine est correctement placée dans la gorge du guide. Serrer les écrous du guide à la main. Tendre la chaine en tournant à droite la vis de tension de chaine à l'aide de la clé universelle. Tendre la chaine jusqu'à ce qu'elle ne pende plus sous le guide.





Tendre la chaine tout en mettant le guide à l'horizontal. La chaine est tendue correctement quand elle ne pend plus sous le guide et peut être avancée à la main sans difficulté. Serrer les écrous du guide à l'aide de la clé universelle tout en maintenant le guide horizontal. La tension d'une chaine neuve doit être vérifiée fréquemment pendant son rodage. Vérifier régulièrement. Une tension correcte est synonyme de bonne capacité de coupe et de longue durée de vie.

Huile pour chaîne
La chaîne est lubrifiée automatiquement. Nous recommandons l'usage d'huile spéciale (huile pour chaîne), pourvue de bonnes qualités d'adhérence. - Dans les pays où cette huile ne se trouve pas, utiliser de l'huile pour boîtes de vitesses EP90. - Ne jamais utiliser d'huile usagée, ce qui endommagerait la pompe à huile, le guide-chaîne et la chaîne. - Il est important d'utiliser une huile adaptée à la température de l'air (viscosité appropriée). - Les températures inférieures à 0°C rendent certaines huiles visqueuses. Ceci peut causer une surcharge de la pompe à huile, endommageant les pièces de la pompe. - Contacter votre réparateur pour vous faire conseiller sur le choix d'une huile.


Attention!
- Ne jamais démarrer la tronçonneuse sans avoir monté guide-chaine, chaîne et carter d'embrayage. L'embrayage risquerait de se détacher et d'occasionner un accident corporel.
- Veiller à être soi-même dans une position stable et à ce que la chaîne ne puisse entrer en contact avec quoi que ce soit. Veiller à ce qu'aucune personne non autorisée ne se trouve dans la zone de travail.
Démarrage
Saisir la poignée avant avec la main gauche. Saisir la poignée arrête avec la main droite. Enfoncer le bouton de verrouillage avec le pouce droit, puis enfoncer le bouton de démarrage.
Arrêt
La tronçonneuse s'arrête lorsque vous lâchez le bouton de démarrage

Embrayage à glissement 1400w/1600w
La tronconenne est équipée d'un embrayage à glissement. Celui-ci protège également la tronconenne contre
la surcharge.
Si la chaîne s'arrête le moteur tournant, la tronçonneuse est surcharge. Réduire la pression de coupe jusqu'à ce que la chaîne recommence à tourner. Si le guide-chaîne est coincé, arrêté
la tronçonneuse
immédiatement, puis le retirer.
Si la chaîne s'arrête
souvent au cours du travail,
La chaîne pourrait être
émoussée. Affûter la chaîne.

Tronçonneuse 1600W
La tronçonneuse 1600W est équipée d'une protection de sur-charge électronique. Quand celle-ci est activée, la machine s'arrête. Pour la remise en route, lâcher la commande de démarrage. S'assurer que la chaîne n'est pas coincée et tourne librement. Encenser à nouveau la commande de démarrage.
Entretien de la tronconneuse.
Nous donnons ci-dessous quelques conseils de caractère général. Pour des questions plus précises, contacter votre réparateur.
ATTENTION! Toujours retirer le courant avant d'effectuer tout montage ou ajustage sur la tronçonneuse.
Entretien quotidien
- S'assurer que le flexible et le contact ne sont pas abimés et ne comportent pas de fissures. Un flexible défaillant et abimé doit toujours être remplacé par un nouveau.
- Nettoyer le frein de chaîne et s'assurer qu'il fonctionne de manière sûre. Vérifier que le capteur de chaîne est intact. Le replacer si nécessaire.
- Vérifier les entrées d'air.
- Vérifier que le guide-chaine et la chaîne sont correctement alimentés en huile.
- Retourner le guide-chaine tous les jours pour répartir l'usure. S'assurer que l'orifice de lubrification ne soit pas obturé. Nettoyer la gorge.
- Aiguiser la chaîne et contrôler la tension et l'état général. Vérifier que le pignon d'entraînement de la chaîne ne soit pas anormalement usé et le remplacer si nécessaire.
- Limer les bavures éventuelles sur les côtés du guide-chaîne.
Embrayage à glissement
Il peut s'avérer nécessaire de nettoyer l'embrayage à glissement si la machine est utilisée pendant une longue durée. Contacter votre réparateur si un nettoyage de l'embrayage est nécessaire.

Caractéristiques techniques
| Mateur | 1400 | 1600 | |
| Tension | Volts AC | 230 | 230 |
| Puisance nominale | Watts | 1400 | 1600 |
| Embrayage à glissement | Oui | Oui | |
| Electronique démarriageouple | Oui | ||
| réglage de régime | Oui | ||
| protection contre la surcharge | Oui | ||
| Poids | |||
| Sans le guide-châne et la chaîne | kg | 3,7 | 3,7 |
| Avec le guide-châne 13" et la chaîne | kg | 4,5 | 4,5 |
| Graissage de la chaîne | |||
| Volume de réservoir d'huile | l | 0,1 | 0,1 |
| Pompe à huile | Auto | Auto | |
| Châne/guide-châne | |||
| Longueur standard de guide-châne | pouces/cm | 13/33 | 13/33 |
| Longueurs de guide-châne recommendées | pouces/cm | 13/33 | 13/33 |
| pouces/cm | 15/38 | 15/38 | |
| Longueur de coupe effective | pouces/cm | 13/32,5 | 13/32,5 |
| pouces/cm | 15/39,0 | 15/39,0 | |
| Vitesse de chaîne sans charge | m/sec | 15 | 15 |
| Vitesse de chaîne à puissance nominale | m/sec | 11(8t) | 15(8t) |
| Pas de chaîne | pouces | .325 | .325 |
| Epaisleur de mailon d'entrainment | mm | 1,3 | 1,3 |
| Nombre de maillons d'entrainment | 13" / 15" | 56/64 | 56/64 |
| Niveau sonores (voir remarque 1) | |||
| Niveau de pression sonorequivalent mesuré à l'oreille de l'opérateur suivant les normes internationales en vigueur, | dB(A) | 89 | 87,5 |
| Niveau de puissance sonorequivalent (voir remarque) | |||
| mesuré suivant les normes internationales en vigueur, | dB(A) | 100,5 | 100 |
| Niveau de vibration | |||
| Poignée avant, | m/s2 | 2,1 | 4,5 |
| Poignée arrêté, | m/s2 | 2,7 | 7,0 |
| Remarque 1: Le niveau sonorequivalent, conforme à ISO 7182 ou ISO 9207, correspond à la somme d'énergie relative au temps pour les niveaux sonores à différents régimes pendant les durées suivantes : 1/3 ralenti, 1/3 pleine charge, 1/3 plein régime. | |||
| La tronçonneuse est équipée d'une isolation double et a été fabriquée conformément aux dispositions de sécurité européennes en vigueur (CENELEC Publ. HD 400.3) | |||
| Constructeur: | Electrolux Motor A/S, N-1701 Sarpsborg | ||
| inch | inch/mm | inch/mm | 1/5 | 0 | 0 | 0 | inch/mm | inch/cm/dl |
| H-30 .325 | .050/1,3 | 11/64" / 4,5 | 85° | 30° | 10° | .025/0,65 | 13/33/56 15/38/64 | |
| S30 | ||||||||
| Oregon 95VP |
Notice Facile