LS-P2 - Enregistreur audio OLYMPUS - Notice d'utilisation et mode d'emploi gratuit
Retrouvez gratuitement la notice de l'appareil LS-P2 OLYMPUS au format PDF.
| Intitulé | Description |
|---|---|
| Type de produit | Enregistreur audio numérique |
| Caractéristiques techniques principales | Enregistrement PCM jusqu'à 96 kHz/24 bits, format WAV et MP3, microphone stéréo intégré |
| Alimentation électrique | Batterie lithium-ion rechargeable |
| Dimensions approximatives | 113 x 42 x 16 mm |
| Poids | 150 g |
| Compatibilités | Compatible avec Windows et Mac OS, prise en charge des cartes microSD |
| Type de batterie | Batterie lithium-ion |
| Tension | 3,7 V |
| Fonctions principales | Enregistrement audio, lecture, fonction de suppression de bruit, interface USB |
| Entretien et nettoyage | Nettoyer avec un chiffon doux, éviter l'humidité excessive |
| Pièces détachées et réparabilité | Réparabilité limitée, pièces disponibles via le service après-vente |
| Sécurité | Ne pas exposer à des températures extrêmes, éviter les chocs physiques |
| Informations générales utiles | Idéal pour les musiciens, journalistes et enregistrements de terrain |
FOIRE AUX QUESTIONS - LS-P2 OLYMPUS
Questions des utilisateurs sur LS-P2 OLYMPUS
0 question sur cet appareil. Repondez a celles que vous connaissez ou posez la votre.
Poser une nouvelle question sur cet appareil
Téléchargez la notice de votre Enregistreur audio au format PDF gratuitement ! Retrouvez votre notice LS-P2 - OLYMPUS et reprennez votre appareil électronique en main. Sur cette page sont publiés tous les documents nécessaires à l'utilisation de votre appareil LS-P2 de la marque OLYMPUS.
MODE D'EMPLOI LS-P2 OLYMPUS
Utilisation avec un ordinateur
Autres informations
Enregistreur PCM linéaire
MANUEL UTILISATEUR
Nous vous remercions d'avoir acheté un enregistreur vocal numérique Olympus. Lisez ce mode d'emploi pour utiliser l'appareil correctement et en toute sécurité. Conservez ces instructions à disposition pour toute consultation ultérieure.
Nous vous recommandons de tester la fonction d'enregistrement et le volume avant l'utilisation pour obtenir de bons enregistements.
Identification des éléments. 4
Enregistreur 4. Écran 5.
1 Préparatifs
Installation 8
Insertion de la pile 9 Mise sous tension de l'enregistreur. 10 Sélection des paramètres de la pile 10 Configuration de la date et de l'heure 11 Configuration du guide vocal 11
Recharge de la pile 12
Recharge de la pile par connexion au port USB d'un ordinateur 12 Recharge de la pile par connexion à un adaptateur secteur USB (modèle A514, en option) 13 Piles 15
Insertion/Retrait d'une carte microSD 17
Insertion d'une carte microSD 17 Retrait d'une carte microSD 18
Limitation des manipulations accidentelles. 19
Configuration du mode VERROUILAGE 19 Sortie du mode VERROUILAGE 19
Mise hors tension de l'enregistreur 20
Fonctions de l'écran [Home] 21 Sélection du mode 21 Sélection des dossiers et des fichiers 22 Fixation de l'adaptateur trépied (TR2). 24
2 Enregistrement
Enregistrement 26
Procédure d'enregistrement basique 26
Pause/Reprise de l'enregistrement 29
Vérification rapide de l'enregistrement. 29
Suivi pendant l'enregistrement 30
Sélection du mode enregistrement automatique
[Rec Scene] 31
Changement de la situation d'enregistrement 31
Enregistrement avec un microphone externe. 34
Enregistrement à partir d'un autre périphérique
connecté 35
Enregistrement du son d'un autre périhérique avec cet enregistreur. 35
Enregistrement du son de cet enregistreur avec un autre périphérique 35
3 Lecture
Lecture 36
Procédure de lecture basique 36 Avance rapide 37 Retour rapide 37 Passage au début du fichier 38 Lecture avec les écouteurs 39
Modification de la vitesse de lecture 41
Lecture ABC répétée 42
Marques d'index / Marques temporaires 45
Insertion d'une marque d'index/temporaire 45 Suppression d'une marque d'index/temporaire 45
Fonction Recherche par calendrier 46
Suppression de fichiers/dossiers 47
Suppression de fichiers 47 Suppression d'un dossier 48
4 Menu
Configuration des éléments du menu 49
Fonctions basiques 49
Menu fichier [Menu fichier] 52
Extraction des segments parlés d'un fichier vocal [Détec vocale] 52 Protection contre les suppressions accidentelles de fichier [Fichier bloqué] 52 Tri des fichiers [Trier par] 52 Déplacement/Copie des fichiers [Action/copie] 53 Division d'un fichier [Fichier divisé] 53 Effacement partiel de fichiers [Effac. Partiel] 53 Réduction d'un fichier [Réduction] 53
Augmentation du niveau de volume global d'un chyfier [Normaliser] 53
Affiche des informations concernant un fichier ou un dossier [Propriétés] 54
Menu d'enregistrement [Menu enregist.] 55
Sélection de la sensibilité d'enregistrement [Niveau Rec].....55 Réduction de la coupure [Limiteur] 56 Sélection du mode d'enregistrement [Mode Enreg.] 56 Sélection de la directivité du microphone [Mic Zoom] 57 Réduction du bruit pendant l'enregistrement [Filtre] 58 Sélection du système à trois microphones [Sélection Mic]......58 Fonction d'enregistrement activé par la voix [VCVA] 59 Fonction d'enregistrement par synchronisation vocale [V-Sync. Rec] 60
Menu de lecture [Menu Lecture] 62
Coupure des segments non verbaux pendant la lecture [Lecture vocale] 62
Réduction du bruit pendant la lecture [Annuler bruit] 62
Réglage des segments à faible volume pendant la lecture [BalancierVocal] 63
Sélection des modes de lecture [Mode lecture] 63
Modification de la qualité sonore de la musique [Equaliser]...64
Configuration d'un espace 65
Menu LCD/Son [Menu LCD/Son] 66
Configuration du rétroéclairage [Rétro éclairé] 66
Réglage du contraste [Contraste] 66
Configuration du voyant LED [LED] 66
Activation/Désactivation des sons [Signal] 66
Modification de la langue d'affichage [Langage (Lang)] 66
Configuration du guide vocal [Guide Vocal] 67
Lecture automatique des débuts de fichiers [Lecture intro]...67
Choix de la sortie du haut-parleur [Hauts-parleurs] 67
Menu de l'appareil [Menu système] 68
Choix d’un support d’enregistrement [Sélect mémoire] 68
Configuration du mode d'économie d'énergie [Eco Energie]...68
Configuration de la pile utilisée [Pile] 68
Configuration de la date et de l'heure [Heure et Date] 69
Connexion d'un appareil Bluetooth [Bluetooth] 70
Configuration de la connexion USB [RéglagesUSB] 70
Réinitialisation des paramètres par défaut [MAJ réglage]....70
Formatage d'un support d'enregistrement [Format] 71
Vérifions les informations du support d'enregistrement [Membre Info.]. 71
Vérification des informations de l'enregistreur vocal [Info Système] 71
Extraction des segments parlés d'un
fichier vocal [Détection vocale] 72
Déplacement/Copie des fichiers [Action/copie] 74
Division d'un fichier [fichier divisé] 77
Effacement partiel de fichiers [Effac. Partiel] 79
Réduction d'un fichier [Réduction] 81
Configuration du guide vocal [Guide Vocal] 83
Configuration de la connexion USB [RéglagesUSB] 85
Formatage d'un support d'enregistrement [Format].....87
5 Fonction bluetooth
Avant d'utiliser la fonction Bluetooth 89
Connexion/déconnexion d'un appareil Bluetooth 92
Connexion d'un appareil Bluetooth 92 Interruption de la connexion avec un appareil Bluetooth 96
6 Utilisation avec un ordinateur
Environnement d'exploitation de l'ordinateur 97
Connexion/Déconnexion de l'ordinateur 99
Connexion de l'enregistreur vocal à un ordinateur 99
Déconnexion de l'enregistreur vocal d'un ordinateur 101
Chargement de fichiers sur un ordinateur. 102
7 Autres informations
Liste des messages d'alarme. 104 Dépannage 106 Entretien 110 Accessoires (en option) 111 Droits d'auteur et marques commerciales. 112 Précautions de sécurité 114 Specifications. 119
Remarque
Indiquez les précautions et les opérations qui doivent être absolument évitées pendant l'utilisation de l'enregistreur vocal.
Conseil
Indique des informations et des conseils utiles pour tirer pleinement parti de votre enregistreur vocal.

Indique des pages de référence contenant des détails ou des informations connexes.
Enregistreur

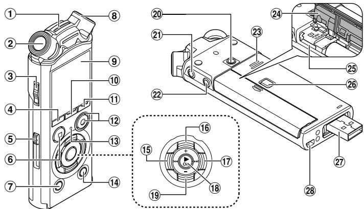
① Microphone central intégré ② Microphone stéréo intégré (G) ③ Commutateur POWER/HOLD ④ Touche F1 ⑤ Glissière du connecteur USB ⑥ Touche STOP (■) ⑦ Touche ERASE ⑧ Microphone stéréo intégré (D) ⑨ Écran ⑩ Touche MENU/SCENE ⑪ Touche F2 ⑫ Touche REC (enregistrement)(●), Voyant d'enregistrement (LED) Voyant PEAK (LED), Voyant LED (LED) ⑬ Touche LIST ⑭ Touche ⑮ Touche +
⑰ Touche ▶ 18 Touche OK 19 Touche - 20 Troude fixation de la pince 21 Prise des écouteurs (C) 22 Prise microphone ( ) Haut-parleur intégré Couvercle du logement de la pile/carte 25 Fente pour carte microSD Bouton de verrouillage du couvercle du logement de la pile/carte ⑦ Connecteur USB/couvercle du connecteur USB (rétractable) Orifice de la sangle
- Modèle LS-P2 uniquement
Mode d'enregistreur
Écran de la liste des dossiers
Écran de la liste des fichiers
Écran du fichier
Témoin du support d'enregistrement
Mémoire interne
[ ] : Carte microSD
2 Nom du dossier ouvert 3 Témoin Bluetooth* Témoin de charge de la pile 5 Nom du dossier 6 Affichage de touche de fonction 7 Nom du fichier
[ ] : Témoin de lecture
[ ] : Témoin de détection vocale
[O] : Témoin de fichier bloqué
Témoin de dossier Témoin d'état de l'enregistrement vocal
[□] Témoin d'enregistrement [11]: Témoin de pause d'enregistrement [ ] : Témoin d'arrêt
[▶]: Témoin de lecture [+] : Témoin de lecture rapide [+] : Témoin de lecture lente [ ] : Témoin d'avance rapide [4]: Témoin de retourne
10 Durée d'enregistrement écoulée (en mode enregistrement), durée de lecture écoulée (en mode lecture) 1 Sonomètre (en mode enregistrement), barre de progression de la lecture (en mode lecture) Témoin de réglage silencieux des haut-parleurs (C) Longueur du fichier Durée maximale d'enregistrement restante
- Modèle LS-P2 uniquement
Écran de laitance
Si le dossier contient des fichiers et des dossiers
Écran de laitance
Si le dossier contient uniquement des fichiers
Écran du fichier

Témoin du support d'enregistrement [In]: Mémoire interne [D]: Carte microSD 2 Nom du dossier ouvert 3 Témoin Bluetooth* 4 Témoin de charge de la pile 5 Nom du dossier ou du fichier 6 Affichage de touche de fonction 7 Nom du fichier
Témoin de lecture
Témoin de fichier bloqué
Témoin du fichier 9 Durée de lecture écoulée
Témoin d'état de l'enregistrement vocal
Témoin d'arrêt [■]: Témoin de lecture [▶]: Témoin de lecture rapide [++]: Témoin de lecture lente [-]: Témoin d'avance rapide [→]: Témoin de retour rapide [←]
Titre du morceau 12 Nom Auteur 13 Nom de l'album Témoin de réglage silencieux des haut-parleurs (C) Longueur du fichier 16 Barre de progression de la lecture
- Modèle LS-P2 uniquement
Conseil
Lorsque l'enregistreur vocal est en mode d'arrêt, appuyez sur la touche STOP (■) pour afficher les paramètres [Heure et Date] et [Valide] (durée maximale d'enregistrement restante). Si le paramètre date/heure n'est pas configuré correctement, voir « Configuration de la date et de l'heure [Heure et Date] » (P.69).

Heure et date actuelles Témoin du support d'enregistrement Témoin du format d'enregistrement Zone d'affichage des témoins
[8] Annuler bruit [B] Balancier Vocal [O] : Aléatoire [ ] : Zone lecture [ ] : Régister
[CON]: Lecture vocale
[VC1]VCVA
[ ] : Filtre [2]: Mic Zoom [1]: Sélection Mic*
Témoin de charge de la pile
[Ni-MH] [Alcaline]
Durée maximale d'enregistrement restante Espace libre disponible
- Modèle LS-P2 uniquement
Installation
Déballez l'enregistreur vocal et procédez comme suit pour le préparer à fonctionner.

Sélection des paramètres de la pile
Sélectionnez les paramètres de la pile correspondant à la pile insérée. Sélectionnez les paramètres pour une pile rechargeable Nickel-métal Hybride ou les paramètres pour une pile alcaline.
Configuration de la date et de l'heure
Réglez l'horloge de l'enregistreur vocal afin de pouvoir gérer les fichiers.
Configuration du guide vocal*
- Modèle LS-P2 uniquement
Insertion de la pile
Avant d'utiliser l'enregistreur vocal, insérez la pile dans le compartiment de la pile de l'enregistreur vocal.
Appuyez sur le bouton de verrouillage du couvercle du logement de la pile/carte et maintenez-le enfoncé, puis faites coulisser le couvercle du logement de la pile/carte pour l'ouvrir.

Fermez le couvercle du logement de la pile/carte en le faisant glisser complètement.

2 Insérez une pile AAA en veillant à placer correctement ses bornes positive et négative.

Insérez d'abord la borne négative de la pile
Mise sous tension de l'enregistreur
Lorsque l'enregistreur vocal est éteint, faites glisser le commutateur POWER/HOLD dans le sens de la flèche.
commutateur POWER/HOLD
Sélection des paramètres de la pile
1 Appuyez sur la touche ^+ ou - pour sélectionner le type de pile insérée.


[Ni-mh]
A sélectionner si vous avez inséré une pile rechargeable Nickel-métal Hybride Olympus (modèle BR404).
À sélectionner si vous avez inséré une pile alcaline.
2 Appuyez sur la touche OK pour sauvegarder le paramètre.
![OLYMPUS LS-P2 - [Ni-mh] - 1](/content/2025/12/6404/images/99006e39169b8696beb7139fa337e941a759c8bb1d599e8302cf132cff91d43e.jpg)
Remarque
Voir « Configuration de la date et de l'heure » si une heure avec un curseur clignotant sur l'heure s'affiche à l'écran après avoir paramétré la pile (§3 P. 11).
Configuration de la date et de l'heure
1 Appuyez sur la touche ou l<4 pour sélectionner l'élément à régler.


Appuyez sur la touche + ou - pour modifier le nombre.


Pour modifier un autre élément, appuyez sur la touche ou afin de déplacer le curseur, puis appuyez sur la touche + ou - pour modifier le nombre.
Appuyez sur la touche OK pour sauvegarder le paramètre.
Conseil
- Vous pouvez appuyer sur la touche OK pendant le réglage pour enregistrer les éléments déjà réglés et démarrer l'horloge.
- Vous pouvez modifier le format d'affichage de l'horloge. Reportez-vous à la section « Configuration de la date et de l'heure [Heure et Date] » (P.69) pour en savoir plus à propos de cette procédure.
Configuration du guide vocal
Cette fonction crée des annonces vocales selon l'utilisation en cours de l'enregistreur.

Modèle LS-P2 uniquement
1 Appuyez sur la touche ^+ ou - pour sélectionner [On] ou [Off].


[On]
Le guide vocal est activé.
[Off]
Le guide vocal est désactivé.
2 Appuyez sur la touche OK pour sauvegarder le paramètre.

Conseil
- Les paramètres [On/Off], [Vitesse] et [Volume] peuvent être définis pour le guide vocal. Reportez-vous à la section « Configuration du guide vocal [Guide Vocal] » (P.83) pour en savoir plus à propos de cette procédure.
Remarque
- Avant de recharger la pile, insérez la pile rechargeable fournie et paramétrez (Pile) sur [Ni-MH]. (€* P. 9, P. 10).
1 Démarrez l'ordinateur. 2 Faites coulisser la glissière du connecteur USB dans le sens de la flèche.

Le connecteur USB apparaît. Il est contenu à l'intérieur de l'enregistreur vocal.
3 Vérifiez que l'enregistreur vocal est arrêté puis branchez le connecteur USB sur le port USB d'un ordinateur.

Appuyez sur la touche OK pour recharger la pile.


- Si [Pile] (P.68) est paramétrée sur [Ni-MH], le message [Touche OK pour recharger] apparaît à l'écran. Appuyez sur la touche OK lorsque ce message clignote. La recharge est terminée lorsque le témoin de charge de la pile affiche [G].

Durée de recharge : environ 3 heures*
- Estimation de la durée nécessaire à la recharge complète d'une pile entière déchargée, à température ambiante.
La durée de recharge dépend de la charge restante et de l'état de la pile.
Remarque
- Avant de brancher l'adaptateur secteur, sélectionnez [Adaptateur AC] comme paramètre de connexion USB (P.85).
- Avant de recharger la pile, insérez la pile rechargeable fournie et paramétrez (Pile) sur [Ni-MH] (P.9, P.10). Utilisez uniquement le modèle d'adaptateur secteur USB fourni (A514) par Olympus pour brancher l'enregistreur via une prise USB.
1 Branchez l'enregistreur vocal sur la prise USB de l'adaptateur secteur.
Dans la prise USB de l'adaptateur secteur (modèle A514)


3 Appuyez sur la touche OK pour recharger.


- Si [Pile] (P.68) est paramétré sur [Ni-MH], le message [Touche OK pour recharger] apparait à l'écran. Appuyez sur la touche OK lorsque ce message clignote.
4 La recharge est terminée lorsque [fin de charge] s'affiche.
Recharge avec l'enregistre éteint
![OLYMPUS LS-P2 - La recharge est terminée lorsque [fin de charge] s'affiche. - 1](/content/2025/12/6404/images/eca41605496d7e3a22665046a9558429d3a4b29c1b5111a14f3e4a1c1ab56cfb.jpg)
Recharge avec l'enregistreur allumé
Affiché lorsque la pile est entièrement rechargée
![OLYMPUS LS-P2 - La recharge est terminée lorsque [fin de charge] s'affiche. - 2](/content/2025/12/6404/images/f3958a6552abe93eb817030b52aec2bc53c4470f438344ee98dbbf3f3b3a5e9f.jpg)
Remarque
- Ne tentez jamais de recharger une pile alcaline, une pile au lithium ou d'autres piles contenant des éléments primaires. Si le liquide contenu dans la pile fuit ou surchauffe, cela peut provoquer des défaillances au niveau de l'enregistreur.
- L'ordinateur doit être allumé pour pouvoir recharger la pile à l'aide du connecteur USB. Il est impossible de recharger la pile si l'ordinateur est éteint, en veille, en veille prolongée ou en mode arrêt automatique.
- N'utilisez pas de hub USB lorsque vous rechargez la pile en la connectant à un ordinateur.
- Il est impossible de recharger la pile si le témoin [C]1 ou [B]2 clignote. Rechargez la pile à température ambiante (entre 5 °C et 35 °C).
1 Température ambiente trop basse. 2 [H] Température ambiente trop élevée.
Si la pile dure relativement moins longtemps qu’avant alors qu’elle est complètement rechargée, remplacez-la par une nouvelle. - Insérez correctement le connecteur USB. Le fonctionnement ne sera pas normal si la connexion n’est pas correctement établie. Utilisez uniquement une rallonge USB Olympus compatible. Le fonctionnement n’est pas garanti si le cable d’un autre fabricant est utilisé. Utilisez uniquement la rallonge USB Olympus avec l’enregistreur vocal et n’utilisez jamais ce dernier si un produit d’un autre fabricant est utilisé. Pour recharger la pile avec le paramètre [RéglagesUSB] défini sur [Composite], définissez [Connecteur USB] sur [Option] avant de recharger. Si vous sélectionnez [Adaptateur AC] pour [Connecteur USB], vous pouvez recharger la pile (P.85).
Témoin de charge de la pile
À mesure que la pile se décharge, le témoin indique le niveau de charge restant:

- [indique que le niveau de charge restant de la pile est faible. Rechargez-la ou remplacez-la par une nouvelle. Si la pile est déchargée, et [ ] et [Alim. faible] s'affichent et l'appareil cesse de fonctionner.
Piles rechargeables
Lisez attentivement les informations ci-dessous si vous utilisez une pile rechargeable Nickel-metal Hybride (modèle BR404).
Décharge
Les piles rechargeables se déchargent naturellement lorsqu'elles ne sont pas utilisées. Veillez à recharger la pile avant utilisation.
Température de fonctionnement
Les piles rechargeables sont des produits basés sur des éléments chimiques. Leurs performances peuvent varier même dans la plage de température de fonctionnement recommandée. Cette variation est normale.
Plages de température recommandées
Pendant l'utilisation : 0 à 42 °C
Pendant la recharge:5 à 35°C
En cas de stockage à long terme :
-20 à 30 °C
L'utilisation d'une pile rechargeable au-delà des plages de température recommandées peut en réduire les performances ou la durée de vie. Si vous n'utilisez pas l'enregistreur vocal pendant une longue période, retirez la pile rechargeable de l'appareil afin d'empêcher une fuite du liquide ou la formation de rouille.
Remarque
- En raison de la nature des piles rechargeables Nickel-métal Hybride, il est possible que les nouvelles piles ou les piles non utilisées pendant une longue période (un mois ou plus) ne se rechargent pas complètement. Une pile se recharge complètement après avoir été rechargée et déchargée jusqu'à trois fois.
- Éliminez toujours les piles rechargeables conformément aux lois en vigueur. Avant de jeter des piles rechargeables non déchargées, veillez à empêcher des courts-circuits (isolez les bornes avec du ruban adhésif, par exemple).
- Lors de l'achat d'une pile rechargeable, CHOISSEZ toujours une pile rechargeable Nickel-métal Hybride (modèle BR404). Le fonctionnement n'est pas garanti si la pile d'un autre fabricant est utilisée. La durée d'utilisation continue d'une pile rechargeable Nickel-métal Hybride est plus courte lorsque elle a été utilisée fréquemment (P. 121).
Précautions concernant la pile
N'utilisez pas de piles au manganèse dans l'enregistreur vocal. - Eteignez toujours l'enregistreur vocal lorsque vous remplacez la pile. Les fichiers peuvent être endommagés si la pile est retirée alors que l'enregistreur était en cours d'enregistrement ou alors qu'une opération, telle que la suppression de fichiers, était en cours. Si les piles sont retirées de l'enregistreur vocal, l'écran [Heure et date] s'affiche automatiquement lorsque l'enregistreur s'allume. Reportez-vous à la section « Configuration de la date et de l'heure [Heure et Date] » (P.69) pour en savoir plus à propos de cette procédure. - Si vous n'utilisez pas l'enregistreur vocal pendant une longue période, retirez toujours la pile avant de ranger l'appareil. Lorsque vous remplacez la pile, utilisez une pile alcaline sèche AAA ou une pile rechargeable Nickel-métal Hybride Olympus (modèle BR404). - Même si le témoin de charge de la pile est [], la lecture à un certain volume avec le haut-parleur intégré peut causer une chute de la tension de sortie et ainsi provoquer la réinitialisation de l'enregistreur vocal. Dans ce cas, réduisez le volume. - Le témoin de charge de la pile peut différer selon que la mémoire interne ou une carte microSD est utilisée. La durée d'utilisation continue de la pile est plus courte si vous utilisez une carte microSD (P.121). La durée d'utilisation continue varie en fonction des performances de la pile utilisée (P. 121).
L'écran [Pile] s'affiche automatiquement une fois que vous avez remplacé la pile. Vous pouvez également utiliser une commande de menu pour afficher cet écran et paramétrer la pile (e8 P.68).
Soucieux de pouvoir éliminer les piles sans polluer, Olympus a conclu en Allemagne un contrat avec GRS (système collectif de reprise des piles et des batteries).
L'enregistreur vocal possède sa propre mémoire interne et prend également en charge les cartes microSD (microSD, microSDHC), vendues séparément.
Insertion d'une carte microsd
Une fois l'enregistreur en mode d'arrêt, ouvre le couvercle du logement de la pile/carte.

- La fente pour carte microSD se situe dans le logement de la pile/carte.
Insérez une carte microSD et vérifiez qu'elle est correctement insérée, tel qu'illustré ci-dessous.

- Insérez la carte microSD face à la fente, tout droit.
- Insérer la carte microSD de manière incorrecte ou de biais peut endommager sa surface de contact ou la bloquer dans la fente.
- Si vous n'insérez pas entièrement la carte microSD (jusqu'à ce qu'elle soit enclenchée et émette un clique), celle-ci ne enregistrera pas les données.
3 Fermez le couvercle du logement de la pile/carte. L'écran de sélection des supports d'enregistrement s'affiche une fois qu'une carte microSD a été insérée. Pour enregistrer sur une carte microSD, appuyez sur la touche + ou - et sélectionnez [Oui].


Appuyez sur la touche OK pour sauvegarder le paramètre.
Conseil
- Vous pouvez également sélectionner la mémoire interne en tant que support d'enregistrement (P.68).
Remarque
- Il est possible que l'enregistreur vocal ne puisse pas reconnaître une carte microSD formatée (initialisée) pour un ordinateur ou un autre périphérique. Avant d'utiliser une carte microSD, initialisez-la sur l'enregistreur vocal (P.87).
Retrait d'une carte microsd
1 Une fois l'enregistreur en mode d'arrêt, ouvre le couvercle du logement de la pile/carte.

2 Retirez la carte microSD en la poussant légèrement et en la laissant sortir lentement.

- La carte microSD sort légèrement de la fente et s'arrête. Retirez la carte microSD du bout des doigts.
- Si [Déverrouillage mémoire] a été paramétré pour [Carte microSD], [Mémoire Interne sélectionnée] s'affiche à l'écran une fois que la carte microSD a été retirée.
3 Fermez le couvercle du logement de la pile/carte.
Remarque
- Les cartes microSD peuvent sortir vivement si vous appuyez dessus ou si vous retirez votre doigt trop rapidement après avoir inséré une carte.
- En fonction du type de carte et du fabricant, certaines cartes microSD et microSDHC ne sont pas entièrement compatibles avec l'enregistreur vocal et ne sont pas correctement reconnues.
- Pour obtenir la liste des cartes microSD dont Olympus a vérifié la compatibilité, contactez notre assistance clientèle via le site :
http://www.olympusamerica.com (Amérique)
http://www.olympus-europa.com (Europe, Océanie)
Notez que notre assistance clientèle fournit des informations concernant les fabricants et les types de cartes microSD dont Olympus a vérifié le fonctionnement mais ne peut garantir leurs performances.
Notez également qu’il est possible que certaines cartes ne soient pas reconnues correctement par l’enregistreur vocal si le fabricant apporte des modifications aux spécifications des cartes.
- Si vous utilisez une carte microSD, lisez les instructions de fonctionnement fournies avec la carte.
- Si une carte microSD n'est pas reconnue par l'enregistreur vocal, essayez de retirer la carte puis de l'insérer de nouveau.
- La vitesse de traitement peut être lente pour certains types de carte microSD. La performance de traitement peut également être diminuée par l'écriture ou la suppression fréquente de données sur la carte microSD. Dans ce cas, réinitialisez la carte (P. 87).
Limitation des manipulations accidentelles
Paramétrer l'enregistreur vocal en mode VERROUILAGE permet de conserver le fonctionnement en cours et de verrouiller les touches. Le mode VERROUILAGE est une fonction gratuite pour empêcher toute pression involontaire sur les touches lorsque l'enregistreur vocal est transporté dans un sac ou une poche. Cette fonction est également utile pour empêcher l'enregistreur vocal d'être arrêté accidentellement pendant un enregistrement.
1 Faites glisser le commutateur power/hold en position [HOLD].
![OLYMPUS LS-P2 - Faites glisser le commutateur power/hold en position [HOLD]. - 1](/content/2025/12/6404/images/344fdcba5343f4e453d48a6aef79fec9ea7643716a12304ea9e542adad68fa93.jpg)
- [HOLD] s'affiche à l'écran, l'enregistreur passe en mode VERROUILAGE.
![OLYMPUS LS-P2 - Faites glisser le commutateur power/hold en position [HOLD]. - 2](/content/2025/12/6404/images/4f36fe4a90a8c06099118d24a4ed17c16d23863b9857ee3a6ecc23d2a7227c3a.jpg)
Remarque
- Si vous appuyez sur une touche alors que l'enregistreur vocal est en mode VERROUILAGE, [Hold] s'affiche à l'écran pendant 2 secondes, mais rien ne se produit.
- Paramètre le mode VERROUILLAGE pendant la lecture (ou l'enregistrement) poursuit la lecture (ou l'enregistrement) et empêche toute autre action. (L'enregistreur s'arrête lorsque la lecture est terminée ou l'enregistrement s'arrête lorsqu'il n'y a plus de mémoire disponible.)
Les données existantes, réglages des modes et de l'horloge sont sauvegardés lorsque l'enregistreur est éteint.
Faites glisser le commutateur POWER/HOLD dans le sens de la flèche pendant au moins une demi-seconde.

- La position au moment de l'arrêt de la lecture est enregistrée.
Conseil
- Éteindre l'enregistreur vocal lorsqu'il n'est pas utilisé permet de minimiser la consommation de la pile.
Mode d'économie d'énergie
Lorsque l'enregistreur vocal est arrêté au moins 10 minutes après avoir été allumé (paramètre par défaut), l'écran disparaît et l'enregistreur passe automatiquement en mode d'économie d'énergie (P.68).
Pour quitter le mode d'économie d'énergie, appuyez sur une touche.
Sélection du mode
En plus de sa fonction d'enregistrement, l'enregistreur vocal dispose également de fonctions de lecteur de musique. Choisissez l'application souhaitée en sélectionnant l'un des modes de l'enregistreur vocal.
Lorsque l'enregistreur vocal est en mode d'arrêt, appuyez sur la touche F1 (HOME) pour afficher l'écran [Home].


Quand [enregistreur] est sélectionné :
![OLYMPUS LS-P2 - Quand [enregistreur] est sélectionné : - 1](/content/2025/12/6404/images/424775176b50bd11bf21ed69c7559eae50a7f78c67f03e862dd4e32167ccd75d.jpg)
L'enregistreur vocal passe en mode [Enregistreur]. Le son peut être enregistré avec le microphone intégré. Les fichiers audio enregistrés avec le microphone intégré peuvent également êtrelus (P.26, P.36).
2 Appuyez sur la touche l ou I<4 pour sélectionner le mode souhaité.
![OLYMPUS LS-P2 - Quand [enregistreur] est sélectionné : - 2](/content/2025/12/6404/images/99114273cd3f18e5a8f7254768d8a2fb8410c7cbfd1e826cfed27b8f447785d6.jpg)
![OLYMPUS LS-P2 - Quand [enregistreur] est sélectionné : - 3](/content/2025/12/6404/images/aa3bc846fa110360e18ba379010858b88766df6488d37ff4601c3f5e0172d30c.jpg)
Quand [musique] est sélectionné :
![OLYMPUS LS-P2 - Quand [musique] est sélectionné : - 1](/content/2025/12/6404/images/793cbb8353da9baecb71a5d64784eb7aaede9f9c09c20c87e5bf2ce1e828975f.jpg)
L'enregistreur vocal passe en mode [Musique]. Ce mode vous permet de lire les fichiers musicaux transférés sur l'enregistreur vocal (P.36).
3 Appuyez sur la touche OK.
![OLYMPUS LS-P2 - Quand [musique] est sélectionné : - 2](/content/2025/12/6404/images/9207641a30bb39e396ba63795e4d59a137a884aa53ffee17313be3e5562e682f.jpg)
![OLYMPUS LS-P2 - Quand [musique] est sélectionné : - 3](/content/2025/12/6404/images/00ce6964cfa5a969979c9d329c0b1cfd12c396b2bd221814e19dff78d3998497.jpg)
Quand [rech. calendrier] est sélectionné :
![OLYMPUS LS-P2 - Quand [rech. calendrier] est sélectionné : - 1](/content/2025/12/6404/images/fc1f2adbcc128ee8f09945f89dc1ead78ae52376bb11c651951fb67c2257fbff.jpg)
L'enregistreur vocal passe en mode [Rech. calendrier]. Dans ce mode, vous pouvez rechercher des fichiers par leur date d'enregistrement (€ 50 P.46).
Sélection des dossiers et des fichiers
Vous pouvez sélectionner un dossier différent lorsque l'enregistreur vocal est en mode d'arrêt ou lorsqu'il lit un fichier. Reportez-vous à la section « Chargement de fichiers sur un ordinateur » (P. 102) pour obtenir une description de l'arborescence des dossiers de l'enregistreur vocal.

Chaque pression sur la touche OK ouvre le dossier ou le fichier sélectionné dans la liste et continue ainsi au niveau suivant (inférieur) de l'arborescence. Lorsqu'une liste est affichée, vous pouvez réaliser la même action en appuyant sur la touche I.
Chaque pression sur la touche LIST permet de revenir au niveau précédent (supérieur) de l'arborescence. Lorsqu'une liste est affichée, vous pouvez réaliser la même action en appuyant sur la touche I
Conseil
Lorsque vous parcourez l'arborescence des dossiers, vous pouvez appuyer sur la touche LIST et la maintenir enfoncée pour revenir à l'écran du fichier.
Touche + ou -
Permet de sélectionner un dossier ou un fichier.
Écran [home]
Permet de sélectionner le mode de
L'enregistreur vocal (P.21).
Écran de la liste
Affiche les dossiers et fichiers enregistrés dans l'enregistreur vocal.
Appuyez sur la touche F2 (DOSSIER)
pour passer à l'écran de la liste du dossier suivant.
Écran du fichier
Affiche les informations du fichier sélectionné.
Fixation de l'adaptateur trépied (TR2)
Utilisez cet adaptateur lorsque vous fixez l'enregistreur vocal à un trépied. Grâce à lui, le diamètre du trou à l'arrière de l'enregistreur vocal passe à 6,35 mm.
Fixez l'adaptateur au trou de montage de la fixation à l'arrière de l'enregistreur vocal.

2 Tournez la vis de l'adaptateur avec vos doigts pour fixer ce dernier à l'enregistreur vocal.

Remarque
- N'utilisez pas de clé ou d'autres outils pour serrer fortement la fixation de l'adaptateur à l'enregistreur vocal. Vous risqueriez d'endommager ce dernier.
Précautions de manipulation pour l'adaptateur
Lorsque vous utilisez l'enregistreur vocal fixé à un trépied, tenez-le. Si vous appuyez fortement sur une touche pendant que l'enregistreur vocal n'est pas tenu, ce dernier pourrait être endommagé.

Si vous ne pouvez pas détacher la vis de fixation du trépied et l'adaptateur, détachez la partie représentée sur la figure à l'aide d'une clé M10 ou d'un autre outil.

Remarque
- Ne serrez pas trop fort lorsque vous fixez l'adaptateur sur l'enregistreur vocal. Vous risqueriez de l'endommager.
- Ne fixez pas une autre pince que celle fournie. L'enregistreur vocal pourrait être endommagé. Lorsque vous fixez un trépied, tournez la vis du trépied et non l'enregistreur vocal. Retirez la pince fournie avant d'ouvrir le couvercle du logement de la pile/carte.
Enregistrement
L'enregistreur vocal possède cinq dossiers ([a] à [e]) dans lesquels les fichiers enregistrés peuvent être sauvegardés. Ces dossiers sont très pratiques pour trier les enregistements par catégorie (professionnel et loisir, par exemple).
Procédure d'enregistrement basique
1 Sur l'écran [Home], appuyez sur la touche ▶l ou l ▲ et sélectionnez [Enregistreur] (P. 21). 2 Appuyez sur la touche OK. 3 Appuyez sur la touche + ou - pour sélectionner le dossier d'enregistrement souhaité.


- Chaque nouveau fichier audio enregistré est sauvegardé dans le dossier sélectionné.
4 Appuyez sur la touche REC (●) pour préparer l'enregistrement.


Sonomètre (change selon les paramètres de volume de l'enregistrement et de la fonction d'enregistrement) Lévoyant d'enregistrement clignote.
5 Dirigez le microphone intégré en direction du son à enregistrer.


6 Appuyez sur la touche ▶ ou ▲ pour régler le niveau d'enregistrement.


Niveau d'enregistrement
Remarque
- Réglez le niveau d'enregistrement afin qu'il ne dépasse pas le maximum du sonomètre, tout en vérifiant ce dernier. Si le maximum du sonomètre est dépassé, le voyant d'enregistrement PEAK s'allume et le son enregistré pourrait être déformé.


Durée d'enregistrement écoulée Durée maximale d'enregistrement restante
Le voyant d'enregistrement s'allume. - Si vous enregistrez du contenu simple au début, la fonction [Lecture intro] permet de le rechercher facilement ultérieurement (uniquement pour le modèle LS-P2) (e ^37 P. 67).


Longueur du fichier
Les fichiers audio enregistrés avec l'enregistreur vocal sont automatiquement nommés selon le format suivant.

Date d'enregistrement
Indique l’année, le mois et le jour où l’enregistrement a été effectué.
Numéro de fichier
Les numéros de fichier attribués sont consécutifs, sans lien avec le déplacement des fichiers.
③ Extension
Extension de fichier indiquant le format dans lequel le fichier a été enregistré par l'enregistreur vocal.
- Format PCM linéaire: «. WAV »
- Format MP3: «. MP3 »
Conseil
- [Mode Enregist.] doit être défini lorsque l'enregistreur vocal est arrêté (EPA 56).
- Appuyer sur la touche REC (●) vous permet de commencer à enregistrer même en mode [Musique] ou [Rech. calendrier]. Vous pouvez ainsi réagir rapidement si vous souhaitez enregistrer immédiatement. Le fichier enregistré sera sauvegardé dans [Dossier A].
Remarque
Pour éviter que le début de l'enregistrement ne soit coupé, commencez à enregistrer seulement lorsque le voyant d'enregistrement est allumé ou lorsque le témoin de mode est affiché à l'écran. - Lorsque le temps d'enregistrement restant possible est de 60 secondes, le voyant LED commence à clignoter. Il clignote rapidement au fur et à mesure que le temps restant diminue (à 30 et 10 secondes restantes). Lorsque [Dossier plein] s'affiche, il n'est plus possible d'enregistrer. Pour pouvoir enregistrer, vous devez sélectionner un autre dossier ou supprimer des fichiers inutiles (C8 P.47). - Si [Mémoire pleine] s'affiche, la mémoire de l'enregistreur vocal est saturée. Vous devez supprimer des fichiers inutiles afin d'avoir de la place pour enregistrer (§3 P. 47). - Si vous utilisez une carte microSD dans l'enregistreur vocal, vérifiez qu'un paramètre de support d'enregistrement ([Mémoire interne] ou [Carte microSD]) a bien été sélectionné (E 5 P.68). - Les performances peuvent être réduites lorsque des données ont été écrites et supprimées du support d'enregistrement à maintes reprises. Dans ce cas, veuillez initialiser le support d'enregistrement (P.87).
Enregistrement de fichiers de plus de 2 go au format PCM linéaire
Lorsque vous enregistrez un fichier au format PCM linéaire, l'enregistrement se poursuit même lorsque la taille du fichier dépasse 2 Go.
- Les données sont divisées et sauvegardées en fichiers distincts de 2 Go maximum. Les fichiers sont traités comme des fichiers multiples lors de la lecture. L'enregistrement cesse lorsque 200 fichiers de plus de 2 Go ont été enregistrés.
1 Appuyez sur la touche REC (●) pendant l'enregistrement.


L'enregistrement est mis en pause et le message [PAUSE] clignote à l'écran. - L'enregistrement est automatiquement arrêté si la pause dure au moins 60 minutes.
2 Appuyez de nouveau sur la touche REC (●) pendant que l'enregistrement est en pause.
L'enregistrement reprend à partir du moment où il avait été mis en pause.
1 Appuyez sur la touche OK pendant l'enregistrement.
- L'enregistrement s'arrête et le fichier qui vient d'être enregistré est lu.
Paramètres d'enregistrement
Divers paramètres d'enregistrement vous permettent d'adapter l'enregistrement aux différentes conditions.
| [Niveau Rec] (€3 P. 55) | Régle la sensibilité d'enregistrement. |
| [Limitsur] (€3 P. 56) | Définit la méthode de correction selon l'entrée de son pendant l'enregistrement. |
| [Mode Enregist.] (€3 P. 56) | Régle la qualité sonore de l'enregistrement. |
| [MicZoom] (€3 P. 57) | Régle la directivité du microphone stéreo intégré. |
| [Filtre] (€3 P. 58) | Réduit le bourdonnement des équipements tels que la climatisation ou les rétroprojecteurs. |
| [Sélection Mic]* (€3 P. 58) | Allume ou éteint le microphone central intégré. |
| [VCVA] (€3 P. 59) | Régle le niveau d'activation pour un enregistrement activé par la voix (VCVA). |
| [V-Sync. Rec] (€3 P. 60) | Régle le niveau d'activation pour un enregistrement par synchronisation vocale (VCVA). |
| [Rec Scène] (€3 P. 31) | Utilisé pour sélectionner l'un des multiples modèles pré-enregistres de paramétrage d'enregistrement. Une fois séLECTIONné, chaque modèle applique divers paramétres adaptations à un lieu ou à une condition d'enregistrement particulier, en une seule action. |
- Modèle LS-P2 uniquement
Suivi pendant l'enregistrement
Vous pouvez suivre l'enregistrement que vous effectuez en l'écoutant avec des écouteurs branchés sur la prise des écouteurs de l'enregistreur vocal (O). Utilisez la touche + ou - pour régler le volume de contrôle d'enregistrement.
- Les écouteurs sont disponibles en option.
1 Branchez les écouteurs sur la prise des écouteurs de l'enregistreur vocal (c)

- Modifier le volume n'affectera pas la sensibilité d'enregistrement.
Remarque
Pour éviter que le son ne soit trop fort dans les écouteurs, régalez le volume à [00] avant de les brancher. Pour éviter les effets Larsen, ne placez pas les écouteurs près du microphone pendant un enregistrement.
Changement de la situation d'enregistrement
L'enregistreur vocal possède des modèles pré-enregistrés de paramètres optimisés adaptés à diverses situations d'enregistrement telles que des cours ou des dictées. Lorsque vous sélectionnez l'un de ces modèles, vous régalez, en une seule action, de nombreux paramètres recommandés pour votre situation d'enregistrement.
| [Lecture] | LECTURE | Convient à l'enregistrement avec le microphone orienté dans une direction spécifique, par exemple dans une grande salle où l'orateur est éloigné. |
| [Conférence] | CONF | Convient à l'enregistrement de conférences dans un grand espace et d'autres sons sur une vaste zone. |
| [Rencontre] | MEETING | Convient à l'enregistrement de rencontres organises dans un petit espace et d'autres sons relativement proches. |
| [DICTée] | DICT | Convient à l'enregistrement de votre propre voix et d'autres sons extrémement proches. |
| [Musique] | MUSIC | Convient à l'enregistrement audio réaliste avec une clarté exceptionnelle, comme l'enregistrement en direct d'un concert en interieur ou en plein air. |
| [DNS] | DNS | Pour les logiciels de reconnaissance vocale. |
1 Quand l'enregistreur est en mode d'arrêt, appuyez sur la touche MENU/SCENE et maintenez-la enfoncée.


2 Appuyez sur la touche + ou - pour sélectionner la situation d'enregistrement souhaitation.


Conseil
- Appuyez sur la touche ▶ pour afficher les paramètres du modèle sélectionné. Appuyez sur la touche ▶ pour revenir à l'écran [Rec Scène].
Appuyez sur la touche OK pour sauvegarder le paramètre. Appuyez sur la touche STOP (■) pour quitter l'écran de sélection.

Rec Scène
- Appuyez sur la touche STOP (■) quand l'enregistreur est arrêté pour vérifier la signification des témoins des paramètres.
Remarque
- Les paramètres du menu d'enregistrement ne peuvent pas être modifiés si [Rec Scène] a été sélectionné. Pour utiliser ces fonctions, vous devez voir le paramètre [Rec Scène].
Paramètres [rec scène] pré-enregistrés
[Lecture]
| [Niveau Rec] | [Haut] |
| [Mode Enregist.] | [MP3 128 kbps] |
| [Mic Zoom] | [+6] |
| [Filtre] | [0n] |
| [Sélection Mic]* | [Mic central Off] |
| [VCVA] | [Off] |
| [V-Sync. Rec] | [Off] |
[Conference]
| [Niveau Rec] | [Auto] |
| [Mode Enregist.] | [MP3 128 kbps] |
| [Mic Zoom] | [Off] |
| [Filtre] | [On] |
| [Sélection Mic]* | [Mic central Off] |
| [VCVA] | [Off] |
| [V-Sync. Rec] | [Off] |
[Rencontre]
| [Niveau Rec] | [méodium] |
| [Mode Enregist.] | [MP3 128 kbps] |
| [Mic Zoom] | [Off] |
| [Filtre] | [Off] |
| [Sélection Mic]* | [Mic central Off] |
| [VCVA] | [Off] |
| [V-Sync. Rec] | [Off] |
Automatique [rec scène]
[Dictée]
| [Niveau Rec] | [Bas] |
| [Mode Enregist.] | [MP3 128 kbps] |
| [Mic Zoom] | [Off] |
| [Filtre] | [On] |
| [Sélection Mic]* | [Mic central Off] |
| [VCVA] | [Off] |
| [V-Sync. Rec] | [Off] |
[Musique]
| [Niveau Rec] | [Bas] |
| [Mode Enregist.] | [PCM:44,1 kHz/16 bit] |
| [Mic Zoom] | [Off] |
| [Filtre] | [Off] |
| [Sélection Mic]* | [Mic central On] |
| [VCVA] | [Off] |
| [V-Sync. Rec] | [Off] |
[DNS]
| [Niveau Rec] | [Bas] |
| [Mode Enregist.] | [MP3 128 kbps] |
| [Mic Zoom] | [Off] |
| [Filtre] | [Off] |
| [Sélection Mic]* | [Mic central Off] |
| [VCVA] | [Off] |
| [V-Sync. Rec] | [Off] |
- Modèle LS-P2 uniquement
Enregistrement avec un microphone externe
Voulez enregistrer une entrée audio à l'aide d'un microphone externe ou d'un autre périphérique branché sur la prise microphone de l'enregistreur vocal (9). Ne branchez pas ou ne débranchez pas les périphériques des prises de l'enregistreur vocal pendant un enregistrement.

Remarque
- Les microphones avec alimentation séparée peuvent être utilisés.
- Si [Mode Enregist.] est défini sur stéréo, l'enregistrement avec un microphone mono externe s'effectue uniquement sur le canal gauche (€5 P. 56).
- Si [Mode Enregist.] est défini sur mono, seule l'entrée du canal gauche du microphone est enregistrée lorsqu'un microphone stéréo externe est utilisé (E P. 56).
2 Démarrez l'enregistrement.
- Reportez-vous à la section « Enregistrement » (« P. 26 ») pour en savoir plus sur l'enregistrement.
Conseil
Reportez-vous à la section « Accessoires (en option) » (P. 111) pour savoir quels sont les microphones externes compatibles.
Enregistrement du son d'un autre périphérique avec cet enregistreur
Le son peut être enregistré en connectant la prise de sortie audio (prise des écouteurs) de l'autre appareil et la prise microphone (d) de l'enregistreur à l'aide du câble de connexion KA333 (en option) pour copie.
Dans la prise de sortie audio d'un autre périphérique
Dans la prise microphone
Remarque
- Si vous enregistrez depuis un périphérique externe connecté, effectuez un test d'enregistrement et réglez le niveau de sortie du périphérique connecté.
Enregistrement du son de cet enregistreur avec un autre périphérique
Le son de cet enregistreur peut être enregistré sur un autre périphérique en connectant la prise d'entrée audio (prise microphone) de l'autre périphérique et la prise des écouteurs de cet enregistreur à l'aide du câble de connexion KA333 (en option).

Remarque
- Quand vous régalez les paramètres de qualité sonore ayant trait à la lecture sur l'enregistreur vocal, les signaux de sortie audio envoyés par la prise des écouteurs changent également (cP.62 à P.64).
Lecture
Outre les fichiers enregistrés avec l'enregistreur vocal, vous pouvez également lire des fichiers au format WAV et MP3 transférés depuis un ordinateur.
Procédure de lecture basique
1 Choisissez le fichier à lire depuis le dossier dans lequel il est placé (P. 22).
Conseil
- Les fichiers sont sauvegardés dans les dossiers suivants.
Fichiers enregistrés avec le microphone intégré :
Dossiers [Enregistreur] (dossiers à enregistrer)
Fichiers musicaux transférés depuis un ordinateur :
Dossier [Musique]
2 Appuyez sur la touche OK pour lancer la lecture.


Témoin du fichier / Nom du fichier Durée de lecture écoulée / Longueur de fichier Barre de progression de la lecture
3 Appuyez sur la touche + ou - pour régler le volume au niveau souhaité.


Le volume peut être réglé entre [00] et [30]. Plus le nombre est élevé, plus le son est fort. - Si le volume est trop élevé, un écran d'avertissement peut apparaître.
4 Appuyez sur la touche STOP (■) pour arrêter la lecture.
- Le fichier en cours de lecture s'arrête immédiatement. La fonction de reprise enregistre automatiquement la position d'arrêt de la lecture dans la mémoire. La position est mémorisée même si l'enregistreur vocal est éteint. Lors du prochain rallumage, il sera possible de reprendre la lecture à partir de la position d'arrêt stockée dans la mémoire.
Avance rapide
Avance rapide pendant que l'enregistreur est en mode d'arrêt
1 Quand l'enregistreur est en mode d'arrêt, appuyez sur la touche et maintenez-la enfoncée.
Relâchez la touche ▶ pour arrêter l'avance rapide. Appuyez sur la touche OK pour commencer la lecture à l'endroit où s'arrête le curseur de lecture.
1 Appuyez sur la touche i et maintenez-la enfoncée pendant la lecture.
- Quand vous relâchez la touche▶I, la lecture débute à l'endroit où s'arrête le curseur de lecture. Si une marque d'index ou une marque temporaire du fichier est atteinte, l'avance rapide s'arrête à la marque (e.g. 45). L'avance rapide s'arrête lorsque la fin du fichier est atteinte. Appuyez de nouveau sur la touche et maintenez-la enfoncée pour avancer rapidement au début du fichier suivant.
Retour rapide
Retour rapide pendant que l'enregistreur est en mode d'arrêt
1 Quand l'enregistreur est en mode d'arrêt, appuyez sur la touche « et maintenez-la enfoncée.
- Relâchez la touche I pour arrêter le retour rapide. Appuyez sur la touche OK pour commencer la lecture à l'endroit où s'arrête le curseur de lecture.
1 Appuyez sur la touche | et maintenez-la enfoncée pendant la lecture.
- Quand vous relâchez la touche l'la lecture débute à l'endroit où s'arrête le curseur de lecture. Si une marque d'index ou une marque temporaire du fichier est atteinte, le retour rapide s'arrête à la marque (P.45). Le retour rapide s'arrête lorsque le début du fichier est atteint. Appuyez de nouveau sur la touche et maintenez-la enfoncée pour revenir rapidement à la fin du fichier précédent.
Passage au début du fichier

Passage au début du fichier suivant
1 Appuyez sur la touche ▶ lorsque l'enregistreur vocal est en mode d'arrêt ou pendant la lecture.
Passage au début du fichier ouvert
1 Appuyez sur la touche ▲ lorsque l'enregistreur vocal est en mode d'arrêt ou pendant la lecture.
Passage au début du fichier précédent
1 Appuyez sur la touche ! lorsque la progression de la lecture se trouve au début du fichier.
Pour passer au début du fichier précédent pendant la lecture, appuyez deux fois de suite sur la touche I
Remarque
- Pendant la lecture, si une marque d'index ou une marque-temporaire est atteinte lors du passage au début d'un fichier, la lecture débute à partir de la position de la marque. La marque est ignorée si vous passez au début d'un fichier alors que l'enregistreur vocal est en mode d'arrêt (P.45).
- Si un paramètre différent de [Saut fichier] est défini pour [espace], la lecture débute une fois que la période définie a été passée (avance ou retour). La lecture ne saute pas au début du fichier.
Paramètres de lecture
Vous pouvez choisir différentes méthodes de lecture de fichier adaptées aux différentes prévalences et applications.
| [Lecture vocale]1(«P. 62) | Lit uniquement les segments vocaux d'un fisier audio enregistré. |
| [Annuler bruit]1(«P. 62) | Permet de很好地 discerner les voies enregistrées assouddies par le bruit d'un projeteur ou d'un son similaire. |
| [BalancierVocal]1(«P. 63) | Compense les segments à faible volume des fichiers audio enregistrés, pendant la lecture. |
| [Mode lecture] («P. 63) | Permet deCHOISIR un mode de lecture parmi les trois proposés. |
| [Equaliser]2(«P. 64) | Régle la qualité sonore. |
| [espace] («P. 65) | Fonction pratique pour déplacer rapidément la position du curseur de lecture et lire de courts segments plusieurs fois. |
1 Cette fonction n'est active qu'en mode [Enregistreur]. 2 Fonction active uniquement en mode [Musique].
Lecture avec les écouteurs
Vous pouvez brancher les écouteurs sur la prise des écouteurs de l'enregistreur vocal (O) afin d'écouter la lecture.
- Les écouteurs sont disponibles en option.
1 Branchez les écouteurs sur la prise des écouteurs de l'enregistreur vocal (C).

2 Appuyez sur la touche OK pour lancer la lecture.
Conseil
Lorsque les écouteurs sont branchés, le haut-parleur n'émet aucun son.
Remarque
Pour éviter que le son ne soit trop fort dans les écouteurs, réglez le volume à [00] avant de les brancher. - Ne réglez pas le volume trop fort lorsque vous écoutez avec les écouteurs car cela pourrait provoquer des problèmes ou des pertes d'audition. - Si le volume est trop élevé, un écran d'avertissement peut apparaître.
Fichiers musicaux
S'il est impossible de dire un fichier musical transféré sur l'enregistreur vocal, vérifie que la plage des valeurs de fréquence d'échantillonnage, du débit binaire et du nombre de bits est respectée. Le tableau ci-dessous présente les combinaisons de fréquence d'échantillonnage, de nombre de bits et de débit binaire pris en charge par l'enregistreur vocal pour la lecture de fichiers musicaux.
| Format de fichier | Fréquence d'échantillonnage | Nombre de bits/Débit binaire |
| Format WAV | 44,1 kHz,48 kHz,88,2 kHz,96,0 kHz | 16 bits,24 bits |
| Format MP3 | MPEG 1 Layer 3:32 kHz,44,1 kHz,48 kHzMPEG 2 Layer 3:16 kHz,22,05 kHz,24 kHz | 8 à 320 kbps |
- Les fichiers MP3 avec des débits binaires variables (débits binaires convertis en un seul fichier de manière variable) peuvent ne pas être lus correctement.
- Les fichiers WAV au format PCM linéaire sont les seuls fichiers WAV pouvant être lus par l'enregistreur vocal. La lecture d'autres fichiers WAV n'est pas prise en charge.
- Même si le format du fichier est compatible pour la lecture sur cet enregistreur, ce dernier ne prend pas en charge tous les encodages.
Modifier la vitesse de lecture est pratique pour accélérer les conférences ou pour ralentir les éléments difficiles à comprendre lorsque vous apprenez une langue.


Conseil
- Si vous modifiez la vitesse de lecture, les fonctions de lecture telles que arrêt de la lecture, passage au début d'un fichier et insertion de marques d'index/temporaires sont les mêmes que lors d'une lecture normale.


Remarque
- Les paramètres modifiés de la vitesse de lecture sont sauvegardés même après l'arrêt de l'enregistreur vocal.
- La modification de la vitesse de lecture décharge la pile plus rapidement.
- La vitesse de lecture peut être définie entre [Lecture x0,5] et [Lecture x3,5], par incréments de 0,1.
- Appuyez sur la touche + pour augmenter la vitesse de lecture ; appuyez sur la touche - pour la réduire. Pour revenir à la vitesse de lecture normale, réglez le paramètre sur [Lecture x1,0].
Limitations en lecture rapide
En fonction de leur fréquence d'échantillonnage et de leur débit binaire, il est possible que certains fichiers ne soient pas lus correctement. Dans ce cas, vous devez réduire la vitesse de lecture.
3 Appuyez sur la touche OK pour sauvegarder le paramètre.

L'enregistrement vocal dispose d'une fonction qui vous permet de répéter la lecture d'une portion (segment) du fichier actuellement lu. Outre la fonction de répétition A-B disponible sur les modèles précédents, ce modèle permet également de modifier le segment à répéter, pendant la lecture répétée.
Lecture ABC répétée

① Sélectionnez le point de départ (A) de la lecture repétée, pendant la lecture. ② La lecture repétée débute lorsque le point final (B) est sélectionné. ③ Pendant la lecture repétée, une fois le point de départ (A) annulé, le point final du segment (B) devient le nouveau point de départ et la lecture continue. ④ La lecture repétée reprend lorsque le point final (C) est sélectionné. ⑤ Ces étapes peuvent être répétées pour indiquer un nouveau segment à lire en boucle jusqu'à la fin du fichier.
1 Choisissez un fichier pour la lecture ABC répétée et démarrez la lecture. 2 Appuyez sur la touche F1 (RÉGL. A) lorsque le point de départ souhaité pour la lecture ABC répétée est lu.


Conseil
- Vous pouvez modifier la vitesse de lecture (€ 4. 41) et effectuer une avance/ un retour rapide (€ 3. 37) lorsque le témoin (B) clignote.
- Si le fichier est entièrement lu alors que le témoin [O] clignote, la fin du fichier est considérée comme le point final du segment et la lecture est repétée depuis le début.
3 Appuyez de nouveau sur la touche F1 (régl. b) lorsque le point final souhaité pour la lecture ABC répétée est lu.


Le segment A-B est défini et la lecture ABC répétée est lancée.
Pour arrêter la lecture ABC répétée :
Passez à l'étape 6
Pour définir de nouveaux points de départ/finaux :
Passez à l'étape 4
Définition de nouveaux points de départ/finaux
4 Appuyez sur la touche F1 (ANNUL. a) pendant la lecture ABC répétée.



Le segment A-B est annulé. [B] devient le nouveau point de départ et la lecture continue. - Vous pouvez modifier la vitesse de lecture (P. 41) et effectuer une avance/ un retour rapide (P. 37).
5 Appuyez sur la touche F1 (régL. c) lorsque le point final souhaité pour la lecture ABC répétée est lu.


Le segment B-C est défini et la lecture ABC répétée est lancée.
Conseil
- Vous pouvez répéter les étapes 4 et 5 pour modifier le segment à répéter.
6 Appuyez sur la touche STOP (■).

La lecture s'arrête. Le segment à répéter pour cette fonction est sauvegardé.
Remarque
- Il est impossible de déplacer le point final d'un segment à répéter avant le point de départ.
- Vous ne pouvez pas insérer de marque d'index ou de marque-temporaire pendant la lecture ABC répétée (€ 5 P. 45).
1 Appuyez sur la touche F2 (ANL. ABC)

- Si vous appuyez sur cette touche alors que la lecture ABC répétée est arrêtée, cela annule la lecture répétée.
- Si vous appuyez sur cette touche pendant la lecture ABC répétée, cela annule les paramètres du segment à répéter pour cette fonction et la lecture normale continue.
Remarque
- La lecture ABC répétée est annulée si vous changez de fichier ou si vous changez d'écran.
Marques d'index/marques temporaires
L'écriture d'une marque d'index ou d'une marque temporaire dans un fichier vous permet d'accéder rapidement à la position souhaitée dans le fichier grâce aux mêmes opérations que celles utilisées pour l'avance rapide, le retour ou le passage au début d'un fichier. Les marques d'index ne peuvent être écrites que dans des fichiers créés avec les enregistreurs vocaux Olympus. Pour les fichiers créés avec d'autres appareils, vous pouvez temporairement stocker les positions souhaitées dans la mémoire grâce aux marques temporaires.


Remarque
- Les marques temporaires sont automatiquement supprimées lorsque vous sélectionnez un autre fichier, transférez ou déplacez le fichier vers un ordinateur.
- Vous pouvez insérer jusqu'à 99 (16) marques d'index/temporaires dans un même fichier. Le message [Index Plein] s'affiche si vous tentez d'insérer plus de 99 (16) marques.
- Il est impossible d'insérer ou de supprimer des marques d'index/ temporaires dans des fichiers qui ont été verrouillés à l'aide de la fonction de verrouillage des fichiers (P.52).
- Modèle LS-P1 uniquement
Suppression d'une marque d'index/temporaire
1 Sélectionnez un fichier contenant une marque d'index ou une marque-temporaire que vous souhaitez supprimer et lancez la lecture. 2 Utilisez la touche l ou l<4 pour sélectionner la marque que vous souhaitez supprimer.


3 Appuyez sur la touche ERASE lorsque le numéro de la marque d'index/temporaire à supprimer s'affiche à l'écran (pendant 2 secondes environ).
- Toutes les marques d'index/temporaires suivantes sont automatiquement renumérotées.
Fonction recherche par calendrier
Vous pouvez rechercher un fichier vocal par sa date d'enregistrement. En effet, si vous avez oublié dans quel dossier est enregistré un fichier, cette fonction vous permet d'y accéder rapidement en saisissant sa date d'enregistrement.
Remarque
- Vous pouvez uniquement rechercher des fichiers sauvegardés dans le dossier [Enregistreur].
1 Lorsque l'enregistreur vocal est en mode d'arrêt, appuyez sur la touche F1 (HOME) pour afficher l'écran [Home]. 2 Appuyez sur la touche < ou > pour sélectionner [Rech. calendrier].


3 Appuyez sur la touche OK. 4 Appuyez sur la touche +, - ou l<4 pour sélectionner la date souhaitée.


- Les dates auxquelles des fichiers ont été sauvegardées sont soulignées. Touches▶I,1
Permettent de passer à la date précédente/suivante. Appuyez dessus et maintenez-les enfoncées pour passer à la date suivante à laquelle un fichier a été enregistré.
Touches +,-
Permettent de passer à la période précédente/suivante.
Touches F1, F2 :
Permettent de passer au mois précédent/suivant.
- Appuyez sur la touche STOP (■) pour annuler le paramètre et revenir à l'écran [Home].
Appuyez sur la touche OK.


6 Appuyez sur la touche + ou - pour sélectionner le fichier souhaité. 7 Appuyez sur la touche OK pour lancer la lecture.
Nombre de fichiers sauvegardés (enregistrés) à la date sélectionnée Date à laquelle le fichier a été enregistré Date sélectionnée Date du jour
Suppression de fichiers/dossiers
Cette section décrit la procédure de suppression d'un seul fichier dans un dossier, de suppression de tous les fichiers du dossier ouvert et de suppression d'un dossier sélectionné.
Suppression de fichiers
1. Sélectionnez le fichier que vous souhaitez supprimer (P. 22). 2. Lorsque le fichier apparait à l'écran, appuyez sur la touche ERASE pendant que l'enregistreur vocal est en mode d'arrêt.


- L'enregistreur vocal repasse en mode d'arrêt si aucune action n'est effectuée dans les 8 secondes suivantes.
Appuyez sur la touche + ou - pour sélectionner [Supp dans doss.] ou [Supp. Fichier].


[Supp dans doss.]: Permet d'effacer tous les fichiers sauvegardés dans le même dossier que le fichier sélectionné.
[Supp. Fichier]: Permet d'effacer uniquement le fichier sélectionné.
Appuyez sur la touche OK.


5 Appuyez sur la touche + pour sélectionner [Début].


6 Appuyez sur la touche OK.


- [Effacer !] s'affiche à l'écran et le processus de suppression commence. [Effacement OK] s'affiche lorsque la suppression est terminée.
Suppression d'un dossier
1 Sélectionnez le dossier que vous souhaitez supprimer (P. 22). Lorsque le dossier apparait à l'écran, appuyez sur la touche ERASE pendant que l'enregistreur vocal est en mode d'arrêt.


- L'enregistreur vocal repasse en mode d'arrêt si aucune action n'est effectuée dans les 8 secondes suivantes.
Appuyez sur la touche + pour sélectionner [Début].


Appuyez sur la touche OK.
- [SUPPRESSION !] s'affiche à l'écran et le processus de suppression commence. [EFFACEMENT OK] s'affiche lorsque la suppression est terminée.
Remarque
- Une fois supprimés, les fichiers ne peuvent pas être restaurés. Soyez donc vigilant lorsqu vous supprimé un(CHIF). Lorsqu'une carte microSD est insérée dans l'enregistreur, vérifiez si le support d'enregistrement utilisé est [Mémoire interne] ou [Carte microSD] (eR P.68). Les fichiers verrouillés et en lecture seule ne peuvent pas être supprimés (eP.52).
- Vous ne pouvez pas supprimer les dossiers [Enregistreur] ([Dossier A] à [Dossier E]) et [Musique] présents dans l'enregistreur.
- Les sous-dossiers du dossier [Musique], hormis le dossier [Musique] lui-même, peuvent être supprimés.
- S'il existe un fichier qui ne peut pas être reconnu par l'enregistreur, le fichier et le dossier qui le contiennent ne sont pas effacés. Pour effacer ces fichiers et dossiers, l'enregistreur vocal doit être connecté à un ordinateur.
- Avant de supprimer un fichier ou un dossier, rechargez ou remplacez la pile pour être certain qu'elle ne se déchargera pas avant la fin du processus de suppression. Celui-ci dure environ 10 secondes. Pour ne pas risquer d'endommager les données, ne tentez jamais d'effectuer les actions suivantes avant la fin du processus de suppression :
① Déconnexion de l'adaptateur secteur (2) Retrait de la pile ③ Retrait de la carte microSD (si le support d'enregistrement a été paramétré sur [Carte microSD]).
Fonctions basiques
Les éléments du menu sont organisés par onglets. Vous pouvez aussi configurer rapidement les éléments souhaités en sélectionnant un onglet, puis en sélectionnant l'objet souhaité. Procédez comme suit pour paramétrer un élément du menu.
1 Appuyez sur la touche MENU/SCENE pendant un enregistrement, une lecture ou lorsque l'enregistreur vocal est en mode d'arrêt.


Conseil
- Certains menus contiennent des éléments qui peuvent être configurés pendant un enregistrement/une lecture (e-mail P.51).
2 Appuyez sur la touche + ou - pour sélectionner l'onglet contenant l'objet à définir.


Déplacer le curseur d'un onglet à l'autre fait défiler les écrans de menu affichés.
Appuyez sur la touche OK pour déplacer le curseur sur le paramètre souhaité.


- Vous pouvez également utiliser la touche ▶ pour effectuer cette action.
4 Appuyez sur la touche ^+ ou - pour sélectionner le paramètre souhaité.


5 Appuyez sur la touche OK.


Le paramètre de l'élément sélectionné s'affiche. - Vous pouvez également utiliser la touche ▶ pour effectuer cette action.


7 Appuyez sur la touche OK pour sauvegarder le paramètre.


- Un message s'affiche pour indiquer que le paramètre a bien été modifié.
- Appuyez sur la touche au lieu de la touche OK pour annuler le paramètre et revenir à l'écran précédent.

- Si vous accédez à l'écran de menu pendant l'enregistrement ou la lecture, appuyez sur la touche MENU/SCENE pour revenir à l'écran précédent sans mettre fin à l'enregistrement/la lecture.
Remarque
Pour la configuration du menu effectuée alors que l'enregistreur vocal était en mode d'arrêt, l'appareil quitte le menu et repasse en mode d'arrêt si aucune action n'est effectuée pendant 3 minutes. Dans ce cas, l'élément de configuration sélectionné n'est pas modifié. Pour la configuration du menu effectuée pendant un enregistrement ou une lecture, l'enregistreur vocal quitte le menu si aucune action n'est effectuée pendant 8 secondes.
Éléments du menu pouvant être configurés pendant un enregistrement
- Niveau Rec
- Mic Zoom Filtre VCVA Rétroéclairé
- LED
Éléments du menu pouvant être configurés pendant une lecture
Propriété - Annuler bruit 1 Balancier Vocal 1 Mode lecture - Equaliser*2 - espace Rétroéclair - LED
1 Cette fonction n'est active qu'en mode [Enregistreur]. 2 Fonction active uniquement en mode [Musique].
Extraction des segments parlés d'un fichier vocal [détec. vocale]
La fonction extrait les segments parlés d'un fichier vocal ou d’un fichier ayant été enregistré par l'enregistreur vocal. Reportez-vous à la section « Extraction des segments parlés d’un fichier vocal [Détec. vocale] » (P.72) pour en savoir plus.
Protection contre les suppressions accidentelles de fichier [fichier bloqué]
La fonction de verrouillage d’un fichier vous permet de verrouiller des fichiers importants afin de ne pas les supprimer accidentellement. Une fois verrouillé, un fichier ne peut pas être supprimé, même si tous les fichiers contenus dans le même dossier sont supprimés en une seule action (P.47).
1 Sélectionnez le fichier que vous souhaitez verrouiller (p. 22).
[On]:
Le fichier est verrouillé.
[Off]:
Le fichier est déverrouillé.
Tri des fichiers [trier par]
Vous pouvez modifier l'ordre de lecture des fichiers dans un dossier.
1 Appuyez sur la touche + ou - pour sélectionner [nom fichier], [date croiss.] ou [date décr.]
[Nom fichier]:
Permet de trier automatiquement les fichiers par nom.
[Date croissante]:
Permet de trier automatiquement les fichiers par date (date/heure d'enregistrement), du fichier le plus ancien au plus récent.
[Date décr.]:
Permet de trier automatiquement les fichiers par date (date/heure d'enregistrement), du fichier le plus récent au plus ancien.
2 Appuyez sur la touche + ou - pour sélectionner [enregistreur] ou [musique].
[Enregisteur]:
Permet de trier tous les fichiers dans le dossier [Enregistreur].
[Musique]:
Permet de trier tous les fichiers dans le dossier [Musique].
Remarque
- Lorsque le paramètre [Nom fichier] est sélectionné, les fichiers sont listés par ordre alphabétique, en fonction des 20 premiers caractères de chaque nom.
Déplacement/copie des fichiers [action/copie]
Les fichiers enregistrés dans la mémoire interne ou sur la carte microSD peuvent être déplacés ou copiés dans la mémoire. Reportez-vous à la section « Déplacement/Copie des fichiers [Action/copie] » (e-3 p. 74) pour connaître la procédure.
Division d'un fichier [fichier divisé]
Les gros fichiers et les fichiers dont la durée d'enregistrement est longue peuvent être divisés pour faciliter la gestion et la révision. Reportez-vous à la section « Division d'un fichier [fichier divisé] » (« P. 77) pour connaître la procédure.
Effacement partiel de fichiers [effac. partial]
Vous pouvez effacer les sections inutiles d'un fichier.
Voir « Effacement partiel de fichiers [Effac. Partiel] » (p. 79) pour obtenir la procédure.
Réduction d'un fichier [réduction]
Vous pouvez réduire la partie requise d'un fichier, puis la réenregistrer.
Voir « Réduction d’un fichier [Réduction] » (« P. 81) pour obtenir la méthode.
![OLYMPUS LS-P2 - Réduction d'un fichier [réduction] - 1](/content/2025/12/6404/images/b7762bed367d6fa808ba3c6c50fde4ca437b67f4d1ad7c99fca6776c15508e80.jpg)
Augmentation du niveau de volume global d'un fichier [normaliser]
Augmentez le niveau de volume global jusqu'à ce que le niveau de volume maximal du fichier enregistré devienne la valeur de seuil de non-découplage (non-distorsion), puis enregistrez-le en tant que nouveau fichier.
![OLYMPUS LS-P2 - Augmentation du niveau de volume global d'un fichier [normaliser] - 1](/content/2025/12/6404/images/333fec16e06c4fdd73d22bbde5866365f21daa05964ccc7fb1eb6a3306c6bbb3.jpg)
![OLYMPUS LS-P2 - Augmentation du niveau de volume global d'un fichier [normaliser] - 2](/content/2025/12/6404/images/271bc46c2c110684823a8955adc8121c0acd04e669095073260390a2262c9882.jpg)
Conseil
- Le fichier est nommé « Nom fichier_1 » après la modification.
Remarque
- Seuls les fichiers au format PCM enregistrés sur cet enregistreur vocal peuvent être modifiés.
- L'effet de normalisation peut ne pas être obtenu pour les fichiers tels que les suivants:
Fichiers enregistrés à l'origine avec un niveau de volume élevé. Fichiers dans lesquels des bruits forts soudains sont enregistrés. Fichiers contenant un écart important de niveaux de volume.
Affichage des informations concernant un fichier ou un dossier [propriété]
Vous pouvez afficher les informations d'un fichier ou d'un dossier à partir d'un écran de menu.
1 Appuyez sur la touche ^+ ou - pour changer d'écran.
- Les informations suivantes sont affichées : [Nom], [date], [taille], [taux bit]1, [Artiste]2 et [Album]2. 1 Si un fichier au format PCM linéaire est sélectionné, la fréquence d'échantillonnage et le nombre de bits s'affichent dans le champ [taux bit]. 2 Si aucune information de marquage n'existe pour ce fichier, les messages [UNKNOWN_ARTIST] et [UNKNOWN_ALBUM] s'affichent à l'écran.
1 Appuyez sur la touche + ou - pour changer d'écran.
- Les informations suivantes sont affichées : [Nom], [Fichier] (le nombre de fichiers) et [Dossier] (le nombre de dossiers).
- En mode [Enregistreur], le paramètre [Dossier] ne s'affiche pas.
- Les décomptes de fichiers affichés n'incluent pas les fichiers dont les formats ne sont pas reconnus par l'enregistreur vocal.
Sélection de la sensibilité d'enregistrement [niveau rec]
Vous pouvez modifier le niveau d'enregistrement (sensibilité) de manière à ce qu'il soit adapté à chaque situation d'enregistrement.
Sensibilité d'enregistrement la plus élevée. Adaptée à l'enregistrement de cours, de grandes conférences ou d'autres situations où la source sonore est distante ou peu audible.
Convient à l'enregistrement lors de réunions où il y a peu de monde.
Sensibilité d'enregistrement la moins élevée. Ce niveau convient aux dictées.
Voulez ajuster la sensibilité d'enregistrement manuellement à l'un des 30 niveaux.
Le niveau d'enregistrement change tout automatiquement en fonction du volume de l'entrée sonore. Convient à l'enregistrement de tous les sons.
Conseil
- Pour enregistrer clairement la voix de l'orateur, paramétrez [Niveau Rec] sur [Basse] et placez le microphone intégré de l'enregistreur vocal près de la bouche de l'orateur (à une distance de 5 à 10 cm).
Remarque
Lorsque le [Niveau Rec] est défini sur un autre paramètre que [Manuel], le niveau d'enregistrement est réglé automatiquement mais une entrée sonore excessivement forte peut générer du bruit.
Réglage du niveau d'enregistrement

Réglez le niveau d'enregistrement en appuyant sur la touche ▶ I ou I pendant un enregistrement ou pendant la pause d'un enregistrement.


Augmenter la valeur du [Niveau Rec] signifie augmenter le niveau d'enregistrement et allonger le témoin du sommèmètre.
Remarque
- Si [OV] est affiché, le son enregistré sera déformé. Ajustez le niveau d'enregistrement de manière à ne pas afficher [OV].
Réduction de la coupure [limiteur]
Réduisez automatiquement la coupure causée par les bruits excessivement forts pendant l'enregistrement.
Sélectionnez ce paramètre pour bénéficier d'un volume de son clair. Ce paramètre convient aux enregistrements de musique.
Sélectionnez ce paramètre pour égaliser le volume du son. Le son peut être enregistré à un volume prédéterminé pour produire des enregistrements égalisés. Ce paramètre convient aux enregistrements de voix.
Utilisez cette position lorsquyoureglez les niveaux d'entrée sansutilisier la fonction de correction.
Remarque
- Cette fonction est disponible uniquement lorsque [Niveau Rec] est défini sur [Manuel] (p. 55).
- Si l'entrée de son est trop forte, vous pouvez entendre du bruit même si vous définissez le mode [Musique] ou [Voix]. De plus, dans certains cas, le voyant PEAK, qui indique une entrée brute, peut ne pas s'allumer. Nous vous recommandons de tester la fonction d'enregistrement et le volume avant l'utilisation pour obtenir de bons enregistrements.
Sélection du mode d'enregistrement [mode enregist.]
Vous pouvez établir des priorités pour la qualité sonore ou la durée d'enregistrement. Sélectionnez le mode d'enregistrement qui correspond le plus à votre situation d'enregistrement.
1 Appuyez sur la touche + ou - pour sélectionner le format d'enregistrement.
Format audio non compris utilisé pour les CD de musique, etc.
Mode de compression sonore commun. Les tailles de fichier dans ce format sont inférieures à celles au format PCM.
Si [PCM] a été sélectionné :
[96,0 kHz/24 bit]
[88,2 kHz/24 bit]
[48,0 kHz/16 bit]
[44,1 kHz/16 bit]
[44,1 kHz mono]
Si [MP3] a été sélectionné :
[320 kbps]
[128 kbps]
[64 kbps mono]
- Enregistrement mono
Conseil
- La qualité sonore augmente avec la vitesse d'enregistrement.
- Configurer une vitesse d'enregistrement plus élevée augmente la taille du fichier. Vérifie qu'il reste suffisamment de place dans la mémoire avant l'enregistrement.
- Pour enregistrer des conférences et des présentations clairement, il est recommandé de définir le paramètre [Mode Enregist.] sur un paramètre différent de [mono].
Remarque
- Lorsque [Mode Enregist.] est défini sur stéroid, l'enregistrement avec un microphone mono connecté s'effectue uniquement sur le canal gauche.
Sélection de la directivité du microphone [miczoom]
Le microphone stéreo intégré de l'enregistreur vocal offre une directivité allant des enregistrements stéreo à large portée aux enregistrements très directionnels.
1 Appuyez sur la touche + ou - pour ajuster la direction du microphone stéréo intégré.


- La touche + augmente la directivité.
- La touche - offre aux enregistrements une large portée stéreo.
- Réduire la directivité et élargir la portée de la prise de son confère aux enregistrements un effet stéreo.
- Vous pouvez ajuster la directivité entre [-3] et [+6].
Fonction mic zoom
Fortedirectivé

Faible directivité

Faible portée de prise de son

Large portée de prise de son
Remarque
- La fonction [Mic Zoom] est donc pour démontrer les performances du microphone stéréo intégré. Notez qu’il n’est plus possible d’enregistrer normalement si vous utilisez un microphone acheté séparément ou si vous enregistrerez à partir d’un autre appareil à l’aide d’un câble de connexion. L’utilisation de la fonction [Mic Zoom] décharge la pile plus rapidement.
Réduction du bruit pendant l'enregistrement [filtre]
La fonction filtre basse fréquence de l'enregistreur vocal vous permet de réduire les bourdonnements de la climatisation ou les sons de basse fréquence d'équipements tels que des projecteurs.
[On]:
Active le filtre basse fréquence.
[Off]:
Désactive le filtrage BASSE fréquence.
Sélection du système à trois microphones [sélection mic]
Vous pouvez choisir si le microphone central intégré doit être allumé ou éteint.
![OLYMPUS LS-P2 - Sélection du système à trois microphones [sélection mic] - 1](/content/2025/12/6404/images/8ba8d91893887825053237ffde304aa369559f8e1b68e600641ab6813e67c87d.jpg)
Modèle LS-P2 uniquement
[Mic central On]
Permet au microphone central intégré d'enregistrer en mode à trois microphones.
[Mic central Off]:
Désactive le microphone central intégré pour enregistrer seulement avec le microphone stéréo intégré.
Fonction d'enregistrement activée par la voix [VCVA]
La fonction d'enregistrement activée par la voix (VCVA) lance automatiquement l'enregistrement lorsqu'un son plus fort qu'un niveau d'activation de voix prédéfini est détecté, et met automatiquement l'enregistrement en pause lorsque le niveau de volume du son baisse. Utilisez cette fonction pour omettre automatiquement les passages silencieux superflus lors de l'enregistrement (comme les longs silences pendant les conférences), ce qui permet d'économiser de la mémoire.
Active la fonction VCVA. Vous pouvez régler le niveau d'activation vocale pour la fonction VCVA.
Désactive la fonction VCVA. Le mode d'enregistrement redevient normal.
Réglage du niveau d'activation vocale pour un enregistrement activé par la voix
- L'enregistrement est automatiquement mis en pause environ 1 seconde après que l'entrée sonore soit devenue plus silencieuse que la sensibilité d'activation prédéfinie. Le message [Veille] clignote à l'écran. Le voyant s'allume lorsque l'enregistrement est activé et clignote lorsqu'il est mis en pause.
2 Appuyez sur la touche ▶ l ou l ▲ pour régler le niveau d'activation vocal.


Niveau d'activation vocale (se déplace de gauche à droite pour correspondre au niveau prédéfini) Sonomètre (change en fonction du volume sonore de l'enregistrement) - Ce paramètre peut être réglé entre [01] et [23].
Conseil
Augmenter la valeur du paramètre augmente la sensibilité d'activation de la fonction VCVA, ce qui permet d'activer le début de l'enregistrement avec des sons plus silencieux. - Réglez le niveau d'activation vocale VCVA afin qu'il corresponde à la situation d'enregistrement (gestion des niveaux élevés de bruit environnant, par exemple). - Afin d'éviter toute erreur d'enregistrement, il est recommandé d'effectuer un test préalable afin de régler le niveau d'activation vocal. Pour modifier le niveau d'enregistrement (eP.55) pendant l'enregistrement VCVA en [Manuel], appuyez sur la touche F1. L'enregistreur vocal passe au mode de réglage de niveau correspondant. Appuyez de nouveau sur la touche F1 pour revenir au mode de réglage de niveau d'activation vocale.
Remarque
- La fonction suivante est désactivée lorsque vous utilisez la fonction [VCVA]:
- [V-Sync. Rec] [Avec enregist] (P.72)
Fonction d'enregistrement par synchronisation vocale [v-sync. rec]
La fonction d'enregistrement par synchronisation vocale commence automatiquement l'enregistrement lorsqu'un son plus fort qu'un niveau d'enregistrement par synchronisation vocale prédéfini (niveau de détection) est détecté, et arrête automatiquement l'enregistrement lorsque le niveau de volume du son diminue. Lors de la copie de musique à partir d'un autre appareil connecté à l'enregistreur vocal, utilisez la fonction d'enregistrement par synchronisation vocale pour détecter des intervalles de silence entre les pistes musicales et enregistrez chaque piste sous forme de fichier séparé.
[1 seconde], [2 secondes], [3 secondes], [5 secondes]:
Définissez la durée de détention. L'enregistreur vocal passe en mode veille si l'entrée sonore (niveau d'enregistrement) est inférieure au niveau prédéfini pendant au moins la durée de détention définie.
[Off]:
L'enregistrement est effectué normalement.
Réglage du niveau de synchronisation vocale pour un enregistrement par synchronisation vocale
1. Appuyez sur la touche REC (●) pour préparer l'enregistrement. 2. Appuyez sur la touche l ou < pour régler le niveau de synchronisation vocale.
![OLYMPUS LS-P2 - Fonction d'enregistrement par synchronisation vocale [v-sync. rec] - 1](/content/2025/12/6404/images/3f1ba595fced1a33224785022bd8cd78e67c9fdd67b2653836e837f3fee43728.jpg)
Niveau de synchronisation vocale (se déplace de gauche à droite pour correspondre au niveau prédit)
- Celui-ci peut être réglé entre [01] et [23]. Augmenter la valeur du paramètre augmente la sensibilité d'activation, ce qui permet d'activer le début de l'enregistrement avec dessons plus silencieux.
Conseil
- Pour modifier le niveau d'enregistrement (P.55) pendant le réglage du niveau de synchronisation vocale en [Manuel], appuyez sur la touche F1. L'enregistreur vocal appu au mode de réglage de niveau correspondant. Appuyez de nouveau sur la touche F1 pour revenir au mode de réglage de niveau de synchronisation vocale.
Appuyez de nouveau sur la touche REC (●).
Le message [Veille] clignote à l'écran et le voyant d'enregistrement clignote. - L'enregistrement démarre automatiquement si l'entrée sonore est plus forte que le niveau de synchronisation vocale.
Conseil
- L'enregistreur vocal arrête automatiquement l'enregistrement et repasse en mode de veille si l'entrée sonore est inférieure au niveau de synchronisation vocale pendant au moins la durée de détection prédéfinie. Chaque fois que l'enregistreur vocal passe en mode de veille, le fichier en cours est fermé. Dès qu'un son est détecté, l'enregistrement se poursuit dans un nouveau fichier.
- Appuyez sur la touche STOP (■) pour terminer la session d'enregistrement par synchronisation vocale.
Remarque
La fonction suivante est désactivée lorsqu'you utilise la fonction [V-Sync. Rec]:
[VCVA] (E P.59) [Avecenregist] (P.72)
Coupure des segments non verbaux pendant la lecture [lecture vocale]
La fonction [Lecture vocale] vous permet de dire uniquement les segments parlés d'un fichier verbal enregistré.
Remarque
- Les segments parlés du fichier doivent être extraits au préalable (P. 72).
- La fonction [Lecture vocale] est uniquement possible en mode [Enregistreur].
Permet d'ignorer automatiquement les sections non verbales du fichier et de lire uniquement les sections parlées.
La fonction de lecture vocale est désactivée.
Réduction du bruit pendant la lecture [annuler bruit]
Utilisez la fonction [Annuler bruit] pour réduire le bruit lorsqu’il est difficile de discerner une voix enregistrée.
Permet de réduire le bruit environnant afin d'obtenir une qualité sonore plus claire.
La fonction d'annulation du bruit est désactivée.
Remarque
- La fonction [Annuler bruit] est uniquement possible en mode [Enregistreur]. L'utilisation de la fonction [Annuler bruit] décharge la pile plus rapidement.
Réglage des segments à faible volume pendant la lecture [BalancierVocal]
Supprime lessons haute et basse fréquence et compense les segments à faible volume pendant la lecture.
Utilisez cette fonction pour renforcer les segments à faible volume des conversations ou d'autres fichiers audio enregistrés afin de les rendre plus clairs et plus audibles.
[On]:
Permet de régler les segments à faible volume présents dans un fichier audio afin de les rendre plus audibles pendant la lecture.
[Off]:
La fonction Balancier Vocal est désactivée.
Remarque
La fonction [BalancierVocal] est uniquement possible en mode [Enregistreur]. - L'utilisation de la fonction [BalancierVocal] décharge la pile plus rapidement.
Sélection des modes de lecture [mode lecture]
Plusieurs modes de lecture sont disponibles pour différents styles d’écoute.
Appuyez sur la touche + ou - pour sélectionner [Enregistreur] ou [Musique].
Si [Enregistreur] a été sélectionné
2 Appuyez sur la touche ^+ ou - pour sélectionner [Fichier] ou [Dossier].
[Fichier]:
Arrête la lecture une fois que le fichier ouvert a été lu.
[Dossier]:
Lit à la suite tous les fichiers du dossier ouvert et arrête la lecture une fois que le dernier fichier a été lu.
Si [musique] a été sélectionné
2 Appuyez sur la touche ^+ ou - pour sélectionner [Zone lecture], [Répéter] ou [Aléatoire].
[Zone lecture] :
Permet de spécifier un groupe de fichiers à lire.
[repeter]:
Permet de répéter la lecture d'un groupe de fichiers prédéfini.
[Aléatoire]:
Permet de lire aléatoirement les fichiers d'un groupe prédéfini.
3 Appuyez sur la touche ^+ ou - pour sélectionner un paramètre.
Si [Zone lecture] a été sélectionné :
Fichier, Dossier, Tout:
Permet de spécifier un groupe de fichiers à.
Si [répéter] ou [Aléatoire] a été sélectionné :
[On]:
Permet de répéter la lecture d'un groupe de fichiers ou de le lire aléatoire.
[Off]:
Permet d'annuler la lecture répétée ou aléatoire.
Remarque
Lorsque [Zone lecture] est défini sur [Fichier], le paramètre [Fin] clignote pendant 2 secondes à l'écran une fois que le dernier fichier du dossier a été lu, puis la lecture s'arrête au début du dernier fichier. Lorsque [Zone lecture] est défini sur [Dossier], le paramètre [Fin] clignote pendant 2 secondes à l'écran une fois que le dernier fichier du dossier a été lu, puis la lecture s'arrête au début du premier fichier du dossier. Lorsque [Zone lecture] est défini sur [Tout], une fois que le dernier fichier du dossier actuellement ouvert a été lu, la lecture reprend avec le premier fichier du dossier suivant. Lorsque la fin du dernier fichier de l'enregistreur vocal est atteinte, le paramètre [Fin] clignote pendant 2 secondes à l'écran, puis la lecture s'arrête au début du premier fichier dans l'enregistreur vocal.
Modification de la qualité sonore de la musique [equaliser]
Les paramètres d'égaliseur de l'enregistreur vocal peuvent être modifiés pour changer la qualité sonore de la musique.
2 Appuyez sur la touche l ou pour sélectionner une bande de fréquence.
- Vous pouvez définir différents niveaux pour les bandes de fréquence [60 Hz], [250 Hz], [1 kHz], [4 kHz] et [12 kHz].
3 Appuyez sur la touche ^+ ou - pour définir un niveau.
- Les valeurs des niveaux peuvent être définies entre [-6] et [+6], par incréments de 1 dB. Augmenter le paramètre d'un niveau renforce la bande de fréquence correspondante. Pour modifier une autre bande de fréquence, répétez les étapes 2 et 3.
Remarque
- [Égaliser] ne fonctionne qu'en mode [Musique].
Configuration d'un espace [espace]
La fonction [espace] permet d'ignorer (avance ou retard) le fichier en cours de lecture pendant une durée prédéfinie. Cette fonction pratique vous permet de déplacer la position du curseur de lecture ou de répéter la lecture d'une phrase courte.
1 Appuyez sur la touche + ou - pour sélectionner [saut avant] ou [saut arrêté].
[Saut avant]:
Permet de débuter la lecture une fois le curseur de lecture avancé de la durée prédéfinie.
[Saut arrêté]:
Permet de débuter la lecture une fois le scouer de lecture reculé de la durée prédéfinie.
2 Appuyez sur la touche + ou - pour sélectionner un paramètre.
Si [Saut avant] a été sélectionné :
[Saut fichier], [Saut 10 sec.], [Saut 30 sec.], [Saut 1 min.], [Saut 5 min.], [Saut 10 min.]
Si [Saut arrière] a été sélectionné :
[Saut fichier], [Saut 1 sec] à [Saut 3 sec],
- Si la fonction saut avant/arrière est effectuée sur un segment qui contient une marque d'index/temporaire ou le début d'un fichier, elle s'arrête à la marque ou au début du fichier.
2 Appuyez sur la touche ▶ l ou l ▶ pendant la lecture.
- La lecture débute une fois le saut avant ou arrêté effectué.
Configuration du rétroéclairage [rétro éclairé]
Le rétroéclairage est activé pour une période prédéfinie lorsque vous appuyez sur une touche.
[5seconds], [10seconds], [30seconds], [1minute]:
Définissez la durée pendant laquelle le rétroéclairage reste allumé.
[Off]:
Désactive le rétroéclairage.
Réglage du contraste [contraste]
Vous pouvez régler le contraste de l'écran grâce aux 12 niveaux disponibles.
- Ce paramètre peut être réglé entre [01] et [12].
Configuration du voyant LED [LED]
Vous pouvez configurer l'enregistreur vocal de sorte que le voyant LED ne s'allume pas.
[On]:
Permet d'allumer le voyant LED.
[Off]:
Permet de désactiver le voyant LED.
Conseil
- Même si vous réglez le paramètre [LED] sur [Off], le voyant LED clignote pendant le transfert de fichiers entre l'enregistreur vocal et un ordinateur.
L'enregistreur vocal émet des sons lorsque vous appuyez sur les touches ou pour vous prévenir en cas d'erreur. Vous pouvez configurer l'enregistreur pour qu'il émette ou non des sons.
[On]:
Active l'émission de sons.
[Off]:
Désactive l'émission de sons.
Modification de la langue d'affichage [langage(lang)]
Vous pouvez avoir besoin de la langue utilisée par l'enregistreur vocal.
- [Cestine], [Danois], [Allemand], [Anglais], [Espagnol], [Français], [Italien], [Néerlandais], [Polonais], [Russe], [Suédois], [].
Conseil
- Le choix des langues diffère selon le lieu d'achat de l'enregistreur vocal.
Configuration du guide vocal [guide vocal]
Cette fonction crée des annonces vocales selon l'utilisation en cours de l'enregistreur. Reportez-vous à la section « Configuration du guide vocal [Guide Vocal] » (« p. 83 ») pour en savoir plus à propos de cette procédure.
![OLYMPUS LS-P2 - Configuration du guide vocal [guide vocal] - 1](/content/2025/12/6404/images/7c228755ec7234e52d4a3f1ea321512bbd8090de41f0aa310679eaf412910385.jpg)
Lecture automatique des débuts de fichiers [lecture intro]
Chaque fois que vous sélectionnez un fichier dans l'écran de la liste des fichiers, l'enregistreur vocal peut dire automatiquement quelques secondes du début du fichier. Cette fonction est pratique pour rechercher un fichier car elle vous permet de vérifier le contenu des fichiers.
![OLYMPUS LS-P2 - Lecture automatique des débuts de fichiers [lecture intro] - 1](/content/2025/12/6404/images/9021f96d2bb77ff7b3969458b2b8c8dc74a6d3a884ab52191ba777054bef9d5c.jpg)
Modèle LS-P2 uniquement
[3 sec.], [5 sec.], [10 sec.] : Chaque fois que vous sélectionnez un fichier, le début du fichier est lu automatiquement. [Off] : Déactive la fonction [Lecture intro].
Choix de la sortie du haut-parleur [hauts-parleurs]
Vous pouvez activer ou déactiver le haut-parleur intégré lorsque les écouteurs ne sont pas branchés.
Lorsque le paramètre est réglé sur [Off], le son n'est pas envoyé vers le haut-parleur même si les écouteurs sont débranchés accidentellement. Ce paramètre empêche de générer les autres usagers dans les transports publics.
[On]: Lorsque les écouteurs sont branchés, le son est envoyé vers les écouteurs; lorsqu'ils sont débranchés, le son est envoyé vers le haut-parleur intégré.
[Off]: Le son n'est pas envoyé vers le haut-parleur intégré même si les écouteurs sont débranchés.
Choix d'un support d'enregistrement [sélect mémoire]
Si une carte microSD est insérée dans l'enregistreur vocal, vous pouvez désigner l'enregistrement dans la mémoire interne ou sur la carte microSD (W83-P.17).
Permet d'enregistrer dans la mémoire interne de l'enregistrateur vocal.
Permet d'enregistrer sur la carte microSD.
Configuration du mode d'économie d'énergie [eco énergie]
Si l'enregistreur vocal est allumé puis reste à l'arrêt pendant une période prédéfinie, il s'arrête automatiquement.
Sélectionne la durée souhaitée.
Permet de déactiver le mode économique d’énergie. Veuillez noter que le fait de laisser l’enregistreur vocal allumé décharge rapidement la pile.
Configuration de la pile utilisée [pile]
Configurez le type de pile pour qu'il corresponde à celle que vous utilisez.
Sélectionnez ce paramètre si vous utilisez une pile rechargeable Olympus Ni-MH (modèle BR404).
Sélectionne ce paramètre si vous utilisez une pile alcaline sèche.
Configuration de la date et de l'heure [heure et date]
Si vous configurez la date et l'heure au préalable, vous pouvez vérifier à quel moment un fichier a été enregistré dans les informations de chaque fichier accessibles dans la section [Propriété] du menu.
![OLYMPUS LS-P2 - Configuration de la date et de l'heure [heure et date] - 1](/content/2025/12/6404/images/97dde8cd611ff1d3bc74b33a679a39acb3ff58e081f17b3591964ea5489f6392.jpg)
![OLYMPUS LS-P2 - Configuration de la date et de l'heure [heure et date] - 2](/content/2025/12/6404/images/beb5f741540e6a53cacc81bdb4f0bc8d3013d754c191c64500129bd2c4a14e57.jpg)
2 Appuyez sur la touche + ou - pour modifier le nombre.


Pour modifier un autre élément, appuyez sur la touche OK afin de déplacer le curseur, puis appuyez sur la touche + ou - pour modifier le nombre.
Conseil
Lors de la configuration des heures et des minutes, chaque fois que vous appuyez sur la touche F2, l'affichage passe du format 12 heures à celui de 24 heures.

Lors de la configuration de l’année, du mois et du jour, chaque fois que vous appuyez sur la touche F2, l'ordre est modifié.
3M 24J 2015A (format par défaut)

Remarque
Si les piles sont retirées de l'enregistreur vocal, l'écran [Heure et date] s'affiche automatiquement lorsque l'enregistreur s'allume. - Même si l'enregistreur vocal n'est pas utilisé pendant une longue période, lorsque la pile est usée, vous devez de nouveau saisir la date et l'heure.
Connexion d'un appareil bluetooth [bluetooth]
Cette fonction est compatible avec le Bluetooth Ver. 2.1+EDR et vous permet de connecter l'enregistreur vocal à un appareil compatible possédant la même norme. Voir « Avant d'utiliser la fonction Bluetooth » (E-P.89) pour plus de détails.
![OLYMPUS LS-P2 - Connexion d'un appareil bluetooth [bluetooth] - 1](/content/2025/12/6404/images/2a5a12359c20475abe8aefba3e75360dec83ad5df936b31ff6a434892858a015.jpg)
Configuration de la connexion USB [réglagesusb]
Le paramètre [PC] vous permet de connecter l'enregistreur vocal à un ordinateur afin de transférer des fichiers. Le paramètre [Adaptateur AC] vous permet de brancher l'enregistreur vocal à un adaptateur secteur USB (modèle A514 en option) afin de recharger la pile rechargeable. Vous pouvez modifier le paramètre de classe USB, tel que requis par les différentes applications USB. Reportez-vous à la section « Configuration de la connexion USB [RéglagesUSB] » (P.85) pour en savoir plus sur cette procédure.
Réinitialisation des paramètres par défaut [MAJ réglage]
La fonction [MAJ réglage] est utilisée pour réinitialiser toutes les fonctions de l'enregistreur vocal à leurs valeurs d'usine (réglage d'usine par défaut). La configuration de l'horloge et les numéros des fichiers sont conservés.
![OLYMPUS LS-P2 - Réinitialisation des paramètres par défaut [MAJ réglage] - 1](/content/2025/12/6404/images/e4dccc489eb4c85fa7b96e1ea6673df97ee569b8015d825cd0fcc089d7f0c8bd.jpg)
Menu enregistrement:
Niveau Rec. : Manuel
Limiteur: Musique
Mode Rec : PCM : 44,1 kHz/16 bit
Mic Zoom : Off
Filtre: Off
Zone lecture / Fichier
Musique :
Zone lecture / Dossier
répéter/Off
Aléatoire / Off
Égaliser*: Off
espace :
Saut avant: Saut fichier
Saut arrière : Saut fichier
Menu lcd/son :
Retro éclaire : 10secondes
Contraste : Niveau 06
LED: On
Signal: On
Langage (Lang) : English
Guide Vocal :
On/Off: On
Vitesse : 3
Volume:3
Lecture intro 3: Off
Hauts-parleurs : On
Menu système :
Sélection mémoire: Mémoire interne
Eco Energie : 10minutes
Pile: Ni-MH
RéglagesUSB :
Connecteur USB : PC
USB : Stockage
1 Cette fonction n'est active qu'en mode [Enregistreur]. 2 Cette fonction n'est active qu'en mode [Musique]. *3 Modèle LS-P2 uniquement
Formatage d'un support d'enregistrement [format]
Formater un support d'enregistrement
supprime tous les fichiers existants
sauvegardés dessus. Veillez à transférer tous
les fichiers importants sur un ordinateur
avant d'effectuer un formatage.
Reportez-vous à la section « Formatage »
d'un support d'enregistrement [Format] »
pour en savoir plus à propos de
cette procédure.
Vérification des informations du support d'enregistrement [mémoire info.]
Depuis l'écran de menu, vous pouvez afficher la capacité et l'espace mémoire restant sur le support d'enregistrement.
Remarque
- Une petite part de la capacité de mémoire du support d'enregistrement est utilisée comme zone de gestion.
La capacité actuelle utilisable est donc légèrement inférieure à celle affichée.
Vérification des informations de l'enregistreur vocal [info système]
Depuis l'écran de menu, vous pouvez afficher les informations de l'enregistreur vocal.
- Les informations suivantes sont affichées : [Modèle], [Version] (version du système) et [N° Série].
Extraction des segments parlés d'un fichier vocal [détec. vocale]
La fonction extrait les segments parlés d'un fichier vocal ou d'un fichier ayant été enregistré par l'enregistreur vocal.
Remarque
- La fonction [Détection vocale] est uniquement disponible en mode [Enregistreur]. Pour extraire des segments parlés des fichiers sauvegardés, sélectionnez un des dossiers [a] à [a] dans le dossier [Enregistreur].
Quand l'enregistreur est en mode d'arrêt, appuyez sur la touche MENU/SCENE. 2 Appuyez sur la touche OK pour déplacer le curseur dans la liste des éléments de configuration. 3 Appuyez sur la touche OK. 4 Appuyez sur la touche + ou - pour sélectionner [Select fichier] ou [Avec enregist].


[Sélection fichier]:
Sélectionnez un fichier dans lequel vous souhaitez extraire des segments parlés.
[Avec enregistrement]
Permet d'extraire des segments parlés pendant un enregistrement.
Quand [select fichier] est sélectionné
① Appuyez sur la touche + ou - pour sélectionner le fichier dans lequel vous souhaitez effectuer le processus de détection vocale.
![OLYMPUS LS-P2 - Quand [select fichier] est sélectionné - 1](/content/2025/12/6404/images/0e8525b7ac69bb111fcb3b3c2d68494bb00ed90ddbe66acb637635b8c9d08dad.jpg)
② Appuyez sur la touche OK.
La progression de l'opération est indiquée à l'écran sous forme de pourcentage. - La procédure est terminée lorsque le message [DétectionVocale terminée] s'affiche à l'écran.
Quand [avec enregist] est sélectionné
Appuyez sur la touche + ou - pour sélectionner [On] ou [Off].
![OLYMPUS LS-P2 - Quand [avec enregist] est sélectionné - 1](/content/2025/12/6404/images/a319665b7e9a4e2a3269acaf5d1b9fabc9223c9762bcfecea1ad5068d1f117fd.jpg)
[On]:
Permet d'extraire des segments parlés pendant un enregistrement.
[Off]:
Le mode d'enregistrement redevient normal.
② Appuyez sur la touche OK.
- La procédure est terminée lorsque le message [Réglage figé] s'affiche à l'écran.
Conseil
- Une fois le processus de détection vocale terminé, le paramètre [Lecture vocale] du [Menu Lecture] est réglé sur [On] (E33 P.62).
Remarque
- Si vous sélectionnez un dossier qui ne contient aucun fichier, le message [Pas fichier] apparait. Vous devez sélectionner un dossier contenant un fichier avant d'effectuer le processus de détection vocale.
- Les segments parlés peuvent être mal extraits si le fichier contient des segments non verbaux tels que l'enregistrement d'un concert.
- Il est possible que l'enregistreur vocal ne puisse pas extraire correctement les segments parlés dont le volume était trop bas lors de l'enregistrement (mesure du sonomètre à -12 dB ou moins), ou en raison de bruits environnants.
- La durée de l'extraction augmente proportionnellement à la taille du fichier. Avant de procéder à l'extraction, il est recommandé de recharger ou replacer la pile pour être certain qu'elle ne se déchargera pas avant la fin du processus. L'utilisation de la fonction [Avec enregist] décharge la pile plus rapidement.
- La fonction [Avec enregist] est disponible uniquement lorsque le [Mode Enregist.] est défini sur [MP3] (P.56). Les fonctions suivantes ne sont pas disponibles lorsque la fonction [Avec enregist] est activée : [VCVA] (P.59) [V-Sync. Rec] (P.60)
Déplacement/copie des fichiers [action/copie]
Les fichiers enregistrés dans la mémoire interne ou sur la carte microSD peuvent être déplacés ou copiés dans la mémoire.
1 Tout d'abord, sélectionnez le dossier contenant le fichier que vous souhaitez copier ou déplacer (P. 22). 2 Quand l'enregistreur est en mode d'arrêt, appuyez sur la touche MENU/SCENE. 3 Appuyez sur la touche OK pour déplacer le curseur dans la liste des éléments de configuration. 4 Appuyez sur la touche + ou - pour sélectionner [Action/copie]. 5 Appuyez sur la touche OK. 6 Appuyez sur la touche + ou - pour sélectionner la méthode de copie ou de déplacement du fichier.
![OLYMPUS LS-P2 - Déplacement/copie des fichiers [action/copie] - 1](/content/2025/12/6404/images/27cb739ba2ff24dc471a70bc210fbb13db06e626b76bdf4c6e45362fec45c3be.jpg)
![OLYMPUS LS-P2 - Déplacement/copie des fichiers [action/copie] - 2](/content/2025/12/6404/images/4222dc270b813bb1ef942fe9d7bbf64595f92b500b0debf8b5a88040c4a24ffb.jpg)
[Action>mémoire]: Permet de déplacer un ou plusieurs fichiers de la mémoire interne ou de la carte microSD insérée dans un autre dossier de la mémoire interne.
[copie>mémoire]: Permet de copier un ou plusieurs fichiers de la mémoire interne ou de la carte microSD insérée dans un autre dossier de la mémoire interne.
[Action>microSD]: Permet de déplac carte microSD.
[Copie>microSD]: Permet de copier un ou plusieurs fichiers de la mémoire interne ou de la carte microSD insérée dans un autre dossier de la carte microSD.
7 Appuyez sur la touche OK. 8 Appuyez sur la touche + ou - pour sélectionner le nombre de fichiers à copier ou à déplacer.
![OLYMPUS LS-P2 - Déplacement/copie des fichiers [action/copie] - 3](/content/2025/12/6404/images/d3a3f12f25f2d12f4b4219e428ea0f9c7dc363a5852ae1abcdfd06f57017a53a.jpg)
![OLYMPUS LS-P2 - Déplacement/copie des fichiers [action/copie] - 4](/content/2025/12/6404/images/a1d2117d207085ee83c046a51ae64589c075c30963d7a91c8b32734c328befe5.jpg)
[1fichier]: Permet de sélectionner seulement le fichier indiqué.
[sélection fichier]: Permet de sélectionner plusieurs fichiers.
[tous fichiers]: Permet de sélectionner tous les fichiers du dossier.
![OLYMPUS LS-P2 - Déplacement/copie des fichiers [action/copie] - 5](/content/2025/12/6404/images/08d52c91a751dfae4cea52cb6c918c855150c0500131e62c369f5363d94bfe35.jpg)
Si [1FICHIER] a été sélectionné
Appuyez sur la touche + ou - pour sélectionner le fichier à déplacer ou à copier, puis appuyez sur la touche OK.
![OLYMPUS LS-P2 - Si [1FICHIER] a été sélectionné - 1](/content/2025/12/6404/images/d2c8b4cca088d20fe438bfbea2ddd51b06f1298a400af6d26b179d08d3e0de71.jpg)
Si [select fichier] a été sélectionné
Appuyez sur la touche + ou - pour sélectionner un fichier à déplacer ou à copier, puis appuyez sur la touche OK.
![OLYMPUS LS-P2 - Si [select fichier] a été sélectionné - 1](/content/2025/12/6404/images/8721c275a0f7a8ac0aff8bcb9d6392dd20dd43a08e7b3459c2fbf294088c1c3a.jpg)
Conseil
Pour désélectionner un fichier, sélectionnez-le et appuyez sur la touche OK.
Répétez l'étape ① pour sélectionner tous les fichiers à déplacer ou à copier, puis appuyez sur la touche F2.

Si [tous fichiers] a été sélectionné
Tous les fichiers du dossier actuellement ouvert sont automatiquement sélectionnés. L'écran [Déplacer doss.] s'affiche.
![OLYMPUS LS-P2 - Si [tous fichiers] a été sélectionné - 1](/content/2025/12/6404/images/6a9c113b141d8baec8bb2fc02e2f859d8b05545f25bd56ab366795706c4adb34.jpg)
![OLYMPUS LS-P2 - Si [tous fichiers] a été sélectionné - 2](/content/2025/12/6404/images/d529c231fe108a98d208f7ca68a1958f1a12f11bc37921d3d9bf4ffbc31c94b9.jpg)
Conseil
- Les fichiers ne peuvent pas être déplacés ou copiés directement dans le dossier [Enregistreur]. Appuyez sur la touche ▶ ou I 1 pour avoir l'un des dossiers dans le dossier [Enregistreur].
11 Appuyez sur la touche F2.


- La progression de l'opération est indiquée à l'écran sous forme de pourcentage. Le message [Déplacement, total du fichier] ou [Copie totale du fichier] s'affiche à l'écran lorsque le processus est terminé.
Conseil
Les chiffres verrouillés (P.52) restent verrouillés après avoir été déplacés ou copiés.
Remarque
- Les fichiers ne peuvent pas être copiés s'il n'y a pas suffisamment de place dans la mémoire.
- Il est impossible de déplacer ou de copier plus de 200 fichiers. Pour éviter tout risque d'endommagement des données, ne retirez jamais la pile pendant le déplacement ou la copie d'un fichier.
- Les fichiers ne peuvent pas être déplacés ou copiés dans le même dossier.
- Si le déplacement ou la copie des fichiers est annulé avant la fin du processus, les fichiers dont le processus est terminé sont déplacés ou copiés et le processus des autres fichiers est annulé.
Division d'un fichier [fichier divisé]
Les gros fichiers et les fichiers dont la durée d'enregistrement est longue peuvent être divisés pour faciliter la gestion et la révision.
Remarque
- Seuls les fichiers aux formats MP3 et PCM enregistrés sur cet enregistrateur peuvent être divisés.
1 Tout d'abord, sélectionnez le fichier que vous souhaitez diviser (P. 22). 2 Quand l'enregistreur est en mode d'arrêt, appuyez sur la touche MENU/SCENE. 3 Appuyez sur la touche OK pour déplacer le curseur dans la liste des éléments de configuration. 4 Appuyez sur la touche + ou - pour sélectionner [fichier divisé]. 5 Appuyez sur la touche OK. 6 Appuyez sur la touche OK et lancez la lecture du fichier jusqu'à l'endroit où vous souhaitez diviser le fichier (P.36).
- Vous pouvez modifier la vitesse de lecture (P. 41) et effectuer une avance/ un retour rapide (P. 37).
Conseil
- Pour faciliter le processus, il est pratique de placer au préalable une marque d'index/temporaire au point de division (R-P. 45).
7 Appuyez sur la touche F2 au point de division souhaité.


8 Appuyez sur la touche + pour sélectionner [Début].


Appuyez sur la touche OK.


- Le message [Diviser!] s'affiche à l'écran et le processus de division du fichier commence. Le message [Fichier total divisé] s'affiche lorsque le processus est terminé.
10 Appuyez sur la touche STOP (■) pour quitter l'écran de menu.
Conseil
- Une fois les fichiers divisés, ils sont renommés de la manière suivante : «Nom du fichier_1» pour la première moitié et «Nom du fichier_2» pour la seconde moitié du fichier.
Remarque
- [fichier divisé] peut uniquement être effectué lorsque la liste des fichiers est affichée.
- L'enregistreur ne peut pas diviser des fichiers lorsque le nombre de fichiers dans le dossier est supérieur à 200.
- Les fichiers verrouillés (P. 52) ne peuvent pas être divisés.
- Il n'est pas toujours possible de diviser certains fichiers MP3 ou PCM avec des durées d'enregistrement très courtes. Pour éviter tout risque d'endommagement des données, ne retirez jamais la pile pendant la division d'un fichier.
Vous pouvez effacer les sections inutiles d'un fichier.
Remarque
- Seuls les fichiers au format PCM enregistrés sur cet enregistreur vocal peuvent être effacés.
1 Tout d'abord, sélectionnez le fichier que vous souhaitez effacer (P. 22). 2 Quand l'enregistreur est en mode d'arrêt, appuyez sur la touche MENU/SCENE. 3 Appuyez sur la touche OK pour déplacer le curseur dans la liste des éléments de configuration. 4 Appuyez sur la touche + ou - pour sélectionner [Effac. Partiel]. 5 Appuyez sur la touche OK. 6 Appuyez sur la touche OK pour lancer la lecture du fichier jusqu'à l'endroit que vous souhaitez supprimer (P. 36).
- Vous pouvez modifier la vitesse de lecture (P.41) et effectuer une avance/ un retard rapide (P.37).
Appuyez sur la touche F2 à l'endroit où vous souhaitez commencer l'effacement partiel.


Conseil
- La lecture continue pendant que la position [Début] est réglée. Comme lors d'une lecture normale, vous pouvez modifier la vitesse de lecture et avancer ou revenir en arrêté rapidement et ainsi atteindre la position à laquelle vous souhaitez arrêter l'effacement partiel (position [Fin]).
- Si la fin du fichier est atteinte alors que la position [Fin] n'est pas réglée, cette position devient la position finale de l'effacement partiel.
- Pour faciliter le processus, il est pratique de placer au préalable une marque d'index/temporaire au point de début et de fin (€50 P. 45).
8 Appuyez de nouveau sur la touche F2 à l'endroit où vous souhaitez arrêter l'effacement partiel.


10 Appuyez sur la touche OK.


- Le message [Effacement partiel!] apparait à l'écran et le processus de suppression débute. La suppression est terminée lorsque le message [Fin effacement partiel.] s'affiche à l'écran.
Remarque
- Une fois supprimés, les fichiers ne peuvent pas être restaurés. Soyez donc vigilant lorsque vous supprimez un fichier. Les fichiers verrouillés et en lecture seule ne peuvent pas être supprimés (E. P. 52).
- Avant de supprimer un fichier ou un dossier, rechargez ou replacez la pile pour être certain qu'elle ne se déchargera pas avant la fin du processus de suppression. Celui-ci dure environ 10 secondes. Pour ne pas risquer d'endommager les données, ne tentez jamais d'effectuer les actions suivantes avant la fin du processus de suppression:
① Déconnexion de l'adaptateur secteur ② Retrait de la pile ③ Retrait de la carte microSD (si le support d'enregistrement a été parametré sur [Carte microSD]).
Vous pouvez réduire la partie requise d'un fichier, puis la ré-enregistrer.

Remarque
- Seuls les fichiers au format PCM enregistrés sur cet enregistreur vocal peuvent être réduits.
1 Tout d'abord, sélectionnez le fichier que vous souhaitez réduire (P. 22). 2 Quand l'enregistreur est en mode d'arrêt, appuyez sur la touche MENU/SCENE. 3 Appuyez sur la touche OK pour déplacer le curseur dans la liste des éléments de configuration. 4 Appuyez sur la touche ^+ ou - pour sélectionner [Réduction]. 5 Appuyez sur la touche OK. 6 Appuyez sur la touche OK pour lancer la lecture du fichier jusqu'à la partie que vous souhaitez réduire (P. 36).
- Vous pouvez modifier la vitesse de lecture (P. 41) et effectuer une avance/un retour rapide (P. 37).
Appuyez sur la touche F2 à l'endroit auquel vous souhaitez commencer la réduction.


Conseil
- La lecture continue pendant que la position [Début] est réglée. Comme lors d'une lecture normale, vous pouvez modifier la vitesse de lecture et avancer ou revenir en arrière rapidement et ainsi atteindre la position à laquelle vous souhaitez arrêter l'effacement partiel (position [Fin]).
- Si la fin du fichier est atteinte alors que la position [Fin] n'est pas définie, cette position devient la position finale de la réduction.
- Pour faciliter le processus, il est pratique de placer au préalable une marque d'index/temporaire au point de début et de fin ([Fin] P. 45).
Appuyez à nouveau sur la touche F2 à l'endroit auquel vous souhaitez arrêter la réduction.


10 Appuyez sur la touche OK.


- Le message [Réduction!] s'affiche à l'écran et le processus de réduction du fichiers commence. Le message [Réduction terminée!] s'affiche lorsque le processus est terminé.
Remarque
Si un fichier présente une durée d'enregistrement extrêmement courte, il peut ne pas être réduit même s'il s'agit d'un fichier PCM. - Les fichiers verrouillés et en lecture seule ne peuvent pas être réduits (P. 52). - Avant de réduire un fichier, rechargez ou remplacez la pile pour être certain qu'elle ne se déchargera pas avant la fin du processus de réduction. Celui-ci dure environ 10 secondes. Pour ne pas risquer d'endommager les données, ne tentez jamais d'effectuer les actions suivantes avant la fin du processus de réduction:
① Déconnexion de l'adaptateur secteur ② Retrait de la pile ③ Retrait de la carte microSD (si le support d'enregistrement a été paramétré sur [Carte microSD]).
Configuration du guide vocal [guide vocal]
Cette fonction crée des annonces vocales selon l'utilisation en cours de l'enregistreur. Les paramètres [On/Off], [Vitesse] et [Volume] peuvent être définis pour le guide vocal.
![OLYMPUS LS-P2 - Configuration du guide vocal [guide vocal] - 1](/content/2025/12/6404/images/2b15d1377a27f86055bdb1fe6dfe3d353b1f63f333795a71eb605263024163d2.jpg)
Modèle LS-P2 uniquement
Quand l'enregistreur est en mode d'arrêt, appuyez sur la touche MENU/SCENE. 2 Appuyez sur la touche ^+ ou - pour sélectionner l'onglet [LCD/Son]. 3 Appuyez sur la touche OK pour déplacer le curseur dans la liste des éléments de configuration. 4 Appuyez sur la touche + ou - pour sélectionner [Guide Vocal]. 5 Appuyez sur la touche OK. 6 Appuyez sur la touche + ou - pour sélectionner [On/Off], [Vitesse] ou [Volume].


Active ou désactive le guide vocal.
Déterminez la vitesse du guide vocal.
Déterminez le volume du guide vocal.
Si [on/off] a été sélectionné
Appuyez sur la touche + ou - pour sélectionner [On] ou [Off].
![OLYMPUS LS-P2 - Si [on/off] a été sélectionné - 1](/content/2025/12/6404/images/37bac31039520d906b0909dfb837c0490a9770ef2a56378d25a5045d271a6a42.jpg)
Le guide vocal est activé.
Le guide vocal est annulé.
② Appuyez sur la touche OK pour quitter l’écran de sélection.
Si [vitesse] a été sélectionné
Appuyez sur la touche + ou - pour sélectionner la vitesse vocale.
![OLYMPUS LS-P2 - Si [vitesse] a été sélectionné - 1](/content/2025/12/6404/images/7d3f513e49910eefd5d461b7faf4ae0a7cab299818646bc864ec53bfa2d038ea.jpg)
Plus le nombre est grand, plus la vitesse est rapide.
② Appuyez sur la touche OK pour quitter l'écran de sélection.
Si [volume] a été sélectionné
Appuyez sur la touche + ou - pour sélectionner le volume vocal.
![OLYMPUS LS-P2 - Si [volume] a été sélectionné - 1](/content/2025/12/6404/images/93a6c78bc886a548b70260af52e9f3306246e30ed9c7df52996290be3d8d3139.jpg)
[Volume 1] à [Volume 5]:
Plus le chiffre du paramètre est élevé, plus le son est fort.
Appuyez sur la touche OK pour quitter l'écran de sélection.
Remarque
- Pendant la lecture d'un fichier, le paramètre [Vitesse] de [Guide Vocal] est désactivé.
Configuration de la connexion USB [réglagesusb]
Le paramètre [PC] vous permet de connecter l'enregistreur vocal à un ordinateur afin de transférer des fichiers. Le paramètre [Adaptateur AC] vous permet de brancher l'enregistreur vocal à un adaptateur secteur USB (modèle A514 en option) afin de recharger la pile rechargeable. Vous pouvez modifier le paramètre de classe USB, tel que requis par les différentes applications USB.
1 Quand l'enregistreur est en mode d'arrêt, appuyez sur la touche MENU/SCENE. 2 Appuyez sur la touche ^+ ou - pour sélectionner l'onglet [Menu système]. 3 Appuyez sur la touche OK pour déplacer le curseur dans la liste des éléments de configuration. 4 Appuyez sur la touche + ou - pour sélectionner [RéglagesUSB]. 5 Appuyez sur la touche OK. 6 Appuyez sur la touche ^+ ou - pour sélectionner [Connecteur USB] ou [USB].
![OLYMPUS LS-P2 - Configuration de la connexion USB [réglagesusb] - 1](/content/2025/12/6404/images/dc7565b65b3ab03e51f9ed8c69411950db085d1ab3f89e239a91de6de86ceb5c.jpg)
![OLYMPUS LS-P2 - Configuration de la connexion USB [réglagesusb] - 2](/content/2025/12/6404/images/0c3ebab73c7ccb7758fe0fcbf16bd072176ad62a1a6a455d63f6d1b0535a5c04.jpg)
[Connecteur USB] : Permet de configurer la connexion avec un ordinateur. [USB] : Permet de configurer la classe USB.
Appuyez sur la touche OK. Si [Connecteur USB] a été sélectionné Passez à l'étape 8 Si [USB] a été sélectionné Passez à l'étape 10
Conseil
- Si l'enregistreur n'est pas reconnu par l'ordinateur en tant que périphérique de stockage externe, changez le paramètre [USB] sur [Stockage].
- Si [Adaptateur AC] est défini pour [Connecteur USB], l'enregistreur vocal ne sera pas reconnu par un ordinateur.
8 Appuyez sur la touche + ou - pour sélectionner un paramètre.


Paramètres à sélectionner pour connecter l'enregistreur vocal à un ordinateur. L'enregistreur vocal sera connecté en tant que périphérique de stockage ou composite.
Paramètre à sélectionner pour recharger la pile rechargeable via un ordinateur ou pour connecter l'enregistreur vocal à un adaptateur secteur (modèle A514 en option).
Paramètre à sélectionner pour confirmer la méthode de connexion lors de chaque demande de connexion USB.
10 Appuyez sur la touche + ou - pour sélectionner un paramètre.


Paramètre à sélectionner pour que l'enregistreur vocal soit reconnu comme périphérique de stockage externe par un ordinateur connecté.
Paramètre à sélectionner pour que l'enregistreur vocal soit reconnu comme périphérique de stockage externe par un ordinateur connecté et pour utiliser l'enregistreur comme microphone/haut-parleur USB.
Formatage d'un support d'enregistrement [format]
Formater un support d'enregistrement supprime tous les fichiers existants sauvegardés dessus. Veillez à transférer tous les fichiers importants sur un ordinateur avant d'effectuer un formatage.
1 Quand l'enregistreur est en mode d'arrêt, appuyez sur la touche MENU/SCENE. 2 Appuyez sur la touche + ou - pour sélectionner l'onglet [Menu système]. 3 Appuyez sur la touche OK pour déplacer le curseur dans la liste des éléments de configuration. 4 Appuyez sur la touche + ou - pour sélectionner [Format]. 5 Appuyez sur la touche OK. 6 Appuyez sur la touche + ou - pourCHOISIR le support d'enregistrement a formater. 7 Appuyez sur la touche OK. 8 Appuyez sur la touche + pour sélectionner [Début].
![OLYMPUS LS-P2 - Formatage d'un support d'enregistrement [format] - 1](/content/2025/12/6404/images/71adc05e2046f94cfbc89dc76b0fb3cd16703c59716e54f61d373c9fd484d088.jpg)
![OLYMPUS LS-P2 - Formatage d'un support d'enregistrement [format] - 2](/content/2025/12/6404/images/85f18158c5822f87d3fa037e96addbe3a065c0feeef2ad72cc09c4b9a3faac53.jpg)
Appuyez sur la touche OK.
![OLYMPUS LS-P2 - Formatage d'un support d'enregistrement [format] - 3](/content/2025/12/6404/images/7d7cfc314bef7a2de1fa0aac96f64d69ac5e259e9050d38a4378ed5b476271e4.jpg)
![OLYMPUS LS-P2 - Formatage d'un support d'enregistrement [format] - 4](/content/2025/12/6404/images/c614ba55ddd18f20d53204df18e60bf13254c2ed324c966e27dfc6bd6525f9d2.jpg)
![OLYMPUS LS-P2 - Formatage d'un support d'enregistrement [format] - 5](/content/2025/12/6404/images/0905eb37bacccff8c82fe0ec00aab33c63edc1549e1ebe02b9be3cb4e05fbba4.jpg)
10 Appuyez de nouveau sur la touche + pour sélectionner [Début]. 11 Appuyez sur la touche OK.
![OLYMPUS LS-P2 - Formatage d'un support d'enregistrement [format] - 6](/content/2025/12/6404/images/e10c668152289263fb5ba1c9cb4b907c131d22d30413b6b22ebfc99cdc79125d.jpg)
![OLYMPUS LS-P2 - Formatage d'un support d'enregistrement [format] - 7](/content/2025/12/6404/images/ddf3ac6184b1ff7bb7767e086e714e6d822eff8399b6f85bce3faf4ae6f61a1e.jpg)
- [Format!] apparaît à l'écran lorsque le formatage débute.
- Si [Format OK] s'affiche, le formatage est terminé.
Conseil
Utilisez la fonction [MAJ réglage] pour réinitialiser toutes les fonctions de l'enregistreur vocal à leurs valeurs par défaut (E-P.70).
Remarque
- Ne formatez jamais l'enregistreur vocal à partir d'un ordinateur.
- Le formatage efface toutes les données existantes, y compris les fichiers verrouillés et les fichiers en lecture seule. Si une carte microSD est insérée dans l'enregistreur vocal, vérifie que [Mémoire interne] ou [Carte microSD] a été correctement sélectionné comme support d'enregistrement à effacer (€50 P.68).
- Avant de procéder au formatage, rechargez ou remplacez la pile pour être certain qu'elle ne se déchargera pas avant la fin du processus. Celui-ci peut durer jusqu'à 10 secondes. Pour ne pas risquer d'endommager les données, ne tentez jamais d'effectuer les actions suivantes avant la fin du processus de formatage :
① Déconnexion de l'adaptateur secteur USB ② Retrait de la pile ③ Retrait de la carte microSD (si le support d'enregistrement a été parametre sur [Carte microSD])
- Même lorsque la suppression ou le formatage est terminé(e) (P.47), seules les informations de gestion du fichier de la mémoire interne et/ou de la carte microSD sont mises à jour ; les données enregistrées ne sont pas complètement effacées. Si vous jetez une carte microSD, détruisez-la, formatez-la et enregistrez le silence jusqu'à ce que la durée d'enregistrement maximum soit atteinte ou effectuez une action similaire afin d'empêcher toute utilisation d'informations personnelles.

Modèle LS-P2 uniquement
Cette fonction est compatible avec le Bluetooth Ver. 2.1+EDR et vous permet de connecter l'enregistreur vocal à un appareil compatible possédant la même norme.
Si vous utilisez un casque compatible Bluetooth, vous pouvez utiliser l'enregistreur vocal librement et sans fil, dans la portée à laquelle un signal peut être reçu.
La technologie sans fil permet une connexion flexible, si le signal radio peut atteindre l'unité. Les signaux radio s'étendent sur une certaine plage et peuvent traverser des obstacles (bois, verre, etc.) ; ainsi, même si l'enregistreur vocal se trouve dans une autre pièce, une connexion est possible.
De plus, si vous utilisez une application spéciale sur votre smartphone, vous pouvez utiliser (enregistrer/arrêter) l'enregistreur vocal à distance si vous vous trouvez dans la plage de réception du signal. Pour plus de détails, consultez notre site Web.
Que pouvez-vous faire avec la fonction bluetooth ?
- Vous pouvez utiliser des casques compatibles Bluetooth et d'autres appareils sans fil.
- Vous pouvez utiliser un smartphone pour utiliser (enregistrer/arrêter) l'enregistreur vocal*.
- Pour utiliser cette fonction, vous devez installer une application pour smartphone spéciale.
Enregistreur vocal
Smartphone
Remarque
- La fonction Bluetooth de l'enregistreur vocal est concise pour être utilisée dans les régions ci-dessous.
Amérique: États-Unis, Canada
Europe : Allemagne, Autriche, Belgique, Bulgarie, Chypre, Croatie, Danemark, Espagne, Estonie, Finlande, France, Grèce, Hongrie, Irlande, Islande, Italie, Lettonie, Liechtenstein, Lituanie, Luxembourg, Malte, Norvège, Pays-Bas, Pologne, Portugal, République tchèque, Roumanie, Royaume-Uni, Slovaquie, Slovénie, Suède, Suisse, Turquie
N'utilise pas la fonction Bluetooth de l'appareil dans des régions autres que celles mentionnées ci-dessus. De plus, n'utilise pas la fonction Bluetooth dans un pays ou une région autre que celui d'achat.
L'utilisation de la fonction pourrait violer les restrictions de signal radio dans ce pays. Nous nous dégageons de toute responsabilité quelle qu'elle soit relative à l'utilisation de cette technologie.
- La communication peut être affectée en cas de présence de structures renforcées, de métal ou de béton entre l'enregistreur vocal et le smartphone.
- N'utilisez pas la fonction Bluetooth de l'enregistreur vocal dans un hôpital ou un avion, où son utilisation est interdite.
- Les performances de communication de l'enregistreur vocal peuvent être affectées si vous l'utilisez simultanément et à proximité d'un micro-ondes, d'un combiné de téléphone sans fil, ou d'un appareil qui utilise la bande de fréquences 2,4 GHz. Lorsque vous utiliserez l'enregistreur vocal, maintenez-vous à une distance suffisante de ces appareils.
- Dans la mesure du possible, essayez de ne pas utiliser l'enregistreur vocal à proximité de téléphones portables, de téléviseurs ou de radios.
- Les téléphones portables, PHS, téléviseurs et radios utilisent des fréquences différentes de celles de l'enregistreur vocal, mais les ondes electromagnétiques générées par les apparèils Bluetooth, comme cet enregistreur vocal, peuvent générer du bruit dans l'audio ou les images video.
- L'utilisation de la fonction Bluetooth consomme rapidement de la batterie. Ainsi, lorsque vous utilisez une connexion Bluetooth, nous vous recommendons d'utiliser un adaptateur secteur vendu séparément.
- Il n'est pas garanti que l'enregistreur vocal se connecte ou fonctionne avec tous les appareils compatibles Bluetooth.
- Nous nous dégageons de toute responsabilité en cas de perte de données résultant de l'utilisation de la fonction Bluetooth.
Notes sur la sécurité lors de l'utilisation d'appareils bluetooth
- Avec une connexion Bluetooth, des informations sont échangées sans fil entre un smartphone et l'enregistrateur vocal et tant que les signaux radio atteignent l'unité, une connexion flexible est possible. Cependant, les signaux radio pouvant traverser des obstacles (bois, verre, etc.), les problèmes suivants peuvent se produit en cas d'absence de paramètre de sécurité:
- Un tiers malveillant intercipe intentionnellement des signaux radio pour espionner le contenu de la communication.
- Une intrusion non autorisée peut causer la fuite d'informations personnelles.
- Le contenu des communications interceptées est retranscrit et transmis.
- Des virus informatiques destructeurs sont émis et peuvent détruire des données ou systèmes.
- Déconnectez-vous lorsque vous n'utilisez pas la fonction Bluetooth.
- Si un problème se produit pour une raison inévitable en raison des spécifications de la connexion Bluetooth, nous nous dégageons de toute responsabilité quelle qu'elle soit relative aux dommages causés.

OLYMPUS Audio Controller BT pour smartphones est nécessaire pour vous permettre d'utiliser votre smartphone pour commander l'enregistreur vocal à distance.
Obtention de l'application
Systèmes d'exploitation pris en charge (Mars 2015)
- Pour Android™: Android 4.0 à 5.0
Utilisez la méthode suivante pour obtenir l'application.
1. Connectez votre smartphone au réseau. 2. Recherchez l'application.
Avec « Google Play™ (anciennement Android Market™)», recherchez « OLYMPUS Audio Controller BT »
3 Sélectionnez « OLYMPUS Audio Controller BT », téléchargez et installez l'application.
- Une icône est ajoutée au menu des applications du smartphone.
Fonctions de l'application
L'installation de l'application sur votre smartphone vous permet :
Utiliser votre smartphone pour contrôler l'enregistreur vocal :
Utilisez la fonction Bluetooth pour contrôler l'enregistreur vocal (enregistrement, arrêt) à distance.
Remarque
- Consultez notre page Web pour plus de détails sur l'application.
- Lorsque vous téléchargez l'application avec une connexion de téléphone portable telle que la 3G, selon votre contrat, vous pouvez avoir à régler des frais de communication de données.
Connexion d'un appareil bluetooth
Cette fonction est compatible avec le Bluetooth Ver. 2.1+EDR et vous permet de connecter l'enregistreur vocal à un appareil compatible possédant la même norme. Une connexion sans fil vous permet d'utiliser un casque et d'autres appareils compatibles librement dans une certaine portée.
Remarque
- Vérifiez que la durée de vie de la pile est suffisante. Remplacez ou rechargez la pile si nécessaire (P.9, P.12).
- Vérifiez que le témoin Bluetooth est désactivé (P.5).
- Allumez l'appareil à connecter et vérifiez qu'il dispose d'une durée de vie de la pile suffisante.
- Placez l'enregistreur vocal et l'appareil à connecter à 1 m l'un de l'autre.
Conseil
- Il existe deux fonctions de connecter un appareil Bluetooth.
[Appairage]: utilisez cette méthode lorsque vous connectez un appareil devant être utilisé pour la première fois ou lorsque les paramètres de connexion ont été supprimés.
[Connexion] (P.94) : utilisez cette méthode lors de la connexion d'un appareil Bluetooth pour lequel les informations sont enregistrées*.
- Les informations d'appairage ont été enregistrées sur les deux appareils.
Connexion à l'aide de l'appairage
Utilisez cette méthode lorsque vous connectez un appareil devant être utilisé pour la première fois ou lorsque les paramètres de connexion ont été supprimés.
1 Basculez au mode d'appairage sur l'appareil à connecter.
Pour plus de détails sur le mode d'appairage, consultez le manuel de l'utilisateur de l'appareil à utiliser.




8 Appuyez sur la touche OK.
L'appareil recherche les appareils Bluetooth pouvant être connectés. - L'apparition de l'appareil à connecter peut nécessiter quelques instants.


10 Appuyez sur la touche OK.



- [Connexion !] s'affiche à l'écran et le processus de connexion démarre. [Connexion effectuée] s'affiche une fois le processus terminé.
- Le témoin Bluetooth à l'écran s'allume et vous pouvez utiliser l'appareil connecté.
L'appairage consiste à enregistrer un duo d'appareils lors de la connexion avec un appareil Bluetooth. Une fois l'appairage terminé, les informations nécessaires sont stockées sur les deux appareils et vous pouvez ensuite vous connecter en sélectionnant l'appareil dans la liste, sans avoir à l'appairer à nouveau.
L'appairage devra être à nouveau effectué dans les cas suivants.
- Lorsque les informations d'appairage avec l'enregistreur vocal ont été supprimées de l'appareil compatible Bluetooth à connecter. Lorsque l'élément [MAJ réglage] de l'enregistreur vocal a été exécuté pour restaurer les paramètres d'usine par défaut (E5P.70). Lorsque les informations d'appairage ont été supprimées par un autre moyen que ceux individués ci-dessus.
Connexion à l'aide de [connexion]
Utilisez cette méthode lorsque vous basculez la connexion vers un autre appareil Bluetooth*.
- Les informations d'appairage ont été enregistrées sur les deux appareils.
1 Basculez au mode d'appairage sur l'appareil à connecter.
Pour plus de détails sur le mode d'appairage, consultez le manuel de l'utilisateur de l'appareil à utiliser.
2 Quand l'enregistreur est en mode d'arrêt, appuyez sur la touche menu/scene.
3 Appuyez sur la touche + ou - pour sélectionner l'onglet [Menu système]. 4 Appuyez sur la touche OK pour déplacer le curseur dans la liste des éléments de configuration. 5 Appuyez sur la touche + ou - pour sélectionner [Bluetooth]. 6 Appuyez sur la touche OK. 7 Appuyez sur la touche + ou - pour sélectionner [Connexion].


8 Appuyez sur la touche OK.
- Le nom d'appareil Bluetooth connecté à l'enregistreur vocal jusqu'à présent s'affiche dans la liste.
9 Appuyez sur la touche + ou - pour sélectionner l'appareil à connecter.


- Appuyez sur la touche ▶ pour confirmer le nom et l'adresse de l'appareil Bluetooth sélectionné. Appuyez sur la touche ▶ pour retourner à l'écran précédent.

10 Appuyez sur la touche OK.




- [Connexion établie] s'affiche à l'écran et le processus de connexion démarre.
- [Connexion établie] s'affiche une fois le processus terminé. Le témoin Bluetooth à l'écran s'allume et vous pouvez utiliser l'appareil connecté.
Remarque
- L'enregistrement, la lecture et les autres opérations sont impossibles pendant le processus d'appairage.
- Un seul appareil Bluetooth peut être connecté en effectuant un appairage unique. Il est impossible d'appairer plusieurs appareils simultanément. Configurez les paramètres de connexion séparément pour chaque appareil.
- Si une opération telle que le fait d'éteindre l'appareil est effectuée après l'achèvement de l'appairage avec un appareil Bluetooth, la connexion Bluetooth sera déconnectée. Pour vous reconnecter, effectuez cette opération de [Connexion].
- Si la connexion Bluetooth est déconnectée de l'appareil Bluetooth, la fonction Bluetooth de l'enregistreur vocal est désactivée automatiquement.
- Si la communication devient instable une fois la connexion terminée, l'enregistreur vocal peut entrer en état d'attente de connexion.
- Si l'enregistreur vocal entre en état d'attente de connexion Bluetooth est interrompu. Contrôlez l'état de l'enregistreur vocal pendant l'enregistrement ou la lecture.
- Si la connexion Bluetooth est déconnectée s'arrête.
Interruption de la connexion avec un appareil bluetooth
Déconnexion de la connexion avec [Déconnexion]
Quand l'enregistreur est en mode d'arrêt, appuyez sur la touche MENU/SCENE. 2 Appuyez sur la touche + ou - pour sélectionner l'onglet [Menu système]. 3 Appuyez sur la touche OK pour déplacer le curseur dans la liste des éléments de configuration. 4 Appuyez sur la touche + ou - pour sélectionner [Bluetooth]. 5 Appuyez sur la touche OK. 6 Appuyez sur la touche + ou - pour sélectionner [Déconnexion].


7 Appuyez sur la touche OK.




- [Déconnexion Bluetooth] s'affiche à l'écran et le processus de déconnexion commence. [Bluetooth désactivé] s'affiche une fois le processus terminé.
- Le témoin Bluetooth à l'écran s'éteint.
Utilisation avec un ordinateur
Connectez votre enregistreur vocal à un ordinateur vous permet d'effectuer les actions suivantes :
- Vous pouvez accorder les fichiers linguistiques ou musicaux aux formats MP3 et WAV enregistrés sur votre ordinateur. L'enregistreur vocal peut être utilisé comme stockage externe pour sauvegarder ou charger des données de et vers votre ordinateur (P.102).
Les écouteurs sont disponibles en option
Environnement d'exploitation de l'ordinateur
Les exigences individuelles correspondant aux environnements d'exploitation nécessaires pour sauvegarder des fichiers enregistrés par l'enregistreur vocal sur un ordinateur à l'aide d'une connexion USB.
Système d'exploitation : Microsoft Windows Vista/7/8/8.1/10 (installation standard)
Ordinateur : Ordinateur Windows disposant d'au moins un port USB libre
Système d'exploitation : Mac OS X 10.5 à 10.10 (installation standard)
Ordinateur : Ordinateur Apple Macintosh disposant d'au moins un port USB libre
Remarque
- Même si ces conditions d'environnement d'exploitation sont respectées, la garantie ne couvre pas les versions mises à jour, les environnements à amortissement multiple et les ordinateurs que vous auriez-vous-même modifiés.
Précautions de connexion à l'ordinateur
- Lorsque vous chargez ou téléchargez un fichier vers ou à partir de l'enregistreur vocal, le transfert des données se poursuit tant que le voyant LED de l'enregistreur clignote, et cela même si l'écran de transmission des données de l'ordinateur disparaît. Ne débranchez jamais un connecteur USB avant la fin de la transmission des données. Suivez toujours la procédure détaillée P. 101 pour débrancher un connecteur USB. Il est possible que les données ne soient pas transmises correctement si vous débranchez le connecteur avant l'arrêt du lecteur.
- Ne formatez (initialisez) pas le lecteur de l'enregistreur vocal à partir d'un ordinateur. En effet, le formatage effectué depuis un ordinateur ne sera pas réalisé correctement. Pour effectuer un formatage, utilisez le menu [Format] de l'enregistreur vocal (P.87).
- Les dossiers ou fichiers de l'enregistreur vocal qui sont déplacés ou renommés dans le gestionnaire de fichiers Windows ou Macintosh peuvent être réordonnés ou ne plus être reconnus.
- Veuillez noter qu'il sera toujours possible de lire et d'écrire des données sur l'enregistreur vocal après la configuration du lecteur de ce dernier sur « Lecture seule » sur l'ordinateur. Pour empêcher les appareils électroniques à proximité d'être affectés par le bruit, débranchez le microphone externe et les écouteurs lorsque vous branchez l'enregistreur vocal sur l'ordinateur.
Connexion de l'enregistreur vocal à un ordinateur
1 Démarrez l'ordinateur. 2 Faites coulisser la glissière du connecteur USB dans le sens de la flèche.

3 Vérifiez que l'enregistreur vocal est en mode d'arrêt, puis branchez le connecteur USB sur le port USB de l'ordinateur.

Si vous utilisez une pile rechargeable Nickel-métal Hybride Olympus :
Appuyez sur la touche OK pour recharger la pile. Pour annuler la recharge de la pile, appuyez sur une touche différente de OK. - Une fois le connecteur USB branché, le message [Commande (Stockage)] s'affiche sur l'écran de l'enregistreur vocal. - L'enregistreur vocal n'établit pas de connexion avec l'ordinateur si [Adaptateur AC] est sélectionné dans le paramètre [Connecteur USB] de l'enregistreur vocal. Réglez le paramètre [Connecteur USB] sur [PC] (E 3 P.85).
Conseil
- Windows: L'enregistreur vocal est reconnu et affiché dans le dossier [Poste de travail] sous la dénomination de lecteur qui contient le nom du modèle. Si une carte microSD est insérée dans l'enregistreur vocal, elle peut être utilisée comme [Disque amovible].
- Macintosh: L'enregistreur vocal est reconnu et affiché sur le bureau sous la désignation de lecteur qui contient le nom du modèle. Lorsqu'une carte microSD est insérée dans l'enregistreur vocal, [NO NAME] est affiché. Pour en savoir plus sur le port USB de l'ordinateur, consultez le manuel utilisateur de votre ordinateur.
Remarque
- Insérez correctement le connecteur USB. Le fonctionnement ne sera pas normal si la connexion n'est pas correctement établie. Utiliser un hub USB pour connecter l'enregistreur vocal risque de perturber le fonctionnement de ce dernier. N'utilisez pas de hub USB si le fonctionnement est incertain.
- Utilisez uniquement une rallonge USB Olympus compatible. Le fonctionnement n'est pas garanti si le câble d'un autre fabricant est utilisé. Utilisez uniquement la rallonge USB Olympus avec l'enregistreur vocal et n'utilisez jamais ce dernier avec un produit d'un autre fabricant.
Déconnexion de l'enregistreur vocal d'un ordinateur
1 Dans la barre des tâches située dans le coin inférieur droit de l'écran, cliquez sur [ ] puis cliquez sur [Retirer Périphérique de stockage de masse USB en toute sécurité].









01/12/2014
- La lettre utilisée pour identifier le lecteur différent selon les ordinateurs.
- Fermez la fenêtre indiquant que vous pouvez-retirer le matériel en toute sécurité.
2 Vérifiez que le voyant LED de l'enregistreur vocal ne clignote plus et débranchez le câble USB.
1 Sélectionnez et déposez l'icône du disque amovible de l'enregistreur vocal affichée sur le bureau sur l'icône de la poubelle.

2 Vérifiez que le voyant LED de l'enregistreur vocal ne clignote plus et débranchez le câble USB.
Conseil
- Vous pouvez débrancher le câble USB et utiliser l'enregistreur vocal avant que la pile soit entièrement rechargée.
Remarque
- Pour éviter tout risque d'endommagement des données, ne déconnectez jamais l'enregistreur vocal du port USB alors que le voyant LED clignote.
Chargement de fichiers sur un ordinateur
Lorsque vous connectez votre enregistreur vocal à un ordinateur, vous pouvez transférer des données de l'enregistreur vocal afin de les sauvegarder sur l'ordinateur, et inversement. Les cinq dossiers de l'enregistreur vocal s'afficheront sur l'ordinateur comme [DOSSIER_A], [DOSSIER_B], [DOSSIER_C], [DOSSIER_D] et [DOSSIER_E] (Fig. ©). Copiez les fichiers de l'enregistreur vocal dans le dossier de votre choix sur l'ordinateur (Fig. D).
Copie de fichiers enregistrés avec le microphone intégré sur l'ordinateur
* Reconnu/affiché par le nom de lecteur de l'enregistreur vocal.
Transfert de fichiers musicaux et de contenu d'étude
* Reconnu/affiché par le nom de lecteur de l'enregistreur vocal.
Conseil
- Chaque dossier peut stocker jusqu'à 200 fichiers.
- jusqu'à 400 dossiers peuvent être créés dans le dossier [Musique] (y compris un dossier nommé [Musique]).
- L'enregistreur vocal peut reconnaître seulement deux sous-niveaux de dossier.
1. Connectez l'enregistreur vocal à l'ordinateur (P. 99). 2. Ouvrez l'explorateur Windows.
- Lorsque vous ouvrez le dossier [Poste de travail], l'enregistreur vocal est reconnu et affiché sous la lettre de lecteur qui contient le nom du modèle.
3 Cliquez sur le dossier portant le nom du modèle de votre enregistreur vocal. 4 Copiez les données souhaitées sur l'ordinateur. 5 Déconnectez l'enregistreur vocal de l'ordinateur (P. 101).
1 Connectez l'enregistreur vocal à l'ordinateur (P. 99). Lorsque vous connectez l'enregistreur vocal à un système d'exploitation Macintosh, il est reconnu et affiché sur le bureau sous la lettre de lecteur qui contient le nom du modèle. Double-cliquez sur l'icône du disque amovible portant le nom du modèle de votre enregistreur vocal. 3 Copiez les données souhaitées sur l'ordinateur. 4 Déconnectez l'enregistreur vocal de l'ordinateur (P. 101).
Remarque
- Pour éviter tout risque d'endommagement des données, ne déconnectez jamais l'enregistreur vocal du port USB alors que le voyant LED clignote.
Autres informations
Liste des messages d'alarme
| Message | Signification | Action à effectuer |
| Alim. Faible | La charge restante de la pile est faible. | Remplacez ou rechargez la pile (€a P.9, P.12). |
| Protection fichier | You've avrez tenté de supprimer un fichier verrouillé. | You'vedez déverrouiller le fichier avant de le supprimer (€a P.52). |
| Index Plein | La quantité maximum de marques d'index (99 (16*)) a été atteinte dans le fichier. | Supprimez les marques d'index inutiles (€a P.45). |
| La quantité maximum de marques temporaires (99 (16*)) a été atteinte dans le fichier. | Supprimez les marques temporaires inutiles (€a P.45). | |
| Dossier plein | Le nombre maximum de fichiers (200) a été atteint dans le dossier. | Supprimez les fichiers inutiles (€a P.47). |
| Erreur mémoire | Une erreur s'est produit dans la mémoire interne. | Contactez le centre de service après-venture d'Olympus (€a différente page). |
| Erreur carte | La carte microSD n'a pas été reconnectue correctement. | Retirez et réinsérez la carte microSD (€a P.17, P.18). |
| Mémoire pleine | Il n'y a plus de place dans la mémoire. | Supprimez les fichiers inutiles (€a P.47). |
| Pas fichier | Il n'y a aucun fichier dans le dossier. | Sélectionnez un autre dossier (€a P.22). |
| Erreur format | Une erreur de formatage est survenue. | Formatez de nouveau la mémoire (€a P.87). |
| Dossier syst. impossible connect. PC et supprimer des fichiers. | L'enregistreur vocal ne peut pas creator de fichier de gestion en raison du manque de place en mémoire. | Connectez l'enregistreur à un ordinateur et supprimez les fichiers inutiles. |
| Fichier inaccessible | Le format du fichier n'est pas pris en charge. | Sélectionnez un fichier qui puisse être lu par l'enregistreur vocal (€a P.40). |
| Sélectionner le fjichier | Aucun fjichier n'a été sélectionné. | Vous doivent sélectionner un fjichier avant d'effectuer une action (P. 22). |
| Mème dossier Ne peut pas être déplacé (copié) | Vous avez tenté de déplacer (copier) un fjichier dans le même dossier. | Veuillez sélectionner un autre dossier. |
| Des fjichiers ne peuvent pas être déplacés (copiés) | Il existe déjà un fjichier portant le même nom dans le dossier de destination. | Veuillez sélectionner un autre fjichier. |
| Le fjichier ne peut être divisé. | Vous avez tenté de diviser un fjichier qui n'est pas un fjichier MP3 ou WAV enregistréré par l'enregistreur vocal. | Veuillez sélectionner un autre fjichier. |
| Effacement partiel impossible. | Vous avez tenté de supprimer un fjichier qui n'est pas un fjichier WAV enregistréré par l'enregistreur vocal. | Veuillez sélectionner un autre fjichier. |
- Modèle LS-P1 uniquement.
| Problème | Cause probable | Solution |
| Rien n'apparait à l'écran. | La pile est mal insérée. | Vérifiez que les bornes positive et négative de la pile sont correctement placées (€3 P. 9). |
| La charge restante de la pile est faible. | Remplacez ou rechargez la pile (€3 P. 9, P. 12). | |
| L'alimentation est coupée. | Allumez l'enregistreur (€3 P. 10). | |
| Impossible d'utiliser l'enregistreur vocal | La charge restante de la pile est faible. | Remplacez ou rechargez la pile (€3 P. 9, P. 12). |
| L'alimentation est coupée. | Allumez l'enregistreur (€3 P. 10). | |
| L'enregistreur vocal est en mode VERROUILAGE. | Déactivez le mode VERROUILAGE (€3 P. 19). | |
| Enregistrement impossible | Il n'y a plus de place dans la mémoire. | Supprimez les fichiers inutiles (€3 P. 47). |
| Le nombre maximal de fichiers qu'il est possible d'enregistrer a été atteint. | Sélectionnez un autre dossier (€3 P. 22). | |
| Pas de tonalité de lecture. | Les écouteurs sont branchés sur la prise des écouteurs. | Pour envoyer le son vers le haut-parleur intégré, débranchez les écouteurs. |
| Le paramètre [Hauts parleurs] est définir sur [Off]. | Pour envoyer le son vers le haut-parleur intégré, définièse le paramètre [Hauts parleurs] sur [On] (€3 P. 67). | |
| Le volume est régélé sur [00]. | Réglez le volume (€3 P. 36). | |
| Le niveau de l'enregistrement est trop bas. | Le niveau d'enregistrement a été paramétré bas. | Recommencze l'enregistrement après avoir configuré le niveau d'enregistrement sur [Haute] ou [médium] (€3 P. 55). |
| Le niveau de sortie du périphérique externe connecté est probabilité trop bas. | Réglez le niveau de sortie du périphérique externe. | |
| Le niveau d'enregistrement n'a pas été ajusté. | Recommencze l'enregistrement après avoir régélé le niveau d'enregistrement (€3 P. 55). | |
| Le son du fichier audio est déformé. | Le niveau d'enregistrement n'apas été ajusté. | RécommencEZ l'enregistrement après avoir régÉ le niveau d'enregistrement (€3 P. 55). |
| Le niveau d'enregistrement de l'enregistreur vocal ou le niveau de sortie du périhérique exterconnecté est probablement trop haut. | Si le problème persisté après réglage du niveau d'enregistrement (€3 P. 55), configurerz le niveau de sortie du périhérique externe. | |
| Un fichier audio n'est pas enregistrré en stéréo. | Le microphone externe connecté est un microphone mono. | Le son enregistréré par un microphone mono externe connecté est enregistré sur le canal gauche uniquement. |
| [Mode Enregist.] est régÉ sur le format enregistrement mono. | Réglez [Mode Enregist.] sur un format d'enregistrement stéréo (€3 P. 56). | |
| Une valeur positive (+) a été sélectionnée pour le paramètre [Mic Zoom]. | Sélectionnez la valeur [Off] pour [Mic Zoom] (€3 P. 57). | |
| Fichier audio manquant | Le fichier a été enregistréré dans un autre dossier. | Sélectionnez un autre dossier (€3 P. 22). |
| Bruit audible pendant la lecture | L'enregistreur vocal a été secoué ou heures par un objet pendant l'enregistrement. | Essayez de ne pas toucher l'enregistreur vocal pendant l'enregistrement. |
| L'enregistreur a été placé prés d'un téléphone portable ou d'une lampe fluorescente pendant l'enregistrement ou la lecture. | Effectuez de nouveau l'enregistrement en plaçant l'enregistreur à un nouvel endroit. | |
| Les segments non verbaux ne sont pas ignorés durant la lecture. | La fonction [Détec.vocale] n'apas été appliquée au fichier. | Utilisez la fonction [Détec.vocale] pour extraire les segments parlés (€3 P. 72). |
| Le paramètre [Lecture vocale] est défini sur [Off]. | Sélectionnez la valeur [On] pour [Lecture vocale] (€3 P. 62). | |
| Suppression du fichier impossible | Le fichier est verrouillé. | Vous doivent déverrouiller le fichier avant de le supprimER (€3 P. 52). |
| Le fichier est en lecture seule. | Déverrouillez le fichier ou annulez le paramètre de lecture seule sur l'ordinateur. | |
| Suppression du dossier impossibly | Le dossier contient un fisier que l'enregistreur vocal ne reconnait pas. | Connectez l'enregistreur vocal à un ordinateur pour supprimer le dossier (€3 P. 99). |
| Bruit audible pendant la vérification d'un enregistrement | Des effets Larsen se produit. | Connector un haut-parleur à un amplificateur intégré peut provoquer des effets Larsen pendant l'enregistrement. Nous vous recommendons d'utiliser des écouteurs pour contrôler l'enregistrement. |
| Régléz la configuration de l'enregistrement en éloignant par exemple les écouteurs et le microphone ou en vérifiant que le microphone n'est pas en face des écouteurs. | ||
| Impossible d'insérer des marques d'index/temporaires | Le nombre maximum de marques (99 (16*)) est atteint. | Supprimez les marques inutiles (€3 P. 45). |
| Le fisier est verrouillé. | Déverrouillez le fisier (€3 P. 52). | |
| Le fisier est en lecture seule. | Déverrouillez le fisier ou annulez le paramètre de lecture seule sur l'ordinateur. | |
| Impossible de recharger la pile. | Le paramètre [Pile] est régle sur [Alkaline]. | Pour utiliser la pile rechargeable fournie, réglez le paramètre [Pile] sur [Ni-MH]. N'utilise pas la pile rechargeable hors de la plage de températures recommodée (€3 P. 10, P. 15, P. 68). |
| Vous n'avez pas appuyé sur la touche OK. | Appuyez sur la touche OK comme demandé dans l'écran de confirmation qui apparait lors de la connexion du connecteur USB. | |
| Le paramètre [USB] est régle sur [Composite]. | Régléz le paramètre [USB] sur [Stockage] (€3 P. 85). | |
| L'ordinateur ne reconnait pas l'enregistreur vocal. | Le paramètre [Connecteur USB] est régle sur [Adaptateur AC]. | Régléz le paramètre [Connecteur USB] sur [PC] (€3 P. 85). |
| La vitesse de lecture est trop rapide (lente). | La fonction Vitesse de lecture est réglée sur un paramètre différent de [Lecture x1,0]. | Régléz la fonction Vitesse de lecture sur [Lecture x1,0] (€3 P. 41). |
| Le fonctionnement est différent du fonctionnement habituel. | Les paramètres des fonctions ont été modifiés. | Sélectionnez [MAJ réglage]. Différentes fonctions seront restaurées à leurs paramètres initiaux (valeur d'usine par défaut). Les paramètres d'heure et les fidiers enregistrrés sont conservés (€3 P. 70). |
| Connexion à un apparéil Bluetooth impossible. | Modèle LS-P2 uniquement | |
| L'appareil Bluetooth à connecter ne possède pas de capacité de connexion activée. | Activez la capacité de connexion du périphérique Bluetooth puis essayez de reconfigurer les paramètres (€3 P. 92). | |
| La distance entre l' apparéil Bluetooth et l'enregistreur vocal est trop importante ou un obstacle les sépare. | Placez l' apparéil Bluetooth à 1m de l'enregistreur vocal, puis essayez de configurer à nouveau les paramètres (€3 P. 92). | |
| Les informations d'appairage ont été supprimées. | Réglez à nouveau l'appairage (€3 P. 92). | |
| Un son est émis lorsqu'un apparéil Bluetooth est utilisé. | Modèle LS-P2 uniquement | |
| La distance entre l' apparéil Bluetooth et l'enregistreur vocal est trop importante ou un obstacle les sépare. | Utilisez l' apparéil à proximité de l'enregistreur vocal. | |
- Modèle LS-P1 uniquement.
Écran
- Essuyez doucement avec un chiffon doux. Si l'enregistreur est très sale, trempez le chiffon dans de l'eau légèrement savonnée et essorez-le bien. Essuyez l'enregistreur avec le chiffon humide puis séchez-le avec un chiffon sec.
- Essuyez doucement avec un chiffon doux.
Remarque
- N'utilise pas de benzène, d'alcool ou d'autres solvants forts, ni de chiffon de nettoyage imbibé de produit chimique.
Les accessoires des enregistreurs vocaux Olympus peuvent être achetés directement auprès de notre boutique en ligne sur le site Web Olympus.
La disponibilité des accessoires diffère selon les pays.
Ce microphone intégré possède un large diamètre pour un enregistrement stéréo sensible.
Microphone à 2 canaux (omnidirectionnel) ME30W
Une paire de microphones omnidirectionnels à faible bruit parfaitement adaptés aux enregistrements dans des salles de conférence ou d'autres grandes salles. Les microphones doivent et gauche peuvent être placés à une distance de 5 mètres maximum.
Microphone canon compact (unidirectionnel) ME31
Un microphone canon directionnel prétable pour les enregistrements en extérieur (chants d'oiseaux et autres applications très directionnelles). Grâce à sa base en métal, le microphone est très rigide.
Microphone zoom compact (unidirectionnel) ME34
Livre avec un trépied intégré idéal pour placer le microphone sur une table lorsque vous enregistrez des événements éloignés (conférence ou cours, par exemple).
Microphone périphérique ME33
Ce microphone est idéal pour enregistrer des conférences. De plus, vous pouvez en connecter jusqu'à trois sur le canal gauche et trois sur le canal droit. Cette connexion en cascade permet aux canaux gauche et droit d'être connectés sur 12 mètres maximum afin de capturer le son sur une large portée.
Microphone cravate mono (omnidirectionnel) ME15
Petit microphone discret avec pince à cravate.
Capteur téléphonique TP8
Microphone et oreillette qui peuvent être portés dans l'oreille pendant les appels téléphoniques. Capture clairément les voix et les conversations pendant les appels téléphoniques.
Adaptateur secteur USB A514
Adaptateur secteur équipéd'un port USB, avecension de sortie de 5V c. c. (100 - 240V c. a., 50 / 60Hz)
Câble de connexion KA333
Câble de connexion résistant avec mini prises stéréo (3,5 mm de diamètre) à chaque extrémité. Utilisé pour connecter la sortie de la prise des écouteurs à l'entrée audio lors de l'enregistrement. Livré avec des adaptateurs de prise (PA331/PA231) compatibles avec les mini prises mono (3,5 mm et 2,5 mm de diamètre).
Pince support CL4
Pince permettant de fixer l'enregistreur vocal. Elle peut également être utilisée comme support si vous placez l'enregistreur vocal sur une table.
Brouilleur de VENT WJ2
Réduit le bruit du vent à basse fréquence.
Droits d'auteur et marques commerciales
- Les informations de ce document sont susceptibles d’être modifiées sans préavis. Contactez le centre de service après-vente d'Olympus pour connaître les noms des derniers modèles, les références des modèles et d'autres informations.
- Les scans et illustrations de l'enregistreur vocal utilisés dans le présent manuel peuvent ne pas correspondre au produit. Malgré les mesures prises pour assurer l'exactitude des informations de ce manuel, des erreurs peuvent apparaître. Adressez vos questions ou remarques concernant des informations erronées, des erreurs ou des omissions au centre de service après-vente d'Olympus.
- Olympus Corporation et Olympus Imaging Corp. sont les détenteurs des droits d'auteur de ce manuel. La loi relative aux droits d'auteur interdit la reproduction non autorisée de ce manuel ou la distribution non autorisée de ses reproductions.
- Notez qu'Olympus décline toute responsabilité en cas de dommages, pertes financières ou toute plainte de tiers résultant d'une utilisation inappropriée de ce produit.
Marques commerciales et déposées
- IBM et PC/AT sont des marques commerciales ou des marques déposées d'International Business Machines Corporation.
- Microsoft et Windows sont des marques déposées de Microsoft Corporation.
- microSD et microSDHC sont des marques commerciales de SD Card Association. Macintosh est une marque commerciale d'Apple Inc.
- Ce produit utilise la technologie de codage audio MP3 dont la licence appartient à Fraunhofer IIS et Thomson.
- Le produit utilise la technologie de suppression du bruit sous licence de NTT Electronics Corporation. Android et Google Play sont des marques ou des marques déposées de Google Inc.
- La marque et les logos Bluetooth® sont des marques déposées appartenant à Bluetooth SIG, Inc. et toute utilisation de ces marques par OLYMPUS Corporation s'effectue sous licence. Les autres marques et appellations commerciales sont la propriété de leurs détenteurs respectifs.
Les autres noms de produits et de marques cités dans ce manuel sont des marques commerciales ou des marques déposées de leurs propriétaires respectifs.



Avertissement
- Éteignez l'enregistreur vocal dans un hôpital ou près d'appareils médicaux électriques.
Les ondes électriques de l'enregistreur vocal peuvent affecter les appareils médicaux électriques et causer des accidents en raison d'un dysfonctionnement.
- Éloignez l'appareil d'au moins 22 cm par rapport aux personnes portant un stimulateur cardiaque.
Les ondes électriques de cet enregistreur vocal pourraient affecter le fonctionnement d'un stimulateur cardiaque.
- Éteignez l'enregistreur vocal lorsque vous êtes à bord d'un avion.
L'utilisation d'appareils sans fil à bord d'un avion peut nuire à son bon fonctionnement.
Avant d'utiliser l'enregistreur vocal, lisez attentivement ce manuel afin d'utiliser le produit correctement et en toute sécurité. Conservez ce manuel dans un endroit facilement accessible afin de vous y référer en cas de besoin.
Précautions de sécurité importantes
- Les précautions de sécurité importantes sont indiquées par les symboles et les étiquettes suivants. Respectez toutes les consignes de précautions afin de vous protéger vous-même et les autres et pour éviter tout dommage matériel.
- Chaque type de précaution est expliqué ci-dessous.

DANGER
DANGER imminent risquant d'entraîner la mort ou des blessures graves si l'enregistreur vocal n'est pas utilisé correctement.

Avertissement
Situation potentiellement susceptible d'entraîner la mort ou des blessures graves si l'enregistreur vocal n'est pas utilisé correctement.

Attention
Situation potentiellement susceptible d'entraîner des blessures ou des dégâts matériels si l'enregistreur vocal n'est pas utilisé correctement.

Avertissement
N'utilisez pas l'enregistreur vocal dans une atmosphère pouvant contenir des gaz inflammables ou explosifs.
Risque d'incendie ou d'explosion.
N'essayez pas de démonter, de réparer ou de modifier vous-même l'enregistreur vocal.
Risque de décharge électrique ou de blessures.
N'utilise pas l'enregistreur vocal pendant la conduite d'un véhicule (tel que bicyclette, moto ou voiture).
Risque d'accident de la route.
- Ne laissez pas l'enregistreur vocal dans un endroit accessible aux nourrissons et aux enfants.
Soyez vigilant lorsque vous utilisez l'enregistreur vocal à proximité d'enfants ou de nourrissons et ne laissez jamais l'appareil sans surveillance. Les enfants et les nourrissons ne sont pas en mesure de comprendre les consignes de sécurité et sont exposés aux risques suivants :
- Strangulation provoquée par un nœud accidentel du câble de l'écouteur autour du cou.
- Erreur de manipulation provoquant des blessures ou une décharge électrique.
- Si vous remarquez une odeur, un bruit anormal ou de la fumée provenant de l'enregistreur :
Débranche immédiatement la batterie et la connexion USB, en tenant garde à ne pas vous brûler ni blesser. La poursuite de l'utilisation peut causer un incendie ou des brûlures (ne touchez
Ne pas toucher le produit à mains nues lorsqu'il est en surchauffe).
Contactez le commerce où vous avez acheté l'enregistreur vocal ou un centre de service Olympus.
- N'utilisez pas l'alimentation USB avec l'allume-cigare de la voiture ou une alimentation modifiée.
Vous rencontrez un risque de surchauffe, de décharge électrique ou de dysfonctionnements.
N'utilisez que des cartes mémoire microSD/microSDHC. N'insérez jamais d'autres types de cartes dans l'enregistreur vocal.
Si un autre type de carte est accidentellement inséré dans l'enregistreur vocal, n'essayez pas de forcer pour la retirer. Contactez un centre de service ou de réparation Olympus.
Si l'enregistreur vocal est tombé à l'eau ou si des éléments étrangers (eau, métal, combustible) sont entrés dans l'appareil :
Retirez immédiatement la pile.
② Contactez le commerce où vous avez acheté l'enregistreur vocal ou un centre de service Olympus pour faire réparer l'appareil. Si vous continuez à utiliser l'appareil, vous vous exposez à un incendie ou à une décharge électrique.
N'utilisez pas l'enregistreur vocal dans les avions, hôpitaux et autres lieux où l'utilisation des appareils électroniques est restreinte. Le cas échéant, respectez la réglementation en vigueur.
Retirez immédiatement la pile. Contactez le commerce où vous avez acheté l'enregistreur vocal ou un centre de service Olympus pour faire réparer l'appareil. Si vous continuez à utiliser l'appareil, vous vous exposez à un incendie ou à une décharge électrique. N'utilisez pas l'enregistreur vocal dans les avions, hôpitaux et autres
lieux ou l'usage des appareils électroniques est restreint. Le cas échéant, respectez la réglementation en vigueur.
- Arrêtez immédiatement d'utiliser l'enregistreur vocal si vous remarquez une odeur, un bruit anormal ou de la fumée provenant de l'enregistreur.
Risque d'incendie ou de brûlures. Retirez immédiatement la pile en gardant garde de ne pas vous brûler. Contactez le commerce où vous avez acheté l'enregistreur ou un centre de service ou de réparation Olympus. (Ne touchez pas la pile à main où vous la retirez. Retirez la pile en extérieur et à distance des objets inflammables.)
Lorsque vous transportez l'enregistreur vocal par sa sangle, veillez à ce qu'il ne soit pas renversé.
Attention
- N'augmentez pas le volume avant d'effectuer une action.
Risque de problèmes auditifs ou de perte de l'audition.
DANGER
- Ne placez pas la pile à proximité des sources d'inflammation. Ne brûlez pas la pile, ne la chauffez pas et ne la démontez pas. Ne court-circuitez pas les électrodes négative et positive de la pile. Risque d'incendie, d'éclatement, de combustion ou de surchauffe.
- Ne soudez pas les connexions directement sur la pile. Ne déformez pas la pile, ne la modifiez pas et ne la démontez pas.
- Ne connectez pas les bornes négative et positive de la pile.
Risque de surchauffe, de décharge électrique ou d'incendie.
- Lorsque vous transportez ou stockez la pile, placez-la toujours dans un boîtier pour protéger les bornes. Ne transportez pas et ne stockez pas la pile avec des éléments en métal précieux tels que des trousseaux de clés.
Risque de surchauffe, de décharge électrique ou d'incendie.
- Ne branchez jamais directement la pile sur une prise de courant ou l'allume-cigare d'un véhicule. N'utilisez pas et ne laissez pas la pile dans un lieu chaud (exposition directe au soleil, dans un véhicule par forte température ou près d'un chauffage, par exemple).
Risque d'incendie, de brûlures ou de blessures provoquées par la fuite de la pile, de surchauffe ou d'échappement.

Avertissement
- Ne touchez jamais et ne portez jamais une pile si vos mains sont mouillées.
Risque de décharge électrique ou de dysfonctionnement.
N'utilisez pas la pile si elle est endommagée.
Risque d'éclatement ou de surchauffe.
N'insérez pas la pile en inversant les bornes positive et négative.
Risque de fuite, de surchauffe, de combustion ou d'éclatement.
N'utilise pas la pile si son joint d'étanchéité est endommagé (couche isolante). - Retire toujours la pile lorsque l'enregistreur vocal n'est pas utilisé pendant une longue période. - Lorsque vous jetez les piles usagées, isolez les bornes avec de l'adhésif et jetez-les avec les déchets ordinaires conformément aux lois en vigueur dans votre région. Retirez la pile de l'enregistreur vocal dès qu'elle est usée. Risque de fuite.
Risque de cécité en cas de projection du liquide de la pile dans les yeux. En cas de projection de liquide de pile dans les yeux, ne vous frottez pas les yeux. Rincez-les abondamment sous l'eau du robinet ou avec de l'eau propre. Consultez immédiatement un médecin. N'essayez pas de recharger des piles alcalines, au lithium ou d'autres piles non rechargeables. - Conservez les piles hors de portée des enfants et des nourrissons.
La pile peut être avalée par des enfants et des nourrissons. Si cet incident se produit, consultez immédiatement un médecin.
Ne plongez pas la pile dans de l'eau douce ou salée et ne mouillez pas les bornes. N'utilisez plus la pile si des problèmes apparaissent (fuite, décoloration ou déformation). - Arrêtez la recharge de la pile rechargeable si la recharge dépasse la durée de recharge spécifique.
Le liquide de pile sur les vêtements ou la peau peut provoquer des blessures ou des dommages. Rincez immédiatement la tache avec de l'eau du robinet ou de l'eau propre.

Attention
- Ne laissez pas tomber la pile et ne la soumettez pas à des chocs violents.
- Rechargez toujours la pile rechargeable avant de l'utiliser pour la première fois, ou si elle n'a pas été utilisée pendant une longue période.
- Les piles rechargeables ont une durée de vie limite. Si la durée de fonctionnement de l'enregistreur diminue alors que la pile a été correctement rechargée, considérez que la pile est usée et remplacez-la par une nouvelle.
- Le remplacement de la pile par une pile de type incorrect présente un risque d'explosion. Lorsque vous jetez les piles usagées, suivez les instructions.
Veuillez recycler les piles pour préserver les ressources de notre planète. Quand vous jetez des piles usagées, assurez-vous de recouvrir les bornes et respectez toujours la réglementation locale.
Mise au rebut de la pile rechargeable
- Le recyclage des piles permet d'économiser les ressources. Quand vous jetez une pile usagée, assurez-vous de recouvrir ses bornes et respectez toujours la réglementation locale.
Précautions d'utilisation
- Ne laissez pas l'enregistreur vocal dans des endroits chauds ou humides (exposition directe au soleil, dans un véhicule fermé en plein soleil ou sur la plage en été).
- Ne stockez pas l'enregistreur vocal dans un endroit humide ou poussiéreux. Si l'enregistreur est mouillé ou humide, essuyez-le immédiatement avec un chiffon doux. Évitez particulièrement le contact avec de l'eau salée.
- Ne placez pas l'enregistreur vocal à proximité ou sur une télévision, un réfrigerateur ou tout autre équipement électrique.
- Protégez l'enregistreur vocal du sable et de la boue. Dans le cas contraire, le produit ne serait pas réparable.
- Ne soumettez pas l'enregistreur à des chocs violents ou à des vibrations intenses.
- N'utilisez pas l'enregistreur vocal dans des endroits humides.
- Ne place pas de carte magnétique (carte bancaire, par exemple) à proximité du haut-parleur ou des écouteurs au risque de provoquer des erreurs dans les données stockées sur la carte magnétique.
- Vous pouvez entendre du bruit si l'enregistreur vocal est placé à côté d'un cordon de lampe électrique, d'une lampe fluorescente ou d'un téléphone portable pendant l'enregistrement ou la lecture.
- Les contenus enregistrés dans la mémoire interne et sur la carte microSD peuvent être détruits ou perdus pour différentes raisons : erreur d'utilisation, défaillance ou réparation de l'enregistreur vocal. C'est pourquoi, lorsque le contenu est sauvegardé dans la mémoire pendant une longue période ou est fréquemment utilisé, il peut ne pas être possible d'effectuer des actions telles que l'écriture, la lecture ou la suppression des contenus.
- Il est recommandé d'effectuer une sauvegarde des informations importantes enregistrées et de les sauvegarder sur le disque dur d'un ordinateur ou sur un autre support d'enregistrement.
- Notez qu'Olympus n'est pas responsable des dommages ou pertes financières résultant de la perte ou de la dégradation de données enregistrées, quelle qu'en soit la nature ou la cause.
- Notez qu'Olympus n'est pas responsable de la suppression ou de l'impossibilité de lecture des fichiers enregistrés provoquée par une défaillance de l'enregistreur vocal ou de l'ordinateur. L'enregistrement de supports soumis à des droits d'auteur est uniquement autorisé en cas d'enregistrement dans le cadre d'une utilisation personnelle. Tout type d'utilisation sans la permission du détenteur des droits d'auteur est interdit par la législation relative aux droits d'auteur.
Seules les informations de gestion du fichier de la mémoire interne et/ou de la carte microSD sont mises à jour lors du formatage (P.87) ou de la suppression des données (P.47). Les données enregistrées ne sont pas complètement effacées. Si vous jetez l'enregistreur vocal ou une carte microSD, détruisez-le, formatez-le et enregistrez le silence jusqu'à ce que la durée d'enregistrement maximum soit atteinte ou effectuez une action similaire afin d'empêcher toute utilisation d'informations personnelles.
Formats d'enregistrement
Format PCM linéaire Format MP3
Niveau d'entrée
-60 dBv
Fréquence d'échantillonnage
Format PCM linéaire
Puissance de travail maximale
150 mW (haut-parleur de 8 Ω)
Tension de sortie maximale
Enregistreur: ≤ 150mV (conformément à la norme EN 50332-2)
Support d'enregistrement*
Mémoire NAND flash interne :
LS-P2:8Go
LS-P1:4Go
Carte microSD
(Prise en charge de 2 Go à 32 Go.)
- Une petite part de la capacité de mémoire du support d'enregistrement est utilisée comme zone de gestion. La capacité actuelle utilisable est donc légèrement inférieure à celle affichée.
Specification bluetooth*1
Standard : Prise en charge Version 2.1+EDR Niveau de puissance de transmission : Classe 2
Distance de communication : champ de vision environ 10m^2 (max.)
Plage de fréquence opérationnelle : 2,4 GHz à 2,4835 GHz
Méthode de modulation : FHSS
Profiles compatibles : A2DP (Advanced Audio Distribution Profile)
AVRCP (Audio/Video Remote Control Profile)
1 Modèle LS-P2 uniquement 2 La distance de communication présente des valeurs indicatives. La distance de communication peut varier selon les conditions ambiantes.
Haut-parleur
Haut-parleur dynamique rond intégré Ø 18 mm
Prise microphone
3,5 mm de diamètre, impédance : 2 kΩ
Prise des écouteurs
3,5 mm de diamètre, impédance : 8Ω minimum
Alimentation
Tension standard : 1,5 V
Pile: une pile alcaline sèche AAA (modèle LR03), ou une pile rechargeable Nickel-métal Hybride Olympus
Alimentation externe : connexion USB, adaptateur AC (modèle A514 ; 5 V c. c.)
Dimensions extérieures
101× 40,6× 15,1mm (hors protubérances)
Poids
54 g (avec les piles)
Température de fonctionnement
0a42°C
Enregistrement avec prise microphone
Format PCM linéaire
| 96,0 kHz/24 bits | 20 Hz à 44 kHz |
| 88,2 kHz/24 bits | 20 Hz à 42 kHz |
| 48,0 kHz/16 bits | 20 Hz à 23 kHz |
| 44,1 kHz/16 bits | 20 Hz à 21 kHz |
| 44,1 kHz mono | 20 Hz à 21 kHz |
Format MP3
| 320 kbps | 20 Hz à 21 kHz |
| 128 kbps | 20 Hz à 17 kHz |
| 64 kbps mono | 20 Hz à 13 kHz |
LS-P2:
20 Hz à 20 kHz ([Mic central On])
60 Hz à 20 kHz ([Mic central Off])
LS-P1:
60 Hz à 20 kHz
(La limite supérieure de réponse de fréquence est définie par le mode d'enregistrement au cours de l'enregistrement du format MP3.)
Pendant la lecture
20 Hz à 20 kHz
(Les limites supérieure et inférieure de la réponse en fréquence dépendent de chaque format d'enregistrement.)
Durée de vie de la pile
Les chiffres ci-dessous sont disponibles à titre indicatif.
Pendant un enregistrement avec le microphone stéréo intégré (avec la mémoire interne)
| Mode d'enregistrement | Pile alcaline sèche | Pile rechargeable Nickel-métal Hybride | |
| Format PCM linéaire | 96,0 kHz/24 bits | 16 heures (environ) | 13 heures (environ) |
| 88,2 kHz/24 bits | 17 heures (environ) | 14 heures (environ) | |
| 48,0 kHz/16 bits | 26 heures (environ) | 20 heures (environ) | |
| 44,1 kHz/16 bits | 28 heures (environ) | 21 heures (environ) | |
| 44,1 kHz mono | 32 heures (environ) | 24 heures (environ) | |
| Format MP3 | 320 kbps | 31 heures (environ) | 22 heures (environ) |
| 128 kbps | 35 heures (environ) | 25 heures (environ) | |
| 64 kbps mono | 39 heures (environ) | 28 heures (environ) | |
Pendant la lecture d'un fichier audio (tout mode de lecture)
Lecture avec haut-parleur
| Mode d'enregistrement | Pile alcaline sèche | Pile rechargeable Nickel-métal Hybride | |
| Format PCM linéaire | 96,0 kHz/24 bits | 11 heures (environ) | 10 heures (environ) |
| 88,2 kHz/24 bits | 11 heures (environ) | 10 heures (environ) | |
| 48,0 kHz/16 bits | 13 heures (environ) | 11 heures (environ) | |
| 44,1 kHz/16 bits | 13 heures (environ) | 11 heures (environ) | |
| 44,1 kHz mono | 13 heures (environ) | 11 heures (environ) | |
| Format MP3 | 320 kbps | 13 heures (environ) | 11 heures (environ) |
| 128 kbps | 13 heures (environ) | 11 heures (environ) | |
| 64 kbps mono | 13 heures (environ) | 11 heures (environ) | |
Lecture avec écouteurs
| Mode d'enregistrement | Pile alcaline sèche | Pile rechargeable Nickel-métal Hybride | |
| Format PCM linéaire | 96,0 kHz/24 bits | 17 heures (environ) | 14 heures (environ) |
| 88,2 kHz/24 bits | 18 heures (environ) | 15 heures (environ) | |
| 48,0 kHz/16 bits | 26 heures (environ) | 20 heures (environ) | |
| 44,1 kHz/16 bits | 28 heures (environ) | 21 heures (environ) | |
| 44,1 kHz mono | 31 heures (environ) | 22 heures (environ) | |
| Format MP3 | 320 kbps | 30 heures (environ) | 22 heures (environ) |
| 128 kbps | 30 heures (environ) | 22 heures (environ) | |
| 64 kbps mono | 31 heures (environ) | 22 heures (environ) | |
Remarque
- Les durées de vie de la pile indiquées ici ont été déterminées à l'aide d'une méthode de test Olympus (quand le paramètre [Selection Mic]* est réglé sur [Mic central Off], et le paramètre [LED] sur [Off]). Les durées de vie réelles varient énormément selon la pile utilisée et les conditions d'utilisation (Modifier la vitesse de lecture ou utiliser les fonctions [Mic Zoom], [Annulier bruit], [BalancierVocal] et [Bluetooth] peuvent affecter la durée de vie de la pile).
- La durée de vie de la pile est plus courte si vous utilisez une pile rechargeable Nickel-métal Hybride qui a été utilisée fréquemment.
- La durée de vie de la pile est plus courte si vous utilisez une carte microSD.
- Modèle LS-P2 uniquement
Durée d'enregistrement
Les chiffres ci-dessous sont disponibles à titre indicatif.
Format PCM linéaire
| Mode d'enregistrement | Mémoire interne | Carte microSD | |||
| LS-P2 (8 Go) | LS-P1 (4 Go) | 32 Go | 16 Go | 8 Go | |
| 96,0 kHz/24 bits | 3 heures, 30 minutes (environ) | 1 heures, 30 minutes (environ) | 14 heures, 30 minutes (environ) | 7 heures, 15 minutes (environ) | 3 heures, 30 minutes (environ) |
| 88,2 kHz/24 bits | 3 heures, 45 minutes (environ) | 1 heures, 45 minutes (environ) | 16 heures (environ) | 7 heures, 45 minutes (environ) | 3 heures, 45 minutes (environ) |
| 48,0 kHz/16 bits | 10 heures, 30 minutes (environ) | 5 heures (environ) | 44 heures (environ) | 22 heures (environ) | 11 heures (environ) |
| 44,1 kHz/16 bits | 11 heures (environ) | 5 heures, 30 minutes (environ) | 48 heures (environ) | 23 heures, 30 minutes (environ) | 11 heures, 30 minutes (environ) |
| 44,1 kHz mono | 22 heures, 30 minutes (environ) | 11 heures (environ) | 96 heures (environ) | 47 heures, 30 minutes (environ) | 23 heures, 30 minutes (environ) |
Format MP3
| Mode d'enregistrement | Mémoire interne | Carte microSD | |||
| LS-P2 (8 Go) | LS-P1 (4 Go) | 32 Go | 16 Go | 8 Go | |
| 320 kbps | 50 heures (environ) | 24 heures, 30 minutes (environ) | 212 heures (environ) | 105 heures (environ) | 52 heures (environ) |
| 128 kbps | 126 heures (environ) | 61 heures (environ) | 530 heures (environ) | 264 heures (environ) | 132 heures (environ) |
| 64 kbps mono | 253 heures (environ) | 123 heures (environ) | 1060 heures (environ) | 525 heures (environ) | 264 heures (environ) |
Remarque
- Les durées d'enregistrement réelles peuvent être inférieures à celles indiquées ici si vous effectuez fréquemment de courts enregistrements (les durées d'enregistrement écoulées/restantes affichées par l'enregistreur vocal doivent être considérées comme des valeurs individuelles).
- La durée d'enregistrement restante varie également en raison des différences de capacité de mémoire disponibles des différentes cartes microSD.
Durée d'enregistrement maximale par fichier
- La taille maximale d'un fichier est limitée à 4 Go pour les formats MP3 et à environ 2 Go pour le format PCM linéaire (WAV).
- Indépendamment de l'espace mémoire restant, la durée d'enregistrement maximale par fichier est limitée aux valeurs suivantes:
Format PCM linéaire
| Mode d'enregistrement | Durée d'enregistrement |
| 96,0 kHz/24 bits | 1 heures (environ) |
| 88,2 kHz/24 bits | 1 heures (environ) |
| 48,0 kHz/16 bits | 3 heures (environ) |
| 44,1 kHz/16 bits | 3 heures, 20 minutes (environ) |
| 44,1 kHz mono | 6 heures, 40 minutes (environ) |
Format MP3
| Mode d'enregistrement | Durée d'enregistrement |
| 320 kbps | 29 heures, 40 minutes (environ) |
| 128 kbps | 74 heures, 30 minutes (environ) |
| 64 kbps mono | 149 heures (environ) |
Nombre de fichiers musicaux (chansons) enregistrables
Les chiffres ci-dessous sont disponibles à titre indicatif.
| LS-P2 (8 Go) | 1850 morceaux (environ) |
| LS-P1 (4 Go) | 900 morceaux (environ) |
(À 128 kbps, 4 minutes par orceau)
Notez que l'apparence et les spécifications relatives à l'enregistreur vocal sont susceptibles d'être modifiées sans information préalable pour amélioration des performances ou pour d'autres mises à niveau.
Avertissement de la FCC
- L'équipement présenté a été testé et approuvé comme étant conforme aux limites définies pour les dispositifs numériques de classe B, selon la section 15 des réglementations de la FCC. Ces limites sont définies pour minimiser les risques d'interférences nuisibles lorsque l'équipement est utilisé dans un environnement commercial. L'équipement présent génère, utilise et peut émettre une énergie de fréquence radio. Si le produit n'est ni installé ni utilisé selon les indications du Manuel utilisateur, il peut générer des interférences nuisibles aux communications de type radio.
- Cependant aucune certitude n'existe sur la génération possible d'interférences dans une installationquelconque. Si des interférences nuisibles à la réception de radio ou de télévision sont créées, ce qui peut être déterminé en allumant et en éteignant les équipements, l'utilisateur peut tenter de corriger la situation à l'aide de l'une des méthodes ci-dessous :
- Changer l'orientation ou l'emplacement de l'antenne de réception. Augmenter la distance entre l'équipement et le récepteur.
- Connecter cet équipement dans une prise ou un circuit autre que la prise ou le circuit sur lequel le récepteur est connecté.
- Consultez un revendeur ou un technicien radio/télévision expérimenté pour obtenir de l'assistance. Utilisez uniquement le câble fourni par Olympus ou l'adaptateur secteur lorsque vous connectez l'équipement applicable à un appareil externe ou à une prise de courant.
Avertissement FCC
Les changements ou modifications non expressément approuvés par le tiers responsable de la conformité peuvent annuler l'autorisation de l'utilisateur à utiliser cet équipement.
Cet émetteur ne doit pas être placé à côté de ou utilisé avec tout autre émetteur ou antenne.
Cet équipement est conforme aux limites d'exposition aux radiations FCC/IC définies pour un environnement non contrôlé et répond aux exigences d'exposition aux radiofréquences (RF) FCC dans le Supplément C à OET65 et RSS-102 des règles d'expositions aux radiofréquences (RF) IC. Cet équipement possède des niveaux d'énergie RF très faibles jugés conformes sans test du débit d'absorption spécifique (DAS).
Pour les utilisateurs résidents aux états-unis
Déclaration de conformité
Numéro de module : LS-P2/LS-P1
Nom commercial : OLYMPUS
Partie responsable : OLYMPUS AMERICA INC.
610, Center Valley, PA 18034-0610, États-Unis.
Numéro de téléphone : 484-896-5000
Testé et conforme aux normes de la FCC pour usage domestique ou professionnel
Ce dispositif est conforme à la partie 15 des règles de la FCC et de la ou des normes RSS d'Industrie du Canada exemples de licence. Son fonctionnement est soumis aux deux conditions suivantes:
(1) ce dispositif ne doit pas causer d'interférences nuisibles, et (2) ce dispositif doit accepter toute interférence reçue, y compris les interférences pouvant causer un fonctionnement indésirable de ce dispositif.
Pour les utilisateurs résidents au CANADA
CANICES-3 (B)/NMB-3 (B)
Pour les clients résidents en europe :

L'indication « CE » signifie que ce produit est conforme aux exigences européennes concernant la sécurité, la santé, l'environnement et la protection du consommateur. Les produits portant l'indication « CE » sont destinés à la vente en Europe.

Ce symbole [poubelle sur roues/barree d'une croix WEEI annexe IV] indique une collecte séparée des déchets d'équipements électriques et électroniques dans les pays de l'UE. Veuillez ne pas jeter l'équipement dans les ordures domestiques. Pour la mise en rebut de ce produit, utilisez les systèmes de traitement et de collecte disponibles dans votre pays.


Ce symbole [poubelle sur roues barrée d'une croix Directive 2006/66/CE, annexe II] indique une collecte séparée des piles usagées dans les pays de l'UE. Veuillez ne pas jeter les piles dans les ordures domestiques. Pour la mise en rebut des piles usagées

Pour éviter tout dommage possible à l'audition, n'écoutez pas de son à des niveaux de volume élevés pendant des périodes prolongées.
Par la présente, OLYMPUS déclare que cet Enregistreur vocal numérique est conforme aux exigences essentielles et aux autres dispositions appropriées de la Directive 1999/5/CE. Pour plus de détails, consultez la page http://olympus-europa.com/
2951 Ishikawa-machi, Hachioji-shi, Tokyo 192-8507, Japan.
Locaux :
Wendenstraße 14-18, 20097 Hamburg, Allemagne.
Tel.: +49 40-23773-0 / Fax: +49 40-230761
Livraisons de marchandises :
Modul H, Willi-Bleicher Str. 36, 52353 Düren, Allemagne.
Adresse postale :
Postfach 10 49 08, 20034 Hamburg, Allemagne.
Visitez notre site à l'adresse http://www.olympus-europa.com
Appelez le NUMERO D'APPEL Gratuit*: 00800-67 10 83 00
pour l'Autriche, la Belgique, la République tchèque, le Danemark, la Finlande, la France, l'Allemagne, le Luxembourg, les Pays-Bas, la Norvège, la Pologne, le Portugal, la Russie, l'Espagne, la Suède, la Suisse, le Royaume-Uni.
- Notez que certains opérateurs de services de téléphonie (mobile) n'autorisent pas l'accès ou exigent un préfixe supplémentaire pour les numéros commençant par +800.
Pour tous les pays européens non mentionnés ou si vous ne pourrez pas atteindre la communication avec le numéro ci-dessus, appelez l'un des numéros suivants
NUMÉROS D'APPEL PAYANTS: +49 40 - 237 73 899.
Notice Facile