E30060 - Poste à souder IFM - Notice d'utilisation et mode d'emploi gratuit
Retrouvez gratuitement la notice de l'appareil E30060 IFM au format PDF.
| Caractéristiques techniques | Poste à souder IFM E30060, technologie MIG/MAG, puissance réglable, courant de soudage de 30 à 200 A. |
|---|---|
| Utilisation | Idéal pour le soudage de métaux ferreux et non ferreux, adapté aux travaux de réparation et de fabrication. |
| Maintenance et réparation | Vérifier régulièrement les connexions électriques, nettoyer le pistolet de soudage et remplacer les buses usées. |
| Sécurité | Porter des équipements de protection individuelle (EPI) tels que des gants, un masque de soudage et des vêtements ignifuges. |
| Informations générales | Garantie de 2 ans, poids léger pour une manipulation facile, compatible avec différents types de fils de soudage. |
FOIRE AUX QUESTIONS - E30060 IFM
Questions des utilisateurs sur E30060 IFM
0 question sur cet appareil. Repondez a celles que vous connaissez ou posez la votre.
Poser une nouvelle question sur cet appareil
Téléchargez la notice de votre Poste à souder au format PDF gratuitement ! Retrouvez votre notice E30060 - IFM et reprennez votre appareil électronique en main. Sur cette page sont publiés tous les documents nécessaires à l'utilisation de votre appareil E30060 de la marque IFM.
MODE D'EMPLOI E30060 IFM
1 Remarques préliminaires 3
1.1 Symboles utilisés 3 1.2 Avertissements 3
2 Consignes de sécurité. 4 3 Usage prévu 5
3.1 Remarques de base 5
4 Montage 6 4.1 Procédure de soudage avec le bouchon à souder 6
5 Mise en service. 6 Élimination. 9
1 Remarques préliminaires
Notice d'utilisation, données techniques, homologations et informations supplémentaires via le code QR sur l'appareil / l'emballage ou sur documentation.ifm.com.
1.1 Symboles utilisés
✓ Condition préalable Action à effectuer Réaction, résultat
Désignation d'une touche, d'un bouton ou d'un affichage
→ Réinitialisation

Remarque importante
Le non-respect peut aboutir à des dysfonctionnements ou perturbations

Information
Remarque supplémentaire
1.2 Avertissements
Les avertissements mettent en garde contre d'éventuels dommages corporels et matériels. Cela permet une utilisation sûre du produit. Les avertissements sont gradués comme suit :

Avertissement
Avertissement de dommages corporels graves
Des blessures mortelles ou graves sont possibles si l'avertissement n'est pas respecté.

Attention
Avertissement de dommages corporels légers à modérés. Des blessures légères à modérées sont possibles si l'avertissement n'est pas respecté.

Information importante
Avertissement sur les dommages matériels Des dommages matériels sont possibles si l'avertissement n'est pas respecté.
2 Consignes de sécurité
L'appareil décrit ici est un composant à intégrer dans un système. - L'installateur du système est responsable de la sécurité du système. - L'installateur du système est tenu d'effectuer une évaluation des risques et de rédiger, sur la base de cette dernière, une documentation conforme à toutes les exigences prescrites par la loi et par les normes et de la fournir à l'opérateur et à l'utilisateur du système. Cette documentation doit contenir toutes les informations et consignes de sécurité nécessaires à l'opérateur et à l'utilisateur et, le cas échéant, à tout personnel de service autorisé par l'installateur du système. - Lire ce document avant la mise en service du produit et le conserver pendant la durée d'utilisation du produit. - Le produit doit être approprié pour les applications et conditions environnantes concernées sans aucune restriction d'utilisation. Utiliser le produit uniquement pour les applications pour lesquelles il a été prévu ( Usage prévu). - Utiliser le produit uniquement pour les fluides admissibles ( Données techniques). - Un non-respect des consignes ou des données techniques peut provoquer des dommages matériels et/ou corporels. - Le fabricant n'assume aucune responsabilité ni garantie pour les conséquences d'une mauvaise utilisation ou de modifications apportées au produit par l'utilisateur. - Le montage, la mise en service, le fonctionnement et l'entretien du produit doivent être effectués par du personnel qualifié et autorisé par le responsable de l'installation. - L'opération de soudage doit être effectuée par des personnes compétentes. - Elle doit être effectuée soigneusement selon les règles de l'art. - Assurer une aspiration suffisante des vapeurs lors du soudage. - Assurer une protection efficace du produit contre l'endommagement.
3 Usage prévu
Le raccord à souder permet le montage de capteurs dans des cuves ou des systèmes de tuyaux.
3.1 Remarques de base

Si la cuve ou la tuyauterie est soumise à un traitement supplémentaire après le soudage (par ex. par des processus d'enlèvement comme le décapage, le sablage, le microbillage ou par des processus d'application comme la pulvérisation, la peinture etc.):
S'assurer que l'intérieur et la zone d'étanchéité du raccord ne soient pas traités ultérieurement ou endommagés. Mesure appropriée: utilisation du bouchon à souder.

L'opération de soudage doit être effectuée par des personnes compétentes.
Elle doit être effectuée soigneusement selon les règles de l'art.
Pendant le soudage et la phase de refroidissement suivante, le capteur ne doit pas être monté.
Les surfaces doivent être sans souillure de tout type.
Les outils de soudage doivent être appropriés pour la matière du raccord et de la paroi.
Respecter les exigences des Cahiers des charges, de la pratique courante, des prescriptions, des normes et de la destination d'utilisation ainsi que de l'application. Elles déterminent la procédure de soudage, le matériel de soudage, le mode et le type de connexion et précisent le chanfrein, la profondeur de soudage et les prescriptions concernant la surface.

Attention
Lors de la phase de soudage, le raccord, le matériel environnant et le bouchon à souder éventuellement utilisé peuvent s'échauffer à plus de 65°C (149 °F).
Risque de brûlures. Laisser refroidir le raccord et les éventuels composants.
4.1 Procédure de soudage avec le bouchon à soudure

Respecter les directives et les remarques de base : Remarques de base (→ 5)
L'opération de soudage doit être adaptée au type de soudage et la performance du dispositif de soudage doit être adaptée à l'épaissiur de la matière à souder. Le raccord ne doit pas se déformer lors du soudage. Lors du soudage, éviter une surchauffe du raccord et garantir des phases de refroidissement suffisantes. La zone d'étanchéité du raccord ne doit pas être endommagée par des projections de soudure ou similaire. Avant de commencer le soudage, assurer une protection suffisante de la zone d'étanchéité. Percer dans le tuyau ou la paroi de la cuve un trou du diamètre extérieur du raccord. Utiliser un bouchon à souder pour la dissipation de chaleur et la protection de la zone d'étanchéité : référence E30435 pour filetage G1, référence E30071 pour filetage G1.

Raccord à souder (1) avec bouchon à souder monté (2).
Orientation du raccord : placer le repère en fonction de la position souhaitée du connecteur / afficheur du capteur vissé.

A: rainure pour joint torique (pour E30072), B: repère pour l'orientation

Prendre en compte la place nécessaire lorsqu'un câble de raccordement avec prise coudeée est utilisé. Pour cela, aligner l'adaptateur avant l'opération de soudage pour déterminer la position finale du raccord capteur électrique.

Lors d'un remplacement du capteur, le positionnement peut changer et l'orientation originale n'est donc plus garantie.
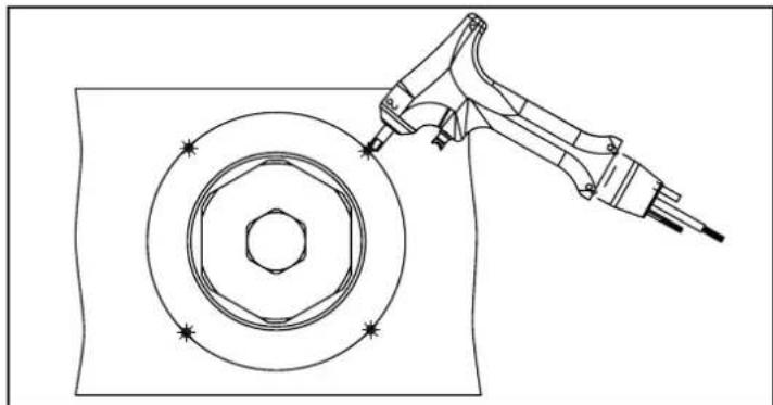
Fixer le raccord avec une force de retenue suffisante en plusieurs points. Appliquer les points de fixation à distance égale, l'un en face de l'autre.

Applique l'une en face de l'autre les soudures entre les points de fixation. Respecter des pauses suffisantes entre les différentes sections pour éviter que le raccord devienne brûlant ou se déforme en raison d'une surchauffe.

Si possible : souder la face intérieure.

Laisser refroidir le raccord et le bouchon à souder. Retirer le bouchon à souder. Enlever les résidus du fileting du raccord. Visser le capteur à la main afin de vérifier la stabilité et la fonctionnalité du filage. Si le couple de serrage est trop élevé, ne pas utiliser d'outil, mais vérifier le filage et replacer le raccord, si nécessaire.
5 Mise en service
Avant la mise en service du système : vérifier l'étanchéité de tous les composants. Mise en service du capteur : → Notice d'utilisation du capteur.
6 Élimination et retard
S'assurer d'une élimination écologique de l'appareil après son usage selon les règlements nationaux en vigueur. En cas de, s'assurer que l'appareil est exempt d'impuretés, en particulier de substances dangereuses et toxiques.
Notice Facile