Control Pro IP54 - Accessoire électrique STEINEL - Notice d'utilisation et mode d'emploi gratuit
Retrouvez gratuitement la notice de l'appareil Control Pro IP54 STEINEL au format PDF.
| Caractéristiques Techniques | IP54, puissance 2000W, tension 230V, fréquence 50Hz |
|---|---|
| Utilisation | Contrôle de l'éclairage extérieur, détection de mouvement, réglage de la sensibilité |
| Maintenance et Réparation | Vérifier régulièrement le fonctionnement des capteurs, nettoyer les lentilles pour éviter les fausses détections |
| Sécurité | Conforme aux normes de sécurité électrique, protection contre les projections d'eau |
| Informations Générales | Produit adapté pour une utilisation en extérieur, garantie constructeur de 2 ans |
FOIRE AUX QUESTIONS - Control Pro IP54 STEINEL
Téléchargez la notice de votre Accessoire électrique au format PDF gratuitement ! Retrouvez votre notice Control Pro IP54 - STEINEL et reprennez votre appareil électronique en main. Sur cette page sont publiés tous les documents nécessaires à l'utilisation de votre appareil Control Pro IP54 de la marque STEINEL.
MODE D'EMPLOI Control Pro IP54 STEINEL
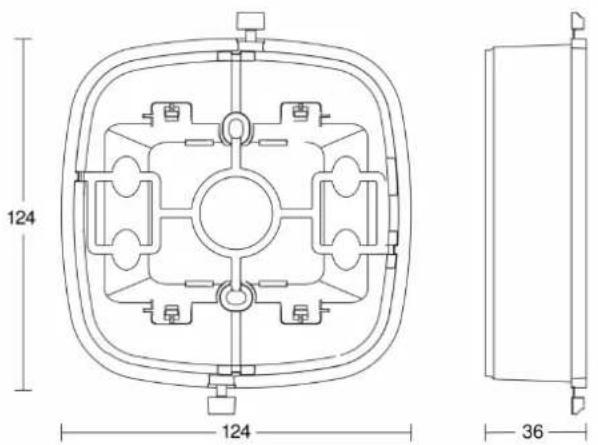
Adaptateur pour montage en saillie control pro IP54
noir
EAN4007841082031
Ref.082031

Description du fonctionnement
Un pour (presque) tous ! Adaptateur sur crépi Control PRO AP Box (IP 54) pour le montage simple sur crépi, pour les modèles Presence Control PRO IR Quattro HD, IR Quattro, HF 360 et Dual HF, introduction quadruple des câbles et grand espace de câblage, degré de protection IP 54. Disponible en noir et blanc.
Caractéristiques techniques
Type d'accessoires
Boîtier sur crépi du détecteur de présence
Dimensions (L x L x H) 36 x 120 x 120 mm
Coloris noir
Couleur. RAL 9005
Garantie du fabricant 5 ans
Variante noir
UC1, Code EAN 4007841082031

Notice Facile