DRLC702 - Ventilateur Air King - Notice d'utilisation et mode d'emploi gratuit
Retrouvez gratuitement la notice de l'appareil DRLC702 Air King au format PDF.
| Caractéristiques techniques | Ventilateur Air King DRLC702, moteur à courant continu, 3 vitesses, diamètre de 70 cm. |
|---|---|
| Utilisation | Idéal pour un usage domestique ou professionnel, pour rafraîchir les espaces intérieurs. |
| Maintenance et réparation | Nettoyage régulier des pales et du filtre, vérification des connexions électriques. |
| Sécurité | Équipé d'une protection contre la surchauffe, respecter les instructions d'installation. |
| Informations générales | Garantie de 2 ans, consommation énergétique optimisée, faible niveau sonore. |
FOIRE AUX QUESTIONS - DRLC702 Air King
Questions des utilisateurs sur DRLC702 Air King
0 question sur cet appareil. Repondez a celles que vous connaissez ou posez la votre.
Poser une nouvelle question sur cet appareil
Téléchargez la notice de votre Ventilateur au format PDF gratuitement ! Retrouvez votre notice DRLC702 - Air King et reprennez votre appareil électronique en main. Sur cette page sont publiés tous les documents nécessaires à l'utilisation de votre appareil DRLC702 de la marque Air King.
MODE D'EMPLOI DRLC702 Air King
Ventilateur combiné, comprend
lumière et ventilation

LIRE et conserver ces instructions
LIRE SOIGNEUSMENT AVANT DE TENTER D'ASSEMBLER, INSTALLER, OPÉRER OU DE RÉPARER LE PRODUIT DÉCRIT. PROTEGEZ VOUS-MÉME ET LES AUTRES EN OBSERVANT TOUTE L'INFORMATION DE SECURITE. FAILLIR À SE CONFORMER AUX INSTRUCTIONS PEUT RÉSULTER EN BLESSURE PERSONNELLE GRAVE ET/OU EN DOMMAGE À LA PROPRIÉTÉ.

CONSERVER CES INSTRUCTIONS POUR RÉFÉRENCES FUTURES.
Instructions générales de sécurité

Lors de l'utilisation d'appareils électriques, des précautions
de base doivent toujours être suivies pour réduire les risques

d'incendie, de choc électrique et de blessures corporelles, incluant ce qui suit:

AVERTISSEMENT : POUR RÉDUIRE
LES RISQUES D'INCENDIE, DE CHOC ÉLECTRIQUE
OU DE BLESSURES PERSONNELLES OBSERVER CE QUI SUIT :
a) Utiliser cette unité seulement de la manière pour laquelle le fabricant l'a conçu. Si vous avez des questions, veuillez contacter le fabricant. b) Avant d'effectuer un service ou de nettoyer l'unité, couper l'alimentation électrique dans le panneau de distribution et verrouiller le dispositif de déconnexion afin d'éviter que l'alimentation ne revienne accidentellement. Lorsque le dispositif ne peut être verrouillé, fixer solidement un avis d'avertissement, tel qu'une étiquette, au panneau de distribution.

AVERTISSEMENT : POUR RÉDUIRE
LES RISQUES D'INCENDIE, DE CHOC ELECTRIQUE
OU DE BLESSURES PERSONNELLES OBSERVER CE QUI SUIT :
a) Le travail d'installation et le câblage électrique doivent être effectués par une(des) personne(s) qualifiée(s) en conformité avec tous les codes et normes applicables, incluant la construction relative aux incendies. b) De l'air en quantité suffisante est requis pour la bonne combustion et l'évacuation de gaz par le conduit (cheminée) provenant d'équipement de brûlage au combustible pour prévenir un refoulement. Suivre les directives du fabricant de l'équipement de chauffage et les normes de sécurité telles que celles publiées par la National Fire Protection Association (NFPA) et de la American Society for Heating, Refrigeration, and Air Conditioning Engineers (ASHRAE), et de celles des autorités locales du code. c) Lors de coupe ou de perçage des murs et plafonds, ne pas endommager le filage électrique et autres utilisés cachées.

ATTENTION: POUR USAGE DE VENTILATION
GÉNÉRALE EXCLUSIVEMENT. NE PAS UTILISER POUR
ÉVACUER DU MATÉRIEL ET DES VAPEURS DANGEREUSES OU EXPLOSIVES.
d) Les ventilateurs avec conduits doivent toujours être évacués vers l'extérieur. e) Cette unité doit être mise à la terre. f) Pour éviter des dommages aux roulements des moteurs et/ou des hélices bruyantes ou déséquilibrées, empêcher la poussière de cloison sèche, poussière de construction, etc., d'atteindre l'unité de puissance. g) Lire toutes les instructions avant d'installer ou d'utiliser le ventilateur.

AVERTISSEMENT : POUR RÉDUIRE
LES RISQUES D'INCENDIE OU DE CHOC
ÉLECTRIQUE, NE PAS UTILISER CE VENTILATEUR AVEC UN RÉGULATEUR DE VITESSE ÉLECTRONIQUE.

AVERTISSEMENT : NE PAS INSTALLER AU-
DESSUS D'UNE BAIGNOIRE NI AU-DESSUS D'UNE CABINE DE DOUCHE.

AVERTISSEMENT : NE PAS UTILISER DANS LES
CUISINES
Instructions d'installation

ATTENTION : VOUS ASSURER QUE L'ALIMENTATION EST COUPEE AU PANNEAU DE SERVICE AVANT DE COMMENCER L'INSTALLATION.
Préparation du ventilateur d'évacuation
- Sortir le ventilateur de sa boîte et confirmer que toutes les pièces sont présentes. En plus du ventilateur d'évacuation vous devriez avoir:
1 - Grille avec les lentilles de l'éclairage 1 - Ensemble de clapet (attaché) 2 - Vis #8 2 - Rondelle de sécurité 4 - Traverses de montage 1 - Feuillet d'instructions / sécurité
- Retirer l'ensemble venturi du ventilateur, lequel est fixe en place par une vis au travers du venturi (Figure 1). C'est une vis imperdable et elle demeurera installée dans le venturi. Garder l'ensemble venturi et la grille dans la boite jusqu'à ce que vous en ayez besoin pour qu'ils ne soient pas endommagés ou perdus.

- Choisir un emplacement pour votre ventilateur. Pour assurer la meilleure performance de l'air et sonore, il est recommandé que la longueur des conduits et que le nombre de coudes soit gardé au minimum, et que des conduits rigides isolés soient utilisés. Des plus grands formats de conduits réduiront le bruit et les restrictions au début d'air. Ce ventilateur nécessite au moins 15,2cm (6po) de dégagement du mur ou du plafond et peut s'installer au travers de cloisons sèches d'épaisseur de 1,9cm (3/4po). Le ventilateur peut être monté directement sur la solive à l'aide des onglés de montage où entre les 40,6cm (16po) au centre des solives en utilisant les 4 traverses de montage fournies.

- Sélectionner l'alvéole défonçable la appropriée et l'enlever à l'aide d'un tournevis à lame plate (Figure 2).
Nouvelle construction
1a. Installation des Traverses de Montage : installer les traverses sur le châssis et positionner le châssis près de la solive. En utilisant le guide sur le châssis du ventilateur, aligner le châssis pour qu'il soit à effleurement avec le plafond fini. Fixer les extrémités des traverses avec des clous ou des vis (non-comprises) aux solives et glisser le châssis à sa position finale (Figure 3).

1b. Installation des Onglets de Montage : à l'aide des guides sur le chassin du ventilateur, aligner le chassin pour qu'il soit à effleurement avec le plafond fini. Positionner le ventilateur pour que les onglets reposent à plat contre la solive et fixer en place à l'aide de quatre (4) clous (non-compris) pour assurer une bonne installation (Figure 4).

Construction existante
1a. Installation des Traverses de Montage : placer le chassis en position entre les solives et tracer un contour sur le matériel du plafond (Figure 5). Mettre le chassis de côté et découvrir l'ouverture, en prenant soin de ne pas couper ou endommager des câbles électriques dissimulés ou autres utilis. Installer les traverses sur le chassis et positionner le chassis dans le trou/percé précédemment afin qu'il soit à effleurement avec le plafond fini. Fixer les extrémités des traverses aux solives (Figure 3).

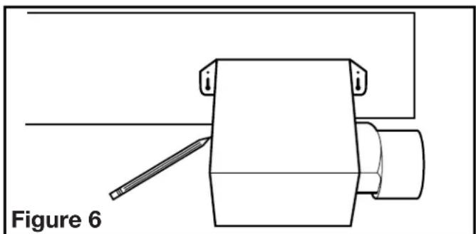
1b. Installation des Onglets de montage: positionner le chassis contre la solive et tracer un contour du chassis sur le matériel du plafond (Figure 6). Mettre le chassis de côté et découper l'ouverture, en prenant soin de ne pas couper de câble électrique dissimulé ou autre utilité. Placer le chassis près de la solive et vous assurer qu'il soit à effleurement avec le plafond fini. Fixer avec quatre (4) clous (non-compris) pour assurer une installation adéquate (Figure 4).


Attention : tous les conduits doivent etre conformes aux CODES du bâtiment LOCAUX et nationaux.
- Raccorder le conduit au collet de conduit du ventilateur (Figure 5). Fixer en place à l'aide de ruban ou de serre-joint. Toujours évacuer le ventilateur vers l'extérieur au travers de chapeau mural ou de toit.
REMARQUE: Si le clapet se détache de l'unité, le rattacher en cliquant le collet sur l'unité. Il est conçu pour ne s'assembler que d'une seule manière.
Section 5
Cablage


ATTENTION : VOUS ASSURER QUE L'ALIMENTATION EST COUPEE AU PANNEAU DE SERVICE AVANT DE COMMENCER L'INSTALLATION.

ATTENTION: TOUTES LES CONNEXIONS DOIVENT ETRE FAITES EN CONFORMITE AVEC LES CODES ELECTRIQUES LOCAUX OU SI VOUS N'ETES PAS FAMILIER AVEC LES METHODES D'INSTALLATION DE ELECTRIQUE, RECOURREZ AUX SERVICES D'UN ELECTRICIEN QUALIFIÉ.
- Câblage du ventilateur/de la lumière sur des circuits indépendants : courir le câble à partir d'un commutateur mural approuvé et de capacité appropriée. Un fil de neutre (blanc), un fil de mise à la terre (vert ou cuivre nu), et deux fils vivants (le fil noir raccordé à l'interrupteur). Fixer les câbles électriques au châssis à l'aide de connecteur électrique approuvé. Vous assurer que vous laissez suffisamment de câble dans la boîte pour permettre le raccordement au réceptacle du ventilateur. 1a. Par la où vous avez accès à l'intérieur de la boîte de jonction du ventilateur, raccorder un fil blanc de la maison aux deux fils blancs du réceptacle de la lumière du ventilateur et le fil blanc du réceptacle du ventilateur d'évacuation. Raccorder le premier fil noir provenant du commutateur mural au fil rouge du réceptacle de la lumière. Raccorder le second fil noir provenant de la maison vers le 8). Utiliser des méthodes de raccordement approuvées pour toutes les connexions.

- Câblage du ventilateur/de la lumière sur le même circuit : courir le câble d'un commutateur mural approuvé et de capacité appropriée. Un neutre (blanc), un de mise à la terre (vert ou cuivre nu), et un vivant (fil noir raccordé à l'interrupteur mural). Fixer les câbles électriques au châssis avec un connecteur électrique approuvé. Vous assurer de laisser suffisamment de câble dans la boîte pour faire le raccordement au réceptacle du ventilateur. 2a. Par la où vous avez accès à l'intérieur de la boîte de jonction du ventilateur, raccorder un fil blanc provenant de la maison aux deux fils blancs du réceptacle de la lumière et le fil blanc du réceptacle du ventilateur d'évacuation. Raccorder le fil noir provenant du commutateur mural aux deux fils rouge du réceptacle de la lumière et au fil noir du 9). Utiliser des méthodes de raccordement approuvées pour toutes les connexions.

Section 6
Complétion de l'installation
- Réinstaller le venturi du ventilateur en le tenant à un angle d'environ 45 degrés, accrocher les deux ontlets sur le venturi dans les fentes sur le cabinet et fixer en place en serrant les vis du venturi. Faire tourner la roue de la soufflante à la main pour s'assurer qu'elle tourne librement. Maintenant, connecter le moteur du ventilateur dans le réceptacle (Figure 10).
2. Enlever les lentilles de verre de la grille en dévissant le bouton au haut des lentilles (Figure 11).
3. Connecter le cordon des socles de lampe dans le réceptacle approprié (Figure 12).
4. Aligner les fentes dans la grille avec les crans à l'intérieur du chassis. Insérer les vis # 8 incluses au travers des fentes de la grille dans les crans du chassis. Serrer les deux vis jusqu'à ce que la grille s'ajuste fermement au plafond. NE PAS SERRER À OUTRANCE (Figure 13).


ATTENTION : UN MANQUEMENT A BIEN SERRER LES VIS DU REFLECTEUR POT RÉSULTER EN UN BRUIT DE CRECELLEMENT OU DE GRONDEMENT.
- Installer 2 ampoules incandescentes à culot moyen de type A19 de 60 watts au maximum (non-comprises).
- Pour réinstaller le lustre en place, glissez le lustre de façon à ce que le trou soit aligné à la tige de la grille et sécurisé avec le bouton enlevé tel que démontré à la section 3 (Figure 14).

- Restaurer l'alimentation et tester votre installation.
Section 7
Utilisation et entretien


Attention : vous assurer que l'alimentation est COUPEE au panneau de service avant de commencer l'installation.
- Nettoyage de la grille: vous reférer à la Section 6 Complétér l'installation, pour enlever la grille et les lentilles en verre. Utiliser un détergent doux, tel que le liquide pour la vaisselle, puis sécher à l'aide d'un chiffon doux. NE JAMAIS UTILISER D'ABRASIF OU DE POUDRÉ À RECURRER. Sécher complètement toutes les pièces avant de réinstaller. Vous reférer à la Section 6 Complétér l'installation, pour réinstaller la grille et les lentilles en verre.
- Nettoyage de l'assemblage du ventilateur : Nettoyer toutes les pièces à l'aide d'un chiffon sec ou passer délicatement l'aspirateur sur le ventilateur. NE JAMAIS IMMERGER LES PARTIES ÉLECTRIQUES DANS L'EAU.

Attention : permettre à l'ampoule de se refroidir avant de la replacer.
- Remplacement de l'ampoule : déconnecter l'alimentation de l'unité. Enlever les lentilles en verre de la grille en dévisant le bouton au haut des lentilles (Figure 11). Remplacer l'ampoule (les ampoules) avec une (des) ampoule(s) incandescente(s) à culot moyen de type A19 de 60 watts au maximum.
- Réinstaller en place les lentilles en verre en glissant le trou dans les lentilles sur la tige de la grille et en serrant en place avec le bouton des lentilles (Figure 14).


Avertissement : ce produit POT US vous exposer à un produit chimique [ou à des produits chimiques] connu(s) par l'état de la californie pour CAUSER la toxicite ENVERS les fonctions de la reproduction.
Guide de dépannage
| Trouble Cause Possible Solution Suggérée | ||
| 1. Le ventilateur ne fonctionne pas lorsque 1d. La moteur est terminée | 1a. Un fusible peut être grillé ou un disjoncteur l'interrupteur est à la position en marche. 1b. La fiche de raccord du moteur n'est pas connectée. 1c. Le câblage n'est pas raccordé correctement. 1d. Remplacez la moteur | 1a. Remplacer le fusible ou réinitialiser le disjoncteur. peut être déchéné. 1b. Couper l'alimentation à l'unité. Retirer la grille et brancher le moteur dans le receptacle dans le cabinet. Remettre l'alimentation sur l'unité. 1c. Couper l'alimentation de l'unité. Vérifier que tous les fils sont raccordés. |
| 2. Le ventilateur fonctionne, mais l'air circule plus lentement que la normale. | 2. Obstruction dans les conduits d'évacuation. s'évacue vers l'extérieur. | 2. Vérifier pour toute obstruction dans les conduits. Les plus courantes sont des nids d'oiseau dans le chapeau de toit ou mural là où le ventilateur |
| 3. Le ventilateur fonctionne de manière plus bruyante que la normale. | 3a. Le moteur est lâche. 3b. L'hélice du ventilateur frote contre le cabinet de l'unité. | 3a. Couper l'alimentation à l'unité. Retirer la grille et vérifier que toutes les vis sont complètement serrées. Remettre l'alimentation sur l'unité. 3b. Appeler votre marchand pour un service. |
Garantie limitee
CE QUE COUVRE CETTE GARANTIE : Ce produit est garanti contre tout vice de fabrication ou de matière.
COMBIEN DE TEMPS CETTE GARANTIE DURE: Cette garantie se rapporte seulement à l'acheteur original du produit et dure pendant une (1) année de la date de l'achat original ou jusqu'à ce que l'acheteur original du produit vend ou transfère le produit, celui qui se produit en premier.
QUE FERA AIR KING: Au cours de la période de garantie, Air King, à son besoin, réparera ou remplacera n'importe quelle partie ou pièces qui s'avèrent défectueuses ou remplacera le produit entier par le même modèle ou un modèle comparable.
CE QUE CETTE GARANTIE NE COUVRE PAS: Cette garantie ne s'applique pas si le produit était endommagé ou arrêté de fonctionner en raison d'un accident, d'une mauvaise manipulation ou opération, de dommages d'expédition, d'abus, de mauvaise utilisation, de réparation faite ou tentées non autorisées. Cette garantie ne couvre pas les coûts d'expédition pour le retour des produits à Air King pour la réparation ou le remplacement. Air King paiera les frais d'expédition de retour de Air King après les réparations ou le remplacement de garantie.
TOUTES LES GARANTIES, EXPRESSES OU TACITES (COMPRENANT, SANS LIMITATION, Toute GARANTIE TACITE DE VALEUR MARCHANDE), DURENT UN AN DE LA DATE DE L'ACHAT ORIGINAL OU JUSQU'À CE QUE L'ACHETEUR ORIGINAL DU PRODUIT VEND OU TRANSFÈRE LE PRODUIT, CELUI QUI SE PRODUIT EN PREMIER ET DANS AUCUN CAS AIR KING N'ASSUME AUCUNE RESPONSABILITÉ EXPRESSE OU TACITE POUR (I) DES DOMMAGES ACCIDENTELS OU INDIRECTES DE N'IMPORTTE QUE L'EALE CAUSE, OU (II) LE REPLACEMENT OU LA RÉPARATION DE TOUS FUSIBLES, DISJONCTEURS OU RECEPTACLES DE MAISON. MALGRÉ N'IMPORTTE QUOI À L'EFFET CONTRAIRE, DANS AUCUN CAS LA RESPONSABILITÉ D'AIR KING, SOUS UNE GARANTIE EXPRESSE OU TACITE, NE DEPASSERA LE PRIX D'ACHAT DU PRODUIT ET UNE TELLE RESPONSABILITÉ SE TERMINERA AVEC L'EXPIRATION DE LA PÉRIODE DE GARANTIE.
Certains états et provinces ne permettent pas les limitations de la période de garantie, ou l'exclusion ou la restriction des dommages accidentels ou indirects, et, par conséquent, les présentes restrictions ne peuvent pas s'appliquer. La présente garantie vous donne des droits légaux spécifiques et peut-être certains autres droits qui peuvent varier selon la province. La preuve d'achat est exigée avant qu'une réclamation de garantie ne soit acceptée.
Service à la clientèle:
Sans frais (800) 465-7300
Notre équipe de service à la clientèle est disponible pour vous aider avec des questions sur le produit, les adresses des centres de service, et les pièces de rechange. Pour la rejoindre, du lundi au vendredi, de 8h:00 à 16h:00 HNE. Veuillez avoir le numéro du modèle disponible, ainsi que le genre et le style (qui se trouvent sur
l'étiquette à l'intérieur de votre produit).
Veuillez ne pas renvoyer le produit à l'endroit de l'achat.
www.airkinglimited.com
IL SE POT QUE LES PIECES POUR LES PRODUITS DISCONTINUÉS, OBSOLETEES ET AUTRES PRODUITS NE SOIENT PAS DISPONIBLES. POUR DES RAISONS DE SURETÉ, BEAUCOPD DE COMPOSANTS ÉLECTRONIQUES ET LA PLUPART DES COMPOSANTS DES CHAUFFAGES NE SONT PAS À LA DISPOSITION DES CONSOMMATEURS POUR L'INSTALLATION OU LE REMPLACEMENT.
Installateur : Date d'installation :
Endroit de l'achat: Numéro de modèle:
Diagramme des PIECES de remplacement

| # # de piece Qte. Description de remplacement | |||
| 1 4 | Travées de Montage 5S1299002 | ||
| 2 1 | Assemblée de collier 5S1201110 | ||
| 3 | 1 | Venturi | 5S1201014 |
| 4 1 | Couvre fil en col-de-cygne | 5S1201004 | |
| 5 | 1 | Réceptacle | 5S1999001 |
| 6 1 | Connecteur 2P Polarisé | 5S1201012 | |
| # | # de piece Qte. Description de remplacement | ||
| 7 1 | Moteur avec helice | 5S1201031 | |
| 8 | 1 | Volute | 5S1201006 |
| 9 | 1 | Assemblée de la lumière - Bronze | 5S5231001 |
| 1 | Assemblée de la lumière - Nickel | 5S5231002 | |
| 1 | Assemblée de la lumière - Blanc | 5S5231003 | |
| 1 | Assemblée de la lumière - Laiton | 5S5231009 | |
Notice Facile