A79 - Caméscope Apeman - Notice d'utilisation et mode d'emploi gratuit
Retrouvez gratuitement la notice de l'appareil A79 Apeman au format PDF.
| Caractéristiques techniques | Caméscope numérique Apeman A79, résolution 4K, capteur CMOS, écran LCD de 3 pouces, zoom numérique 16x. |
|---|---|
| Utilisation | Idéal pour la capture de vidéos en extérieur, en voyage ou pour des événements familiaux. Facile à utiliser avec des modes de prise de vue variés. |
| Maintenance et réparation | Nettoyer régulièrement l'objectif avec un chiffon doux. Vérifier les mises à jour du firmware pour améliorer les performances. |
| Sécurité | Ne pas exposer à l'eau ou à des températures extrêmes. Éviter les chocs violents pour prévenir les dommages internes. |
| Informations générales | Poids léger, batterie rechargeable, compatible avec cartes SD jusqu'à 128 Go. Garantie de 1 an. |
FOIRE AUX QUESTIONS - A79 Apeman
Questions des utilisateurs sur A79 Apeman
0 question sur cet appareil. Repondez a celles que vous connaissez ou posez la votre.
Poser une nouvelle question sur cet appareil
Téléchargez la notice de votre Caméscope au format PDF gratuitement ! Retrouvez votre notice A79 - Apeman et reprennez votre appareil électronique en main. Sur cette page sont publiés tous les documents nécessaires à l'utilisation de votre appareil A79 de la marque Apeman.
MODE D'EMPLOI A79 Apeman
Avertissement et Précaution 56
Introduction du Produit 57
Contenu du Colis
Introduction des Boutons
Préparation et Installation 59
Boîtier Étanche : Comment Ouvrir et Fermer
Remplacement de la Couverture Antipoussière
Chargement de la Batterie et Installation
Insertion de la Carte SD et Formatage
Introduction des Opérations 64
ON/OFF
Introduction des Modes
Menu de Paramétrage
Connexion Wi-Fi/ à l'Ordinateur/TV 74
Spécifications 77
Garantie 78
Avertissement et Précaution
• Veuillez ne pas faire tomber la caméra.
- Gardez-la à distance de tout objet d'interférence magnétique puis-sant, afin d'éviter les fortes ondes radio qui pourraient endommager le produit et affecter la qualité du son ou de l'image.
- Tenez la caméra éloignée de l'eau et des liquides (à moins d'être équipé d'un boîtier étanche). Cela peut provoquer un dysfonctionnement de la caméra.
- Gardez hors de portée des enfants pendant la charge. Pour charger complètement la batterie il faut environ 2 heures. Nous vous conseillons de retirer la batterie de la caméra après utilisation afin d'éviter toute perte de charge de la batterie.
- Nous vous recommandons d'utiliser une carte Micro SD Classe 10 de haute qualité (max 32 Go) pour de meilleurs résultats. Veuillez formater la carte micro SD sur la caméra avant de l'utiliser et redémarrez la caméra après le formatage.
- N'exposez pas le produit directement à des températures supérieures à 55 °C.
- Ne placez pas d'objets lourds sur la caméra.
- Ne placez pas votre carte Micro SD à proximité d'objets magnétiques puissants pour éviter toute erreur ou perte de données.
Introduction du Produit
Contenu du Colis

Boîtier étanche

Couvercle antipoussière

Cable USB

Deux batteries

Cadre

Support

Vis à tête
longue

Vis à tête
courta

Support
d'extension

Support J-crochet

Adaptateur 1

Support de vélo

Clip

Autocollant
adésive

Support de casque

Boucle de
dégagement rapide

Corde d'attache
d'assurance

Microphone

Télécommande

Dragonne

Adaptateur 2
Introduction des Boutons
OK / Prise de vue

text_image
se de vue Emplacement carte TF USB HDMI Micro externe Alimentation / Mode Objectif
text_image
HAUT / Wi-Fi BAS Ecran
text_image
Couvercle de la batteriePréparation et Installation
Boîtier Étanche : Comment Ouvrir et Fermer
A. Comment ouvrir correctement le boîtier étanche :

- Pour ouvrir le boîtier étanche, passez d'abord l'interrupteur du haut vers la droite, comme indiqué par la flèche.
- Tirez la boucle du boîtier étanche.
3.Ouvrez le couvercle arrière du boîtier étanche.
B. Comment fermer correctement le boîtier étanche :

- Pour fermer le boîtier étanche. Premièrement, veuillez comprimer le couvercle arrière du boîtier étanche comme la figure 1.
• Veuillez tirer la boucle vers le bas et la connecter avec le couvercle arrière comme la figure 2.
• Abaissez la boucle du boîtier étanche comme la figure 3.
Remplacement de la Couverture Antipoussière
Le boîtier de la caméra est configuré avec deux couvercles de protection, un pour l'imperméabilisation, l'autre pour l'antipoussière ne peut pas imperméabiliser la caméra, sélectionnez le boîtier en fonction de l'environnement.
- La couverture de protection protège la caméra sous-marine, en plage, antipoussière et d'autre environnement défavorable.
• Le couvercle de protection aide à recevoir le son, et peut également réduire le bruit du vent comme faire du vélo, du jogging et d'autres sports.

Step 1

- Pour remplacer le boîtier étanche à la poussière, d'abord il faut trouver la fente du boîtier étanche comme montré à l'étape 1.
• Tenez le boîtier avec votre main comme étape 2, faites face à la fente sur le devant, et puis détachez le couvercle arrière. - Prenez le couvercle arrière dans les accessoires, celui qui a des espaces sur les deux côtés gauches et droits. Ensuite, insérez la moitié inférieure du couvercle dans la fente, puis y poussez la moitié supérieure jusqu'à ce que tout le couvercle arrière soit totalement installé.
Chargement de la Batterie et Installation
La batterie et la caméra sont emballées séparément. Assurez-vous que la batterie est complètement chargée et insérée dans la caméra avant de démarrer l'appareil.
A.Chargement de la batterie

• Trouvez le câble USB de charge de batterie dans les accessoires.
- Placez la batterie dans la caméra. Puis connectez la caméra et le chargeur par câble USB. Vous pouvez charger la batterie avec la prise d'alimentation ou avec l'ordinateur. La charge avec l'ordinateur peut être plus lente qu'avec un adaptateur d'alimentation en raison de la faible puissance de sortie des ports USB de l'ordinateur.
- Insérez les deux batteries dans le compartiment de chargement. Lorsque le chargeur est en fonctionnement, le voyant rouge signifie qu'il est en charge, le voyant bleu signifie qu'il a été complètement chargé.
Le temps de charge normal est d'environ 3,5 heures, ne chargez pas la batterie pendant trop longtemps !
B.Installation de la batterie
FR

flowchart
graph TD
A["Step ①"] --> B["Step ②"]
B --> C["Arrow to Step ①"]
style A fill:#f9f,stroke:#333
style B fill:#ccf,stroke:#333
style C fill:#cfc,stroke:#333

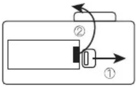
- Trouvez le couvercle de batterie au bas de la caméra. Ouvrez le couvercle de la batterie comme indiqué ci-dessus. D'abord, utilisez l'ongle de votre pouce droit pour pousser l'interrupteur vers la droite. Deuxièmement, soulevez le couvercle avec les ongles de votre pouce gauche.
- Réinstallez le couvercle après avoir inséré la batterie. Veuillez noter que la partie étendue du couvercle doit d'abord être insérée à gauche du compartiment de la batterie, puis y enfoncez la partie droite du couvercle.
Veuillez noter la direction de la batterie et celle du couvercle de la batterie.
Insertion de la Carte SD et Formatage
A. Insertion et extraction de carte SD :

- Trouvez le slot de carte Micro SD dans la caméra, insérez la carte dans l'appareil dans la direction indiquée sur l'image et poussez à l'intérieur
- Extraction de la carte: appuyez sur la carte SD jusqu'à ce que vous entendiez un son d'insertion; ensuite, la carte SD sortira facilement.
B. Formatage de la carte SD
- Insérez la carte SD en état éteint puis allumez la caméra.
- Appuyez sur un bouton OK, puis l'écran s'affiche « S'IL VOUS PLAIT INSEREZ SD CARD »; ensuite appuyez sur le bouton de mode 3 ou 4 fois pour entrer dans le menu de paramétrage.
- Appuyez sur le bouton vers le bas (à droite) jusqu'à ce que vous trouviez le réglage « Format », puis appuyez sur le bouton OK, la carte mémoire sera immédiatement formatée.
Introduction des Opérations
La série A79 dispose de quatre modes: Mode Vidéo, Mode Photo, Mode Lecture, Mode Paramètres. Voici les instructions de chaque bouton sous ces modes.
ON/OFF
Apuyez brièvement sur «Bouton d'allumage/Button de mode» : Allumer la caméra.
Apuyez longuement sur «Bouton d'allumage/Button de mode» : Éteindre la caméra.
sous chaque mode.
Introduction des Modes
Mettez la caméra sous tension et appuyez plusieurs fois sur le bouton d'Alimentation / Mode pour faire défiler les modes et les paramètres de la caméra. Les modes apparaîtront dans l'ordre suivant:

text_image
1080P60fps TF 01/01/2017 02:31:29 1:03:37 Vidéo Photo 01/01/2017 02:32:30 2529
Appuyez quatre fois sur le bouton Alimentation / Mode après la mise sous tension pour accéder au menu Paramètres. Appuyez sur le bouton Haut ou Bas pour faire défiler les différentes options et appuyez sur le bouton Prise de vue / OK pour sélectionner l'option désirée. Appuyez sur le bouton Alimentation / Mode pour faire défiler les paramètres Video, Photo, Général, et Sortie.
Paramètre vidéo
Résolution de vidéo: 4K 30fps / 2,7K 30fps / 1080p 60fps / 1080p 30fps / 720p 120fps
La résolution par défaut est 4K 30fps.
EIS: Off / On. Choisissez d'activer / désactiver le stabilisateur.
FR
Vidéo en boucle: Arrêt / 1 Min./ 3 Min./ 5 Min.
Lorsque la fonction est activée, la vidéo enregistrée sera segmentée au moment que vous avez défini.
Vidéo en accéléré: Désactivé / 1 Sec./ 5 Sec./ 10 Sec./ 30 Sec./ 60 Sec.
La vidéo enregistrée sera compressée à la durée que vous avez définie. Par exemple, une image d'une scène peut être capturée une fois par seconde, puis relue à 30 images par seconde; le résultat est une augmentation de vitesse apparente de 30 fois.
Choisissez Activé pour enregistrer l'audio dans votre vidéo.
Le paramètre par défaut est On.
Paramètre photo
Résolution de photo: 16M / 12M / 8M / 5M
La résolution par défaut est 16M
Time-Lapse photo: Arrêt / 2 Sec./ 10 Sec.
Après avoir appuyé sur le bouton Prise de vue / OK, prenez une photo après l'heure définie.
Photo rafale: Off / 3 photos / 5 photos. Le paramètre par défaut est Désactivé.
Appuyez une fois sur le bouton Prise de vue / OK pour prendre quelques photos d'affilée. Lorsque ce réglage est activé, le réglage Time-Lapse Photo sera automatiquement désactivé.
Paramètre général
Volume: 0 - 10
Ajuster le son tout en visionnant des vidéos et en appuyant sur des boutons.
Exposition: -2,0 \~ 0 \~ + 2,0
Réglez la valeur d'exposition lors de la prise de vue, pour rendre la luminosité de la photo plus réaliste.
Balance des blancs: Auto / lumière du jour / nuageux / fluoresc. / Fluoresc.1 / fluoresc.2 / Incandescente
En ajustant ce paramètre, la caméra peut corriger la couleur des photos prises dans différentes conditions d'éclairage.
ISO: Auto / ISO100 / ISO200 / ISO400 / ISO800 / ISO1600 / ISO3200
ISO désigne la sensibilité à la lumière du film ou du capteur d'imagerie.
Au-delà de simplement changer l'exposition, ISO affecte également
la qualité de l'image. Un ISO plus élevé se traduit généralement par une image bruyante ou «granuleuse».
Effet: Normal / Sépia / N & B / Négatif
Changez la couleur de la photo prise.
Réglage du système
Mode voiture: Arrêt / Marche
Lorsque ce paramètre est activé, la caméra peut être utilisée comme une caméra de voiture. À ce moment, la vidéo en boucle dans les paramètres vidéo est automatiquement définie sur 3 minutes (vous pouvez ajuster manuellement l'autre intervalle). Et la caméra commencera à enregistrer automatiquement après la mise sous tension.
Arrêt automatique: Arrêt / 1Min / 5Min
Après une période définie, s'il n'y a pas d'opération sur la caméra, la caméra s'éteindra automatiquement.
Date et heure: \_\_Y\_\_M\_\_D 00:00:00
Utilisez le bouton Haut / Bas pour changer la valeur, utilisez le bouton Prise de vue / OK pour passer à l'élément suivant.
Conseils:
La caméra ne disposant pas de batterie intégrée, une fois la batterie retirée ou la caméra hors tension lors de la prise de vue, l'heure de la caméra sera réinitialisée sur 2018/01/01 lors de sa prochaine mise sous tension. Vous devez ensuite réinitialiser l'heure dans les paramètres.
Tampon: Off / On. Horodatage sur les photos et vidéos
À l'envers: éteint / allumé
Lorsque ce paramètre est activé, l'écran de la caméra bascule de haut en bas.
Écran de veille: Arrêt / 30sec. / 1min. / 3min.
Après un certain temps, s'il n'y a pas d'opération sur la caméra, l'écran devient automatiquement noir. À ce stade, la caméra ne s'éteint pas, vous pouvez appuyer sur n'importe quel bouton pour allumer l'écran.
Format: OUI / NON
Formatez la carte mémoire dans la caméra. Une fois cette opération effectuée, toutes les dates seront supprimées. Nous vous recommandons de formater votre carte mémoire dans la caméra avant utilisation.
Restaurez tous les paramètres de la caméra aux paramètres par défaut.
Version FW: Version du firmware de la caméra
Sortie
Appuyez sur le bouton de OK / Prise de vue pour quitter les paramètres.
MODE VIDEO
Video:
Il y aura une icône vidéo dans le coin supérieur gauche de l'écran de la caméra. Assurez-vous d'avoir configuré vos paramètres vidéo. Si l'icône Vidéo sur l'écran LCD de votre caméra n'apparaît pas, appuy-ez plusieurs fois sur le bouton Alimentation / Mode jusqu'au menu de réglage et sélectionnez l'option souhaitée dans les paramètres Vidéo (par exemple Vidéo en boucle / Vidéo en accélérée / Ralenti etc.).
Pour commencer l'enregistrement:
Appuyer sur le bouton Prise de vue / OK. Le voyant d'état de la caméra (bleu) à gauche de l'écran et un point rouge sur l'écran clignotent pendant l'enregistrement.
Conseils: Si la caméra commence à enregistrer automatiquement après la mise sous tension, veuillez vérifier si vous avez activé le mode Voiture.
Pour arrêter l'enregistrement:
Appuyer à nouveau sur le bouton Prise de vue / OK. Le voyant d'état de la caméra (bleu) à gauche de l'écran et le point rouge sur l'écran cessent de clignoter pour indiquer que l'enregistrement s'est arrêté.
Pour activer / désactiver l'enregistrement audio:
Appuyez sur le bouton bas. L'icône MIC affichera l'état dans le coin inférieur droit de l'écran.
Vidéo en accéléré:
Si vous activez la vidéo en accéléré dans la vidéo, il y aura une icône
d'horloge en haut de l'écran de la caméra. Le nombre affiché sur l'icône correspond à l'heure de la compression vidéo définie.
Conseils:
Cette caméra arrête automatiquement l'enregistrement lorsque la batterie est déchargée. Votre vidéo sera enregistrée avant la mise hors tension de la caméra.
Cette caméra arrête automatiquement l'enregistrement lorsque la carte SD est pleine si la fonction d'enregistrement en boucle est désactivée. Les fichiers seront écrasés dans l'ordre d'enregistrement lorsque la carte SD est pleine si la fonction d'enregistrement en boucle est activée.
MODE PHOTO
Photo:
Il y aura une icône de photo dans le coin supérieur gauche de l'écran de la caméra. Assurez-vous d'avoir configuré vos paramètres photo. Si l'icône de photo sur l'écran LCD de votre caméra n'apparaît pas, appuyez plusieurs fois sur le bouton Alimentation / Mode dans le menu de configuration et sélectionnez l'option souhaitée dans les paramètres Photo (par exemple Time-Lapse photo / Photo rafale).
Pour capturer une photo:
Appuyez sur le bouton Prise de vue / OK. La caméra émet un son d'obturateur (le paramètre général du volume doit être activé).
Time Lapse photo:
Si vous activez la photo en Time-lapse dans le paramètre Photo, il y
aura une icône d'horloge en haut de l'écran de la caméra. Le nombre affiché sur l'icône est l'intervalle de temps pour prendre des photos.
Photo rafale:
Appuyez sur le bouton Prise de vue / OK, la caméra prendra en continu le nombre de photos que vous avez défini. À ce moment, l'inter-valle de temps défini dans Time-Lapse Photo deviendra invalide.
Lecture
Lecture Videos et Photos
Appuyez sur le bouton Alimentation / Mode pour faire passer la caméra en mode de lecture (lecture de vidéo et lecture de photo). Appuyez sur le bouton HAUT / BAS pour faire défiler les vidéos ou les photos, puis appuyez sur le bouton Prise de vue / OK pour lire les options souhaitées.
Supprimer les fichiers
Dans l'interface d'aperçu de fichier, appuyez sur le bouton HAUT pendant quelques secondes pour sélectionner si vous souhaitez supprimer le fichier en cours. Pendant la lecture des vidéos, appuyez sur le bouton BAS pour avancer rapidement la vidéo à 2 / 4 / 8X fois, et appuyez sur le bouton HAUT pour reculer.
Pour quitter le mode de lecture, appuyez sur le bouton Alimentation / Mode dans le menu de prévisualisation principal, appuyez à nouveau sur le bouton Alimentation / Mode pour passer en mode réglages.
Conseils:
En raison des différents formats de fichiers pris en charge par la caméra, les fichiers enregistrés sur d'autres caméras avec la même carte mémoire peuvent ne pas être lisibles sur cette caméra.
FR
Connexion Wi-Fi/ à l'Ordinateur/TV
Connectez-vous au Wi-Fi
La connexion Wi-Fi vous permet de contrôler votre caméra à distance sur un smartphone ou une tablette. Vous pouvez visionner la vidéo ou les images sur votre téléphone et télécharger les enregistrements. Les étapes de connexion sont les suivantes:
- Téléchargez l'application LIVE DV sur votre smartphone ou votre tablette dans Google Play ou Apple App Store.
- Appuyez sur le bouton Haut pour activer le Wi-Fi après la mise sous tension de la caméra. Le voyant d'état (BLEU) en haut de la caméra continue de clignoter pendant que la caméra attend la connexion Wi-Fi et reste allumé lorsque le Wi-Fi est connecté.
- Trouvez et connectez le Wi-Fi dans la liste Wi-Fi de votre téléphone avec le nom et le mot de passe Wi-Fi affichés sur la caméra.
- Ouvrez l'application LIVE DV sur votre téléphone ou votre tablette une fois le Wi-Fi connecté. Vous constaterez que la caméra est contrôlé par votre téléphone.
Conseils:
- Appuyez de nouveau sur le bouton Haut et maintenez-le enfoncé pour désactiver le Wi-Fi.
- La caméra peut uniquement se connecter à un périphérique à la fois.
- La connexion Wi-Fi est un peu gourmande en énergie, alors évitez de connecter le Wi-Fi lorsque la batterie est faible.
L'application LIVE DV est compatible avec les téléphones et tablettes
ci-dessous:
Pour Apple
- iPhone5,5s, 6 (plus), 6s (plus), 7,8(plus),X(au-dessus de IOS9)
- iPhone Air & Mini (au dessus de l'IOS9)
Pour Android
- Appareils Android 4x Quad-Core

Il y a trois options lorsque vous utilisez le câble micro-USB fourni pour vous connecter à un ordinateur: MSDC, PC CAM et Mode de charge. Appuyez sur le bouton Haut / Bas pour basculer entre ces trois modes et appuyez sur le bouton Prise de vue / OK pour entrer.
MSDC: Accès aux fichiers stockés dans la carte micro SD de la caméra pour les copier ou les afficher sur un ordinateur. Cette fonction peut également être réalisée par un lecteur de carte micro SD.
Caméra PC: Utiliser comme une webcam pour les chats vidéo et l'enregistrement vidéo sur votre ordinateur. Vous devrez peut-être autoriser Adobe Flash Player à s'exécuter dans votre logiciel de chat
vidéo si vous souhaitez l'utiliser en tant que webcam.
Mode de charge: Le câble USB est uniquement utilisé comme câble de chargement. Dans ce mode, vous pouvez toujours utiliser la caméra.
Connexion TV
Avec la sortie HDMI, vous pouvez afficher les films et les images enregistrés par cette caméra sur de grands écrans de télévision, projecteur, etc.
- Éteignez la caméra.
- Connectez la caméra et le téléviseur avec un câble Micro HDMI disponible dans le commerce (NON INCLUS).
- Allumez la caméra et activez le paramètre HDMI de l'appareil que vous avez l'intention d'entrer.
Conseils:
• Le périphérique d'entrée HDMI doit prendre en charge le 1080P.
- Lors de la sortie HDMI, l'affichage de la caméra devient noir. L'écran est affiché sur le périphérique d'entrée HDMI, mais l'opération est effectuée avec la caméra.
Spécifications
| Modèle | A79 |
| Capteur | Sony IMX179 |
| Lentille | 170° Objectif à grand angle (Réglable) |
| Taille d'Affichage | LCD 2 Pouces |
| Résolution de Photo | 16M/12M/8M/5M |
| Format de Vidéo | H.264 code; MOV |
| Format d'Image | JPEG |
| Connexion Wi-Fi | Soutenir Android / iOS (8 ~ 15 mètres) |
| Carte SD Mirco | Classe 10, FAT 32, 8GB-64GB |
| EV | Auto(-2.0~2.0EV) |
| Ports | Micro USB / Micro HDMI/DC2.5 Microphone |
| Temps de charge | Environ 3 heures (5V / 1A) |
| Profondeur imperméable | 40M/131.2pieds |
| Température de fonctionnement | 0°C~45°C |
| Batterie | Batterie Li-ion rechargeable 1050 mAh |
| Contact après-vente | support@apemans.com |
Garantie
Tous les produits APEMAN sont livrés avec une garantie de 12 mois à compter de la date d'achat. Et nous avons l'équipe professionnelle de service clientèle pour vous aider à tout moment.
Si vous avez des questions ou des conseils à propos de ce produit, veuillez nous contacter par e-mail. Nous vous répondrons en 24 heures et ferons de notre mieux pour vous aider à résoudre le problème jusqu'à ce que vous soyez satisfait.
les Etats-Unis et Canada: support@apemans.com
Japon: support.jp@apemans.com
Indice
Atezione 80
Introduzione 81
A. Come caricare le batterie

B.Come installare le batterie

flowchart
graph TD
A["Device ①"] --> B["Component ②"]
B --> C["Arrow ①"]
B --> D["Arrow ②"]
style A fill:#f9f,stroke:#333
style B fill:#ccf,stroke:#333

Notice Facile