TG4021W - Cuisinière ARTHUR MARTIN ELECTROLUX - Notice d'utilisation et mode d'emploi gratuit
Retrouvez gratuitement la notice de l'appareil TG4021W ARTHUR MARTIN ELECTROLUX au format PDF.
| Caractéristiques techniques | Cuisinière électrique avec four, 4 foyers, classe énergétique A |
|---|---|
| Dimensions | Largeur : 60 cm, Hauteur : 85 cm, Profondeur : 60 cm |
| Capacité du four | Capacité nette : 60 litres |
| Type de cuisson | Convection naturelle, grill, et cuisson traditionnelle |
| Utilisation | Facilité d'utilisation avec commandes manuelles et affichage des températures |
| Entretien | Nettoyage facile avec un revêtement intérieur émaillé |
| Sécurité | Système de sécurité anti-surchauffe et verrouillage du four |
| Informations générales | Garantie de 2 ans, service après-vente disponible |
FOIRE AUX QUESTIONS - TG4021W ARTHUR MARTIN ELECTROLUX
Questions des utilisateurs sur TG4021W ARTHUR MARTIN ELECTROLUX
0 question sur cet appareil. Repondez a celles que vous connaissez ou posez la votre.
Poser une nouvelle question sur cet appareil
Téléchargez la notice de votre Cuisinière au format PDF gratuitement ! Retrouvez votre notice TG4021W - ARTHUR MARTIN ELECTROLUX et reprennez votre appareil électronique en main. Sur cette page sont publiés tous les documents nécessaires à l'utilisation de votre appareil TG4021W de la marque ARTHUR MARTIN ELECTROLUX.
MODE D'EMPLOI TG4021W ARTHUR MARTIN ELECTROLUX
Notice d'utilisationNotiTM 3015TM
ARTHUR MARTIN
Electrolux
A l'attention de l'utilisateur
Page
A l'attention de l'installateur
Page
Avertissements importants 4
Description de l'appareil 6
Utilisation de votre table de cuisson 7
Conseils d'utilisation 9
Entretien et nettoyage 10
Conditions de garantie 12
Service après vente 13
\section*{Caracteristiques techniques 14}
Installation 15
Emplacement 15
Raccordement gaz 15
Branchement électrique 16
Remplacement du cable d'alimentation 16
Adaptation des brûleurs au gaz utilisé 17
Encastrement 18
Comment direyerotrivencurd'utilisation?
Les symboles suivants vous guideront tout au long de la lecture de votre notice:

Instructions de sécurité

Descriptions d'opérations

Conseils et recommendations
Conserve cette notice d'utilisation avec votre apparéil. Si l' apparéil devait être vendu ou cédé à une autre personne, assurez-vous que la notice d'utilisation l'accompagne. Le nouvel utilisateur pourra alors être informé du fonctionnement de celui-ci et des averissements s'y rapportant.
Ces avertissements ont ete rédiges pour voite sécurity et celle d'autrui.
Utilisation
- Cet apparéil a été concu pour être utilisé par des femmes. Veillez à ce que les enfants n'y touchent pas et ne l'utilisent pas comme un jouet.
A la réception de l'appareil, déballez-le ou faites-le déballer immédiatement. Vérifiez son aspect général. Faites les éventuelles réserves par écrit sur le bon de livraison ou sur le bon d'enlevement dont vous garderez un exemple. - Voiture apparéil est destiné à un usage domestique normal. Ne l'utilise pas à des fins commerciales ou industrielles ou pour d'autres buts que celui pour lequel il a été lié.
- Ne modifies pas ou n'essayez pas de modifier les caractéristiques de cet apparéil. Cela représentait un danger pour vous.
- Avant d'utiliser votre apparéil, assurez-vous qu'il a été correctement raccordé pour le type de gaz distribué.
Tenez les enfants à distancependant le fonctionnement:la table de cuisson et les recipients s'échauffent et peuvent rester chauds longtemps après l'arrêt de l'appareil.
Baissez ou eteignez tous la flamme d'un bruleur avant de retirer un recipient. -
N'utilisez jamais votre table à vide (sans récipient dessus).
Assurez-vous que les manettes sont toujours en position arrêt l'après l'appareil n'est pas utilisé.
N'utilise pas de recipients instables ou deformés : ils peuvent se renverser et provoquer un accident. -
Les réparations ne doivent être effectuées que par un service après vente qualifié. Une réparation non conforme peut être la cause de graves dommages.
- Ne conservez pas à proximé de l'appareil des produits inflammables sensibles aux températures (exemples : produits de nettoyage, bombe aerosols, ...)
Aussurez-vous que les enfants ne manipulent pas commandes. - Ne laissez rien sur la table de cuisson. Une mise en fonctionnement accidentelle pourrait provoquer un incendie.
- Si vous utilisez un apparéil électrique à proximité de votre table de cuisson, veillez a ce que le cable d'alimentation de cet apparéil électrique ne soit pas en contact avec la surface chaude de la table.
Surveillance attentivement la cuisson lors de friture dans l'huile ou la graisse. - Evitez tout courant d'air. Si un brûleur ne présente pas une flâme régulière, nettoyez-le soigneusement. Si l'inconvénient subsiste, faites appel au service après-vente.
- Si la table est équipée d'un couvercle, nettoyez-le soigneusement et ne le fermez qu'après que les brûleurs ont refroidi.
- Nettoyez l'appareil après chaque utilisation : vous prolongerez ainsi sa durée de vie et vous évitez un mauvais fonctionnement des brûleurs et des bougies d'allumage.
- Avant tout nettoyage ou intervention technique, assurez-vous que l'appareil est débranché electromiquement et complètement refroidi.
Veuillez lore attentivement ces remarques avant d'insteller et d'utiliser votre apparéil. Nous déclinons toute responsabilité en cas de dommages ou d'accident provoqués par l' apparéil du fait du non-respect de ces averissements.
Installation
- Les opérations d'installation et de branchement doivent être effectuées par un personnel qualifié et suivant les normes en vigueur.
- Sil's installation électrique de votre habitation nécessite une modification pour le branchement de votre apparéil, faites appel à un électricien qualifié.
Assurez-vous que l'appareil est installé dans une piece correctement aérée: une mauvaise ventilation peut entraîner un manque d'oxygène. Consultez un installer qualifié ou adressez-vous à la compétie de distribution du gaz de votre région. - Cette table est consque pour fonctionner en 230 V monophasé. Un évientuel branchement polyphasé sans neutre (400 V) peut provoquer la destruction des foyers.
Protection de l'environnement
Tous les matériaux marqués par le symbole sont recyclables. Déposez-les dans une déchetterie prévue à cet effet (renseignez-vous auprès des services de votre commune) pour qu'ils puissant être recupérés et recyclés.
En cas d'anomalie de fonctionnement, le service après-venture du vendeur de votre apparéil est le premier habilité à intervenir. Àdéfaut (déménagement,fermeture du magasin où vous avez effectué l'achat...,), consultez notre Service Conseil Consommateurs qui vous communiquera alors l'adresse d'un service après-venture.
Encas d'intervention sur l'appareil, exigez du service après-vente les pieces de rechange certifiées Constructeur.

A L'ATTENTION DE L'UTILISATEUR
DESCRIPTION DE L'APPAREIL

TG 4015
TG 4021
| 1 Plan de travail |
| 2 Brûleur rapide |
| 3 Brûleurs semi-rapide |
| 4 Brûleur auxiliaire |
| 5 Manette de commande du brûleur avant gauche (auxiliaire) |
| 6 Manette de commande du brûleur arrière gauche (semi-rapide) |
| 7 Manette de commande du brûleur arrière droit (semi-rapide) |
| 8 Manette de commande du brûleur avant droit (rapide) |

TM 3015
| 1 Plan de travail |
| 2 Brûleur rapide |
| 3 Brûleur semi-rapide |
| 4 Brûleur auxiliaire |
| 5 Manette de commande du brûleur avant gauche (auxiliaire) |
| 6 Manette de commande du brûleur arrière gauche (semi-rapide) |
| 7 Manette de commande du brûleur avant droit (rapide) |
| 8 Plaque électrique (Ø 145) |
| 9 Manette de commande de la plaque électrique |
| 10 Voyant témoin de fonctionnement de la plaque |
Les commandes
Les manettes qui commandent les brûleurs sont dotées de 3 positions principales d'utilisation :
- = Position arrêt

= Debit maximum et allumage automatique

= Débit minimum
Chaque brûleur du modele TG 4021 est équipé d'une sécurité thermocouple, qui coupe l'arrivée de gaz si la flamme s'éteint accidentellement (débordement, courant d'air, etc.).
L'allumage des brûleurs
Chaque brûleur est contrôle par un robinet à verrouillage de sécurité, il est impossible de tourner la manette sans la pousser.

Pour allumer un brûleur
- Appuyez sur la commande du brûleurChoisi, et tournez-la dans le sens des aiguilles d'une montre jusqu'au repère de débit maximum (
En cas de coupure d'électricité, vous pouvez utiliser cette table de cuisson sans avoir recours au système automatique. Pour cela, présente une flamme au brûleur.
Pour le modele TG 4021,maintenez la commande enfoncée pendant 5 secondes environ après l'apparition de la flamme pour activer la sécurité thermocouple.
- Placez le recipient sur le bruleur.
- Reglez le débit selon les nécessités de votre préparation, en vous assurant que la flamme ne déborde pas du fond.
- Si le brûleur s'éteint, renouvelez l'opération en Maintenant la commande enfoncée 15 secondes maximum.

Pour eteindre le bruleur
Tournez la commande dans le sens des aiguilles d'une montre jusqu'à la butée, sur la position arrêt () .

Lorsque vous faites des fritures, surveiliez attentivement la cuisson car l'huile ou laGRAISSSE pourrait facilement s'enflammer par suite d'une surchauffe.
La plaque electrique (Mod. TM 3015)
Cette table de cuisson est équipée d'une plaque électrique à 7 positions.
Pourmettre enfonnementmentla plaque,tournez lamanette correspondante sur la positiondésirée.
Levoyant lumineux (témoindefonctionnement)s'allume pour signaler que la plaque est en fonctionnement.

Tenezéloignés les jeunes enfants del'appareil jusqu'à l'extinction de ce témoin et même après extinction du témoin (la plaque est encore chaude).
La manette peut être positionnée sur l'une des 7 positions et tournée indifféremment vers la droite ou vers la gauche.
Position 0 : plaque à l'arrêt
Position 1: allure de chauffe minimale
Position 6: allure de chauffe maximale

Lorsque vous faites des fritures, surveiliez attentivement la cuisson car l'huile ou la graisse pourrait facilement s'enflammer par suite d'une surchauffe.
En tenant compte de la quantité d'aliments à cuire et du mode de cuisson, le tableau ci-dessous guidera vos premiers essais.
| Positions Cuisson | |
| 1 | Pour réchauffer les mets ou pour fondre le beurre et le chocolat |
| 2 | Pour préparer des saUCE, des daubes, des soufflés, des oeufs... |
| 3 | Soupes de légumes secs, décongélation d'aliments surgelés, cuisson d'eau ou de lait |
| 4 | Pommes de terre à la vapeur, légumes frais, soupes, pâtes, bouillon, savarins, poisson |
| 5 | Omelettes, crêpes, biftecks |
| 6 | Biftecks, tranches de viande, biscuits, raisie de viande |

CONSEILS D'UTILISATION
Les brûleurs
Afin d'obtenir un rendement maximum de chaque brûleur, utilisez des recipients adaptés au diamètre des brûleurs.
Brûleur rapide diamètre 24 - 26 cm
Brûleur semi - rapide diamètre 18-20-22 cm
Brûleur auxiliaire diamètre 10-14-16 cm
- Ne placez un récipient sur un brûleur qu'après avoir allumé celui-ci.
N'utilisez que des reçipients creux.
Assurez-vous que la flamme ne déborde pas du fond du réseau.
· Si vous devez utiliser des recipients dont le diamètre est important, nous vous recommendons d'effectuer vos cuissons sur le brûleur avant gauche, afin d'éviter la détérioration des manettes de commande.
Surveillez attentivement la cuisson lorsque vous faites des fritures : l'huile ou la graisse peuvent facilement s'enflammer par suite d'une surchauffe. - Si la flamme d'un brûleur s'eteint accidentellement, ramenez la manette correspondante sur la position arrêt et attendez une minute avant de rallumer le brûleur.
L'utilisation continue et intensive de votre table de cuisson demande une aération supplémentaire : ouvre une fenetre ou augmentez la puissance d'aspiration mécanique (si existante).



La plaque électrique
Choisissez des reçipients à fond épais et bien plat (fond dressé) et utilisez toujours un récipient dont le diamètre est proportionné à la plaque.
Ne faites pas chauffer la plaque à vide et n'interposez aucun produit ou matériel entre la plaque et le recipient.
Chaque fais que la recette le permet, couvrez votre récipient, vous réaliserez des économies d'énergie.
Ramenez la manette correspondante sur la position arrêt avant la fin de cuisson, celle-ci se terminera grâce à la chaleur accumulée.




Avant de procéder au nettoyage : débranchez électriquement l'appareil, assurez-vous que toutes les manettes sont sur la position arrêt ● et attendez que l'appareil soit refroidi.
Les brûleurs
- Lavez les chapeaux de brûleurs avec de l'eau chaude et un détergent doux, en prénant soin d'enlever toute incrustation.
- Gardez les couronnées des brûleurs en parfait état de propriété : leur encrassement peut cause des difficultés d'allumage.
- Si vous avez demonté les brûleurs pour les nettoyer, voirlez à remetre correctement en place les couronnées et chapeaux de brûleurs parfaitement secs.
Les grilles émailées
Des charnières spéciales, situées à l'arrière de la table, Maintiennent la grille en position.
Ces charnières vous permettent de relever la grille (voir figures A et B) pour faciliter le nettoyage.
Pourretirerla grille des charnières,procedez commeindiquéa la figure C.
Lavez-les à l'eau chaude additionné d'un détergent doux. Utilisez si besoin un produit légarement abrasif.
Le dessus de la table de cuisson
- Passez une éponge légarement imbibée d'eau tiède (et, si nécessaire, de détergent doux) après chaque utilisation.
- Evitez tout écoullement dans les orifices de la table.
Utilisez, si nécessaire, un racloir spécial et des produits spécifiques vendus dans le commerce.
N'utilisez pas d'objet tranchant (couteau, grattoir, tournevis, etc.) ou d'éponge à face abrasive.
N'utilise pas de détergents abrasifs ou corrosifs tels que : bombes aerosols pour four, produits detachants, produits anti-rouille, poudres à recycler.
Les manettes
Utilisez une éponge très légèrement imbibée d'eau savonneuse. Rincez et séchez soigneusement.

FO 2237


FO 2032
La plaque électrique
Après chaque utilisation, essuyez la plaque avec un papier absorbant. Elle doit être maintainue bien sèche.
Si nécessaire, faites-la chauffer au préalable pour carboniser les salissures trop adhérentes.
De temps en temps, et avant toute période prolongée de non utilisation, graissez légèrement la plaque (huile de table, huile pour machine à coudre ou vaseline).
Vous trouvrez également dans le commerce des produits spécifiques pour la protection et l'entretien des plaques électriques.
Evitez de passer un chiffon humide sur la plaque encore chaude. Bien qu'elle puisse résister à ce traitement, il pourrait subsister des « peluches » sur son revêtement. Attendez son complet refroidissement.
Notre responsabilité ne saurait être engagée, en cas de dommages dus à un entretien incorrect de votre table de cuisson.
Garantie contractuelle
Pendant 1 an à compter de la mise en service, le constructeur remplacera les pieces défectueuses, sauf dans les cas prévus au chapitre «Réserves».
Conditions d'application :
Pour l'application de cette garantie, vous doivent vous adresser au distributeur qui vous a vendu l'appareil et lui presenter le Certificat de Garantie. En complément, le Distributeur Vendeur pourrait ou non prendre à sa charge les frais de main d'oeuvre, ainsi que les frais de déplacement et de transport, selon les conditions de vente qu'il pratique.
Reserves :
Nous attirons votre attention sur le fait que cette garantie ne pourrait être appliquée :
- si les déteriorations proviennent d'une cause étrangère à l'appareil (chocs, variations anormales de la tension électrique, etc.) ou du non-respect des conditions d'installation ou d'utilisation indiquées
Dans cette Notice d'Utilisation, fausse manoeuvre, négligence, installation défectueuse ou non conforme aux règes et prescriptions imposées par les organismes de distribution de l'Electricité, de l'Eau, du Gaz, etc.
- si l'utilisateur a apporté une modification sur le matériel ou enlevé les marques ou numeros des série.
- si une réparation a été effectuee par une personne non agréee par le constructeur ou le vendeur.
- si l'appareil a eté utilisé à des fins commerciales ou industriielles ou pour d'autres buts que des buts menagers pour lesquels il a eté concu.
- si l'appareil a eté achété ou réparé hors du territoire français.
Garantie légale
Les dispositions de la garantie contractuelle ne sont pas exclusives du bénéfice, au profit de l'acheteur, de la garantie légale pour defaults et vices cachés, la dite garantie s'appliquant en tout état de cause dans les conditions des articles 1641 et suivants du Code Civil.
GARANTIE EUROPEENNE ARTHUR MARTIN / ELECTROLUX
Si vous deviez déménager vers un autre pays d'Europe, la garantie accompagne votre apparéil jusqu'à votre nouvelle résidence, aux conditions suivantes :
La date de départ de la garantie est la date d'achat du produit.
La durée de la garantie ainsi que son estendue (pièces et/ ou main d'oeuvre) sont celles en vigueur dans le nouveau pays où l'appareil est utilisé.
Le bénéficiaire de la garantie est le propriété de l'appareil. La garantie ne peut etre cedee ou transferee a une autre personne.
■ Voiture nouvelle résidence est dans l'Union Européenne ou dans un pays de l'Association Européenne de Libre Echange.
L'appareil est installé et utilisé conformément aux instructions de la notice d'utilisation et indications figurent sur la plaque signaletique, avec une attention pariculière à les types de gaz et la pression d'alimentation.
L'appareil et utilise à des fins domestiques normales (ceci excluant notamment tout usage intensif, professionnel ou semi-professionnel).
L'appareil est installé conformément aux normes de sécurité et à la législation en vigueur dans notre nouveau pays de résidence.
Pour toute question concernant la garantie europeenne, vous pouvez prendre contact avec l'un de nos Services Consommateurs :
France
034462222
BP 50142-60307 Senlis cédex
Allemagne
念 + 49(0)9113232600
Italie
+39(0)167847053
Royaume-Uni
© +44 (0)1635 572 799
Suède
包 +46(0)20787750
En cas d'anomalie de fonctionnement, le vendeur de votre apparéil est le premier habilité à intervenir. A défaut (déménagement de votre part, fermeture du magasin où vous avez effectué l'achat ..., veuillez consulter le Service Conseil Consommateurs qui vous communiquera alors l'adressé d'un ServiceAprèsVente.

PLAQUE SIGNALETIQUE
En appelant un Service ÀpRES Vente, indiquez-lui le modele, le numero de produit et le numero de série de l'appareil. Ces indications figurent sur la plaque signalétique située sur votre apparéil.
En cas d'intervention sur votre apparéil, exigez du Service Àpres Vente les Pièces de Rechange certifiées Constructeur.

A L'ATTENTION DE L'INSTALLATEUR
CARACTERISTIQUES TECHNIQUES
Dimensions de l'ouverture pour l'encastrement dans le plan de travail Largeur: 560 mm
(voir chapitre "Encastrement") Profondeur: 480 mm
Puisssance des bruleurs
Bruleur Rapide 3 kW (G20) - 2,8 kW (G30-G31)
Brûleurs Semi-rapide 2 kW
Bruleur Auxiliaire 1 kW
Puisance de la plaque
Plaque électrique rapide 145 mm. 1,5 kW
Alimentation: 230V - 50Hz
Air nécessaire à la combustion 16 m
3/h
Categorie: II 2E+3+
Appareil regle en Usine pour fonctionner avec gaz type G20/G25 - 20/25 mbar

Cet apparéil est conforme aux Directives Communitaires CEE suivantes:
- 73/23 - 90/683 (Basse Tension);
- 90/396 (Appareil Gaz)
- 89/336 (Compatibilité Electromagnétique);
-93/68 (Directives Générales);
et modifications successives.
EMPLACEMENT
Cet apparéil apparticient à la catégorie d'isolation thermique "X" et il a été concu pour être encastré ou place à côte d'autres meubles selon la norme en vigueur (I.E.C. 335.2.6).
Les meubles juxtaposés aux côts de la table de cuisson ne doivent pas dépasser la hauteur de cette-ci. Les bords latéraux de la découvert pratiquée doivent se trouver à au moins 100mm . des murs ou des meubles lateraux.
Les meubles suspendus ou les hottes doivent etre installés à une hauteur minimale de 650~mm au dessus de la table de cuisson.
N'installez pas l'appareil pres de matérielux inflammables (par ex.: rideaux, torchons, etc.).

Débranche l'appareil avant toute intervention.
Important
L'installation et le branchement de l'appareil doivent être effectuels par un personnel qualifié conformément aux textes réglementaires et règes de l'art en vigueur, notamment:
- Arrêté du 2 août 1977, Regles Techniques et de Sécurité applicables aux installation de gaz combustibles et d'hydrocarbures liquefies à l'intérieur des batiments d'habitation et leurs dépendances;
Norme DTU P 45·204, Installations de gaz (anciennement DTU n.° 61 - installation de gaz - Avril 1982 + additif n.° 1 Juillet 1984);
- Règlement Sanitaire Départemental.
Pour les appareils raccordés au réseau électrique:
- Norme NF C 15 100 - Installations électriques à basse tension - Régles.
Recommendations
- Vérifiez que le début du compteur et le diamètre des canalisations sont suffisants pour alimenter tous les appeareils de l'installation et vérifiez que tous les raccords sont bien étanches;
- N'omettez pas d'installer un robinet de barrageque visible et accessible.
RACCORDEMENT GAZ

Raccordez la table à la bouteille ou à l'installation selon les prescriptions légales en la matière.
Assurez-vous que l'appareil est reglé pour le type de gaz auquel il sera alimenté. Pour le passage d'un gaz à un autre, reportez-vous au paragraphe "Adaptation des brûleurs au gaz utilisé".
Important
Pour un fonctionnement correct, une consommation réduite et une plus grande durée de vie de l'appareil, assurez-vous que la pression d'alimentation correspond aux valeurs indiquées dans le tableau.
Si l'appareil est alimenté en gaz Butane ou Propane (bouteille), contrôle que le régulateur de pression débite le gaz à une pression de 28 mbar pour le Butane et 37 mbar pour le Propane.

1) Vissez le raccord orientable C dans l'écrou A situé à l'extrémité de la rampe d'alimentation, sans omettre d'intercaler le joint d'étanchéité B (Fig. 1).
2) Orientez le raccord C dans la direction voulue, puis effectuez un serrage correct.
3) Effectuez ensuite le raccordement du tube d'arrivée de gaz.
4) Contrôlez la parfaite étanchéité du raccord et de l'embout en utilisant une solution savonneuse.
5) Fixez l'appareil au meuble.

Fig. 1
A) Ecrou situé à l'extrémite de la rampe
B) Joint
C) Raccord orientable
RACCORDEMENT "RIGIDE"
Effectuez le raccordement en utilisant des tuyaux rigides métalliques (cuivre avec embout mécanique).
Le raccordement s'effectue avec un tuyau flexible à embout mécanique qui se visse directement sur le coude terminant la rampe de l'appareil (la tuyauterie doit être visible sur toute sa longueur). Elle doit être conforme à la norme "NFD 36-100" (durée de vie 5 ans) ou "NFD 36-103" (durée de vie 10 ans). Le raccordement peut se faire aussi avec un flexible métallique "NFD 36-121"
- Butane/Propane
Un tubeSouple, Equipé de ses colliers (conformé à XPD 36-110) peut etreutilise s'il est visitable sur toute la longueur et si I'appareil ne fonctionne qu'au butane. Si I'appareil fonctionne au propane, il faut utiliser un flexible conformé à la norme XPD 36-112 ou un flexible metallique conformé à "NFD 36-125".

Pour assembler les différentes pieces il est conseilé de suivre l'ordre suivant:
- fixez le raccord orientable à l'embout en interpolant le joint;
fixez le raccord orientable à la rampe d'alimentation de l'appareil; - orientez le raccord dans la direction voulue;
- contrôlez la parfaite étanchéité du raccord et de l'embout en utilisant une solution savonneuse;
- fixez l'appareil au meuble.
ENTRETIEN

Contrôlez périodiquement le tuyau d'arrivée du gaz et l'eventuel régulateur de pression. En cas d'anomalie remplacez la piece défectueuse.
Pour garantir un bon fonctionnement et uneonnebene, il est necessaire de proceder periodiquement au graissage des robinets de réglage du gaz. Confiez cette opération à un technicien qualifié.
BRANCHEMENT ELECTRIQUE

Reliez l'appareil à la terre, conformément aux prescriptions de la norme NF.C 15100 et aux règlements en vigueur.
Avant d'effectuer le branchement s'assurer que:
- le disjoncteur et l'installation électrique peuvent supporter la charge de l'appareil (voir la plaque signalétique);
- l'installation d'alimentation soit équipée d'une prise de terre efficace selon les normes en vigueur;
- la prise ou l'interrupteur principal soient facilement accessibles.
Si I'on désire un branchement direct au réseau (branchement fixe) il faut intercaler entre l'appareil et le réseau un interrupteur sur le cote de l'st installation avec une ouverture minimum entre les contacts de 3 mm.
Le cable de terre jaune-vert ne doit pas etre interrompu par l'interrupteur et doit etre relié à la borne du conducteur de protection.
Le cable de phase de couleur marron (provenant de la borne "L" de la planchette à bornes) doit toujours être relié à la phase du réseau d'alimentation.
Le cable d'alimentation doit être place de telle manière qu'il ne touche aucune partie chaude.
Après le branchement essayez les éléments chauffants en les faisant fonctionner pendant 3 minutes environ.
Notre responsabilité ne saurait etre engagée en cas d'accidents ou d'incidents provoqués par une mise à la terre inexistante ou defectueuse.
REEMPLACEMENT
DU CABLE D'ALIMENTATION
La connexion de cable d'alimentation sur la barrette sector ne peut etre remplace qu'en utilisant un outil special.
En cas de remplacement du cable, n'utilise que des cables de type H05V2V2-F T90 adaptés à la charge et à la température d'exploitation. De plus, il faut que le cable de terre jaune/vert soit plus long d'environ 3 cm. que les cables de phase et neutre.
Pour ouvrir la trappe d'accès à la barrette secteur et avoir accès aux bornes
de raccordement,
proceder comme decrit
ci-dessous:
insérez l'extrémité d'un tournevis dans les saillies situées sur le côté de l'appareil;
exercez una faible pression et faire levier vers le haut.

ADAPTATION DES BRULEURS AU GAZ UTILISÉ
Pour la conversion de l'appareil d'un type de gaz à l'autre, opérez comme suit:
A. REMPLACEMENT DES INJECTEURS

1) Otez les grilles.
2) Enlevez les brûleurs.
3) Avec une clé de 7 dévissez les injecteurs (Fig. 3) et remplacez-les par ceux convenant au type de gaz utilisé (voir tableau).
1) Allumez chacun des brûleurs.
2) Tournez les manettes jusqu'à l'obtention du débit réduit.
3) Retirez les manettes.
Alimentation en gaz naturel
Agissez sur la vis de réglage (Fig. 4) jusqu'à l'obtention d'une petite flamme régulière.
Alimentation en gaz Butane ou Propane
Vissez à fond la vis (Fig. 4), celle-ci étant déjà prévue pour assurer le débit minimum. Contrôlez en tournant la manette de la position de débit minimum et vice versa, que la flamme ne s'éteint pas.
Remarque: La vis de reglage est de petite dimension, utilisez un tournevis plat très fin.
4) Remontez les manettes en effectuant les opérations dans l'ordre inverse.
Les opérations ci-dessus peuvent être effectuées ainsi après encastrement de la table de cuisson dans le meuble de cuisine.

Fig. 3

| TYPE DE DÉBIT DÉBIT BRULEUR | DéBIT CALORIFIQUE CALORIFIQUE CALORIFIQUE NOMINAL MINIMUM kW kW Repréme | NOMINAL | |||||
| GAZ NATUREL | GAZ BUT.-PROP. 28-30/37 mbar | ||||||
| injecteur 100/mm | 3/h Repréme | g/h injecteur 100/mm | |||||
| G20 G 25 20 mbar 25 mbar | G30 | G31 | |||||
| Auxiliaire (Petit) Ø 55 mm. | 1 | 0,33 | 70 | 0,095 | 0,111 | 50 | 73 |
| Semi-rapide (Moyen) Ø 71 mm. | 2 | 0,45 | 96 | 0,190 | 0,221 | 71 | 145 |
| Rapide (Grand) Ø 102 mm. | Gaz Naturel: 3 But./Prop.: 2,8 | 0,65 | 119 | 0,286 | 0,332 | 86 | 204 |


ENCASTREMENT ET ASSEMBLAGE
Les tables de cuisson peuvent être encastrées dans un meuble ayant une ouverture aux dimensions indiquées dans la Fig. 5.
Le bord de la découpe pratiquée doit se couver à au moins 55 mm du mur du fond.
Comme illustré à la figure 5, les bords latéraux doivent se couver à au moins 100mm des murs ou des meubles lateraux.
La distance minimum entre le fond de la table de cuisson et le plancher de l'incastrement doit etre de 20 mm.

Pour fixer la table de cuisson au meuble procedede comme suit:
- placez les joints fournis sur les bords de la découpe: positionnez-les exactement sur les bords en veillant à ce que les extrémités des joints soient parfaitement jointes, sans recouvrement (Fig. 6);
- placez la table dans la niche d'encastrement en la centrant correctement;
Fixez la table au meuble à l'aide des pattes de serrage prévues à cet effet. (Fig. 7). La traction exercée par les vis est suffisante pour tracer un sillon dans le joint d'étanchéité, que l'on pourrait aisément enlever.
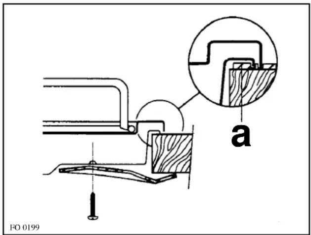
Le bord de la table de cuisson forme un double labyrinthe, assurant une parfaite étanchéité contre l'infiltration de liquides.

L'encastrement de la table de cuisson dans un lave-vaisselle est deconseille lorsque le constructeur du lave-vaisselle ne I'a pas formellement prevu.

Fig. 5

Fig. 6

a) Joint d'étanchéité
Fig. 7
POSSIBILITÉS D'ENCASTREMENT
Dans un meuble de cuisine avec porte
Le meuble destiné à receivevoir la table de cuisson devra être fabriqué de façon que le contact avec les parties métalliques chaudes soit évité.
Reportez you a la solution illustrée dans la Fig. 8.
La tablette sous la table de cuisson doit etre aisement demontable pour avoir facilement acces a l'appareil en cas de réparation.
Au-dessus d'un four
Pour les cotes d'encastrement reportez vous aux Fig. 9 et 12. Prévoir deux supports pour laération. Les figures 10 et 11 illustrent deux solutions possibles. Les raccordements électriques du four et de la table doivent rester accessibles et être effectuels séparément.
Les meubles suspendus ou les hottes doivent etre installes a une hauteur minimale de 650~mm au-dessus de la table de cuisson (FiGuRe 13).
Fig. 8

a) Tablette amovable
b) Espace évientuel pour les raccordements

Fig. 10

Fig. 9

Fig. 11

Fig. 12

Fig. 13
Notice Facile