6110GRE6 - Connecteur électrique Leviton - Notice d'utilisation et mode d'emploi gratuit
Retrouvez gratuitement la notice de l'appareil 6110GRE6 Leviton au format PDF.
| Caractéristiques techniques | Non spécifiées |
|---|---|
| Utilisation | Non spécifiée |
| Maintenance et réparation | Non spécifiée |
| Sécurité | Non spécifiée |
| Informations générales | Non spécifiées |
FOIRE AUX QUESTIONS - 6110GRE6 Leviton
Questions des utilisateurs sur 6110GRE6 Leviton
0 question sur cet appareil. Repondez a celles que vous connaissez ou posez la votre.
Poser une nouvelle question sur cet appareil
Téléchargez la notice de votre Connecteur électrique au format PDF gratuitement ! Retrouvez votre notice 6110GRE6 - Leviton et reprennez votre appareil électronique en main. Sur cette page sont publiés tous les documents nécessaires à l'utilisation de votre appareil 6110GRE6 de la marque Leviton.
MODE D'EMPLOI 6110GRE6 Leviton
Connecteurs QuickPort ^MD eXtreme ^MD 6A
Conectores QuickPort ^MC eXtreme ^MC 6A





DESCRIPTION
Ces connecteurs eXtreme sont conçus pour s'adapter aux produits QuickPort de Leviton dans des applications de transmission de la voix/ de données, de vidéo et d'internet. Ils dépassent les exigences de la norme TIA/EIA-568-B.2-10 pour la catégorie 6A. Dotés d'étiquettes de terminaison universelles, ils offrent en outre une grande souplesse en s'adaptant aux modes de câblage T568A et T568B.
INSTALLATION
-
Dégainer le câble sur environ 8 cm. Si ce dernier est doté d'une âme (fil séparateur), la couper aussi.
-
Déterminer la configuration à utiliser (T568A ou T568B). Pour le câblage T568B, suivre le chromocodage correspondant inscrit sur l'étiquette du connecteur. (Cette étiquette est celle qui apparaît sur le dessus à l'achat du connecteur.) Pour le câblage T568A, soulever l'étiquette du côté « A » et retirer la couche supérieure seulement. Le chromocodage à employer apparaît sur le connecteur (figure 1).
-
Laisser un espace de 3 mm au plus entre la gaine du câble et la paroi du connecteur, puis acheminer les fils en vue de leur terminaison, conformément au chromocodage du tableau
-
REMARQUE : quand on effectue le câblage à partir du on doit s'assurer qu'il y ait suffisamment de mou dans les paires torsadées et que la gaine du câble ne soit pas dans le champ de terminaison.
-
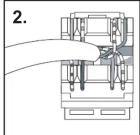
Enfoncer manuellement et délicatement les fils dans les fentes IDC. Mettre un percuteur de type 110 au réglage le plus faible et le placer perpendiculaire au connecteur. S'assurer que les paires restent torsadées jusqu'à une distance maximale d'un peu plus de 1 cm des contacts avant de procéder à la terminaison/coupure des fils. En effectuant ainsi la terminaison de chacune des paires après les avoir placées, on évite d'écraser les éléments centraux avec le percuteur. Placer le câble de manière à ce que la gaine touche l'arrière du connecteur, tel qu'illustré. (Figure 2.)
-
Mettre le capuchon Cone of Silence ^MC (COS) sur les terminaisons afin de protéger les connexions. REMARQUE : le COS doit être installé pour assurer une performance de catégorie 6A. (Figure 3.) L'extrémité de la gaine des câbles doit être à l'intérieur du cône des COS.
-
Insérer le connecteur assemblé dans une plate-forme ou une plaque murale en orientant la mention « UP » vers le haut (Figure 4.) REMARQUE : le mécanisme de rétention de ces connecteurs est si solide que Leviton recommande de procéder un fil à la fois si on doit les détacher de leur câble.
-
Pour retirer le COS, insérer la lame d'un petit tournevis dans la fente supérieure et l'incliner vers le câble (figure 5), ce qui aura pour effet de libérer les points d'attache.
Pour obtenir de l'information immédiate sur les produits ou de l'aide concernant leurs applications, communiquez avec le soutien technique de Leviton en composant le 1-800-824-3005 (425-486-2222 à l'international) ou rendez-vous au site www.leviton.com.
DESCRIPCIÓN
| TABLEAU 1 | Modes de câblage T568A et T568BCouleurs assignées aux connecteurs 110D | ||
| Numéros de position des connedeurs 110D | N° de broche | Chromocodage T569B | Chromocodage T568A |
| 1 | 5 | Blanc/bleu | Blanc/bleu |
| 2 | 4 | Bleu | Bleu |
| 3 | 1 | Blanc/orange | Blanc/vert |
| 4 | 2 | Orange | Vert |
| 5 | 3 | Blanc/vert | Blanc/orange |
| 6 | 6 | Vert | Orange |
| 7 | 7 | Blanc/brun | Blanc/brun |
| 8 | 8 | Brun | Brun |
REMARQUE : dans certains câbles, les fils des broches 2, 4, 6 et 8 ont une rayure blanche, mais leur couleur de fond est la même que celle des fils unis.
Tableau 1 - Mode de câblage T568A et T568B

-
Lire les présentes directives et s'assurer de bien les comprendre; observer tous les avertissements et directives apparaissant sur le dispositif.
-
Ne pas installer ce dispositif à proximité d'une source d'eau - comme une baignoire, un bac à laver, une cuve à lessive ou un évier de cuisine -, dans un sous-sol humide ni près d'une piscine.
-
Ne jamais insérer quelque objet que ce soit dans les ouvertures de ce dispositif; elles sont sous tension et peuvent présenter un danger.
- Ne jamais effectuer l'installation de câblage ou de composants de communication pendant un orage.
- Ne jamais installer de composants de communication dans des endroits mouillés à moins qu'il s'agisse de dispositifs conçus spécialement pour cet usage.
- Ne jamais toucher des bornes de raccordement ni du fil non isolés, à moins que le circuit ne soit pas relié à l'interface réseau.
- On doit prendre toutes les précautions requises lorsqu'on installe ou modifie du câblage ou des composants de télécommunication.
- Afin d'éviter les chocs électriques, toutes les ouvertures doivent être dotées d'un module.
Notice Facile