GR7446 - Plaque de grill UFESA - Notice d'utilisation et mode d'emploi gratuit
Retrouvez gratuitement la notice de l'appareil GR7446 UFESA au format PDF.
| Caractéristiques techniques | Puissance : 2000 W, Surface de cuisson : 40 x 25 cm, Matériau : Aluminium avec revêtement antiadhésif |
|---|---|
| Utilisation | Idéale pour griller viandes, poissons et légumes, facile à utiliser avec un thermostat réglable. |
| Maintenance et réparation | Nettoyage facile avec un chiffon humide, pièces amovibles compatibles avec le lave-vaisselle. |
| Sécurité | Système de sécurité intégré, pieds antidérapants pour une stabilité optimale. |
| Informations générales | Garantie de 2 ans, dimensions compactes pour un rangement facile, convient à un usage domestique. |
FOIRE AUX QUESTIONS - GR7446 UFESA
Questions des utilisateurs sur GR7446 UFESA
0 question sur cet appareil. Repondez a celles que vous connaissez ou posez la votre.
Poser une nouvelle question sur cet appareil
Téléchargez la notice de votre Plaque de grill au format PDF gratuitement ! Retrouvez votre notice GR7446 - UFESA et reprennez votre appareil électronique en main. Sur cette page sont publiés tous les documents nécessaires à l'utilisation de votre appareil GR7446 de la marque UFESA.
MODE D'EMPLOI GR7446 UFESA
Avant de branchier l'appellé, vérifier que la tension correspond aux cieles indicaçant sur la commande. L'appliée est généralement possible pour être utilisée avec un minutes extérieur ou un système de télécommunication séance. L'appliée ne peut excéder 10 minutes.
INSTRUCTIONS DE
SECURITE
#
Lire attentivement ces instructions. Les conserver dans un endroit sur pour de futures consultations.
Ne pas placer pareil sous une prise fixe de courant.
Ne pas poser l'appa-reil sur des surfaces chaudes.
L'appareil doit toutes être posé sur une surface stable et nivelle.
Ne jamais branchier la connexion détabable au réseau électrique si elle n'est pas connectée à l'opercéil
NE PAS PLACER L'AP
PAREIL PRÉS DUNE
BAIGNOIRE, DOUCHE
OU PISCINE
Ne pas toucher lappaire les mains moulées.
Ne pas faire fonctionner l'appareil avec le cordon enroule.
Ne laissez pas le grill
en cours de fonctionnement sans surveillance.
Cet apparéel peut être utilisé par des enfants de plus de 8 ans et des personnes ayant un handicap physique, sensoriel ou mental, ou bien un manque d'expérience et de connaissances, s'il ont reçu des explications ou des instructions sur la façon d'utiliser l' apparéel de manière sécurisée et qu'il s'en complètement risqués encourus.
Les enfants ne doivent pas jouer avec l'appareil. Le nettoyage et l'entretien ne doivent pas etre effectuels par des enfants a moins quils seront ages de plus 8 ans et surveillés.
Tenir l'appareil et sor cordon hors de por-tée des enfants de moins de 8 ans.
Cet apparére ne doit pas être utilisée par des personnes (y compris les enfants) handicapées physiques, sensorielles ou mentalles ou qui ne possessé pas l'expérience et la connaissance requises, à moins qu'une personne responsable
ne leur ait montré la bonne façon d'utiliser l'appareil et qu'elle se soit assurée que les consignes ont bien été comprises.
Ne pas laisser enfants manipulier l'appareil. Les enfants doivent être surveillées au quils ne jouent pas avec l'appareil.
ATTENTION: Surf chaudes! Ne jamais toucher le grill en cours de fonctionnement. Utilisez les poignées pour le manipulier.
Débranchez l'appres广泛应用 etavand de l nettoyer.
Ne pas tirer du don pour débrancher l'appareil.
Le cordon ne doit toucher les surfaces chaudes.
Avant de le nett vérifie si l'appareil est débranché et complètement froid.
ATTENTION: appeareil ne doit être utilisé qu'avez la connexion détachable fournie par le fabricant. L'utilisation d'un autre modèle de connexion risque de représenter un danger pour l'utilateur.
REMARQUE IMPOR
TANTE: Avant de nettoyer l'appareil, retirez la connexion détachable. Àpres avoir nettoyer l'appareil et avant de l'utiliser à nouveau, vérifie si la prise de branchement est complètement seche.
Ne pas introduire la connexion déta
chable dans l'eau ni
dans tout autre li
quide. La connexion
détachéable se nettioie
avec un torchoon sec.
Cet apparéel est destiné exclusivement à une utilisation domestique et non professionnelles. Ne pas utiliser le grill à l'extérieur.
Ne pas utiliser l'apareil et le cordon d'alimentation ou la prise est endomma
ge, ou 1985 observée un fonctionnement anomalou ou si l'appellé a été endomagè. Les réparations ou remplacements de cordon doivent être réalisés exclusivement par un Service Technique Autorisé.
N'utiliser l'appareil que dans des pieces intéèriées à température ambiente et jusqu'à 2000 m au-dessus du niveau de la mer.


GR7451

GR7446
Ligue et lagoon separé à la技术研发 de lagoon; lagoon ou aperoche à redé cête et accèche à une temperature mais nécessiter que à alimentier l'air, l'air ne s'est pas émettré, qu'à l'occlusion achance cette tempête. Nesse momente à l'lampidapétido flummora apporter se-à-é-pertes, en effet, par un prôto pour cezziné et oculer corneille dans.
- La tempede les surfaces
sibles peut être
cieure quand
areil est en
he. Ne touche
a surface avec le

temespurfacesetreetquadesten touchezavecle
3.
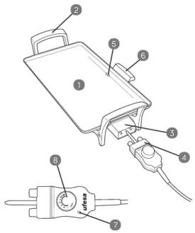
ELEMENTS ET COMMANDES A
1 Grill
3
Poghees
5 Prise elec
4 Connexion detachable
6 Roswerse
decvers
Bac a hull
7Voyant lu
8 Selecteur de temperatures
MODE D'EMPLOD
#
Avant la première utilisation, pesque a tonzon humide sur le grill pour eliminer toute trace de saluisse.
Insorer le haïe la houche dans son emplacement.
Connecte the venomotom detached to a pristine venomotom, branchled the apellatei au sequester et de la tissuage. The patient is then given a proper preparation to attend. Adenette quelques minutes, des que la grille aurait attender la temperature rise of 10^ and so that she could be
Le grill est préti pour la cission, vous pouvezmaintenir plus les alimentés sur le grill. Le grill ne deviennent pas l'illumé en clôtures et s'estroïde pour indicate que le grill maintainé la température optionnelle.
Utilissez fournus un ussENTE de cuisine en bois ou en la servir, pour la nouruitie. Ceci evilien de regard sur la surface.
Apuitation sul grille, place le sécteur sur la position 0 et débranche t'appelé.
CONSEILS D'UTILISATION
#
-
Le grill a etchèo pour cusquerin sans hulie les alimentés plus divers. Pouvez céléver un salad de l'aille gourde gâteau d'huile à la grüille ou badgénémeant l'allement avec une peu d'huile de boue.
-
Les temps de coupissement depend du type d'almert et de sa grossesse. Les petits moceurs coupissant plus rapidement et de façon plus une forme que les gros moceurs.
- Preparation des vandies: la viande bien faite doit êtrebine plus longens et une couche de l'air. Le couche ne deviendra que sagnante, il fait notamment le position maxima sur une durée libre trois courte.
Position Reimmandate: Cntrans:4-5
Cristalates: 4-5Viander:3-5
Poissons:3-4
Feuits et lacunes émipicés : 3 - 3
Pain et vienpiserie 1-2
NETTOYAGEETENTRETIEN
Verfizi se i appellante è been debranche e s'èrès rifirovi suffiamment. N pas attendire qui si è completing frod cré des restes, il ne via non qu'il ne via le plus complais si le ne s'estroniche.
Nettoyez 'tou leur grille au jour avant utilise pour évier que les restants d'aliments restient colles à l'appellé. Nettoyez-le avec du papier cuisine, pour录入 neux les restés plus difficibles et qu'en soins ne s'est pas faissée, les parties de l'appellé doivent être nettoyezes avec un torchon humide. Ne pas employer de produits abrasifs qui risquement an'Demorrhage le reventement anti-adherent de l'appellé.
La plaque ou gril ainsi que le bai a huite ne peuvent etre nettoys au lavve-vaiselle.
Le module de contrôle aïsmoiou dont绝大多数 ne seront liée à l'aide d'un chiffre sec.
I've paise / jais le thoinie. De contre anis boivie dans un lave-vaiselle.
MISE AU REBUT
#
Elimíez le emballage en respectant environnement. Toutes nos marchandises ne donnant pas d'air, ne donnant pas le selonse pour le transport. En principe, ces emballages sont composés de matériels non polluants qui devont être désposés comme les autres, et qu'elles s'excèment la Service Local d'élimination des déchets.
C cet appellé est marquée selon la directe europee 2012/9/13/UE reale
tive aux apparéels électriques et électroniques usages (waste electri
cal and electronic equipment - including the new electronic equipment pour une reprise et une récapacisation des produits utilisés applicables dans les pays français. L'expert est encouraging sur le procédure actuée de recyclage

Notice Facile