BN30 - Thermostat TROTEC - Notice d'utilisation et mode d'emploi gratuit
Retrouvez gratuitement la notice de l'appareil BN30 TROTEC au format PDF.
| Caractéristiques Techniques | Thermostat numérique avec affichage LCD |
|---|---|
| Plage de Température | 5°C à 30°C |
| Précision de Mesure | ± 0,5°C |
| Alimentation | 230 V / 50 Hz |
| Dimensions | Dimensions compactes pour une installation facile |
| Utilisation | Idéal pour le contrôle de la température dans les maisons et bureaux |
| Installation | Installation murale avec instructions fournies |
| Maintenance | Vérification périodique des connexions électriques recommandée |
| Sécurité | Protection contre les surcharges électriques |
| Informations Générales | Produit conforme aux normes de sécurité en vigueur |
FOIRE AUX QUESTIONS - BN30 TROTEC
Questions des utilisateurs sur BN30 TROTEC
0 question sur cet appareil. Repondez a celles que vous connaissez ou posez la votre.
Poser une nouvelle question sur cet appareil
Téléchargez la notice de votre Thermostat au format PDF gratuitement ! Retrouvez votre notice BN30 - TROTEC et reprennez votre appareil électronique en main. Sur cette page sont publiés tous les documents nécessaires à l'utilisation de votre appareil BN30 de la marque TROTEC.
MODE D'EMPLOI BN30 TROTEC
Indications sur le manuel d'utilisation. 2
Normes de sécurité 2
Informations sur I'appareil 4
Transport et stockage 5
Utilisation. 5
Maintenance et réparation 6
Élimination des déchets 6
Indications sur le manuel d'utilisation
Symboles

Avertissement relat à la tension électrique
Ce symbole indique que la tension électrique cause des risques pour la vie et la santé des personnes.

Avertissement
Cette mention d'advertissement indique un risque moyen qui peut entrainer des blessures graves ou mortelles s'il n'est pas évité.

Attention
Cette mention d'advertissement indique un risque faible qui peut entraîner des blessures benignes ou moyennes s'il n'est pas évité.
Remarque
Cette mention d'advertissement indique des informations importantes (par ex. dommages matériels), mais:aucun danger.

Info
Les indications représentant ce symbole vous aident à exécuter vos tâches rapidement et en toute sécurité.

Observer le mode d'emploi
Les indications représentant ce symbole vous indiquent qu'il est nécessaire de respecter le manuel d'utilisation.
Vous pouvez télécharger la derniere version du manuel d'utilisation et la déclaration de conformite UE sur le lien suivant :

BN30
Veuillez litre attentivement leprésent manuel avant la mise en service ou l'utilisation de l'appareil et conservez-le à proximate immediate du site d'installation ou de l'appareil même.

Avertissement
Lisez toutes les consignes de sécurité et toutes les instructions.
Le non-respect des consignes de sécurité risque de causer une électrocution, de provoquer un incendie ou de causer des blessures graves.
Conservez toutes les consignes de sécurité et toutes les instructions pour pouvoir vous y reporter ultérieurement.
Les enfants de plus de 8 ans et toute personne ayant des capacités physiques, sensorielles ou mentales réduites ou ne possédant pas l'expérience et/ou les connaissances nécessaires peuvent utiliser l'appareil pour autant qu'ils bénéficient d'une supervision ou ont reçu une instruction adequate relative à une'utilisation sure de l'appareil et qu'ils ont compris les dangers liés à cette utilisation.
Les enfants ne sont pas autorisés à jouer avec l'appareil. Il est interdir aux enfants d'effectuer le nettoyage et l'entretien de l'appareil sans surveillance.
- L'appareil est livré muni d'une étiquette d'advertissement. Si l'étiquette d'avertissement située au dos de l'appareil n'est pas dans la langue de votre pays, vous nevez coller cette qui convient par-dessus avant la première mise en service de l'appareil.
Ne pas se brancher série!
Ne pas utiliser dans pieces humides!
Hors-tension uniquement si fiche débranchée!
Ne pas couvrirpendant le fonctionnement!

- N'utilisez pas et ne placez pas l'appareil dans les pieces ou les zones représentant un risque d'explosion.
- N'utilisez pas l'appareil dans des atmospheres agressives.
- Ne touchez ou n'utilise pas l'appareil les mains humides ou mouillées.
- L'appareil n'est pas un jouet. Tenez les enfants et les animaux à l'écart. Utilisez l'appareil uniquement sous surveillance.
- Protégez l'appareil du rayonnement direct et permanent du soleil.
- Ne retirez aucun signe de sécurité, autocollant ou étiquette de l'appareil. Tous les signes de sécurité, les autocollants et les étiquettes doivent être conservés de manière à rester lisibles.
- L'appareil ne doit pas etre ouvert.
- Ne branchez pas plusieurs appareils en cascade.
- N'utilisez pas l'appareil dans les locaux humides.
- Notez bien que l'appareil n'est hors tension que lorsque la fiche secteur est débranchée.
- Observe les conditions d'entreposage et de fonctionnement conformément au chapitre Données techniques.
Utilisation conforme
Veuillez utiliser l'appareil exclusivement comme prise thermostat intermédiaire à installer entre une prise de courant murale et un apparéil à commander, tout en respectant les caractéristiques techniques.
Pour utiliser l'appareil de manière ajustate, utilisez uniquement les accessoires homologues de Trotec ou les pieces de rechange de Trotec.
Utilisations non conformes prévisibles
L'appareil n'est pas conçu pour être utilisé au bout d'une rallonge électrique qu'elle qu'elle soit. L'appareil ne doit pas etre utilisé dans les zones explosives, en contact avec de I'eau ou en cas de forte humidité relative.
Qualification du personnel
Toute personne utilisant leprésent appareil doit :
- avoir lu et compris le manuel d'utilisation, et notamment le chapitre Normes de sécurité.
Risques résiduels

Avertissement relat à la tension électriche
Risque d'electrocution provoquee par la détérapation de liquide dans le boitier!
Ne plongez pas l'appareil et les accessoires dans l'eau. Veillez à éviter la pénétration d'eau ou d'autres liquides dans le boîtier.

Avertissement relat à la tension électrique
Toute intervention au niveau des composants électriques est à réaliser exclusivement par une entreprise spécialisée !

Avertissement
Danger de suffocation!
Veuillez ne pas laisser trainer les emballages vides. Il s'pourraient etre dangereux pour les enfants.

Avertissement
L'appareil n'était pas un jouet, il n'est pas adapté aux enfants.

Avertissement
L'utilisation de l'appareil peut composer un risque s'il est utilisé par des personnes non compétentes, en cas d'utilisation non conforme ou non conventionnelle! Veuillez respecter les exigences relatives à la qualification du personnel!

Attention
Tenez l'appareil à l'écart de sources de chaleur.
Remarque
N'exposez pas l'appareil à l'humidité ou à des températures extrêmes afin d'éviter de le déterminer.
Remarque
N'utilisez pas de nettoyants agressifs, abrasifs ou décapants pour nettoyer l'appareil.
Informations sur l'appareil
Description de l'appareil
Le thermostat BN30 permet de régler la température des chauffages et des climatiseurs de 5^ à 49^ . Il suffit d'installer la prise thermostat entre le chiffage ou le climatiseur et la prise de courant murale, puis de régler la température désirée. Au moyen de son capteur intégré, l'appareil mesure la valeur actuelle de la température ambiente et régule le chiffage ou le climatiseur en fonction de la valeur de consigne désirée.
L'utilisation et la programmation simples de l'appareil permettent deCHOISIR entre de nombreuses possibilites - I'appareil convient tout particulierement a I'utilisation mobile de chauffages.
Le grand écran permet de dire la température ambiente momentanément atteinte.
L'EEPROM intégrée protège l'appareil contre les coupures de courant.

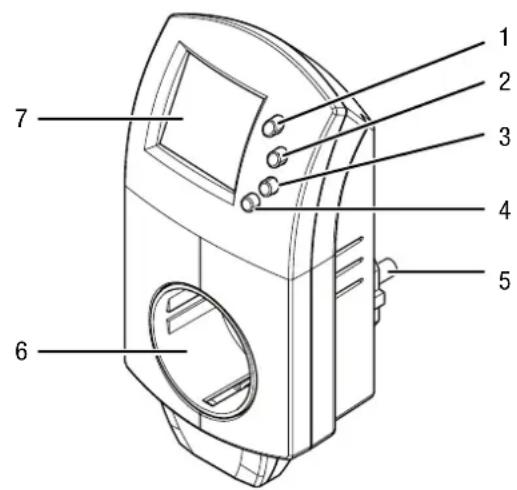
RepresentatiedeI'appareil
| N° Désignation |
| 1 Touche SET |
| 2 Touche plus |
| 3 Touche moins |
| 4 Touche marche/arrêt |
| 5 Prise secteur mâle |
| 6 Prise secteur femelle (prise intermédiaire pour apparéil) |
| 7 Écran |

Écran
| N° Désignation |
| 8 Symbole mode Refroidissement |
| 9 Symbole mode Chauffage |
| 10 Symbole SET |
| 11 Affichage °C/°F |
| 12 Symbole fonctionnement OFF (arrêt) |
| 13 Affichage de la valeur de consigne ou de la température ambiente actuelle |
\section*{Caracteristiques techniques}
| Paramètre Valeur | |
| Modèle BN30 | |
| Poids 220 g | |
| Dimensions (hauteur x largeur x profondeur) | 140 x 60 x 75 mm |
| Plage de réglage de la température | de 5 °C à 49 °C (de 41 °F à 85 °F) par pas de 0,5 |
| Conditions de fonctionnement de -10 à 70 °C | |
| Intervalle de mesure 10 s | |
| Alimentation électrique 230 V AC / 50 Hz | |
| Charge (max) 16 A / 3680 VA - Charge ohmique 2 A / 460 VA - Charge inductive | |
Composition de la fourniture
1 prisethermostat BN30
- 1 notice succincte
Transport et stockage
Remarque
L'appareil peut s'endommager si vous le transportez ou l'entreposer de manière inappropriée.
Observe les informations relatives au transport et à l'entreposage de l'appareil.
Transport
Utilisiez la pochette fournie avec l'appareil pour transporter ce dernier afin de le protégger contre les influences extérieures.
Stockage
Observe les conditions de stockage suivantes lorsque vous n'utilise pas l'appareil :
- au sec et protégé du gel et de la chaleur
- dans un endroit protégé de la poussière et de l'exposition directe du soleil
- le cas échéant, protégé de la poussière par une housse
- à un température correspondant à la plage indiquée au chapitre « Caracteristiques techniques »
Utilisation
La valeur de consigne pour la température est régée en usine à 20^ et l'appareil se trouve en mode Chauffage.
Mise en marche de l'appareil
- Branchez l'appareil dans une prise secteur correctement sécurisée.
- Raccordez l'appareil à commander.
- Appuyez sur la touche marche/arrêt (4).
L'appareil est en marche.
Le symbole Power (12) n'apparait pas à l'écran.
Sélection du mode de fonctionnement
Remarque :
Si la température désirée est inférieure à la température ambiente, utilisez le mode Refroidissement. Si la température désirée est supérieure à la température ambiente, utilisez le mode Chauffage.
L'appareil est eteint.
- Appuyez sur la touche moins (3) pendant 5 s environ pour basculer entre le mode Chauffage et le mode Refroidissement.
Modification de l'unité °C/°F
L'appareil est en marche.
1. Appuyez sur la touche SET(1) pendant 5 s environ pour basculer entre les degrés Celsius et les degrés Fahrenheit.
Réglage de la valeur de consigne de la température
Mode Refroidissement :
En mode Refroidissement, la valeur de consigne de la température doit être inférieure de 2^ à la température de la piece, dans le cas contraire l'appareil n'active pas la prise intermédiaire. Si la température de la piece est inférieure à la valeur de consigne, l'appareil désactive la prise intermédiaire.
Le mode Refroidissement est activé.
-
Appuyez sur la touche plus (2) ou sur la touche moins (3) pour régler la valeur de consigne de la température.
Le symbole SET (10) clignote. -
Attendez jusqu'à ce que le symbole SET(10) ne clignote plus.
La valeur de consigne est enregistrée.
Le symbole Refroidissement (8) clignote.
Après une minute environ, l'appareil active la prise intermédiaire.
Mode Chauffage :
En mode Chauffage, la valeur de consigne de la température doit être supérieure de 1^ à la température ambiente, dans le cas contraire l'appareil n'active pas la prise intermédiaire. Si la température de la pierce est supérieure à la valeur de consigne, l'appareil désactive la prise intermédiaire.
Le mode Chauffage est activé.
-
Appuyez sur la touche plus (2) ou sur la touche moins (3) pour régler la valeur de consigne de la température.
Le symbole SET(10) clignote. -
Attendez jusqu'à ce que le symbole SET(10) ne clignote plus.
La valeur de consigne est enregistrée.
Le symbole Chauffage (9) clignote.
Après une minute environ, l'appareil active la prise intermédiaire.
Réglage de l'offset pour la température de la piece Indication :
Veuillez notes que le passage d'un endroit froid à un endroit chaud peut entraîner la formation de condensation sur la platine conductrice de l'appareil. Cet effet physique inévitable fausse les mesures. Dans ce cas, l'écran n'indique aucune valeur ou une valeur erronée. Attendez quelques minutes avant d'effectuer une mesure, afin que l'appareil s'adapte au changement de conditions.
L'appareil donne la possibilité de régler une valeur d'offset (décalage du zéro de la courbe de température). Cela est utile lorsque la température ambiente mesure par le thermostat presente une différence trop élevée avec la température mesure par un thermomètre de referencia exact, même après une phase d'acclimatation.
√ L'appareil est eteint.
- Appuyez sur la touche SET(1) pendant 5 secondes environ pour passer au menu de paramétrage.
Le symbol SET(10) clignote. - Appuyez sur la touche plus (2) ou sur la touche moins (3) pour régler la valeur de l'offset.
- Une fois le réglage de l'offset effectué, appuyez plusieurs fois sur la touche SET(1) jusqu'à ce que vous reveniez à l'affichage de température ambiente. Vous sautez différents points de menu sans objet pour l'appareil lié present.
Arrêt de l'appareil
- Appuyez sur la touche marche/arrêt (4).
Le symbole fonctionnement OFF (12) apparait a l'écran.
La prise intermédiaire est eteinte, independamment de la valeur de consigne et la temperature ambiente actuelle.
Maintenance et réparation
Nettoyage
Nettoyez l'appareil avec un chiffon humide, doux et non pelucheux. Veillez à ce qu'aucune humidité ne pénétre dans le boitier. N'utilise pas d'aérosol, de solvant, de nettoyant à base d'alcool ni de produit abrasif pour nettoyer l'appareil, mais uniquement un chiffon imbibé d'eau claire.
Dépannage
Veuillez ne pas modifier l'appareil, ni monter des pieces de rechange. Veuillez vous adresser au fabricant pour faire dépanner ou contrôle l'appareil.
Élimination des déchets

Le pictogramme représentant une poubelle barrée, appose en apparéil électricque ou électronique, signifie que celui-ci doit pas été eliminé en fin de vie avec les ordures agères. Des points de collecte Gratisents pour les apparéils triques ou électroniques usages sont à votre disposition à limité de chez vous. Les autorités de votre ville ou de votre mune peuvent vous en fournir les adresses. Notre site met https://de.trotec.com/shop/ vous informé également sur autres possibités de retard que nous avons aménagées.
La collecte séparée des apparèils électriques et électroniques usages permet leur réutilisation évientuelle, le recyclage des matériaux constitutifs et les autres formes de recyclage tout en évitant les conséquences négatives pour l'environnement et la santé des produits dangereux qu'ils sont susceptibles dezersenir.
Trotec GmbH
Grebbener Str. 7
D-52525 Heinsberg
+492452962-400
+492452962-200
info@trotec.com
www.trotec.com
Notice Facile