Supreme Allin1 - Trampoline EXIT - Notice d'utilisation et mode d'emploi gratuit
Retrouvez gratuitement la notice de l'appareil Supreme Allin1 EXIT au format PDF.
| Caractéristiques techniques | Dimensions : 305 cm de diamètre, Hauteur : 76 cm, Charge maximale : 150 kg |
|---|---|
| Matériaux | Cadre en acier galvanisé, Tapis de saut en polypropylène, Filet de sécurité en polyester |
| Utilisation | Recommandé pour les enfants à partir de 3 ans, Utilisation en extérieur, Installation sur une surface plane |
| Maintenance et réparation | Vérifier régulièrement l'état du filet et des ressorts, Nettoyer le tapis avec de l'eau savonneuse, Ranger à l'abri en hiver |
| Sécurité | Équipé d'un filet de sécurité, Protection des ressorts, Ne pas sauter à plusieurs en même temps |
| Informations générales | Garantie : 2 ans, Poids du produit : 45 kg, Assemblage requis |
FOIRE AUX QUESTIONS - Supreme Allin1 EXIT
Questions des utilisateurs sur Supreme Allin1 EXIT
0 question sur cet appareil. Repondez a celles que vous connaissez ou posez la votre.
Poser une nouvelle question sur cet appareil
Téléchargez la notice de votre Trampoline au format PDF gratuitement ! Retrouvez votre notice Supreme Allin1 - EXIT et reprennez votre appareil électronique en main. Sur cette page sont publiés tous les documents nécessaires à l'utilisation de votre appareil Supreme Allin1 de la marque EXIT.
MODE D'EMPLOI Supreme Allin1 EXIT
Vous venez de faire l'acquisition du EXIT Supreme Trampoline; nous vous en felicitons!
S'amuser,'être actif et jouer dehors.....
Nous faitons tout notre possible pour développer des produits sur pour les enfants. Étant donné que nos produits sont classés comme étant des jouets, nous nous conformons aux réglementations de sécurité des consommateurs les plus rigoureuses. Avant de commercialiser nos produits, nous faisons réaliser des tsts indépendants en vue d'obtenir la certification. Nous testons également en continu nos cycles de production et faisons régulièrement réaliser des tests indépendants à titre de contrôle supplémentaire. Seuls les produits qui se montrent à la hauteur de la norme EXIT Toys la plus rigoureuse sont porteurs de l'étiquette EXIT Toys.
Nous souhaitons vous remercer pour l'achet de ce produit et pour votre fidélité. Nous sommes surs que vos enfants s'amuseront autant que nous nous sommesamusés durant la phase de développement. Nous sommes très ouverts et preneurs de tous les commentaires et idées qui pouraient nous aider à améliorer nos produits et à en développper de nouveaux. Vous âtes invites à nous envoyer vos idées à info@exittoys. com.
Décovrez le monde de EXIT Toys, ses produits de divertissement branchés et ses nouvelles sur www.exittoys.com.
L'équipe EXIT Toys.
| Model | Hauteur du Rembourrage d'armature (cm) | Hauteur du filt de sécurité (cm) | Diamètre extérieur (cm) | Hauteur totale (cm) |
| 10.71.15.00 | 92 180 457 272 |
2.0 Consignes de sécurité
Une utilisation conforme à ce qui est indiqué dans ce manuel éliminera quasiment tous les dangers. Cependant, gardez à l'esprit que les enfants éprouvent naturellement une forte envie de jour et cela peut conduire à des situations imprévisibles et dangereuses dont le fabricant ne peut être tenus pour responsables. Apprenez à vos enfants à utiliser le produit et informez-les des dangers possibles qu'ils encourunt.
Avan d'assembler et d'utiliser Ike produit, veuilles dire et respecter les principaux averisations ci-dessous.

AVENTISSEMENT
Afin d'éviter toute blessure grave:

Lire et comprendre le manuel avant utilisation.
- Attention! Ce produit est seulement concu pour un usage domestique.
- Attention! RISQUE D'ÉTOUFFEMENT! - Petites pieces. Pas adapté aux enfants de moins de 3 ans.
- Attention! Seulement 1 personne. Collision danger.
- Attention! Le trampoline est uniquement prévu pour une utilisation à l'extérieur.
- Attention! Sautez toujours au milieu du tapis.
- Attention! Sautez sans chaussures.
- Attention! Ne mangez pas pendant que vous sautez.
- Attention! Ne sortez pas en sautant
- Attention! Limitez le temps d'utilisation continue (faites régulièrement des pauses).
- Attention! N'utilisez pas le trampoline par vent fort et fixez-le bien.
Attention! Vider vos mains et poches avant de monter sur le trampoline!
- Attention! Ne pas executer de sauts péilleux ou autres sauts difficiles !
L'enfant doit être constamment surveillé par unadulte.
N'utilisez jamais le trampoline lorsqu'il est mouillé. Le jouet doit être assemblé par un adulte avant de pouvoir être utilisé.
- En cas de piece manquante ou defectueuse, veuilles contacter votre revender pour assistance.
- Avertissement : nous ne sommes pas responsables des blessures pouvant survenir lors de l'utilisation du trampoline avec le filt de sécurité. Le trampoline est pas destinée à être enterrée dans le sol.
- Poids max. de l'utilisateur: 10.71.15.00: 120 kg.
2.1 Avertissements relatifs à la sécurité:
- Lisez et comprendez les informations délivrées dans ce manuel. comme pour tous les sports et activités physiques, le risque de blessure existe. Pour garantir votre prise futur et éviter les dommages, assurez-vous de suivre les règles et les conseils de sécurité appropriés.
CONSULTEZ TOUJOURS UN DOCTEUR/MEDECIN AVANT D'EAFFECTUER TOUT TYPE D'ACTIVITE PHYSIQUE.
- CONTROLEZ TOUJOURS VOTRE TRAMPOLINE AVANT UTILISATION, EN ATTACHANT UNE ATTENTIONPARTICULIERAATOUS LES BOULONS,AU TAPIS DE SAUT ET A LA POSITION DES REMBOURRAGES.NEPAS UTILISERSI DES PIECES SONT ABSENTES OU AFFICHENT DES TRACES D'USURE.
ASSUREZ-VOUS QUE LE TRAMPOLINE SOIT TOUJOURS UTILISÉ PAR UNE SEULE PERSONNEL À LA FOIS.
ASSUREZ-VOUS TOUJOURS DE LA PRESENCE D'UNE PERSONNE SURVEILLANTE LORSQUE LE TRAMPOLINE EST UTILISÉ PAR QUICONQUE, QUEL QUE SOIT SON NIVEAU DE COMPÉTENCE.
- Arrêtez immédiatement votre exercice lorsqu vous ne vous sentez pas bien ou si vous sentez une douleur dans vos articulations et vos muscles. Le vertige est un signe de fatigue et vous devez cesser de sauter et vous allongez sur le sol si vous vous sentez étourdi.
Lorsque you utilisez ce trampoline, assurez-vous de porter des vetements appropriés, de préference des vêtements de sport et des chaussettes. NE PORTEZ JAMAIS DE CHAUSSURES SUR LE TAPIS.
Veuillez garder à l'esprit que le trampoline repose sur des ressorts, permettant à l'utilisateur d'atteindre des hauteurs supérieures à celles qu'il peut atteindre sur le sol : assurez-vous donc de sauter d'abord comfortablement à faible hauteur.
- Ce manuel contient des consignes pour un assemblage correct, des soins et l'entretien du produit, des conseils de sureté, des averissements et les techniques de saut appropriées, afin de garantir votre sécurité et une longue durée de vie du produit. Tous les utilisateurs et surveillants devraient donc se familiariser avec ces instructions. Quiconque décidant d'utiliser le trampoline se doit de réaliser les limites de ses capacités.
Le trampoline doit etre assemblé sur l'herbe ou sur des tapis de suturet approuvés par le BSI.
-
Ce produit est seulement concu pour un usage domestique.
-
Déplacement du trampoline. Si le trampoline doit être déplace, il doit être déplace par deux personnes. Soulevez le trampoline peu et garder le trampoline lorsque vous déplacez horizontally. Si nécessaire, vous pouvez démonter le trampoline. Suivez les instructions d'installation dans l'ordre inverse.
-
AVENTISSEMENT Vérifier avant et après l'utilisation du produit - et, en particulier, les composants suivants - pour les dommages et l'usure:
-
Tapis de trampoline
-Filet - Rembourrage d'armature
-Ressorts
2.2 L'USAGE DU TRAMPOLINE
TOUT D'ABORD, vous devez vous familiariser avec votre trampoline et comprendre combien de rebonds suivant chaque saut. À ce stade, la priorité doit être la position du corps et la technique jusqu'à ce que vous développement des qualités de contrôle et d'aisance.

- AVANT D'ESSAYER DE SAUTER TROP HAUT, la technique d'arrêt doit avoir été apprise, cela évitera les blessures si vous veniez à partir que vous sautez de manière incontrélée.
L'utilisateur qui atterrit sur les genoux doit etre courbe afin de s'arreter et pour que I'energie du saut soit absorbee dans le tapis. La position est montrée dans l'imagede gauche. Les bras sont deployes pour améliorer I'equilibre. - Cette technique est utilisé lorsque l'utilisateur du trampoline souhaite arrêté de rebondir sur le trampoline par fatigue, perte de contrôle, etc.

SAUTS PÉRILLEUX (FLIPS): N'ÉFFECTUEZ AUCUN saut périlleux d'aucunes sortes (saltos avant et arrière) sur ce trampoline. Si vous faites une erreur en essayant de réaliser un saut périlleux, vous pouvez atterrer sur votre tête ou cou. Ce qui augmentera la possibilité de vous fracturer ces derniers, pouvant entraîner la mort ou la paralysisie.

OBJETS ELOIGNÉS : N'UTILISEZ PAS le trampoline si des animaux domestiques, d'autres personnes ou unquelconque objet se trouvent sous le trampoline. Cela augmentera la possibilité d'accidents, N'AYEZ aucun objet étranger dans vos mains et ne placez AUCUN objet sur le trampoline lorsqu'vous l'utilisez. N'INSTALLALLEZ PAS le trampoline sous des objets suspendus, comme des branches d'arbres, câbles, etc. ce qui augmente les probabilités d'accident.

MAUVAIS ENTRETIEN DU TRAMPOLINE: Un trampoline mal entreten augmentera la probabilité d'accident. Veuillez inspector le trampoline avant chaque utilisation en contrôle les évventuels tubes d'acier tordus, déchirures du tapis de saut, ressorts lâches ou cassés et la stabilité générale du trampoline.

CONDITIONS ATHMOSPHERIQUES : Veuillez prendre en compte les conditions météorologiques lorsque vous utilisez le trampoline. N'utilisez jamais le trampoline lorsqu'il est mouillé. Si le vent est trop fort, l'utilisateur pourrait perdre le contrôle.

ACCès LIMITE : Lorsque le trampoline n'est pas utilisé, stockez toujours l'échelle d'accès dans un lieu sécurisé afin que des enfants non surveillés ne puissant pas journ sur le trampoline.
2.3 ASTUCES POUR RÉDUIRE LE RISQUE D'ACCIDENTS



Afin de réduire le risque d'accident, l'UTILISATEUR DU TRAMPOLINE devrait :
- toujours rester maître de ses sauts et de sa position corporelle, à tout moment.
- Ne pas essayer d'exécuter des techniques dépassant son propre niveau de compétence.
- Lire et comprendre le saut en decollant et en atterrissant au milieu du trampo-line.
- plusieurs contrôleurs sont saut en décollant et en atterrissant au milieu du trampo-line.
- toujours sauter verticalément et s'abstenir de rebondir en direction des ressorts dans une quelconque direction.
- toujours consulter un instructeur de trampoline certifié avant d'essayer toute technique sortant des techniques de base.
Afin de réduire le risque d'accident, le SURVEILLANT devrait :
comprende entiement et faire respecter toutes les regles et directives de suture.
- Conseiller l'utilisateur du trampoline et l'informer sur ce qu'il fait correctement et mal afin d'assurer la sureté de l'utilisateur du trampoline.
- Connaître tous les averissements de suture et en informer l'utilisateur du tram-poline.
IMPORTANT: Si le trampoline ne peut pas'être surveillé, une méthode doit être utilisée pour empêcher quiconque d'utiliser le produit, jusqu'à ce que la surveillance soit possible.
2.4 INSTRUCTIONS DE SECURITE
PRECAUTIONS À RESPECTER LORS DE I'UTILISATION DU TRAMPOLINE

- N'utilisez pas le trampoline si vous avez consommé de l'alcool ou des substances narcotiques
Montez et descendez du trampoline de maniere controlee et soigneuse. Ne sautez jamais sur ou hors du trampoline et n'utilise jamais le trampoline comme un moyen pour rebondir sur ou dans un autre object. - Apprenez toujours le saut de base et maîtrisez chaque type de saut avant d'essayer des types de sauts plus difficiles. Passez en revue la section des techniques de base pour apprendre à effectuer les éléments de base.
- Pour arrêté de rebondir, flèchissez vos genoux lorsque vous attIRRissez sur vos pieds.
- Conservez toujours le contrôle de votre équilibre lorsque vous rebondissez sur le trampoline. Un saut est contrôle lorsque vous attIRRissez à l'endetroit exact d'ou vous avez decollé. Si vous sentez que vous avez perdu le contrôle, cessez immédiatement de rebondir.
- Ne sautez pas ou ne rebondissez pas trop haut ou pendant des périodes prolongées pendant plusieurs sauts. Gardez vos yeux sur le tapis de saut pour conserver le contrôle. Dans le cas contraire, vous pourriez perdre votre équilibre.
- N'ayez jamais plus d'une personne à la fois sur le trampoline.
PRECAUTIONS CONSEILLÉES LORS DE LA SURVEILLANCE DU TRAMPOLINE
IMPORTANT : Familiarisez-vous avec les sauts et les règles de sécurité de base. Pour éviter et réduire le risque de blessures, assurez-vous que toutes les règles de sécurité soient respectées et que les nouveaux utilisateurs maîtrisent les sauts de base avant d'essayer des techniques plus avances.
TOUS LES UTILISATEURS doivent etre surveillés, independament de leur niveau de compétence ou de leur age.
- N'utilisez jamais le trampoline lorsqu'il est mouillé, endommagé, sale ou use. Le trampoline doit être inspecté avant utilisation.
- Gardez toujours à l'écart du trampoline tous les objets pouvant interférer pendant l'utilisation. Gardez à l'esprit ce qui se trouve au-dessus, en dessous et ajustur du trampoline.
- Pour prévenir une utilisation non surveillée et non autorisée, le trampoline devrait toujours être sécurisé.
2.5 ACCIDENT CLASSIFICATION & IDENTIFICATION

MONTAGE ET DEMONTAGE :
Soyez très prudent lorsque vous montez et descendez du trampoline. Ne montez PAS sur le trampoline en saississant le rembourse de l'armature, marchant sur les ressorts ou sauant sur le tapis du trampoline depuis un objet (un pont, toit ou échelle). Cela est considéré comme très dangereux. Ne descendez PAS en sauant hors du trampoline et en atterrissant sur le sol. Si des petits enfants jouent sur le trampoline, ils peuvent avoir besoin d'aide pour monter et descendre.

CONSOMMATION D'ALCOOL ET DE DROGUE :
NE consommez AUCUN alcohol ou aucune drogue (y compris les médicaments pouvant affecter la coordination de l'utilisateur) lorsque vous utilisez ce trampoline. Cela est considéré comme extrémement dangereux, car ces substances étrangères réduisent vos jugements, temps de réponse et coordination physique générale.

N'ayez jamais plus d'une personne à la fois sur le trampoline.

HEURT CONTRE L'ARMATURE DES RESSORTS:
Lorsque vous jouez sur le trampoline, RESTEZ au centre du tapis de trampoline. Cela réduira le risque de blessures à l'atterrissage sur le tapis de saut. Conservez toujours le rembourse du chassin qui recouvre l'armature du trampoline. NE MONTEZ OU SAUTEZ PAS directement sur l'armature de rembourse, car il n'est pas conscience pour supporter le poids d'une personne.

PERTE DE CONTRÔLÉ :
N'essayez pas de faire des manoeuvres difficiles avant de maîtriser les bases. Si vous ne respectez pas ces directives, vous augmentez le risque de blessure.
AVERTISSEMENT: Faire une pause toutes les 10 minutes.
3.0 TECHNIQUES DE TRAMPOLINE
TECHNIQUES DE BASE
TECHNIQUE DE BASE 1: Le saut de base

- Demarrez depuis la position debout, les pieds bien écarts à la largeur des épaules, la tête relevée et les yeux sur le tapis du trampoline.
- Balancez les bras en avant et au-dessus de la tête dans un mouvement circulaire.
Rapprochez les jambes et les pieds à "mi-air" et pointez les orteils. - Atterrissez sur le tapis, les pieds bien écarts à la largeur des épaules (identique à la position de dé-marrage).
- Pourquoi ne pas essayer de passer à l'étape supérieur une fois cette technique bien maitrisée?
TECHNIQUE DE BASE 2 : l'atterrissage sur les genoux
- Démarrez par un saut de base, bas (comme détaillé dans la TECHNIQUE DE BASE 1).
- Atterrissez avec les pieds bien écarts à la largeur des épaules, le dos croit et dans une position corporelle forte en utilisant les bras sur les côtes ou sur le devant pour maintenir l'équilibre.
- Revenez à la position de base en utilisant le moment du rebond et en balançant les bras au dessus de la tête.
- Une fois la technique maitrisée à cette hauteur, essayez de sauter un peu plus haut, mais n'oubliez pas de contrôle toujours vous toute hauteur.

TECHNIQUE DE BASE 3 : l'atterrissage assis

- Demarrez par un saut de base, bas (TECHNIQUE DE BASE 1) en position normale.
- Atterrissez avec les jambes tendues face à vous, les mains de part et d'autre de vos hanches et le dos croit dans une position corporelle forte.
Utilisez le moment du rebond en vous aidant d'une pression des mains pour revenir en position debout. - Une fois la technique maitrisée à cette hauteur, essayez de sauter un peu plus haut, mais n'oubliez pas de contrôle toujours votre hauteur.
IMPORTANT : Veuillez consulter un instructeur de trampoline formé avant d'essayer de passer à des techniques plus avancées afin d'assurer un niveau de sécurité le plus élevé possible.
TECHNIQUES AVANCEES
TECHNIQUE AVANCEE 1 : le saut de base

- Commencez par un saut de base, bas (TECHNIQUE DE BASE 1) en position normale.
- Atterrisssez sur vos mains et genoux en même temps, assurez-vous de maintainir le dos horizontally au tapis de saut, les mains et jambes écarts de la largeur des épaules.
Utilisez le moment du rebond et poussez avec vos mains pour repasser en position verticale. - Une fois la technique maétrisée à cette hauteur, essayez de sauter un peu plus haut, mais n'oubliez pas de contrôle toujours vous toute hauteur.
- Essayez de passer à l'étape supérieure une fois cette technique bien maitrisée.
TECHNIQUE AVANCEE 2 : Mains et genoux en tomber plat-ventre
- Atterrisssez sur vos mains et genoux en même temps, assurez-vous de maintainir le dos horizontally au tapis de saut, les mains et jambes écarts de la largeur des épales.
- Maintenez une position corporelle ferme, le dos à l'horizontal et les jambes tendues et pliez les bras face au visage à mi-air, prét à atterrer sur le tapis en position allongée.
Assurez-vous que l'atterrissage se fasse avec la moitié du corps touchant le tapis en même temps. - Poussez sur les mains et repassez en position verticale.
- Une fois la technique maitrisée à cette hauteur, essayez de sauter un peu plus haut, mais n'oubliez pas

TECHNIQUE AVANCEE 3 : Le tomber plat-ventre

- Commencez par un saut de base, bas (TECHNIQUE DE BASE 1) en position normale.
- Maintenez une position corporelle solide, le dos à l'horizontal et les jambes tendues et pliez les bras face au visage à mi-air, prét à atterrer sur le tapis en position allongée.
Assurez-vous que l'atterrissage se fasse avec la moitié du corps touchant le tapis en même temps. - Poussez sur les mains et repassez en position verticale.
- Une fois la technique maitrisée à cette hauteur, essayez de sauter un peu plus haut, mais n'oubliez pas de contrôle toujours vousCHAuteur.
IMPORTANT: Si vous souhaitez aller plus loin et apprendre d'autres techniques avances pour trampoline, veuillez consulter un instructeur qualifié et/agréé.
4.0 INFORMATIONSGENÉRALES
- Il n'est pas nécessaire de démonter le trampoline pendant l'hiver.
- Les écrous autobloquants et les vis convennent uniquement pour une mise en place et doivent être remplaces après un démontage du trampoline et/ou du filet de sécurité.
Le filt de sécurité a une durée de vie minimum de 2 ans après l'achat. - On commande de placer les trampolines sur une surface plane et horizontally à au moins 2 m de distance d'autres superstructures ou barrières, par exemple d'un garage, d'une maison, de branches d'arbre, lignes de lavage ou cables électriques.
- Le trampoline ne sera pas installé au-dessus de surfaces dures comme l'asphalte ou le béton.
- Remplacer les pièces défectueuses conformément à la recommandation du fournisseur.
- Les modifications au trampoline (par exemple l'ajout d'un accessoire) doivent être effectuées conformément à l'instruction du fournisseur.
5.0 ASSSEMBLAGE DU TRAMPOLINE
CONSTRUCTION PAR ETAPES
Assemblage exclusivement confié à un adulte.
Pour assembler ce trampoline tout ce dont vous avez besoin est notre outil spécial de mise sous tension des ressorts fourni avec ce produit. Lorsqu'il n'est pas utilisé, ce trampoline peut facilement et demonté et stocké. Veuillez dire les instructions d'assemblage avant de commencer à assembler le produit.
Veuillez vous reférer au tableau pour les descriptions des pieces et les numéroes. L'instruction d'assemblage utilise ces descriptions et numéroes comme reference.
Assurez-vous de posseder toutes les pieces listedes. Si des pieces sont manquantes, veuillez contacter vous revendeur.
Au cours de l'assemblage, veuillez utiliser des gants pour protéger vos mains contre d'eventuels pincements. Une fois prét à commencer, assurez-vous que vous avez suffisamment d'espace et un endroit propre et sec pour l'assemblage.
LISTE DES PIECES
| Numéro de piece | Description 15ft | |
| 1 Rail supérieur avec "Socket" 6 | ||
| 2 Rail supérieur avec "T-Joint" 6 | ||
| 3 Base de pied 6 | ||
| 4 Jambe d'extension verticale 12 | ||
| 5 Vis M6 24 | ||
| 6 Écrou M6 24 | ||
| 7 Rondelle M6 48 | ||
| 8 Tapis de trampoline, coutures avecannes en V 1 | ||
| 9 Ressorts 96 | ||
| 10 Rembourse d'armature 1 | ||
| 11 Tube supérieur avec de la mousse 6 | ||
| 12 Tube inférieur avec de la mousse 6 | ||
| 13 Manchon 6 | ||
| 14 Vis 6 | ||
| 15 Fillet 1 | ||
| 16 Capuchon d'extrémité 6 | ||
| 17 Capuchon de perché 6 | ||
| 18 Corde 3 | ||
| 19 Câble supérieur (Ø11mm) 2 sets | ||
| 20 Câble inférieur (Ø9.5mm) 2 sets | ||
| 21 Bague en plastique 2 | ||
| 22 Élastique avec boule 18 | ||
| 23 Notice d'instructions de sécurité 1 | ||
| 24 Sac à chaussures 1 | ||
| 25 Échelle 1 | ||
| 26 Outil pour ressort 1 set | ||
Voutrouvez ci-joint les specifications actuelles et les caractéristiques des produits disponibles au moment de l'impression. Cependant, des modifications dans l'équipment, la disponibilité, les specifications et les caractéristiques peuvent survenir, sans préavis.

(1)

(2)

(3)

(4)


(6)(5)(7)


(8)

(9)

(10)

(11)

(12)

(13)

(14)

(15)

(16)

(17)

(18)(19)


(20)

(21)

(22)

(23)

(24)


Tools
(25) (26)
ÉTAPE 1
Poser sur le sol une tube supérieur avec douille (1) et un tube supérieur avec joint en T (2) dans la position affichée. S'assurer que les tubes supérieur soient tournés de maniere à ce que les petits trouss (trous de dessort) soient face à la terre.
Insérer une extrémité de tube supérieure avec le joint en T (2) dans l'autre tube supérieur avec la douille (1) comme affché.
ETAPE 2
Le sommet du renfort de pied devrait pointer vers la terre. Insérer le renfort de pied (3) dans l'extension du pied (4), sécurisé avec le boulon M6 de 45mm (5), l'écrou M6 (6) et la rondelle M6 (7).
Insérer la pied dans la douille et le joint en T. Appuyer sur les deux pieds en même temps et insérer-les entierement dans la douille et le joint en T, sécurisés avec le boulon M6 de 50mm (5), l'écrou M6 (6) et la rondelle M6 (7).
Note: ne pas serrer les écrous
Répéter les étapes 1 et 2 pour assembler les cinq sections restantes du pied


ETAPE 3
Note: Cette étape exige deux personnes.
Au cours de cette étape, vous relierez les six sections assemblées de pied aux tubes supérieurs restants à six pieds.
Poser deux sections de pied et les tenir en position comme affché. Glisser la grande extrémité d'un des tubes supérieur restants sur la petite extrémité du tube supérieur indiqué sur une des sections de pied. Insérer la petite extrémité du tube supérieur dans le tube supérieur indiqué avec le joint en T sur l'autre section de pied. Repeter cette étape jusqu'à ce que chacune des six sections de pied soit reliée. Lorsque cette étape est accomplie, l'armature sera entièrement assemblée et libre.

ÉTAPE 4
Attention: Il est conseilé de porter des gants de cuir lors de la fixation des ressorts. Surveillez l'emplacement de vos mains car les ressorts et les joints du chassis peuvent pincer.
Attacher les ressorts (8) de la maniere suivante:
- Accrocher l'extremité d'un ressort (8) dans un anneau en V cousu sur le tapis de saut.
- Accrocher un outil pour ressort (10) comme affiché sur le schéma à côté de l'extremité libre du ressort (8). Utiliser l'outil pour ressort (10) pour le tirer jusqu'à ce qu'il attaigne l'armature.
- Pousser l'extrémité du ressort dans un trou dans l'armature.
- Decrocher l'outil pour dessort. le premier dessort est fixé.
Note: Le dessort possède un grand crochet qui s'attache à l'armature et un petit crochet qui s'attache à l'anneau du tapis.
- Placez d'abord 8 anneaux triangle blancs sur le tapis, séparation des deux côtes du joint en T et de la Fiche, attachez 2ressorts en #1 au tapis et au chassin.
- Attachez ensuite de la même manière 2 ressorts en #2, #3, #4 jusqu'à ce que les 8 ressorts blancs soient attachés.
- Continuez à attacher 2 ressorts en #5, #6, #7, #8, #9, #10, #11, #12 des deux côtés du joint en T et des Fiches. Assurez-vous de raccorder correctement l'anneau du tapis au trou du chassin approprié. ÀpRES avoir attaché ces ressorts, continuez à attacher tous les ressorts restants au tapis et au chassin, dans n'importe quel ordre.
Notification de sécurité:
Lorsque vous attachez les ressorts, comptez soigneusement les anneaux en V et les trou s'armature. Si un anneau en V ou un trou est sauté, rattachez le ressort dans la position appropriée.


ETAPE5
Poser la garniture de l'armature (10) sur le chassin. Ajuster la position de la garniture du chassin de sorte que les fentes soient directement au-dessus de la douille, comme affché.
Regardez depuis la face inférieure du matelas. Faites passer la corde (18) à travers les anneaux en V dans la toile et les orifices des bandes sur le bord du filt, comme indiqué dans le dessin encadré A-B.
Fixez le matelas au cadre en utilisant les bandes elastiques avec des boules comme indiquedans le dessin encadré C.Serrez en deplacant la boule vers le haut, comme indiquedans le dessin encadré D.





ÉTAPE 6
Gréace au cordon en plastique inclus, attacher l'étiquette d'avertissement (23) à l'armature pres du point ou les utilisateurs grimperont ou descendrond du trampoline.

ÉTAPE 7
Attacher le sac à chaussures (24) au chassis comme affché.

ÉTAPE 8
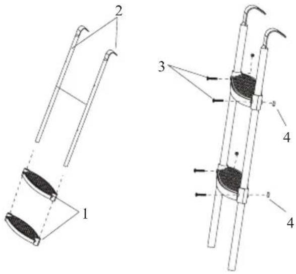
Assemblage de I'echelle (25).
Insérer I'echelon (1) dans la tige (2) comme affché, sécuriser avec le boulon M6 de 40mm (3) et I'écrou M6 (4).
Attacher le tube inférieur (5) à la tige comme affché, sécuriser avec le boulon M6 (6).
Attacher I'echelle au trampoline comme affché ci-dessous.


8

ÉTAPE 9
Insérer le tube inférieur (12) dans le tube supérieur (11), sécuriser avec la vis (14)

ÉTAPE 10
Étape 10A
Insérer le capuchon de perché (17) dans la perché assemblée à l'objet 9. Si le capuchon de perché a déjà été préinstallé en usine, passer directement à l'objet 10B.
Étape 10B
Insérer la perché assemblée à l'étape 2 dans le manchon (5), comme il- lustré.

ÉTAPE 11
Identifier le cable (19) avec les petites sections attachées par le cable, puis insérez l'extrémité B du cable dans l'extrémité A comme illustré, repeter ce processus pour attacher les cables restant C,D,E,F pour former le premier cable assemble.
Répéter ce procédé pour attacher les autres produits de sections de cable de la même manière.

ÉTAPE 12
A
Insérer un cable assemble (19) dans le manchon sur le dessus du filt de clôture (15) comme affché en A.
Note: Deux adultes sont nécessaires pour effectuer l'assemblage.
Insérer le deuxième cable assemble (19) dans la douille en haut du filt de clôture de la même façon.
B
Attacher deux extrémités du cable entier comme affché en B.

12

B

ÉTAPE 13
Mettez le filet (15) sur le tampon de trame. Assurez-vous que le centre de l'entrée du filet est supérieure au "T-Joint" de la rail supérieur.
Fixer le cable de clôture au capuchon en plastique. S'assurer que le cable est bien inséré dans la fente. Insérer la perché de clôture dans la douille du trampoline, comme affché.
Attacher les autres perches de clôture de la même manière.

13
Insérer le capuchon d'extrémité (16) dans le trou inférieur du support.


ÉTAPE 14
Monter la Câble de fibre de verre inférieur (20) comme dans l'étépe 11.
Trouver une fente (la première fente) en bas du filet.
A
Insérer des extrémités des cables inférieur dans le manchon de cette fente.
B
Attacher des autres extrémités du cable entier comme affché en B.

14

B


ÉTAPE 15
passer l'élastique avec boule (22) à travers la fente de la garniture puis encerclez le cable sur la partie inférieure du filet de clôture et du chassin du trampoline. Pour finir, serrez l'élastique avec la boule.

15

2223

Felicitations! Notre trampoline est maintainant entierement assemblée.
S'assurer que toutes les pieces soient solidement attachées. Tous les utilisateurs doivent se familiariser avec le trampoline et la clôture, avec les mesures de sécurité, l'utilisation et les notices d'utilisation, d'entretien et de maintenance contenues dans ce manuel avant d'utiliser le trampoline et la clôture.

6.0 SOINS ET ENTRETIEN
Ce trampoline a ete conu et fabriqu dans les regles de l'art et avec des matieres aux de qualite. Si un entretien correct est aporté, ce trampoline fournira des annes d'exercice et de pleasir à tous les utilisateurs, tout en reduisant le risque de blessures. Veuillez suivre les directives enumeratedes ci-dessous :
Ce trampoline est conçu pour supporter un certain poids et un certain usage. Veuillez vous assurer que ce trampoline est utilisé par une seule personne à la fois. Lors de l'utilisation de ce trampoline, les utilisateurs devraient porter des chaussettes, deschaussons de gymnastique ou être pieds nus. Veillez à ne PAS porter de chaussures de sport ou de ville lorsque vous utilisez ce trampoline. Afin d'empêcher le tapis du trampoline d'être endommagé ou sectionné, veillez ne pas autoriser les animaux domestiques sur le tapis. Les utilisateurs ne devraient également porter aucun object coupant avant d'utiliser le trampoline. Tous les objets pointus ou coupant devraient toujours rester à l'écart du trampoline.
Instructions d'entretien
Il est particulièrement important de suivre les instructions d'entretien suivantes au début de chaque saisson et périodiquement pendant la saison d'utilisation :
Il est nécessaire de déterminer si tous les écrous et boulons sont bien serrés;
- Vérifier que tous les raccordements à ressort (goupilles de verrouillage) sont intacts et ne se déplacent pas lorsque le trampoline est utilisé ;
Tous les capuchons de vis et les bords pointus doivent etre verifiés et remplacés au besoin ;
Le manuel d'entretien sera conservé
Inspectez toujours le trampoline avant chaque usage, pour détecter d'eventuelles pièces tors-dues, endommagées ou manquantes. Plusieurs circonstances peuvent augmenter la probabilité d'accidents. Veuillez faire attention aux:
- Crevaisons, trough ou déchirures dans le tapis de trampoline
- Fléchissement du tapis de trampoline
Couture defaite ouquelconque deterieioration du tapis de saut - Pièces du chàssis tordues ou cassées, comme les pieds
- Ressorts cassés, manquants ou endommages
- Rembourse du chassinis manquant ou mal attaché
- Pièces saillantes (surtout coupantes) sur le chassin, ressorts ou tapis de saut
SI VOUS CONSTATEZ UNE DES CIRCONSTANCES PRÉCEDENTES OU UN QUELCONQUE CONDITION QUI POURRAIT, SELON VOUS, CAUSER DES DOMMAGES A UN QUELCONQUE UTILISATEUR, LE TRAMPOLINE DEVRAIT ÉTRE DÉSASSEMBLE OU SECURISE POUR EMPECHER SON UTILISATION JUSQU'A CE QUE LA/LES CONDITIONS SOIT RÉSOLUES.
CONDITIONS VENTEUSES
Dans des conditions de grand vent, le trampoline peut s'envoler. Si vous pressentez des conditions venteuses, déplacez le trampoline dans un endroit abrité ou demontez-le. Une autre option est d'attacher la portion ronde, extérieure (chassinis supérieur) du trampoline au sol, en utilisant des cordes et des poteaux. Pas sécurité, au moins trois (3) attaches devraient être utilisées.
DéPLACEMENT DU TRAMPOLINE
Si vous avez besoin de déplacer le trampoline, deux personnes devraient être mises à contribution. Tous les points des connecteurs devraient être enveloppés de manière sécurisée avec du ruban adhésif résistant aux intempéries, comme le « duct tape ». Cela mainiendra le chassin intact pendant le déplacement et empêchera les points de connecteurs de se défaire et de se séparer. Lors du déplacement, soulevez légarement le trampoline du sol et gardez-le horizontallyment.
Pour tout mouvement d'un autre type, il vous faut désassembler le trampoline.
7.0 Garantie
-
Le propriétaire du Trampoline EXIT Toys bénéficia d'une garantie après la date d'achat:
-
de 5 ans sur le chassinis
- de 5 ans sur les ressorts
- de 5 ans sur les bords de protection
- de 2 ans sur le tapis de saut
- de 2 ans sur la rupture du chassin du filet
-
de 1 ans sur le déchirement du filet
-
La garantie s'applique uniquement vis-à-vis des vices de construction et des vices matériels de ce produit ou des pieces de ce produit.
- La garantie s'annule lorsque:
- Ce produit est utilisé incorrectement et/ou avec néligence et non conformément à ce pour quoi il a été destiné.
- Ce produit n'a pas ete assemblé et entretenu conformément au carnet d'instructions.
- Les réparations techniques sur ce produit n'ont pas été effectuees de maniere competente.
- Les pièces montées plus tard ne correspondant pas aux specifications techniques du produit concerné, ou sont montées de manière inexacte.
- Les défauts liés aux influences climatologiques, comme la rouille, le rayonnement UV ou l'alteration normale.
- Le produit est utilisé pour la location ou est mis, d'une autre manière, à la disposition de plusieurs personnes non spécifiées.
- Pendant la période de garantie, tous les vices de construction ou les vices matériels constatés par EXIT Toys seront réparés ou remplacés, selon le choix de EXIT Toys.
- Le propriété du Trampoline EXIT Toys peut seulement prétendre à la garantie en proposant le produit à l'inspection auprès d'un distributeur EXIT Toys. La facture d'achat originale doit être remis au distributeur EXIT Toys.
- En cas de vice de construction ou de vice matériel de EXIT Toys, le produit ou les pieces du produit sera/seront réparé(es) ou remplace(es) gratuitement, selon le choix de EXIT Toys, pendant la période de garantie précitée à l'article 1.
- Si la demande de garantie n'est pas justifiée, tous les frais encourus sont à la charge du propriétaire.
- La garantie n'est pas transmissible aux tiers.
- Le Trampoline est conçues pour un usage隱私. Il est interdit de luer les trampolines ou de les placer dans des lieux publics comme des écoles ou des crèches. En cas de location ou d'utilisation dans des lieux publics, toute garantie ou autre responsabilité tombe.

Supreme Round
e15FT / e457cm [10.70.15.00]

Contact:
Dutch Toys Group
Fabriekstraat 17^e
P.O. Box 369, 7000 AJ Doetinchem
info@exittoys.com
www.exittoys.com
Notice Facile