Wave 10.2 - Téléphone sans fil ESSENTIELB - Notice d'utilisation et mode d'emploi gratuit
Retrouvez gratuitement la notice de l'appareil Wave 10.2 ESSENTIELB au format PDF.
| Caractéristique | Détails |
|---|---|
| Écran | 10.2 pouces, résolution 1280 x 800 pixels |
| Processeur | Quad-core, fréquence jusqu'à 1.3 GHz |
| RAM | 2 Go |
| Stockage interne | 32 Go, extensible via microSD |
| Système d'exploitation | Android 10 |
| Caméra arrière | 5 MP |
| Caméra avant | 2 MP |
| Connectivité | Wi-Fi, Bluetooth 5.0 |
| Batterie | Li-ion 5000 mAh |
| Dimensions | 245 x 149 x 9 mm |
| Poids | 500 g |
| Utilisation | Idéal pour la navigation, le multimédia et les applications de productivité |
| Maintenance | Nettoyage régulier de l'écran, mise à jour du système d'exploitation |
| Sécurité | Protection par mot de passe, mises à jour de sécurité régulières |
| Informations générales | Accessoires inclus : chargeur, câble USB, manuel d'utilisation |
FOIRE AUX QUESTIONS - Wave 10.2 ESSENTIELB
Questions des utilisateurs sur Wave 10.2 ESSENTIELB
0 question sur cet appareil. Repondez a celles que vous connaissez ou posez la votre.
Poser une nouvelle question sur cet appareil
Téléchargez la notice de votre Téléphone sans fil au format PDF gratuitement ! Retrouvez votre notice Wave 10.2 - ESSENTIELB et reprennez votre appareil électronique en main. Sur cette page sont publiés tous les documents nécessaires à l'utilisation de votre appareil Wave 10.2 de la marque ESSENTIELB.
MODE D'EMPLOI Wave 10.2 ESSENTIELB
Telephone sans fil avec répondeur
WAVE 15.1, 15.3


Notice d'utilisation
Pour vous aider à bien vivre votre achat
Vous venez d'acquérir un produit de la marque Essentiel b et nous
vous en remercions. Nous apportons unsoon tout particulier a la
FIABILITÉ, à la FACILITÉ D'USAGE et au DESIGN de nos produits.
Nos espérons que ce téléphone vous donnera entière satisfaction.
sommaire
consignes d'usage 4
Consignes de sécurité 4
Recyclage des piles 5
installation du téléphone 6
Branchement de la base 6
Insertion des piles 6
Charge des batteries 7
Si vous possédez une ligne par internet haut-debit 7
description du téléphone 8
Combé 8
Icones de I'ecran 10
Base 11
Structure des menus 13
Tableau d'entrée des chiffres et des lettres 14
utilisation du téléphone 15
Passer un appel externe 15
Répondre à un appel 16
Terminer un appel 16
Haut-parleur du combiné 16
Réglage du volume d'écoute et du main-libre 16
Couper le son 16
Désactiver/Activer la sonnerie d'un combiné 16
Verrouiller/déverrouiller le combiné 17
17
Appel combiné 18
Passer un appel interne 18
répertoire 20
Enregistrer un contact 20
Rechner et appeler un contact 20
Modifier un contact 20
Supprimer un contact 21
journal des appels 21
Consultation du journal des appels 21
Enregistrement d'un numero 22
Supprimer un numero du journal des appeals 22
Supprimer tous les numéroes du journal des appeals 22
paramètres 23
Date,Heure &Alarme 23
Paramètres du combiné 24
Paramètres de la base 26
Utilisation d'autres combinés 28
Réinitialiser les réglages de la base 29
Fonction répondeur (uniquement disponible avec Wave 15.1)
30
Mise en/hors service du répondeur 30
Écouter les messages du répondeur 30
Supprimer tous les messages du répondeur 31
Enregisterr un mémo 31
Réglages du répondeur 31
Régler le début de réponse 32
Filtrage d'appels 32
Accès à distance 32
guide de dépannage 34
déclaration de conformité 35
consignes d'usage
AVANT D'UTILISER L'APPAREIL POUR LA PREMIÈRE FOIS, VEUILLEZ LIRE ATTENTIVEMENT CES INSTRUCTIONS SE RAPPORTANT À LA SECURITE ET LES CONSERVER POUR RÉFERENCE ULTÉRIEURE.
Consignes de sécurité
- Vérifiez que la tension d'alimentation indiquée sur la plaque signalétique de l'adaptateur sector correspond bien à celle de votre installation électrique.
-
N'utilisez pas l'appareil :
-
si I'adaptateur ou le cable d'alimentation est endommagé,
- en cas de mauvais fonctionnement,
-
si I'appareil a ete endommagé de quelque façon que ce soit.
-
Utilisez uniquement l'adaptateur secteur fourni avec cet apparéil.
L'adaptateur fourni ne doit pas etre utilise avec un autre appareil. - Veillez à installer l'appareil sur une surface plane et stable (évitez, en particulier, de le placer sur des tissus ou des moquettes).
- Branchez l'adaptateur secteur sur une prise secteur facilement accessible.
- Veillez à ce que le cordon d'alimentation ne puisse être écrasé ou coincide, en particulier au niveau des fiches, des prises de courant et au point de raccordement à l'appareil.
L'adaptateur fourni avec l'appareil est uniquement destiné à une utilisation en interieur. - N'installez pas cet apparéil ou son adaptateur à proximé d'une quelconque source de chaleur, telle qu'un radiateur, une arrivée d'air chaud, un four ou tout autre apparéil (notamment les amplificateurs) produit de la chaleur.
- Veuillez ne pas exposer l'appareil ou son adaptateur à la lumière directe du soleil et à la poussière.
- N'utilisez pas cet apparéil ou son adaptateur à proximité d'eau ou d'une source d'humidité, telle qu'une baignoire, un lavabo, un évier de cuisine, une piscine, dans un sous-sol humide ou tout autre emplacement humide.
- Ne placez pas de sources de flamme nues (une bougie allumée, par exemple) sur l'appareil ou son adaptateur ou a proximé de ceux-ci.
Veillez à ne pas éclabousser ou renverser un liquide sur l'appareil ou son adaptateur et à ne pas placer d'objet contenant un liquide (un vase, par exemple) sur l'appareil ou son adaptateur. - Ne pas ouvrir l'appareil ou son adaptateur pour quelques raison que ce soit.
N'tilisez jamais d'objets pointus pour acceder à l'intérieur de l'appareil ou de l'adaptateur. - Débranche cet apparéil pendant les orages ou au cours des longues périodes de non-utilisation afin d'éviter de l'endommager.
- L'appareil doit être éteint avant de débrancher le cable de l'adaptateur
- Ne débranchez jamais l'appareil en tirant sur le cordon d'alimentation mais en saississant
I'adaptatour secteur.
- Cet apparéil n'est pas prévu pour être utilisé par des personnes (y compris les enfants) dont les capacities physiques, sensorielles ou mentalles sont réduites, ou des personnes dénuées d'expérience ou de connaissance, sauf si elles ont pu bénéficier, par l'intérimédiaire d'une personne responsable de leur sécurité, d'une surveillance ou d'instructions préalables concernant l'utilisation de l' apparéil. Il convient de surveiller les enfants pour s'assurer qu'ils ne jouent pas avec l' apparéil.
- Si vous appeareil ou son adaptateur fonctionnent de maniere inhabituelle, et particulièrement s'ils émettent des sons ou des odeurs qui vous paraisent anormaux, débranchez-les immédiatement et faites les examiner par un répartateur qualifié.
- Débranchez l'appareil avant tout nettoyage. Nettoyez-le uniquement à l'aide d'un chiffon doux et sec et évitez l'usage d'aerosols.
Recyclage des piles

Ne jetez pas les piles avec les ordures menagères.
Afin de préserver l'environnement, débarrassez-vous des piles conformément aux réglementations en vigueur.
(Déposez-les dans votre contèur à piles le plus proche ou rapportez-les dans votre magasin).
- Ne rechargez pas les piles, ne les démontez pas, ne les jetez pas dans un feu.
- Ne les exposiez pas à des températures élevées ou à la lumière directe du soleil.
- Ne les incinérez pas.
installation du téléphone
Branchement de la base
- Reliez le cable d'alimentation le cable téléphonique la base.
- Branchez l'adaptateur sur une prise secteur et le cable téléphonique sur une prise de téléphone.
- N'utilisez pas d'autres câbles que ceux fournis.
Attention : Toute autre source d'alimentation est potentiellement dangereuse.

Attention: La base doit être installée de manière à ce que l'adaptateur secteur puisse est facilement branché sur la prise de courant. N'essayez enaucun cas de rallonger le cable d'alimentation.
Remarque: La base a besoin d'être branchée en permanence pour que le téléphone fonctionne, et pas uniquement pour recharger les batteries.
Insertion des piles
Avant d'ouvrir le compartment à piles situé sous la base du téléphone, veuillez vérifier que le cable RJ-11 est débranché.

- Ouvrir le compartment de la batterie.
- Placez les deux piles rechargeables fournies dans le compartment, en veillant à respecter la polarité.
- Replacez le couvercle du compartment sur la batterie et refermez-le en le faisant glisser.
- Posez le combiné sur la base et laissez-le se charger pendant 24 heures avant la première utilisation.
- Le combiné émet un bip sonore lorsqu'il est correctement placé sur la base ou sur le chargeur.
Attention: En cas de remplacement des piles, utilisez uniquement des piles rechargeables Ni-Mh de même type.
Charge des batteries
Afin d'optimiser la durée de vie de votre batterie nous vous conseillons de la charger pendant 24 heures minimum avant la première utilisation.
- Poser le combiné sur le support de charge, Un signal de confirmation est émis.
- Laisser les batteries se charger sans interruption pendant au moins 24 heures.
Remarque: Une fois le combiné entièrement charge, l'icone viendra fixe.
Attention: Si vous ne laissez pas votre combiné se charger durant 24 heures pour la première fois, il ne fonctionnera pas au maximum de ses capacités.
La garantie ne prendra pas effet pour les problèmes de dysfonctionnement dus à une charge incomplète lors de la première utilisation.
Important : Lorsque les batteries sont faibles, des variations de volume peuvent se faire dessentir, penser à remettre en charge les batteries pour un meilleur comport d'écoute.
Si vous possédez une ligne par internet haut-debit
Si vous connectez votre téléphone à une ligne haut débit, il peut être nécessaire d'insérer un microfiltre entre le téléphone et la ligne téléphonique, faute de quoi il risque d'y avoir des interférences néfastes entre le téléphone et la ligne.
Dans un foyer équipé d'une ligne haut débit, tous les téléphones doivent être munis d'un microfiltre, et pas uniquement celui sur lequel le modem est connecté.

Si vous avez besoin de microfiltres supplémentaires, contactez votre fournisseur d'accès à internet.
description du téléphone
Combé

1. Haut
En mode menu : Remonter dans la liste.
Depuis le repertoire, la liste sortants et la liste des appel : Remonter dans la liste.
Pendant un appel : Monter le volume du haut-parleur.
Lorsque le téléphone sonne : Monter le volume de la sonnerie.
2. Touche Menu / OK

En mode veille: Acceder au menu principal.
En mode sous-menu : Confirmer la seLECTION.
Pendant un appel : Désactiver / réactiver le son du micro.
3. Decrocher

En mode veille / composition : Composer le numero.
Depuis la liste sortants / Liste d'appels / Répertoire : Composer le numéro affché.
Lorsque le téléphone sonne: Répondre à l'appoint.
Pendant un appel : Activer / désactiver le haut-parleur.
4. Bas

En mode veille: Acceder au journal des appels reçus.
En mode menu : Descendre dans la liste du menu.
Depuis le repertoire /iste reçus /liste d'appels : Descendre dans la liste.
Pendant un appel : Baiser le volume de l'écouteur.
Lorsque le téléphone sonne : Baisser le volume de la sonnerie.
5. Touche Répertoire / Retour

En mode veille: Acceder au repertoire.
Dans le menu d'accueil: Retourner à l'écran de veille.
Dans un sous-menu : Retourner au niveau précédent.
En mode édition / composition : Effacer un caractère / un chiffre.
6. Raccrocher

Pendant un appel : Terminer un appel et returner à l'écran de veille.
En mode menu / édition : Retourner au menu précédent.
En mode veille : Maintenir appuyé pendant 3 secondes pour éteindre le combiné.
Maintenir appuyé pendant 3 secondes pour activer le combiné de nouveau.
7. Verrouillage

Maintenir appuyé pour verrouiller/déverrouiller le clavier.
Pendant un appel : Maintenir appuyé pour passer de la numérotation par tonalités à la numérotation par impulsions (fortement déconseilé).
8. Activer / Désactiver sonnerie combiné

En mode veille : Maintenir appuyé pour activer / désactiver la sonnerie du combiné.
En mode édition / composition : Maintenir appuyé pour insérer une pause.
9. Touche R

Pourutilisationavecdescommutateurspublicouprivés(PABX).
- Touche INT
En mode veille: Appeler un autre téléphone relié à la base.
Pendant un appel : Transférer l'appeil à un autre téléphone relié à la base.
11. Recomposer
En mode veille: Acceder à la liste des derniers numeros composés.
Icones de I'ecran
Selon le mode de fonctionnement actuel du téléphone, les icônes suivantes peuvent apparaître à l'écran :
| Y | Allumé en continu lorsque le combiné est à la portée de la base. Clignote quand le combiné est hors de portée ou non associé à la base. |
| ◎ | Mode économique d'énergie activé. |
| ext | Clignote à la réception d'un appel externe entrant. |
| ( ext ) | Allumé en continu lors d'un appel externe. |
| int | Clignote à la réception d'un appel interne entrant. |
| ( int ) | Allumé en continu lors d'un appel intercom. |
| ( ext ) | Allumé en continu quand une conférence à 3 est en cours ou quand un appel externe est transféré à un autre téléphone relié à la base. |
| ao | Indique la réception d'un nouveau message sur la messagerie vocale de votre opérateur. Disparaît quand les messages ont été lus. |
| ● | Indique que le mode main libre est activé |
| ® * | Allumé en continu : Indique que le répondeur est en service (activé). Éteint : Indique que le répondeur est hors service (désactive). |
| ● | Indique que le clavier est verrouillé. |
| □ | Indique que la batterie est entièrement chargée. |
| □ | Indique que la batterie est partiellement chargée. |
| □ | Indique que la batterie est presque épuisée. Clignote quand la batterie doit être rechargée. |
| ◇ | Indique que le menu est ouvert. |
| □ | Indique que le réseau est ouvert. |
| 2 | Clignote quand de nouveaux éléments sont ajoutés à la liste des appeals. |
| 3 | Indique les appeals reçus, dans la liste des appeals. |
| 4 | Indique les appeals manqués, dans la liste des appeals. |
| 5 | Indique qu'il y a des caractères ou des chiffres supplémentaires avant ou après ceux qui sont affichés. |
* (uniquement disponible avec le modele Wave 15.1)
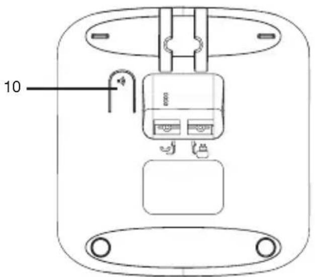
Base


1. Témoin lumineux
Allumé pour indiquer qu'un ou plusieurs nouveaux messages sont enregistrés sur le répondeur.
2. Lecture
Presser pour débuter oumettre en pause la lecture d'un nouveau message.
Maintenir enfoncé pour dire tous les nouveaux messages à la suite.
3. Stop
Pendant la lecture d'un message : Arrête la lecture.
En mode veille : Presser pour connaître la date et l'heure auxquelles est regle le repondeur.
4. Message précédent
Pendant la lecture d'un message : Atteindre le message précédent.
En mode veille : Maintenir enfoncé pour activer / désactiver l'alerte de nouveaux messages.
5. Message suivant
Pendant la lecture d'un message : Atteindre le message suivant.
En mode Veille : Presser pour connaître le délal de réponse actuel. Maintenir enforcé pour changer le décai de réponse.
6. Corbeille
Pendant la lecture d'un message : Effacer le message.
En mode veille: Connaître le code actuel d'accès à distance.
7. Volume +
Pendant la lecture d'un message : Augmenter le volume sonore.
8. Marche / Arret
Allumer ou teéindre le répondeur.
9. Volume -
Pendant la lecture d'un message : Diminuer le volume sonore.
10. Localisation / Appairage
Presser pour appeler et localiser un combiné égaré.
Maintenir enfoncé pour appairé un nouveau combiné à la base.
Note : Toutes ces fonctions, à l'exception de la 10 (Localisation / Appairage), ne sont valables que pour le modele Wave 15.1.
Structure des menus
En mode veille, appuyez sur la touche Menu / OK pour acceder au menu.
Utilisez les touches Haut ou Bas pour aller naviguer dans les sous-menus et options. Appuyez sur la touche Menu / OK pour acceder à une fonction ou à un sous-menu.
Appuyez sur la touche Répertoire / Retour pour revenir au niveau précédent. Appuyez sur la touche Raccrocher pour quitter le menu et revenir au mode veille.
Le tableau ci-dessous vous explique la structure des menus.
| Lecture messages | NouveauxTous |
| Répertoire | AjouterModifierSupprimer |
| Répondeur | Marché / ArrêtMode répondeurEnregistrer mémoRéglage de l'announceRéglage du jourNombre de sonneriesCode d'accès |
| Réglages | Volume de la baseMélodie de la baseSupprimer un combinéCode PINNumérationTouche RRéglages par défautMode économique d'énergie |
| Combiné | BipsVolume du son pour les appeals internesVolume du son pour les appeals externesMélodie pour les appeals internesMélodie pour les appeals externesRéponse automatiqueNom du combinéLangueVerrouillage du clavier |
| Date, Heure | Réglage de la dateRéglage de l'heureRéglage du réseau |
| Déclarer | Choix de la baseDéclarer la base |
Note : Les sous-menus « Lecture message » et « Répondeur » ne sont disponibles que sur le modele Wave 15.1.
Tableau d'entrée des chiffres et des lettres
Le tableau ci-dessous vous indique le mode d'entrée des lettres et des signes de ponctuation avec le clavier alphanumeric, avec le nombre de frappes nécessaires pour chacun. Il vous sera utile pour entrair un nom dans le réseau ou renomer le combiné.
En mode édition, un curseur indique l'emplacement actuel de l'entrée de texte à l'écran; ce curseur est situé à droite du dernier caractère entre.
- Une fois un caractère sélectionné, le curseur se déplace d'un cran vers la droite au bout d'un court lié.
- Vous ave la possibilité de déplacer le curseur dans le texte à l'aide des touches Haut et Bas pour corriger la dernière entrée.
- Appuyez sur Répertoire / Retour pour effacer le dernier caractère.
- Maintenez cette touche appuyée pour effacer toute l'entrée.
| Entrée alphanumeric (pour entrer un nom dans le repertoire ou denomner le combiné) | Entrée de chiffres | ||||||||||
| Touche 1 | 23456 | 789 | 10 | ||||||||
| 1 espace - 1 1 | |||||||||||
| 2 A B | C 2 | 2 | |||||||||
| 3 D E | F 3 | 3 | |||||||||
| 4 | G | H I | 4 | 4 | |||||||
| 5 | J K | L 5 | 5 | ||||||||
| 6 | M | N O | 6 | 6 | |||||||
| 7 P | Q R S | 7 | 7 | ||||||||
| 8 T | U V 8 | 8 | |||||||||
| 9 | W | X | Y | Z | 9 | 9 | |||||
| 0 | 0 | 0 | |||||||||
| * | * | * | |||||||||
| # | o | #, ou P(Pause) si appui long | |||||||||
Note : Selon la langue selectionnée par défaut, d'autres caractères peuvent être disponibles.
utilisation du téléphone
Allumer le téléphone
Si vous combiné est eteint, maintenez la touche Raccrocher pendant environ 5 secondes jusqu'acce que le combiné s'allume.
Pour eteindre le combiné, maintenez la touche Raccrocher pendant environ 3 secondes jusqu'à ce le combiné s'éteigne.
Passer un appel externe
NUMEROTATION PREPARATOIRE
- Composez le numero de téléphone de votre correspondant.
- Appuyez sur la touche Decrocher.
En cas d'erreur lors de l'entrée du numéro, appuyez sur la touche Répertoire / Retour pour effacer les chiffres.
COMPOSITION DIRECTE
- Appuyez sur la touche Decrocher.
- Composez le numero de téléphone de votre correspondant.
Remarque : un chiffre incorrect ne peut pas etre corrigé avec la touche Répertoire / Retour.
APPELER UN NUMERO DU REPERTOIRE
- Appuyez sur la touche Répertoire / Retour pour acceder au repertoire, puis utilisez les touches Haut ou Bas pour selectionner l'entrée souhaitation dans le repertoire.
- Appuyez sur la touche Decrocher pour appeler l'entrée selectionnée.
Note : Vous pouvez également acceder au repertoire depuis le menu.
APPELER UN NUMERO DEPUIS LA LISTE DES APPELS REÇUS (disponible uniquement avec l'option de presentation du numero)
- Appuyez sur la touche Bas ou pour acceder à la liste d'appels, puis utilisez les touches Haut ou Bas pour selectionner l'entrée souhaitation dans la liste d'appels.
- Appuyez sur la touche Decrocher pour appeler l'entrée selectionnée.
CHRONOMÉTURE
Le combiné enregistre automatiquement la durée de chaque appel.
Le chronomètre s'affiche des que vous décrochez le téléphone ou 15 secondes après avoir composé un numéro, et il reste affché encore 2 secondes après la fin de l'appoint.
La durée s'affiche en heures, minutes et secondes HH:MM:SS.
Répondre à un appel
Lorsque le téléphone sonne, si celui-ci n'est pas sur le chargeur ou si la fonction response automatique n'est pas activée, appuyez sur la touche Decrocher.
Remarque: Si le combiné est sur le chargeur ou si la fonction réponse automatique est activée (voir Activer / Désactiver la réponse automatique en page 25), décrochez le combiné de la base ou du chargeur pour répondre automatiquement à l'appoint, sans avoir besoin d'appuyer sur une touche.
Terminer un appel
Pendant un appel, appuyez sur la touche Raccrocher.
Remarque : Vous pouvez aussi raccrocher en reposant le combiné sur la base ou sur le chargeur.
Haut-parleur du combiné
Pendant un appel, presser à nouveau la touche Decrocher vous permet de passer du mode normal au mode mains libres et vice-versa.
Réglage du volume d'écoute et du main-libre
Pendant un appel, utilisez les touches Haut ou Bas pour régler le niveau de volume. À la fin de l'appeil, le réglage reste au dernier niveau sélectionné.
Couper le son
Pendant un appel, vous pouvez parler sans que votre correspondant ne puisse vous entendre.
Appuyez sur la touche Menu / OK pour couper le son du micro ; l'écran affiche Muet.
Votrecorrespondantnepeutplusvouventendre.
Appuyez de nouveau sur la touche Menu / OK pour rétablier le son du micro.
Désactiver/Activer la sonnerie d'un combiné
En mode veille, maintenez appuyee la touche pour désactiver la sonnerie du combiné.
Remarque: Lorsqu'un correspondant vous appelle, même si la sonnerie est désactivée, l'icone d'appel clignote à l'écran et le numéro du correspondant s'affiche. Pour reactiver la sonnerie du combiné, maintenez appuyée la touche de nouveau.
Verrouiller/deverrouiller le combiné
Vous pouvez verrouiller le clavier de manière à ce qu'aucune touche ne puisse être appuyée accidentellement lorsque le téléphone est dans votre poche. En mode veille, maintenez appuyée la touche pour verrouiller le clavier; l'icone s'affiche à l'écran.
Pour déverrouiller le clavier, maintenez appuyée la touche de nouveau.
Remarque : Lorsque le téléphone sonne, vous pouvez toujours répondre à un appel en appuyant sur la touche Decrocher.
Recomposer
Vous ave la possibilité de rappeler n'importe lequel des 10 derniers numérios composés. Si l'un des numérios correspond à une des entrées du repertoire, le nom du correspondant s'affiche à la place du numéro. Les numérios les plus récents sont en haut de la liste d'appels reçus.
RECOMPOSER UN NUMERO DE LA LISTE D'APPELS
- Appuyez sur la touche Recomposer pour acceder à la liste d'appels.
Remarque: Si la liste d'appels affiche un nom, appuyez sur la touche Menu / OK pour voir le numéro de cette entrée.
- Utilisez les touches Haut ou Bas pour parcourir la liste d'appels.
- Appuyez sur la touche Decrocher pour appeler l'entrée selectionnée
Remarque: S'il n'y a peu numéro dans la liste d'appels, l'écran affiche Vide.
SAUVEGARDER UN NUMERO DE LA LISTE D'APPELS DANS LE RÉPERTOIRE
- Appuyez sur la touche Recomposer pour acceder à la liste d'appels.
- Utilisez les touches Haut ou Bas pour parcourir la liste d'appels.
- Appuyez sur la touche Menu / OK. L'écran affiche Ajouter ?
- Appuyez sur la touche Menu / OK et entrez le nom que vous souhaitez utiliser dans le repertoire.
- Appuyez sur la touche Menu / OK puis modifiez le numero si nécessaire.
- Appuyez sur la touche Menu / OK ; l'écran affiche Mélodie 1.
- Utilisez les touches Haut ou Bas pour parcourir les sonneries.
Remarque: la sonnerie affectée à un contact dans le repertoire sera uniquement jouée lorsque vous receivez un appel si vous avez souscrit au service d'affichage des numéroes.
- Appuyez sur la touche Menu / OK pour confirmer ; l'entrée est sauvegardée.
SUPPRIMER UN NUMERO DE LA LISTE D'APPELS
- Appuyez sur la touche Recomposer pour acceder à la liste d'appels.
-
Utilisez les touches Haut ou Bas pour parcourir la liste d'appels.
-
Appuyez sur la touche Répertoire / Retour ; l'écran affiche Supprimer ? .
- Appuyez sur la touche Menu / OK pour confirmer; l'entrée est supprimée.
SUPPRIMER TOUTES LES ENTREES DE LA LISTE D'APPELS
- Appuyez sur la touche Recomposer pour acceder à la liste d'appels.
- Maintenez enfoncée la touche Répertoire / Retour ; l'écran affiche Supprimer Tout ?
- Appuyez sur la touche Menu / OK pour confirmer. Toutes les entrées sont supprimées et l'écran affiche Vide.
Appel combiné
Si vous avez égaré le combiné, utilisez le bouton Localisation / Appairage pour le repérer. Cette touche est située sur la base de charge. Tous les combinés enregistrés sur la base émettront le bip sonore de recherche. Pour arrêté la recherche, appuyez sur n'importe qu'elle touche du combiné, ou appuyez de nouveau sur la touche Localisation / Appairage de la base.
Passer un appel interne
Cette fonction n'est disponible que si au moins deux combinés sont enregistrés sur la base. Elle vous permet de passer des appeals internes, de transférer des appeals externes d'un combiné à un autre, ou de passer des appeals de conférence. Si le combiné appelé ne répond pas dans les 60 secondes, il arrêté de sonner et returnne en mode veille.
INTERCOM VERS UN AUTRE COMBINÉ
- En mode veille, appuyez sur la touche INT et entrez le numero du combiné que vous souhaitez appeler (entre 1 et 5).
- L'écran affiche l'icone .
Remarque: Si deux combinés seulement sont enregistrés sur la base, il suffit d'appuyer sur la touche INT pour appeler directement l'autre téléphone.
Remarque: S'il y a un appel externe alors que vous étés en conversation par interphone, vous entendrez des bips sonores d'advertissement. Vous devrez terminer l'appel par interphone avant de répondre à l'appel externe.
TRANSFÉRER UN APPEL EXTERNE VERS UN AUTRE COMBINÉ
-
Pendant un appel externe, appuyez sur la touche INT et entrez le numero du combiné que vous souhaitez appeler (entre 1 et 5).
-
L'applé externe est automatiquement mis en attente, et le combiné appelé sonne.
- Pour terminer l'essay avec le correspondant externe un fois la communication établie avec l'autre combiné, appuyez sur la touche Raccrocher du combiné appelant ou reposez-le sur le chargeur.
- L'applé externe est maintainant transféré sur le combiné appelé.
Remarque: Si l'autre combiné n'a pas répondu à l'appel, vous pouvez arrêté l'appel par interphone et returner à l'appel externe en appuyant sur la touche INT. Cette procédure est automatique au bout de 30 secondes en l'absence de réponse de l'autre combiné.
APPEL CONFÉRENCE à 3
La fonction appel de conférence permet de partager un appel externe entre deux combinés (en intercom).
Les trois parties peuvent ainsi partager la conversation sans frais de communication supplémentaires.
- Pendant un appel externe, suivez les étapes 1 et 2 de la section TRANSFERER UN APPEL EXTERNE VERS UN AUTRE COMBINED.
- Maintenez appuyee la touche du combiné appelant pour étabir l'appel de conférence. L'écran affiche l'icône ext int
- N'importe quel combiné peut quitter la conférence en appuyant sur la touche Raccrocher, en laissant l'autre combiné encore connecté à l'appel externe.
répertoire
Chacun des combinés permet de sauvégarder jusqu'à 50 entrées de réseau privées avec noms et numéroes. Chaque entrée du réseau peut composer jusqu'à 14 caractères pour le nom. Vous avez également la possibilité d'associer des sonneries différentes aux entrées du réseau.
Remarque : Lorsque vous receivez un appel, la sonnerie selectionnée sera uniquement utilisée si vous avez souscrit au service d'affichage des numéroes et si le nombre de l'appel entrant correspond à un numéro enregistré. Les entrées du réseau sont rangees par ordre alphétique.
Enregister un contact
- En mode veille, appuyez sur la touche Menu / OK, utilisez les touches Haut ou Bas pour selectionner Répertoire, puis appuyez sur Menu / OK pour acceder au repertoire.
- L'écran affiche l'options Ajouter. Appuyez sur la touche Menu / OK pour confirmer.
- Entre le nom puis appuyez sur la touche Menu / OK.
- Entrez le numero puis appuyez sur la touche Menu / OK.
- Utilisez les touches Haut ou Bas pour selectionner une melodie pour l'entrée du repertoire.
- Appuyez sur la touche Menu / OK pour sauvegarder l'entrée dans le repertoire.
Rechner et appeler un contact
- Appuyez sur la touche Répertoire / Retour pour acceder au répertoire.
- Entrez la première lecture du nom à l'aide des touches alphanumeric (Par exemple : si le nom commence par C, appuyez trois fois sur la touche 2), puis utilisez les touches Haut ou Bas pour selectionner l'entrée souhaitée.
- Appuyez sur la touche Decrocher pour appeler le contact souhaité.
Modifier un contact
- En mode veille, appuyez sur la touche Menu / OK, utilisez les touches Haut ou Bas pour selectionner Répertoire, puis appuyez sur la touche Menu / OK pour acceder au repertoire.
- Appuyez sur les touches Haut ou Bas pour selectionner l'option Modifier.
- Appuyez sur la touche Menu / OK puis sur les touches Haut ou Bas pour selectionner le contact souhaite. Vous pouvez également le chercher à l'aide des touches alphanumeric.
- Appuyez sur la touche Menu / OK; l'écran affiche le nom actuel.
-
Appuyez sur la touche Répertoire / Retour pour effacer le nom si cela est nécessaire; entrez alors un nouveau nom. Appuyez sur la touche Menu OK.
-
Appuyez sur la touche Répertoire / Retour pour effacer le numéro si cela est nécessaire ; entrez alors un nouveau numéro. Appuyez sur la touche Menu / OK.
- Utilisez les touches Haut ou Bas pour selectionner la sonnerie, puis appuyez sur la touche Menu / OK pour confirmer.
Supprimer un contact
- En mode Veille, appuyez sur la touche Menu / OK, utilisez les touches Haut ou Bas pour selectionner Repertoire, puis appuyez sur la touche Menu / OK pour acceder au repertoire.
- Appuyez sur les touches Haut ou Bas pour selectionner l'option Supprimer.
- Appuyez sur la touche Menu / OK puis sur les touches Haut ou Bas pour selectionner le contact à supprimer. Vous pouvez également le chercher à l'aide des touches alphanumericques.
- Appuyez sur la touche Menu / OK ; l'écran affiche Confirmer ?
- Appuyez sur la touche Menu / OK pour effacer le contact.
journal des appels
Cette fonction n'est disponible que si vous étés abonné au service de presentation du numéro auprès de votre fournisseur de réseau. La liste d'appels de votre téléphone permet d'enregistrer jusqu'à 40 appeals reçus, avec la date et l'heure correspondantes. Le numéro s'affiche à l'écran du combiné lorsque le téléphone sonne. Si le numéro correspond à l'une des entrées de votre Répertoire privé, le nom associé à cette entrée s'affiche et le combiné sonne avec la sonnerie associée à cette entrée.
Si I'appel provient d'une personne cachant son numero, I'ecran affiche ANONYMOUS.
Si I'appel provient d'une personne dont le numero n'est pas disponible, par exemple provenant d'un réseau privé, l'écran affiche UNAVAILABLE.
Si I'appe! est international, I'ecran affiche INT'L.
Si I'appei provient d'une cabine telephonique, I'ecran affiche PAYPHONE.
Si I'appeI est une demande de rappel, I'ecran affiche RINGBACK.
Si vous avez de nouveaux appelis identifiés, l'icone alignote sur I'écran. Cette icône restera jusqu'à ce que tous les enregistements des nouveaux appel aient été consultés sur le combiné.
Consultation du journal des appeals
Tous les appeals reçus sont sauvégardés dans la liste d'appels; l'appeil le plus récent est en haut de la liste. Lorsque la liste d'appels est pleine, l'appeil le plus ancien est remplace par chaque nouvel appel.
- Appuyez sur la touche Bas pour acceder à la liste des appel.
- Utilisez les touches Haut ou Bas pour selectionner l'entrée souhaitee.
Si l'appea a ete pris, Iecran affiche Iicone . S'il s'agit d'un appel en absence, Iecran affiche Iicone Le combiné emet un bip sonore quand vous atteignez la fin de laiste.
Si l'appel provient d'un contact enregistré dans votre réseau, son nom s'affiche. Appuyez sur la touche Menu / OK pour voir son numero
Si le numero comporte plus de 12 chiffres, l'écran affiche l'icone . Appuyez sur la touche Menu / OK pour afficher les chiffres restants.
- Appuyez sur la touche Menu / OK pour voir la date et l'heure de l'appoint.
- Appuyez sur la touche Decrocher si vous souhaitez rappeler le correspondant.
Enregistrement d'un numero
- Appuyez sur la touche Bas pour acceder à la liste des appel.
- Utilisez les touches Haut ou Bas pour selectionner l'entrée souhaitee.
- Appuyez sur la touche Menu / OK plusieurs fois, jusqu'à ce que l'écran affiche Ajouter ?
- Appuyez sur la touche Menu / OK, puis entrez le nom.
- Appuyez sur la touche Menu / OK, le numero selectionné de la liste s'affiche.
- Éditez le numéro si nécessaire.
- Appuyez sur la touche Menu / OK, puis utilisez les touches Haut ou Bas pour selectionner la sonnerie.
- Appuyez sur la touche Menu / OK pour sauvégarder l'entrée dans le repertoire et revenir à la liste des appeals.
Supprimer un numero du journal des appeals
- Appuyez sur la touche Bas pour acceder à la liste des appel.
- Utilisez les touches Haut ou Bas pour selectionner l'entrée souhaitatione.
- Appuyez sur la touche Répertoire / Retour, l'écran affiche Supprimer ?
- Appuyez sur la touche Menu / OK pour confirmer.
Supprimer tous les numeros du journal des appeals
- Appuyez sur la touche Bas pour acceder à la liste des appel.
- Appuyez sur la touche Repertoire / Retour, l'écran affiche Supprim. Tout ?
- Appuyez sur la touche Menu / OK pour confirmer. L'écran affiche Vide.
paramètres
Date, Heure & Alarme
Si vous étés abonné à l'affichage du numéro, les réglages de l'heure et de la date seront automatiquement mis à jour par le réseau chaque fois que vous receivez des appeals.
Le service d'affichage du numéro inclut seulement le mois et la date, mais pas l'année; il vous faudra donc probablement régler l'année.
Vospuvez également régler une alarmé sur ce téléphone.
RÉGLER LA DATE
- Appuyez sur la touche Menu / OK, puis utilisez les touches Haut ou Bas pour selectionner Date Heure.
- Appuyez sur la touche Menu / OK ; l'écran affiche Réglage Date.
- Appuyez sur la touche Menu / OK, puis entrez la date (par exemple, le 23--11 pour le 23 Novembre).
- Appuyez sur la touche Menu / OK pour confirmer.
Remarque: Si la date a déjà eté régéeAAParavant, la date actuelle s'affiche; sinon, l'écran affiche JJ--MM.
RÉGLER L'HEURE
- Appuyez sur la touche Menu / OK, puis utilisez les touches Haut ou Bas pour selectionner Date Heure.
- Appuyez sur la touche Menu / OK, puis utilisez les touches Haut ou Bas pour selectionner Regl. Heure.
- Appuyez sur la touche Menu / OK, puis entrez l'heure au format 24 heures (par exemple, le 16--49 pour 16 heures 49).
- Appuyez sur la touche Menu / OK pour confirmer.
Remarque: Si l'heure a déjà été régléeAAParavant, l'heure actuelle s'affiche; sinon, I'ecran affiche HH--MM.
RÉGLER L'ALARME
- Appuyez sur la touche Menu / OK, puis utilisez les touches Haut ou Bas pour selectionner Date Heure.
- Appuyez sur la touche Menu / OK, puis utilisez les touches Haut ou Bas pour selectionner Regl. Réveil.
- Appuyez sur la touche Menu / OK, puis utilisez les touches Haut ou Bas pour selectionner
ON ou OFF. Appuyez sur la touche Menu / OK pour confirmer votre choix.
- Si vous choisissez ON, entrez l'heure à laquelle vous souhaitez que l'alarme se déclenché, au format 24 heures (par exemple 06--30 pour 6 heures 30). Appuyez sur la touche Menu / OK pour confirmer votrechoix.
ETEINDRE L'ALARME
- Quand l'alarme se déclenché, appuyez sur n'importe qu'elle touche pour I'arreter.
Remarque: Si vous étés au téléphone au moment où l'alarme doit se déclencher, vous entendrez un bip sonore dans l'écouteur.
Paramètres du combiné
CHOIX D'UNE SONNERIE POUR APPEL EXTERNE OU INTERNE
- Appuyez sur la touche Menu / OK, puis utilisez les touches Haut ou Bas pour selectionner Combiné.
- Appuyez sur la touche Menu / OK, puis utilisez les touches Haut ou Bas pour selectionner Mélodie INT ou Mélodie EXT, selon la mélodie que vous souhaitez modifier.
- Appuyez sur la touche Menu / OK pou valider votrechoix, puis utilisez les touches Haut ou Bas pour selectionner l'une des 10 melodies existantes.
- Appuyez sur la touche Menu / OK pour confirmer votre choix de mélodie.
RÉGLER LE VOLUME DE LA SONNERIE
- Appuyez sur la touche Menu / OK, puis utilisez les touches Haut ou Bas pour selectionner Combiné.
- Appuyez sur la touche Menu / OK, puis utilisez les touches Haut ou Bas pour selectionner Vol son INT ou Vol son EXT, selon la sonnerie que vous souhaitez modifier.
- Appuyez sur la touche Menu / OK pou valider votrechoix, puis utilisez les touches Haut ou Bas pour regler le volume de la sonnerie au niveau souhaite (de 1 à 5), ou pour désactiver la sonnerie (Volume Off).
- Appuyez sur la touche Menu / OK pour confirmer le réglage du volume de sonnerie.
Trois bips sonores sont activés par défaut. Vous pouvez les désactiver si vous le souhaitez.
- Bip touches : un bip retentit à chaque fois que vous appuyez sur une touche.
- Batterie faible : en cours d'appoint, un bip sonore retentit pour vous avertir que la batterie a besoin d'être rechargée.
-
Hors de portée : en cours d'appel, un bip sonore retentit pour vous avertir que l'appel risque d'être coupé si vous ne vous rapprochez pas de la base.
-
Appuyez sur la touche Menu / OK, puis utilisez les touches Haut ou Bas pour selectionner Combiné.
- Appuyez sur la touche Menu / OK, puis utilisez les touches Haut ou Bas pour selectionner Bips.
- Appuyez sur la touche Menu / OK, puis utilisez les touches Haut ou Bas pour selectionner l'un des sous-menus suivants : Bip Touche, Batt. Faible ou Hors Portée.
- Appuyez sur la touche Menu / OK pour confirmer votre choix, puis utilisez les touches Haut ou Bas pour selectionner Activé ou Désactéve.
- Appuyez sur la touche Menu / OK pour confirmer votre choix.
RÉGLER LA LANGUAGE DU COMBINÉ
- Appuyez sur la touche Menu / OK, puis utilisez les touches Haut ou Bas pour selectionner Combiné.
- Appuyez sur la touche Menu / OK, puis utilisez les touches Haut ou Bas pour selectionner Langue.
- Appuyez sur la touche Menu / OK, puis utilisez les touches Haut ou Bas pour selectionner la langue souhaitation.
- Appuyez sur la touche Menu / OK pour confirmer votrechoix.
RENOMMER LE COMBINED
Pour changer le nom apparaisant à l'écran en mode veille :
- Appuyez sur la touche Menu / OK, puis utilisez les touches Haut ou Bas pour selectionner Combiné.
- Appuyez sur la touche Menu / OK, puis utilisez les touches Haut ou Bas pour selectionner Nom combiné.
- Appuyez sur la touche Menu / OK puis entrez le nouveau nom du combiné. Appuyez sur la touche Répertoire / Retour pour effacer le dernier caractère entre, au besoin.
Remarque: Le nom du combiné peut composer jusqu'à 10 caractères.
- Confirmez le nom en appuyant sur la touche Menu / OK.
ACTIVER/DESACTIVER LA RÉPONSE AUTOMATIQUE
La réponse automatique est une option permettant de répondre à un appel en décrochant simplement le combiné, sans avoir à appuyer sur chaque bouton.
- Appuyez sur la touche Menu / OK, puis utilisez les touches Haut ou Bas pour selectionner Combiné.
- Appuyez sur la touche Menu / OK, puis utilisez les touches Haut ou Bas pour selectionner Réponse auto.
- Appuyez sur la touche Menu / OK, puis utilisez les touches Haut ou Bas pour selectionner Activé ou Désactivé.
- Appuyez sur la touche Menu / OK pour confirmer votre choix.
VERROUILER LE CLAVIER
Vos pouvez verrouiller le clavier en passant par le menu du téléphone.
- Appuyez sur la touche Menu / OK, puis utilisez les touches Haut ou Bas pour sélectionnner Combiné.
- Appuyez sur la touche Menu / OK, puis utilisez les touches Haut ou Bas pour selectionner Verr. Clavier.
- Appuyez sur la touche Menu / OK pour confirmer votre choix ; l'écran affiche l'icone
Remarque: Pour déverrouiller le clavier, appuyez sur n'importequelle touche puis sur la touche dans les 5 secondes suivantes.
Paramètres de la base
VOLUME DE LA BASE
- Appuyez sur la touche Menu / OK, puis utilisez les touches Haut ou Bas pour selectionner Réglages.
- Appuyez sur la touche Menu / OK, puis utilisez les touches Haut ou Bas pour selectionner Volume base.
- Appuyez sur la touche Menu / OK, puis utilisez les touches Haut ou Bas pour régler le volume (1 à 5, ou OFF).
- Appuyez sur la touche Menu / OK pour confirmer votre choix.
MELODIE DE LA BASE
- Appuyez sur la touche Menu / OK, puis utilisez les touches Haut ou Bas pour selectionner Réglages.
- Appuyez sur la touche Menu / OK, puis utilisez les touches Haut ou Bas pour selectionner Mélodie base.
- Appuyez sur la touche Menu / OK, puis utilisez les touches Haut ou Bas pour selectionner l'une des 5 méliodies existantes.
- Appuyez sur la touche Menu / OK pour confirmer votre choix.
CHANGEMENT DU MODE DE COMPOSITION
Nous vous conseillons fortement de ne pas modifier le mode de composition par défaut partonalité (appele également MF ou DTMF) à moins que votre téléphone ne soit connecté à un ancien mode d'échange qui ne reconnait que la numérotation par impulsion.
Remarque: Quand la composition par impulsion est selectionnée, vous pouvez maintainir enfoncée la touche pour permuter sur la composition par fréquence vocale pour le reste de l'appei.
- Appuyez sur la touche Menu / OK, puis utilisez les touches Haut ou Bas pour selectionner Réglages.
- Appuyez sur la touche Menu / OK, puis utilisez les touches Haut ou Bas pour selectionner Numération.
- Appuyez sur la touche Menu / OK, puis utilisez les touches Haut ou Bas pour selectionner Freq. Vocales ou Decimale.
- Appuyez sur la touche Menu / OK pour confirmer le choix du mode de composition.
RéGLAGE DE LA DURÉE DE FLASH (R)
Si vous telété est connecté à un PBX, il vous sera peut-être nécessaire de modifier la durée du temps Flash (R).
- Appuyez sur la touche Menu / OK, puis utilisez les touches Haut ou Bas pour selectionner Réglages.
- Appuyez sur la touche Menu / OK, puis utilisez les touches Haut ou Bas pour selectionner Touche R.
- Appuyez sur la touche Menu / OK, puis utilisez les touches Haut ou Bas pour selectionner le réglage souhaité: Réglage 1 (= 100 ms) ou Réglage 2.
- Appuyez sur la touche Menu / OK pour confirmer le réglage.
CHANGER LE CODE PIN SYSTÉME
Un code PIN système à 4 chiffres permet de modifier les réglages système de la base et d'enregistrer ou annuler un combiné. Le code PIN système par défaut est 0000.
- Appuyez sur la touche Menu / OK, puis utilisez les touches Haut ou Bas pour selectionner Réglages.
- Appuyez sur la touche Menu / OK, puis utilisez les touches Haut ou Bas pour selectionner Code PIN.
- Appuyez sur la touche Menu / OK, puis entrez le code PIN actuel.
- Appuyez sur la touche Menu / OK. L'écran affiche Nouv PIN ; entrez le nouveau code PIN.
- Appuyez sur la touche Menu / OK. L'écran affiche Retaper; entrez de nouveau le nouveau code PIN.
- Appuyez sur la touche Menu / OK pour confirmer le nouveau code PIN.
MODE ÉCONOMIE D'ENERGIE
- Appuyez sur la touche Menu / OK, puis utilisez les touches Haut ou Bas pour selectionner Réglages.
- Appuyez sur la touche Menu / OK, puis utilisez les touches Haut ou Bas pour selectionner Eco Mode.
- Appuyez sur la touche Menu / OK, puis utilisez les touches Haut ou Bas pour selectionner Activé ou Désactivé.
- Appuyez sur la touche Menu / OK pour confirmer votrechoix.
Utilisation d'autres combinés
IMPORTANT: Le combiné est déjà enregistré sur la base lorsque vous achetez le téléphone; vous n'avez donc pas besoin de l'enregistrer. L'enregistrement n'est nécessaire que si vous achetez un combiné supplémentaire, ou si un combiné existant devient défectueux.
Vouaves la possibilité d'enregistrer jusqu'à cinq combinés par base ; les numeros de chaque combiné (1 à 5) s'affichent sur leurs écrans respectifs.
Remarque : Chaque combiné peut être enregistré sur 4 bases différentes au maximum. Vous pouvez alors selectionner une base préféeree.
ENREGISTRER UN COMBINED
- Maintenez appuyee la touche Localisation / Appairage de la base pendant 3 secondes ; deux bips sonores retentissent pour indiquer que la base est en mode enregistrement. Elle restera en mode d'enregistrement pendant 1 minute 30.
- Pendant ce temps, appuyez sur la touche Menu / OK, puis utilisez les touches Haut ou Bas pour selectionner Déclarer.
- Appuyez sur la touche Menu / OK, puis utilisez les touches Haut ou Bas pour selectionner Decl. Base. Appuyez sur la touche Menu / OK pour confirmer votrechoix.
- Entrez le numero de la base sur laquelle vous souhaitez enregister le combiné (de 1 à 4). Le numero de la base actuelle du combiné clignote.
- L'écran affiche Recherche X, où X est le numéro de la base que vous avez besoin. Une fois la recherche terminée, entrez le code PIN (par défaut : 0000).
- Une fois l'enregistrement du combiné terminé, un bip sonore de confirmation retentit et le premier numéro de combiné disponible est automatiquement attribué à ce combiné. Ce numéro apparaitra à l'écran du combiné en mode veille.
SELECTIONNERUNEBASEPRFEREE
- Appuyez sur la touche Menu / OK, puis utilisez les touches Haut ou Bas pour selectionner Déclarer.
- Appuyez sur la touche Menu / OK, puis utilisez les touches Haut ou Bas pour selectionner Choix Base. Appuyez sur la touche Menu / OK pour confirmer votre choix.
- L'écran affiche les nombres de toutes les bases auxquelles est raccordé le combiné (par exemple : Base 1 2 3 4). Le nombre de la base actuelle clignote.
- Entrez le numéro de la base à laquelle vous souhaitez raccarder le combiné. Vous pouze aussi utiliser les touches Haut ou Bas pour sélectionner Auto.
Remarque: Si vous choisissez Auto, le combiné recherche et se connectera automatiquement à la base qui émet le signal le plus puissant.
5. Appuyez sur la touche Menu / OK pour confirmer votrechoix.
ANNULER UN COMBINED
Cette opération n'est nécessaire que si l'un des combinés devient défectieux ou s'il est perdu et doit être remplaced.
Voues aurez besoin d'entrer le code PIN à 4 chiffres (code par défaut : 0000).
Remarque : Vous ne pouvez pas annuler le combiné que vous etes en train d'utiliser.
- Appuyez sur la touche Menu / OK, puis utilisez les touches Haut ou Bas pour selectionner Réglages.
- Appuyez sur la touche Menu / OK, puis utilisez les touches Haut ou Bas pour selectionner Supp. Combiné.
- Appuyez sur la touche Menu / OK, puis entrez le code PIN à 4 chiffres (code par défaut: 0000).
- Appuyez sur la touche Menu / OK, puis entrez le numero du combiné que vous souhaitez annuler (de 1 à 5).
- Appuyez sur la touche Menu / OK pour confirmer l'annulation du combiné.
Réinitialiser les réglages de la base
Voues aee la possibite de reinitialiser tous les reglages de la base. Une fois la base reinitialisee, tous vos parametes personnels seront supprimés, y compris le repertoire.
- Appuyez sur la touche Menu / OK, puis utilisez les touches Haut ou Bas pour selectionner Réglages.
- Appuyez sur la touche Menu / OK, puis utilisez les touches Haut ou Bas pour selectionner Regl. Default.
- Appuyez sur la touche Menu / OK puis entrez le code PIN système à 4 chiffres (code par défaut : 0000).
- Appuyez sur la touche Menu / OK pour confirmer le code PIN. L'écran affiche Confirmer ?
- Appuyez sur la touche Menu / OK pour confirmer la réinitialisation.
- Le téléphone redémarre automatiquement.
RéINITIALISATION D'URGENCE
Si you've aoz oublié le code PIN, le telephone peut tout de meme etre réinitialiser.
- Retirez les piles du combiné.
- Maintenez appuyee la touche pendant que vous replacez les piles.
- L'écran affiche Regl. Default.
- Appuyez sur la touche Menu / OK pour confirmer la réinitialisation.
- Le téléphone redémarre automatiquement.
Fonction répondeur (uniquement disponible avec Wave 15.1)
Votre téléphone est équipé d'un répondeur qui enregistre les appeals en absence lorsqu'il est allumé. Le répondeur peut enregistrer jusqu'à 59 messages et a une durée d'enregistrement totale d'environ 12 minutes. Outre la fonction d'enregistrement, le répondeur vous permet également d'enregistrer des+memos destinés à d'autres utilisateurs de votre téléphone.
Remarque : Vous pouvez acceder aux fonctionnalités du répondeur depuis la base mais aussi depuis le combiné. Pour ce faire, naviguez dans les menus, sous-menus et options du combiné comme expliqué dans le chapitre consacre aux Paramètres (page 24).
Les sous-menus spécifiques à l'utilisation du répondeur sont : Lecture MSG (pour dire les nouveaux messages) et Répondeur (pour les réglages du répondeur). Reportez-vous au paragraph sur la Structure des menus (page 13) pour un aperçu plus complèt des options de ces deux sous-menus.
Mise en/hors service du répondeur
Voussouspvez allumer et eteindre le repondeur en appuyant sur la touche de la base.
Une fois le répondeur est allumé, il répond aux appeals au bout du début de réponse régle et votre correspondant à la possibilité de vous laisser un message.
L'icone affiche a I'écran du combiné.
Écouter les messages du répondeur
Appuyer sur la touche : le nombre de nouveaux messages est annoncé puis la lecture du ou des nouveaux messages est lancée.
Maintenez cette même touche enforcée et le nombre total de messages (anciens et nouveaux) est annoncé. La lecture de tous les messages débute par le plus ancien.
Pendant la lecture :
- Appuyez sur la touche pourmettre en pause la lecture du message. Un bip retentit toutes les 10 secondes.
Appuyez sur la touche pour reprendre la lecture du message.
Appuyez sur la touche pour débuter la lecture du message suivant. - Appuyez sur la touche pour répéter la lecture du message actuel.
Appuyez deux fois sur la touche pour débuter la lecture du message précédent. - Appuyez sur la touche pour supprimer le message actuel (celui-ci sera supprimé 8 secondes après la fin de la lecture; vous entendrez un bip de confirmation).
- Appuyez sur les touches et pour, respectivement, augmenter ou diminuer le volume.
Supprimer tous les messages du répondeur
Une fois la lecture finie, maintenez appuyée la touche pendant 8 secondes. Vous entendrez un bip de confirmation.
Enregistrer un@memo
Vous ave la possibilité d'enregistrer un mémo à destination d'un autre usager du téléphone. Lorsqu'un mémo est enregistré, celui-ci s'écoute de la même manière qu'un message du répondeur.
- Rendez-vous dans le menu du combiné, puis allez dans le sous-menu Répondeur.
- Sélectionnez Enreg. Mémo et écoutez les instructions d'enregistrement.
- Enregistrez votre mémo après avoir entendu le bip sonore. Validez ensuite le mémo en appuyant sur la touche #
Réglages du répondeur
Utilisez le menu Répondeur du combiné pour modifier les réglages de votre répondeur.
RéGLAGES DU MODE RÉPONDEUR
Par défaut, le répondeur est régé en mode Répondeur & Enregistreur, qui permet à vos correspondants de laisser un message. Vous pouvez le partager en mode Répondeur seul, qui ne permet pas à vos correspondants de laisser un message.
Vous pouvez passerz d'un mode à l'autre dans le menu du combiné, sous-menu Répondeur, option Mod Répond.
PERSONALISER LEMESSAGE D'ANNONCE
Vous ave la possibilité d'enregistrer vous propre message d'annonce, aussi bien en mode Répondeur & Enregistrateur qu'en mode Répondeur seul. Une fois votre message d'annonce enregistré, il sera utilisé par le répondeur chaque fois qu'il répondra à un appel. Si le message personnelisé est effacé, le téléphone lit le message préenregistré.
- Rendez-vous dans le menu du combiné, puis allez dans le sous-menu Répondeur.
- Sélectionnez Regl. Annonce,CHOISSEZ le mode de répondeur pour lequel vous souhaitez personnelier l'announce et écoutez les instructions d'enregistrement.
- Enregistrez votre annunci après avoir entendu le bip sonore. Validez-la ensuite en appuyant sur la touche.
Remarque : Voitre nouveau message personnalisé sera joué pour votre appréciation une fois l'enregistrement fini.
Régler le début de réponse
Vous avez la possibilité de régler le nombre de sonneries au bout duquel le répondeur répond aux appeals et lit le message d'announce. Le décai peut être régle de deux à neuf sonneries.
Maintenez appuyée la touche de la base et relâchéz-la après avoir entendu le nombre de sonneries désiré. Vous pouvez également passer par le menu du combiné, sous-menur Répondeur, option Nbr sonn.
Filtrage d'appels
Lorsque le répondeur est allumé et répond à un appel, vous avez la possibilité d'écouter en direct le message de votre correspondant. Vous pouvez ainsi l'identifier et decide de décrocher ou non. L'appeil peut être filtré aussi bien sur la base que sur les combinés.
Lorsque le répondeur est allumé et commence à enregistrer un message entrant, l'écran du combiné affiche Filtrer ?
- Appuyez sur la touche Menu / OK pour lancer le filtrage. Le message peut s'écouter depuis n'importe quel combiné, et n'importe quel combiné peut décrocher pour prendre l'appel.
- Si vous souhaitez prendre I'appeI, appuyez sur la touche Decrocher.
Accès à distance
Lors de vos déplacements, vous avez la possibilité d'écouter vos messages et de commander votre répondeur à distance en entrant le code PIN d'accès à distance à 4 chiffres (depuis un téléphone à féquences vocales). Ce code PIN a pour objet d'intérde l'accès à votre répondeur à d'autres personnes non autorisées. Par défaut, le code PIN est : 0000.
MODIFIER LE CODE PIN D'ACCÉS À DISTANCE
Vous pouvez modifier le code PIN d'accès à distance dans le menu du combiné, sous-menu Répondeur, option Code accès.
Remarque : Pour connaître le code PIN actuel, appuyez sur la touche de la base.
ACCÉS AU RÉPONDEUR À DISTANCE
Vous avez la possibilité d'appelerVote telsophone depuis un autre tellophone a fréquences vocales pour éteindre ou allumer le répondeur, ou pour écouter vos messages à distance.
- Appelez votre téléphone depuis un autre téléphone à fréquences vocales.
- Pendant que le répondeur lit le message d'announce, appuyez sur la touche
- Saisissez le code PIN d'accès à distance à 4 chiffres (code par défaut : 0000).
Remarque: ÀpRES deux tentatives consécutives incorrectes d'entrée du code PIN, la ligne est coupée automatiquement.
- S'il n'y a pas de nouveaux messages, appuyez sur 1 pour entendre le menu. Appuyez ensuite sur les touches suivantes pour activer la fonction souhaitation:
Touches Fonctions
| 2 | Lire tous les messages. |
| 3 | Lire les nouveaux messages. |
| 4 | Passer au message précédent (pendant la lecture d'un message). |
| 5 | Effacer le message (pendant la lecture d'un message). |
| 6 | Passer au message suivant (pendant la lecture d'un message). |
| 7 | Activer ou désactiver le mode Répondeur seul. |
| 8 | Écouter le message d'accueil actuel. |
| 9 | Configurer un nouveau code PIN d'accès à distance. |
| 1 | Écouter de nouveau le menu. |
guide de dépannage
En cas de probleme avec votre téléphone, veuillez essayer les suggestions suivantes :
| PROBLÈME CAUSE SOLUTIONS | ||
| Aucune tonalité lorsque j'accue sur . | a. La base n'est pas branchée. b. Le cable de l'adaptateur est mal relié à la base. c. Un appel est en cours avec un autre combiné. d. Mauvais cable téléphonique. | a. Vérifiez les branchements ; débranchez le téléphone, puis rebranchez-le. Le cable téléphonique est peut-être mal relié à la base ou à la prise téléphonique. b. Vérifiez la prise mâle de la station et la prise de courant 230V (débranchez puis rebranchez). c. Attendez que la ligne se libère. d. Utilisez le cable téléphonique fourni. |
| L'écran affiche <Hors de portée>. | a. Le combiné est hors de portée. b. La base n'est pas branchée. | a. Rapproche-vous de la base. b. Branchez la base. |
| Impossible d'appeler | Service non activé, ou erreur d'opérateur ou de réglage. | Vérifiez votre abonnement auprès du fournisseur de réseau, ou changez de mode de composition. |
| Écran vide Batterie épuisée Rechargez la batterie | ||
| RéPONDEUR (uniquement disponible avec le modèle Wave 15.1) | ||
| L'appareil n'enregistre pas les nouveaux messages. | Le répondeur est étèint. Allumer le répondeur. | |
| Le correspondant ne peut pas laisser de message. | a. Le répondeur est étèint. b. La mémoire est pleine. c. Le répondeur est en mode répondeur seul. | a. Allumez le répondeur. b. Supprimez les messages superflus. c. Passez en mode RéPONDEUR & ENREGISTREUR. |
| Impossible de contrôler le répondeur à distance. | a. Le code d'accès à distance que vous avez entré est erroné. b. Vous avez tapé le code trop vite et sans appuyer assez fort. c. Vote téléphone est un téléphone à impulsions. | a. Si vous avez oublé le code d'accès à distance, réinitialisez le réglage par défaut. b. Appuyez bien sur chaque touche. c. Réessayez avec un téléphone à fréquences vocales. |
| Pendant l'enregistrement du message d'announce ou l'écoute des messages, l'appareil sonne et l'enregistrement est coupé. | Le téléphone reçoit un appel. | Prenez l'appel entrant, puis continuez l'enregistrement de votre message d'announce plus tard |
Si le problème persiste, débranchez tous les apparciels connectés à la même ligne téléphonique que le téléphone et essayez de passer un appel.
Débranche la base du téléphone de la prise téléphonique et branche-les sur une autre prise.
déclaration de conformité
Sourcing&Creation déclare que ces produits sont conformes aux exigences des directives européennes.
Vous trouvrez une copie de la déclaration de conformité à l'adresse suivante : http://www. essentielb.fr/content/bfr/essentielb/assistance.htm
Toutes les informations, dessins, croquis et images dans ce document relevant de la propriété exclusive de SOURCING & CREATION. SOURCING & CREATION se reserve tous les droits relatifs à ses marques, créations et informations. Toute copie ou reproduction, par quelles moyen que ce soit, sera jugée et considérée comme une contrefraction.
Téléphone sans fil avec répondeur
WAVE 15.1, 15.3

Protection de l'environnement
Ce logo apposé sur le produit signifie qu'il s'agit d'un apparéil dont le traitement en tant que déchet rentre dans le cadre de la directive 2002/96/CE du 27
janvier 2003, relative aux déchets d'équipements électriques etlectroniques (DEEE).La presence des substances dangereuses dans les équipements électriques et electroniques peut avoir des effets potentiels sur l'environnement et la santé humaine dans le cycle de retraitement de ce produit. Ainsi, lors de la fin de vie de cet apparéil, celui-ci ne doit pas être débarrassé avec les déchets municipaux non triés. En tant que consommateur final, votre role est primordial dans le cycle de réutilisation, de recyclage et les autres formes de valorisation de cet équipement électrique et Electronique. Des systèmes de reprise et de collecte sont mis à votre disposition par les collectivités locales (déchetteries) et les distributeurs.
Vous avez l'obligation d'utiliser les systèmes de collecte sélective mis à votre disposition.

Testé dans nos laboratoires
Garantie valide a partir de la date d'achat (ticket de caisse faisant FOI). Cette garantie ne couvre pas les vices ou les dommages resultant d'une mauvaise installation, d'une utilisation incorrecte, ou de l'usure normale du produit.

essential
Service Clientele
CRT Lesquin
Rue de la haie Plouvier
F-59273-FRETIN
Art. 1004073,1004074, 1004075, 1004076, 1004077, 1004078, 1021203, 1021204, 1021205, 1021958, 1021206
Ref. Wave
FABRIQUE EN R.P.C.
SOURCING & CREATION
21 Avenue de l'Harmonie
59650 Villeneuve d'Ascq Cedex

Notice Facile