ATP3I - Cuisinière ATLANTIC - Notice d'utilisation et mode d'emploi gratuit
Retrouvez gratuitement la notice de l'appareil ATP3I ATLANTIC au format PDF.
| Caractéristiques techniques | Type de cuisinière : électrique |
|---|---|
| Dimensions | Largeur : 60 cm, Profondeur : 60 cm, Hauteur : 85 cm |
| Nombre de foyers | 4 foyers |
| Type de four | Four électrique |
| Capacité du four | 65 litres |
| Fonctions du four | Chaleur tournante, Grill |
| Utilisation | Facilité d'utilisation avec commandes manuelles |
| Entretien | Nettoyage facile avec intérieur émaillé |
| Sécurité | Système de sécurité anti-surchauffe |
| Consommation énergétique | Classe énergétique : A |
| Informations générales | Garantie : 2 ans |
FOIRE AUX QUESTIONS - ATP3I ATLANTIC
Téléchargez la notice de votre Cuisinière au format PDF gratuitement ! Retrouvez votre notice ATP3I - ATLANTIC et reprennez votre appareil électronique en main. Sur cette page sont publiés tous les documents nécessaires à l'utilisation de votre appareil ATP3I de la marque ATLANTIC.
MODE D'EMPLOI ATP3I ATLANTIC
Notre but est de vous proposer des produits de qualité qui répondent à votre attente, fabriqués dans des usines modernes, ou chaque produit a subit des tests de qualité.
Cette notice contient toutes les informations nécessaires pour l'installation et l'utilisation de votre nouvelle plaque de cuisson.
Avant de commencer à utiliser votre nouvelle plaque de cuisson, nous vous suggérons de dire attentivement cette notice, car elle contient tous les renseignements de base pour une installation correcte et fiable, une bonne utilisation et un entretien régulier de votre plaque de cuisson. Cette plaque doit être installée uniquement par un professionnel qualifié conformément aux normes de sécurité et aux lois en vigueur. N'essayez jamais de réparer votre apparéil vous-même.
Déclaration de conformité CE
Cet apparéil est destiné à être utilisé dans des applications domestiques et analogues telles que: des coins cuisines réservés au personnel dans des magazines, bureaux et autres environnementes professionnels; des fermes; l'utilisation par les clients des hotels, motels et autres environnementes à caractère résidentiel; des environnementés du type chambres d'hôtes.
Cette plaque a ete conque, construite, et commercialisee conformement aux:
Consignes de sécurité de la directive 2009/142/CE portant sur le « gaz » ;
Consignes de sécurité de la directive 2006/95/CE portant sur la «asse tension » ;
Consignes de sécurité de la directive 2004/108/CE portant sur l « EMC »;
Consignes de sécurité
Description de l'appareil
Superficie de cuisson et panneau de commande de 3 éléments chauffants
Fonctionnement de l'appareil
Allumer et éteindre l'appareil
Allumer et teéindre les zones de cuisson
Indicateur de chaleur résiduelle
Fonction d'arrêt de sécurité
Verrouillage enfants
Verrouillage des touches
Fonction minuterie
Avertisseur sonore
Fonction d'amplification
Conseils et astuces
Installation de l'appareil
Sécurité pendant l'installation
Fixation de la plaque dans un plan de travail
Proceder à un branchement électrique
Diagramme de branchement électrique
LISEZ ATTENTIVEMENT ET ENTIEREMENT CETTE NOTICE AVANT D'UTILISER VOTRE APPAREIL DE CUISSON, ET CONSERVEZ-LA AFIN DE POUVOIR LA CONSULTER LORSQUE CE SERA NECESSAIRE.
Cette notice est conçue pour plusieurs modèles. Notre apparéil de cuisson n'est peut-être pas équipé de toutes les caractéristiques décrites dans cette notice. Veuillez contrôle dans la notice les caractéristiques dans les paragraphs responsant des images.
Consignes de sécurité generales
- La fabrication de votre apparéil de cuisson respecte toutes les normes et réglementations nationales et internationales en vigueur en la matière.
- Les travaux de maintenance et d'entretien doivent être effectuels exclusivement par des techniciens qualifiés. Les travaux de réparation et d'entretien effectuels par des personnes non-qualifiées vous exposer à des dangers. Ne modifies pas les specifications de votre apparil de cuisson de chaque manière que ce soit. N'effectuez pas vous-mêmes les réparations au risque de vous exposer à un danger comme une électrocution.
- Avant l'installation, assurez-vous que les conditions de distribution locale (selon votre apparéil : nature et pression du gaz, tension et fréquence de l'électricité) sont compatibles avec les caractéristiques indiquées sur la plaque signalétique de votre apparéil de cuisson. En cas de dommage provoqué par un branchement ou une installation inadaptée, la garantie ne sera pas valide.
- Pour les apparèils électriques : La sécurité électricque de votre apparéil de cuisson n'est garantie que s'il est branché à une alimentation électricque avec terre, conforme aux normes de sécurité électricque en vigueur. Si vous n'étés pas sur de votre installation électricque avec terre, consultez unElectricien qualifié.
- ATTENTION: Voiture apparéil de cuisson est conçu uniquement pour la cuisson des aliments et il est prévu uniquement pour un usage domestique. Il ne doit absolument pas être utilisé à d'autres fins, par exemple, dans un environnement commercial ou pour le réchauffage d'une salle. La responsabilité du fabricant ne saurait être engagée en cas de dommages liés à une utilisation inappropriée, incorrecte, ou néligente
Cet apparéil de cuisson ne doit pas être utilisé par des enfants de moins de 8 ans, ou par des personnes dont les capacities physiques, sensorielles ou mentales sont limitées, ou manquant d'expérience ou de connaissances requises, les empêchant d'utiliser cet apparéil de cuisson sans risque lorsqu'ils sont sans surveillance ou en l'absence d'instructions d'une personne responsable leur assurant une utilisation de l' apparéil de cuisson sans danger, après une explication des risques auxquels ils s'exposent. Les enfants ne doivent pas jouer avec l' apparéil de cuisson. Les opérations de nettoyage et d'entretien effectués par des enfants doivent se faire sous la supervision d'une personne responsable.
N'essayez pas de soulever ou de deplacer l'appareil de cuisson en tirant sur la poignee du four.
- Cet apparéil de cuisson n'est pas connecté à un dispositif de d'évacuation des produits de la combustion. Il doit être installé et raccordé conformément aux règles d'installation en vigueur. Une attention particulière doit être accordée aux exigences concernant la ventilation
- Si au bout de 15 secondes le brûleur gaz ne s'est pas allumé, fermez la manette du brûleur concerné, ouvre la porte de la cuisine et attendez au moins une minute avant d'essayer de le rallumer à nouveau.
- Ces instructions ne sont valides que si le symbole du pays est sur votre apparéil de cuisson. Si le symbole du pays n'est pas sur votre apparéil de cuisson, il importe de se référer aux instructions techniques fournissant les informations nécessaires relatives aux conditions d'utilisation particulières.
MISE EN GARDE : L'appareil et ses parties accessibles peuvent devenir très chauds durant l'utilisation. Attention à ne pas toucher les éléments chauffants. Les enfants de moins de 8 ans doivent être maintainus à l'écart sauf s'ils sont constamment supervisés. AVERTISSEMENT: Pendant l'utilisation,
tous les éléments accessibles de votre apparéil de cuisson deviennent chauds, et gardent pendant un certain temps leur température élevée, même quand l' apparéil de cuisson est arrêté. Ne touchez pas les surfaces chaudes (manéttes et poignée du four comprise) et empêchez les enfants de moins de 8 ans d'approcher de l' apparéil de cuisson. Il est recommendé de laisser refroidir les parties directement exposées à la chaleur avant de les toucher.
AVERTISSEMENT: Ne laisseriez pas votre apparéil de cuisson sans surveillance lorsque vous faites cuire des matières grasses liquides ou solides, des huiles liquides ou solides. Portées à très haute température, ces matières peuvent prendre feu et engendrer un incendie. N'ESSAYEZ jamais d'éteindre avec de l'eau des flammes provenant d'huile en feu, mais éteignez votre apparéil de cuisson et couvrez la casserole ou la poèle avec un couvercle, afin d'étouffer la flamme. Si vous avez une hotte, ne jamais la metre en route sans surveillance quand vous faites chauffer de l'huile. Ne laisseriez pas de matière inflammable pres de votre apparéil de cuisson lorsqu'il fonctionne.
MISE EN GARDE: Danger de feu: Ne jamais placer d'objets sur la plaque de cuisson.
AVERTISSEMENT: Risque d'incendie: Ne rangez pas d'objets sur les surfaces de cuisson et ne rangezaucun contenant pressurisé tel que les aérosols, lesmatériaux inflammables (objets en papier, enplastique et en tissu), dans le tiroir placé sous le four ou sous la plaque de cuisson. Les ustensiles decuisine en plastique en font également partie (ainsi que les manches d'ustensiles).
MISE EN GARDE: Si la surface est fêlée, déconnecter l'appareil de l'alimentation pour éviter un risque de chocoléctrique.
AVERTISSEMENT: Si vous appareil de cuisson est équipé d'un plan de cuisson en verre (vitre ou induction) et si la surface est fissurée, mettez les manettes sur "0" pour éviter un eventuel chocolélectrique. De même, si des fissures apparaissent sur les plaques élétriques, il est impératif d'arrêté immédiatement l'alimentation électrique afin de prévenir toute electrocution.
Il est recommandé de ne pas déposer d'objets métalliques tels que couteaux, fourchettes, cuillères et couvercles sur le plan de cuisson, car ils peuvent devenir chauds.
Après utilise, arrêté le fonctionnement de la table de cuisson au moyen de son dispositif de commande et ne pas compter sur le détecteur de casseroles.
Il convient d'enlever du couvercle tout résidu de débordement avant de l'ouvrir. Si votre apparéil de cuisson est équipé d'un couvercle, ce couvercle doit être soulevé avant la mise en fonction des zones de cuisson. Avant de refermer le couvercle, il faut s'assurer que l' apparéil de cuisson a bien refroidi. Les couvercles en verre peuvent se casser lorsqu'ils sont chauffés. Éteignez tous les brûleurs avant de fermer le couvercle.
Cet apparéil n'est pas destiné à être mis en fonctionnement au moyen d'une minutes extérieure ou par un système de commande à distance séparé. Notre apparéil de cuisson ne doit jamais être
branché sur une rallonge, sur une minuterie extérieure, une prise triplite ou un système de commande à distance séparée ou tout autre dispositif qui mettrait l'appareil sous tension automatiquement.
Pour empêcher le basclement de votre apparéil de cuisson, des fixations de stabilisation doivent être installés. Si votre apparéil de cuisson est installé sur un socle, prenez les précautions nécessaires pour qu'il ne tombe pas. MISE EN GARDE: Ce dispositif de stabilisation doit être mis en place pour éviter le basclement de l' apparéil (voir explications dans la notice).
Lors de son utilisation, l'appareil devient chaud. Faire attention de ne pas toucher les éléments chauffants situés à l'intérieur du four. Quand le four fonctionne, il ne faut absolument pas toucher les éléments chauffants (résistances) du four, car il y a un risque très important de brûlure.
-
Faites attention que les poignées de casseroles soient disposées vers l'intérieur du plan de cuisson, de façon à prévenir les chutes eventuelles. Les poignées des casseroles peuvent devenir chaudes, attention aux enfants.
-
Faites attention aux poignées de la porte du four et aux manettes de commande des zones de cuisson qui peuvent开发商chaudes lors de l'utilisation de votre apparéil de cuisson et pendant un certain temps après son utilisation.
N'utilisez pas des produits de nettoyage abrasifs, des crèmes caustiques, des éponges abrasives ou des grattoirs métalliques pour nettoyer tous les éléments de votre apparéil de cuisson (verre, émail, inox, plastique et peinture), car cela raierait les surfaces, et pourrait entraîner l'éclatement des
surfaces en verre ou la destruction des autres éléments de votre apparéil de cuisson. Ne pas utiliser de produits d'entretien abrasifs ou de grattoirs métalliques durs pour nettoyer la porte en verre du four, ce qui pourrait érafler la surface et entraîner l'éclatement du verre.
- N'utilisez pas de nettoyeurs à vapeur pour nettoyer votre(APpeareil de cuisson.
- Toutes les mesures de sécurité possibles ont été prises pour garantir votre sécurité. Pour éviter de casser les éléments en verre, vous doivent注意 de ne pas les rayer pendant le nettoyage. Evitez aussi de taper ces surfaces en verre ou de laisser tomber des accessoires dessus, et de monter sur le verre (dans le cas d'un travail au-dessus de votre apparéil de cuisson).
MISE EN GARDE: S'assurer que l'appareil est déconnecté de l'alimentation avant de replacer la lampe pour éviter tout risque de chocolélectrique.
MISE EN GARDE: Les parties accessibles peuvent devenir chaudes au cours de l'utilisation.
Il est recommandé d'éloigner les jeunes enfants.
Lors des nettoyages pyrolytiques, les grilles de four, les étagères et les grilles, ou tout autre accessoire doivent être enlevés avant le cycle pyrolyse. Les éclaboussures excessives doivent également être nettoyées avant le cycle pyrolyse.
Utiliser uniquement la sonde thermique recommendé pour ce four. (option sonde pour viand, si vous appeareil en est équipé)
cable d'alimentation est endommagé, il doit être remplace par un cable représentant les mêmes caractéristiques que celui d'origine, et ceci par un technicien qualifié afin d'écarter tout danger.
Lorsque la portedou four ou le tiroir sous-four est ouvert, ne rien poser dessus et ne laissez pas les enfants grimper sur la portedou s'y asseoir. Cela pourrait déséquilibrer votre apparéil de cuisson et casser certaines parties (d'oula nécessité de mettre en place les fixations anti-basculement).
En cas d'utilisation d'appareils électriques à proximé de votre apparéil de cuisson, faites attention que le cable d'alimentation de ces apparéils ne soit pas en contact avec la surface chaude de votre apparéil de cuisson.
Avertissements d'installation
N'utilisez votre apparéil de cuisson que lorsque l'installation est terminée.
- Voitre appeareil de cuisson doit etre est en service par un technicien qualifie. Le fabricant decline sa responsabilitie pour tout dommage resultant d'un mauvais emplacement ou de l'installation de voire appeareil de cuisson par un technicien non qualifie.
- ÀpRES avoir déballé votre apparéil de cuisson, vérifie soigneusement si celui-ci n'a pas été endommagé pendant le transport. En cas de dommage, ne l'utilise pas et contactez immédiatement yours Revendeur. Etant donné que les matériaux d'emballage (polystyrene, nylon, agrafes, etc...) peuvent être dangereux pour les enfants, veuilles les rassembleur et les éliminer immédiatement (mettez-les dans les conteneurs spécifiques pour le recyclage)
- Protégez votre apparéil de cuisson contre les effets atmosphériques. Ne l'exposez pas au soleil, à la pluie, la neige, la poudre, etc.
- Les matériaux entourant l'appareil (meubles) doivent être capables de supporter une température minimale de 100^ .
- Les conditions d'ajustement au gaz de votre apparéil de cuisson sont indiquées sur une étiquette collée à l'arrière (Uniquement pour les apparéils de cuisson gaz et mixtes).
Si vous utilisez votre apparéil de cuisson avec du gaz en bouteille propane, la bouteille doit être obligatoirement installée à l'extérieur de la maison (uniquement pour les apparéils de cuisson gaz). Nous vous conseillons d'avoir un détecteur de fumée installé chez vous, et une couverture anti-feu ou un extincteur tout pres de votre apparéil de cuisson
Lors de l'utilisation
Lors de la première mise en marche de votre apparéil de cuisson (au niveau du four), il se produit une certaine odeur caractéristique des matériaux d'isoation et des éléments chauffants. Pour cette raison, avant d'utiliser votre four, faites-le fonctionner à vide à sa température maximale pendant 45 minutes. Vous doivent également vous assurer que la pièce dans laquelle est installé votre apparéil de cuisson est bien ventilée.
^ Au cours de l'utilisation du four, les surfaces internes et externes du four deviennent chaudes. Au moment de l'ouverture de la porte du four, mettez-vous en retrait pour éviter de vous brûler avec la vapeur très chaude qui va alors se dégager du four : il peut y avoir des risques de brûlures.
- Ne placez pas de matériaux inflammables ou combustibles à proximé de votre apparéil de cuisson pendant son fonctionnement.
Toujours utilise des gants de cuisine pourmettre ou retirer les plats de cuisson du four.
- Ne laisseriez pas votre apparéil de cuisson sans surveillance lorsque vous faites cuire des matières grasses liquides ou solides, des huiles liquides ou solides. Portées à très haute température, ces matières peuvent prendre feu et engendrer un incendie. N'ESSAYEZ jamais d'éteindre avec de l'eau des flammes provenant d'huile en feu, mais éteignez votre apparéil de cuisson et couvrez la casserole ou la poèle avec un couvercle, afin d'étouffer la flamme. Si vous avez une hotter, ne jamais la metre en route sans surveillance quand vous faites chauffer de l'huile. Ne laisseriez pas de matière inflammable pres de votre apparéil de cuisson lorsqu'il fonctionne.
- Toujours poser les ustensiles de cuisson au centre de la zone de cuisson et positionner les poignées de telle sorte qu'elles ne puissant pas générer ou être attrapées par un enfant.
N'tutilisez pas les zones de cuisson avec des casseroles vides ou sans casseroles.
Sur les plaques electriques, utilisez uniquement des ustensiles à fond plat.
Sur les dessus vitro et inductions, ne foupez pas du pain sur le verre. Le plan de travail en verre ne doit pas ettre utilise comme surface de travail. Faites attention de ne pas poser sur la dessus des recipients qui pouraient abimer le verre. Des reçipients ayant des bords tranchants peuvent rayer la surface du dessus et l'endommager. Un conseil, essuyez systematiquement le dessous des casseroles avec un chiffon avant de les poser sur la surface en verre, ici ain d'enlever des microparticules sous le reçipient, qui risqueraient de rayer le verre.
Sur les dessus vitro, utilisez uniquement des ustensiles à fond plat.
- Sur les dessus induction, utilisez uniquement des ustensiles à fond plat spécifiques pour l'induction (indiqué sous l'ustensile par le Fabricant).
Il est possible que vous entendiez un petit bruit à la mise en marche d'une zone de cuisson. - Les utilisateurs qui utilisent un pacemaker implanté, doivent tener la partie supérieure de leur corps à au moins 30 cm des zones de cuisson à induction allumées.
^ Si vous n'avez pas l'intention d'utiliser votre apparéil de cuisson pendant une longue période, nous给您 conseillons de le débrancher électriquement. Veillez aussi fermer en même temps le robinet de gaz (pour les apparêils de cuisson à gaz) lorsque vous n'utilise pas l' apparéil. - Si vous ne vous servez pas pendant un certain temps des vos plaques électriques, il sera nécessaire demettre un peu d'huile dessus afin d'éviter qu'elles ne rouillent (plaque en fonte).
Assurez-vous toujours que les manettes de commande de votre apparéil de cuisson sont toujours à la position « 0 » lorsque votre apparéil de cuisson n'est pas utilisé.
Il convient d'enlever du couvercle tout résidu de débordement avant de l'ouvrir. Il convient de laisser refroidir le plan de cuisson avant de fermer le couvercle. Positionnez bien les grilles du four dans les glissières laterales prévues à cet effet, sinon quand vous tirerez sur les grilles, elles pourront s'incliner, et le liquide chaud contenu dans les ustensiles de cuisson pourrait couler ou vous brûler.
- Certains apparueils de cuisson avec four electrique sont équipés d'un ventilateur tangentiel. Ce ventilateur fonctionne pendant la cuisson. L'air est expulsé à travers des orifices entre la porte du four et le bandeau de commande. Le ventilateur peut continuer à fonctionner après l'arrêt du four pour aider les commandes à refroidir : ne vous inquiètez pas.
^© ATTENTION: L'utilisation d'un apparéil de cuisson à gaz produit de la chaleur, de l'humidité, des odeurs et des produits de la combustion gaz dans la piece au sein de laquelle est installée votre apparéil de cuisson. Assurez-vous que la cuisine est bien ventilée lorsque l' apparéil de cuisson fonctionne, laissez les ouvertures ouvertes ou bien installez un dispositif de ventilation mécanique (genre hotte aspirante mécanique. Pour les apparéils de cuisson avec énergie électrique, la cuisson produit aussi de l'humidité et des odeurs. Il sera nécessaire d'installer aussi un dispositif de ventilation mécanique
PARTIE 2: CONSIGNES DE SECURITÉ
- Une utilisation prolongée de votre apparéil de cuisson peut nécessiter une aération supplémentaire, à titre d'exemple l'ouverture d'une fenêtre ou l'augmentation du niveau de la ventilation mécanique si installée.
- Si vous utilisez le grill gaz (suivant modèle), il est impératif de laisser la porte ouverte, et de mettre en place la tôle de protection (pour le bandeau et les manettes) fournie avec votre apparéil de cuisson. Ne jamais utiliser le grill gaz lorsque la porte du four est fermée (pour les apparéils de cuisson gaz avec grill gaz).
- Si vous utilisez le grill électrique (suivant modèle), la porte du four devra etre fermée (pour les apparèils de cuisson avec four électrique).
ATTENTION: Les couvercles en verre peuvent se briser sous l'effet de la chaleur. Avant de refermez le couvercle, fermez tous les brûleurs ou zones de cuisson et laissez la surface du plan de cuisson refroidir

- Lorsque la porte du four ou le tiroir sous-four est ouvert, ne rien poser dessus et ne laissez pas les enfants grimper sur la porte ou s'y asseoir. Cela pourrait déséquilibrer votre apparéil de cuisson et casser le couvercle (d'oula nécessité demettre en place les fixations anti-basculement).
- Ne rangezaucun objets lourds ou inflammables (nylon, sac en plastique,papier,habit...) dans le tiroir placed sous le four. Les ustensiles de cuisine en plastique en font egalement partie (ainsi que les manches d'ustensiles).
- Ne séchez pas de serviettes, éponges ou vêtements dans ou sur votre apparéil de cuisson ainsi que sur la poignée du four.
Pendant le nettoyage et l'entretien
- Arrêtez toujours le fonctionnement de votre apparéil de cuisson avant le nettoyage ou l'entretien, en le débranchant, ou en éteignant l'interrupteur principal.
Ne retirez jamais les boutons de commande pour nettoyer le panneau de commande.
Nutilisez jamais de nettoeur vapeur pour nettoyer les elements de suaure appareil de cuisson.
DANS L'OPTIQUE DE MAINTENIR L'EFFICACITE ET GARANTIR LA SECURITE DE VOTRE APPAREIL, NOUS VOUS RECOMMANDONS DE TOUJOURS UTILISER LES PIECES D'ORIGINE ET D'APPELER NOS REPRESENTANTS EN CAS DE BESOIN.
DESCRIPTION DE L'APPAREIL
Veuillez tire les consignes du present guide d'utilisation avant d'utiliser votre plaque et conservez-les car vous pouvez en avoir besoin ultérieurement.
Plaque de cuisson 3 zones :

Panneau de commande pour plaque de cuisson 3 zones:

La plaque est commandée par des capteurs électroniques qui fonctionnent lorsqu'on touche aux capteurs relatifs. L'activation de chaque capteur est suivie de manière sensitive.
IMPORTANT : Chaque contact sur les commandes de la plaque doit être de minimum 2 secondes.
Metre en marche l'appareil :
Pourmettrela plaque en marche,appuyez sur la touche( )MARCHE/ARRET. Tous les affichages present un ^ 一 0 ^ 一 statique et les points inférieurs droits clignotent.(Si aucune zone de cuisson n'est selectionnee dans un intervalle de 20 secondes,la plaque se désactivera automatiquement.)
Arrête le fonctionnement de l'appareil :
Arrêtez le fonctionnement de la plaque à tout moment en appuyant sur ( Ⓞ ). La touche MARCHE/ARRET ( Ⓞ ) est toujours prioritaire dans la fonction d'arrêt.
Allumer les zones de cuisson :
Appuyez sur la touche de selection de la zone de cuisson sur laquelle vous souhaitez faire la cuisson. Une indication de point statique est visible sur l'affichage de l'élement chauffant sélectionné et le point clignotant sur tous les autres affichages s'éteint.
Sélectionnez le réglage de température en utilisant la touche de sélection de la zone de cuisson / augmentation de la température de chauffe ( ⊙ ) ou la touche ( ⊙ ) de Réglage de diminution de la chaleur. L'élement estprésent prét à être utilisé. Pour faire bouillir l'eau le plus rapidement possible, Sélectionnez le niveau de cuisson souhaité avant d'appuyer sur la touche P pour activer la fonction d'amplification.
Eteindre les zones de cuisson :
Sélectionnez la zone que vous souhaitez étèindre en appuyant sur la touche de sélection de la zone de cuisson. Utilisez la touche ( Ⓞ ), réduisez la température à "0". (Pour régler la température sur "0", vous pouvez aussi utiliser les touches ( ⊕ ) et ( Ⓞ ) de manière simultanée)
Si la zone de cuisson est chaude, "H" s'affichera au lieu de "0".
Éteindre toutes les zones de cuisson :
Pour eteindre toutes les zones de cuisson a la fois, appuyez sur la touche (). En mode de veille, un « H » apparait sur toutes les zones de cuisson chaudes.
Indicateur de chaleur résiduelle :
L'Indicateur de chaleur résiduelle indique que la température est encore élevées sur et autour de la zone de cuisson. Faites attention de ne pas toucher la plaque de cuisson encore chaude pour éviter tout risque de brûlle.
Après avoir mis la zone de cuisson hors service, l'écran respectif affiche "H" jusqu'à ce que la température assignée de la zone de cuisson se trouve à un niveau moins critique.
Pause Intelligente :
Lorsqu'elle est activée, la pause intelligente réduit la puissance de tous les brûleurs qui ont été allumés.
Les apparêils de chauffage reviennent automatiquement au niveau précédent lorsque vous la désactivez.
La table de cuisson s'eteint au bout de 30 minutes si la pause intelligente n'est pas désactivée.
Appuyez sur ( ) pour activer Pause Smart. La puissance du foyer activé sera réduite au niveau 1 et (II) appararait à tous les écrans.
Appuyez sur ( ) de nouveau pour désactiver Pause Smart. "II" va disparaitre et les foyers sont maintainant fonctionner au niveau précédement définit.
Fonction d'arrêt de sécurité :
Chaque zone de cuisson sera mise hors service après une durée de fonctionnement maximum si le réglage de la température de chauffe n'a pas été modifié. Chaque changement intervenu au niveau de la zone de cuisson ramène la durée maximale de fonctionnement à la valeur initiale de la limite de durée de fonctionnement. La durée maximale de fonctionnement dépend du niveau de température sélectionné.
| Niveau de température sélectionné1 - 2 | Arrêt de sécurité après |
| 6 heures | |
| 3 - 4 | 5 heures |
| 5 | 4 heures |
| 6 - 9 | 1,5 heures |
Verrouillage parental:
Pour activer le verrouillage enfants,mettre la table sous tension.Appuyer simultanement sur () et () puis au bip sur () = affichage de "L".
Pour désactiver temporairement le verrouillage enfants, mesure la table sous tension, appuyer simultanément sur () et () puis selectionner une zone de cuisson.
Pour désactiver le verrouillage enfants,metre la table sous tension,appuyer simultanément sur () et () puis au bip sur ()= affichage de "L" disparait.
Verrouillage des Touches
Cette fonction vous permet de verrouiller la position des zones de cuisson pendant le fonctionnement de la plaque. Une fois cette fonction activée, il n'est plus possible d'augmenter ou de diminuer la température de chauffe. La seule touche qui peut être activée est la touche « Arrêt »
Pour activer cette fonction, appuyez sur la touche pendant au moins de 2 secondes, jusqu'à entendre un signal sonore. L'indicateur clignote et la zone de cuisson est alors verrouillée sur la position的选择。
Avertisseur sonore :
Pendant le fonctionnement de la plaque, les activités ci-après seront signalées au moyen d'un avertisseur sonore:
L'activation normale de la touche sera signalée par un bref signal sonore
Le fonctionnement ininterrompu des touches sur une longue période de temps (10 secondes environ) sera signalé par un signal sonore long et intermittent.
Fonction d'amplification ( « Booster » ) :
La fonction booster augmente la puissance de la zone de cuisson selectionnee.
Le booster est concu par exemple pour faire chauffer rapidement de grandes quantités d'eau, comme pour la cuisson des pâtes.
Pour activer la fonction 'booster': Sélectionnez une zone de cuisson.
Réglez la zone de cuisson sur la position souhaitée, puis appuyez sur la touche P (Booster).
La plaque se met alors a chauffer plus fortement.
Minuterie de la zone de cuisson (1..99 min):
Lorsque la plaque est en marche, une minuterie indépendante peut être programmée pour chaque zone de cuisson.
Sélectionnez une zone de cuisson, puis sélectionnez le réglage de température. Enfin, activez la touche de réglage de la minuterie (); ainsi, la minuterie peut être programmée pour désactiver la zone de cuisson. Quatre voyants ont été disposées autour de la minuterie. Chaque voyants indique la minuterie de la zone de cuisson qui a été activée.
10 secondes après la dernière opération, l'écran de la minuterie change pour la minuterie qui sera la prochaine à s'arrêter (en cas de programmation de plus d'une zone de cuisson).
Lorsque l'heure de fin de la minuterie est atteinte, vous entendrez un signal sonore et l'écran de la minuterie affichera '00'. Dès cet instant, le voyant de la minuterie de la zone de cuisson assignée clignote. La zone de cuisson programmée sera éteinte et la dette « H » s'affichera si la zone de cuisson est chaude.
Le signal sonore et le clignotement duvoyant de minuterie s'arreteront automatiquement après 2 minutes et/ou si vous appuyez sur n'importe qu'elle touche.
La durée d'activation du booster varie en fonction de la position initiale. Au bout d'un certain temps, le niveau de cuisson reviendra automatiquement à sa position initiale.
Par exemple, si vous activez la fonction booster sur la position 1 : le booster fonctionnera pendant 1 minute puis la plaque reviendra automatiquement à la position 1.
Si vous activez la fonction booster sur la position 2 : le booster fonctionnera pendant 2 minutes puis la plaque reviendra automatiquement à la position 2.
Ci-dessous le détaill pour chaque position :
Position 1: activation du booster pendant 1 minute
Position 2 : activation du booster pendant 2 minutes
Position 3 : activation du booster pendant 3 minutes
Position 4: activation du booster pendant 4 minutes
Position 5 : activation du booster pendant 5 minutes
Position 6 : activation du booster pendant 6 minutes
Position 7: activation du booster pendant 7 minutes
Position 8 et 9 : activation du boosterpendant 8 minutes
L'ensemble de la table de cuisson est doté d'une puissance maximale. Lorsque la fonction booster est activée, et pour ne pas excéder cette puissance maximale, la commande électronique réduit automatiquement le niveau de cuisson d'une autre zone de chauffe.
La réduction de l'alimentation nécessaire se signale par un clignotement de la zone de cuisson correspondante. Le clignotement reste actif pendant 3 secondes et favorise les adaptations supplémentaires des régles avant la réduction de l'alimentation.
La fonction booster n'est pas disponible sur tous les modèles (optionnelle).
Vérifiez que vous plaque de cuisson en est équipée.
Récipients
Veillez à toujours utiliser des recipients adaptés à la technologie induction (ni verre, ni terre cuite, ni cuivre, ni aluminium sans fond spécial, ni inox non magnétique).
Utilisez des recipients à fond épais, plat, et lisse ayant le même diamètre que celui de la zone de cuisson. Cette précaution favorise une réduction des durées de cuisson.
Pour des résultats optimaux, utilisez des ustensiles en acier, en fonte, en fer, et en acier inoxydable (si ajustement indiqué par le fabricant).
Les recipients avec fond en acier émailé, en aluminium ou en cuivre peuvent amener le résidu métallique à rester sur la plaque. Si cette situation se produit, ces dépôts peuvent s'avérer difficiles à enlever. Nettoyez la plaque de cuisson après chaque utilisation.
Pour vérifier si un réseau convient pour une cuisson à induction, assurez-vous qu'un aimant colle sur le fond.
Disposez les récipiens au centre de la zone de cuisson. Si le récipient est mal placé, s'affiche.
Au moment d'utiliser certains récipients, ces derniers vous pouvez entendre divers bruits. Ce phénomène est dû à la conception des récipients et n'ont aucune effet sur les performances ou la sécurité de la plaque.

Economie d'énergie
Les zones de cuisson à induction s'adaptent automatiquement à la taille du fond du récipient. Le récipient doit avoir un diamètre minimal pour pouvoir être détecté sur la zone de cuisson.
Mettez le écipient sur la zone de cuisson avant de la mesure en service.
Si vous mettez la zone de cuisson en service avant d'y poser le écipient, celle-ci ne fonctionnera pas.
L'utilisation d'un couvercle réduira la durée de cuisson.
Réduire le réglage de la température lorsque le liquide commence à bouillir.
Réduire la quantité de liquide pour réduire le temps de cuisson.
Sélectionnez le réglage de température approprié pour les applications de cuisson.
Quelques exemples d'applications de cuisson
Les informations représentées dans le tableau suivant sont données à titre indicatif uniquement.
| Réglages | Utilisation |
| 0 | Arrêt de la cuisson |
| 1 - 3 | Chauffage délicat |
| 4 - 5 | Cuisson à feu doux, chauffage lent |
| 6 - 7 | Réchauffage et cuisson rapide |
| 8 | Bouillir, sauter, |
| 9 | Chaleur maximale |
| P | Fonction d'activation |
Conseils relatifs au nettoyage
Ne jamais utiliser des tampons abrasifs, des agents de nettoyage corrosifs, des nettoyants en aérosol, ou des objets pointus pour nettoyer les surfaces de la plaque.
Pour éliminer les aliments brûlés, mouillez-les à l'aide d'un chiffon humide et essuyez ensuite le liquide.
Vous pouvez désirer d'utiliser une spatule adaptée pour le nettoyage des aliments ou des résidus. Les alimentents collants doivent être nettoyés immédiatement lorsqu'ils se déversent, avant le refroidissement du verre.
Faites attention à ne pas rayer l'adhésif en silicone situé sur les rebords du verre lorsque vous utilisez une spatule.
La spatule doit etre conservée loin de la vue et de la portee des enfants.
Utilisez un agent de nettoyant vitrocéramique adapté sur la plaque.
Rincez et séchez à l'aide d'un tissu propre ou d'un essuie-tout.
INSTALLATION DE L'APPAREIL
AVERTISSEMENT:
Le branchement électrique de la plaque doit être effectué par unElectricien qualifié, selon les instructions décrites dans ce manuel et les règlements actuels. · En cas de dommage provoqué par un branchement ou une installation inadaptée, la garantie ne sera pas valide. Cet appeareil doit être relié à la terre.
Sécurité pendant l'installation
Toute surface d'étanchéité doit se couver à au moins 65cm au-dessus de la plaque.
Les extracteurs doivent être fixés en conformité avec les consignes du fabricant. Le mur en contact avec la partie arrêté de la plaque doit avoir un matériel résistant aux flammes.
La longueur du cable d'alimentation ne doit pas exceder 2 metres.
Fixation de la plaque dans un plan de travail
La plaque peut facilement etre inseree dans n'importe quel plan de travail resistant a une chaleur d'au moins 100^
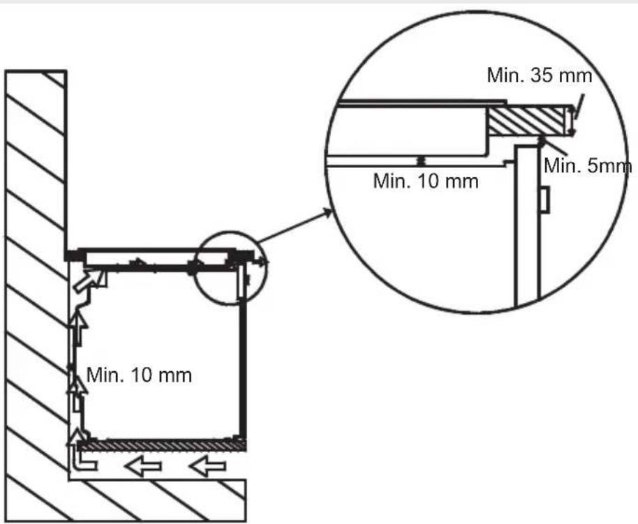
Laissez une ouverture avec les dimensions indiquées dans l'image ci-dessous et sur la page suivante.
La plaque à induction peut être insérée dans des plans de travail d'une épaisseur variant entre 25 et 40 mm.

60cm induction hob
Applique la bande adhésive autour de toute l'extrémité inférieure de la superficie de cuisson bien comme sur la partie extérieure du panneau en verre ceramique. N'étirez pas la bande.
Vissez les 4 pattes de fixation sur les bords latéraux de la plaque de cuisson.

Mettez bien la plaque en place dans la découverte de la surface de travail. Si vous installez également un four, avant de proceder à l'insertion du four, il convient d'enlever le panneau de l'objet de cuisine arrêté dans la zone de l'ouverture du four, pour favoriser le refroidissement. De même, la partie avant de l'objet de cuisine doit avoir une ouverture d'au moins 5mm.

Proceder à un branchement électrique
Avant d'effectuer un branchement, assurez-vous que :
La tension de secteur est la même que celle figurant sur la plaque signalétique située à l'arrière de votre plaque.
Le circuit peut supporter la charge de l'appareil (voir plaque signalétique).
Le cable d'alimentation a une prise terre, qui respecte les dispositions de la reglementation en cours et fonctionne normalement.
L'interrupteur de fusible doit être facilement accessible quand la plaque est installée.
S'il n'y aaucun circuit dédié à la plaque etaucun interrupteur de fusible,ceux-ci doit être installés par un électricien qualifié avant de brancher la plaque.
Un cable adapté doit être branché à partir de l'unité de consommation (boîte à fusible principal) et protégé par son propre fusible de 32 Amp ou microrupteur. L'électricien doit prévoir un interrupteur avec fusible à pole complet, qui débranche les deux lignes (active) et les conducteurs neutres avec une séparation de contact d'au moins 3 mm.
Un moyen de déconnexion du réseau d'alimentation ayant une distance d'ouverture des contacts de tous les pôles doit être prévu dans la canalisation fixe conformément aux règles d'installation.
L'interrupteur avec fusible doit être fixé au mur de la cuisine, au-dessus de la surface de travail et sur le côte de la plaque, non au-dessus, conformément à la réglementation IEE en vigueur. Branchez l'interrupteur avec fusible à une boîte de dérivation qui doit être fixée sur le mur, à environ 61cm au-dessus du niveau du sol et derrière la plaque. Le cable d'alimentation de la plaque peut alors être branché. Branchez l'une des extrémités à la boîte de dérivation et l'autre extrémité sur la boîte de connexion de l'alimentation de la plaque qui se trouve à l'arrête de la plaque. Enlevez le couvercle de la boîte de branchement et installez le cable, conformément au diagramme de branchement.
Le cable d'alimentation doit se trouver àonne distance des sources de chaleur directes. Il ne doit pas etre soumis a une augmentation de temperature de plus de 500C au-delà de la temperture ambiente.
L'appareil est conforme aux directives suivantes en vigueur au sein de l'UE:
Directive 2006/95/CE sur la « basse tension »
Directive 93/68/CEE relative au marquage CE
Diagramme de branchement électrique

3 × 2.5 ~mm^2 220 ~V
3 × 2.5 ~mm^2 230 ~V
3 × 2.5 ~mm^2 240 ~V

5x1.5 mm² 380V 3N~
5x1.5 mm² 400V 3N~
5x1.5 mm² 415V 3N~
*Cet apparéil doit être mis à la terre
*Pour ce branchement, utilisez un cable d'alimentation de type H05 VV-F.
Pour la plaque à induction, le cable doit être de type H05VV-F / 60227 IEC 53. Le diagramme de branchement est situé à l'arrière de l'appareil.
Specifications
Voltage : 230V
Fréquence : 50 Hz.
Puissance : 6.2 kW
Consommation en mode veille : <1W
Niveau sonore : <70dB (A)
Dimensions du produit (mm)
Largeur : 590
Profondeur : 520
Dimensions d'encastrement dans plan de travail (mm)
Largeur : 560
Profondeur : 490
CODES D'ERREURS
Si une erreur survient, le code d'erreur correspondant apparaitra sur l'affichage.
E1: Le ventilateur de refroidissement est désactifé. Veuillez appeler le service après.
E3: La tension d'alimentation dépasse les valeurs nominales. Éteignez la plaque en touchant, puis attendez jusqu'à ce que "H" disparaissé de toutes les zones.
Allumez ensuite la plaque en touchant et continue z l'utilisation. Si la meme erreur se produit,appelez le service après-vente.
E4: La fréquence d'alimentation est différente des valeurs nominales. Éteignez la table de cuisson en appuyant sur la touche, attendez que levoyant « H » disparaisse de toutes les zones, allumez la table de cuisson en appuyant sur la touche et repreneze votre cuisson.
Si la même erreur se produit, débranchez et rebranchez la table de cuisson, rallumez-la en appuyant sur la touche et continuez votre cuisson.
Si l'erreur persiste, veuillez contacter le service après-vente.
E5: La température interne de la plaque est très élevé. Éteignez-la en touchant et laissez les zones de cuisson refroidir.
E6: Erreur de communication entre la école d'art de pêne de cuisson. le service après-vente.
E7: Le capteur de la température de l'ailbowpebdésactivé. le service après-vente.
E8: Le capteur de la température du refroidisseur est désactifé. Veuillez appeler le service après-vente.
E9: Erreur de calibration. Veuillez appelerle service après-vente.

Le symbole qui figure sur le produit ou sur son emballage indique que ce produit ne peut etre traité comme déchet menager. Il doit etre déposé dans un centre de collecte approprié pour le recyclage des équipements electriques et electroniques. En garantissant l'élimination correcte de ce produit, vous évitez des effets négatifs sur l'environnement et la santé humaine qui peuvent etre causés par une élimination incorrecte de ce produit. Pour plus d'informations sur le recyclage de ce produit, contactez les autorités locales, le centre de collecte des ordures menagères ou le magasin où vous avez achete le produit.
Notice Facile