FHWC3025MW - Hotte FRIGIDAIRE - Notice d'utilisation et mode d'emploi gratuit
Retrouvez gratuitement la notice de l'appareil FHWC3025MW FRIGIDAIRE au format PDF.
| Caractéristiques techniques | Hotte de cuisine murale, 30 pouces, finition blanche |
|---|---|
| Débit d'air | Jusqu'à 250 CFM |
| Niveaux de puissance | 3 vitesses de ventilation |
| Éclairage | Éclairage halogène |
| Filtre | Filtre à graisse en aluminium, lavable au lave-vaisselle |
| Installation | Installation murale, nécessite un montage approprié |
| Dimensions | 30 x 19.5 x 6 pouces |
| Poids | Environ 15 kg |
| Utilisation | Conçue pour éliminer les odeurs et la vapeur de cuisson |
| Maintenance | Nettoyage régulier du filtre et de la surface extérieure |
| Sécurité | Ne pas utiliser sans filtre, respecter les instructions d'installation |
| Informations générales | Garantie limitée d'un an, service client disponible |
FOIRE AUX QUESTIONS - FHWC3025MW FRIGIDAIRE
Questions des utilisateurs sur FHWC3025MW FRIGIDAIRE
0 question sur cet appareil. Repondez a celles que vous connaissez ou posez la votre.
Poser une nouvelle question sur cet appareil
Téléchargez la notice de votre Hotte au format PDF gratuitement ! Retrouvez votre notice FHWC3025MW - FRIGIDAIRE et reprennez votre appareil électronique en main. Sur cette page sont publiés tous les documents nécessaires à l'utilisation de votre appareil FHWC3025MW de la marque FRIGIDAIRE.
MODE D'EMPLOI FHWC3025MW FRIGIDAIRE
Avis de sécurité important. 18
Listedes materiaux 20
Spcifications electriques 20
Exigences d'emplacement 21
Dimensions du produit 21
Preparation d'emplacement 23
Installation de la hotte
(pour systeme d'évacuation) 26
Raccordement electrique. 27
Installation de la hotte
(sans décharge à l'extérieur (recyclage)) 28
Utilisation de la hotte. 29
Entretien de la hotte. 30
Dépannage 31
Garantie. 32
Visitez notre site web
www.frigidaire.com
pour voir notre ligne d'accessoires
Merci d'avoir besoin Frigidaire.
Ce guide d'utilisation et d'entretien fait partie de notre engagement à la satisfaction du client et la qualité produit tout au long de la vie de votre nouvelle appliance. Notre achat comme le début d'une relation. Pour assurer notre capacité à continuer servant vous, s'il vous plain utiliser cette page pour enregistrer important information sur les produits.
besoin d'aide?
Visitez notre site Web à www.frigidaire.com
Avant d'appeler le service, il ya quelques choses que vous pouvez faire pour nous aider a moins vous servir.
Lisezce manuel d'utilisation et de soins.
Il contient des instructions pour vous aider à utiliser et à entretenir votre hotte correctement.
Si vous avez reçu une hotte endommagé ...
contactez immédiatement le revendeur (ou constructeur) que vous avez vendu la hotte.
Gagne du temps et d'argent.
Voir "Dépannage" dans votre manuel. Cette section permet pas vous grâce à certains problèmes courants qui pourrait survenir. Si vous n'avez besoin de service, l'aide est seulement un appel téléphonique. Appelez Services à la clientèle au 1-800-944-9044.
Enregistrement du produit
L'enregistrement de votre produit avec Frigidaire améliore notre capacité à vous servir. Vous pouvez inscrire en ligne à www.frigidaire.com ou déposant votre produit Fiche d'Inscription par la poste.
Emplacement de l'étiquetta de série

Retirez le filtré et le trouver sur la paroi latorale gauche hotte.
Modèle de dossier et numéro de série
Date d'achat
Le numero de modulo
Le numero de série
AVIS DE SECURITE IMPORTANT
Lire toutes les instructions avant d'utiliser l'appareil.
Conserver ces instructions pour une future consultation.
Approuve comme apparéil domestique.
Pour usage résidentiel uniquement.
Ne pas essayer d'installer ou d'utiliser votre appareil si vous n'avez pas lu les instructions de sécurité de ce manuel. Les particularités de sécurité de ce manuel sont marqués d'un AVERTISSEMENT ou ATTENTION selon le type de risque.
Ceci est le symbole d'alerte de sécurité. Il est utilisé pour vous alerter au risques potentiels de blessure. Respectez tous les messages de sécurité qui suivent ce symbole pour éviter d'eventuelles blessures ou la mort.

AVERTISSEMENT
Ce symbole vous avertit de situations pouvant causer de graves lésions corporelles, la mort ou un dommage matériel.

ATTENTION
Ce symbole vous avertit de situations pouvant causer des blessures corporelles ou des dégats matériels.

IMPORTANT
indique l'installation, l'exploitation, entretien ou des renseignements précieux qui n'est pas de danger connexes.
Avis de sécurité important

ATTENTION
Cet apparéil est créé uniquement pour la ventilation générale. Ne pas l'utiliser pour l'extraction de matières ou vapeurs dangereuses ou explosives.

AVERTISSEMENT
POUR RÉDUIRE LE RISQUE D'INCENDIE, CHOC ÉLECTRIQUE OU DOMMAGES CORPORELS, RESPECTER LES INSTRUCTIONS SUIVANTES :
A. Utiliser cet appeareil uniquement dans les applications envisagées par le fabricant. Pour toute question, contacter le fabricant.
B. Avant d'entrepreneure un travail d'entretien ou de nettoyage, interrompree l'alimentation de la hotte au niveau du tableau de disjoncteurs, et verrouiller le tableau de disjoncteurs pour empêcher tout rétablissement accidentel de l'alimentation du circuit. Lorsqu'il n'est pas possible de verrouiller le tableau de disjoncteurs, placer sur le tableau de disjoncteurs une étiquette d'avertissement proéminente interdisant le rétablissement de l'alimentation.
C. Tout travail d'installation ou câblage électrique doit être réalisé par une personne qualifiée, dans le respect des prescriptions de tous les codes et normes applicables, y compris les codes duBATIMENT et de protection contre les incendies.
D. Ne pas faire fonctionner un ventilateur dont le cordon ou la fiche est endommagé(e). Jeter le ventilateur ou le returner à un centre de service agrée pour examen et/ou réparation.
E. Une source d'air de début suffisant est nécessaire pour le fonctionnement correct de tout apparéil à gaz (combustion et évacuation des gaz à combustion par la cheminée), pour qu'il n'y ait pas de reflux des gaz de combustion. Respecter les directives du fabricant de l'équipement de chauffage et les prescriptions des normes de sécurité - comme celles publiées par la National Fire Protection Association (NFPA) et l'American Society for Heating, Refrigeration and AirConditioning Engineers (ASHRAE), et les prescriptions des autorités réglementaires locales.
F. Lors d'opérations de découvert et de perçage dans un mur ou un plafond, veiller à ne pas endommager les cablages électriques ou canalisations qui peuvent s'y trouver.
G.Les ventilateurs d'évacuation doivent toujours décharger l'air à l'extérieur.
AVIS DE SECURITE IMPORTANT

ATTENTION
Pour minimiser le risque d'incendie et evacuer adequatement les gaz, veiller à acheminer l'air aspiré par un conduit jusqu'à l'extérieur - ne pas décharger l'air aspiré dans un espace vide du bâtiment comme une cavité murale, un plafond, un grenier, un vide sanitaire ou un garage.

AVERTISSEMENT
POUR RÉDUIRE LE RISQUE D'INCENDIE, UTILISER UNIQUÉMENT DES CONDUITS METALLIQUES.

AVERTISSEMENT
Pour réduire le risque d'incendie ou de chic électrique, ne pas utiliser ce ventilateur avec un quelconque dispositif de réglage de la vitesse à semiconducteurs.

AVERTISSEMENT
POUR MINIMISER LE RISQUE D'UN FEU DE GRAISSE SUR LA CUISINIÈRE :
a) Ne jamais laisser un élément de surface fonctionner à puissance de chauffage maximale sans surveillance. Un renversement/débordement de matièreGRAISEUSE pourrait provoquer une inflammation et la generation de fumée. Utiliser une puissance de chauffage moyenne ouasse pour le chauffage d'huile.
b) Veiller à toujours faire fonctionner le ventilateur de la hotte lors de la cuisson avec une puissance de chauffage élevé ou lors de la cuisson d'un mets à flamber (à savoir crépes Suzette, cerise jubilée, steak au poivre flambe).
c) Nettoyer fréquemment les ventilateurs d'extraction. Veiller à ne pas laisser laGRAISSÉS'accumuler sur les surfaces du ventilateur ou des filtres.
d)Utiliser toujours un ustensile de taille appropriée. Utiliser always un ustensile adapté à la taille de l'élement chauffant.

AVENTISSEMENT
POUR RÉDUIRE LE RISQUE DE DOMMAGES CORPORELS APRès LE DÉCLENCHEMENT D'UN FEU DE GRAISSE SUR LA CUISINIÈRE, APPLIQUE RÉSULTATS RECOMMANDATIONS SUIVANTES
a) Placer sur le recipient un couvercle bien ajusté, une tôle à biscuits ou un plateau métallique POUR ÉTOUFFER LES FLAMMES, puis éteindre le brûleur. VEILLER À EVITER LES BRûLURES. Si les flammes ne s'éteignent pas immédiatement, ÉVACUER LA PIECE ET APPELER LES POMPIERS.
b)NE JAMAIS PRENDRE EN MAIN UN RÉCIPIENT ENFLAMME - vous risquè de vous brûler.
c) NE PAS UTILISER D'EAU, ni un torchon humide - ceci pourrait provoquer une explosion de vapeur brûlante.
d)Utiliser un extincteur SEULEMENT si :
- Il s'agit d'un extincteur de classe ABC, dont on connait le fonctionnement.
- Il s'agit d'un petit feu encore limite à l'endetroit où il s'est déclaré.
- Les pompiers ont ete contactes.
- Il est possible de garder le dos orienté vers une sortiependant l'opération de lutte contre le feu.
OPERATION
Toujours laisser les grilles de sécurité et de filtres dans place. Sans ces composants, des souffleuses exploitation pourrait attraper sur les cheveux, les doigts et les vêtements amples.
Le fabricant décline toute responsabilité en cas de non-respect des instructions données ici pour l'installation, la maintenance et appropriée du produit. Le fabricant décline toute responsabilité pour d'autres blessures dues à la négligence et la garantie de l'unité expire automatiquement à cause d'un mauvais entretien.
LISTE DES MATERIALAUX
Outils et pieces
Pèces fournies
4 vis de montage de 0.45 × 1.3 cm
- Adaptateur rectangulaire du conduits de ventilation de 314'' × 10'' (8.3 x 25.4 cm)
REMARQUE: Une optionel kit de conduit rond de 7'' est disponible. Vous pouvez commander ce kit dans le numero de la piece: 5304487139.
Pièces nécessaires
- 2 connecteurs de fils homologues UL
1 ampoule à incandescence de 75 watts max., 120 V - Bouche de décharge murale ou à travers le toit (avec clapet) correspondant au système d'évacuation
- Brides de conduit/ruban adhésif (selon le besoin)
- Serre-câble homologué UL ou CSA de 1/2
Outils nécessaires
Perceuse
- Foret de 1 14'' (3 cm)
- Foret de 18'' (3 mm) pour avant-trous
- Crayon
- Pince à dénuder ou couteau utilisé
- Mété-ruban ou règle
- Pistolé à calfeutrage et compose de calfeutrage résistant aux intempéries
- Tournevis à lame plate
- Tournevis Phillips
- Scie sauteuse ou scie à guichet
Pour placards avec cavité au fond :
- Deux tringles d'appui de largeur 2^ (5,1 cm). Longueur et epaisieur selon les dimensions de l'encastrement.
- Quatre vis à bois à tête plate ou vis à metaux avec rondelles et écrous (pour la fixation des tringles d'appui). Exigences d'emplacement
SPÉCIFICATIONS ÉLECTRIQUES
Observer les dispositions de tous les codes et règlements en vigueur.
Vérifier que l'installation électrique a été correctement effectuee et qu'elle est conforme aux specifications de la plus recente edition des normes National Electrical Code, ANSI/NFPA 70, ou de la norme CSA C22.1-94, Code canadien de I'electricite, partie 1 et C22.2 N° 0-M91 (derniere edition) et de tous les codes et reglements en vigueur locaux.
Si les codes le permettent et si on utilise un conducteur distinct de liaison à la terre, il est recommendé qu'un électricien qualifié vérifie la qualité de la liaison à la terre. Pour obtenir un exemplaire de la norme des codes ci-dessus, contacter :
L'appareil doit être alimenté par un circuit de 120 V, CA seulement, 60 Hz, 15 A, protégé par fusible.
- Si le domicile est équipé d'un cablage en aluminium, suivre les instructions suivantes:
1. Connecter une section de cable en cuivre massif aux conducteurs en queue de cochon.
2. Connector le câblage en aluminium à la section ajoutée de câblage en cuivre en utilisant des connecteurs et/ou des outils spécifique conçus et homologues UL pour fixer le cuivre à l'aluminium.
Appliquer la procEDURE recommende par le fabricant des connecteurs. La connexion aluminium/cuivre doit être conforme aux codes locaux et aux pratiques de câblage acceptées par l'industrie.
- Le calibre des conducteurs et les connexions doivent être compatibles avec la demande de courant de l'appareil spécifique sur la plaque signalétique. La plaque signalétique de l'appareil est située derrière le contrôle, sur la paroi arrière de la hotte.
- Le calibre des conducteurs doit satisfaire aux exigences de la plus recente édition de la norme National Electrical Code, ANSI/NFPA 70, ou de la norme CSA C22.1-94, Code canadien de l'électricité, partie 1 et C22.2 n° 0-M91 (dernière édition) et de tous les codes et règlements en vigueur.

IMPORTANT
Respectez tous les codes et ordonnances.
- C'est à l'installateur qu'incombe la responsabilité de respecter les distances de séparation exigées, spécifiées sur la plaque signalétique de l'appareil. La plaque signalétique est située à l'intérieur de la hotte, sur la paroi de gauche.
Installer la hotte de cusinière à distance de toute zone exposée à des courants d'air, comme fenêtres, portes et bouches de chauffage à fort débit. - Respecter les dimensions individues pour les ouvertures à découper dans les placards. Ces dimensions tiennent compte des valeurs minimales des dégagements de séparation. Avant d'effectuer des découvertes, consulter les instructions d'installation fournies par le fabricant de la table de cuisson/cuisinière.
- On doit-disposer d'une prise de courant électricre reliée à la terre. Voir la section "Spcifications électriques".
Assurer I'etanchete au niveau de chaque ouverture decoupee dans le plafond ou le mur pour l'installation de la hotte de cuisiniere.
Installation dans une résidence mobile
L'installation de cette hotte doit satisfaire aux exigences de la norme Manufactured Home Construction Safety Standards, Titre 24 CFR, partie 328 (anciennement Federal Standard for Mobile Home Construction and Safety, titre 24, HUD, partie 280); lorsque cette norme n'est pas applicable, l'installation doit satisfaire aux critères de la plus récente édition de la norme Manufactured Home Installation 1982 (Manufactured Home Sites, Communities.
Distances de dégagement à respecter

A. 66" (167 cm) a sugéré min. - En haut de la hotte à l'étage.
B. 30^ (76,2 cm) de largeur de cabinet min. pour les modetes de 30^ (76,2 cm) et
36" (91,4 cm) de largeur min. de placard pour les modèles de 36" (91,4 cm)
C.Profondeur de placard 13^ 33 cm
D. Hauteur de placard du bas 36^ (91,4cm)
| Modèle Dim | A Dim B | |
| FHWC3025 modèle de 30" | 30" (76.2 cm) 6 | %/16" (16.7 cm) |
| FHWC3625 modèle de 36" | 36" (91.44 cm) 51/2" (24.3 cm) | |
EXIGENCES CONCERNANT L'EVACUATION
- Le système d'évacuation doit décharger l'air à l'extérieur.
- Ne pas terminer le circuit d'évacuation dans un grenier ou dans un autre espace clos.
- Ne pas utiliser une bouche de décharge murale de 4^ (10,2 cm) normalement utilisée pour un équipement de buanderie.
- Utiliser un conduit métallique rond de 7'' (17,8 cm) ou un conduit métallique rectangulaire de 3^1 / 4'' × 10'' ( 8,3 × 25,4 cm), selon le modele. Un conduit en métal rigide est recommendé. Ne pas utiliser de conduit de plastique ou en aluminium.
- La longueur du système d'évacuation et le nombre de coudes doit être réduit au minimum pour des performances optimes.
Pour un fonctionnement efficace et silencieux :
- Ne pas utiliser plus de trois coudes à 90^ .
- Veiller à ce qu'il y ait une section droite de conduit d'un minimum de 24'' (61 cm) entre les raccords coudés, si on doit en utiliser plus d'un.
- Ne pas installer 2 coudes successifs.
- Au niveau de chaque jointure du circuit d'évacuation, assurer l'étanchéité avec les brides de serrage ou du ruban adhésiF.
- Le circuit d'évacuation doit composer un clapet anti-reflux.
- Utilisez du calfeutrage pour sceller un mur extérieur ou toit ouvrant autour du bouchon.
- Les dernières performances sont atteintes avec la tuyauterie droite, sans les coudes et sans utiliser tube lisse.
- Longueur maximale commande pour Systeme de ventilation: 35 ft (10.7 m).
Installations dans les régions au climat froid
On doit installer un clapet anti-reflux supplémentaire à l'arrière pour minimiser le reflux d'air froid et incorporer un élément d'isolation thermique pour minimiser la conduction de chaleur par l'intémidaire du conduit d'évacuation, de l'intérieur de la maison à l'estérieur. Le clapet anti-reflux doit être place du côte air froid de la résistance thermique.
L'élement d'isolation thermique doit être aussi proche que possible de l'endetroit où le circuit d'évacuation s'introduit dans la partie chauffée de la maison.
Air d'appoint
Le code du bâtiment local peut exiger l'emploi d'un système d'appoint d'air lors de l'emploi d'un ventilateur d'extraction dont la capacité d'aspiration est supérieure à un débit (pieds cubes par minute) spécifique.
Le débit spécifique en pieds cubes par minute varie d'une juridiction à l'autre. Consulter un professionnel des installations de chauffage ventilation/climatisation au sujet des exigences spécifiques applicables dans la juridiction locale.
Méthodes d'évacuation
La sortie à l'extérieur du circuit d'évacuation peut se faire à travers le toit ou à travers un mur. Utiliser des conduits rectangulaires de 31/4'' × 10'' ( 8,3 × 25,4cm ) avec une longueur maximale de 35 pi ( 10,7m ) ou des conduits rond de 7'' ( 17,8cm ) de diamètre ou plus avec une longueur maximale de 50 pi ( 15,2m ) pour le système d'évacuation.
REMARQUE
On déconseille l'emploi d'un conduit flexible. Un conduit flexible peut cause une rétro-pression et des turbulences de l'air, ce qui réduirait considérablement la performance.
Décharge à travers le toit Évacuation par le mur


A. Conduit rectangulare de 31 / 4'' × 10'' (8,3 x 25,4 cm) pour decharge a travers le toit (achat séparé)
B. Bouche de décharge sur toit avec clapet (achat séparé)
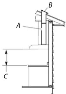
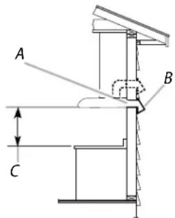
C. Entre 18^ (45,7 cm) min. et 24^ (61 cm) max. audessus de la surface de cuisson.
A. Conduit rectangular de 3^1/4 x 10'' (8,3 x 25,4 cm) pour décharge à travers, le mur ou le sommet (achat séparé)
B. Bouche de décharge murale avec clapet (achat séparé)
C. Entre 18^ (45,7cm) min. et 24^ (61 cm) max. au-dessus de la surface de culsson
EXIGENCES CONCERNANT L'EVACUATION
Calcul de la longueur du circuit d'évacuation
Pour calculer la longueur effective du circuit d'évacuation nécessaire, additionner les longueurs équivalentes (en pieds ou mètres) de tous les composants utilisés dans le système.
Système de décharge rond de 7'' (17,8 cm)
| Composant | |
| coude a 90° 5.0 pi (1.5 m) | |
| Bouche de décharge 0.0 pi murale de (0.0 m) | |

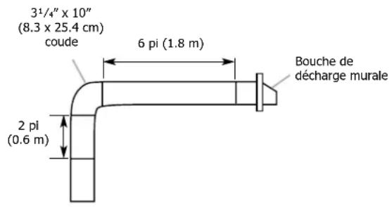
Exemple de circuit d'évacuation
Système de décharge de 3 14'' × 10'' (8,3 cm x 25,4 cm)
| Composant | |
| 3¼" x 10" (8.3 cm x 25.4 cm) coude a 90° (1.5 m) | 5.0 pi coude plat (3.7 m) |
| 3¼" x 10" (8.3 cm x 25.4 cm) coude de (0.0 m) | 12.0 pi coude plat (3.7 m) |
| Bouche de décharge murale de (0.0 m) 3¼" x 10" (8.3 cm x 25.4 cm) | 0.0 pi murale de (0.0 m) 3¼" x 10" (8.3 cm x 25.4 cm) |

Exemple de circuit d'évacuation
Longueur maximairecommendée = 35pi (10.7m)
1-coude 90^ = 5.0 pi (1.5m)
Section droite de 8 pi (2.4 m) = 8.0 pi (2.4 m)
1-bouche de décharge murale = 0.0pi(0.0m)
Longueur du système de 314'' x 10'' = 13.0 pi (3.9 m)
(8,3cm× 25.4cm)
PREPARATION DE L'EMPLACEMENT

REMARQUE
Avant d'executer les découvertes, vérifier la disponibilité d'un dégagement suffisant dans le plafond ou le mur pour le conduit d'évacuation.
- Déconnecter la source de courant électric.
-
Sélectionner une surface plane pour l'assemblage de la hotte. Placer le matériel de protection sur cette surface.
3.Soulever la hotte et la placer à l'envers sur une surface couverte. -
Si le fond du placard forme une cavite, ajouter des tringles d'appui en bois de chaque cote. Installer les vis pour fixer les tringles d'appui aux emplacements indiqués.

PREPARATION DE L'EMPLACEMENT
Déterminer l'emplacement du trou de passage du cable
- Determiner et tracer clairament l'axe central vertical sur le mur et le placard dans la zone où le passage du conduit d'évacuation sera réalisé.
A. Axe central

Câblage à travers le sommet du placard :
- Tracer une ligne de distance (A) à partir de la droite de l'axe central, sur la face inférieure du placard. Sur cette ligne, marquer le point situé à 7/8 (2.2 cm) du mur arrêté. Percer en ce point un trou de 1/4 (3.2 cm) de diamètre (B) à travers le placard.
| modèle de la hotte | Dim A |
| 30" & 36" modélles | 8¾" (21.3 cm) |
A. Axe central

Passage du cable à travers le mur :
- Tracer une ligne de distance (A) à partir de la droite de l'axe central, sur la face inférieure du mur. Marquer un point sur cette ligne qui se trouve à 7/8'' (2.2 cm) de la face inférieure du placard. Percer en ce point un trou de 114'' (3.2 cm) de diamètre à travers la paroi arrêté.

A. Axe Central
| modèle de la hotte | Dim A |
| 30" & 36" modèlees | 81/2" (21.3 cm) |
VENTILATION
Choisissez décharge d'évacuation à partir des différents options listées - Style 1 - 4 qui suit:
Style 1 - Hotte à recyclage
Pour cette installation, allez dans "Installation de la Hotte (recyclage version)" à la page 28.
Style 2 - Découpages d'ouverture pour un système d'évacuation rectangulaire de 3^1/4 x 10^ (8,3 cm x 25,4 cm)
Décharge à travers le toit
Découpage d'une ouverture rectangulaire de 4^ × 10^1/2 (10.16 cm x 26.7 cm) sur la face inférieure du sommet et du bas du placard :
- Tracer des lignes à 12'' (1,3 cm) et 434'' (12,1 cm) du mur arrêté, sur l'axe central de la face inférieure du placard.
- Tracer des lignes à 5 14 (13,3 cm) de part et d'autre de l'axe central sur la face inférieure du placard.
- Utiliser une scie sauteuse ou une scie à guichet pour découvert l'ouverture rectangulaire pour le passage du conduit d'évacuation.
- Repeter les étapes 1 à 3 pour la face inférieure du sommet du placard.

Evacuation par le mur
Découpage d'une ouverture rectangulaire de 31/2'' × 101/2'' (8,9 cm × 26,7 cm) dans le mur :
1.Mesurer 2 lignes de 3 / 8^ (0,9 cm) et 3^7 / 8^n (9,8 cm) en descendant a partir de la face inférieure du placard et marquer leur emplacement sur I'axe central du mur arrriere.
2. Tracer des lignes à 514 (13,3 cm) de part et d'autre de l'axe central sur le mur.
PREPARATION DE L'EMPLACEMENT
- Utiliser une scie sauteuse ou une scie à guichet pour découvert l'ouverture rectangulaire du système d'évacuation dans le mur.

Style 3 - Découpages d'ouverture pour un conduit rond de 7'' (17.8 cm) sur un transition rectangulaire de 3^1/4 × 10'' (8,3 cm x 25,4 cm)
Décharge à travers le toit
Découpage d'une ouverture circulaire sur la face inférieure du sommet du placard :
- Tracer un axe central sur la face inférieure du sommet du placard.
- Tracer une ligne de 5'' (12,7 cm) en partant du mur arrrière sur la face inférieure du sommet du placard.
- Utiliser un compas ou un gabarit circulaire pour tracer un cercle avec un diamètre de 14'' (0,64 cm) supérieur à celui du conduit d'évacuation.

Style 4 - Découpages d'ouverture pour un système d'évacuation rond de 7'' (17.8 cm)
Décharge à travers le toit
Pour le découpage d'ouvertures pour conduit rond sur la face inférieure du fond ou du sommet du placard :
REMARQUE: Le kit de transition rond de 7", Numéro de l'année 5304487139, est nécessaire pour cette installation.
1.Mark a centerline on the underside of the top of cabinet.
2.Mark a line 5^ (12.7 cm) from the back wall on the underside of the top of cabinet.
3. Utiliser un compas ou un gabarit circulaire pour tracer un cercle avec un diamètre de 712 (19 cm). Utiliser une scie sauteuse ou une scie à guichet pour découvert l'ouverture circulaire pour le passage du conduit d'évacuation
4. Répétez les étapes 1-3 pour le dessous de la partie supérieure du placard.

Installation du conduit d'évacuation
1.Installer le conduit d'évacuation à travers les ouvertures découées dans le placard mural ou le mur. Achever l'installation du système d'évacuation conformément à la méthode d'évacuation selectionnée. Voir la section "Exigences concernant l'évacuation".
2.À l'aide d'un produit de calfeutrage, assurer l'étanchéité autour de la bouche de décharge à l'extérieur (à travers le mur ou le toit).
INSTALLATION DE LA HOTTE
INSTALLATION DE LA HOTTE (pour système d'évacuation)

REMARQUE
L'intérieur de la hotte peut composer un clapet anti-reflux rectangulaire de 314'' × 10'' (8,3 x 25,4 cm).
1.Déballez le 314 "x 10" (8,3 x 25,4 cm) conduit rectangular de l'intérieur de votre hotte de cuisineire. Pour détacher le connecteur, retirez les 2 vis de montage (.35 X .95 cm) et conserver les dans un endroit sur pour réinstaller plus tard (voir étape 5).

A. conduit rectangulaire de 314'' × 10'' (8.3 x 25.4 cm)
B. vis de montage de 3.5 x 9.5 mm
2.Soulever la hotte sous le placard et déterminer sa position d'installation finale en la centrant sous le placard. Sur la face inférieure du placard, marquer l'emplacement des 4 trous de montage sur la hotte (Voir les dimensions à la page 21). Placer la hotte à part sur une surface couverte.

A. Découpe en trou de serrure

3.À l'aide d'un foret de 1 / 8'' (3 mm),percer 4 avant troust tel qu'illustré.
REMARQUE: Faire des trous sur la zone mince de la fente.

A. Perçage d'un avant-trou
4.Installer les 4 vis de montage .45 x 1.3 mm dans les avanttous. Laisser un espace d'environ entre les têtes des vis et le placard pour faire glisser la hotte et la mesure en place.

- Pour les installations avec passage par le toit, retirer l'opercule amovible rectangulaire supérieur du conduit d'évacuation. Pour les installations murales, retirer l'opercule amovible rectangulaire arrêté.

A. Opercule amovible en demi-cercle du conduit d'évacuation B. Opercule amovible rectangulaire supérieur du conduit d'évacuation C. Opercule amovible rectangulaire a conduit d'évacuation
6.Installer le clapet anti-reflux rectangulaire de 314''x10'' (8,3× 25,4cm) .Fixez la hotte avec les vis de montage (.35 x .95 cm) que vous avez déjà supprimé (etape 1) et enlever le ruban adhesif du clapet.
Installation du cordon d'alimentation
- Pour les installations à raccordement direct, acheminer le cable d'alimentation du domicile selon les prescriptions du Code national de l'électricité ou des normes CSA et des codes et règlements locaux. La longueur du cablage depuis le tableau de distribution (avec fusibles ou disjoncteurs) doit être suffisante pour réaliser facilement le raccordement dans le boîtier de connexion de la hotte.
Pour les installations avec ensemble de cordon d'alimentation facultatif, suivre les instructions de la section "Raccordement electrique".

REMARQUE
Ne pasmettrelesysteme sous tension avant d'avoircompletementterminel'installation.
- Oter la vis du couvercle du boitier de connexion. Retirer le couvercle du boitier de connexion et le metre de cote.

A. Couvercle du boitier de connexion B. Vis
- Oter l'opercule pour le passage de l'alimentation électrique du sommet ou de l'arrière de la hotte de ventilation (selon l'emplacement du point d'entrée du cable d'alimentation du domicile) et installer un serre cable de 1/2'' homologué UL ou CSA.

A. Opercule pour le passage de l'alimentation électrique
4.À l'aide d'au moins deux personnes, soulever la hotte et la placer à son emplacement final. Insérer suffisamment de cable électrique à travers le serre-cable de 1/2 (homologation UL ou CSA) pour étabir les connexions avec la boite de connexion. Serrer les vis du serre-cable.
5. Positionner les trou s allonges de la hotte par-dessus la tete des vis de montage. Puis pousser la hotte vers le mur pour engager la partie etroite des trou sur les vis de fixation. Serrer les vis de montage en s'assurant que les vis sont dans la partie etroite des trou de fixation des vis.
6.Raccorder le circuit d'évacuation à la hotte. Assurer l'étanchéité des jointures et la solidité de l'installation avec des brides pour conduits ou du ruban adhésiF.
7. Vérifier que les clapets anti-reflux fonctionnent correctement.

REMARQUE
La transition rectangulaire de 3 14 "x 10" ( 8,3 × 25,4 ~cm ) peut être installé avec 1" ( 2,5 ~cm ) décalage dans le centre de la hotte de chaque côté, pour installer le conduit de ventilation.
RACCORDEMENT ÉLECTRIQUE

AVERTISSEMENT
Risque de chocoléctrique
Déconnecter la source de courant électrique avant l'entretien.
Replacing pieces et panneaux avant de faire la remise en marche.
Le non-respect de ces instructions peut cause un décès ou un chocoléctrique.
- Déconnecter la source de courant électrique.

A. Conducteurs blancs
B. Conducteurs noirs
C. Connecteur de fils
(homologation UL)
D. Fil de terre vert (ou nu)
E. Cordon d'alimentation du domicll
F. Serre-cable homologué UL ou CSA de 1 / 2^n
G. Vis verte de liaison à la terre
- Connecter ensemble les conducteurs blancs (A) à l'aide de connecteurs de fils (homologation UL).
- Connecter les conducteurs noirs (B) aux connecteurs de fils (homologation UL).

AVERTISSEMENT
Risque d'incendie
Relier le ventilateur à la terre.
Utiliser du fil en cuivre.
Brancher le fil relié à la terre à la vis verte reliée à la terre dans la boîte de la borne.
Le non-respect de ces instructions peut causeur un décès, un incendie ou un choc électrique.
- Connector le conducteur de liaison à la terre vert (ou nu) du cable d'alimentation du domicile à la vis verte de liaison à la terre dans la boîte de connexion et bien serrer.
5.Installer le couvercle du boitier de connexion. - Reconnecter la source de courant électrique.
INSTALLATION DE LA HOTTE
Achever l'installation
1.Installer I'ampoule à incandescence de 75 watts (maximum).Voir "Remplacement de I'ampoule à incandescence" à la section "Entretien de la hotte".
2. Réinstaller le filtré àGRAISSÉ s'il a été retire. Voir la section "Entretien de la hotte".
3. Contrôler le fonctionnement du ventilateur de la hotte et de la lampe. Voir la section "Utilisation de la hotte". Si la hotte ne fonctionne pas, déterminer si un disjoncteur s'est ouvert ou si un fusible du domicile est grillé. Déconnecter la source de courant électrique et inspector les connexions du câblage.

REMARQUE
Pour pouvoir tirer le plus grand parti de la nouvelle hotte de cuisine, dire la section "Utilisation de la hotte".
INSTALLATION DE LA HOTTE (Installation sans décharge à l'extérieur (recyclage))
1.Soulever la hotte sous le placard et déterminer sa position d'installation finale en la centrant sous le placard. Sur la face inférieure du placard, marquer l'emplacement des 4 trous de montage sur la hotte (Voir les dimensions à la page 21). Placer la hotte à part sur une surface couverte.

A. Découpe en trou de serrure

2.À l'aide d'un foret de 1 / 8'' (3 mm),percer 4 avant trousselqu'illustré.
REMARQUE: Faire des trous sur la zone mince de la fente.

A. Perçage d'un avant-trou
3.Installer les 4 vis de montage .45 x 1.3 mm dans les trous. Laisser un espace d'environ entre les têtes des vis et le placard pour faire glisser la hotte et la mesure en place.

Installation du cordon d'alimentation
- Pour les installations à raccordement direct, acheminer le cable d'alimentation du domicile selon les prescriptions du Code national de l'électricité ou des normes CSA et des codes et règlements locaux. La longueur du câblage depuis le tableau de distribution (avec fusibles ou disjoncteurs) doit être suffisante pour réaliser facilement le raccordement dans le boîtier de connexion de la hotte.
Pour les installations avec ensemble de cordon d'alimentation facultatif, suivre les instructions de la section "Raccordement électrique".

REMARQUE
Ne pasmettrelesysteme sous tension avant d'avoircompletementterminéI'st installation.
- Oter la vis du couvercle du boitier de connexion. Retirer le couvercle du boitier de connexion et leMETRE de cote.
A. Couvercle du boitier de connexion B. Vis

- Oter l'opercule pour le passage de l'alimentation électrique du sommet ou de l'arrière de la hotte de ventilation (selon l'emplacement du point d'entrée du cable d'alimentation du domicile) et installer un serre cable de 12 homologué UL ou CSA.

4.À l'aide d'au moins deux personnes, soulever la hotte et la placer à son emplacement final. Insérer suffisamment de cable électrique à travers le serre-cable de 1/2 (homologation UL ou CSA) pour étabir les connexions avec la boîte de connexion. Serrer les vis du serre-cable.
5. Positionner les trouss allongés de la hotte par-dessus la tete des vis de montage. Puis pousser la hotte vers le mur pour engager la partie etroite des trouss sur les vis de fixation. Serrer les vis de montage en s'assurant que les vis sont dans la partie etroite des trouss de fixation de
UTILISATION DE LA HOTTE
La hotte de cuisine est conque pour extraire fumée, vapeurs de cuisson et odeurs de la zone de la table de cuisson. Pour obtenir les meilleurs résultats,mettre le ventilateur de la hotte en marche avant d'entrepreneire une cuisson, et laisser le ventilateur fonctionner pendant plusieurs minutes après l'achèvement d'une cuisson pour pouvoir evacuer de la cuisine toute trace d'odeur de cuisson, vapeur ou fumée. Les commandes de la hotte sont sitiées sur le sommet ou la face avant de la hotte.
Recyclage Couverture
Pour les recyclage installations, le couvercle de ventilation doit être retireé.
Retirez le couvercle de ventilation enlevant les 2 vis de fixation avec un tournevis cruciforme.

REMARQUE: Pour les installations qui sont décharge sur le toit ou au mur, le couvercle de ventilation de recirculation doit rester en place. Ne retirez pas comme unité ne fonctionnera pas bien.
Pour terminer l'installation, allez dans "Raccordement électrique" à la page 27.
A. Logement et protège-ampoule de
I'ampoule a incandescence
B. Patte de retenue du filtré à charbon
C. Filtre àGRAISE

Commandes de la hotte de cuisinière


A. Commutateur d'éclairage Marche/arret
B. Commutateur de vitesse du ventilateur
Pour faire fonctionner la lampe
Pousser le commutateur d'éclairage vers la croit pour allumer la lumière.
Pousser le commutateur d'éclairage vers la gauche pour éteindre la lumière.
Fonctionnement du ventilateur
Pousser le commutateur du ventilateur vers la gauche pour la vitesse réduite. Pousser le commutateur du ventilateur vers la croite pour la vitesse élevée. Placer le commutateur du ventilateur au milieu pour arrêté le ventilateur.
ENTRETIEN DE LA HOTTE
Nettoyage

AVERTISSEMENT
Pour réduire le risque d'incendie ou de chocolélectrique déconnecter la source de courant électrique avant l'entretien.

IMPORTANT
Nettoyer非常喜欢 le hotte et les filtres àGRAISSE en suivant les instructions suivantes.
Réinstaller le filtré àGRAISSE avant de faire fonctionner la hotte.

IMPORTANT
Surfaces externes
Ne pas utiliser de tampons de récurage savonnoux, de nettoyants abrasifs, de crème à polir pour table de cuisson, de laine d'accier, de chiffons de lavage rugueux ou d'essuie-tout.
Pour éviter d'endommager les surfaces en acier inoxydable, ne pas utiliser de nettoyants contenant du chlor.
Méthode de nettoyage:
- Detergent liquide ou nettoyant tout-usage : Rincer à l'eau propre et sécher avec un chiffon doux sans charpie.
- Rincer à l'eau propre et sécher avec douceur, non pelucheux.
- Nettoyant à vitre pour éliminer les traces de doigts.
- Pour les modèles en acier inoxydable, frottier dans la direction du grain pour éviter d'égratigner ou d'endommager la surface.
REMARQUE: Le fini en acier inoxydable, propre en direction de brosse en acier inoxydable pour éviter de rayer ou endommager la surface.
Pour nettoyer ou remplacer le filtré àGRAISSÉ:
- Retirer la vis du retenue du filtré avec un tournevis cruciforme.
- Tournez le retenue de filtrre pour libreter le.

- Remettez le filtré en plaçant le bord arrêté dans le canal à l'arrière de la hotte. Pousser le filtré en place, tourner la retenue du filtré pour immobiliser le filtré à hotte.
- Revisser dans la retenue du filtré.
- Pour nettoyer le filtré àGRAISE, faire tremper les filtres dans l'eau chaude avec un détergent doux.
Rincez bien et secouze-le pour secher. Ou dans le panier supérieur du lave-vaissele a ne

REMARQUE: Ne pas utiliser d'ammoniaque. L'aluminium sur le filtré àGRAISE se corrode et foncer.
REMARQUE: Vous pouvez utiliser soit lave-vaisselle ou une solution détergente chaude et rincez à l'eau potable.

REMARQUE
Le filtré àGRAISSPEpuvant être nettoyés au lavevaisselle.
Pour éviter d'endommager le filtré àGRAISSÉ pendant le nettoyage, place de filtré sur le plateau supérieur lave-vaisse.
Remplacement de l'ampoule à incandescence
- Eteindre la hotte et laisser l'ampoule refroidir.
- Déconnecter la source de courant électric.
3.Exercer une pression sur le cabochon en plastique de protection pour pouvoir le retarder de la hotte.

4.Visser la lampe (75W max, 120V) dans la douille.
5. Réinstaller le cabochon : exercer une pression sur le cabochon pour pouvoir insérer les pattes dans les ouvertures d'insertion.
6. Reconnecter la source de courant électrique.
Si la nouvelle lampe ne fonctionne pas, vérifier que la lampe est correctement insérée dans sa douille avant de demander l'intervention d'un dépanneur.

A. Douille de l'ampoule
B. Cabochon
Kit de filtré à Graisse / Charbon
Pour recirculation hotte, un filtre a charbon est disponible en option. Vous pouze commander avec le numero de piece 5304486302. Le filtre a charbon n'est pas lavable. Il devrait durer jusqu'a 6 mois en utilisation normale. Remplacez le filtre a charbon avec une vieille nouveau filtre a charbon.
Problème Cause Solution
| Après l'installation, l'appareil ne fonctionne pas. | 1. La ligne électrique et le raccord de cable ne sont pas correctement branchés. | 1. Vérifiez que le branchement de l'appareil a été fait correctement. |
| 2. Les fils électriques du switches de commande sont débranchés. | 2. Assurez-vous que les fils électriques sont branchés convenablement. | |
| Les lumières fonctionnent mais le moteur ne tourne pas. | 1. Le moteur est défectueux, possiblement bloqué. | 1. Changez le moteur. |
| 2. La protection thermique détecte si le système du moteur est trop chaud pour fonctionner et étéindre le moteur | 2. Le moteur fonctionnera correctement après la protection thermique du système refroidir. | |
| 4. Le fil du moteur n'est pas branché. 4. Assurez-vous que le fil du moteur est branché dans le connecteur Molex. | ||
| L'appareil vibre. | 1. Le moteur n'est pas bien fixé à la structure. | 1. Fixez solidement le moteur en place. |
| 2. La roue du ventilateur est endommagée. 2. Changez le ventilateur. | ||
| 3. La hotte n'est pas bien fixée en place. 3. Vérifiez l'installation de la hotte. | ||
| Le moteur fonctionne mais pas les lumières. | 1. L'ampoule est défectueuse. 1. Changez l'ampoule halogène. | |
| 2. L'ampoule est desserrée. 2. Serrez l'ampoule. | ||
| 3. Les fils électriques du switch du luminère ne sont pas assez serrés. | 3. Assurez-vous que les fils sont convenablement branchés. | |
| La hotte ne fonctionne pas bien. | 1. La hotte est possiblement installée trop haute par rapport à la cusinière. | 1. Assurez-vous que la distance entre la surface de la cusinière et la base de la hotte est entre 24" et 32". |
| 2. Du vent provenant d'une fenêtre ou d'une porte ouverte avoirinante nuit à la ventilation | 2. Fermez toutes les portes et fenêtres pour éliminer les courants d'air. | |
| 3. L'ouverture du conduit ou le conduit lui-même est bloqué. | 3. Enlevez tout ce qui bloque l'ouverture ou le conduit d'aération. | |
| 4. La sortie du conduit est orienté vers le vent. 4. Changez l'orientation de la sortie du conduit. | ||
| 5. Mauvaises dimensions de conduit d'aération. 5. Utilisez un conduit de dimension adequate. | ||
| Le filtre en métal vibre. | 1. Le filtre aGRAISE est desserré. 1. Assurez-vous que la poignée à ressort fonctionné toujours. | |
| 2. La poignée rouge difficilement| | 2. Remplacez le filtre aGRAISE | |
Garantie
Votre appareil est couvert par une garantie limitée d'un an. Pendant un an à partir de la date d'achat originale, Electrolux assume les coûts des réparations ou du remplacement des pieces de tout applicel qui présente un défaut de fabrication ou de matériel, si cet applicel est installé, utilisé et entretenu selon les instructions fournies avec celui-ci.
Exclusions Cette garantie ne couvre pas ce qui suit :
- Les produits dont le numero de series original a ete enleve, modifie ou n'est pas facilement determinable.
- Les produits qui ont ete tranfere de leur propriete inal a une autre partie ou quin ne sont plus aux Etats-Unis ou au Canada.
- La rouille à l'intérieur ou à l'extérieur de l'appareil.
- Les produits vendus « tels quels » ne sont pas couverts par cette garantie.
- Les alimentes perdus en raison de pannes du réfrigerateur ou du congélateur.
- Les produits utilisés dans les établissements commerciaux.
- Les appeals de service qui ne concernent pas un malfonctionnement, un défaut de fabrication ou un vice de matériel ou pour les apparciels qui ne font pas l'objet d'un usage domestique ou qui ne sont pas utilisés conformément aux instructions fournies.
- Les appels de service pour vérifier l'installation de votre appareil ou pour obtenir des instructions sur la façon d'utiliser votre apparatus.
- Les frais qui rendent l'appareil accessible pour une réparation, par exemple enlever des garnitures, les armoires, les étagères, etc. qui ne faisient pas partie de l'appareil lorsqu'il a quitté l'usine.
- Les appels de service au sujet de la reparation ou du remplacement des ampoules, des filtres a air, des filtres a eau, d'autre materiel ou des boutons, poignees ou autres pieces esthetiques.
- Les frais supplémentaires, y compris, sans s'y limiter, les appeals de service après les heures normales de bureau, le week-end ou les jours fériés, les droits et péages, les frais de conveyage ou les frais de déplacement pour les appeals de service dans des endroits isolés, notamment dans l'Etat de l'Alaska.
- Les dommages causes au fin de l'appareil ou a la maison pendent l'installation, y compris, sans 's y limiter, aux planchers, aux armoires, aux murs, etc.
- Les dommages causés par : des réparations faites par des techniciens non autorisés; l'utilisation de pieces autres que les pieces Electrolux d'origine qui n ont pas été obtenues par l'entremise d'un réparateur autorisé; ou les causes étrangères comme l'abus, l'alimentation électrique inadéquate, les accidents, les incendies ou les cas de force majeure. AVIS DE NON RESPONSABILITÉ SUR LES GARANTIES IMPLICITES; LIMITATIONS DES RECOURS L'UNIQUE RECOURS DU CLIENT EN VERTU DE CETTE GARANTIE LIMITÉE EST LA RÉPARATION OU LE REMPLACEMENT DU PRODUIT COMME DÉCRIT PRÉCÉDMENT. LES DEMANDES BASEES SUR DES GARANTS IMPLICITES, Y COMPRIS LES GARANTIES IMPLICITES DE QUALITE MARCHANDE ET D'ADAPTATION À UN USAGE PARTICULIER SONT LIMITÉES À AU MOINS UN AN OU À LA PÉRIODE LA PLUS COURTE PERMISE PAR LA LOI. ELECTROLUX NE SERA PAS TENUE RESPONSABLE DES DOMMAGES DIRECTS OU INDIRECTS NI DES DOMMAGES MATériELS ET DES DÉPENSES IMPRÉVUES RÉSULTANT D'une VIOLATION DE CETTE GARANTIE ÉCRITE OU DE TOUTE AUTRE GARANTIE IMPLICITE. CERTAINS ÉTATS ET CERTAINES PROVINCES NE PERMETTENT PAS DE RESTRICTION OU D'EXEMPTION SUR LES DOMMAGES DIRECTS OU INDIRECTS OU DE RESTRICTION SUR LES GARANTIES IMPLICITES. DANS CE CAS, CES RESTRICTIONS OU EXEMPITIONS POURRAIENT NET PAS ÉTRE APPLICABLES. CETTE GARANTIE ÉCRITE VOUS PROCURE DES DROITS LÉGAUX SPECIFIQUES. IL SE POT QUE VOUS AYEZ D'AUTRES DROITS QUI VARIENT SELON L'ÊTAT OU LA PROVINCE.
Si vous avez Conservez titre, votre bon de livraison ou une autre preune valide de paiement pour etablier la perte de la garantie dans,. besoin d'unele cas ou vous devriez faire appel aux services d'un technicien autorise. Si une reparation doit etre effectue, vauillez obtenir et reparation conserver tous les recus.
Le service auquel you aves recours en vert de ce garantie doit etre obtenu en commuiqant avec Electrolux a l'adresse ou aux numeros de tellephone indiques ci-dessous. Cete garantie n'est valide qu'aux Etats-Unis et au Canada.Aux Etats-Unis, suaappeil est garanti par Electrolux Major Appliances North America, une division de Electrolux Home Products, Inc. Au Canada, vour appareil est garanti per Electrolux Canada Corp. Personne n'est autorise a modifier ou a ajouter aux obligatons contues dans cette garantie. Les obligatons de cette garantie concernant la reparation et les pieces doivent et remplies par Electrolux ou par une compagnie de reparation autorisee. Les caractéristiques et specifications decrites ou illustrées peuvent etre modifiées sans préavis.
USA
1.282.622.373
Notice Facile