JCU15820S5 - Réfrigérateur JUNO - Notice d'utilisation et mode d'emploi gratuit
Retrouvez gratuitement la notice de l'appareil JCU15820S5 JUNO au format PDF.
| Caractéristiques | Détails |
|---|---|
| Type de réfrigérateur | Réfrigérateur combiné |
| Capacité totale | Environ 300 litres |
| Classe énergétique | A+ |
| Dimensions (HxLxP) | 175 x 60 x 65 cm |
| Poids | Environ 70 kg |
| Système de refroidissement | Froid statique |
| Niveau sonore | 42 dB |
| Fonctionnalités supplémentaires | Éclairage LED, tiroirs à légumes, étagères réglables |
| Entretien | Dégivrage manuel, nettoyage régulier des surfaces |
| Sécurité | Système de verrouillage de porte |
| Garantie | 2 ans |
FOIRE AUX QUESTIONS - JCU15820S5 JUNO
Questions des utilisateurs sur JCU15820S5 JUNO
0 question sur cet appareil. Repondez a celles que vous connaissez ou posez la votre.
Poser une nouvelle question sur cet appareil
Téléchargez la notice de votre Réfrigérateur au format PDF gratuitement ! Retrouvez votre notice JCU15820S5 - JUNO et reprennez votre appareil électronique en main. Sur cette page sont publiés tous les documents nécessaires à l'utilisation de votre appareil JCU15820S5 de la marque JUNO.
MODE D'EMPLOI JCU15820S5 JUNO
Consignes de sécurité 30
Instructions de sécurité 31
Fonctionnement 33
Utilisation quotidienne 33
Conseils 35
Entretien et nettoyage 37
En cas d'anomalie de fonctionnement 38
Installation 40
Bruits 42
Caracteristiques techniques 44
Sous réserve de modifications.
CONSIGNES DE SECURITÉ
Avant d'instructor et d'utiliser cet apparéil, lisez soigneusement les instructions fournies. Le fabricant ne peut être tenu pour responsable des dommages et blessures liés à une mauvaise installation ou utilisation. Conservez toujours cette notice avec votre apparéil pour vous y reférer ultérieurement.
Sécurité des enfants et des personnes vulnérables
- Cet apparéil peut être utilisé par des enfants âgés d'au moins 8 ans et par des personnes ayant des capacité physiques, sensorielles ou mentales réduites ou dénuées d'expérience ou de connaissance, s'ils (si elles) sont correctement surveillé(e)s ou si des instructions relatives à l'utilisation de l' apparéil en toute sécurité leur ont été données et si les risques encourus ont été appréhendées.
- Les enfants ne doivent pas jouer avec l'appareil.
- Le nettoyage et l'entretien par l'usage ne doivent pas etre effectués par des enfants sans surveillance.
- Ne laissez pas les emballages à la portée des enfants.
Consignes générales de sécurité
-
Cet apparéil est conçu uniquement pour un usage domestique et des utilisations telles que :
-
dans lesBATIMENTS de ferme, dans des cuisines réservées aux employés dans des magasins, bureaux et autres lieux de travail ;
-
pour une utilisation privée, par les clients, dans des hotels et autres lieux deSEDjour.
-
Veillez à ce que les orifices de ventilation, situés dans l'enceinte de l'appareil ou dans la structure intégrée, ne soient pas obstrués.
- N'utilisezaucundispositifmecaniqueouautreappareil pour accelererleprocessusde dégivragequeceux recommendsparlefabricant.
- N'endommagez pas le circuit frigorifique.
- N'utilisez pas d'appareils ELECTriques à l'intérieur des compartments de conservation des alimentés de l'appareil, sauf s'ils sont du type recommendé par le fabricant.
- Ne pulverisez pas d'eau ni de vapeur pour nettoyer l'appareil.
- Nettoyez l'appareil avec un chiffon doux humide. Utilisez uniquement des produits de nettoyage neutres. N'utilisez pas de produits abrasifs, de tampons à recycler, de solvants ni d'objets métalliques.
- Ne conservez aucune substance explosive dans cet apparéil, comme des aérosols contenant un produit inflammable.
- Si le cable d'alimentation est endommagé, il doit être remplace par le fabricant, son service après-vente ou des personnes de qualification similaire afin d'éviter un danger.
INSTRUCTIONS DE SECURITE
Installation

AVERTISSEMENT! L'appléil doit être installé uniquement par un professionnel qualifié.
- Retirez l'intégralité de l'emballage
- N'installez pas et ne branchez pas un apparéil endommagé.
- Suívez scrupuleusement les instructions d'installation fournies avec l'appareil.
- Soyez toujours vigilants lorsque vous déplacez l'appareil car il est lourd. Portez toujours des gants de sécurité.
Assurez-vous que l'air circule autour de l'appareil. - Attende au moins 4 heures avant de brancher l'appareil sur le secteur. Cela
permet à l'huile de refouler dans le compresseur.
- N'installez pas l'appareil à proximé d'un radiateur, d'une cusinière, d'un four ou d'une table de cuisson.
- La surface arrête de l'appareil doit être positionnée contre un mur.
- N'installez pas l'appareil dans un endroit exposé à la lumière directe du soleil.
- N'installez pas l'appareil dans un endroit trop humide ou trop froid, comme une dépendance extérieure, un garage ou une cave.
- Lorsque vous déplacez l'appareil, veillez à le soulever par l'avant pour éviter de rayer le sol.
Connexion électrique

AVERTISSEMENT! Risque d'incendie ou d'électrocution.
- L'appareil doit être relié à la terre.
- Vérifiez que les données électriques figurant sur la plaque signalétique correspondant à celles de votre réseau. Si ce n'est pas le cas, contactez un electricien.
- Utilisez toujours une prise de courant de sécurité correctement installée.
- N'utilisez pas d'adaptateurs multipresen ni de rallonges.
Veillez a ne pas endommager les composants électriques tels que la fiche secteur, le cable d'alimentation ou le compresseur. Contactez le service après-vente/agree ou un électricien pour changer les composants électriques. - Le cable d'alimentation doit rester en dessous du niveau de la fiche secteur.
- Ne connectez la fiche d'alimentation secteur à la prise de courant secteur qu'à la fin de l'installation. Assurez-vous que la fiche d'alimentation est accessible une fois l'appareil installé.
- Ne tirez jamais sur le cable d'alimentation électrique pour débrancher l'appareil. Tirez toujours sur la fiche.
Usage

AVERTISSEMENT! Risque de blessures, de brûlures, d'électrocution ou d'incendie.
- Ne modifies pas les caractéristiques de cet apparéil.
- Ne placezaucunappareilelectrique (sorbetiere,etc.) dans l'appareil,en l'absence d'indications du fabricant.
Veillez à ne pas endommager le circuit frigorifique. Il contient de l'isobutane (R600a), un gaz naturel ayant un niveau élevé de compatibilité environnementale. Ce gaz est inflammable. -
Si le circuit frigorifique est endommagé, assurez-vous de l'absence de flammés et de sources d'ignition dans la piece. Aéréz la piece.
-
Évitez tout contact d' éléments chauds avec les parties en plastique de l'appareil.
- Ne placez jamais de boissons gazeuses dans le congelateur. Cela engendérerait une pression sur le recipient de la boisson.
- Ne stockez jamais de gaz ou de liquide, inflammable dans l'appareil.
- Ne placez pas de produits inflammables ou d' éléments imbibés de produits inflammables à l'intérieur ou à proximité de l'appareil, ni sur celui-ci.
- Ne touchez pas le compresseur ni le condenseur. Ils sont chauds.
- Ne retirez pas et ne touche pas les éléments du compartmenting congelateur avec les mains mouillées ou humides.
- Ne recongelez jamais un aliment qui a été décongelé.
- Respectez les instructions de stockage figurant sur l'emballage des alimentés surgeles.
Entretien et nettoyage

AVERTISSEMENT! Risque de blessure corporelle ou de dommages matériels.
- Avant toute opération d'entretien, éteignez l'appareil et débranchez la fiche de la prise secteur.
- Cet apparéil contient des hydrocarbures dans son circuit de réfrigération. L'entretien et la recharge du circuit de réfrigération doivent être effectués par un professionnelnel qualifié.
- Examinez régulierement l'écoulement de l'appareil et si nécessaire, nettoyez-le. Si l'orifice est bouché, l'eau provenant du dégivrage s'écoulera en bas de l'appareil.
Mise au rebut

AVERTISSEMENT! Risque de blessure ou d'asphyxie.
- Debranchez l'appareil de l'alimentation électrique.
-
Coupe le cable d'alimentation et mettez-le au rebut.
-
Retirez la portepour empêcher les enfants et les animaux de s'enfermer dans l'appareil.
- Le circuit frigorifique et les matériaux d'iso1ation de cet appeareil preservent la couche d'ozone.
- La mousse isolante contient un gaz inflammable. Contactez votre service
FONCTIONNEMENT
Mise en marche
Insérez la fiche dans la prise murale.
Mise à l'arrêt
Pour éteindre l'appareil, tournez le thermostat sur la position « "0" »
Réglage de la température
La température est régulée automatiquement.

Un réglage intermédiaire est généralement le plus indiqué. Toutefois, on obtendra le réglage exact en tenant compte du fait que la température à l'intérieur de l'appareil dépend de plusieurs facteurs :
- la température ambiente,
- la fréquence d'ouverture de la porte,
- la quantité d'aliments stockés,
- l'emplacement de l'appareil.
UTILISATION QUOTIDIENNE

AVERTISSEMENT! Reportez-vous aux chapitres concernant la sécurité.
Congeler les aliments frais
Le compartment congestioneur est idéal pour congeler des aliments frais et conserver à long terme des alimentés congelés ou surgelés.
municipal pour obtenir des informations sur la marche à suivre pourmettre l'appareil au rebut.
- N'endommagez pas la partie du circuit de réfrigération située à proximé du condenseur thermique.
- Tournez le thermostat sur la position minimale pour obtenir moins de froid.
- Tournez le thermostat sur la position maximale pour obtaining plus de froid.

ATTENTION! Si la température ambiente est élevé ou l'appareil très rempli et si le thermostat est réglé sur la température la plus BASSE, il est possible que le compresseur fonctionne en régime continu, d'ou un risque de formation de givre sur la paroi arrière. Pour éviter cet inconvenient, modifier la position du thermostat pour有關ir moins de froid, de façon à permettre un dégivrage automatique et, par conséquent, des économies d'énergie.
Pour congeler des alimentes frais, il n'est pas nécessaire de modifier le réglage moyen.
Toutefois, pour une congélation plus rapide, tournez le thermostat sur la position maximale pour obtenir plus de froid.

Dans ce cas, la température du compartment réfrigerateur est susceptible de descendre endessous de 0^ . Si cela se produit, repositionné le thermostat sur une position inférieure pour obtenir moins de froid.
Placez les denrées fraîches à congefer dans le compartment du milieu.
La quantité maximale de denrées fraîches que vous pouvezCongeler par tranche de 24 heures est indiquée sur la plaque signalétique (située à l'intérieur de l'appareil).
Le processus de congélation dure 24 heures : vous ne doivent ajouter aucune autre aliment à congeler pendant cette période.
Calendrier des alimentés congeles

Les symboles indiquent différents types d'aliments congelés.
Les numérores indiquent les durées de conservation en mois correspondant aux différents types d'aliments congeLés. La validité de la durée de conservation maximale ou minimale indiquée dépend de la qualite des aliments et de leur traitement avant la congélation.
Conservation d'aliments congelés et surgelés
À la mise en service ou après un arrêt prolongé, placez le thermostat sur la position maximale pendant 2 heures environ avant d'introduire les produits dans le département.

En cas de décongélation accidentelle, due par exemple à une coupure de courant, si la coupure a duré plus de temps qu'indiqué au paragraph « Autonomie de fonctionnement » du chapitre Caracteristiques techniques, consommez rapidement les aliments décongelés ou cuisezles immidiatement avant de les recongeler (une fois refroidis).
Indicateur de températe
Pour un bon stockage des alimentents, le réfrigerateur est doté d'un indicateur de température. Le symbole sur la paroi latérale de l'appareil indique la zone la plus froide du réfrigerateur.
Si « OK » s'affiche (A), placez les alimentes frais dans la zone indiquee par le symbole. Si ce n'est pas le cas (B), reglez le thermostat sur une temperture inférieure et attendez 12 heures avant de vérifier a nouveau.


Après chargement de denrées fraîches dans l'appareil ou après des ouvertures répetées (ou une ouverture prolongée) de la porte, il est normal que l'inscription « OK » n'apparaisse pas dans l'indicateur de température ; attendez au moins 12 heures avant d'ajuster le thermostat.
Décongélation
Avant utilisation, les alimentes surgelés ou congelés peuvent être décongelés dans le compartment réfrigerateur ou à
température ambiente en fonction du temps disponible pour cette opération.
Les petites portions peuvent même être cuites sans décongélation préalable : la cuisson sera cependant un peu plus longue.
Production de glaçons
Cet apparéil est équipé d'un ou plusieurs bacs à glaçons.

N'utilisez pas d'instruments métalliques pour décoller les bacs du congelateur.
- Remplissez les bacs avec de l'eau
- Placez les bacs dans le compartment congélateur.
Glissières amovibles
Les parois du réfrigerateur sont équipées d'une série de glissières afin que les clayettes puissant être positionnées comme vous le souhaitez.

CONSEILS
Bruits normaux defonctionnement
Les bruits suivants sont normaux lorsquel l'appareil est en cours de fonctionnement :
- Un léger gargouillis lorsque le liquide réfrigerant est pompé.
- Un ronronnement et un bruit de pulsation provenant du compresseur lorsque le liquide réfrigerant est pompé.
- Un bruit de craquement soudain provenant de l'intérieur de l'appareil provoqué par une dilatation thermique (un phénomène naturel et inoffensif).

Pour permettre une belle circulation de l'air, n'enlevez pas la clayette en verre au-dessus du bac à legumes ni le compartmenté à bouteilles.
Mise en place des balconnets de la porte
En fonction de la taille des emballages des alimentents conservés, les balconnets de la porte peuvent être positionnés à différentes hauteurs.
- Faites glisser le balconnet dans le sens des flèches jusqu'à ce qu'il se libéré.
- Repositionnez-le selon les besoin.

- Un léger cliquetis du thermostat lorsque le comprisseur s'active ou se désactive.
Conseils d'économie d'énergie
- Évitez d'ouvrir trop souvent la porte du congélateur et ne la laissez ouverte que le temps nécessaire.
Conseils pour la réfrigération des aliments frais
Pour obtaining the legers résultats :
- n'introduisez pas d'aliments encore chauds ou de liquides en évaporation dans le réfrigérateur
- couvre ou enveloppez soigneusement les alimentes, surtout s'ils sont aromatiques
- placez correctement les aliments pour que l'air puisse circuler librement autour
Conseils pour la réfrigération
Conseil utiles :
- Vande (tous types de vande): enveloppez-la dans des sachets en plastique et placez-la sur la clayette en verre au-dessus du bac à legumes.
- Pour des raisons de sécurité, ne la conservez de cette manière que pendant un ou deux jours maximum.
- Aliments cuits, plats froids, etc.: ils doivent être couverts et peuvent être placés sur n'importe qu'elle clayette.
Fruits et legumes: placez-les une fois nettoyés dans le bac à legumes. - Beurre et fromage : placez-les dans des recipients étanches spéciaux ou enveloppez-les soignement dans des feuilles d'aluminium ou des sachets en plastique, afin que le volume d'air avec lesquels ils sont en contact soit réduit autant que possible.
- Bouteilles : elles nécessitent un bouchon et doivent être stockées sur l'étagère à bouteilles de la porte ou (si équipé) sur la grille à bouteilles.
- Bananes, pommes de terre, oignons et ail ne doivent pas etre mis dans le réfrigerateur, s'ils ne sont pas emballés.
Conseils pour la congélation
Voici quelques conseils importants pour obtenir un processus de congélation optimal :
- Respectez la quantité maximale de denrées fraîches que vous pouvez congefer par 24 heures figurant sur la plaque signalétique ;
-
Le processus de congélation dure 24 heures. N'ajoutez pas d'autres alimentés à congeler pendant cette période;
-
Congelez uniquement des alimentés deonne qualité, frais et nettoyés ;
- Préparez la nourriture en petits paquets pour une congélation rapide et uniforme, adaptés à l'importance de la consommation;
- Enveloppez les aliments dans des feuilles d'aluminium ou des sachets en plastique et assurez-vous que les emballages sont étanches;
- Ne laisses pas des aliments frais, non congeles, toucher des aliments déjà congeles pour éviter une remontée en température de ces derniers;
- Les aliments maigres se conservent比较好 et plus longtemps que les aliments gras ; le Sel réduit la durée de conservation des aliments ;
- La température très BASSE à laquelle se trouvent les bâtonnets glacés, s'ils sont consommés des leur sortie du compartment Congélateur, peut provoquer des brûlures;
- L'identification des emballages est importante : indiquez la date de congélation du produit et respectez la durée de conservation indiquée par le fabricant.
Conseils pour le stockage des alimentés surgelés
Pour obtenir les valeurs performances possibles :
assurez-vous que les denrées surgelées achétées dans le commerce ont été correctement entreprises par le revendeur;
- prévoyez un temps réduit au minimum pour le transport des denrées du magasin d'alimentation à votre domicile ;
- évitez d'ouvrir trop souvent la porte du congelateur et ne la laissez ouverte que le temps nécessaire ;
- une fois décongelés, les alimentés se détiennent rapidement et ne peuvent pas être recongelés;
- ne dépassez pas la durée de conservation indiquée par le fabricant.

AVERTISSEMENT! Reportez-vous aux chapitres concernant la sécurité.
Avertissements généraux

ATTENTION! Debranche
I'appareil avant toute opération
d'entretien et de nettoyage.

Cet apparéil contient des hydrocarbures dans son circuit de réfrigeration; l'entretien et la recharge ne doit donc être effectués que par du personnel qualifié.

Les pieces et accessoires de l'appareil ne doivent pas etre lavés au lave-vaisselle.
Nettoyage périodique

ATTENTION! Ne tirez pas, ne déplacez pas, n'endommagez pas les tuyaux et/ou câbles qui se trouvent à l'intérieur de l'appareil.

ATTENTION! Attention à ne pas endommager le système de réfrigération.

ATTENTION! Lorsque vous déplacez l'appareil, veillez à le soulever par l'avant pour éviter de rayer le sol.
L'appareil doit être nettoyé régulierement :
- Nettoyez l'intérieur et les accessoires avec de l'eau tiède et un détergent doux.
- Vérifiez régulierrement les joints de porte et essuyez-les pour vous assurer qu'ils sont propres et ne contiennent pas de résidus.
-
Rincez et séchez soigneusement.
-
S'ils sont accessibles, nettoyez le condenseur et le compresseur situés à l'arrière de l'appareil avec une Brosse. Cette opération améliore les performances de l'appareil et permet des économies d'électricité.
Dégivrage du réfrigérateur
En fonctionnement normal, le givre est automatiquement eliminé de l'évaporateur du compartment réfrigerateur à chaque fois que le compréseur s'arrête. L'eau de dégivrage est collectée dans un recipient spécial situé à l'arrière de l'appareil, au-dessus du compréseur, d'ou elle s'évapore.
Il est important de nettoyer régulierement l'orifice d'écoulement de la goulotte d'évacuation de l'eau de dégivrage située au milieu du compartment réfrigerateur pour empêcher l'eau de déborder et de couler à l'intérieur de l'appareil.

Dégivrage du congélateur

ATTENTION! N'utilisez enaucun cas d'objects métalliques ou tranchants pour gratter la couche de givre sur I'evaporateur, car yourisqueriez de le déterminer. N'utilisez aucun dispositif mécanique ou autre moyen artificiel pour accélérer le processus de dégivrage hormis leurs recommends par le fabricant. Une élevation de la température des denrées congelezes, pendant le dégivrage, peut réduire leur durée de conservation.

Mettez le thermostat sur la température la plus bajo 12 heures avant d'effectuer le dégivrage afin d'assurer une réserve de froid suffisante.
Une certaine quantité de givre se forme toujours sur les clayettes du congélateur et autour du compartment supérieur.
Dégivrez le congélateur lorsque l'épaisseur de la couche de givre est comprise entre 3 et 5 mm.
- Éteignez l'appareil, ou débranche la fiche de la prise secteur.
- Sortez les denrées congelezes, enveloppez-les dans plusieurs feuilles de papier journal et conservez-les dans un endroit frais.

AVERTISSEMENT! Ne touche pas les produits congelés et les surfaces givrées avec les mains humides. Risque de brûlures ou d'arrachement de la peau.
EN CAS D'ANOMALIE DE FONCTIONNEMENT

AVERTISSEMENT! Reportez-vous aux chapitres concernant la sécurité.
- Laissez la porte ouverte.
Le dégivrage peut être accéléré en plaçant un recipient d'eau chaude dans le compartment congélateur. Retirez également les morceaux de glace au fur et à mesure qu'ils se détachent, avant que le processus de dégivrage ne soit terminé. - Une fois le dégivrage terminé, sechez bien l'intérieur.
- Mettez l'appareil en marche.
Au bout de 3 heures, replacez les produits congélés dans le département congélateur.
En cas de non-utilisation prolongée
Si l'appareil n'est pas utilisé pendant de longues périodes, prenez les précautions suivantes :
- Debranche l'appareil de l'alimentation électrique.
- Retirez tous les aliments.
- Nettoyez l'appareil et tous les accessoires.
- Laissez la porte/les portes ouverte(s) pour éviter la formation d'odeurs désagréables.

AVERTISSEMENT! Si, toutfois, vous n'avez pas la possibilité de débrancher et de vider l'appareil, faites vérifier régulièrement le bon de fonctionnement de celui-ci et ceci en tenant compte de sa charge et de son autonomie de fonctionnement.
En cas d'anomalie de fonctionnement
| Problème Cause probable Solution | ||
| L'appareil ne fonctionne pas du tout. | L'appareil est étant. Mettez l'appareil en marche. | |
| La fiche du cable d'almen- | tation n'est pas correctement insérée dans la prise de courant. | Branchez correctement la fiche du cable d'alimentation dans la prise de courant. |
| La prise de courant n'est | pas alimentée. | Branchez un autre apparéil électrique à la prise de courant. Contactez un électricien qualifié. |
| L'appareil est bruyant. L'appareil n'est pas stable. Assurez-vous de la stabilité de l'appareil. | ||
| Le compresseur fonctionne en permanence. | Il y a une erreur dans le réglage de la tempête. | Reportez-vous au chapitre « Fonctionnement ». |
| Trop de produits ont été in- | trouits simultanément. | Attendez quelques heures et vérifiez de nouveau la tempête. |
| La tempête ambiente | est trop élevé. | Reportez-vous au tableau des classes climatiques de la pla-que signalétique. |
| Les aliments introduits | dans l' apparéil était trop chauds. | Laissez refroidir les alimentés à tempête ambiente avant de lesmettre dans l' apparéil. |
| La portecn est pas fermée correctement. | Reportez-vous au chapitre « Fermeture de la porte ». | |
| De l'eau s'écoule à l'intérieur du réfrigérateur. | L'orifice d'écoulement de l'eau de dégivrage est obstruè. | Nettoyez l'orifice d'écoulement de l'eau de dégivrage. |
| Des alimentés empêchent l'eau de s'écouler dans le réservoir d'eau. | Assurez-vous que les produits ne touchent pas la plaque arrière. | |
| De l'eau coule sur le sol. Le tuyau | d'évacuation de l'eau de dégivrage n'est pas raccordé au bac d'évaporation situé au-dessus du compresseur. | Fixez le tuyau d'évacuation de l'eau au bac d'évaporation de l'eau de dégivrage. |
| La température à l'intérieur de l' apparéil est trop BASSE/ Elevée. | Le thermostat n'est pas régilé correctement. | Augmentez/réduisez la température. |
| Problème Cause probable Solution | ||
| La porte n'est pas fermée correctement. | Reportez-vous au chapitre « Fermetre de la porte ». | |
| La température des produits est trop élevé. | Laissez les alimentés refroidir à température ambiente avant de les placer dans l'appareil. | |
| Trop de produits ont été in-troduits simultanément. | Introduisez moins de produits en même temps. | |
| La porte a été ouverte trop souvent. | N'ouvre la porte qu'en cas de nécessité. | |
| L'air froid ne circule pas dans l'appareil. | Assurez-vous que de l'air froid circule dans l'appareil. | |

Si ces conseils n'apportent pas de solution à votre problème, veuillez contacter votre service après-vente/agréé.
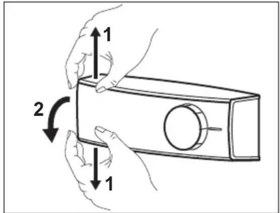
Remplacement de l'éclairage
- Debranchez la fiche de l'appareil de la prise secteur.
- Dans le même temps, placez vos doigts en haut et en bas du diffuseur transparent et glissez-le dans le sens indiqué par les flèches pour le detacher.

INSTALLATION

AVERTISSEMENT! Reportez-vous aux chapitres concernant la sécurité.
- Remplacez l'ampoule par une ampoule de puissance et de forme identiques, spécifiquement conque pour les apparêils electroménagers. (La puissance maximale est indiquée sur le diffuseur.)
- Remontez le diffuseur de l'ampoule.
- Branchez la fiche de l'appareil à la prise secteur.
Ouvrez la porte. Vérifiez que l'ampoules 'allume.
Fermeture de la porte
- Nettoyez les joints de la porte.
- Si nécessaire, ajustez la porte. Reportez-vous au chapitre « Installation »
- Si nécessaire, remplacez les joints de porte defectueux. Contactez le service après-vente agreé.
Installation
Cet apparéil peut être installé dans une piece interieure sèche et bien ventilée où la température ambiente correspond à la classe climatique indiquée sur la plaque signalétique de l' apparéil :
| Classe climatique | Température ambiente |
| SN +10°C à + 32°C | |
| N +16°C à + 32°C | |
| ST +16°C à + 38°C | |
| T +16°C à + 43°C | |

Des problèmes fonctionnels peuvent se produit sur certains types de modèles fonctionnant hors de cette plage de températures. Seul le respect de la plage de températures spécifiée peut garantir un bon fonctionnement de l'appareil. En cas de doute concernant l'emplacement d'installation de l'appareil, veuillez contacter le vendeur, notre service après-venture/agree le plus proche.
Branchement électrique
- Avant de brancher l'appareil, assurez-vous que la tension et la fréquence indiquées sur la plaque signalétique correspondent à celles de votre réseau électrique domestique.
- L'appareil doit être relié à la terre. La fiche du cordon d'alimentation est fournie avec un contact à cette fin. Si la prise de courant n'est pas mise à la terre, branchez l'appareil à une mise à la terre séparée conformément aux réglementations en vigueur, en consultant un électricien spécialisé.
- Le fabricant décline toute responsabilité en cas de non-respect de ces consignes de sécurité.
- Cet apparéil est conforme aux directives CEE.
Réversibilité de la porte
- Dévissez, puis retirez le pivot supérieur.

- Retirez la porte supérieure.
- Retirez l'entretoise.
- Desserrez la charnière intermédiaire.

- Retirez la porte inférieure.
- Devissez, puis retirez le pivot inférieur.
- Serrez le pivot inférieur sur le côte opposé.

- Mettez en place la porte inférieure.
- Serrez la charnière intermédiaire.
- Mettez en place l'entretoise.
- Mettez en place la porte supérieure.
- Serrez le pivot supérieur.

Faites une的最后一 é ✓i fication pour vous assurer que :
- Toutes les vis sont bien serrées.
Le joint magnétique adhééré bien à l'appareil. - La portes s'ouvre et se ferme correctement.
Si la température ambiente est basse (par exemple, en hiver), il se peut que le joint n'adhere pas parfaitement. Dans ce cas, attendez que le joint reprene sa taille naturelle.
Si vous ne pouze pas effectuer personnellement les opérations décrites ci-dessus, contactez le service après-vente/agree le plus proche. Un technicien du service après-vente/agree procédera à la réversibilité de la porte à vos frais.
Exigences en matière de ventilation
Veillez a garantir une circulation d'air suffisante à l'arrête de l'appareil.

BRUITS
L'appareil émet certains bruits pendant son fonctionnement (compresseur, circuit frigorifique).




CHARACTERISTIQUES TECHNIQUES
\section*{Caracteristiques techniques}
| Dimensions de la niche d'encastrement | ||
| Hauteur mm 1580 | ||
| Largeur mm 560 | ||
| Profondeur mm 550 | ||
| Autonomie de fonctionnement Heures 22 | ||
| Tension Volts 230 - 240 | ||
| Fréquence Hz 50 |
Les caractéristiques techniques figurent sur la plaque signalétique située sur le côte
intérieur ou extérieur de l'appareil et sur l'étiquette énergétique.
EN MATIÈRE DE PROTECTION DE L'ENVIRONNEMENT
Recyclez les matériaux portant le symbole. Déposez les emballages dans les conteneurs prévus à cet effet. Contribuez à la protection de l'environnement et à votre sécurité, recyclez vos produits électriques et électroniques. Ne jetez pas les appareils
portant le symbole avec les ordures menagères. Emmenez un tel produit dans votre centre local de recyclage ou contactez vos services municipaux.
Notice Facile