BX50 - Vélo d'appartement Cardiostrong - Notice d'utilisation et mode d'emploi gratuit
Retrouvez gratuitement la notice de l'appareil BX50 Cardiostrong au format PDF.
| Caractéristiques techniques | Résistance magnétique, 16 niveaux de résistance, écran LCD, capteur de fréquence cardiaque. |
|---|---|
| Dimensions | Longueur : 120 cm, Largeur : 55 cm, Hauteur : 130 cm. |
| Poids maximal utilisateur | 120 kg. |
| Utilisation | Idéal pour un entraînement cardio à domicile, convient aux utilisateurs débutants et avancés. |
| Maintenance | Vérifier régulièrement les vis et les boulons, nettoyer le cadre avec un chiffon humide. |
| Sécurité | Utiliser sur une surface plane, ne pas dépasser le poids maximal, suivre les instructions d'utilisation. |
| Informations générales | Garantie de 2 ans, assemblage requis, accessoires inclus : pédales, manuel d'utilisation. |
FOIRE AUX QUESTIONS - BX50 Cardiostrong
Questions des utilisateurs sur BX50 Cardiostrong
0 question sur cet appareil. Repondez a celles que vous connaissez ou posez la votre.
Poser une nouvelle question sur cet appareil
Téléchargez la notice de votre Vélo d'appartement au format PDF gratuitement ! Retrouvez votre notice BX50 - Cardiostrong et reprennez votre appareil électronique en main. Sur cette page sont publiés tous les documents nécessaires à l'utilisation de votre appareil BX50 de la marque Cardiostrong.
MODE D'EMPLOI BX50 Cardiostrong
N° d'article CST-BX50-2
Vélo d'appartement BX50
TABLE DES MATIÈRES
1 INFORMATIONS GÉNÉRALES 7
1.1 Caracteristiques techniques 7
1.2 Sécurité personnelle 8
1.3 Sécurité électrique 9
1.4 Emplacement 10
2 MONTAGE 11
2.1 Instructions generales 11
2.2 Contenu de la livraison 12
2.3 Montage 14
2.4 Reglage de l'appareil 21
2.4.1 Réglage horizontal de la selle 21
2.4.2 Réglage vertical de la selle 21
3 MODE D'EMPLOI 22
3.1 Affichage de la console 22
3.2 Fonction des touches 24
3.3 Mise en marche de l'appareil et premiers réglages 25
3.4Programmes 27
3.4.1 QUICK START dans le programme manuel 28
3.4.2 Manual Mode - Mode manuel 28
3.4.3Programmes a profil 29
3.4.4Programme defini par I'utilisateur 31
3.4.5Programme basé sur les watts 32
3.4.6 Contrôle de la fréquence cardiaque 32
3.4.7 Récupération 34
3.4.8 Mémorisation des données 34
3.4.9 Contrôle et effacement des données méorises 36
3.5 Compartiment à piles 37
4.1 Instructions generales 38
4.2 Roulettes de déplacement 38
5 DÉPANNAGE, ENTRETIEN ET MAINTENANCE 39
5.1 Instructions generales 39
5.2 Defaute s et diagnostic des pannes 39
5.3 Calendrier d'entretien et de maintenance 40
6 LIMINATION 40
7 ACCESSOIREs RECOMMANDES 41
8 COMMANDES DE PIECES DE RECHANGE 42
8.1 Numéro de série et désignation du modele 42
8.2 Listedespoieces 43
8.3Vue eclatede 45
9 GARANTIE
46
10 CONTACT 48
Nos you remercions d'avoir choisi les appeareils de fitness de cardiostrong. cardiostrong you offre des appeareils de fitness a domicile de haute qualite, adaptes de maniere optimale aux conditions de vie a votre domicile. S'entrainer a la maison,quel que soit le temps ou l'heure de la journee.Les appeareils de fitness cardiostrong offrent des programmes d'entrainement et un spectre de possibilites pour tous les niveaux et tous les objectifs d'entrainement. Pour plus d'informations,veuillez consulter les sites www.sport-tiedje.com ou www.cardiostrong.de.
Nous vous souhaitons beaucoup de plaisir dans votre entrainement!
Utilisation conforme
L'appareil doit être utilisé uniquement aux fins auxquelles il est destiné.
L'appareil est destiné exclusivement à une utilisation à domicile. L'appareil n'est pas adapté à un usage semi-professionnel (par ex. hôpitaux, clubs, hotels, établissements scolaires etc.) ni à une application commerciale ou professionnelle (par ex. salle de gym).
MENTIONS LÉGALES
Sport-Tiedje GmbH
N^1 du fitness a domicile en Europe
Tribunal d'instance de Flensburg
N°d'identification de TVA : DE813211547
EXCLUSION DE RESPONSABILITÉ

©2011 cardiostrong est une marque déposée de la société Sport-Tiedje GmbH. Tous droits réservés. Toute'utilisation de cette marque sans l'autorisation écrite de Sport-Tiedje est interdite.
Le produit et le manuel peuvent faire l'objet de modifications. Les données techniques sont sujettes à changement sans préavis.
À PROPOS DE CE MODE D'EMPLOI
Veuillez tire attentivement leprésent mode d'emploi dans son intégralité avant le montage de l'appareil et sa première utilisation. Le spécifique mode d'emploi est là pour vous aider à monterrapidement l'employé et à le manipuler en toute sécurité. Veillez impérativement à ce que tous lesutilisateurs de l'employé (notamment les enfants et les personnes représentant un handicap physique, sensoriel, mental ou moteur) aient préalablement pris connaissance du besoin mode d'emploi et de son contenu. En cas de doute, l'employé doit être utilisé sous la surveillance d'une personne responsable.

Cet apparéil a été concu conformément aux dernières avances en matière de sécurité. Il est protégé au moins de toute source de danger susceptible de provoquer des blessures. Assurez-vous que l' apparéil a bien été monté conformément aux instructions fournies et que toutes les pieces de l' apparéil sont correctement fixées. Si nécessaire, remédiez aux défauts eventuels en vous reportant au mode d'emploi.
Veuillez respecter scrupuleusement les consignes de sécurité et de maintenance indiquées. Toute autre utilisation peut cause des blessures, endommager l'appareil et provoquer des accidents dont le fabricant et le distributeur ne peuvent assumer aucune responsabilité.
Lors de votre lecture, vous serez améné à rencontres les notes de sécurité suivantes :
- ATTENTION
Ce symbole indique des situations dans lesquelles le non-respect des consignes peut entrainer des dommages matériels.
PRUDENCE
Ce symbole indique des situations dans lesquelles le non-respect des consignes peut entrainer des blessures legères!
A VERTISSEMENT
Ce symbole indique des situations dans lesquelles le non-respect des consignes peut entrainer des blessures graves, voir mortelles!
DANGER
Ce symbole indique des situations dans lesquelles le non-respect des consignes peut entrainer des blessures très graves, voir mortelles!
① REMARQUE
Voutrouverez ici d'autres informations utiles.
Conserve soigneusement ce mode d'emploi de sorte qu'il soit accessible pour toute information sur les travaux de maintenance et les commandes de pieces de rechanges.
1.1 Caracteristiques techniques
Affichage LCD de
- Vitesse en km/h
+Durée de l'entrainment en min
+Distance d'entraînement en km - Cadence (nombres de tours par minute)
- Calories brûlées
- Fréquence cardiaque (à partir des capteurs cardiaques tactiles ou d'une ceinture pectorale)
- Watts
- Niveau de résistance
Système de résistance : système electronique de freinage magnétique
Niveau de resistance: 16
Watts: 10 - 350 watts (réglable par pas de 5 watts)
Mémoires utilisateurs: 4
Programmes d'entrainment (au total): 19
Programmes manuels: 1
Programmes prédéfinis: 12
Programmes basés sur les watts: 1
Programmes basés sur la fréquence cardiaque : 4
Programmes definis par l'utilisateur: 1
Masse d'inertie: 9 kg
Poids et dimensions :
Poids de l'article (brut, emballage inclus) : 42,15 kg
Poids de l'article (net, sans emballage): 39 kg
Dimensions de I'emballage (L× I× h) env. 106~cm× 28~cm× 65~cm
Dimensions d'installation (L × I × h) : env. 109~cm × 54,5~cm × 138,5~cm
Poidsutilisateur maximal: 150kg
1.2 Sécurité personnelle
DANGER
-
Avant la première utilisation de l'appareil, nous vous recommendons de demander l'avis d'un médecin afin qu'il juge de la possibilité ou non de vous entraîner avec cet apparéil. Ces dispositions sont particulièrement applicables aux personnes qui ont une prédisposition génétique à l'hypertension ou aux maladies cardiaques, sont âgées de plus de 45 ans, fument,présentent un taux de cholestérine élevé, sont en surpoids et/ou n'ont pas pratique régulièrement de sport au cours de l'année passée. Si vous prenez un traitement médicamentieux susceptible de générer des troubles du rythme cardiaque, l'avais d'un médecin est impératif.
-
Nous vous rappelons qu'un entrainment excessif peut sérieusement comprometter votre santé. Veuillez notes égalément que les systèmes de surveillance de la fréquence cardiaque ne sont pas toujours précis. Dès que vous percevez des sensations de faiblesse, de nausee, de vertiges, de douleurs, d'essoufflement ou d'autres symptômes anormaux, interrompez votre entrainment et consultez votre médecin en cas d'urgence.
A VERTISSEMENT
- Cet apparéil n'est pas concu pour une utilisation par les enfants de moins de 14 ans.
-
Les enfants ne doivent pas etre laisses sans surveillance a proximite de l'appareil.
-
Les personnes handicapées doivent bénéficier d'une autorisation Médicale et rester sous étroite surveillance lors de l'utilisation de tout apparéil d'entrainment.
-
L'appareil ne doit pas etre utilise simultanement par plusieurs personnes.
-
Si vous appeareil dispose d'une clé de sécurité, attachez le clip sur vos vêtements avant chaque entrainement. La fonction d'arrêt d'urgence de l'appareil peut ainsi se déclencher en cas de chute.
- Maintenez éloignés les mains, les pieds et autres parties du corps ainsi que les cheveux, vêtements, bijoux et autres objets des pièces mobiles.
- Evitez de porter des vêtements amples ou volants pendant l'entrainment. Préférez une tenue de sport adaptée. Portez des chaussures de sport adaptées, de préférence avec des semelles en caoutchouc ou autre matériel antidéraptant. Evitez de porter des chaussures à talon, avec semelles en cuir, à clous ou à crampons. Ne vous entraîné jamais pieds nus.
PRUDENCE
- Si vous doivent branchier toute fois l'acid et la glycine, ne s'est pas faissé?
- Durant l'entrainment, assurez-vous que personne ne se trouve dans la zone de mouvement de l'appareil.
- ATTENTION
- Ne placez�除 un objet dans les ouvertures de I'appareil.
1.3 Sécurité électrique
DANGER
- Pour limiter les risques de chocolélectrique, débranchez toujours le cable de l'appareil de la prise de courant des que vous avez terminé l'entrainment, avant d'assembler ou de désassembler l'appareil ainsi qu'avant de proceeder à une maintenance ou à un nettoyage de l'appareil. Ne tirez pas sur le cable.
A VERTISSEMENT
- Ne laissez pas l'appareil sans surveillance tant que le cordon d'alimentation reste branché dans la prise murale. Debranchez le cordon d'alimentation de la prise murale pendant votre absence afin d'éviter toute utilisation impropre de l'appareil par des tiers ou des enfants.
- Si le cable d'alimentation ou le cordon d'alimentation est endommagé ou défectueux, adressez-vous à votre revendeur. jusqu'à la réparation, l'appareil ne doit pas être utilisé.
ATTENTION
- L'appareil doit être branché sur une prise électrique de 220-230 V à une fréquence de 50 Hz.
-
L'appareil doit toujours être branché directement sur une prise de terre avec le cable d'alimentation fourni. Les rallonges doivent être conformes aux directives VDE. Déroulez toujours entièrement le cable d'alimentation.
-
La prise de courant doit être protégée par un fusible à action retardée de 16 A au minimum.
-
N'effectuez aucune modification sur le cable d'alimentation ni sur le cordon d'alimentation.
- Protégez le cable d'alimentation de l'eau, de la chaleur, de l'huile et des arêtes vives. Ne laissez pas le cable d'alimentation passer sous l'appareil ou sous un tapis et ne posez aucun objet dessus.
1.4 Emplacement
A VERTISSEMENT
- Evitez de placer l'appareil dans un passage principal ou sur une échappée.
PRUDENCE
- Choisissez le lieu d'installation afin de/disposer de suffisamment d'espace autour de l'appareil afin de pouvoir circuler autour de celui-ci.
- Assurez-vous que la salle d'entrainment soit correctement aérée pendant l'entrainment et qu'elle ne soit pas exposée aux courants d'air.
-
Choisissez l'emplacement de maniere à disposer d'un espace libre suffisant (zone de sécurité) à l'avant, à l'arrête et sur les cots de l'appareil.
-
L'appareil doit se trouver sur une surface plane, résistante et solide.
ATTENTION
-
L'appareil doit être utilisé uniquement dans un local suffisamment aéré et sec (température ambiente entre 10^ et 35^ ). L'utilisation de l'appareil est interdite en plein air ou dans des locaux représentant un taux d'humidité élevé (plus de 70% ) tels que les piscines.
-
Utiliser un tapis de protection pour ne pas endommager les sols de qualite supérieure (parquet, stratifie, lieges, tapis) par des marques de pression ou des taches de transpiration et pour compenser les legeres inegalités du sol.
2.1 Instructions generales
DANGER
- Ne laissez pas les outils ainsi que les matériaux d'emballage, comme les films de protection, sans surveillance: ils représentent un danger pour les enfants (risque d'étouffement). Tenez les enfants éloignés de l'appareil pendant le montage.
A VERTISSEMENT
- Respectez les consignes apposées sur l'appareil pour réduire les risques de blessures.
PRUDENCE
- Pendant l'assemblage, veilles à dispose r d'un espace suffisant pour vous déplacer tout autour de l'appareil.
- L'assemblage de l'appareil doit être effectué par au moins deux adultes. En cas de doute, demandez l'aide supplémentaire d'une pierce personne ayant de bonnes connaissances techniques.
- ATTENTION
- Pour éviter tout endommagement de l'appareil et du sol, procédez au montage de l'appareil sur un tapis de sol ou sur le carton d'emballage.
① REMARQUE
- Pour facilitier le montage, des vis et des écrous peuvent être prémontés.
- Assemblez l'appareil si possible sur l'emplacement qui lui est réservé.
2.2 Contenu de la livraison
L'emballage comprend les pieces représentées ci-après. Vérifie que l'ensemble des pieces et outils appartenant à l'appareil sont compris dans la livraison et assurez-vous que l'appareil n'a pas été endommagé pendant le transport. En cas de réclamation, veuillez contacter immédiatement votre contractant.
1 PRUDENCE
Si le contenu de la livraison est incomplet ou si des pieces sont endommagées, ne montez pas l'appareil.

Acadre principal

G

B Barre de console

K Pedale gauche (K1) & Pedale droite (K2)


Adaptateur
A46Bouton rotatif


Outil
F Tige de selle & rail de selle
2.3 Montage
Avant de proceder à l'assemblage de l'appareil, observez bien attentivement les étapes de montage représentées et effectuez-les dans l'ordre indiqué.
① REMARQUE
Vissez d'abord toutes les pieces sans les serrer et vérifie qu'elles sont correctement ajustées.
Vous y serez invite, serrez les vis à l'aide de l'outil correspondant.
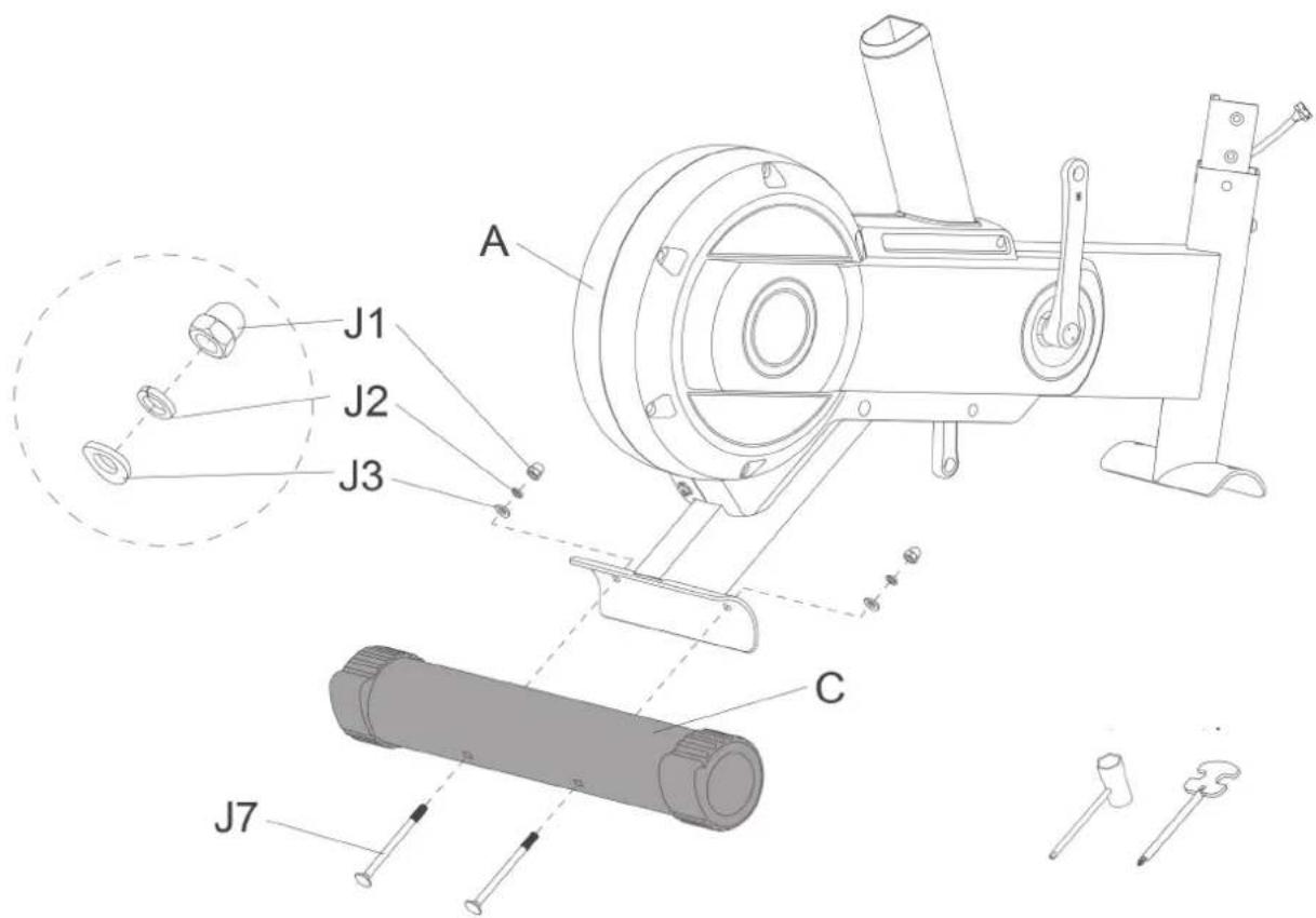
Étape 1 : montage du pied arrêté
Outil nécessaire: Clé à douille et outil à usage multiple
- Retirez les deux écrous prémontés (J1), deux rondelles élastiques (J2) et deux rondelles entretoises (J3) du pied arrêté (C).
- Fixez le pied arrêté (C) sur le cadre principal (A) à l'aide des deux écrous préalablement rétirés (J1), de deux rondelles élastiques (J2) et de deux rondelles entreprises (J3).

Étape 2 : montage du pied avant
Outil nécessaire: clé pour vis à six pans creux 6 mm
- Retirez les deux vis prémontées (J6), deux rondelles élastiques (J2) et deux rondelles entretoises (J3) du pied avant (D).
- Fixez le pied avant (D) sur le cadre principal (A) à l'aide des deux vis préalablement retirees (J6), de deux rondelles élastiques (J2) et de deux rondelles entretoises (J3).

Étape 3 : montage de la barre de console
Outil nécessaire: clé pour vis à six pans creux 6 mm
- Retirer les vis (J4), les rondelles élastiques (J12) et les rondelles entretoises (J5) du cadre principal (A).
- Reliez les cables (M1) et (M2) du capteur.
- ATTENTION
Lors de l'etape suivante, veiliez à ne pas coincer les cables.
- Positionnez la barre de console (B) sur le cadre principal (A).
- Fixez la barre de console (B) sur le cadre principal (A) à l'aide des vis (J4), des rondelles élastiques (J12) et des rondelles entroîises (J5) préalablement retirees.

Étape 4: montage du guidon
Outil nécessaire: clé à douille
- Retirez les écrous (J8) et les rondelles entreprises (J9) de la barre de console (B).
- ATTENTION
Lors de I'etape suivante, veiliez a ne pas coincer les cables.
- Positionnez le guidon (E) sur la barre de console (B).
- Fixez le guidon (E) sur la barre de console (B) à l'aide des écrous (J8) et des rondelles entreprises (J9) préalablement retires.

Étape 5 : montage de la console
Outil nécessaire: clé à douille et outil à usage multiple
- Retirez les vis (G1) au dos de la console (G).
- Branchez les cables (M2, M4 et M5) et le cable (M3) sur les fentes correspondantes de la console (G).
- ATTENTION
Lors de l'etape suivante, veillez à ne pas coincer les cables. Poussez les excédents de cables dans l'alésage de montage du guidon (E).
- Positionnez la console (G) sur la barre de console (B).
- Fixez la console (G) sur la barre de console (B) avec les vis préalablement demontées (G1).
- Insérez les piles fournies dans le compartment à piles. Veuillez vous reférer à cet effet aux instructions à la section 3.5.

Étape 7 : montage de la selle, de la tige de selle et du rail de selle
Outil nécessaire: clé pour vis à six pans creux 4 mm et clé à douille
- Retirez les écrous (H1) et les rondelles entretoises (H2) situées sur le bas de la selle (H).
- Placez la selle (H) sur le rail de selle (F2).
- Fixez la selle (H) sur le rail de selle (F2) à l'aide des écrous (H1) et des rondelles entretoises (H2) préalablement rétiés.
- Desserrez et tirez quelque peu le bouton rotatif (A46) du cadre principal (A) puis inserez la tige de selle (F) dans le support du cadre principal (A).
- Lorsque la tige de selle (F) est à la hauteur souhaitée, relâchéz le bouton rotatif (A46).
- Resserrez le bouton rotatif (A46).

ATTENTION
Vérifiez que le bouton rotatif (A46) s'enclenche fermement dans l'un des trous de la tige de selle (F).
- Retirez la vis (J11) de la tige de salle (F).
- Desserrez le bouton rotatif (F4) sur le rail de selle (F2).

- ATTENTION
Lors de l'etape suivante, du polystyrene est repoussé hors du rail de selle. Ne retirez le polystyrene qu'une fois le rail de selle (F2) fixé sur la tige de selle (F).
- Poussez le rail de selle (F2) sur le support de la tige de selle (F).
- Retirez maintainant le polystyrene.
- Resserrez le bouton rotatif (F4).
- Remontez la vis préalablement démontée (J11) sur la tige de selle (F).

Étape 8: montage des pédales
Outil nécessaire: outil à usage multiple
① REMARQUE
La pedale gauche est repereee par la lette L et la pedale droite par la lette R
-
Montez la pedale gauche (K1) sur le bras de manivelle gauche du cadre principal (A) en tournant la pedale (K1) dans le sens inverse des aiguilles d'une montre.
-
Montez la pedale droite (K2) sur le bras de manivelle croit du cadre principal (A) en tournant la pedale (K2) dans le sens des aiguilles d'une montre.
PRUDENCE
Veillez à visser complètement les pédales.

Serrez maintainant toutes les vis et tous les écrous!
Étape 9 : ajustement des pieds
Pour vous assurer que votre apparéil repose bien à plat sur le sol, ajustez les capuchons de réglage (C1 et C2) du pied arrêté (C) en les tournant.

Étape 10: Branchement de l'appareil
- ATTENTION
Ne branche pas l'appareil sur une multiprise ; il risque sinon de ne pas etre suffisamment alimenté en courant. Cela risque de provoquer des dysfonctionnements.
Branchez le codon d'alimentation dans une prise conforme aux prescriptions individues dans le chapitre Sécurité électrique.

2.4 Réglage de l'appareil
2.4.1 Réglage horizontal de la selle
Pour avancer et reculer la selle (H), desserrez légèrement le bouton rotatif (F4) puis tirez-le. Amenez le rail (F2) dans la position souhaiée sur la tige de selle (F). Refaites encliqueter le bouton rotatif et serrez-le.
2.4.2 Réglage vertical de la selle
Pour régler la hauteur de la selle, desserrez d'abord légèrement le bouton rotatif (A46) sur la tige de selle (F) du cadre principal (A). Tirez quelque peu le bouton rotatif (A46) et amenez la tige de selle (F) à la hauteur souhaitée. Refaites encliqueter le bouton rotatif (A46) et serrez-le.

① REMARQUE
Avant de commencer l'entrainment, familiarisez-vous avec toutes les fonctions et possibilités de réglage de l'appareil. Pour savoir comment utiliser correctement ce produit, demandez les conseils d'un spécialiste.
3.1 Affichage de la console

| Time (durée) Le comptage | du temps s'effectue de 00:00 à 99:59 maxi |
| Speed(vitesse) | Indique la vitesse momentanée. La vitesse maximale est de 99,9 km/h ou mph. |
| RPM (cadence; nombre de tours par minute) | Indique le nombre de tours par minute.Plage de 0 à 999 tours par minute (RPM). |
| Distance(distance) | Indique la distance totale de 0,0 à 999,9 km ou miles par pas de 0,1 km ou mile.Vous pouze prérégler une distance souhaitée à l'aide des touches UP ou DOWN. |
| Calories(calories brûlées) | Compte le nombre de calories brûlées pendant l'entrainment (de 0 à 9 999 calories maxi). L'unité de réglage est de 10 kcal. (ces données ne fournissent qu'une indication approximative et elles ne peuvent pas été utilisées à titre Médical.) |
| Pulse(fréquence cardiaque; nombre de pulsationscardiaques par minute) | Réglez un pouls cible de 0 - 30 à 230. |
| Watt/Load(puissance/résistance) | Indique la puissance de résistance momentanée en watts.Plage de réglage entre 0 et 999. |
3.2 Fonction des touches
| START/STOP | Démarrage ou arrêt de l'entrainment. Appuyez sur cette touche en mode veille pour démarrer la fonction Quick Start dans le programme MANUAL. |
| DOWN RÉduction des | valeurs fonctionnelles ou de la résistance d'entrainment |
| UP | Augmentation des valeurs fonctionnelles ou de la résistance d'entrainment |
| ENTER Validation des | saisies |
| RESET | Réinitialisation des valeurs raisées ; l'écran returne au mode d'entrainment initial. En mode veille, appuyez pendant deux secondes sur la touche pour tout réinitialiser. |
| RECOVERY Activation | de la fonction de récapération |
| RECORDED DATA Appuyez sur la touche en mode Stop pour vérifier les données/valeurs. | |
| SAVE/DELETE | SAVE : Appuyez sur STOP pour interrompre l'entrainment. L'écran vous demande si vous souhaitez mémoriser les données. Appuyez sur SAVE DELETE : Lorsque vous vérifiez les données mémorisées, appuyez sur DELETE. Le système vous demande si vous souhaitez également effacer les données. Validez à l'aide de la touche ENTER. |
| PROGRAMM MODE Touche de sélection rapide des profils de programmes préinstallés | |
| HEART RATE CONTROL | Touché de sélection rapide des programmes basés sur la fréquence cardiaque |
| WATT CONSTANT Touche de sélection rapide des programmes basés sur le nombre de watts | |
3.3 Mise en marche de l'appareil et premiers réglages
- Branchez l'appareil ou appuyez sur RESET pendant deux secondes.
L'écran LCD affiche tous les segments pendant deux secondes et un signal sonore retentit (voir schéma 1).
- Procedez alors aux réglage de la date et de l'heure (schemas 2 à 5).
- Reglez l'heure et la date à l'aide des touches UP/DOWN.
- Valdez à l'aide de la touche ENTER.

Scheme 1 Scheme 2


Scheme 3 Scheme 4


Scheme 5
- Appuyez sur la touche UP/DOWN pour selectionner un utilisateur (U) de 1 à 4.
- Valdez à l'aide de la touche ENTER (fig. 6).
- Entrez votre sexe, votre âge, votre taille et votre poids (schémas 7 à 10).

Scheme 6

Scheme 7

Scheme 8 Scheme 9


Scheme 10
3.4 Programmes
Les programmes suivants sont disponibles :
MANUAL - PROGRAM - USER PROG - WATT - H.R.C (fig. 11 à 15).

Scheme 11

Scheme 12

Scheme 13

Scheme 14

Scheme 15
3.4.1 QUICK START dans le programme manuel
- Appuyez sur ENTER dans le programme MANUAL (schéma 16).
- Appuyez sur START/STOP pour démarrer l'entraînement (schéma 17).
① REMARQUE
Yououpouvezmodifierlaresistancependantl'entraînement.
- Appuyez sur START/STOP pour arrêtier l'entrainment.

Scheme 16 Scheme 17

3.4.2 Manual Mode - Mode manuel
- Sélectionnez MANUAL et appuyez sur ENTER pour valider (scheme 16).
- Augmentez ou réduisez le niveau d'intensité (de 1 à 16) avec les touches UP/DOWN.
- Valdez à l'aide de la touche ENTER.
① REMARQUE
Vous pouvez préregler des valeurs cibles telles que le temps (TIME), la distance (DISTANCE) ou les calories (CALORIES).
- Appuyez sur START/STOP pour démarrer l'entrainment (scheme 17).
- Appuyez sur RESET pour returner au mode MANUAL.
① REMARQUE
Yououpouezmodifierarésistancependantl'entrainment.
3.4.3 Programmes à profil
- Àpès avoir accédé au Mode PROGRAM (schéma 18), vous pouvez désirir un programme de colline parmi les 12 disponibles à l'aide des touches UP/DOWN (schémas 19 à 30). Validez à l'aide de la touche ENTER.
① REMARQUE
Yououpouvezpreréglerte temps(TIME).
- Appuyez sur START/STOP pour démarrer l'entrainment (schéma 31).
Un compte à rebours du temps est lancé des que vous démarrez l'entrainment. Une fois le compte à rebours terminé, l'écran s'allume et un signal sonore retentit.
- Pour arrêté le signal, appuyez sur une touche quelconque.

Scheme 18

Scheme 19

Scheme 20

Scheme 21


Scheme 23Scheme 22

Scheme 24 Scheme 25


Scheme 26 Scheme 27


Scheme 28

Scheme 29

Scheme 30 Scheme 31

3.4.4 Programme définir par l'utilisateur
- Sélectionnez le programme définir par l'utilisateur (mode PROGRAM, voir schéma 32).
Lorsque vous avez selectionné le programme définir par l'utilisateur (mode PROGRAM, voir fig. 32), le premier segment clignote (fig. 33).
- Vous pouvez définir un niveau de résistance / niveau d'intensité pour ce segment à l'aide des touches fléchées et composer ainsi votre propre programme d'entrainment.
- Une fois que vous avez défini le niveau d'intensité pour les 20 segments, maintenez la touche ENTER appuyée pendant deux secondes.
Le profil du programme est ménorisé et vous pouvez poursuivre les réglages en saisissant la durée d'entrainment.
- Vous pouvez encore définir des valeurs cibles pour le temps (TIME), la distance (DISTANCE) et les calories (CALORIES).
L'ordinaire arrête automatiquement l'entraînement des qu'une de ces valeurs cibles est atteinte. - Si vous souhaitez sauter la saisie des valeurs cibles et commencer directement l'entrainment, appuyez sur START/STOP (fig. 43).

Scheme 32 Scheme 33


Scheme 34
3.4.5 Programme basé sur les watts
- Sélectionnez le programme basé sur les watts (mode WATT).
Lorsque vous avez selectionné le programme basé sur les watts (mode WATT), la valeur par défaut des watts clignote (120 watts). Vous pouvez régler le nombre de watts souhaïte (entre 10 et 350 watts) à l'aide des touches fléchéées.
-
Appuyez sur ENTER pour régler les valeurs cibles.
-
Appuyez sur la START pour démarrer immédiatement l'entrainment.
-
Vous pouvez définir des valeurs cibles pour le temps (TIME), la distance (DISTANCE) et les calories (CALORIES).
L'ordinateur arrête automatiquement l'entrainment des qu'une de ces valeurs cibles est atteinte.
- Si vous souhaitez IGnorer la saisie des valeurs cibles et commencer directement I'entrainement, appuyez sur START/STOP.

Scheme 35

Scheme 36

Scheme 37
3.4.6 Contrôle de la fréquence cardiaque

AVERTISSEMENT
Votre appeareil d'entrainment n'est pas un dispositif medicaI. La mesure de la frquence cardiaque n'est pas toujours précise. La precision de la frquence cardiaque indiquee peut etre alteree par differents facteurs. L'affichage de la frquence cardiaque sert uniquement de reference pour votre entrainment.
- En mode H.R.C (schéma 38), l'écran affiche 55% , 75% , 90% et TARGET (cible) (schémas 32 à 35). Sélectionnez la fréquence cardiaque souhaïée à l'aide des touches UP/DOWN.
① REMARQUE
You pouvez prerégler le temps (TIME).
- Appuyez sur START/STOP pour démarrer l'entrainment.
Un compte à rebours du temps est lancé des que vous démarrez l'entrainment. Une fois le compte à rebours terminé, l'écran s'allume et un signal sonore retentit.
- Pour arrêté le signal, appuyez sur une touche quelconque.
① REMARQUE
Si aucun pouls n'est détecté dans un-delai de six secondes, l'écran LCD affiche le message de rappel « PULSE INPUT » jusqu'à ce qu'un pouls soit détecté (schéma 43).

Scheme 38

Scheme 39

Scheme 40 Scheme 41


Scheme 42

Scheme 43
3.4.7 Récupération
- À la fin de votre entrainment, appuyez sur RECOVERY et saississe les deux poignées.
Tous les affichages sont désactivés sauf celui du temps (TIME). Un compte à rebours de 00:60 à 00:00 est alors lancé (schéma 44).
① REMARQUE
Lorsque la console détecte un pouls, l'écran LCD affiche RECOVERY SCANNING. Si la console ne détecte pas de pouls, l'écran LCD affiche le message de rappel PULSE INPUT! L'écran affiche votre niveau de récapération sous la forme d'une note entre F1 et F6 (fig. 45). F1 correspond au niveau le plus élevé, F6 au niveau le plus bas. Un entrainment régulier vous aidera à améliorer votre niveau de récapération.
- Pour returner à l'écran principal, appuyez de nouveau sur RECOVERY.

Scheme 44 Scheme 45

3.4.8 Mémorisation des données
- ÀpRES la mise en marche de l'appareil, saisissez la date/l'heure et les données d'utilisateur U1 à U4 (schémas 46 à 55). Veillez à saisir correctement la date et l'heure.
- Appuyez sur START/STOP pendant l'entraînement pour interrompre l'affichage et appuyez sur la touche SAVE/DELETE. L'écran affiche SAVE FINISH (schéma 56).

Les valeurs d'entraînement sont maintainant méorises.
① REMARQUE
La console méorise toutes les valeurs d'entrainment, la durée, la vitesse moyenne, le nombre moyen de tours par minute, le nombre moyen de watts, la distance et les calories.

Scheme 46 Scheme 47










Scheme 56
3.4.9 Contrôle et effacement des données méorisées
- Pour vérifier ces données, appuyez sur la touche RECORDED DATA dans le menu principal. Appuyez ensuite sur UP/DOWN pour consulter les données préalablement méorises (schema 57).
- Sélectionnez les données et appuyez sur SAVE/DELETE. Confirmez l'effacement des données en appuyant sur ENTER (schéma 58).
- Effacer toutes les données: en mode saisie du calendrier ou RECORDED DATA, appuyez sur SAVE/DELETE pendant six secondes. L'écran affiche DELETE ALL! (schéma 59). Validez à l'aide de la touche ENTER.
Toutes les données sont effacées (schéma 60).
① REMARQUE
Au bout de 15 secondes, l'ordinateur redemarre et returne à la saisie du calendrier 20170101.

Scheme 57 Scheme 58


Scheme 59 Scheme 60

3.5 Compartiment à piles
Le calendrier fonctionne avec une pile. Pour régler le calendrier, vous devez d'abord insérer une pile et redémarrer la console (schéma 61).

Scheme 61

- Desserrez la vis du compartmente t pile.
- Retirez le cache du compartment à pile.
- Insérez la pile puis reférer que le cache en serrant la vis.
① REMARQUE
- Si vous arrêtez de pédaler pendant quatre minutes, l'ordinateur passé en mode économique d'énergie. Toutes les saisies et les valeurs d'entrainment restent méorises jusqu'à ce que vous repreneiez l'entrainment.
- Si l'ordinateur ne fonctionne pas, débranche puis rebranche la prise.
4.1 Instructions generales
AVERTISSEMENT
-
Stockez l'appareil dans un lieu où il reste hors de portee de tiers ou d'enfants.
-
Si vous appeareil ne dispose pas de roulettes de déplacement, il convient de le démonter avant son transport.
- ATTENTION
- Veillez à ce que l'appareil soit protégé contre l'humidité, la saleté et la poussière. Le lieu de stockage doit être sec, correctement aéré etprésenter une température ambiente entre 10^ et 35^ .
4.2 Roulettes de déplacement
- ATTENTION
Si vous devez déplacer votre apparéil sur un revêtement de sol particulièrement sensible et souse (parquet, stratifié ou planchers), recouvre le sol de carton ou d'un matériel siamaire afin d'éviter tout risque d'endommagement.
- Placez-vous derrière l'appareil et soulevez-le jusqu'à ce que son poids soit reporté sur les roulettes de déplacement. Vous pouvez ensuite déplacer facilement l'appareil vers l'endroit souhaité. Si vous nevez déplacer l'appareil sur une plus longue distance, veuillez démonter l'appareil et l'emballer en toute sécurité.
- Choisissez le nouvel emplacement de l'appareil en respectant les consignes mentionnées dans le chapitre du mode d'emploi.

5.1 Instructions generales
A VERTISSEMENT
- Ne procedez à aucune modification non conforme sur l'appareil.
PRUDENCE
- Toute piece endommagée ou usée peut compromètreVote sérurité et affercter la durée de vie de l'appareil. Remplacez par conséquent immediatement les composants endommages ou usés.Adressez-vous à cet effet à votre contractant.N'utilise pas l'appareil tant qu'il n'est pas remis en état.Si vous nevez remplacer des pièces,utilisez exclusivement des pieces de rechange d'origine.
- ATTENTION
- Outre les instructions et recommendations de maintenance et d'entretien mentionnées dans leprésent mode d'emploi, des prestation de service et/ou de réparation peuvent être nécessaires; ces opérations ne doivent être effectuées que par des techniciens SAVabilités.
5.2 Défauts et diagnostic des pannes
L'appareil a fait l'objet de contrôle des qualités réguliers tout au long de sa production. Il peut toutes arriver que l'appareil présente des défauts ou des dysfonctionnements. Les pieces détachées sont souvent à l'origine de ces défaillances, auquel cas un remplacement de ces pieces est suffisant. Vous trouvrez ci-après un aperçu des défauts les plus fréquents ainsi que les solutions de dépannagedéquates. Si l'appareil ne fonctionne toutegois toujours pas correctement, veuillez vous adresser àvoierte contractant.
| Défaut Cause Remède | ||
| Bruits de claquement au niveau du pédalier | Pédales desserrées | Resserrez les pédales |
| L'appareil vacille | L'appareil n'est pas droit | Ajustez les pieds |
| Le guidon/la selle vacille | Vis desserrées | Serrez fermement les vis |
| L'écran est noir/ne fonctionne pas. | Piles usées ou câbles mal branchés | Changez les piles ou vérifie le branchement des câbles / contrôle le bloc d'alimentation |
| La fréquence cardiaque ne s'affiche pas | + Interférences dans la piece + Ceinture pectorale incompatible + Ceinture pectorale mal positionnée + Ceinture pectorale défectueuse ou pile usée + Affichage du pouls défectueux | + Éliminez les interférences (par ex. téléphone portable, Wi-Fi, tondeuse ou aspirateur, etc....) + Utilisez une ceinture pectorale adaptée (voir „ACCESSIONS RECOMMANDÉS“) + Positionnez correctement la ceinture pectorale et/ou humidifiez les electrodes + Changez les piles + Vérifiez que l'affichage de la fréquence cardiaque est possible via les capteurs tactiles |
5.3 Calendrier d'entretien et de maintenance
Pour éviter tout endommagement causé par la transpiration, il convient de nettoyer l'appareil avec une serviette humide (sans solvant!) après chaque séance d'entrainment.
Les opérations d'entretien suivantes sont à effectuer dans les intervalles de temps indiqués :
| Pièce | Une fois parSEMaine | Une fois parmois |
| Écran de console N I | ||
| Revêtements en plastique N I | ||
| Vis et câbles I | ||
| Vérifiez que les pédales sont bien serrées. | I | |
| Légende : N = nettoyage ; I = inspection | ||
6 ELIMINATION
À la fin de sa durée de vie, l'appareil ne doit pas être éliminé avec les déchets menagers. Il doit être confié à un centre de collecte spécialisé dans le recyclage des appareils électriques et électroniques. Pour de plus amples informations, contactez le centre compétent d'élimination des déchets le plus proche de chez vous.

Les matériaux sont recyclables, conformément à leur marquage. Par le recyclage des matières, la réutilisation ou d'autres formes de valorisation des ancients apparèils, vous prenez actively part à la protection de notre environnement.
7 ACCESSOIRES RECOMMANDÉS
Pour rendre votre entrainment encore plus/agreable et efficace, nous vous recommendons de compléter votre apparéil de fitness par des accessoires déquats. Un tapis de sol vous permettra de poser votre apparéil de fitness en toute sécurité, tout en protégéant votre sol des taches de transpiration. Vous pouvez également vous procurer des mains courantes supplémentaires pour votre tapis de course ou un spray à base de silicone pour entrenir les pièces mobiles.
Si vous appeareil de fitness proposer un entrainement basé sur la fréquence cardiaque, nous vous recommendons vivement l'utilisation d'une ceinture pectorale compatible afin de garantir une transmission optimale de votre fréquence cardiaque. Vous pouvez également compléter votre apparéil de musculation par des poignées de traction ou des poids supplémentaires.

Notre gamme d'accessoires offre une qualite optimale pour rendre votre entrainement encore plus efficace. Pour toute information sur nos accessoires compatibles, rendez-vous sur notre boutique en ligne et consultez le descriptif détaillé de nos produits. Il suffit a cet effet de saisir le numero d'article correspondant en haut dans le champ de recherche. Vous serez alors dirigé vers les accessoires recommandés. Vous pouvez également utiliser le code QR mis à disposition. Vous avez bien sur également la possibilité de contacter notre service clientèle par téléphone, par mail, dans l'un de nos magasins ou via les reseaux sociaux. C'est avec plaisir que nous vous conseillerons!

8.1 Numéro de série et désignation du modele
Afin de vous assurer le meilleur service possible, nous devons connaître la désignation du modele, le numero d'article, le numero de série, la vue éclatée et la liste des pieces. Vous trouvez les données de contact correspondantes au chapitre du mode d'emploi.
① REMARQUE
Le numéro de série de votre apparéil est unique. Il se trouve sur un autocollant blanc. La position exacte de l'autocollant est indiquée sur la figure ci-après.

Entrez le numéro de série dans le champ correspondant.
Numéro de série :
Marque / catégorie :
cardiostrong / vélo d'appartement
Désignation du modele :
BX50
Référence article :
CST-BX50-2
8.2 Listes des pieces
| Nr. Naam (ENG) Aan. Nr. Naam (ENG) Aan. | |||||
| A1 MAIN FRAME 1 A32 FIX PLATE 1 | |||||
| A2 CHAIN COVER-L 1 A33 NUT M6 2 | |||||
| A3 CHAIN COVER-R | 1 A34 ADJUSTED SCREW 2 | ||||
| A4 CRANK-L | 1 A35 SPRING | 1 | |||
| A5 CRANK-R | 1 A36 NUT M8 5 | ||||
| A6 END CAP | 2 A37 SPACER | 2 | |||
| A7 SCREW M8x12 | 3 A38 BEARING | 4 | |||
| A8 AXLE 1 A39 IDLER WHEEL | 2 | ||||
| A9 BELT WHEEL | 2 | A40 | IDLER WHEEL FRAME | 1 | |
| A10 MAGNET | 1 | A41 | NUT M10 | 1 | |
| A11 BELT 220 6PJ | 1 A42 WASHER M8 | 2 | |||
| A12 SCREW M8x20 | 1 A43 NUT M6 1 | ||||
| A13 SPRING WASHER M8 | 1 | A44 | SCREW M10x20 | 1 | |
| A14 WASHER M8 | 1 A45 SCREW M4x13 | 13 | |||
| A15 PARALLEL KEY | 1 A46 KNOB | 1 | |||
| A16 SMALL BELT WHEEL | 1 | A47 | PLASTIC INSERT | 1 | |
| A17 SPACER | 1 | A48 | SCREW M8x50 | 1 | |
| A18 BEARING 6004 | 2 | A49 | BUSH | 1 | |
| A19 SCREW M4x11.5 | 2 | A50 | MAGNETIC HOUSING | 1 | |
| A20 SENSOR WIRE HOUSING | 1 | A51 | MAGNET | 9 | |
| A21 SENSOR WIRE | 1 | A52 | NUT | 5 | |
| A22 DC JACK | 1 | A53 | BEARING | 1 | |
| A23 BEARING 6203 | 2 | A54 | BEARING 6003 | 2 | |
| A24 BELT | 1 | A55 | FLY WHEEL | 1 | |
| A25 BUSH | 1 | A56 | AXLE | 1 | |
| A26 BUSH | 1 | A57 | SMALL BELT WHEEL | 1 | |
| A27 AXLE 1 A58 BEARING 6800 | 1 | ||||
| A28 MOTOR | 1 | A59 | SCREW M8x40 | 1 | |
| A29 BOLT | 1 | A60 | SCREW M8x20 | 1 | |
| A30 NUT M3 | 1 | A61 | IDLER WHEEL FRAME | 1 | |
| A31 SCREW M5x25 | 1 | A62 | SCREW M5x8 | 1 | |
| B1 CENTRAL SUPPORTING TUBE 1 J3 WASHER M8 4 | ||||
| B2 BOTTLE HOLDER COVER-L 1 J4 SCREW M8x12 4 | ||||
| B3 BOTTLE HOLDER COVER-R 1 J5 WASHER M8 4 | ||||
| C1 REAR STABILIZER 1 J6 SCREW M8x16 2 | ||||
| C2 END CAP-L 1 J7 SCREW M8x105 2 | ||||
| C3 END CAP-R 1 J8 NUT M8 2 | ||||
| D1 | FRONT STABILIZER | 1 J9 WASHER M8 2 | ||
| D2 | END CAP | 2 | J10 | SCREW M4x16 4 |
| D3 | TRANSPORTATION WHEEL | 2 | J11 | SCREW M5x8 1 |
| D4 | SCREW M5x12 | 4 | J12 | SPRING WASHER 4 |
| E1 | HANDLE BAR TUBE | 1 | K1 | PEDAL-L 1 |
| E2 | SPONGE HDR | 2 | K2 | PEDAL-R 1 |
| E4 | END CAP | 2 | M1 | SENSOR WIRE 650mm 1 |
| E5 | UPPER HANDLE PULSE HOUSING | 2 | M2 | SENSOR WIRE 850mm 1 |
| E6 | LOWER HANDLE PULSE HOUSING | 2 | M3 | SENSOR WIRE 600mm 2 |
| E7 | SCREW M3x10 | 4 | M4 | SENSOR WIRE 650mm 1 |
| E8 | SCREW M3x10 | 4 | M5 | SENSOR WIRE 650mm 1 |
| E9 | TOGGLE LOAD - | 1 | ||
| E10 | TOGGLE LOAD + | 1 | ||
| F1 | SEAT TUBE | 1 | ||
| F2 | SEAT BASEMENT | 1 | ||
| F3 | PLASTIC PIPE | 2 | ||
| F4 | KNOB | 1 | ||
| F5 | GAP BLOCK | 1 | ||
| F6 | END CAP | 2 | ||
| G | CONSOLE 1 | |||
| G1 | SCREW M5x10 | 4 | ||
| H | SADDLE | 1 | ||
| H1 | NUT M8 | 3 | ||
| H2 | WASHER M8 | 3 | ||
| I | ADAPTER | 1 | ||
| J1 | NUT M8 | 2 | ||
| J2 | SPRING WASHER M8 | 4 | ||

Les apparêls d'entrainment de cardiostrong® sont soumis à un contrôle de qualité rigoureux. Si, malgré les soins apportés, votre apparéil de fitness ne fonctionnait pas de manière irréprochable, nous le regrettons vivement et nous vous invitons à prendre contact avec notre service clientèle. Notre ligne d'assistance technique se tient volontiers à votre disposition par téléphone.
Descriptions de défauts
Votre apparéil d'entrainment a été concu pour vous garantir en permanence un entrainment de haut niveau. Toutefois, en cas de problème, veuilles d'abord dire le mode d'emploi. Si vous ne parvenez pas à résoudre vous-même le problème, adressez-vous à votre contractant ou à notre ligne d'assistance gratuite. Pour pouvoir résoudre vos problèmes dans les autreslds, veuilles décrire le défaut le plus précisément possible.
Outre la garantie legale, nous accordons une garantie sur tous les apparciels de fitness achetés chez nous dans la mesure des dispositions suivantes.
Cela n'affecte en aucune façon vos droits légaux.
Le bénéficiaire de la garantie est le premier acheteur ou toute personne ayant reçu en cadeau un produit neuf acheté d'un premier acheteur.
Délays de garantie
Dés la livraison de l'appareil, nous vous offrons une garantie dessus, dont la durée est précisé sur notre boutique en ligne. Vous trouvrez la durée de la garantie de votre apparéil sur la page du produit correspond de notre site internet.
Frais de remise en état
L'indemnisation garantie se fait selon notre choix par réparation, par échange des pieces endommagées ou par échange de l'intégrality de l'appareil. Les pieces de rechange à monter soimème lors de l'assemblage de l'appareil doivent être remplacées par le bénéficiaire de la garantie lui-même et ne sont pas prévues dans la remise en état. Àpres expiration de la période de garantie pour les frais de remise en état, une garantie sur les pieces est accordée mais elle n'inclut pas les frais de réparation, de montage et d'expédition.
Les périodes d'utilisation sont définies comme suit :
- Utilisation à domicile : exclusivement usage privé à domicile jusqu'à 3 heures par jour
- Usage semi-professionnel : jusqu'à 6 heures par jour (par ex. centres de rééducation, hôtels, clubs, salle de fitness en entreprise)
- Usage professionnel : plus de 6 heures par jour (par ex. en salle de gym)
Service Garantie
Durant la période de garantie, les apparciels presentant des dysfonctionnement dus à des defaults du matériel utilisé ou des defaults de fabrication seront, à notre appréciation, réparés ou remplacés. Les pieces ou apparciels échangés deviennent notre propriété. Les prestations de la garantie n'entrainnent ni une prolongation ni un renouvellement du dél et de garantie.
Conditions de garantie
Pour pouvoir faire usage de la garantie, il convient de procesder comme suit :
Prenez contact par courriel ou par téléphone avec le service clientèle. Si le produit sous garantie doit être envoyé pour réparation, les frais encourus sont à la charge du vendeur. Àpres expiration de la garantie, les frais de transport et d'assurance sont à la charge de l'acheteur. Si le défaut entre dans le cadre de notre prestation de garantie, un apparéil réparé ou un apparéil neuf vous sera envoyé.
Les droits à la garantie sont exclus dans le cas de dommages causés par :
- une utilisation incorrecte ou non conforme
- les influences environnementales (humidité, chaleur, poussière etc.)
- le non-respect des consignes de sécurité applicables à l'appareil
- le non-respect des consignes figurant dans le mode d'emploi
+desviolences(par ex.chocs,coups,chutes) - des interventions effectuees par un service après-vente autre que ceux agreés
- des tentatives de réparation effectuees par l'acheteur
Justificatif d'achat et numero de série
Assurez-vous d'être en mesure deprésenter la facture correspondante en cas de recours à la garantie. Afin de pouvoir identifier clairément la version de votre méthode et pour notre contrôle de qualité, nous devons connaître, pour toute intervention S.A.V, le numéro de série de votre apparéil. Notez si possible le numéro de série ainsi que votre número client avant d'appeler notre ligne d'assistance. Cela facilititera le traitement de votre demande.
Si vous avez des difficultés à tracer le numéro de série de votre apparéil d'entrainment, demandez de l'aide auprès de nos collaborateurs du service après-vente.
Service hors garantie
En cas de défectuosié de votre apparéil d'entrainement après expiration de la garantie ou si le défaut n'entre pas dans le cadre de la prestation de garantie (par ex. dommages dus à une usure normale), nous nous tenons à votre disposition pour vous proposer une offre personalisée. Veuillez vous adresser à notre service clientèle afin de tracer une solution rapide et économique à votre problème. Dans ce cas, les frais d'envoi seront à votre charge.
Communication
Un entretien avec nos spécialistes suffit dans de nombreux cas à remédier à vos problèmes. Nous savons combien il est important pour vous que les problèmes soient résolusrapidement et simplement afin que vous puissiez profiter des joies de l'entrainment sans subir de longues périodes d'interruption. Il est également dans notre intérêt de追寻 une solution rapide et non budacratique à votre demande. Gardez donc à portée de main votre numéro client ainsi que le numéro de série de l'appareil défectueux.
DEDKFR
TECHNIQUE TECHNIQUE & SERVICE TECHNIQUE & SERVICE

+49 4621 4210-900

+4946214210-698

technik@sport-tiedje.de

Lu-ve 08h00-18h00
Sa
h00-18h00
SERVICE

0800 20 20 277
(relativit)

info@sport-tiedje.de

Lu -ve 08h00 -21:00
Sa 09h00 - 21:00
Dim
10h00-18h00

80901650
+4946214210-945

info@fitshop.dk

Lu-ve 08h00-18h00
Sa
9h00-18h00

+33 (0) 172 770033
+49 4621 4210-933

Voutrouvrez sur cette page web une liste détaillée de tous les magasins du Groupe Sport-Tiedje en France et à l'étranger, avec leur adresse et leurs horaires d'ouverture.
www.fitshop.fr/apercu-de-nos-succursales
NOUS VIVONS LE FITNESS
BOUTIQUE EN LIGNE ET RÉSEaux SOCIAUX
Avec plus de 70 succursales, Fitshop est le plus grand marché spécialisé d'appareils de fitness à domicile en Europe et compte parmi les sociétés de vente en ligne les plus renommées dans le domaine de l'équipment de fitness. Plus de 25 boutiques en ligne sont disponibles pour les particuliers dans la langue de leur pays. Des magasins vous accueillent également pour composer l'appareil de votrechoix. La société fournit également les salles de gym, hotels, clubs de sports, entreprises et cabinets de kinésithérapie en appareils d'endurance et de musculation concus pour un usage professionnel.
Fitshop offre une large gamme d'appareils de fitness de fabricants renommés, ainsi que ses propres produits et des prestations de service complètes (service de montage et conseils de professionnels avant et après l'achat de votre apparêils). L'entreprise emploie à cet effet de nombreux spécialistes scientifiques du sport, entraineurs de fitness et athètes de compétition.
N'hésitez pas à nous rendre visite sur les réseaux sociaux ou sur notre blog!

Notes

Notice Facile