PAI8100F - Cuisinière PROGRESS - Notice d'utilisation et mode d'emploi gratuit
Retrouvez gratuitement la notice de l'appareil PAI8100F PROGRESS au format PDF.
| Type de table | Non précisé |
| Nombre de foyers | 4 |
| Type de foyer | Électrique / Vitrocéramique |
| Commandes | Manettes rotatives |
| Dimensions (L x P) | Non précisé |
| Puissance totale | Non précisé |
| Sécurité | Arrêt automatique |
| Matériau de surface | Vitrocéramique |
| Couleur | Noir |
| Installation | Encastrable |
| Type d'alimentation | Électrique |
| Fonctions spéciales | Minuterie, indicateur de chaleur résiduelle |
| Nettoyage | Facile, surface lisse |
| Garantie | Non précisé |
FOIRE AUX QUESTIONS - PAI8100F PROGRESS
Téléchargez la notice de votre Cuisinière au format PDF gratuitement ! Retrouvez votre notice PAI8100F - PROGRESS et reprennez votre appareil électronique en main. Sur cette page sont publiés tous les documents nécessaires à l'utilisation de votre appareil PAI8100F de la marque PROGRESS.
MODE D'EMPLOI PAI8100F PROGRESS
Informations de sécurité 36 Consignes de sécurité 38 Description de l'appareil 40 Utilisation quotidienne 42 Conseils 45
Entretien et nettoyage 47 En cas d'anomalie de fonctionnement 47 Installation 50 Caractéristiques techniques 52 Rendement énergétique 52
Sous réserve de modifications.
Avant d'installer et d'utiliser cet appareil, lisez soigneusement les instructions fournies. Le fabricant ne pourra être tenu pour responsable des blessures et dégâts résultant d'une mauvaise installation ou utilisation. Conservez toujours les instructions dans un lieu sûr et accessible pour vous y référer ultérieurement.
Sécurité des enfants et des personnes vulnérables
- Cet appareil peut être utilisé par des enfants de plus de 8 ans, ainsi que des personnes dont les capacités physiques, sensorielles et mentales sont réduites ou dont les connaissances et l'expérience sont insuffisantes, à condition d'être surveillés ou d'avoir reçu des instructions concernant l'utilisation sécurisée de l'appareil et de comprendre les risques encourus.
- Ne laissez pas les enfants jouer avec l'appareil.
- Ne laissez pas les emballages à la portée des enfants et jetez-les convenablement.
- Tenez les enfants et les animaux éloignés de l'appareil lorsqu'il est en cours de fonctionnement ou lorsqu'il refroidit. Les parties accessibles sont chaudes.
- Si l'appareil est équipé d'un dispositif de sécurité enfants, nous vous recommandons de l'activer.
- Les enfants ne doivent pas nettoyer ni entreprendre une opération de maintenance sur l'appareil sans surveillance.
- Les enfants de moins de 3 ans doivent être tenus éloignés de l'appareil en permanence lorsqu'il est en fonctionnement.
Sécurité générale
- AVERTISSEMENT: L'appareil et ses parties accessibles deviennent chauds pendant son fonctionnement. Veillez à ne pas toucher les éléments chauffants. Les enfants de moins de 8 ans doivent être tenus à l'écart, à moins d'être surveillés en permanence.
- Ne faites pas fonctionner l'appareil avec un minuteur externe ou un système de commande à distance.
- AVERTISSEMENT : Il peut être dangereux de laisser chauffer de la graisse ou de l'huile sans surveillance sur une table de cuisson car cela pourrait provoquer un incendie.
- N'essayez JAMAIS d'éteindre un feu avec de l'eau. Éteignez l'appareil puis couvrez les flammes, par exemple avec un couvercle ou une couverture ignifuge.
- ATTENTION : Toute cuisson doit être surveillée. Une cuisson courte doit être surveillée en permanence.
- AVERTISSEMENT : Risque d'incendie ! N'entreposez rien sur les surfaces de cuisson.
- Ne posez pas d'objets métalliques tels que couteaux, fourchettes, cuillères ou couvercles sur la table de cuisson car ils pourraient chauffer.
- N'utilisez pas de nettoyeur vapeur pour nettoyer l'appareil.
- Après utilisation, éteignez toujours la zone de cuisson à l'aide de la manette de commande correspondante et ne vous fiez pas à la détection des récipients.
- Si la surface vitrocéramique / en verre est fissurée, éteignez l'appareil pour éviter tout risque d'électrocution.
- Si le câble d'alimentation est endommagé, il doit être remplacé par le fabricant, un service de maintenance/agréé ou un technicien qualifié afin d'éviter tout danger.
- AVERTISSEMENT : Utilisez uniquement les dispositifs de protection pour table de cuisson conçus ou indiqués comme adaptations par le fabricant de l'appareil de cuisson dans les instructions d'utilisation, ou les dispositifs de protection pour table de cuisson intégrés à l'appareil. L'utilisation de
Installation

AVERTISSEMENT! L'appareil doit être installé uniquement par un professionnel qualifié.
- Retirez l'intégralité de l'emballage.
- N'installez pas et ne branchez pas un appareil endommagé.
- Suivez scrupuleusement les instructions d'installation fournies avec l'appareil.
- Respectez l'espacement minimal requis par rapport aux autres appareils et éléments.
- Soyez toujours vigilants lorsque vous déplacez l'appareil car il est lourd. Utilisez toujours des gants de sécurité et des chaussures fermées.
- Isolez les surfaces découvertes à l'aide d'un matériel d'étanchéité pour éviter que la moisissure ne provoque des gonflements.
- Protégez la partie inférieure de l'appareil de la vapeur et de l'humidité.
- N'installez pas l'appareil près d'une porte ou sous une fenêtre. Les récipients chauds risqueraient de tomber de l'appareil lors de l'ouverture de celles-ci.
- Si l'appareil est installé au-dessus de tiroirs, assurez-vous qu'il y a suffisamment d'espace entre le fond de l'appareil et le tiroir supérieur pour que l'air puisse circuler.
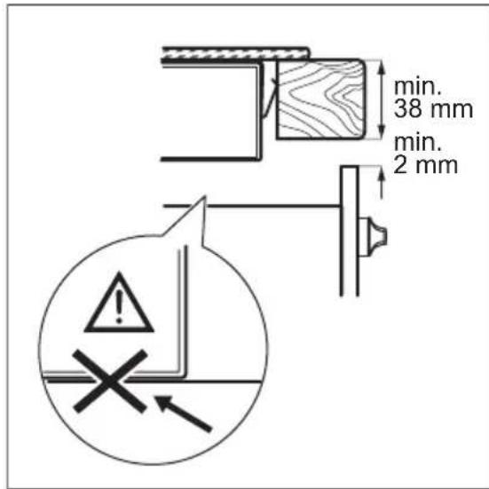
- Le dessous de l'appareil peut devenir très chaud. Veillez à installer un panneau de séparation ignifuge sous l'appareil pour en bloquer l'accès. Assurez-vous de laisser un espace de ventilation de 2 mm entre le plan de travail et l'avant de l'unité qui se trouve dessous. La garantie ne couvre pas les dommages causés par l'absence d'un espace de ventilation adéquat.
Branchement électrique

AVERTISSEMENT! Risque d'incendie ou d'électrocution.
L'ensemble des branchements électriques doit être effectué par un technicien qualifié. - L'appareil doit être relié à la terre. - Avant toute intervention, assurez-vous que l'appareil est débranché. - Vérifiez que les données électriques figurant sur la plaque signalétique correspondent à celles de votre réseau. Si ce n'est pas le cas, contactez un electricien. Assurez-vous que l'appareil est bien installé. Un câble d'alimentation lâche et inapproprié ou une fiche (si présente) non serrée peuvent être à l'origine d'une surchauffe des bornes. - Utilisez le câble d'alimentation électrique approprié. - Ne laissez pas le câble d'alimentation s'emmêler. Assurez-vous qu'une protection antiélectrocution est installée. - Utilisez un collier anti-traction sur le câble. Assurez-vous que le câble d'alimentation ou la fiche (si présente) n'entrent pas en contact avec les surfaces brûlantes de l'appareil ou les récipients brûlants lorsque vous branchez l'appareil à des prises électriques situées à proximité. - N'utilisez pas d'adaptateurs multiprises ni de rallonges. Veillez à ne pas endommager la fiche secteur (si présente) ni le câble d'alimentation. Contactez notre centre de maintenance agréé ou un electricien pour remplacer le câble d'alimentation s'il est endommagé. - La protection contre les chocs des parties sous tension et isolées doit être
fixée de telle manière qu'elle ne peut pas être enlevée sans outils.
- Ne branchez la fiche d'alimentation à la prise de courant qu'à la fin de l'installation. Assurez-vous que la prise de courant est accessible une fois l'appareil installé.
- Si la prise de courant est l'âche, ne branche pas la fiche d'alimentation secteur.
- Ne tirez jamais sur le câble d'alimentation pour débrancher l'appareil. Tirez toujours sur la fiche.
- N'utilisez que des systèmes d'isolement appropriés : des coupe-circuits, des fusibles (les fusibles à visser doivent être reliés du support), un disjoncteur différentiel et des contacteurs.
- L'installation électrique doit être équipée d'un dispositif d'isolement à coupure omnipolaire. Le dispositif d'isolement doit présenter une distance d'ouverture des contacts d'au moins 3 mm.

Avertissement! risque de blessures, de brûlures ou d'électrocution.
- Avant la première utilisation, retirez les emballages, les étiquettes et les films de protection (si présents). Utilisez cet appareil dans un environnement domestique.
- Ne modifiez pas les caractéristiques de cet appareil. Assurez-vous que les orifices de ventilation ne sont pas bouchés.
- Ne laissez jamais l'appareil sans surveillance pendant son fonctionnement.
- Éteignez les zones de cuisson après chaque utilisation.
- Ne vous faites pas uniquement au détecteur de récipient.
- Ne posez pas de couverts ou de couvercles sur les zones de cuisson. Elles sont chaudes.
- N'utilisez jamais cet appareil avec les mains mouillées ou lorsqu'il est en contact avec de l'eau.
- N'utilisez jamais l'appareil comme plan de travail ou comme plan de stockage.
- Si la surface de l'appareil présente des fêlures, débranchez immédiatement l'appareil pour éviter tout risque d'électrocution.
- Les porteurs de pacemakers doivent rester à une distance minimale de 30 cm des zones de cuisson à induction lorsqu'appareil est en cours de fonctionnement. Lorsque vous versez un aliment dans de l'huile chaude, elle peut éclabousser.

Avertissement! risque d'incendie et d'explosion.
- Les graisses et l'huile chaudes peuvent dégager des vapeurs inflammables. Tenez les flammes ou les objets chauds éloignés des graisses et de l'huile lorsque vous vous en servez pour cuisiner.
- Les vapeurs dégagées par l'huile très chaude peuvent provoquer une combustion spontanée. L'huile qui a servi contient des restes d'aliments pouvant provoquer un incendie à température plus faible que l'huile n'a jamais servi.
- Ne placez pas de produits inflammables ou d’éléments imbibés de produits inflammables à l’intérieur ou à proximité de l’appareil, ni sur celui-ci.

Avertissement! risque d'endommagement de l'appareil.
- Ne laissez pas de membres chauds sur le bandeau de commande.
- Ne posez pas de couvercle de casserole chaud sur la surface en verre de la table de cuisson.
- Ne laissez pas le contenu des récipients de cuisson s'évaporer complètement.
- Prenez soin de ne pas laisser tomber d'objets ou de récipients sur l'appareil. Sa surface risque d'être endommagée.
- Ne faites jamais fonctionner les zones de cuisson avec des récipients de cuisson vides ou sans aucun récipient de cuisson.
- Ne placez jamais de papier aluminium sur l'appareil.
- N'utilisez pas de récipients en fonte ou en aluminium, ni de récipients dont le fond est endommagé et rugueux. Ils risqueraient de rayer le verre ou la surface vitrocéramique. Soulevez toujours ces objets lorsque vous devez les déplacer sur la surface de cuisson.
- Cet appareil est exclusivement destiné à un usage culinaire. Ne l'utilisez pas pour des usages autres que celui pour lequel il a été créé, à des fins de chauffage par exemple.
Entretien et nettoyage
- Nettoyez régulièrement l'appareil afin de maintenir le revêtement en bon état.
- Éteignez l'appareil et laissez-le refroidir avant de le nettoyer.
- Débranche l'appareil de l'alimentation électrique avant toute opération de maintenance.
- Ne pulvérisez pas d'eau ni de vapeur pour nettoyer l'appareil.
- z pas de produits abrasifs, de tampons à récurer, de solvants ni d'objets métalliques.
Mise au rebut

AVERTISSEMENT! Risque de blessure ou d'asphyxie.
- Contactez votre service municipal pour obtenir des informations sur la marche à suivre pour permettre l'appareil au rebut.
- Débranche l'appareil de l'alimentation électrique.
- Débranche le câble d'alimentation au ras de l'appareil et mets-le au rebut.
Maintenance
- Pour réparer l'appareil, contactez un service après-vente/agréé. Utilisez exclusivement des pièces d'origine.
Description de la table de cuisson

Zone de cuisson à induction 2 Bandeau de commande
Description du bandeau de commande

Les touches sensitives permettent de faire fonctionner l'appareil. Les affichages, les voyants et les signaux sonores indiquent les fonctions activées.
| Touche sensitime | Fonction Commentaire | ||
| 1 | 0 | MARCHE/ARRÊT Pour allumer et éteindre la table de cuisson. | |
| 2 | 0-π | Verrouillage / Dispositif de sécurité enfants | Pour verrouiller ou déverrouiller le bandeau de commande. |
| 3 | - Indicateur du niveau de cuisson | Pour indiquer le niveau de cuisson. | |
| 4 | - Voyants du minuteur des zones de cuisson | Pour indiquer la zone à laquelle se refère la durée sélectionnée. | |
| 5 | - Affichage du minuteur Pour indiquer la durée, en minutes. | ||
| 6 | 0 | - PourCHOISIR la zone de cuisson. | |
| 7 | +/- | - Pour augmenter ou diminuer la durée. | |
| 8 | +/- | - Pour sélectionner un niveau de cuisson. | |
| 9 | P | Fonction Booster Pour activer et désactiver la fonction. |
Indicateurs de niveau de cuisson
| Affichage Description | |
| 0 | La zone de cuisson est désactivée. |
| I - 9 | La zone de cuisson est activée. |
| A | La fonction Démarrage automatique de la cuisson est activée. |
| P | Fonction Booster est activée. |
| E + chiffre | Une anomalie de fonctionnement s'est produit. |
| H | Une zone de cuisson est encore chaude (chaleur résiduelle). |
| L | La fonction Verrouillage /Dispositif de sécurité enfants est activée. |
| F | Le bénépant est inapproprié ou trop petit, ou bien il n'y a pas de bénépant sur la zone de cuisson. |
| - | La fonction Arrêt automatique est activée. |
Voyant de chaleur résiduelle

AVERTISSEMENT! Il y a risque de brûlures par la chaleur résiduelle.
Les zones de cuisson à induction générent la chaleur nécessaire directement sur le fond des récipients de cuisson. La vitrocéramique est chauffée par la chaleur des récipients.
Utilisation quotidienne

AVERTISSEMENT! Reportez-vous aux chapitres concernant la sécurité.
Activation et désactivation
Appuyez sur pendant 1 seconde pour activer ou désactiver la table de cuisson.
Cette fonction arrête la table de cuisson automatiquement si :
- toutes les zones de cuisson sont désactivées,
- vous ne régalez pas le niveau de cuisson après avoir allumé la table de cuisson,
- vous avez renversé quelque chose ou placez un objet sur le bandeau de commande pendant plus de 10 secondes (une casserole, un torchon, etc.). Un signal sonore retentit et la table de cuisson s'éteint. Retirez l'objet du
bandeau de commande ou nettoyez celui-ci.
- la table de cuisson surchauffe (par ex. lorsqu'un récipient chauffe à vide). Laissez refroidir la zone de cuisson avant de réutiliser la table de cuisson.
- Vous avez utilisé un récipient inadéquat. Le symbole F s'allume et la zone de cuisson se désactive automatiquement au bout de 2 minutes.
- vous ne désactivez pas la zone de cuisson ou ne modifiez pas le niveau de cuisson. Au bout de quelques instants, le symbole s'allume et la table de cuisson s'éteint.
La relation entre le niveau de cuisson et la durée après laquelle la table de cuisson s'éteint :
| Niveau de cuisson La table de cuis-son s'éteint aubout de | |
| u, 1 - 2 | 6 heures |
| 3 - 4 5 heures | |
| 5 4 heures | |
| 6 - 9 1,5 heures | |
Niveau de cuisson
Appuyez sur + pour augmenter le niveau de cuisson. Appuyez sur - pour diminuer le niveau de cuisson. Appuyez simultanément sur + et - pour désactiver la zone de cuisson.
Démarrage automatique de la cuisson
Cette fonction vous permet d'atteindre le niveau de cuisson sélectionné en un temps plus court. Cette fonction active le niveau de cuisson le plus élevé pendant un certain temps puis redescend au niveau sélectionné.

Pour activer la fonction, la zone de cuisson doit être froide.
Pour activer la fonction pour une zone de cuisson : appuyez sur P (s'allume). Appuyez immédiatement sur R
s'allume). Appuyez immédiatement sur jusqu'à ce que le niveau de cuisson réglés s'affiche. Au bout de 3 secondes, s'allume.
Pour désactiver la fonction : appuyez sur
Fonction booster
Cette fonction vous permet d'augmenter la puissance des zones de cuisson à induction. La fonction peut être activée pour la zone de cuisson à induction uniquement pour une durée limitée.
Lorsque cette durée est écoulée, la zone de cuisson à induction revient automatiquement au niveau de cuisson le plus élevé.

Reportez-vous au chapitre « Caractéristiques techniques »
Pour activer la fonction pour une zone de cuisson : appuyez sur P s'allume.
Pour désactiver la fonction : appuyez sur P.
Minuteur dégressif
Vous supportez utiliser cette fonction pour régler la durée de fonctionnement de la zone de cuisson, uniquement pour une session.
Sélectionnez d'abord le niveau de cuisson de la zone de cuisson, puis réglez la fonction.
Pour sélectionner la zone de cuisson : appuyez sur + à plusieurs reprises jusqu'à ce que l'indicateur de la zone de cuisson correspondante s'affiche.
Pour activer la fonction ou modifier la durée : appuyez sur la touche + ou - du minuteur pour régler la durée (de 00 à 99 minutes). Lorsque l'indicateur de la zone de cuisson commence à clignoter lentement, le décompte commence.
Pour voir le temps restant : sélectionnez la zone de cuisson à l'aide de Levoyant de la zone de cuisson clignote rapidement. L'affichage indique la durée restante.
Pour désactiver la fonction :
Sélectionnez la zone de cuisson avec et appuyez sur. Le temps restant est décompté jusqu'à 00. Le voyant de la zone de cuisson s'éteint.

Lorsque la durée est écoulée, un signal sonore retentit et 00 clignote. La zone de cuisson se désactive.
Pour arrêter le signal sonore : appuyez sur
Minuterie
Vous pouvez utiliser cette fonction comme minuterie lorsque la table de cuisson est allumée mais que les zones de cuisson ne sont pas activées. L'affichage du niveau de cuisson indique ①
Pour activer la fonction : appuyez sur
Appuyez sur la touche du minuteur pour régler la durée. Lorsque la durée s'est écoulée, un signal sonore retentit et 00 clignote.
Pour arrêter le signal sonore : appuyez sur

Cette fonction est sans effet sur le fonctionnement des zones de cuisson.
Verrouillage
Vous pouvez verrouiller le bandeau de commande pendant que les zones de cuisson fonctionnent. Vous éviterez ainsi une modification accidentelle du réglage du niveau de cuisson.
Réglez d'abord le niveau de cuisson.
Pour activer la fonction : appuyez sur 07. L'affiche pendant 4 secondes. Le minuteur reste activé.
Pour désactiver la fonction : appuyez sur 0. Le niveau de cuisson précédent s'allume.

Lorsque vous éteignez la table de cuisson, cette fonction est完全删除并替换为:Lorsque vous éteignez la table de cuisson, cette fonction est entièrement désactivée.
Dispositif de sécurité enfants
Cette fonction permet d'éviter une utilisation involontaire de la table de cuisson.
Pour activer la fonction : allumez la table de cuisson en appuyant sur ① Ne sélectionnez pas de réglage de niveau de
cuisson. Appuyez sur pendant
4 secondes. S'allume. Éteignez la table de cuisson en appuyant sur ①
Pour désactiver la fonction : allumez la table de cuisson en appuyant sur ①. Ne sélectionnez pas de réglage de niveau de cuisson. Appuyez sur pendant 4 secondes. ② s'allume. Éteignez la table de cuisson en appuyant sur ①.
Pour désactiver la fonction le temps d'une cuisson : allumez la table de cuisson en appuyant sur ①. L's'allume.
Appuyez sur pendant 4 secondes.
Réglez le niveau de cuisson dans les 10 secondes qui suivront. Vous pouvez utiliser la table de cuisson. Lorsque vous éteignez la table de cuisson, la fonction est de nouveau activée.
Fonction gestionnaire de puissance
- Des zones de cuisson sont regroupées en fonction de l'emplacement et du nombre de phases de la table de cuisson. Reportez-vous à l'illustration.
- Chaque phase dispose d'une charge électrique maximale de 3700 W.
- La fonction répartit la puissance entre les zones de cuisson raccordées à la même phase.
- La fonction s'active lorsque la charge électrique totale des zones de cuisson raccordées à une phase simple dépasse 3700 W.
- La fonction diminue la puissance des autres zones de cuisson raccordées à la même phase.
- L'affichage du niveau de cuisson des zones à puissance réduite oscille entre deux niveaux.

Conseils

AVERTISSEMENT! Reportez-vous aux chapitres concernant la sécurité.
Sur les zones de cuisson à induction, un champ électromagnétique puissant chauffe les récipients très rapidement.

Utilisez des récipients adaptés aux zones de cuisson à induction.
Matériaux des récipients
- adaptations : fonte, acier, acier émaillé, acier inoxydable, fond multicouche (homologué par le fabricant).
- inadaptés : aluminium, cuivre, laiton, verre, céramique, porcelaine.
Les plats de cuisson conviennent pour l'induction si :
- une petite quantité d'eau contenue dans un récipient chauffe dans un bref laps de temps sur une zone de cuisson régée sur le niveau de cuisson maximal.
- Un aimant adhère au fond du récipient.

Le fond de l'ustensile de cuisson doit être aussi plat et épais que possible.
Dimensions de l'ustensile
Les zones de cuisson à induction s'adaptent automatiquement au diamètre du fond du récipient utilisé, jusqu'à une certaine limite.
L'efficacité de la zone de cuisson est liée au diamètre du récipient. Un récipient plus petit que le diamètre minimal recommandé ne reçoit qu'une petite partie de la puissance générée par la zone de cuisson.

Reportez-vous au chapitre « Caractéristiques techniques »
Si vous entendez :
- un craquement : le recipient est composé de différents matériaux (conception « sandwich »).
- un sifflement : vous utilisez la zone de cuisson avec un niveau de puissance élevé et le récipient est composé de différents matériaux (conception « sandwich »).
- un bourdonnement : vous utilisez un niveau de puissance élevé.
- unCLIENTIS : des commutations électriques se produisent.
- un sifflement, un bourdonnement : le ventilateur fonctionne.
Ces bruits sont normaux et n'indiquent pas une anomalie de la table de cuisson.
Exemples de cuisson
Le rapport entre le niveau de cuisson et la consommation énergétique de la zone de cuisson n'est pas linéaire. Lorsque vous augmentez le niveau de cuisson, l'augmentation énergétique de la zone de cuisson n'est pas proportionnelle. Cela
signifie que la zone de cuisson utilisée à un niveau de cuisson moyen utilise moins de la moitié de sa puissance.

Les valeurs figurant dans le tableau suivant sont fournies à titre indicatif.
| Niveau de cuisson | Utilisation : Durée | (min) | Conseils |
| u - 1 | Conserve les alimentés cuits au chaud. | au be-soin | Placez un couvercle sur le ré-cipient. |
| 1 - 2 Sauce hollandaise, faire fondre : beurre, chocolat, gélatine. | 5 - 25 Mélangez de temps en temps. | ||
| 1 - 2 Solidifier : omelettes, øefs co-cotte. | 10 - 40 | Couvrez pendant la cuisson. | |
| 2 - 3 Faire moyen des plats à base de riz et de laitage, réchauffer des plats cuisinés. | 25 - 50 | Ajoutez au moins deux fois plus d'eau que de riz. Remuez les plats à base de lait durant la cuisson. | |
| 3 - 4 Cuire à la vapeur des légumes, du poisson et de la vianne. | 20 - 45 | Ajoutez quelques cuillerées de liquide. | |
| 4 - 5 Cuire des pommes de terre à la vapeur. | 20 - 60 | Utilisez max. ¼ l d'eau pour 750 g de pommes de terre. | |
| 4 - 5 Cuire de grandes quantités d'aliments, des ragôuts et des soupes. | 60 - 150 | Ajoutez jusqu'à 3 litres de liq-uide, plus les ingrédients. | |
| 6 - 7 Faire revenir : escalopes, cor-dons bleus de veau, côtelettes, rissolettes, saucisses, foie, roux, øefs, crépes, beignets. | au be-soin | Retournez à la moitié du temps. | |
| 7 - 8 Cuisson à température élevée des pommes de terre rissolées, fillets, steaks. | 5 - 15 Retournez à la moitié du temps. | ||
| 9 Faire bouillir de l'eau, cuire des pâtes, griller de la vianne (goulasch, bœuf braisé), cuire des frites. | |||
| P | Faire bouillir une grande quantité d'eau. La fonction Booster est activée. | ||
Entretien et nettoyage

AVERTISSEMENT! Reportez-vous aux chapitres concernant la sécurité.
Informations générales
- Nettoyez la table de cuisson après chaque utilisation. Utilisez toujours un plat de cuisson dont le fond est propre.
- Les rayures ou les taches sombres sur la surface n'ont aucune incidence sur le fonctionnement de la table de cuisson. Utilisez un nettoyant spécifique adapté à la surface de la table de cuisson.
- Utilisez un racloir spécial pour la vitre.
Nettoyage de la table de cuisson
- Enlevez immédiatement : plastique fondu, films plastiques, sucre et aliments
contenant du sucre. Sinon, la saleté pourrait endommager la table de cuisson. Veillez à ne pas vous brûler. Tenez le racloir spécial incliné sur la surface vitrée et faites glisser la lame du racloir pour enlever les salissures.
- Une fois que la table de cuisson a suffisamment refroidi, enlevez : traces de calcaire et d'eau, projections de graisse, décolorations métalliques liées. Nettoyez la table de cuisson à l'aide d'un chiffon humide et d'un détergent non abrasif. Après le nettoyage, séchez la table de cuisson à l'aide d'un chiffon doux. Pour retirer les décolorations métalliques brillantes : utilisez une solution d'eau additionnée de vinaigre et nettoyez la surface vitrée avec un chiffon humide.
En cas d'anomalie de fonctionnement

AVERTISSEMENT! Reportez-vous aux chapitres concernant la sécurité.
En cas d'anomalie de fonctionnement
| Problème Cause probable Solution | ||
| Vous ne pouvez pas allumer la table de cuisson ni la faire fonctionner. | La table de cuisson n'est pas connectée à une source d'alimentation électrique ou le branchement est incorrect. | Vérifiez que la table de cuisson est correctement branche à une source d'alimentation électrique. Consultez le schéma de raccordement. |
| Le fusible a disjoncté. Vérifiez que le fusible est bien | la cause de l'anomalie. Si les fusibles disjonctent de maniere répétée, faites appel à un électricien qualifié. | |
| Problème Cause probable Solution | ||
| Allumez de nouveau la table | de cisson et réglez le niveau de cisson en moins de 10 secondes. | |
| Vou陏 appuyé sur plu-sieurs touches sensitives en même temps. | N'appuyez que sur une seule touche sensitive à la fois. | |
| Il y a de l'eau ou des taches deGRAISSÉ sur le bandeau de commande. | Nettoyez le bandeau de commande. | |
| Un signal sonore retentit et la table de cisson s'éteint.Un signal sonore retentit lors-què la table de cisson est éteinte. | Votte avez posé quelquechose sur une ou plusieurs touches sensitives. | Retirez l'objet des touches sensitives. |
| La table de cisson est dé-sactivée. | Vos avrez posé quelquechose sur la touche sensitive①. | Retirez l'objet de la touche sensitive. |
| Le voyageant de chaleur résidu-lle ne s'allume pas. | La zone de cisson n'est paschaude parce qu'elle n'a fonctionné que peu de temps. | Si la zone de cisson a euassez de temps pour chauff-er, faites appel à votre service après-vente agréé. |
| La fonction de démarriage automatique de la cisson ne fonctionne pas. | La zone est chaude. Laissez la zone de cisson refroidir. | |
| Le niveau de cisson le plus élevé est réglié. | Le niveau de cisson le plus élevé est identique à la fon-cion. | |
| Le niveau de cisson oscille entre deux niveaux. | Le dispositif de gestion de la puissance est activé. | Reportez-vous au chapitre « Utilisation quotidienne » . |
| Les touches sensitives sont chaudes. | Le récipient est trop grand ou vous l'avez placé tropures des commandes. | Placez les récipients de grande taillie sur les zones de cisson arrêté, si possible. |
| s'allume. | La fonction Arrêt automa-tique est activée. | Éteignez la table de cisson puis allumez-la de nouveau. |
| s'allume. | Le dispositif de sécurité en-fants ou de verrouillage est activé. | Reportez-vous au chapitre « Utilisation quotidienne » . |
| s'allume. | Il n'y a pas de récipient sur la zone de cisson. | Placez un récipient sur la zone de cisson. |
| Le récipient n'est pas | adapté. | Utilisez un récipient adapté. Reportez-vous au chapitre « Conseils ». |
| Le diamètre du fond du ré- | icipient de cuisson est trop petit pour la zone de cuisson. | Utilisez un récipient de dimensions appropriées. Reportez-vous au chapitre « Caractéristiques techniques ». |
| E et un chiffre s'affichent. | Une erreur s'est produit dans la table de cuisson. | Débranche la table de cuisson de l'alimentation électrique pendant quelques minutes. Déconnectez le fusible de l'installation domestique. Rebranche l'appareil. Si E s'affiche à nouveau, faites appel au service après-venture agrée. |
| E4 s'allume. | Une erreur s'est produit dans la table de cuisson car un récipient a chauffé à vide. La fonction Arrêt automatique et la protection anti-surchauffe des zones sont activées. | Éteignez la table de cuisson. Enlevez le récipient chaud. Au bout d'environ 30 secondes, remettez la zone de cuisson en fonctionnement. Si le récipient était bien le problème, le message d'erreur disparait. Le voyant de chaleur résiduelle peut rester allumé. Laissez le récipient de cuisson refroidir. Vérifiez que le récipient est compatible avec la table de cuisson. Reportez-vous au chapitre « Conseils ». |
Si vous ne trouvez pas de solution...
Si vous ne trouvez pas de solution au problème, veuillez contacter votre revendeur ou un service après-vente/agrée. Veuillez lui fournir les informations se trouvant sur la plaque signalétique. Donnez également la combinaison à 3 lettres et chiffres pour la vitrocéramique (située dans un des coins de la surface en verre) et le
message d'erreur qui s'affiche. Assurez-vous d'utiliser correctement l'appareil. En cas d'erreur de manipulation de la part de l'utilisateur, le déplacement du technicien du service après-vente ou du vendeur pourra être facturé, même en cours de garantie. Les instructions relatives au service après-vente et aux conditions de garantie figurent dans le livre de garantie.
Installation

AVERTISSEMENT! Reportez-vous aux chapitres concernant la sécurité.
Avant l'installation
Avant d'installer la table de cuisson, notez les informations de la plaque signalétique ci-dessous. La plaque signalétique se trouve au bas de la table de cuisson.
Numéro de série
Tables de cuisson intégrées
Les tables de cuisson encastrables ne peuvent être mises en fonctionnement
Montage


qu'après avoir été installés dans des meubles et sur des plans de travail homologués et adaptés.
Câble d'alimentation
- La table de cuisson est fournie avec un câble d'alimentation.
- Pour remplacer le cable d'alimentation endommagé, utilisez le type de cable suivant (ou supérieur) : H05V2V2-F T min. 90 °C. Contactez votre service après-vente.





Enceinte de protection

Si vous utilisez une enceinte de protection (accessoire supplémentaire), l'espace de circulation d'air de 2 mm et le fond de protection installent directement sous la table de cuisson ne sont plus nécessaires. L'enceinte de protection n'est pas disponible dans tous les pays. Veuillez contacter votre revendeur local.

Vous ne pouvez pas utiliser l'enceinte de protection si vous installez la table de cuisson au-dessus d'un four.
Plaque signalétique
Modèle PAI8100F PNC 949 594 365 01
Type 60 GBD C0 AU 220 - 240 V 50 - 60 Hz
Induction 7.4 kW Fabriquée en Allemagne
Numéro de série 7.4 kW
PROGRESS

Caractéristiques des zones de cuisson
| Zone de cuisson | Puisance nominale (ni-veau de cuis-son max.) [W] | Fonction Booster [W] | Fonction Booster durée maximale [min] | Diamètre du récipient [mm] |
| Avant gauche 2300 3700 10 180 - 210 | ||||
| Arrière gauche 1800 - - 145 - 180 | ||||
| Avant centrale 1400 - - 125 - 145 | ||||
| Arrière droite 2400 3700 10 210 - 300 | ||||
La puissance des zones de cuisson peut légèrement différer des données du tableau. Elle dépend de la matière et des dimensions du récipient.
Pour des résultats de cuisson optimaux, utilisez des récipients qui ne dépassent pas les diamètres indiqués dans le tableau.
Informations sur le produit selon la norme EU 66/2014
| Identification du modele PAI8100F | ||
| Type de table de cuisson | Table de cuisson | intégrée |
| Nombre de zones de cuisson | 4 | |
| Technologie de chauffage | Induction | |
| Diamètre des zones de cuisson circulaires (Ø) | Avant gauche | 21,0 cm |
| Arrière gauche | 18,0 cm | |
| Avant centrale | 14,5 cm | |
| Arrière droite | 30,0 cm | |
| Consommation d'énergie selon la zone de cuisson(EC electric cooking) | Avant gauche | 181,2 Wh / kg |
| Arrière gauche | 178,7 Wh / kg | |
| Avant centrale | 183,9 Wh / kg | |
| Arrière droite | 171,6 Wh / kg | |
Consommation d'énergie de la table de cuisson (EC electric hob)
178,9 Wh / kg
EN 60350-2 - Appareils de cuisson domestiques électriques - Partie 2: Tables de cuisson - Méthodes de mesure des performances
Économie d'énergie
Vous pouvez économiser de l'énergie au quotidien en suivant les conseils suivants.
- Si vous faites chauffer de l'eau, ne faites chauffer que la quantité dont vous avez réellement besoin.
- Si possible, couvrez toujours les récipients de cuisson avec un couvercle pendant la cuisson.
- Activez toujours la zone de cuisson après avoir posé le récipient dessus.
- Placez les plus petits récipients sur les plus petites zones de cuisson.
- Posez directement le récipient au centre de la zone de cuisson.
- Vous pouvez utiliser la chaleur résiduelle pour conserver les aliments au chaud ou pour faire fondre.
En matière de protection de l'environnement
Recyclez les matériaux portant le symbole. Déposez les emballages dans les conteneurs prévus à cet effet. Contribuez à la protection de l'environnement et à votre sécurité, recyclez vos produits électriques et électroniques. Ne jetez pas les appareils
portant le symbole avec les ordures ménagères. Emmenez un tel produit dans votre centre local de recyclage ou contactez vos services municipaux.
Notice Facile