MODE D'EMPLOI FRSBS90WDIXE FRIGIDAIRE
FRIGIDAIRE est une marque en instance ou enregistrée d'Electrolux Home Products Inc. et utilisée sous une licence d'Electrolux Home Products, Inc.
MERCI DE BIEN VOULOIR LIRE LES CONSIGNES DE SÉCURITÉ ATTENTIVEMENT AVANT D'UTILISER L'APPAREIL ET DE LES CONSERVER POUR RÉFERENCE ULTÉRIEURE.
Avertissements
-
Cet apparéil est destiné à être utilisé dans des applications domestiques et analogues telles que:
-
les coins cuisines réservés au personnel des magasins, bureaux et autres environnementes professionnels;
-
les fermes et l'utilisation par les clients des hotels, motels et autres environnements à caractère résidentiel;
les environnements de type chambres d'hotes;
— la restauration et autres applications similaires Hormis la vente au détail.
-
Si le cable d'alimentation est endommagé, il doit être remplace par le fabricant, son service après vente ou des personnes de qualification similaire afin d'eviter un danger.
- Cet apparéil peut être utilisé par des enfants âgés d'au moins 8 ans et par des personnes ayant des capacité physiques, sensorielles ou mentales réduites ou dénuées d'expérience ou de connaissance, s'ils (si elles) sont correctement surveillée(e)s ou si des instructions relatives à l'utilisation de l' apparéil en toute sécurité leur ont été données et si les risques encourus ont été appréhendés. Les enfants ne doivent pas journer avec l' apparéil.
Le nettoyage et l'entretien par l'usager ne doit pas etre effectués par des enfants sans surveillance.
- En ce qui concerne les informations détaillées sur la manière de nettoyer les surfaces en contact avec les alimentés et les surfaces pouvant être éclaboussées, référez-vous dans la section "NETTOYAGE ET ENTRETIEN" en pages FR-22&23.
- Cét apparéil ne doit pas être exposé à la pluie.
- MISE EN GARDE : Maintenir dégagées les ouvertures de ventilation dans l'enceinte de l'appareil ou dans la structure d'encastrement.
- MISE EN GARDE: Ne pas utiliser de dispositifs mécaniques ou autres moyens pour accélérer le processus de dégivrage autres que ceux recommends par le fabricant.
-
MISE EN GARDE: Ne pas endommager le circuit de réfrigération.
-
MISE EN GARDE: Ne pas utiliser d'appareils électriques à l'intérieur du compartment de stockage des denrées, à moins qu'ils ne soient du type recommendé par le fabricant.
- Ne pas stocker dans cet apparéil des substances explosives telles que des aérosols contenant des gaz propulseurs inflammbables.
- MISE EN GARDE: Le système de réfrigération est sous haute pression. Ne pas y toucher. Contacter des services d'entretien qualifiés avant la mise au rebut.
- INSTALLATION : N'INSTALLALLEZ PAS CET APPAREIL DANS DES PIECES TROP HUMIDES OU TROP FROIDES, TELLES QUE DES CONSTRUCTIONS ANNEXES, GARAGES ou CAVES.
- Mise au rebut de l'appareil :
Pour éviter toute nuisance envers l'environnement ou la santé humaine causée par la mise au rebut non contrôle de déchets électriques, les fluides frigorigènes et les agents moussants inflammables, recyclez l'appareil de façon responsable pour promouvoir la réutilisation des ressources matérielles. La mise au rebut doit être faite de façon sure dans des points de collecte publique prévus à cet effet, contactez le centre de traitement des déchets le plus après chez vous pour plus de détails sur les procédures correctes de mise au rebut.
Installation et mise en service :
L'appareil doit être installé sur le sol, sur une surface plane et horizontale en s'assurant que les ouvertures d'aération sont correctement dégagées. Ne jamais essayer de remplaner ou de réparer vous-même une partie ou un composant de l'appareil, demandez de l'aide à un personnel professionnel et qualifié, si besoin.
Manipulation:
Toujours manipuler l'appareil avec soin afin d'eviter d'endommager celui-ci.
- MISE EN GARDE: Pour la fabrication de glaçons, utilisez uniquement de l'eau potable.
- MISE EN GARDE: Racorder uniquement à un reseau d'alimentation en eau potable.
- Ne congelez des alimentés décongelés qu'après les avoir cuits, afin d'éliminer les bacteriées nocives. Ne recongelez jamais des fruits de mer qui ont été décongelés.

Danger; risque d'incendie / matieres inflammables
-
AVERTISSEMENT: Lors du positionnement de l'appareil, s'assurer que le cordon d'alimentation n'est pas coincide ni endommagé.
-
AVERTISSEMENT: Ne pas placer de socles mobiles de prises multiples ni de blocs d'alimentation portables à l'arrête de l'appareil.
- Les enfants âgés de 3 à 8 ans sont autorisés à charger et décharger des apparèils de réfrigération.
-
Pour éviter la contamination des aliments, veuillez respecter les instructions suivantes :
-
Des ouvertures de la porte de manière prolongée sont susceptibles d'entrainer une augmentation significative de température des compartments de l'appareil.
- Nettoyer régulierement les surfaces susceptibles d'être en contact avec les alimentes et les systèmes d'évacuation accessibles.
- Nettoyer les recipients d'eau s'ils n'ont pas eté utilisés pendant 48 h; bien rincer le système de distribution raccordé à un réseau de distribution d'eau si de l'eau n'a pas eté prélevée pendant 5 jours.
- Entreposer la viande et le poisson crus dans les bacs du réfrigérateur qui conviennent, de telle sorte que ces denrées ne soient pas en contact avec d'autres alimentés ou qu'elles ne s'égouttent pas sur les autres alimentés.
- Les compartments «deux étoiles» pour denrées congelées conviennent pour stocker des alimentés précongelés, stocker ou fabriquer de la crème glacée et des cubes de glace.
- Les compartments «une, deux et trois étoiles» ne convennent pas pour la congélation des denrées alimentaires fraîches.
-
Si l'appareil de réfrigération demeure vide de manière prolongée, leMETTE hors tension, en effectuer le dégivrage, le nettoyer, le sécher, et laisser la porte ouverte pour prévenir le développement de moisissures à l'intérieur de l'appareil.
-
La pression minimale admissible pour l'arrivée d'eau est de 0,15 MPa.
La pression maximale admissible pour l'arrivee d'eau est de 0,7 MPa.
- Les ensembles de raccordement neufs fournis avec l'appareil doivent être utilisés; il convient de ne pas réutiliser les ensembles de raccordement usages.
Précautions de sécurité
- Conserve tous les emballages hors de la portée des enfants car il existe un risque d'étouffement.
- La prise doit être accessible lorsque le réfrigerateur congélateur est positionné.
- Débranchez le réfrigérateur congélateur de la prise secteur lorsqu'il n'est pas utilisé et avant de le nettoyer. Retirez les alimentés avant le nettoyage.
- Ne débranchez jamais le réfrigérateur congélateur en tirant sur le cable d'alimentation, Saisissez fermement la fiche et retirez-la.
- Placez le réfrigerateur congélateur dans un endroit sec - évitez les zones à force humidité.
- Gardez le réfrigérateur congélateur à l'abri de la lumière directe du soleil.
- Ne placez pas le réfrigerateur congélateur pres d'une cusinière, d'un feu ou d'un apparéil de chauffage.
- N'utilise pas d'appareils électriques dans le réfrigerateur conçélateur.
- Éloignez de l'appareil les bougies, les lampes et tous les autres objets à flamme nue afin de ne pasmettre le feu à l'appareil.
- Évitez demettre des alimentés trop volumineux, le fonctionnement de l'appareil risquérait d'en être affecté.
- Faites extrémement attention quand vous déplacez l'appareil.
- N'utilise pas des outils pointus ou coupants pour enlever le givre et les couches de glace.
- N'utilisez jamais la base, les portes, etc. pour vous tener debout ou comme supports.
- Ne donne pas aux enfants des crèmes glacées ou des sorbets directement sortis du compartment de congélation, car leur températureasse peut provoquer des « brûlures par le froid » sur les lèvres.
- N'entrepose pas de boissons gazesses dans le compartment de congélation.
- L'isobutane réfrigérant (R600a) est contenu dans le circuit frigorifique de l'appareil, un gaz naturel à haut niveau de compatibilité environnementale, qui est néanmoins inflammable. Pendant le transport et l'installation de l'appareil, assurez-vous qu'aucun des composants du circuit frigorifique ne soit endommagé. Le réfrigérant (R600a) est inflammable.
- AVERTISSEMENT - Les réfrigerateurs et les congelateurs contiennent du réfrigérant et des gaz dans l'isolement. Le réfrigérant et les gaz doivent être éliminés de manière professionnelle. Assurez-vous que la tubulure du circuit frigorifique n'est pas
DESCRIPTION DU PRODUIT


(Retirez le couvercle métallique du compresseur)
Compartment du congélateur
Compartment du réfrigérateur

Agencement recommendé des alimentés
Compartment du réfrigérateur (4^)
L'air froid coule de sorte que la partie inférieure est la plus froide. Rangez vos alimentés dans un espace optimal pour profiter de la fraîcheur.
| Section supérieure : | conserves, pain, gâteaux... |
| Section centrale : | Produits laitiers, plats cuisés,desserts... |
| Section inférieure : | viande, produits carnés, épicerie fine... |
| Le bac : | fruits frais, legumes, salades... |
Balconnets de porte de réfrigérateur (2^ 8^)
| Section supérieure : | œufs, beurre, fromage... |
| Section centrale / inférieure : | Boissons, canettes, bouteilles... |
Compartment du congelateur (-18^)
| Section supérieure /centrale : | Gâteaux et patisseriesProduits laitiers (par exemple le fromage et le beurre) |
| Tiroir inférieur : | Poissons et viands cuites |
| Balconnet de la porte du concélateur : | Conservez les petits produits surgelés emballés |
AVANT D'INSTALLER L'APPAREL
Avant de brancher votre apparéil à l'alimentation, vérifie que la tension indiquée sur la plaque signalétique de votre apparéil correspond à la tension du secteur de votre logement. Une tension différente pourrait endommager l' apparéil.
La fiche est le seul moyen de débrancher l'appareil, elle doit donc rester accessible en permanence. Pourmettre l'appareil hors tension, éteignez-le, puis débranchez le cable d'alimentation de la prise électrique.
Cet apparéil doit être relié à la terre. Le fabricant n'est pas responsable des dommages se Produisant à cause de l'utilisation de l' apparéil sans mise à la terre.
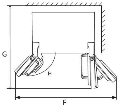
INSTALLATION
Démontage des portes
Outils nécessaires : Tournevis cruciforme, Tournevis plat.
Assurez-vous que l'appareil est débranché et vide.
- Pour enlever la porte, il est nécessaire de basculer l'appareil en arrêté. Posez l'appareil sur une surface solide afin qu'il ne glisse pas pendant le processus de retrait de la porte.
Toutes les pieces retirees doivent etre conservees pour la reinstallation de la porte.
- Ne posez pas l'appareil à plat car cela pourrait endommager le système de refroidissement.
Il est préférible que 2 personnes manipulent l'appareil pendant le montage.
- Dévissez le couvercle de la charnière à l'aide d'un tournevis cruciforme.

- Debranchez le harnais.

- Dévissez la charnière supérieure.

- Un racord de conduite d'eau se trouve au bas du réfrigerateur-congélateur. Retirez-le du couvercle de protection et débranchez-le du tuyau d'eau. N'oubliez pas desterolir le tuyau d'eau de la charnière inférieure.



- Soulevez la porte et posez-la sur un tapisouple. Retirez ensuite l'autre porte en suivant les mêmes étapes.

- Devissez les charnières inférieures.

- Une fois l'appareil positionné, installez les portes en suivant les étapes ci-dessus dans l'ordre inverse.
Installez l'appareil dans une pierce sèche et bien aérée. L'emplacement d'installation ne doit pas être exposé à la lumière directe du soleil ni proche d'une source de chaleur, par exemple un radiateur, une cuisine, etc.
Pour assurer une ventilation adequate de l'appareil, prévoyez un espace de 50 mm entre l'arrière du réfrigérateur congélateur et le mur et un espace d'au moins 50 mm du côte au mur, à une hauteur de plus de 50 mm de son sommet.

Unité : mm
A 900 F1800
B 660 G1560
C 1770 H 135^
D min 50
E min 50

Réglez les pieds pour maintainir le réfrigérateur congélateur à niveau.



Pièces de la conduite d'eau x 1

Filtre a eau x 1

Raccord de tuyau d'eau x 1
Raccord du filtré à eau x 2
Clip antidérant x 8
- Avant le raccordement, vous devez utiliser 5 litres d'eau pour rincer le filtré pendant 5 minutes afin d'éliminer les particules de carbone en excès.

- Ouvrez la porte du réfrigerateur et sortez les bacs à légumes.

- Retirez les bouchons en caoutchouc des deux cots de la boite à eau.

- Sortez le filtré à eau du sac d'accessoires, insérez les raccords des deux côts du filtré, puis connectez le tuyau d'eau et fixez-le dans les clips antidérapants (faites attention au sens des flèches du filtré).

- Assembler les pièces du filtré à eau avec le support de retenue au-dessus de la boîte à eau et connectez les tuyaux d'eau de la boîte à eau au filtré à eau.

- Enlevez le bouchon en caoutchouc. Connectez la partie du tuyau d'eau à la valve principale sur le couvercle du compresseur avec le raccord, et n'oubliez pas d'insérer les clips antidérapants, puis connectez l'extrémité du tuyau d'eau à la source d'eau à l'aide de l'écrou.

Source d'eau
Enlevez le bouchon en caoutchouc.

Connector l'extrémité du tuyau d'eau à la source d'eau à l'aide de l'écrou.
Connectez le tuyau d'eau
avec le raccord et n'oubliez
pas
d'insérer des clips
antidérapants des deux
Tuyau d'eau
Attention!
- La source d'eau externe doit être propre et la pression de l'eau doit être comprise entre 1,5 et 7 bars pour garantir un bon fonctionnement.
- Vérifiez le raccordement du tuyau d'eau, et vérifie qu'il n'y a pas d'autres objets à l'intérieur de la machine à gaçons et duseau à gaçons.
- Àprous avoir accedé à la source d'eau, ouvre le robinet et vérifie s'il y a une fuite entre le robinet et le tuyau de raccordement. S'il y a une fuite, vérifie le raccordement du tuyau.
- Sélectionnéz la fonction eau, utilisez une grande tasse pour appuyer sur le distributeur, laissez l'eau s'écouler pendant 5 minutes jusqu'à ce que l'eau soit propre et fluide; pendant ce processus, l'eau extraite n'est pas potable.
- Sélectionnéz la fonction de distribution de glaçons, utilisez une grande tasse pour appuyer sur le distributeur et vérifie le fonctionnement normal du moteur interne en écouteant le bruit qu'il émet.
- Attendez 3 minutes et vérifie si la valve d'arrivée d'eau du réfrigerateur-congélateur, les racçords des tuyaux d'eau et le filtré à eau fuient ou non.
TEMPÉRATURE AMBIANTE
Cet apparéil est conçu pour fonctionner à une température ambiente comprise entre 10^ et 38^ . Si ces températures sont dépassées, c'est-à-dire plus froides ou plus chaudes, l' apparéil ne fonctionnera pas correctement. Si les températures ambientes sont dépassées pendant de longues périodes, la température des compartments du congélateur augmentera au-dessus de -18^ et les alimentés poursont se gâtter.

Avant de placer des aliments dans l'appareil
Enlevez tous les matériaux d'emballage.
- Laissez l'appareil fonctionner à vide pendant 2 ou 3 heures, le temps que chacun des compartments arrivè à la température ajustate.
- Nettoyez l'intérieur de l'appareil avec de l'eau chaude et un peu de produit nettoyant, afin d'enlever les poussières liées à la fabrication et au transport.

Conseils pour la réfrigération des aliments frais
- Un bon réglage de température qui assure la conservation des aliments frais est une température inférieure ou égale à +4°C.
- Une température plus élevée à l'intérieur de l'appareil peut réduire la durée de conservation des aliments.
Recouvre les aliments d'un emballage pour préserver leur fraîcheur et leur arôme.
Utilisez toujours des recipients fermés pour les liquides et pour les alimentes, afin d'eviter la présence de saveurs ou d'odeurs dans le compartment.
- Pour éviter la contamination croisée entre les aliments cuits et crus, couvre les aliments cuits et séparez-les des aliments crus.
Il est recommandé de décongeler les alimentés à l'intérieur du réfrigérateur.
- Ne placez pas d'aliments chauds à l'intérieur de l'appareil. Assurez-vous qu'ils ont refroidi à température ambiente avant de les placer dans l'appareil.

Conseils pour la réfrigération
- Vande (tous types): emballez-la dans un emballage approprié et placez-la au réfrigerateur.
Conservez la viande pendant 1 à 2 jours au maximum.
Fruits et legumes : nettoyez-les soigneusement (eliminez la terre) et placez-les dans le réfrigérateur.
Il est conseilé de ne pas conserver les fruits exotiques comme les bananes, les mangues, les papayes, etc. dans le réfrigérateur.
- Les légumes comme les tomates, les pommes de terre, les oignons et l'ail ne doivent pas être conservés au réfrigérateur.
- Beurre et fromage: place-les dans un recipient hermétique ou enveloppez-les dans une feuille d'aluminium ou un sac en polyéthylène pour exclure le plus d'air possible.
- Bouteilles: fermez-les avec un bouchon et placez-les sur la clayette porte-bouteilles.
- Référez-vous toujours à la date de péremption des produits pour savoir combien de temps les conserver.

Réglage des températures et des fonctions
Panneau de contrôle et affichage


Réglage de la température du compartment de congélation
La température du congélateur peut être régée entre -22^ et -14^
Appuyez de manière répétée sur pour sélectionner la température requise. Le symbole de température du congélateur apparaître sur l'écran. La température clignote pendant 5 secondes, puis le réglage est confirmé.

Réglage de la température du compartment de réfrigération
La température du compartment du réfrigerateur peut être régée entre 2^ et 8^ .
Appuyez de manière répétée sur O pour sélectionner la température requise. Le symbole de température du réfrigerateur apparaître sur l'écran. La température clignote pendant 5 secondes, puis le réglage est confirmé.
Arrêt du réfrigérateur
Appuyez sur le nombre de fois nécessaire jusqu'à ce que l'indicateur "OFF" s'affiche et l'indicateur "--" clignote à l'écran. Lorsque l'indicateur "--" arrêté de clignoter, la partie réfrigérateur est éteinte et arrêté de produit du froid.
Pour annuler cette fonction, réglez la température en appuyant sur le nombre de fois nécessaire. La température clignote pendant 5 secondes, puis le réglage est confirmé.

Selection d'un mode
Vou puez selectionner l'un des differents modes en appuyant plusieurs fois sur Lorsqu'un certain mode est selectionné, le témoin lumineux correspondant clignote puis resté allumé en continu, indiquant que le mode est activé.
Pour désactiver ce mode, appuyez sur le nombre de fois nécessaire jusqu'à ce que le témoin lumineux s'éteigne. Les affichages de température du réfrigérateur et du congélateur affichtent de nouveau les réglages précédents.
| Mode | Témoin
lumineux | Affichage de température du
congélateur | Affichage de température
du
réfrigérateur |
| Intelligent | | L'affichage de la température du congélateur et du réfrigérateur change en fonction de la température ambiente. |
| ECO | | -15°C | +8°C |
| Réfrigération
rapide | | Inchangé | +2°C |
| Congélation
rapide | | -25°C | Inchangé |
REMARQUES :
Mode intelligent: Dans ce mode, l'appareil fonctionne dans la fourchette de températures ideale.
Mode ECO: Ce mode permet d'économiser l'électricité.
Mode de réfrigération rapide: Ce mode permet de réfrigerer les alimentents rapidement; il se désactive automatiquement au bout de 6 heures de fonctionnement.
Mode de congélation rapide: Ce mode permet deCongeler les alimentents rapidement; il se désactive automatiquement au bout de 50 heures de fonctionnement.

Fonction verrouillage enfants
Cette fonction permet d'empêcher l'utilisation de la machine par les enfants.
- Pour activer cette fonction, appuyez sur 395 pendant environ 3 secondes. L'icone lumineuse de verrouillage s'allume, indiquant que la fonction de verrouillage est activée.
- Pour désactiver cette fonction, appuyez sur pendant environ 3 secondes. L'icône lumineuse de déverrouillage s'allume.

Marché/arrêt de la machine à gaçons
L'appareil est muni d'une machine à glaçons pouvant distribuer des glaçons automatiquement.
Pour arreter le fonctionnement de la machine à glaçons, appuyez sur 39ec. L'icone s'allumera.
Pour reprendre le fonctionnement, appuyez de nouveau sur Off 3sec. L'icône Disparaitra.
Distributeurs
Lorsque la porte du congélateur est ouverte ou le verrouillage sécurité-enfant est activé, les distributeurs ne fonctionnent pas.
Vous pouvez appuyer sur le bouton du type de glaçons ou changelez type de glaçons. L'icone des glaçons ou de la glace pillee s'allumera, indiquant votre selection.

Glaçons

Glace pillee

Nettoyage du filtré à eau
Après avoir utilisé environ 6 mois, l'icone s'allumera. Vous devrez changer le filtré à eau.
Après avoir installé le nouveau filtré à eau, maintenez enforcé le bouton pendant environ 3 secondes pour réinitialiser le filtré.
REMARQUE:
Si I'eau ne s'ecoule pas ou trop lentement, vous devez replacer le filtrre a eau, car celui-ci est bouché.
- Certaines zones contiennent de grandes quantités de calcaire dans l'eau, ce qui provoque un colmatage plus rapide du filtré à eau.

Utiliser leseau à glace
Pour enlever leseau à glace
Saisissez les poignées.
Soulevez légèrement la partie inférieure.
Sortez lentement leseau a glace.
Avant la première utilisation ou si vous n'utilise pas le seu à glace pendant de longues périodes, nettoyez-le à l'eau tiède savonneuse. Rincez-le et faites-le complètement sécher. N'utilise jamais de produits de nettoyage abrasifs ou chimiques.

Pour installer leseau à glace
Assurez-vous que les pièces A sont alignées avec les pièces B.
Poussez le seu à glace vers le haut, puis abaissez-le jusqu'à ce qu'il soit en place



Fonctionnement normal
- Tous lessons que vous entendez quand la machine à glaçons jette la glace dans leseau font partie du fonctionnement normal.
- Ne pas distribuer de glace pendant de longues périodes peut cause la formation de grumeaux de glace dans leseau.
Enlevez la glace restante et videz leseau.
- Quand la glace ne sort pas, vérifie si de la glace n'est pas coincide dans la goulotte et retirez-la le cas échéant.
Tenez doucement leseau a glace a deux mains et retirez-le de la goulotte.

Ne placez rien dans la goulotte à glace pour éviter de boucher la sortie des glaçons.
Avant la première utilisation ou si vous n'utilise pas la machine à glaçons pendant de longues périodes, essuyez les surfaces de la machine à glaçons et de la goulotte à glaçons avec un chiffon humide. N'utilise jamais de produits de nettoyage chimiques ou abrasifs.

ATTENTION : Lorsque vous manipuez la machine à glaçons, gardez les mains à l'écart de la machine à glaçons pour éviter tout risqué de blessure.
ATTENTION: Ne laissiez pas les enfants s'accrocher ou jouer avec le distributeur. Les enfants pourraient se blesser.
Utiliser le distributeur
Pour distribuer la glace
Il faut environ 10 heures à un nouveau réfrigérateur installé pour commencer à produit de la glace.


Choisissez le type de glace souhaite en appuyant sur le bouton
Vérifiez que l'icone Cubic ice ou Crushed ice s'allume.
Poussez le levier doucement avec votre verre. La glace sera libre de distributeur.

ATTENTION: Jeter le premier lot de glace. Cela est également nécessaire si vous n'avez
pasutilisele distributeurpendant longtemps.
REMARQUE:
- Ne retirez pas immédiatement votre tasse du dessous du distributeur après avoir pris de la glace.
Attendez environ 2 secondes pour éviter les déversements.
- Pour éviter que de la glace ne tombe de la tasse, placez la tasse le plus après possible de la sortie du distributeur.
- Lors de la distribution de glaçons, le moteur interne fonctionné pour baratter et casser la glace, ce qui peut produit un certain bruit.
Pour distribuer I'eau
Appuyez sur le bouton et vérifie que l'icone Water s'allume. Poussez le levier doucement avec votre verre. La glace sera libérée du distributeur.

ATTENTION :
Pour la première utilisation ou si vous n'avez pas utilisé le distributeur depuis longtemps, jetez les six premiers verres d'eau pour retarder les impuretés du système d'approvisionnement en eau.

6verres
REMARQUE:
- Ne retirez pas immédiatement votre tasse du dessous du distributeur après avoir pris de l'eau.
Attendez environ 2 secondes pour éviter les déversements.
- L'eau distribuée est fraîche et non glacée. Si vous voulez de l'eau plus froide, commencez par verser de la glace dans votre verre, puis replisssez-la d'eau du distributeur.
- Si plus de 800 ml d'eau sont distribués en une seule fois, de l'eau à haute température peut être evacuée. Dans ce cas, il est recommendé d'attendre une demi-heure avant de reprenevre la distribution pour obtenir une boisson fraîche.

Remarque! Si vous appuyez sur la palette de manière continue pendant plus de 3 minutes, le distributeur s'arrête de fonctionner afin de protégier les composants électriques. Si vous avez besoin de plus d'eau fraîche ou de glace, vous pouvez relâcher la palette et appuyer à nouveau dessus pour obtenir plus d'eau ou de glace à votre convenance.
Important!
- Il est recommendé d'utiliser une tasse de plus de 70 mm de diamètre pour receivevoir l'eau et la glace.
- N'utilise pas de reçipients fragiles pour prendre des glaçons, afin d'éviter les dommages causés par des reçipients cassés.
- Ne mettez pas vos mains ou des outils dans la partie ouverte du distributeur, afin d'eviter de provoquer une défaillance du mécanisme interne.
- Ne tirez pas lapalette en utilisant trop de force, afin d'eviter une défaillance de l'interrupteur de la palette.
- La machine à glaçons produit automatiquement des glaçons sans opération manuelle. Lorsque le seu à glace est rempli de glace (environ 1,6 kg), la machine à glaçons cette automatiquement de fabriquer de la glace.
- En mode intelligent, la capacité de production quotidienne de glace du réfrigérateur-congélateur est d'environ 1,2 kg.
- Lorsque la porte du congélateur est ouverte, le distributeur d'eau glacée est verrouillé et ne peut distribuer d'eau ou de glace.
- Lorsque la porte du congélateur est ouverte, si la machine à glaçons effectue la procédure de fabrication de glaçons, des glaçons tombent dans leseau à glaçons.
- Si la glace n'est pas distribuée en douceur, veuillez vérifier si la sortie du distributeur est obstruée par
de la glace. Si c'est le cas, nettoyez la glace avant de la prendre.
- Pendant la fabrication des glaçons, vous pouvez entendre le bruit de l'ouverture de la valve d'eau, de l'eau qui coule et des glaçons qui tombent; ce qui est normal.
- Si vous étés en vacances ou si vous n'avez pas besoin de glaçons pendant une longue période, veuillez désactiver la fonction de fabrication de glaçons etsterolir les glaçons du bac à glaçons afin d'eviter que les glaçons ne soient congelés ensemble et n'obstruant la sortie.
- En cas de panne de courant, veuillez nettoyer les alimentents dans le réfrigérateur-congélateur à temps et nettoyer la glace dans leseau à glace pour éviter qu'elle ne fonde.
- Ne consommez pas les glaçons lorsqu'ils ont une odeur. Vérifiez si le filtré a expiré ou s'il y a des alimentés non scellés à l'odeur-acre dans le réfrigerateur-congélateur.

Coupure de courant
En cas de coupure de courant, n'ouvrez pas la porte. Les alimentents surgelés ne devraient pas etre affectes si la coupure dure moins de 6 heures.
Les alimentes entierement decongelés ne doivent en aucun cas être congelés à nouveau. Leur consommation serait alors potentiellement dangereuse.

Congélation et conservation des alimentés dans le compartment du congélateur
Utilisation du compartment du congelateur
Pour conserver des alimentés congelés
Pour faire des glaçons
Pour congener des aliments
Remarque: Vérifiez que la porte du compartment de congélation a été correctement fermée.
Acheter des alimentes surgelés
L'emballage ne doit pas etre endommagé.
Respectez la « date de péremption / date limite de consommation / à utiliser de préférence avant »
- Si possible, transporte les alimentés surgelés dans un sac isotherme et placez-les rapidement dans le compartment du congealteur.
Stocker des alimentes surgelés
Stockez-les à une température inférieure ou égale à -18^
Évitez d'ouvrir la porte du compartment de congélation inutillement.
Congeler des alimentés frais
Congelez uniquement des alimentes frais et en bon état.
Pour préserver au moins la valeur nutritionnelle, la saveur et la couleur des légumes, il faut les blanchir avant de les congeler.
Les aubergines, poivrons, courgettes et asperges ne nécessitant pas d'être blanchis.
Remarque: Maintenez les alimentés à l'écart des alimentés déjà congeles.
- Les aliments suivants sont appropriés à la condération :
Gâteaux et pâtisseries, poissons et fruits de mer, viande, gibier, volaille, légumes, fruits, fines herbes, oeufs sans leur conquille, produits laitiers (par exemple le fromage et le beurre), plats préparés et restes
cuisinés ( par exemple les soupes), ragôuts, poissons et viandes cuites, plats de pomme de terre, soufflés et desserts.
- Les alimentés suivants ne conviennent pas à la congélation :
Certains types de légumes généralement consommés crus (par exemple les radis et les laitues), les oeufs dans leur coquille, le raisin, les pommes entières, les pêches et les poires, les oeufs durs, le yaourt, le lait caillé, la crème aigre et la mayonnaise.
Emballer les alimentés congelés
Pour éviter que les aliments perdent leur saveur ou se desschent, conservez-les dans des emballages hermétiques.
- Placez les alimentés dans des emballages.
- Evacuez l'air.
- Scellez l'emballage.
- Étiquetez l'emballage avec le contenu et la date de congélation.
Emballage approprié :
Film plastique, film tubulaire de polyéthylène, papier aluminium.
Ces produits sont disponibles dans les magasins spécialisés.
Durées de conservation recommendées des aliments congelés dans le compartment de congélation
Ces durées différé selon le type d'aliment. Les alimentés que vous congelez peuvent être conservés de 1 à 12 mois (au moins à -18°C).
| Aliments | Durée de conservation |
| Lard, ragoût, lait | 1 mois |
| Pain, crème glacée, saucisses, tartes, crustacés cuisinés, poisson gras | 2 mois |
| Poisson maigre, crustacés, pizza, scones et muffins | 3 mois |
| Jambon, gâteaux, biscuits, côtelettes de boeuf et d'agneau, Morceaux de volaille | 4 mois |
| Beurre, légumes (blanchis), oeufs entiers et jaunes, écrevisses cuites, viande hachée (crue), porc (cu) | 6 mois |
| Fruits (secs ou au sirop), blancs d'oeufs, boeuf (cu), poulet entier, Agneau (cu), gâteaux aux fruits | 12 mois |
N'oubliez jamais :
- Lorque vous congelez des alimentés fais相对较ient une « date de péremption / limite d'utilisation / date de consommation», vous devez les congeler avant l'expiration de cette date.
- Vérifiez que les alimentés n'ont jamais été précédemment congelés. En effet, les alimentés congelés qui ont été complètement décongelés ne doivent pas être recongelés.
- Une fois décongelés, les alimentés doivent être consommésrapidement.

Alarme d'ouverture de la porte
Lorsqu'une porte reste ouverte ou n'est pas complètement fermée pendant environ 60 secondes,
l'appareil émet un signal d'alarme toutes les 30 secondes. Refermez la porte du réfrigérateur et l'alarme s'arrête de sonner.
Si la porte est laissée ouverte pendant plus de 10 minutes, la lumière à l'intérieur de l'appareil s'éteindra automatiquement.

Bruits de fonctionnement
Bruits normaux
- Fonctionnement du moteur.
- Le réfrigerant s'écoulant dans les tubulures.

Déplacement de votre réfrigérateur congélateur
- Debranchez le réfrigérateur congélateur.
Retireez tous les aliments.
Fixez solidement à l'aide de ruban adhésif tous les objets non fixés à l'intérieur du réfrigérateur congélateur.
- Fermez les portes avec du ruban adhésif.
Veilles à ce que le réfrigérateur congélateur reste en position verticale pendant le transport.
- Lorsque l'appareil est eteint pour quelque raison que ce soit, attendez 10 minutes avant de le rallumer. Cela peut a la pression de s'uniformiser dans le systeme de refrigeration avant le redemarrage.

Conseils pour economiser l'énergie
Pour optimiser la consommation energetique de votre apparéil :
Assurez-vous que votre réfrigerateur congélateur dispose d'une ventilation ajustée comme recommandée dans les instructions d'installation.
- Attendez que les boissons et alimentents chauds aient refroidi avant de les metre dans l'appareil.
- Decongelez les alimentents congelés dans le compartment de réfrigération pour utiliser la températureasse des alimentents congelés pour refroidir les alimentents conservés dans le réfrigerateur.
- Minimisez la fréquence d'ouverture des portes.
Ouvrez l'appareil aussi brievement que possible.
- Dégivrez régulierement le réfrigérateur congélateur pour enlever la couche de givre.
Veilz a ce que les portes du refrigerateur et du congelateur soient toujours correctement fermees.
DEGIVRAGE
Cet apparéil est équipé d'un système de froid ventilé sans givre.
Ce système permet au compartment de congélation de rester en permanence sans givre, sans que les alimentés stockés dans les tiroirs de congélation ne se déconglient.
NETTOYAGE ET ENTRETIEN
Dès l'installation de votre nouvel apparéil, il est recommendé de le nettoyer soigneusement.

Débranche l'appareil avant de le nettoyer.
- Sortez les alimentes et mettez-les dans un endroit frais.
- Retirez toutes les pieces amovibles, telles que les clayettes, le bac à legume, tiroirs etc.
- Utilisez un chiffon doux humide ou une serviette en papier pour nettoyer l'intérieur et l'extérieur, y compris toutes les différentes zones de vidange et l'orifice d'évacuation de l'eau.
-
Essuyez immédiatement les renversements dans les compartments du réfrigérateur et du congélateur avec un chiffon humide.
-
Utilisez un nettoyant doux tel qu'un détergent à vaisse, du bicarbonate de soude ou du vinaigre pour nettoyer la zone salie.
-
Placez une petite quantité de détergent, de vinaigre ou de bicarbonate de soude dans un bol et adjoutez-y de l'eau chaude. Trempez une serviette ou un chiffon dans la solution de nettoyage et nettoyez l'intérieur de votre apparéil.
-
Lavez les pieces détachables dans de l'eau chaude savonneuse avec une éponge ou un chiffon doux.
Rincez-les et séchez-les complètement avant de les remettre en place.
- N'utilisez pas de produits de nettoyage abrasifs ou chimiques.
- Nettoyez les revêtements de porte et les joints d'étanchéité en utilisant une éponge propre ou un chiffon doux et un detergent doux dans de l'eau tiède.
- N'utilise pas de cires de nettoyage, de détergents concentrés, d'agents de blanchiment ou des nettoyants contenant du petrole, sur les pieces en plastique du réfrigerateur.
- Séchez soigneusement toutes les surfaces, puis branchez l'appareil. Réglez la temperature.
- Remettez les aliments dans l'appareil.
La lampe LED dans le compartment du réfrigerateur/ congélateur ne peut pas être remplaçée par l'utilisateur. Si la lampe LED cesse de fonctionner, contactez le centre de reparation agréé local.
Si vous rencontres un problème avec votre apparéil ou si vous craignez que l' apparéil ne fonctionne pas correctement, vous pouvez effectuer quelques vérifications simples conformément au tableau ci-dessous avant de faire appel à un technicien.
Avertissement!
N'essayez pas de réparer vous-même l'appareil. Si le problème persiste après avoir effectué les vérifications mentionnées ci-dessous, contactez un électricien qualifié, un ingénieur de service agrée ou le magasin où vous avez acheté le produit.
| Problème | Causes possibles & Solution |
| L'appareil ne marche pas. | Vérifiez que l'appareil est correctement branché sur la prise secteur et que l'alimentation est activée.Vérifiez que le fusible n'est pas grillé.Vérifiez que le disjoncteur n'est pas déclenché. |
| Bruits inhabituels | Réajustez les pieds pour vous assurer que l'appareil est à niveau.Vérifiez que l'appareil ne touche pas le mur ou d'autres objets. Déplacez légèrement l'appareil.Vérifiez qu'un composant, par exemple un tuyau, situé à l'arrière de l'appareil ne touche pas une autre partie de l'appareil ou le mur. Si nécessaire, repliez soigneusement le composant afin qu'il ne soit plus en contact avec un object. |
| La température à l'intérieur de l'appareil est trop froide. | La température réglée est trop BASSE ou la fonction de Super réfrigération / Super congélation est activée ou fonctionne trop longtemps. Réglez à nouveau la température et désactivez la fonction Super réfrigération / Super congélation. |
| Réfrigération inadéquate. | Réglez la commande de température sur une température plus BASSE et attendez plusieurs heures pour que la température se stabilise.La portec est restée ouverte trop longtemps ou est ouverte trop féquèment. L'air chaud pénétre dans le réfrigérateur à chaque ouverture de la portec. Ouvrez la portec moins souvent.Vérifiez que la portec est complètement fermée.Assurez-vous que le joint de la portec reste scellé.Un grande quantité d'aliments tièdes ou chauds a peut-être été stockée récemment. Attendez que le réfrigérateur ait atteint sa température de consigne. |
| Le joint de la portec n'est pas étanche. | Enlevez les matières étrangères sur le joint de la portec.Chaufferez le joint de la portec, puis refroidissez-le pour le restaurer. (ou soufflez dessus avec un séchoir électrique ou utilisez une serviette chaude pour leCHAuffer). |
| Le distributeur d'eau ne fonctionne pas correctement. | L'appareil n'est pas raccordé à l'alimentation en eau ou le robinet d'accret de l'alimentation en eau n'est pas ouvert.Raccordez l'appareil à une source d'eau et assurez-vous que le robinet d'accret de l'eau est complètement ouvert. |
| • Le filtré à eau est bouché ou mal installé. Remplacez le filtré ou réinstallé-le correctement. Assurez-vous qu'aucun système de filtration inversé n'est connecté à votre alimentation en eau froide, ce qui peut réduire la pression de l'eau. |
| L'eau du distributeur n'est pas assez froide. | • Une grande quantité d'eau a été récemment distribuée. Laissez le temps à la nouvelle alimentation en eau de refroidir complètement.
• Distribution fréquence d'eau froide en peu de temps. Attendez un peu que l'eau refroidisse. |
| La machine à glaçons ne produit pas de glaçons, n'en produit pas assez ou produit de petits glaçons. | • L'appareil n'est pas raccordé à l'alimentation en eau ou le robinet d'arrêt de l'alimentation en eau n'est pas complètement ouvert. Raccordez l'appareil à une source d'eau et assurez-vous que le robinet d'arrêt de l'eau est complètement ouvert.
• La machine à glaçons n'est pas mise en marche. Mettez la machine à glaçons en marche.
• Une grande quantité de glace a récemment été enlevée. Veuillez prévoir suffisamment de temps pour que la machine à glaçons produise davantage de glace.
• Pression d'eau inadéquate - Vérifiez que la pression d'eau dans votre foyer est suffisante (1,5 à 7 bars).
• Le filtré à eau est mal installé. Assurez-vous que le filtré est correctement installé.
• Assurez-vous qu'aucun système de filtration inversé n'est connecté à votre alimentation en eau froide, ce qui peut réduire la pression de l'eau.
• Les portes ne sont pas complètement fermées. Assurez-vous que les deux portes sont bien fermées.
• La glace est obstruée ou gelée dans leseau à glace, ou la glace bloque la goulotte de distribution des glaçons. Retirez ou séparez la glace coincée, en utilisant un ustensile en plastique si nécessaire. Nettoyez la goulotte d'alimentation en glace et le fond duseau à glace à l'aide d'un chiffon chaud et humide, puis séchez-les soigneusement. |
| Fiche d'information sur le produitRÉGLEMENT DÉLÉGUE (UE) 2019/2016 DE LA COMMISSION en ce qui concernel'étiquetage énergétique des apparèils de réfrigération |
| Nom du fournisseur ou marque commerciale: Etablissements Darty & fils © | FRIGIDAIRE |
| Adresse du fournisseur: 9 Rue des Bateaux-Lavoirs, 94200 Ivry-sur-Seine, France |
| Référence du modèle: FRSBS90WDIXE |
| Type d'appareil de réfrigeration: |
| Appareil à faible niveau debruit: | non | Type de construction: | à pose libre |
| Appareil de stockage duvin: | non | Autre apparéil deréfrégération: | oui |
| Paramètres généraux du produit: |
| Paramètre | Valeur | Paramètre | Valeur |
| Dimensions hors tout (millimètres) | Hauteur | 1770 | Volume total (dm3ou l) | 513 |
| Largeur | 900 |
| Profon-deur | 660 |
| IEE | 100 | Classe d'efficacité énergétique | E |
| Émissions de bruit acoustique dans l'air [dB(A) re 1 pW] | 39 | Classe d'émission de bruit acoustique dans l'air | C |
| Consommation d'énergie annuelle (kWh/an) | 306 | Classe climatique: | Tempérée élargie/Tempérée/Subtropicale |
| Température ambiente minimale (°C) à laquelle l'appareil de réfrigération est adapté | 10 | Température ambiente maximaile (°C) à laquelle l'appareil de réfrigération est adapté | 38 |
| Réglage hiver | non | | |
| Paramètres des compartments: |
| Type de compartment | Paramètres et valeurs de compartment |
| Volume de compartment (dm3ou l) | Réglage de température recommendé pour un stockage optimisé des denrées alimentaires (°C) | Pouvoir de congélation spécifique (kg/24 h) | Mode de dégivrage (dégivrage automatique = A, dégivrage manuel = M) |
| Garde-manger | non | — | — | — | — |
| Stockage du vin | non | — | — | — | — |
| Cave | non | — | — | — | — |
| Denrées alimentaires fraîches | oui | 344,0 | 4 | — | A |
| Denrées hautement périissables | non | — | — | — | — |
| Sans étoile ou fabrication de glace | non | — | — | — | — |
| 1 étoile | non | — | — | — | — |
| 2 étoiles | non | — | — | — | — |
| 3 étoiles | non | — | — | — | — |
| 4 étoiles | oui | 169,0 | -18 | 12,0 | A |
| Zone 2 étoiles | non | — | — | — | — |
| Compartment à température variable | non | — | — | — | — |
| Compartments "quatre étoiles" |
| Dispositif de congélation rapide | Oui |
| Pour apparèils de stockage du vin |
| Nombre de bouteilles de vin standard | — |
| Paramètres de la source lumineuse (a): |
| Type de source lumineuse | LED |
| Classe d'efficacité énergétique | G |
| Durée minimale de la garantie offerte par le fabricant: 24 mois |
| Informations complémentaires: |
| Lien internet vers le site web du fournisseur où se trouvent les informations visées à l'annexe II, point 4, du règlement (UE) 2019/2019 de la Commission : www.darty.com / www.vandenborre.be |
(a) Tel que déterminé conformément au règlement délégué (UE) 2019/2015 de la Commission.
Classe climatique :
- Tempérée élargie: «Cet apparéil de réfrigération est destiné à être utilisé à des températures ambiantes comprises entre 10^ et 32^ .
- Tempérée: «Cet apparéil de réfrigération est destiné à être utilisé à des températures ambiantes compris entre 16^ et 32^ .
- Subtropicale: «Cet apparéil de réfrigération est destiné à être utilisé à des températures ambantes comprises entre 16^ et 38^ .
Cet apparéil de réfrigération n'est pas destiné à être utilisé comme un apparéil intégrable.
Pour acceder aux informations sur le modele stockées dans la base de données des produits :
Cliqueurlelien
| Tension et fréquence nominales | 220-240V~ 50Hz |
| Réfrigérant/Quantité | R600a / 75g |
| Gaz isolant | Cyclopentane |
| Courant nominal | 1,5A |
| Puisance d'entrée nominale | 150W |
| Puisance de décongélation | 240W |
| Puisance d'entrée de la machine à glace | 130W |
| Classe de protection contre les chocs électriques | Classe I |
| Durée de montée en température | Autonomie en cas de coupure de courant : 6 h |
| Poids net | 90 kg |

Ce produit contient une source lumineuse de classe d'efficacité énergétique G.

Ne démontez pas et ne répAREZ pas l'appareil vous-même. Ne pas respecter cette consigne peut entrainer un choc électrique ou des blessures.
Pour demander une réparation professionnelle et commander des pieces de rechange, veuillez vous adresser au service après-vente FNAC DARTY.
Les pieces de rechange pour vos apparecs seront livrées sous 15 jours ouvrés après réception de la commande.
Veuillez noter!
Tous les apparèils ont une garantie de 2 ans.
La garantie ne couvRE pas les dommages causés par une mauvaise installation, une modification non autorisée, une auto-réparation ou une réparation non professionnelle.
Contactez-nous :

www.darty.com

0978 970 970
24 heures / 24
7jours/7

9 Rue des Bateaux-Lavoirs, 94200 Ivry-sur-Seine, France
Vanden Borre
in alle vertrouwen
www.vandenborre.be

023340000
8h-18h
Lundi à Samedi

Vente en ligne de pieces détachées et accessoires :
En tant que distributeur responsable, nous accordons une grande importance à la
protection de l'environnement.
Nous vous encourageons à respecter les procédures correctes de mise au rebut de votre apparéil, des piles et des éléments d'emballage. Cela aidera à préserver les ressources naturelles et à garantir qu'il soit recyclé d'une manière respectue de la santé et de l'environnement.
Voudevez jeterceproduit et sonemballage selon leslois et lesregles locales.
Puisque ce produit contient des composants électroniques et parfois des piles, le produit et ses accessoires doivent être jetés séparément des déchets domestiques lorsque le produit est en fin de vie.
Pour plus de renseignements sur les procédures de mise au rebut et de recyclage, contactez les autorités de votre commune.
Apportez l'appareil à un point de collecte local pour qu'il soit recyclé. Certains centres acceptent les produits gratuitement.


FR


FR
Cet apparéil, ses accessoires et cordons se recyclent
Points de collecte sur www.quefairedemesdeschets.fr
Privilégyla réparation ou le don de leur apparéeil
En raison des mises au point et améliorations constamment apportées à nos produits, de petites incohérences peuvent apparaître dans ces instructions. Veuillez nous excuser pour la gène occasionnée.
Etablissements Rally & fils ©,
9 Rue des Bateaux-Lavoirs, 94200 Ivry-sur-Seine, France 19/07/2024
ZONE LA PLUS FROIDE DU REFRIGERATEUR

Le symbole ci-contre indique l'emplacement de la zone la plus froide de votre réfrigerateur, cette zone est délimitée en bas par la vitre du bac à legumes, et en haut par le symbole ou bien la clayette positionnée à la même hauteur. Afin de garantir les temperatures dans cette zone, veillez à ne pas modifier le positionnement de cette clayette.
Dans les réfrigerateurs à air pulé (équipés d'un ventilateur ou modèles No Frost), le symbole de la zone la plus froide n'est pas représenté car la temperature à l'intérieur de ceux-ci est homogène.
INSTALLATION DE L'INDICATEUR DE TEMPERATURE
Pour vous aider à bien régler votre réfrigérateur, celui-ci est équipé d'un indicateur de temperature qui permettra de controller la temperature moyenne dans la zone la plus froide.
ATTENTION: Cet indicateur est prévu pour fonctionner uniquement avec votre réfrigérateur, veillez à ne pas l'utiliser dans un autre réfrigérateur (en effet, la zone la plus froide n'est pas identique), ou pour toute autre utilisation.
INDICATEUR DE TEMPERATURE : ZONE LA PLUS FROIDE DE VOTRE REFRIGERATEUR.

VERIFICATION DE LA TEMPERATURE DANS LA ZONE LA PLUS FROIDE
Grçà à l'indicateur de temperature, vous pourrez vérifier régulièrement que la temperature de la zone la plus froide est correcte. En effet, la temperature à l'intérieur du réfrigerateur est fonction de plusieurs facteurs tells que la température ambiente du local, la quantité de denrées stockées, la fréquence d'ouverture de la porte. Prenez ces facteurs en consideration lors du réglage de l'appareil.
Lorsque l'indicateur indique « OK», cela signifie que votre thermostat est bien régle, et que la temperature interieure est correcte.
Si la couleur de l'indicateur est blanche, cela signifie que la temperature est trop élevé, il faut dans ce cas augmenter le réglage du thermostat et attendre 12 heures pour effectuer un nouveau contrôle visuel de l'indicateur.
Après chargement ou ouverture de la porte, il est possible que l'indicateur devienne blanc au bout de quelques instants.

Réglage correct

Température trop élevée, réglez le thermostat
Inhoudsopgave
BELANGRIJKE VEILIGHEIDSINSTRUCTIES 2
PRODUCTOVERZICH 6
VOOR INSTALLATIE VAN HET APPARAAT 8
INSTALLATIE 8
WATERFILTER EN -LEIDING AANSLUITEN. 11
OMGEVINGSTEMPERATUUR. 13
9 Rue des Bateaux-Lavoirs,
94200 Ivry-sur-Seine,
France
Vanden Borre
in alle vertrouwen
www.vandenborre.be

023340000
8u-18u
Ma waar Zat

Slesbroekstraat 101
1600 Sint-Pieters-Leeuw
Belgium


Etablissements Rally & fils ©,
9 Rue des Bateaux-Lavoirs, 94200 Ivry-sur-Seine, France 19/07/2024
KOUDSTE ZONE VAN DE KOELKAST

Etablissements Darty & fils ©,
9 Rue des Bateaux-Lavoirs, 94200 Ivry-sur-Seine, France 19/07/2024
A PARTE MAIS FRIA DO FRIGORIFICO

9 Rue des Bateaux-Lavoirs, 94200 Ivry-sur-Seine, France
Vanden Borre
in alle vertrouwen
www.vandenborre.be

023340000
8AM-6PM
Mon to Sat

Slesbroekstraat 101
1600 Sint-Pieters-Leeuw Belgium

Etablissements Darty & fils ©, 9 Rue des Bateaux-Lavoirs, 94200 Ivry-sur-Seine, France 19/07/2024
THE COLDEST PART OF THE REFRIGERATOR

Etablissements Darty & fils ©,
9 Rue des Bateaux-Lavoirs,
94200 Ivry-sur-Seine, France
N°862024070030
Description du produit -
RéFRIGÉRATEUR CONGÉLATEUR
Référence commerciale -
FRSBS90WDIXE
Model number:
/Modelnummer /Numero de modelos /
Numero do modelo:
La presente déclaration de conformité est établie sous la seule responsabilité du fabricant.
Le responsable de cette déclaration est :
Signé par et un nom de – Signed by and on behalf of: Etablissements Party & FilsNom – Name : Predrag Petricveic
Fonction - Position: Directeur du Laboratoire Fnac Darty
Ivry-sur-Seine, juillet 30, 2024


