TRAMPOLINE + FILET + ECHELLE - Trampoline TRIGANO - Notice d'utilisation et mode d'emploi gratuit
Retrouvez gratuitement la notice de l'appareil TRAMPOLINE + FILET + ECHELLE TRIGANO au format PDF.
| Type de produit | Trampoline avec filet de sécurité et échelle |
| Dimensions approximatives | Diamètre : 3,05 m (10 pieds) |
| Hauteur du trampoline | Environ 76 cm |
| Poids maximum supporté | 150 kg |
| Matériaux | Structure en acier galvanisé, toile de saut en polypropylène |
| Filet de sécurité | Filet en polyester, fixé à l'aide de poteaux rembourrés |
| Échelle | Échelle en acier, 2 marches |
| Utilisation | Pour les enfants à partir de 6 ans, usage récréatif |
| Entretien et nettoyage | Vérifier régulièrement la tension des ressorts, nettoyer avec de l'eau savonneuse |
| Pièces détachées et réparabilité | Disponibilité de pièces de rechange pour la structure et le filet |
| Sécurité | Utiliser sous la supervision d'un adulte, respecter les consignes de sécurité |
| Informations générales | Installation recommandée sur une surface plane, éviter les surfaces dures |
FOIRE AUX QUESTIONS - TRAMPOLINE + FILET + ECHELLE TRIGANO
Questions des utilisateurs sur TRAMPOLINE + FILET + ECHELLE TRIGANO
0 question sur cet appareil. Repondez a celles que vous connaissez ou posez la votre.
Poser une nouvelle question sur cet appareil
Téléchargez la notice de votre Trampoline au format PDF gratuitement ! Retrouvez votre notice TRAMPOLINE + FILET + ECHELLE - TRIGANO et reprennez votre appareil électronique en main. Sur cette page sont publiés tous les documents nécessaires à l'utilisation de votre appareil TRAMPOLINE + FILET + ECHELLE de la marque TRIGANO.
MODE D'EMPLOI TRAMPOLINE + FILET + ECHELLE TRIGANO
Attention, le poids maximum de l'utilisateur est de:
JOU129:50Kg
JOU130: 100Kg
JOU131: 130Kg
JOU132: 130Kg

Attention.
Ne convient pas à un enfant de moins de 3 ans. Risque de chute.
Déconseillé aux enfants de moins de 6 ans.
Attention.
À litre impérativement avant de commencer le montage de votre produit.

NE-3110bis
Cher client:
Merci d'avoir choisi ce produit. Nous espérons que vous l'apprécierez. Il faudra prévoir 2 heures à 2 années pour le monter.
Attention: le trampoline doit être monté par un adulte conformément à l'aide de la notice de montage, et vérifié avant la première utilisation.
Attention: le trampoline est conçu pour un usage familial et en extérieur, uniquement.
Attention: Un seul utilisateur à la fois. Risque de collision.
Attention: Toujours fermer l'ouverture du filet de protection avant de sauter.
Attention: Saut sans chaussures. Pas de vêtements amples. Retirer tout cordon, crochet, boute ou objet pouvant se coincer dans le filet ou la structure.
Attention: Ne pas utiliser le tapis lorsqu'il est mouillé.
Attention. Vider les poches et les mains avant de sauter.
Attention: Toujours sauter au milieu du tapis.
Attention: Ne pas manger en sautant.
Attention: Ne pas sortir en sautant.
Attention: Limiter la durée d'utilisation continue (faire des pauses régulières).
Attention: Ne pas utiliser en conditions de vent fort et arrimer le trampoline.
Attention: Ce produit ne convient pas aux enfants de moins de 36 mois car il existe des risques de chute ou des risques de blessure en raison de caractéristiques dimensionnelles et fonctionnelles non adaptées à cette catégorie d'âge.
Produit déconseilé aux enfants de moins de 6 ans (hauteur supérieure à 51cm).
Attention: Le trampoline n'est pas destiné à être enterré dans le sol.
Attention: Placer le trampoline sur une surface plane et horizontale, en prévoyant un espace d'au moins 2m dégagé de tout obstacle. Éviter toute obstruction tout autour de la structure comme une clôture, garage, maison, branches en surplomb, des lignes de linge ou des câbles électriques ou autre aire de jeu. Un dégagement minimum en hauteur de 8m est nécessaire.
Attention: Le trampoline ne doit pas être installé sur du béton, de l'asphalte ou toute autre surface dure.
Attention: Aucune modification ne doit être apportée sur le produit. Pour l'entretien, n'utiliser que des pièces d'origine.
Attention: Vérifier les pièces principales (cadre, système de suspension, tapis, rembourrage, et filtre) avant chaque saison et aussi à intervalles réguliers. Si ces contrôles ne sont pas effectués, le trampoline pourrait devenir dangereux.
Attention: Vérifier que tous les écrous et boulons soient bien serrés. Resserrer au besoin.
Attention: vérifier que toutes les connections des ressorts sont intactes et ne peuvent pas se détacher lors de l'utilisation.
Attention: Vérifier que le produit n’ait pas de signes visibles de détérioration et replacer les pièces si nécessaire en conformité avec les instructions du fabricant. Vérifier également toutes les protections et les replacer si nécessaire.
Attention: replacer le filet de protection après 1 an d'utilisation.
Attention: Garder les instructions de montage et d'installation pour toute référence ultérieure.
Démonter le filet et le tapis de saut après utilisation et en cas de vent fort. Dans certains pays pendant la période d'hiver, la charge de neige et les basses températures peuvent endommager le trampoline. Il est recommandé d'enlever la neige et de ranger le tapis, le filet et le coussin de protection dans un endroit protégé et sec.
NOTE: La lumière du soleil, les intempéries et les basses températures réduisent la résistance des pièces dans le temps.
Attention: assurez-vous que les attaches crochet et boucle soient fermées correctement lors de l'utilisation du trampoline.
Produit garanti 2 ans sur la structure métallique (contre la perforation), le coussin et le tapis de saut.
Avant de commencer à utiliser ce trampoline, assurez-vous de lire attentivement toutes les informations communiquées dans ce manuel. Comme tout autre type d'activité récréative physique, les participants peuvent être blessés. Pour réduire le risque de blessure, assurez-vous de suivre les règles et les conseils de sécurité appropriés:
- Une mauvaise utilisation ou un mauvais traitement de ce trampoline et de son filt sont dangereux et peuvent causer de graves blessures!
- Les trampolines, étant des dispositifs de rebondissement, propulsent l'utilisateur à des hauteurs inhabituelles et dans des positions variées du corps.
- Toujours inspecter le trampoline avant chaque utilisation : tapis usés, pièces manquantes ou desserrées.
- L'assemblage correct, le soin et l'entretien du produit, des conseils de sécurité, les avertissements et les techniques appropriées de saut et rebonds sont tous inclus dans ce manuel. Tous les utilisateurs et les superviseurs doivent lire et se familiariser avec ces instructions. Quiconque a besoin d'utiliser ce trampoline doit être conscient de ses propres limites en ce qui concerne l'exécution de divers sauts et rebonds avec ce trampoline.

Attention

N'autorisez pas plus d'une personne dans l'enclos du trampoline.
L'utilisation par plus d'une personne à la fois peut causer de graves blessures.

Ne tentez pas et n'autorisez pas la pratique de sauts périlleux sur le trampoline. Tomber sur la tête ou sur le cou peut causer une grave blessure, une paralysie ou la mort, même en tombant au milieu du matelas.
Utilisez seulement le trampoline sous la surveillance d'une personne adulte et expérimentée.
Retirez tout objet de dessous et autour du trampoline avant utilisation.
Ne tentez pas de sauter par-dessus le filet de protection ni de passer par-dessous.
Ne vous suspendez pas, ne donnez pas de coup de pied et ne grimpez pas sur le filet de protection.
N'attachez aucun objet sur le filet de protection ou la structure qui ne soit fourni par le fabricant.
N'entrez et sortez que par le système d'ouverture. Lisez toutes les instructions avant utilisation de l'enclos.
N'utilisez pas le trampoline comme tremplin pour d'autres objets ou pour sauter sur d'autres objets.
Retirez l'échelle lorsque le trampoline n'est pas utilisé pour interdire l'accès aux personnes non autorisées.
N'utilisez pas le trampoline sous l'influence de l'alcool ou de la drogue ou si vous êtes fatigués.
Enlevez tout objet dur ou pointu porté par l'utilisateur avant d'utiliser le trampoline.
Avant utilisation, contrôlez:
L'état de la protection du support : Elle doit être présente, en bon état et bien attachée. L'état de la toile de saut : Pas d'usure (y compris coutures), de trou ni de crochet d'attache cassé ou manquant. L'état des ressorts. L'état de la structure : Il doit être non endommagé et les différents éléments bien fixés et les vis serrées.
SI L'INSPECTION REVELE UN DYSFUNCTIONNEMENT OU MAUVAIS ETAT D'UN ELEMENT, L'UTILISATION DU TRAMPOLINE DOIT ETRE INTERDITE JUSQU'AU REMPLACEMENT DE CET ELEMENT PARUNE PIECE D'ORIGINE.















- Arrêt d'un rebond : Plier les genoux juste avant de toucher la toile de saut. Cette technique doit être pratiquée en même temps que l'apprentissage des sauts de base. À réaliser lorsque il y a perte d'équilibre ou de la maîtrise du saut.
- Apprendre à effectuer complètement les rebonds de base et les positions du corps avant de tenter des mouvements plus avancés. De nombreuses activités peuvent être effectuées en combinant des mouvements de base, avec ou sans rebond de pieds.
- Éviter de rebondir trop haut jusqu'à ce que le contrôle de rebond et des arrêts au centre du trampoline soient maîtrisés. La maîtrise est plus importante que la hauteur. Garder les yeux sur la toile de saut. Cela aidera à conserver le contrôle du saut.
- N'autoriser qu'un utilisateur à la fois. Toujours sauter au centre du trampoline.
- Pour toute information concernant l'entraînement, contacter un moniteur de trampoline agréé.
- N'utiliser le trampoline que lorsque la surface de la toile de saut est sèche. Le vent ou les mouvements de l'air doivent être calmes ou légers. Le trampoline ne doit pas être utilisé sous des rafales de vent ou des vents violents.
- Lire toutes les instructions avant d'utiliser le trampoline. Les avertissements et les instructions pour l'entretien et le nettoyage de ce trampoline sont inclus pour assurer une utilisation sûre et agréable de cet équipement.
Si vous NE SUIVEZ PAS ces conseils, vous augmentez le RISQUE qu'une personne soit blessee
- Apprendre les règles de sécurité et pratiquer les sauts de base
- Imposer toutes les règles de sécurité et s'assurer que les nouveaux utilisateurs apprennent correctement les mouvements de base avant d'effectuer des mouvements plus difficiles.
- Tous les utilisateurs, de tous niveaux et tous âges, doivent être surveillés.
- Faire les contrôles nécessaires avant de démarrer l'activité : état du trampoline, usure, propre et (cf plus haut).
- Sécuriser le trampoline après utilisation pour empêcher toute utilisation non surveillée.
- Veiller à ce que la carte de sécurité soit bien présente et lisible sur le cadre du trampoline.
Veillez à toujours monter et descendre correctement du trampoline afin d'éviter les blessures. Pour monter correctement, vous devez placer votre main sur le cadre et rouler sur le tapis de trampoline. Ne marchez pas directement sur le coussin de protection ou ne vous accrochez au coussin. Pour descendre correctement, rapprochez-vous du bord du trampoline et placez votre main sur le cadre de support en vous agenouillant sur le coussin de protection. Descendez par l'échelle, en restant face au trampoline. Aidez les jeunes enfants pour monter et descendre du trampoline.
Ne pas rebondir sur le trampoline témérairement car cela augmentera le risque de vous blesser. La clé de la sécurité et du plaisir d'utilisation est le contrôle et la maîtrise des différents rebonds. Ne jamais essayer de sauter plus haut que votre taille! Ne jamais utiliser le trampoline seul sans supervision.
Consommation d'alcool ou de drogue: Ne pas consommer d'alcool ou de drogues en utilisant ce trampoline! Cela augmente le risque de se blesser, car ces substances étrangères portent atteinte à vos jugements, temps de réaction et la coordination physique générale.
Se cogner sur les ressorts ou le cadre: Lors de l'utilisation du trampoline, rester dans le centre du tapis. Cela permettra de réduire le risque de se blesser sur le cadre ou les ressorts. Toujours garder le coussin de protection recouvrant le cadre du trampoline. NE PAS sauter ou monter sur le bord du cadre directement (non conçu pour ça).
Perte de contrôle: NE PAS essayer des manœuvres difficiles, ou toute manœuvre jusqu'à ce que vous ayez maîtrisé la manœuvre précédente, ou si vous êtes en train d'apprendre à sauter sur un trampoline. Si vous le faites, vous allez augmenter le risque de blessure en tombant sur le cadre ou les ressorts parce que vous risquez de perdre le contrôle de votre saut. Un saut est considéré comme contrôlé lorsque vous retombez sur votre point de départ.
Leçons d'apprentissage
Les leçons suivantes sont proposées afin d'apprendre les étapes et les mouvements initiaux avant d'essayer des positions plus difficiles. Avant de monter et d'utiliser le trampoline, vous devez dire et comprendre toutes les consignes de sécurité. Une information sur l'utilisation du trampoline et une démonstration complète des mécanismes du corps doit être donnée au début par la surveillance. En premier lieu, faire l'apprentissage d'une montée et d'une descente correcte du trampoline.
Mouvements de BASE
Revoir et pratiquer les techniques apprises dans les leçons précédentes avant chaque nouvel apprentissage.
Le REBOND de BASE

- Commencez en position ABOUT, pieds et épaules écartés, tête levée en regardant la toile de saut.
- Balancez les bras en avant et faites-les tourner de manière circulaire.
- Ramenez les pieds ensemble lors du saut et pointez les orteils vers le bas.
- Gardez les pieds et les épaules bien écartés lorsque vous retombez.
Entrenez-vous à freiner l'élan et à vous arrêter sur commande en fléchissant les genoux juste avant de toucher le tapis de saut.
Le REBOND sur les GENOUX

- Commencez par un rebond de base sans monter trop haut.
- Retombez sur les genoux, dos droit, corps étendu et utilisez vos bras pour maintenir l'équilibre.
- Refaites un saut de base en balançant les bras vers le haut.
Une fois assimilé, essayez d'effectuer un demi-tour vers la gauche ou vers la droite.
Le REBOND en position ASSISE

- Retombez en position assise.
- Placez les mains sur la toile près des hanches, sans serrer les coudes.
- Retournez en position debout en poussant avec les mains.
Apprenez à rebondir en position assise puis ajoutez un rebond sur les genoux, puis sur les mains et les genoux et répétez le cycle des rebonds.
Le REBOND sur le VENTRE

- Commencez avec un petit rebond.
- Retombez sur le ventre en gardant les mains et les bras tendus vers l'avant sur le tapis.
- Poussez sur le tapis avec les bras pour retourner à la position ABOUT.
Pratique en boucle : Rebond sur les mains et les genoux, rebond sur le ventre, retour sur les pieds, rebond en position assise et retour sur les pieds.
Le REBOND a

- Commencez en position ventrale. Poussez sur les mains du côté gauche ou droit (selon la façon dont vous souhaitez tourner).
- Maintenez la tête et les épaules dans la même direction et gardez le dos parallèlement au tapis et la tête levée.
- Retombez en position ventrale et revenez en position debout en poussant avec les mains et les pieds.
Instructions d'assemblage
Pour assembler ce trampoline, vous n'aurez besoin que de l'outil spécial fourni pour attacher les ressorts. Pendant les périodes de non-utilisation, ce trampoline peut être facilement démonté et stocké. Veuillez lire les instructions de montage avant de commencer à assembler le produit. 2 adultes nécessaires au montage.
Avant assemblage
Veuillez vous référer à cette page pour les descriptions et les numéros de pièces. Les étapes d'assemblage utilisent ces descriptions et numéros pour votre commodité.
Assurez-vous que vous avez toutes les pièces énumérées. Si vous manquez de pièces, veuillez vous reporter à cette page pour les informations à transmettre afin d'acquérir ces pièces.
Pour éviter toute blessure aux mains par pincement lors de l'assemblage, veuillez utiliser des gants pour les protéger.
Liste des pièces:
| Numéro | Référence | Description | Quantité par référence | |||||
| TR-6 | JOU129 | JOU130 | JOU131 | TR-13 | JOU132 | |||
| 1 | HJ800 | Toile de saut avec anneaux en V | 1 | 1 | 1 | 1 | 1 | 1 |
| 2 | HJ801 | Coussin de protection | 1 | 1 | 1 | 1 | 1 | 1 |
| 3 | HJ802 | Rail structure avec manchon | 3 | 3 | 3 | 4 | 4 | 4 |
| 4 | HJ803 | Rail structure | 3 | 3 | 3 | 4 | 4 | 4 |
| 5 | HJ804 | Pied | 3 | 3 | 3 | 4 | 4 | 4 |
| 6 | HJ805 | Extension pour pied | 6 | 6 | 6 | 8 | 8 | 8 |
| 7 | HJ806 | Ressort galvanisé | 36 | 48 | 60 | 72 | 80 | 88 |
| 8 | HJ807 | Fiche de sécurité plastifiée | 1 | 1 | 1 | 1 | 1 | 1 |
| 9 | HJ808 | Outil de fixation des ressorts | 1 | 1 | 1 | 1 | 1 | 1 |
ETAPE 1: Principé et technique à observer avant d'assembler
Il y a un total de 15 (JOU129, JOU130) ou 20 (JOU131, JOU132) pièces en acier pour assembler le cadre et les pieds. Toutes les pièces avec le même numéro sont interchangeables et n'ont pas de sens gauche ou droite. Présentez les éléments en cercle comme ci-dessous. Pour les connecter (Étape 2 et suivantes) : glissez un tube de section qui est inférieure à une extrémité dans la section adjacente qui présente une ouverture plus grande. Ces joints sont appelés «points de connexion».


ETAPE 2: Assemblage des pieds (n^5 et n^6)
Emboiter toutes les extensions de pieds verticales (6) sur les pieds (5)

ETAPE 3 : Assemblage du cadre avec les pieds
A. Deux personnes seront nécessaires à ce stade pour assembler le trampoline. Une personne place à la verticale les assemblages de pieds montés à l'objet 2 et insère un des manchons d'un rail structure sur une extension de pied. L'autre personne maintient l'autre extrémité et insère cette partie dans l'autre extension de pied. Vous devriez maintenant avoir 2 ensembles de pieds maintenus ensemble par un rail structure avec manchon.

B. Maintenant, installez l'autre rail structure (4) dans les espaces entre les extensions des jambes verticales (6) par emboitement, comme indiqué ci-dessous :

ETAPE 4 - Assemblage de la toile de saut sur le cadre
Lors de la fixation des ressorts au tapis de trampoline, soyez prudent. Deux adultes nécessaires.
ATTENTION : Pendant la fixation des ressorts, les points de connexion du cadre se resserrent : risque de pincement.
A. Disposez la toile de saut au milieu du cadre

B. Il y a au total sur le trampoline :
Ces pièces ne sont pas numérotées : suivez attentivement les instructions ci-dessous
| Ressorts | Anneaux en V | Trous sur le cadre | |||
| 6 FT | 36 | 6 FT | 36 | 6 FT | 36 |
| JOU129 | 48 | JOU129 | 48 | JOU129 | 48 |
| JOU130 | 60 | JOU130 | 60 | JOU130 | 60 |
| JOU131 | 72 | JOU131 | 72 | JOU131 | 72 |
| 13 FT | 80 | 13 FT | 80 | 13 FT | 80 |
| JOU132 | 88 | JOU132 | 88 | JOU132 | 88 |
C. Sélectionnez un point arbitraire sur le Cadre (appelé ZERO). Tout d'abord, fixer le ressort (7) dans un anneau en V du tapis de saut, crochet vers le bas. Ensuite, utiliser l'outil spécial pour tirer sur le ressort et l'insérer dans le trou du cadre (suivant schéma ci-dessous). Gardez en repère le point ZERO pour les étapes suivantes.

Utilisation de l'outil spécial
(1) Portez des gants de travail épais pour protéger votre main. (2) Utilisez l'outil spécial ressort inclus. (3) Accrochez le ressort dans l'anneau en V.
Alignez l'anneau, le ressort et le trou dans le cadre.
Tirez sur le crochet du ressort avec l'outil comme indiqué.
Déposez le crochet dans le trou du cadre jusqu'à ce qu'il se verrouille en appuyant sur le crochet du ressort.
D. Ensuite, comptez les trous du cadre suivant le tableau ci-contre et comptez la même quantité pour les anneaux en V :
Accrochez un nouveau ressort à ce point.
| 6 FT | 9 |
| JOU129 | 12 |
| JOU130 | 15 |
| JOU131 | 18 |
| 13 FT | 20 |
| JOU132 | 22 |
E. Comptez à nouveau le même nombre de trous et d'anneaux en V et accrochez un nouveau ressort.
Par rapport au ZERO, vous devez etre au trou :
| 6 FT | 27 |
| JOU129 | 36 |
| JOU130 | 45 |
| JOU131 | 54 |
| 13 FT | 60 |
| JOU132 | 66 |
| 6 FT | 18 |
| JOU129 | 24 |
| JOU130 | 30 |
| JOU131 | 36 |
| 13 FT | 40 |
| JOU132 | 44 |
Répétez une fois l'opération pour arriver
Au compte par rapport au ZERO :
| 6 FT | ZERO | 9 | 18 | 27 |
| JOU129 | ZERO | 12 | 24 | 36 |
| JOU130 | ZERO | 15 | 30 | 45 |
| JOU131 | ZERO | 18 | 36 | 54 |
| 13 FT | ZERO | 20 | 40 | 60 |
| JOU132 | ZERO | 22 | 44 | 66 |
F. À ce niveau du montage, vous devez avoir assemblé 4 ressorts
Une répartition égale de tension est essentielle à l'assemblage correct du reste du tapis de trampoline.

G. Nombre de ressorts restants pour effectuer les tours suivants :
| 6 FT | 32 |
| JOU129 | 44 |
| JOU130 | 56 |
| JOU131 | 68 |
| 13 FT | 76 |
| JOU132 | 84 |
H. Pour le second tour, à partir du ZERO,
attachez un ressort tous les
| 6 FT | 5 |
| JOU129 | 6 |
| JOU130 | 7 |
| JOU131 | 9 |
| 13 FT | 10 |
| JOU132 | 11 |
Pour obtenir
| 6 FT | 5 | 14 | 23 | 32 |
| JOU129 | 6 | 18 | 30 | 42 |
| JOU130 | 7 | 22 | 37 | 52 |
| JOU131 | 9 | 27 | 45 | 63 |
| 13 FT | 10 | 30 | 50 | 70 |
| JOU132 | 11 | 33 | 55 | 77 |
I. Pour le dernier tour, à partir du ZERO,
attachez un ressort tous les
| 6 FT | 2 |
| JOU129 | 3 |
| JOU130 | 3 |
| JOU131 | 4 |
| 13 FT | 5 |
| .JOU132 | 5 |
Pour obtenir
| 6 FT | 2 | 7 | 11 | 16 | 20 | 25 | 29 | 34 |
| JOU129 | 3 | 9 | 15 | 21 | 27 | 33 | 39 | 45 |
| JOU130 | 3 | 10 | 18 | 25 | 33 | 40 | 48 | 55 |
| JOU131 | 4 | 13 | 22 | 31 | 40 | 49 | 58 | 67 |
| 13 FT | 5 | 15 | 25 | 35 | 45 | 55 | 65 | 75 |
| JOU132 | 5 | 16 | 27 | 38 | 49 | 60 | 71 | 82 |
J. Attachez les ressorts restants. Si vous remarquez que vous avez décalé certains trous du cadre avec des anneaux en V, réalisez-les en ajoutant ou retirant des ressorts.
ETAPE 5 - Mise en place de la fiche de sécurité
Utilisez la sangle d'attache pour fixer la fiche de sécurité plastifiée sur le cadre horizontal du trampoline. La positionner à proximité de l'ouverture du filet, à côté de l'échelle.

ETAPE 6 - Mise en place du coussin de protection
Attention
Ne jamais utiliser le trampoline sans attacher le coussin de protection. Bien attacher le coussin de protection avant chaque utilisation !!
A. Poser le coussin de protection (2) sur le trampoline de sorte que les ressorts, l'armature en acier ou toute pièce métallique soient couverts. Présenter les sangles d'attache élastiques au niveau des pieds comme illustré ci-dessous.

B. Passer les sangles par-dessus le cadre puis à l'arrête des pieds avant de faire un nœud en veillant à ce que le coussin soit bien tendu.

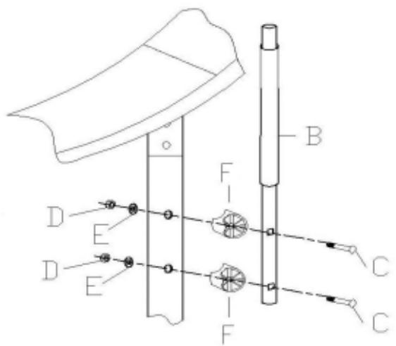
LISTE DES PIECES POUR FILET DE SECURITE ET ÉCHELLE
| NO. | DESCRIPTION | Quantité pour Trampolines 3 pieds | Quantité pour Trampolines 4 pieds |
| A. | TUBE HAUT AVEC MOUSSE POUR LE FILET | 6PCS | 8PCS |
| B. | TUBE BAS AVEC MOUSSE POUR LE FILET | 6PCS | 8PCS |
| C. | BOULON | 12PCS | 16PCS |
| D. | ECROU FREIN | 12PCS | 16PCS |
| E. | RONDELLÉ | 12PCS | 16PCS |
| F. | ENTRETOISE PLASTIQUE | 12PCS | 16PCS |
| G. | CLE | 1PC | 1PC |
| H. | FILET DE PROTECTION AVEC MANCHONS | 1PC | 1PC |
| I. | ECHELLE | 1PC | 1PC |
A TUBE HAUT AVEC MOUSSE POUR LE FILET
B TUBE BAS AVEC MOUSSE POUR LE FILE
C BOULON
E RONDELLE
D ECROU FREIN
F ENTRETOISE PLASTIQUE
G CLE
H FILET DE PROTECTION AVEC MANCHONS
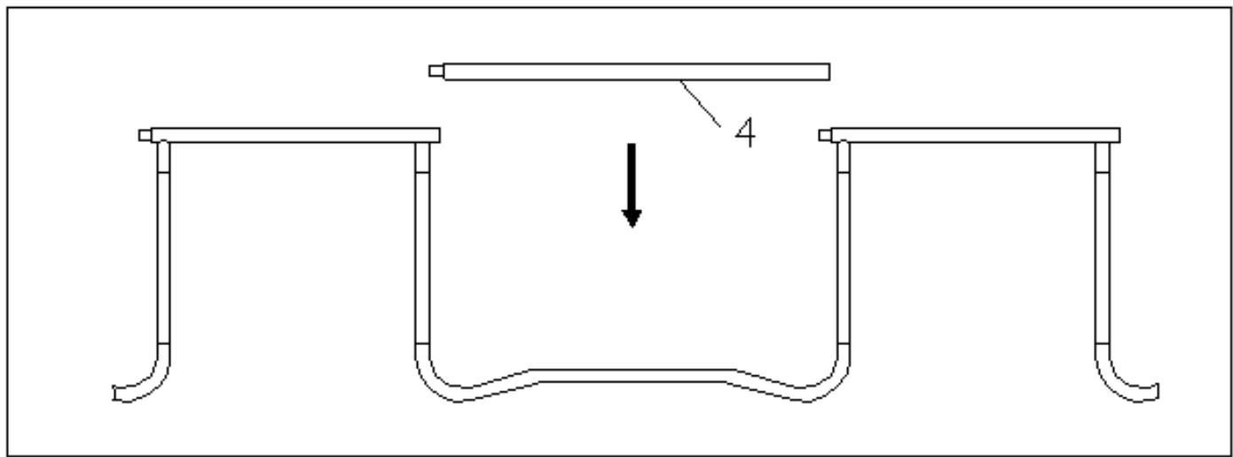
I ECHELLE ETAPE 7 - Mise en place du filet de protection
A. Fixez un tube bas (B) sur un pied du trampoline comme illustré ci-dessous. Sont nécessaires : deux boulons (C), deux écrous frein (D), deux rondelles (E) et deux entretoises (F). Serrez le tout à l'aide de la clé (G).
Répétez cette étape pour tous les tubes bas.


B. Enfilez les tubes hauts (A) dans les manchons du filet de protection (H) comme illustré ci-dessous, partie avec le bouchon en tête. Ne rentrez pas la totalité du tube dans le manchon : Il suffit d'insérer 1/3 de la longueur du tube.

C. Emboitez les tubes hauts (A) sur les tubes bas (B) comme illustré ci-dessous. Répétez cette étape pour tous les tubes.

ASTUCE: Assurez-vous que l'ouverture du filet soit au-dessus d'un jambage en "U" comme indiqué dans la figure ci-contre


D. Maintenant commencez à glisser doucement les manchons du filet sur les tubes. Faites progresser le filet de quelques centimètres sur un tube, sans forcer, puis passez au tube suivant. Faites le tour du trampoline jusqu'à ce que le filet soit en place.

ETAPE 8 - Mise en place de l'échelle
Posez les montants de l'échelle sur la structure du trampoline. Assurez-vous que le coussin de protection couvre bien l'échelle.

Vérifiez le serrage des sangles sur la structure ou sur les anneaux en V de la toile de saut. Tendez et fixez les cordelettes aux anneaux en V comme illustré ci-dessous.


| Modèle | Hauteur structure (cm) | Hauteur filet (cm) | Diamètre du trampoline (cm) | Hauteur totale (cm) |
| JOU129 | 49 | 150 | 244 | 209 |
| JOU130 | 70 | 180 | 305 | 250 |
| JOU131 | 80 | 180 | 366 | 260 |
| JOU132 | 80 | 180 | 427 | 260 |
SOINS et entretien
Ce trampoline a été conçu et fabriqué avec des matériaux de qualité et du savoir-faire. Si un entretien adéquat est effectué, il procurera du plaisir aux utilisateurs durant des années tout en assurant une sécurité maximale. Veuillez suivre les instructions ci-dessous:
Ce trampoline est conçu pour être utilisé dans des conditions précises et en respectant un poids maximum. Un seul utilisateur à la fois est autorisé, équipé de chaussures de gymnastique, en chaussettes ou pieds nus. Les chaussures de ville ou de tennis ne doivent PAS être portées pendant l'utilisation du trampoline. Afin d'éviter que le tapis de trampoline ne soit endommagé, ne laissez pas monter des animaux de compagnie sur le tapis. En outre, les utilisateurs ne doivent pas porter d'objets pointus ou coupants sur le trampoline. Ne pas laisser d'objets tranchants ou pointus sur le trampoline.
Toujours inspecter le trampoline avant chaque utilisation : Vérifier l'absence de pièces usées, déteriorées ou manquantes. Dans certaines conditions, le risque de blessure peut être augmenté. Recherche :
Des perforations, des trous, ou des déchirures dans le tapis de saut Un affaissement du tapis de saut - Une couture usée ou cassée ou tout autre type de dépréciation du tapis - Des éléments de la structure pliés ou cassés - Des ressorts manquants, déteriorés ou cassés Un coussin de protection déchiré, non fixé ou manquant Des points ou bords agressifs sur le cadre, les ressorts, ou la toile de saut
Déplacer le trampoline
Pour déplacer le trampoline, deux personnes sont nécessaires. Tous les points de connexion doivent être emballés et fixés avec du ruban adhésif résistant aux intempéries. Cela permet de garder le cadre intact durant le déménagement et d’éviter le déboitement des différents éléments. Lors du déplacement, soulevez le trampoline légèrement du sol et gardez-le horizontal au sol. Pour tout autre type de mouvement, vous nevez démonter le trampoline.
Notice Facile