MODULE DE CUISINE MOBILE - Cuisine ENO - Notice d'utilisation et mode d'emploi gratuit
Retrouvez gratuitement la notice de l'appareil MODULE DE CUISINE MOBILE ENO au format PDF.
| Type de produit | Module de cuisine mobile |
| Caractéristiques techniques principales | Conception modulaire, matériaux résistants à la chaleur et à l'humidité |
| Dimensions approximatives | Longueur : 120 cm, Largeur : 60 cm, Hauteur : 90 cm |
| Poids | Environ 45 kg |
| Alimentation électrique | Non applicable (produit sans alimentation électrique) |
| Fonctions principales | Préparation des aliments, surface de cuisson, rangement intégré |
| Entretien et nettoyage | Nettoyer avec un chiffon humide, éviter les produits abrasifs |
| Pièces détachées et réparabilité | Disponibilité de pièces de rechange sur demande |
| Sécurité | Utiliser sur une surface stable, éviter l'exposition directe à la flamme |
| Compatibilités | Compatible avec divers ustensiles de cuisine et appareils de cuisson |
| Informations générales | Idéal pour les petits espaces, facile à déplacer et à ranger |
FOIRE AUX QUESTIONS - MODULE DE CUISINE MOBILE ENO
Questions des utilisateurs sur MODULE DE CUISINE MOBILE ENO
0 question sur cet appareil. Repondez a celles que vous connaissez ou posez la votre.
Poser une nouvelle question sur cet appareil
Téléchargez la notice de votre Cuisine au format PDF gratuitement ! Retrouvez votre notice MODULE DE CUISINE MOBILE - ENO et reprennez votre appareil électronique en main. Sur cette page sont publiés tous les documents nécessaires à l'utilisation de votre appareil MODULE DE CUISINE MOBILE de la marque ENO.
MODE D'EMPLOI MODULE DE CUISINE MOBILE ENO
| Module Plan de travailPMOD7001 | Module PlanchaPMOD7002 | Module EvierPMOD7003 | Plateau d’angleMOD1570 |
![]() | ![]() | ![]() | ![]() |
| Page 2 à 4 | Page 5 à 8 | Page9 à 12 | Page 13 |
| Kit EtagéreMOD1610 | Kit TiroirMOD1710 | ||
![]() | ![]() | ||
| Page 13 | Page 14 |
"MODULE PLAN DE TRAVAIL" - (Réf. : PMOD7001)
| (Carton 1) | ||||||||
| Rep. | Qté | Désignation | Rep. | Qté | Désignation | Rep. | Qté | Désignation |
| A | 1 | ![]() | F | 1 | ![]() | 26 | 2 | ![]() |
| 27 | 2 | ![]() | ||||||
| B | 1 | ![]() | G | 4 | ![]() | 28 | 10 | [KSTY] |
| H | 1 | 29 | 4 | |||||
| C | 1 | ![]() | 20 | 2 | ![]() | 30 | 4 | ![]() |
| 21 | 2 | ![]() | 31 | 10 | ||||
| D | 1 | ![]() | 22 | 2 | ![]() | T1 | 1 | ![]() |
| 23 | 2 | ![]() | T2 | 1 | ![]() | |||
| E | 1 | ![]() | 24 | 24 | ![]() | T3 | 1 | ![]() |
| 25 | 2 | ![]() | ||||||
(Carton 2)
| Rep. | Qté | Désignation | Rep. | Qté | Désignation | Rep. | Qté | Désignation |
| I | 1 | ![]() | ||||||

text_image
20 20 21 22 A 23 22 21 23 Utiliser 2 clés de 19 (Non fourni)
text_image
T3 28 25 A
text_image
T1 ou clé tube de 7 mm 24 T1 ou clé tube de 7 mm 24 G B I T3 28 25 27
text_image
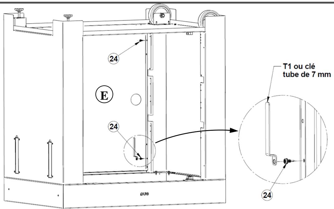
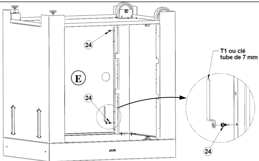
24 E 24 T1 ou clé tube de 7 mm 24
text_image
T1 ou clé tube de 7 mm 24 31 31 24"MODULE PLANCHA" - (Réf. : PMOD7002)
| (Carton 1) | ||||||||
| Rep. | Qté | Désignation | Rep. | Qté | Désignation | Rep. | Qté | Désignation |
| A | 1 | ![]() | F | 1 | ![]() | 26 | 2 | ![]() |
| 27 | 2 | [AHGB] | ||||||
| B | 1 | ![]() | G | 4 | ![]() | 28 | 10 | ![]() |
| H | 1 | ![]() | 29 | 4 | ![]() | |||
| C | 1 | ![]() | 20 | 2 | ![]() | 30 | 4 | ![]() |
| 21 | 2 | ![]() | 31 | 10 | [BZAX] | |||
| D | 1 | ![]() | 22 | 2 | ![]() | T1 | 1 | ![]() |
| 23 | 2 | ![]() | T2 | 1 | ![]() | |||
| E | 1 | ![]() | 24 | 24 | ![]() | T3 | 1 | ![]() |
| 25 | 2 | ![]() | ||||||
(Carton 2)
| Rep. | Qté | Désignation | Rep. | Qté | Désignation | Rep. | Qté | Désignation | ||
| I | 1 | ![]() | 24 | 3 | ![]() | 34 | 1 | ![]() | ||
| 32 | 2 | |||||||||
| J | 2 | ![]() | 33 | 1 | ![]() | |||||

text_image
20 20 21 22 A 23 22 21 23 Utiliser 2 clés de 19 (Non fourni)
text_image
T3 28 25 A
text_image
T1 ou clé tube de 7 mm 24 T1 ou clé tube de 7 mm 24 G B C I T3 28 25 27

text_image
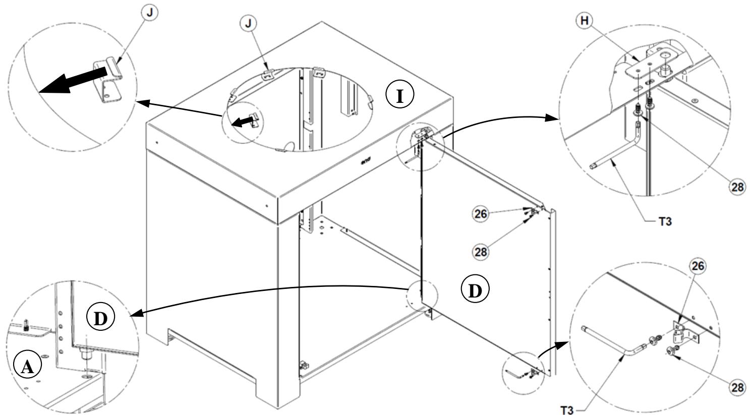
34 I H 4 28 T3 26 28 4 D 26 28 T3
text_image
31 31 J F 31 30 J 29 31
text_image
F C 33 32 24 24 24| (Carton 1) | ||||||||
| Rep. | Qté | Désignation | Rep. | Qté | Désignation | Rep. | Qté | Désignation |
| A | 1 | ![]() | F | 1 | ![]() | 26 | 2 | ![]() |
| 27 | 2 | ![]() | ||||||
| B | 1 | ![]() | G | 4 | ![]() | 28 | 10 | ![]() |
| H | 1 | [A48S] | 29 | 4 | ![]() | |||
| C | 1 | ![]() | 20 | 2 | ![]() | 30 | 4 | ![]() |
| 21 | 2 | ![]() | 31 | 10 | ![]() | |||
| D | 1 | ![]() | 22 | 2 | ![]() | T1 | 1 | ![]() |
| 23 | 2 | ![]() | T2 | 1 | ![]() | |||
| E | 1 | ![]() | 24 | 24 | ![]() | T3 | 1 | ![]() |
| 25 | 2 | ![]() | ||||||
| (Carton 2) | ||||||||
| Rep. | Qté | Désignation | Rep. | Qté | Désignation | Rep. | Qté | Désignation |
| I | 1 | ![]() | J | 6 | ![]() | |||
(Carton 3)
| Rep. | Qté | Désignation | Rep. | Qté | Désignation | Rep. | Qté | Désignation | |
| K | 1 | ![]() | L | 1 | ![]() | N | 1 | ![]() | |
| M | 1 | ![]() | O | 6 | ![]() | ||||

text_image
20 20 21 22 A 23 21 22 23 Utiliser 2 clés de 19 (Non fourni)
text_image
T3 28 25 A
text_image
T1 ou clé tube de 7 mm 24 T1 ou clé tube de 7 mm 24 G B I T3 28 25 27
text_image
24 E 24 T1 ou clé tube de 7 mm 24
text_image
T1 ou clé tube de 7 mm F 24 F 31 31 24

| Rep. | Qté | Désignation | Rep. | Qté | Désignation | Rep. | Qté | Désignation |
| A | 1 | ![]() | B | 2 | ![]() | 28 | 4 | ![]() |
| 29 | 14 | ![]() | ||||||
| C | 1 | ![]() | 30 | 14 | ![]() | |||
| T2 | 1 | ![]() |

text_image
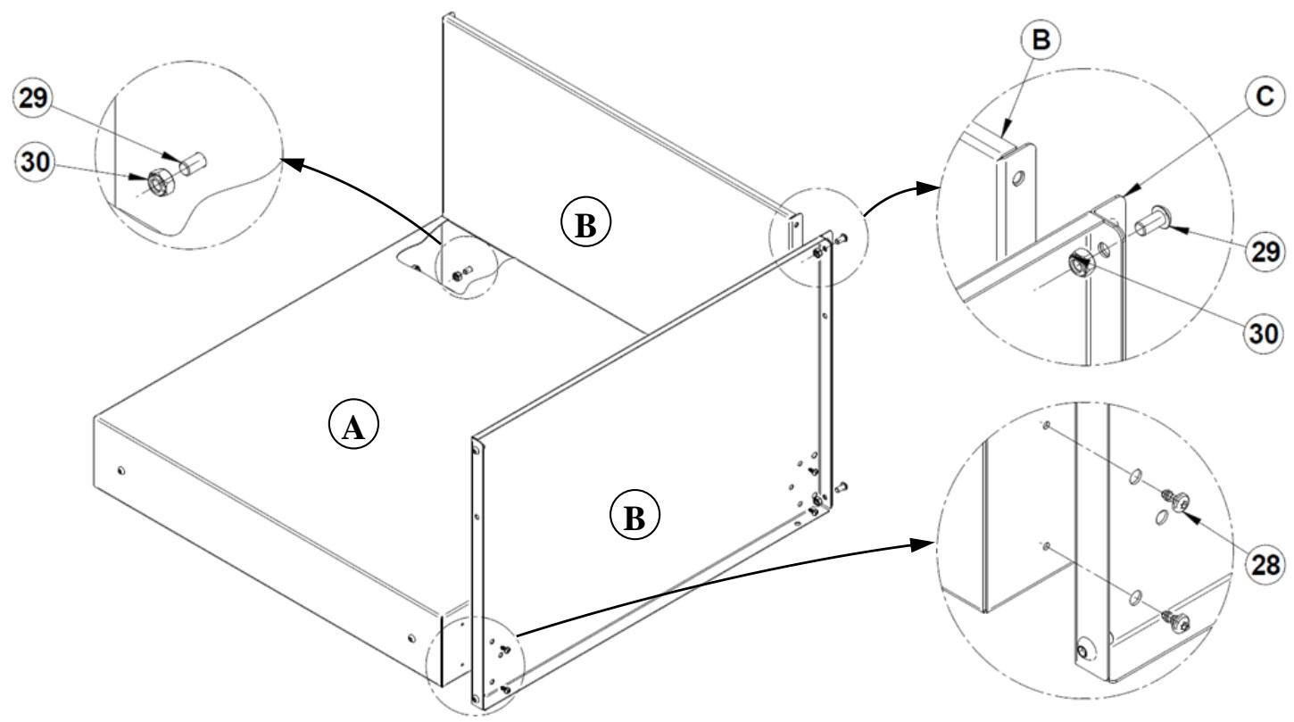
29 30 B A B C 29 30 28
text_image
- Installation (2 x MOD1610) Attention : Positionner les 2 étagères en même temps A A
text_image
end A A"MODULE TIROIR" - (Réf. : MOD1710)
| Rep. | Qté | Désignation | Rep. | Qté | Désignation | Rep. | Qté | Désignation |
| A | 1 | ![]() | B | 2 | ![]() | 28 | 8 | ![]() |
| T3 | 1 | ![]() | ||||||

text_image
Niveau B-10 B-10 Tournevis plat ou Clé à tube de 5 mm Pied réglableREGLAGE ALIGNEMENT DE LA PORTE

Notice Facile


























































































