Oxford XL ref 118 et 204 - Insert CHEMINARTE - Notice d'utilisation et mode d'emploi gratuit
Retrouvez gratuitement la notice de l'appareil Oxford XL ref 118 et 204 CHEMINARTE au format PDF.
| Type d'appareil | Cheminée électrique |
| Puissance de chauffage | Non précisé |
| Alimentation | Électrique |
| Contrôle | À distance (télécommande incluse) |
| Affichage | Écran digital intégré |
| Effet de flammes | LED réaliste |
| Matériau du cadre | Non précisé |
| Dimensions | Non précisées |
| Installation | Encastrable ou en pose libre |
| Fonction minuterie | Oui |
| Modes de chauffage | Réglables |
| Consommation électrique | Non précisée |
| Poids | Non précisé |
| Couleur | Noir |
| Garantie | Non précisée |
FOIRE AUX QUESTIONS - Oxford XL ref 118 et 204 CHEMINARTE
Questions des utilisateurs sur Oxford XL ref 118 et 204 CHEMINARTE
0 question sur cet appareil. Repondez a celles que vous connaissez ou posez la votre.
Poser une nouvelle question sur cet appareil
Téléchargez la notice de votre Insert au format PDF gratuitement ! Retrouvez votre notice Oxford XL ref 118 et 204 - CHEMINARTE et reprennez votre appareil électronique en main. Sur cette page sont publiés tous les documents nécessaires à l'utilisation de votre appareil Oxford XL ref 118 et 204 de la marque CHEMINARTE.
MODE D'EMPLOI Oxford XL ref 118 et 204 CHEMINARTE
Manuel d'installation et d'utilisation pour cheminée Oxford et Oxford XL ref 118 et 204


A litre attentivement avant utilisation
CE

Felicitations, vous venez d'acquerir une cheminée décorative design Chemin'Arte. Nous avons apporté le plus grand soin à la qualité de conception et de fabrication de ce produit. Il y a pourtant un certain nombre de points à observer et à respecter car le bon fonctionnement des cheminées et votre sécurité en dépendent.
Règles générales relatives à la sécurité des personnes :
-
Bien monter votre cheminée Chemin'Arte et la poser sur une surface horizontale. Notre cheminée décorative design doit être fixée avant toute utilisation.
-
L'utilisation des cheminées Chemin'Arte, dans les locaux reçvant du public (ERP), doit faire l'objet d'une démarche réglementée. Il est impératif de se renseigner auprèsant.
-
Les cheminées électriques Chemin'Arte, doivent être utilisées avec du courant alternatif 230V (+/- 10 volts).
-
Cet apparéil n'est pas prévu pour être utilisé par des personnes (y compris enfants) dont les capacité physiques, sensorielles ou mentales sont réduites, ou des personnes dénuées d'expérience ou de connaissance, sauf si elles ont pu bénéficier, par l'intémédiaire d'une personne responsable de leur sécurité, d'une surveillance ou d'instructions préalables concernant l'utilisation de l' apparéil. Il convient de surveiller les enfants pour s'assurer qu'ils ne jouent pas avec l' apparéil.
-
Si le cordon d'alimentation présente des signes d'usures ou de coupures, ne plus utiliser la cheminée.
Interdictions :
-
De toute intervention par l'utilisateur sur les dispositifs de sécurité
-
Ne pas utiliser la cheminée en présence d'essence ou de liquide inflammable. Ne pas utiliser à l'extérieur. Ne pas utiliser quand on a les mains humides.
-
Ne pas utiliser dans les salles de bains, les celliers, et de manière générale dans toute partie d'eau ou humide.
-
Ne pas couvir le cable d'alimentation, ni l'exposer à des objets coupants ou des surfaces chaudes.
-
Ne pas déplacer la cheminée en cours d'utilisation.
-
Ne pas obstruer les grilles d'aération de la cheminée. Ne pas introduire d'objets dans la ventilation ou dans les grilles d'aération. Cela peut provoquer un choc électrique ou endommager le cheminée.
-
Ne pas laisser la cheminée en marche quand il n'y a personne dans la piece.
-
Ne pas immerger la cheminée dans l'eau ou dans un autre liquide.
-
Ne pas soulever la cheminée par la face avant, celle ci étant interchangeable, la cheminée risquerait de tomber et de cause des dommages matériels ou corporels.
- Cet apparéil n'est pas destiné à être utilisé par des personnes (enfants compris) dont les capacité physiques, sensorielles ou mentales, ou le manque d'expérience et de connaissances, à moins qu'ils n'aient été données supervision ou des instructions quant à de l' apparéil par une personne responsable de leur sécurité.
- Les enfants doivent être surveillés pour s'assurer qu'ils ne jouent pas avec l'appareil.
Installation dans le cas d'une Cheminée Chemin'Arte, fixée en hauteur sur un mur :
- Ouvrir le carton avec précaution, en évitant de rayer les surfaces avec un objet coupant.
- Sortir votre cheminée Chemin'Arte de son emballage puisPTRer les protections d'emballage : cartons, plastiques de contact, materiaux d'emballage, plastiques de protection.
- Le cordon d'alimentation doit être raccordé à une boite de raccordement murale prévue à cet effet.
- Le raccordement doit être effectué dans les régles de l'art. Si vous avez un doute, faites appel à un électricien. Pour information, le conducteur marron doit être raccordé à la phase, le bleu au neutre et le vert et jaune à la terre.
- La cheminée ne doit pas être en dessous d'une prise de courant.
- La plupart des modèles Chemin'Arte peuvent être fixés contre un mur. Un support de fixation est livré avec votre cheminée Chemin'Arte. En raison des nombreux types de murs et d'installation, il convient deCHOISIR dans un magasin spécialisé la fixation appropriée (chevilles, vis à place, etc.).
- Détérminer la hauteur à laquelle vous pouze installer votre cheminée Chemin'Arte (en général à plus de 40 cm au dessus du sol) puis fixer le support à l'aide des outils appropriés.
- Une fois la cheminée installée au mur, disposer les galets ou accessoires de decoration sur le rail central puismettre la face avant en position en vérifiant bien qu'elle est solidement accrochée au corps central de la cheminée (2 personnes sont nécessaires pour cette opération).
- Conseil de l'equipe Chemin'Arte: Afin d'être sur qu'une fois installée, votre cheminée sera parfaitement droite, utiliser un niveau à bulle lors du montage du support de fixation.
Contenu du carton
1 cheminee
- Plaque et vis de fixation
- Telekommande
1 manuel d'utilisation
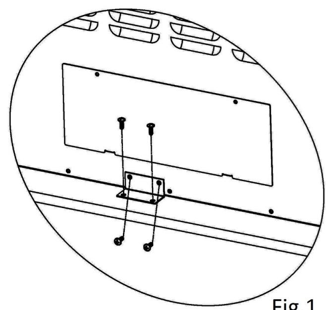
Exemple d'installation dans un manteau de cheminée (modèle Oxford)
- Respecter les dimensions et distance indiquées dans le schéma ci dessous
- Les dimensions de la partie ouverte du manteau doivent être de minimum 595mm par 435mm (hauteur).
- La distance entre l'insert et le mur doit être de 100mm minimum.
- Fixer l'insert au manteau via l'équerre et les vis (voir Fig.1)



Fig.1
Exemple d'installation dans un manteau de cheminée (modèle Oxford XL)
- Respecter les dimensions et distance indiquées dans le schéma ci dessous
- Les dimensions de la partie ouverte du manteau doivent être de minimum 747mm par 528mm (hauteur).
- La distance entre l'insert et le mur doit être de 100mm minimum.
- Fixer l'insert au manteau via l'équerre et les vis (voir Fig.1)



Utilisation
> Panneau de contrôle
- Interrupteur ON/OFF
- L'interrupteur ON/OFF doit être enclenché pour passer la cheminée en modeVeille
- NOTE: Le chauffage démarre uniquement si la température demandée est plus élevé que la température de la pierce.


| O - | O | Cheminée éteinte |
| - | Cheminée en mode veille | |
| 2000W 1000W O/I | I/O | - Appuyer pour allumer / eteindre la cheminée ON/OFF |
| 1000W | Appuyer pour activer un chauffage de 1000W | |
| 2000W | Appuyer pour activer 2 chauffages de 1000W, soit 2000W |
Utilisation de la télécommande
- NOTE: Pour pouvoir utiliser a télécommande, l'interrupteur à bascule doit être sur I
- La télécommande fonctionne avec 2 piles AAA (non fournie)



Réglages
Reglage date et heures
-
Appuyer sur DATE/TIME. Quand le jour clignote appuyer sur ou pourCHOISIR le jour de la semaine.
-
Appuyer sur DATE/TIME de nouveau puis sur + ou - pour régler l'heure.
-
Appuyer sur DATE/TIME de nouveau, puis + ou - pour régler les minutes.
Appuyer sur OK pour valider
-
Réglage de la temperature
-
NOTE: Ce réglage est possible uniquement en mode de chauffage comport et non en mode minuterie. La temperature par défaut est 20^ .
Appuyer sur + ou- pour regler la temperature desirable (entre 15 et 30^ ).
-
Une fois la temperature reglee l'afficheur clignote pendant 5 secondes puis revient à la température de la pièce.
-
Réglage de la minuterie (programmation)
Ilya9reglagespossible
La durée max de chaque cycle est de 23h et 50 minutes.
-
Appuyer sur TIMER SET et le numéro de programmation se met à clignoter (01-9).
-
Appuyer sur + ou - pour sélectionner un numéro de programmation.
-
Appuyer sur TIMER SET de nouveau et le curseur situé à gauche du jour se met à clignoter.
-
Appuyer sur ou pour régler le premier jour de programmation. Appuyer sur + pour valider ou - pour supprimer un jour.
-
Appuyer sur TIMER SET pour régler le début de la période. Les heures se mettent à clignoter.
Appuyer sur ^+ ou - pour regler l'heure.
- Appuyer sur TIMER SET et les minutes se mettent à clignoter.
Appuyer sur + ou - pour regler les minutes.
- Appuyer sur TIMER SET pour régler la fin de la période. Les heures se mettent à clignoter.
Appuyer sur + ou - pour régler l'heure
- Appuyer sur TIMER SET et les minutes se mettent à clignoter.
Appuyer sur ^+ ou - pour regler les minutes
Appuyer sur TIMER SET et la température se met à clignoter.
Appuyer sur ^+ ou - pour regler la température
- Appuyer sur TIMER SET pour continuer avec les autres jours ou appuyer sur OK pour valider.
.
- Regarder les programmations
Appuyer sur TIMER SET.
- Appuyer sur + ou - pour regarder l'heure de démarrage des différents programmes un par un.
Pour regarder les haures d'arret appuyer sur
-
Appuyer sur + ou - pour regarder les heures d'arret des différents programmes un par un.
-
Pour supprimer une programmation appuyer sur C.
.
-
Activation du mode minuterie (programmation)
-
Appuyer sur TIMER ON/OFF pour activer ou non le mode programmation.
-
NOTE: Quand le mode minuterie (programmation) est actif la temperature doit etre reglee manuellement. Si la fonction chauffage n'est pas selectionnee, seul les flammes se mettent en marche à 1'heure programmée.
Mode detection de fenetre ouverte
Appuyer sur pour activer le mode. L'icone apparait sur l'ecran.
L'icone sur l'écran se met à clignoter. Avec ce mode le chauffage s'arret si la temperature de la pierce chute brutalement. Appuyer sur de nouveau pour arreter ce mode.
- NOTE: Ce mode ne fonctionne pas si le chauffage n'est pas allumé.
Entretien
- En cas de problème, contacter un technician Chemin'Arte.
Nettoyage
- Débrancher la cheminée puis nettoyer avec un chiffon doux. Ne pas utiliser de
produit abrasif.
Toutes nos cheminées sont garanties 2 ans pieces et main d'oeuvre. Si pendant cette période votre produit venait à dysfonctionner, veuilles suivre la procédure de retard ci dessous :
- Avant toute chose, appeler le service après vente au 0951 634 467 pour déterminer la cause du problème et la solution à apporter.
- Emballer la cheminée défectueuse dans son emballage d'origine. Veillez à ce qu'elle soit bien protégée (surtout au niveau des coins).
-
Joindre au colis l'original du ticket de caisse en entourant la date d'achat (aucune photocopie ne sera acceptée) ainsi que le nom et l'adresse du destinataire retour.
-
Renvoyer le tout à: EFYDIS 4 allée de l'olivet 07300 Saint Jean de Muzols
-
Nous nous engage ons à réparer ou remplacer votre cheminée défectuese et à vous la renvoyer à nos frais à l'adresse mentionnée avec le colis (adresse en France métropolitaine).
- Nous vous returnerons également le ticket de caisse, dated et tamponné pour revalider la garantie.
Si vous avez des questions ou des commentaires, n'hésitez pas à nous contacter à contact@efydis.fr ou sur www.cheminarte.com ou au 0951 634 467 (prix d'un appel local).
Recyclage

Cet apparéil doit être recyclé
Notice Facile